WO2013051720A1 - 固定解放装置 - Google Patents

固定解放装置 Download PDF

Info

Publication number
WO2013051720A1
WO2013051720A1 PCT/JP2012/076037 JP2012076037W WO2013051720A1 WO 2013051720 A1 WO2013051720 A1 WO 2013051720A1 JP 2012076037 W JP2012076037 W JP 2012076037W WO 2013051720 A1 WO2013051720 A1 WO 2013051720A1
Authority
WO
WIPO (PCT)
Prior art keywords
closed loop
loop member
locked
buoyancy body
locking
Prior art date
Legal status (The legal status is an assumption and is not a legal conclusion. Google has not performed a legal analysis and makes no representation as to the accuracy of the status listed.)
Ceased
Application number
PCT/JP2012/076037
Other languages
English (en)
French (fr)
Japanese (ja)
Inventor
清 畠山
Current Assignee (The listed assignees may be inaccurate. Google has not performed a legal analysis and makes no representation or warranty as to the accuracy of the list.)
Japan Agency for Marine Earth Science and Technology
Original Assignee
Japan Agency for Marine Earth Science and Technology
Priority date (The priority date is an assumption and is not a legal conclusion. Google has not performed a legal analysis and makes no representation as to the accuracy of the date listed.)
Filing date
Publication date
Application filed by Japan Agency for Marine Earth Science and Technology filed Critical Japan Agency for Marine Earth Science and Technology
Priority to US14/349,824 priority Critical patent/US9254892B2/en
Publication of WO2013051720A1 publication Critical patent/WO2013051720A1/ja
Anticipated expiration legal-status Critical
Ceased legal-status Critical Current

Links

Images

Classifications

    • BPERFORMING OPERATIONS; TRANSPORTING
    • B63SHIPS OR OTHER WATERBORNE VESSELS; RELATED EQUIPMENT
    • B63BSHIPS OR OTHER WATERBORNE VESSELS; EQUIPMENT FOR SHIPPING 
    • B63B22/00Buoys
    • B63B22/04Fixations or other anchoring arrangements
    • B63B22/06Fixations or other anchoring arrangements with means to cause the buoy to surface in response to a transmitted signal
    • BPERFORMING OPERATIONS; TRANSPORTING
    • B63SHIPS OR OTHER WATERBORNE VESSELS; RELATED EQUIPMENT
    • B63BSHIPS OR OTHER WATERBORNE VESSELS; EQUIPMENT FOR SHIPPING 
    • B63B22/00Buoys
    • B63B22/04Fixations or other anchoring arrangements
    • B63B22/08Fixations or other anchoring arrangements having means to release or urge to the surface a buoy on submergence thereof, e.g. to mark location of a sunken object
    • GPHYSICS
    • G01MEASURING; TESTING
    • G01VGEOPHYSICS; GRAVITATIONAL MEASUREMENTS; DETECTING MASSES OR OBJECTS; TAGS
    • G01V1/00Seismology; Seismic or acoustic prospecting or detecting
    • G01V1/16Receiving elements for seismic signals; Arrangements or adaptations of receiving elements
    • G01V1/168Deployment of receiver elements
    • GPHYSICS
    • G01MEASURING; TESTING
    • G01VGEOPHYSICS; GRAVITATIONAL MEASUREMENTS; DETECTING MASSES OR OBJECTS; TAGS
    • G01V1/00Seismology; Seismic or acoustic prospecting or detecting
    • G01V1/16Receiving elements for seismic signals; Arrangements or adaptations of receiving elements
    • G01V1/18Receiving elements, e.g. seismometer, geophone or torque detectors, for localised single point measurements
    • BPERFORMING OPERATIONS; TRANSPORTING
    • B63SHIPS OR OTHER WATERBORNE VESSELS; RELATED EQUIPMENT
    • B63BSHIPS OR OTHER WATERBORNE VESSELS; EQUIPMENT FOR SHIPPING 
    • B63B21/00Tying-up; Shifting, towing, or pushing equipment; Anchoring
    • B63B21/24Anchors

Definitions

  • the present invention relates to a fixed release device that releases the connection between a buoyant body and a weight by a separation mechanism.
  • a fixed release device that includes a buoyancy body and a weight connected by a connection device, and releases the connection between the buoyancy body and the weight by a separation mechanism.
  • a submarine seismometer (OBS [Ocean Bottom Seismograph]) that is installed on the seabed to measure earthquakes by sinking into the seabed.
  • OBS Ocean Bottom Seismograph
  • refraction seismic surveys conducted to investigate the mechanism of earthquakes at the sea floor artificial seismic waves are generated and refracted sound waves refracted at the boundary between various layers below the sea floor are placed on the sea floor at a predetermined distance. Received and measured by many submarine seismometers.
  • the submarine seismometer used in this way is a submarine seismometer body that is a buoyant body incorporating a sensor and the like, and an anchor (weight) arranged below the buoyant body to moor the submarine seismometer body to the seabed. ) And is submerged in the bottom of the water. After measurement, the main body of the submarine seismometer is collected for the purpose of data collection and equipment maintenance. The recovery operation is performed by operating a separation mechanism provided in a connecting device that connects the buoyancy body and the weight.
  • a gunpowder system that generates power for cutting a cable connecting a buoyant body and a weight with a cutting blade using an explosion of gunpowder [JP-A-8-271291 (Patent Document 1)]
  • An electroerosion method for separating a buoyancy body and a weight by forcibly eroding a metal plate (for example, a stainless steel plate) or a metal wire for connecting the buoyancy body and the weight Japanese Patent Laid-Open No. 2006-30124 ( Patent Document 2)] and the like.
  • the metal plate or the metal wire may be naturally corroded or may form a film, and may not operate normally. Further, there is a problem that the method of forcibly eroding cannot be used in fresh water.
  • An object of the present invention is to provide a fixing / releasing device that can securely fix a buoyant body and a weight, and can easily set a fixed state to a released state.
  • Another object of the present invention is to provide a fixed release device that can secure an installation space for other parts on the top of a buoyancy body.
  • Still another object of the present invention is to provide a fixed release device that can operate even when installed on the seabed for a long period of time.
  • the fixed release device of the present invention includes a connecting device that detachably connects a buoyancy body and a weight disposed below the buoyancy body.
  • the connection device includes a trigger mechanism that releases the connection between the buoyancy body and the weight when the connection device is activated by the trigger signal.
  • the coupling device is disposed between the closed loop member having one or more melted portions formed of a thermoplastic material and the closed loop member and the weight, and restrains the buoyancy body when the closed loop member is in a closed state.
  • a connection structure configured to release the restraint of the buoyancy body when the closed loop member is in the open state.
  • a trigger mechanism when a trigger mechanism will be in an operation state, it will include one or more fusing devices which will melt the to-be-cut part of a closed loop member, and will open a closed loop member.
  • the buoyancy body and the weight are fixed and released by creating a state in which the buoyancy body is restrained and a state in which the restraint of the buoyancy body is released using the closed loop member.
  • the coupling position of the two is not limited when the closed loop member and the coupling structure are coupled, so that the configuration of the coupling structure is arbitrary. Is possible.
  • the closed loop member and the weight can be connected at any place with a connecting structure using two or more string-like connecting members, or can be connected with a connecting structure using a sheet-like or net-like connecting member,
  • the buoyancy body can be easily and reliably restrained using an arbitrary connection structure.
  • the closed loop member is disposed so as to surround the top of the buoyant body on the side opposite to the weight, a space is left at the position of the top of the buoyant body. It is possible to secure a position where necessary parts are arranged at the top of the buoyancy body.
  • a receiver for receiving a trigger signal can be disposed on the top of the buoyancy body.
  • the restriction of the buoyant body is released by fusing one or more to-be-melted portions of the closed loop member by the trigger mechanism so that the closed loop member is opened, no complicated mechanism is required for releasing the restriction.
  • the buoyancy body and the weight can be separated in a short time (several seconds).
  • the buoyant body and the weight can be reliably separated even after being installed in water for a long time.
  • one fusing part and one fusing device are sufficient. However, when a plurality of fusing parts and fusing devices are provided, at least one fusing device operates and at least one fusing part of the closed loop member is operated. If the portion is blown, the connecting device can be surely brought into the disconnected state, so that the redundancy of the fixed release device can be ensured.
  • the trigger mechanism is operated after the measurement in a predetermined period, and when the measurement device built in the buoyant body is collected, the closed loop member is melted at a plurality of positions. If a part and a plurality of fusing devices are installed, if at least one fusing device operates, the buoyant body can be lifted and measured even if other fusing devices do not work for some reason. The device can be reliably collected.
  • connection structure may include a plurality of connection members and a plurality of locking mechanisms.
  • one end of each of the plurality of connecting members is fixed to the weight and the other end is provided with a locking portion, and the plurality of connecting members are arranged at intervals in the circumferential direction of the buoyancy body.
  • a plurality of locking mechanisms hold a plurality of locking parts of a plurality of connecting members and a closed loop member in a locked state using tension applied to a plurality of connecting members when the closed loop member is in a closed state
  • the force applied to the plurality of connection members from the buoyancy body (the force applied to the connection member when the buoyancy body ascends due to buoyancy) and the plurality of locking portions of the plurality of connection members and the closed loop It is comprised so that the latching state with a member may be cancelled
  • the “tension applied to the plurality of connecting members” can be adjusted by appropriately setting the length of the connecting members.
  • the locking portion when the locking state between the locking portion and the closed loop member is held and released using the force applied to the plurality of connecting members, the locking portion can be easily and reliably simply opened by the closed loop member. It is possible to release the locked state between the closed loop member and the buoyancy body with certainty.
  • the locking portion of the connecting member can be a locking ring.
  • the locking mechanism includes a rotating arm that rotates in a direction toward and away from the buoyancy body with the rotation center as a center, and a locking ring is locked to a side portion of the rotation arm on the buoyancy body side. 1 is provided, and the closed loop member is locked to a position outside the first locked portion when viewed from the center of rotation on the side of the rotating arm opposite to the buoyant body. You may make it have the structure where the 2nd to-be-latched part which is provided was provided.
  • the plurality of connecting members are configured so that the rotation arm is centered around the rotation center in a state where the locking ring is locked to the first locked portion and the closed loop member is locked to the second locked portion.
  • the dimensions are determined so as to generate a force to rotate in a direction away from the buoyancy body.
  • the rotating arm in a state where the locking ring is locked to the first locked portion of the rotating arm, the rotating arm has a locking ring in a direction away from the buoyant body with the rotation center as the center. Power is added from.
  • the closed loop member prevents the rotating arm from rotating in the direction away from the buoyant body about the rotation center. To do.
  • This state continues as long as the closed loop member maintains the closed state.
  • the closed loop member cannot function to prevent the rotation arm from rotating.
  • the locking mechanism is preferably provided with a closed loop shaft member that is disposed on the weight side of the closed loop member and constitutes the center of rotation. In this case, a through hole through which the closed loop shaft member passes is formed in the rotating arm. If the locking mechanism has such a structure, the number of rotating arms corresponding to the number of connecting members can be easily prepared, and the position of the rotating arm can be easily changed according to the position of the connecting member. As a result, the assembly work of the connecting structure is facilitated.
  • the fusing device that constitutes the trigger mechanism includes a closed loop member accommodating portion that allows heat to be transferred to a melted portion of the closed loop member and that slidably accommodates at least a part of the closed loop member, and a closed loop member accommodating portion outside the closed loop member accommodating portion.
  • An electric heater unit that is disposed and heats the melted portion of the closed loop member via the closed loop member storage unit, a power source for supplying current to the electric heater unit, and when the trigger mechanism is in an operating state, the electric heater unit from the power source
  • an energization control unit including a switch circuit for causing a current to flow.
  • the closed-loop member storage portion stores the closed-loop member in a slidable state, so that the length of the closed-loop member and slack do not occur when the buoyant body and the weight are fixed.
  • the blown closed loop member smoothly comes out of the closed loop member storage portion, so that the closed loop member can be reliably opened.
  • one or more fusing devices can be provided, and even when a plurality of fusing devices are provided, the closed loop member can be reliably opened.
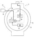
  • FIG. 1 is a schematic diagram of an example of an embodiment of an observation device in which the fixed release device of the present invention is mounted
  • FIG. 2 is a block diagram showing an internal configuration of the observation device of the embodiment of FIG.
  • FIG. 3 is a schematic enlarged view showing an enlarged region denoted by reference sign A in FIG. 1, and
  • FIG. 4 conceptually shows a fusing device provided in the trigger mechanism of the observation device of the present embodiment.
  • FIG. 5 is a diagram illustrating a state after the trigger mechanism of the coupling device illustrated in FIG. 3 is operated
  • FIG. 6 is an observation device according to the present embodiment after the trigger mechanism is operated.
  • the observation device 1 shown in FIG. 1 is an ocean bottom seismometer (OBS) that is installed on the ocean floor and performs measurement.
  • the observation device 1 includes a measuring device such as a seismometer, an observation device body 3 (buoyancy body) having buoyancy, an anchor 5 (weight) for suspending the observation device body 3 on the seabed, and observation. It is comprised from the connection apparatus 7 which connects the apparatus main body 3 and the anchor 5, the trigger mechanism 9, and the transducer 11 (reception part) for receiving the trigger signal for making the trigger mechanism 9 into an operation state.
  • the observation device main body 3 is composed of a glass ball 13 that can withstand water pressure and protect the built-in device from being flooded, and a hard hat 15 that protects the glass ball 13.
  • a component for operating a fusing device 23 of the trigger mechanism 9 described later is built in the glass bulb 13. Since the observation instrument body 3 having the glass bulb 13 as a pressure vessel is made lighter than the weight of water corresponding to the drainage volume, the observation instrument body 3 has buoyancy in water.
  • the anchor 5 is a heavy object made of metal or the like, and although not shown, a plurality of mounting brackets for attaching a connecting member 21 described later are fixed to the anchor 5.
  • FIG. 3 is a schematic enlarged view showing the region denoted by reference symbol A in FIG. 1 in an enlarged manner, and shows a part of the connecting device 7 in a state where the observation device main body 3 and the anchor 5 are connected. However, the observation apparatus main body 3 is omitted.
  • the connecting device 7 of the present embodiment includes a closed loop member 17, three rotating arms 19 (locking mechanisms) attached to a closed loop shaft member 20 provided along the outer periphery of the hard hat 15, and elasticity. Or three connecting members 21 made of a string-like member that can be adjusted and tightened by appropriately setting the length.
  • the connecting member 21 has a structure in which a locking ring 22 is provided at one end and the other end is fixed to a mounting bracket (not shown) provided on the anchor 5.
  • the three connecting members 21 are arranged around the hard hat 15 at equal intervals. In FIG. 1, two of the three connecting members 21 are arranged so as to be visible, and the remaining one is arranged at a position hidden by the observation apparatus main body 3.
  • the closed loop member 17 surrounds a plurality of closed loop member mounting portions 18 that are installed around the top of the observation apparatus main body 3 at intervals in the circumferential direction, and a plurality of closed loop member mounting portions 18 are connected in order.
  • the closed loop member mounting portion 18 is locked in a stretched state.
  • the closed loop member 17 is provided with one fusing device 23 to be described later constituting the trigger mechanism 9.
  • the closed loop member 17 is formed of a thermoplastic material such as nylon, and the portion where the fusing device 23 is provided constitutes the portion to be cut.
  • each rotating arm 19 is rotated in a direction toward and away from the observation apparatus main body 3 with the closed loop shaft member 20 as a rotation center through the lower end region of each of the three rotation arms 19.
  • a through-hole 19A for attachment is formed.
  • each rotating arm 19 has a first locked portion 19 ⁇ / b> B in which a locking ring 22 is locked on a side portion on the side of the observation device main body 3, and a side portion on the opposite side to the observation device main body 3.
  • a second locked portion 19C to which the closed loop member 17 is locked is formed at a position outside the first locked portion 19B as viewed from the through hole 19A.
  • the first and second locked portions 19 ⁇ / b> B and 19 ⁇ / b> C are configured by recesses that open in the thickness direction of the rotating arm 19 and open in the width direction of the rotating arm 19, respectively.
  • the rotating arm 19 is attached so as not to move in the circumferential direction of the closed loop shaft member 20, but is attached in a state having a little play, and can be moved slightly in the left-right direction. .
  • the closed loop member 17 is By engaging with the two locked portions 19C, the rotation arm 19 is restrained from rotating about the closed loop shaft member 20, and the connecting member 21 is fixed.
  • a connecting structure is constituted by the rotating arm 19 and the closed loop shaft member 20, and a connecting device 7 is constituted by the connecting structure and the closed loop member 17.
  • the observation instrument body 3 is fixed to the anchor 5 using the three rotating arms 19 and the three connecting members 21.
  • the number and the number are arbitrary, and can be changed according to the strength to be fixed and the size of the observation apparatus main body 3.
  • five rotating arms 19 and five connecting members 21 may be used.
  • the trigger mechanism 9 is mainly composed of one or more fusing devices 23, and when the trigger mechanism 9 operates, the fusing device 23 melts the closed loop member 17 and releases the fixing of the rotating arm 19.
  • the configuration of the fusing device 23 is conceptually shown in FIG. FIG. 2 shows a state where one fusing device 23 is incorporated in the observation device 1 of the present embodiment.
  • the fusing device 23 includes a tube-like closed loop member storage portion 25 for allowing the closed loop member 17 to slide and an electric heater portion 27 wound around the outside of the closed loop member storage portion 25 in a coil shape. And a fusing device main body 24 including a case 29 for storing them, a power source 31 for supplying current to the electric heater unit 27, and a switch circuit 33 for flowing current from the power source 31 to the electric heater unit 27. Yes.
  • the power supply 31 is constituted by a battery.
  • the electric heater unit 27 and the power source 31 are electrically connected by a lead wire 35.
  • the switch circuit 33 constitutes a part of the energization control unit.
  • the closed loop member storage portion 25 and the electric heater portion 27 are stored in the case 29.
  • the inside of the case 29 is filled with silicone rubber 37, and is processed so that the water pressure applied to the electric heater portion 27 is uniform and has a waterproof structure.
  • the silicone rubber 37 is drawn as being transparent.
  • the case 29 is provided with holes 39, 41 at opposing positions.
  • One end of the closed loop member housing portion 25 is aligned with the hole 39 and the other end is aligned with the hole 41, and a passage through which the closed loop member 17 passes is provided in the case 29. Is formed inside.
  • the power supply 31 and the switch circuit 33 (energization control unit) are provided outside the case 29, and in the present embodiment, as shown in FIG.
  • the closed loop member storage portion 25 is formed of a thermoplastic material like the closed loop member 17 and is melted by the heat generated by the electric heater portion 27. Note that if the closed loop member storage portion 25 is formed of a thermoplastic material such as polypropylene having a melting point equal to or lower than the melting point of the thermoplastic material constituting the closed loop member 17, when the electric heater portion 27 generates heat, the closed loop member storage portion 25 is first. Then, the closed loop member 17 is blown out or almost simultaneously.
  • a power supply control unit 32 including a power supply 31, a switch circuit 33 and a control unit 34 is incorporated, and the fusing device main body is connected by a lead wire 35 through an underwater connector 43 provided on the glass bulb 13. 24 is connected to constitute a fusing device 23.
  • the switch circuit 33 When the transducer 11 receives the trigger signal, the switch circuit 33 is turned on by the control unit 34, current flows from the power source 31 to the electric heater unit 27, and the closed loop member housing in the fusing device main body 24 is generated by the heat generated by the electric heater unit 27. The closed loop member 17 passing through the portion 25 and the closed loop member storage portion 25 is melted.
  • the observation apparatus main body 3 is arranged at a position where it is fixed to the anchor 5 (see FIG. 1). In the present embodiment, the observation equipment main body 3 is disposed within the frame of the anchor 5.
  • the closed loop member 17 in the open state before the closed loop is formed is disposed along the closed loop member mounting portion 18 installed outside the observation apparatus main body 3 and is passed through the closed loop member storage portion 25 of the fusing device main body 24. Then, the ends of the closed loop member 17 in the open state are joined to form a closed loop. Since the closed loop member 17 is accommodated in the closed loop member accommodating portion 25 in a slidable state, it is possible to adjust the length of the closed loop member 17 so as not to sag.
  • the rotating arm 19 is rotated so that the first locked portion 19B is positioned on the observation device main body 3 side, and the rotating arm 19 is turned under the closed loop member 17 using play. Then, the closed loop member 17 is locked to the second locked portion 19C (state shown in FIG. 3). In this state, the locking ring 22 is locked to the first locked portion 19B, and a force is applied in the rotating direction of the rotating arm 19 by the tension of the connecting member 21, but the closed loop member The rotation arm 19 is restrained by 17 so as not to rotate. This operation is similarly performed for all the rotating arms 19 and the connecting members 21.
  • the observation device body 3 is fixed to the anchor 5 by the above procedure.
  • a submarine seismometer when it is finally ready, it is transported to a measurement point by ship, and a submarine seismometer is thrown from the sea surface and installed on the seabed.
  • a trigger signal is transmitted.
  • the trigger signal is transmitted by a wireless transmitter from the sea or the ground, for example.
  • the energization control unit returns the switch circuit 33 that allows current to flow from the power source 31 to the electric heater unit 27 to the OFF state.
  • FIG. 7 is a diagram of an observation device according to the second embodiment.
  • the trigger mechanism 109 provided in the closed loop member 117 includes two fusing devices 123 and 123 '.
  • the fusing device 123 ′ shares the power supply 131 and the power supply control unit 132 of the fusing device 123.
  • two or more fusing devices are provided in this way, for example, even if the electric heater portion of one fusing device 123 breaks down due to disconnection or the like, if another fusing device 123 ′ is activated, the closed loop member 117. Can be melted, and the observation instrument body 103 can be reliably recovered.
  • the fixing / releasing device of the present invention can be used even underwater or underwater.
  • a weight installed on the ground and a balloon (buoyant body) are connected by a similar connecting device, and the balloon is released by transmitting a trigger signal from a remote location. It is possible to skip.
  • the fixed release device of the present invention connects the buoyancy body and the weight by the connection device including the closed loop member, and can release the buoyancy body by fusing the closed loop member by the trigger mechanism. it can. Therefore, it is possible to securely fix the buoyant body and the weight with a simple structure and to easily release the fixed state. Moreover, since the closed loop member is used, it is possible to secure an installation space for other components at the top of the buoyancy body.

Landscapes

  • Engineering & Computer Science (AREA)
  • Physics & Mathematics (AREA)
  • Life Sciences & Earth Sciences (AREA)
  • Remote Sensing (AREA)
  • Environmental & Geological Engineering (AREA)
  • Ocean & Marine Engineering (AREA)
  • Mechanical Engineering (AREA)
  • Acoustics & Sound (AREA)
  • Chemical & Material Sciences (AREA)
  • Geology (AREA)
  • Combustion & Propulsion (AREA)
  • General Life Sciences & Earth Sciences (AREA)
  • General Physics & Mathematics (AREA)
  • Geophysics (AREA)
  • Testing Or Calibration Of Command Recording Devices (AREA)
  • Geophysics And Detection Of Objects (AREA)
PCT/JP2012/076037 2011-10-06 2012-10-05 固定解放装置 Ceased WO2013051720A1 (ja)

Priority Applications (1)

Application Number Priority Date Filing Date Title
US14/349,824 US9254892B2 (en) 2011-10-06 2012-10-05 Fixation releasing device

Applications Claiming Priority (2)

Application Number Priority Date Filing Date Title
JP2011221881A JP5800296B2 (ja) 2011-10-06 2011-10-06 固定解放装置
JP2011-221881 2011-10-06

Publications (1)

Publication Number Publication Date
WO2013051720A1 true WO2013051720A1 (ja) 2013-04-11

Family

ID=48043873

Family Applications (1)

Application Number Title Priority Date Filing Date
PCT/JP2012/076037 Ceased WO2013051720A1 (ja) 2011-10-06 2012-10-05 固定解放装置

Country Status (3)

Country Link
US (1) US9254892B2 (enExample)
JP (1) JP5800296B2 (enExample)
WO (1) WO2013051720A1 (enExample)

Cited By (4)

* Cited by examiner, † Cited by third party
Publication number Priority date Publication date Assignee Title
CN106956750A (zh) * 2017-04-11 2017-07-18 北京工业大学 一种潜标的压载固定基座刚性锁定和快速脱离装置
CN107479088A (zh) * 2017-06-15 2017-12-15 中石化石油工程技术服务有限公司 一种闭环数字加速度检波器谐波失真系统及测试方法
CN111137404A (zh) * 2020-01-03 2020-05-12 屠斌伟 一种海洋探测装置回收的信标装置
TWI824429B (zh) * 2021-04-01 2023-12-01 國立研究開發法人海洋研究開發機構 鉛錘分離裝置

Families Citing this family (12)

* Cited by examiner, † Cited by third party
Publication number Priority date Publication date Assignee Title
KR101529511B1 (ko) * 2014-02-06 2015-06-17 국방과학연구소 절단하중 조절이 가능한 dc 전원 제어형 수중 분리장치
US9651374B1 (en) 2014-04-07 2017-05-16 The United States Of America As Represented By The Secretary Of The Navy Method and system for measuring physical phenomena in an open water environment
CN105549072B (zh) * 2016-02-03 2017-12-15 中国地震局地震预测研究所 强震宽频带地震计的开锁摆系统
CN109425379A (zh) * 2017-08-30 2019-03-05 深圳市灵联科技有限公司 物联网领域器皿开闭状态检测技术-瓶塞类
US11122785B2 (en) 2017-10-15 2021-09-21 Crab Raft, Inc. System and use method for untethered trap brought to surface by remote control
KR102159543B1 (ko) * 2018-11-30 2020-09-24 조태성 부표 연결 구조
CN111932978B (zh) * 2020-08-19 2021-12-14 武汉交通职业学院 一种垂吊式试验平台
CN113479292A (zh) * 2021-07-13 2021-10-08 中国船舶重工集团公司第七一五研究所 一种融断式水下释放装置
CN113877099B (zh) * 2021-09-24 2022-06-24 上海电信工程有限公司 一种用于初期火灾的灭火装置及通信基站
CN114604366B (zh) * 2022-05-16 2022-07-26 山东省科学院海洋仪器仪表研究所 自沉浮式剖面探测浮标导流壳自动脱落装置及导流壳
CN116643316B (zh) * 2023-05-30 2024-01-19 中国科学院地质与地球物理研究所 一种多功能可自由组合海底地震探测装置
CN119199960B (zh) * 2024-11-29 2025-05-27 江苏省地震局 一种基于海上工程的海底震动监测系统

Citations (3)

* Cited by examiner, † Cited by third party
Publication number Priority date Publication date Assignee Title
JPS63191918A (ja) * 1987-02-04 1988-08-09 Nec Corp 海中探査ブイの深度切換紐切断方式
JPH09196710A (ja) * 1996-01-22 1997-07-31 Oki Electric Ind Co Ltd レリーサ及び該レリーサにおける切り離し方法
JP2006030124A (ja) * 2004-07-21 2006-02-02 Nichiyu Giken Kogyo Co Ltd 水中切離装置

Family Cites Families (1)

* Cited by examiner, † Cited by third party
Publication number Priority date Publication date Assignee Title
JP3523928B2 (ja) 1995-03-29 2004-04-26 日油技研工業株式会社 水中観測機器固定具のケーブル切断機付分離装置

Patent Citations (3)

* Cited by examiner, † Cited by third party
Publication number Priority date Publication date Assignee Title
JPS63191918A (ja) * 1987-02-04 1988-08-09 Nec Corp 海中探査ブイの深度切換紐切断方式
JPH09196710A (ja) * 1996-01-22 1997-07-31 Oki Electric Ind Co Ltd レリーサ及び該レリーサにおける切り離し方法
JP2006030124A (ja) * 2004-07-21 2006-02-02 Nichiyu Giken Kogyo Co Ltd 水中切離装置

Cited By (4)

* Cited by examiner, † Cited by third party
Publication number Priority date Publication date Assignee Title
CN106956750A (zh) * 2017-04-11 2017-07-18 北京工业大学 一种潜标的压载固定基座刚性锁定和快速脱离装置
CN107479088A (zh) * 2017-06-15 2017-12-15 中石化石油工程技术服务有限公司 一种闭环数字加速度检波器谐波失真系统及测试方法
CN111137404A (zh) * 2020-01-03 2020-05-12 屠斌伟 一种海洋探测装置回收的信标装置
TWI824429B (zh) * 2021-04-01 2023-12-01 國立研究開發法人海洋研究開發機構 鉛錘分離裝置

Also Published As

Publication number Publication date
US9254892B2 (en) 2016-02-09
JP2013082251A (ja) 2013-05-09
JP5800296B2 (ja) 2015-10-28
US20140315451A1 (en) 2014-10-23

Similar Documents

Publication Publication Date Title
JP5800296B2 (ja) 固定解放装置
JP2013082251A5 (enExample)
JP5812486B2 (ja) 溶断装置
JP6253026B2 (ja) 水中観測機器
CN110520352B (zh) 用于固定浸没式浮筒的系统
US20130233232A1 (en) External Rescue and Recovery Devices and Methods for Underwater Vehicles
JP5923169B2 (ja) 通信ブイおよび展開の方法
US11820532B2 (en) Unmanned aerial vehicle launching capsule
RU2759033C2 (ru) Автономная локационная система летательного аппарата
EP0360671A1 (fr) Dispositif de sauvetage d'une personne tombée d'un véhicule nautique
KR102219469B1 (ko) 침몰 선박의 위치 확인용 부표 장치
US7054230B1 (en) Locator device for submerged structures
TW202239665A (zh) 鉛錘分離裝置
JP3456529B2 (ja) 管制型発音弾ブイ
US3786404A (en) Deep ocean transponder
US20190033073A1 (en) Low cost ocean surface drifter for satellite tracking
JP2023078056A (ja) 水難救助信号発信機
HK40014537A (en) System for securing a submerged buoy
HK1132969A (en) External rescue and recovery devices and methods for underwater vehicles

Legal Events

Date Code Title Description
121 Ep: the epo has been informed by wipo that ep was designated in this application

Ref document number: 12838416

Country of ref document: EP

Kind code of ref document: A1

NENP Non-entry into the national phase

Ref country code: DE

WWE Wipo information: entry into national phase

Ref document number: 14349824

Country of ref document: US

122 Ep: pct application non-entry in european phase

Ref document number: 12838416

Country of ref document: EP

Kind code of ref document: A1