WO2012063835A1 - 歯茎マッサージ具 - Google Patents
歯茎マッサージ具 Download PDFInfo
- Publication number
- WO2012063835A1 WO2012063835A1 PCT/JP2011/075756 JP2011075756W WO2012063835A1 WO 2012063835 A1 WO2012063835 A1 WO 2012063835A1 JP 2011075756 W JP2011075756 W JP 2011075756W WO 2012063835 A1 WO2012063835 A1 WO 2012063835A1
- Authority
- WO
- WIPO (PCT)
- Prior art keywords
- gum
- fixed shaft
- molded body
- carbon molded
- shaft portion
- Prior art date
- Legal status (The legal status is an assumption and is not a legal conclusion. Google has not performed a legal analysis and makes no representation as to the accuracy of the status listed.)
- Ceased
Links
Images
Classifications
-
- A—HUMAN NECESSITIES
- A61—MEDICAL OR VETERINARY SCIENCE; HYGIENE
- A61H—PHYSICAL THERAPY APPARATUS, e.g. DEVICES FOR LOCATING OR STIMULATING REFLEX POINTS IN THE BODY; ARTIFICIAL RESPIRATION; MASSAGE; BATHING DEVICES FOR SPECIAL THERAPEUTIC OR HYGIENIC PURPOSES OR SPECIFIC PARTS OF THE BODY
- A61H13/00—Gum massage
-
- A—HUMAN NECESSITIES
- A61—MEDICAL OR VETERINARY SCIENCE; HYGIENE
- A61H—PHYSICAL THERAPY APPARATUS, e.g. DEVICES FOR LOCATING OR STIMULATING REFLEX POINTS IN THE BODY; ARTIFICIAL RESPIRATION; MASSAGE; BATHING DEVICES FOR SPECIAL THERAPEUTIC OR HYGIENIC PURPOSES OR SPECIFIC PARTS OF THE BODY
- A61H23/00—Percussion or vibration massage, e.g. using supersonic vibration; Suction-vibration massage; Massage with moving diaphragms
- A61H23/02—Percussion or vibration massage, e.g. using supersonic vibration; Suction-vibration massage; Massage with moving diaphragms with electric or magnetic drive
- A61H23/0254—Percussion or vibration massage, e.g. using supersonic vibration; Suction-vibration massage; Massage with moving diaphragms with electric or magnetic drive with rotary motor
-
- A—HUMAN NECESSITIES
- A61—MEDICAL OR VETERINARY SCIENCE; HYGIENE
- A61H—PHYSICAL THERAPY APPARATUS, e.g. DEVICES FOR LOCATING OR STIMULATING REFLEX POINTS IN THE BODY; ARTIFICIAL RESPIRATION; MASSAGE; BATHING DEVICES FOR SPECIAL THERAPEUTIC OR HYGIENIC PURPOSES OR SPECIFIC PARTS OF THE BODY
- A61H2201/00—Characteristics of apparatus not provided for in the preceding codes
- A61H2201/01—Constructive details
- A61H2201/0119—Support for the device
- A61H2201/0153—Support for the device hand-held
-
- A—HUMAN NECESSITIES
- A61—MEDICAL OR VETERINARY SCIENCE; HYGIENE
- A61H—PHYSICAL THERAPY APPARATUS, e.g. DEVICES FOR LOCATING OR STIMULATING REFLEX POINTS IN THE BODY; ARTIFICIAL RESPIRATION; MASSAGE; BATHING DEVICES FOR SPECIAL THERAPEUTIC OR HYGIENIC PURPOSES OR SPECIFIC PARTS OF THE BODY
- A61H2201/00—Characteristics of apparatus not provided for in the preceding codes
- A61H2201/02—Characteristics of apparatus not provided for in the preceding codes heated or cooled
- A61H2201/0207—Characteristics of apparatus not provided for in the preceding codes heated or cooled heated
-
- A—HUMAN NECESSITIES
- A61—MEDICAL OR VETERINARY SCIENCE; HYGIENE
- A61H—PHYSICAL THERAPY APPARATUS, e.g. DEVICES FOR LOCATING OR STIMULATING REFLEX POINTS IN THE BODY; ARTIFICIAL RESPIRATION; MASSAGE; BATHING DEVICES FOR SPECIAL THERAPEUTIC OR HYGIENIC PURPOSES OR SPECIFIC PARTS OF THE BODY
- A61H2201/00—Characteristics of apparatus not provided for in the preceding codes
- A61H2201/02—Characteristics of apparatus not provided for in the preceding codes heated or cooled
- A61H2201/0221—Mechanism for heating or cooling
- A61H2201/0228—Mechanism for heating or cooling heated by an electric resistance element
-
- A—HUMAN NECESSITIES
- A61—MEDICAL OR VETERINARY SCIENCE; HYGIENE
- A61H—PHYSICAL THERAPY APPARATUS, e.g. DEVICES FOR LOCATING OR STIMULATING REFLEX POINTS IN THE BODY; ARTIFICIAL RESPIRATION; MASSAGE; BATHING DEVICES FOR SPECIAL THERAPEUTIC OR HYGIENIC PURPOSES OR SPECIFIC PARTS OF THE BODY
- A61H2201/00—Characteristics of apparatus not provided for in the preceding codes
- A61H2201/10—Characteristics of apparatus not provided for in the preceding codes with further special therapeutic means, e.g. electrotherapy, magneto therapy or radiation therapy, chromo therapy, infrared or ultraviolet therapy
-
- A—HUMAN NECESSITIES
- A61—MEDICAL OR VETERINARY SCIENCE; HYGIENE
- A61H—PHYSICAL THERAPY APPARATUS, e.g. DEVICES FOR LOCATING OR STIMULATING REFLEX POINTS IN THE BODY; ARTIFICIAL RESPIRATION; MASSAGE; BATHING DEVICES FOR SPECIAL THERAPEUTIC OR HYGIENIC PURPOSES OR SPECIFIC PARTS OF THE BODY
- A61H2201/00—Characteristics of apparatus not provided for in the preceding codes
- A61H2201/16—Physical interface with patient
- A61H2201/1683—Surface of interface
- A61H2201/169—Physical characteristics of the surface, e.g. material, relief, texture or indicia
- A61H2201/1692—Enhanced rubbing effect
Definitions
- the present invention relates to a gum massage device for gum massage.
- gum massage is often performed to improve gum circulation by massaging the gums for the purpose of preventing alveolar pus leakage and gingivitis. .
- Gum massage can be done easily with a hard-toothed toothbrush, but it can cause damage to the gum surface due to excessive force, etc. Proposed.
- the gum massaging tool described in Patent Document 1 massages by pressing a roller against the gums and reciprocating with an appropriate force, and only pressure from the rollers acts on the gums.
- the gum massage device described in Patent Document 2 includes a soft gum contact portion formed with a plurality of hemispherical protrusions and a magnet at the tip of a vibrating shaft, and only vibration and magnetic force are generated by the gum. I am trying to work.
- Patent Documents 1 and 2 are considered to have room for improvement in terms of the massage effect, specifically, in terms of further promoting blood circulation of the gums.
- the present invention has been made in view of the above reasons, and an object of the present invention is to provide a gum massager that can further promote blood circulation of the gums and that is difficult to damage the surface of the gums.
- a gum massaging device accommodates an electromechanical member, and has a long grip portion with a selection switch exposed, and is fixed to the grip portion.
- a fixed shaft portion extending from one end of the fixed shaft portion and a rotatable state around the distal end portion of the fixed shaft portion, and a gum contact portion having a carbon molded body, and a rotatable engagement with the gum contact portion
- a support part that is detachably attached to or formed integrally with the grip part.
- the fixed shaft portion is heated in accordance with the operation of the selection switch, and the carbon molded body of the gum contact portion transmits heat to the surface to be brought into contact with the gum by receiving heat of the fixed shaft portion. .
- the fixed shaft portion vibrates by operation of the selection switch.
- the gum contact portion is provided with a diamond-like carbon coating on the surface of the carbon molded body.
- the carbon molded body has a non-penetrating insertion hole for inserting the fixed shaft portion.
- the gum contact portion is provided with a plurality of soft, substantially hemispherical elastic protrusions on the peripheral surface of the carbon molded body.
- the temperature of the gum contact portion can be raised and pressed against the gum, and heat can be massaged while efficiently raising the temperature of the gum by heat conduction and far infrared radiation from the carbon molded body.
- the blood circulation of the gums can be further promoted, and the gum contact part rotates and the pressure acts on the gums, so that the gum surface is hardly damaged.
- FIG. 2 is a reduced view of the appearance of the above-described gum massage device 1, wherein (a) is a perspective view and (b) is a perspective view observed from the bottom side. It is a characteristic figure of the far-infrared radiation
- the gum massage device 1 is fixed to the long grip portion 2 and the grip portion 2 as shown in FIGS. 1 (a) and 1 (b) and FIGS. 2 (a) and 2 (b).
- a fixed shaft portion 3 extending from one end thereof, a gum contact portion 4 disposed in a rotatable state around the distal end portion of the fixed shaft portion 3, and a gum contact portion 4 rotatably engaged with the gum contact portion 4.
- a support portion 5 that is detachably attached to the grip portion 2.
- FIG. 1A schematically shows an electric machine member and its electric wiring (broken line portion) with respect to the internal configuration of the grip portion 2.
- the grip portion 2 is a long, that is, substantially box-like box body, and a selection switch 21 is exposed (provided to be exposed) at the bottom so that an operation from the outside can be performed.
- the grip portion 2 accommodates batteries 22 and 22 ′, thermostats 23, a motor 24, and the like that are electromechanical members.
- the batteries 22, 22 ′ are operated by operating the selection switch 21 to energize a heating element 32 to be described later in order to heat the fixed shaft portion 3 to generate heat, or to the motor 24 to vibrate the fixed shaft portion 3. Energize to rotate.
- the rotational movement of the motor 24 generates vibration, and the vibration is transmitted to the fixed shaft portion 3 through the vibration transmitting means 24A.
- the two batteries 22 and 22 ' are not electrically connected, and in the on state (the state in which the selection switch 21 is slid to the left in the figure). ), The two batteries 22 and 22 'are electrically connected, the heating element 32 and the motor 24 are both energized, and the fixed shaft portion 3 is heated and vibrates.
- the selection switch 21, the electromechanical member, and the electrical wiring thereof can be changed as appropriate according to the specifications. For example, it is possible to provide two selection switches 21 and heat the fixed shaft portion 3 or vibrate it independently of each other in the ON state. Further, the batteries 22 and 22 'can be changed to one or three or more primary batteries or rechargeable batteries, and can be recharged in a mounted state.
- the thermostat 23 is for controlling the surface of the gum contact portion 4, that is, the portion in contact with the gum so as to have an appropriate temperature (for example, a maximum temperature of about 40 to 45 ° C.). It is disposed in contact with the main body 31. The thermostat 23 controls energization of the heating element 32 according to the temperature detected by the temperature detection portion.
- the fixed shaft portion 3 has a bottomed cylindrical fixed shaft main body 31 (for example, made of aluminum or stainless steel) having a high thermal conductivity and a heating element 32 that generates heat when energized therein.
- a heating element 32 for example, a nichrome wire covered with an insulating material can be used by reciprocating from the vicinity of the base end of the fixed shaft main body 31 to the vicinity of the tip end.
- the fixed shaft main body 31 is heated by the heating element 32 and transmits heat to the gum contact portion 4, and the temperature is detected by the thermostat 23 described above.
- the gum contact portion 4 is rotated when the user presses the gum massage device 1 against the gum and makes a reciprocating motion.
- the gum contact part 4 has, as a main member, a carbon molded body 41 that receives heat from the fixed shaft part 3 and transmits it to the surface to be brought into contact with the gums, and is a connecting member for connecting to the support part 5 as an accessory member. 44.
- the carbon molded body 41 has a carbon crystal structure that is arranged with high density by firing, and is formed integrally as a whole.
- the crystal structure can be made substantially isotropic with no bias in the overall direction.
- the carbon molded body 41 can be manufactured as follows. That is, about 5% by weight of a binder is added to graphite or carbide (such as bamboo charcoal) carbon powder to be solidified, and then isotropically pressed with water pressure or the like to form a predetermined lump (for example, a rectangular shape). Then, heating is performed in a state where oxygen is deficient, and firing is performed at a temperature of about 2500 to 3500 ° C. for a long time.
- the raw material carbon powders are bonded to each other, and the carbon is crystallized (graphitized and shaped carbonized).
- the binder is volatilized at about 1000 to 1200 ° C. during the temperature rise. Thereafter, heating is stopped, the temperature is lowered, and processing is performed into a desired shape. Since the binder is volatilized in the carbon molded body 41 thus completed, almost 100% (99% or more) is a carbon material.
- the bulk density (bulk specific gravity) is 1.77 Mg / m 3 or more.
- the carbon molded body 41 has a high physical strength and a high thermal conductivity (about 100 to 140 W / (m ⁇ K)) because the whole is bonded by a crystal structure. Moreover, the amount of far infrared rays radiated is large (see FIG. 3), and the higher the temperature, the larger.
- FIG. 3 shows far-infrared radiation characteristics of a carbon molded body of 25 ⁇ 25 ⁇ 2 (mm) manufactured in the same manner as the method of manufacturing the carbon molded body 41.
- the solid line is the carbon molded body, and the broken line is the black body radiance.
- the analyzer used was a JEOL Fourier transform infrared spectrophotometer JIR-5500 type / infrared radiation unit IR-IRR200, and the measurement temperature was 50 ° C.
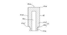
- the carbon molded body 41 has a substantially cylindrical shape, and a large-diameter main body portion 41a that contacts the gums and a small-diameter attachment portion 41b are integrally formed in the axial direction.
- An insertion hole 41c into which the fixed shaft portion 3 is inserted is formed at the position of the central axis.
- the main body portion 41a can have, for example, an outer diameter of about 8 to 10 mm, an axial length of about 15 to 25 mm, and an inner diameter of the insertion hole 41c of about 3 mm.
- the main body portion 41a can adopt various shapes so as to facilitate contact with the gums.
- the one shown in FIG. 1B has a substantially hemispherical shape with the tip portion 41aa rounded, but as shown in FIG. 4, corner portions 41ac, 41ac having small R portions at both ends of the outer surface portion 41ab. It is also possible to form '.
- the mounting portion 41b is formed with an annular groove 41ba on the outer peripheral surface so that a connecting member 44 described later is fitted.
- the inner diameter of the insertion hole 41c is slightly larger than the outer diameter of the fixed shaft portion 3 (for example, about 0.1 mm), and does not hinder heat conduction from the fixed shaft portion 3 to the carbon molded body 41 as much as possible.
- the insertion hole 41c does not penetrate to the tip end portion 41aa of the main body portion 41a. This is because foreign matter does not enter the insertion hole 41c from the distal end portion 41aa, and the distal end portion 41aa can be effectively used for massage.
- the carbon molded body 41 of the gum contact portion 4 is provided with a diamond-like carbon (DLC) coating 42 (for example, a thickness of about 2 to 4 ⁇ m) on the surface thereof.
- DLC diamond-like carbon
- the diamond-like carbon film 42 is formed by vapor phase growth by plasma CVD, PVD, or the like to form carbon having a crystal structure, has good adhesion to the carbon molded body 41, and is hard.
- fluorine and / or silver can be mixed during the vapor phase growth of diamond-like carbon.
- the gum contact portion 4 may be provided with a plurality of soft, substantially hemispherical elastic protrusions 43 on the peripheral surface of the carbon molded body 41 (main body portion 41 a).
- the elastic protrusion 43 protrudes slightly (for example, about 0.2 to 0.4 mm) from the surface of the carbon molded body 41. If it carries out like this, the impact when the gum contact part 4 will contact
- the elastic protrusions 43 can be made of silicone rubber, which is widely used for human body relations.
- a hole having a substantially trapezoidal cross section is formed in the carbon molded body 41, filled with a liquid material (silicone rubber), and the surface of the material is made substantially hemispherical. Preferably, it is formed by curing.
- the connecting member 44 has a substantially short cylindrical shape connecting the carbon molded body 41 and the support portion 5.
- the connecting member 44 has a hollow portion 44a that is open so that the attachment portion 41b of the carbon molded body 41 is inserted from one end and the support portion 5 from the other end, and the attachment portion 41b is provided on the inner surface of the hollow portion 44a.
- An annular first protrusion 44b that fits into the groove 41ba is formed.
- An annular second protrusion 44c is further formed on the inner surface of the hollow portion 44a.
- the support portion 5 is long and has a through hole into which the fixed shaft portion 3 is inserted along the central axis.
- the support part 5 is formed with an annular groove part 5a at one end, and the connecting member 44 of the gum contact part 4 is rotatably engaged (that is, connected so as not to be separated in a rotatable state). To do.
- the support portion 5 also has an attachment / detachment mechanism 5b that can be attached to the grip portion 2 in a detachable manner at the other end.
- the gum massaging device 1 is supported by being engaged so that the gum contact portion 4 is rotatable with the support portion 5, and along the central axis of the gum contact portion 4 and the support portion 5. Then, the fixed shaft portion 3 is inserted into them. The fixed shaft portion 3 is fixed to the grip portion 2, and the support portion 5 is fixed to the grip portion 2 in use. By setting it as such a structure, the outer diameter of the gum contact part 4 can be made small enough so that the gum contact part 4 may reach the back part of a gum. Further, as shown in FIG.
- a bearing 45 is provided in the gum contact portion 4, the inner diameter of the bearing 45 is made smaller than the inner diameter of the insertion hole 41 c of the carbon molded body 41, and the inner side surface of the insertion hole 41 c and the fixed shaft portion. It is also possible to easily secure a gap between the three.
- a bearing 45 is provided in the hollow portion 44 a of the connecting member 44 of the gum contact portion 4. Since the structure of the bearing 45 is the same as that of a known bearing, description thereof is omitted.
- this gum massage tool 1 The usage method of this gum massage tool 1 is as follows. That is, the user operates the selection switch 21 while holding the grip portion 2 with his / her hand, heats and vibrates the fixed shaft portion 3, puts the gum contact portion 4 into the oral cavity, presses it against the gum and presses it with an appropriate force. Massage gums by reciprocating.
- the gum contact portion 4 rotates. That is, there is almost no sliding (sliding movement) with respect to the gums, and it is the pressure of rotation of the gum contact portion 4 that acts on the gums, so that it is difficult to damage the surface of the gums. Moreover, since the physical strength of the carbon molded body 41 is high and the coating 42 is hard, the gum contact part 4 does not easily wear or break. In addition, since the carbon molded body 41 and the coating 42 are the same as the constituent substances of the organic matter that forms the human body, the carbon molded body 41 and the coating 42 become familiar with the gum when it comes into contact with the gums, and are highly safe to the human body. Since they are not metals or plastics, of course, they do not cause metal allergies or chemical allergies.
- the heat of the fixed shaft portion 3 is conducted to the carbon molded body 41 of the gum contact portion 4, and the temperature becomes high.
- the carbon molded body 41 directly transmits heat to the gums by heat conduction and radiates far infrared rays whose amount increases as the temperature increases. This far infrared ray heats the deep part of the gums. Since the temperature of the gum is efficiently increased by the conduction heat and the radiant heat of the far infrared rays, the blood circulation of the gum can be further promoted by the synergistic effect with the pressure by the gum contact portion 4.
- the carbon molded body 41 has high thermal conductivity, the temperature drop from the insertion hole 41c into which the fixed shaft portion 3 is inserted to the surface is small. Therefore, it is not necessary to raise the temperature of the heating element 32 so much, and the accuracy of temperature control by the thermostat 23 in contact with the fixed shaft main body 31 is improved.
- the vibration is transmitted to the gums via the gum contact portion 4. This vibration can further promote blood circulation in the gums.
- FGF-2 fibroblast growth factor
- NGF nerve growth factor
- the gum massage tool 1 which concerns on embodiment of this invention was demonstrated, this invention is not restricted to what was described in the above-mentioned embodiment, Various in the range of the matter described in the claim Design changes are possible. For example, it is possible in some cases not to provide the gum massage device 1 with a function of heat generation. In this case, the carbon molded body 41 may be pressed against the gums after being given heat from the outside. Moreover, it is also possible depending on the case that the gum massage tool 1 does not have a vibration function. In this case, the motor 24 and the like are not necessary.
- the connecting member 44 of the gum contact portion 4 is formed integrally with the support portion 5, and the first protrusion 44 b of the connecting member 44 is rotatably engaged with the groove portion 41 ba of the carbon molded body 41, so that the gums It is also possible for the contact portion 4 to be rotatable with respect to the support portion 5. Therefore, in this case, the connecting member 44 is not included in the gum contact part 4 but is a part of the support part 5. Further, in some cases, it is possible to integrally form the support part 5 without making it detachable from the grip part 2.
Landscapes
- Health & Medical Sciences (AREA)
- Epidemiology (AREA)
- Pain & Pain Management (AREA)
- Physical Education & Sports Medicine (AREA)
- Rehabilitation Therapy (AREA)
- Life Sciences & Earth Sciences (AREA)
- Animal Behavior & Ethology (AREA)
- General Health & Medical Sciences (AREA)
- Public Health (AREA)
- Veterinary Medicine (AREA)
- Massaging Devices (AREA)
- Percussion Or Vibration Massage (AREA)
Priority Applications (4)
| Application Number | Priority Date | Filing Date | Title |
|---|---|---|---|
| CN201180027040.XA CN102958486B (zh) | 2010-11-08 | 2011-11-08 | 牙龈按摩用具 |
| JP2012542938A JP5476521B2 (ja) | 2010-11-08 | 2011-11-08 | 歯茎マッサージ具 |
| KR1020127031890A KR20130115987A (ko) | 2010-11-08 | 2011-11-08 | 잇몸 맛사지 도구 |
| US13/808,960 US9597255B2 (en) | 2010-11-08 | 2011-11-08 | Gum massaging tool |
Applications Claiming Priority (2)
| Application Number | Priority Date | Filing Date | Title |
|---|---|---|---|
| JP2010250239 | 2010-11-08 | ||
| JP2010-250239 | 2010-11-08 |
Publications (1)
| Publication Number | Publication Date |
|---|---|
| WO2012063835A1 true WO2012063835A1 (ja) | 2012-05-18 |
Family
ID=46050977
Family Applications (1)
| Application Number | Title | Priority Date | Filing Date |
|---|---|---|---|
| PCT/JP2011/075756 Ceased WO2012063835A1 (ja) | 2010-11-08 | 2011-11-08 | 歯茎マッサージ具 |
Country Status (5)
| Country | Link |
|---|---|
| US (1) | US9597255B2 (enExample) |
| JP (3) | JP5476521B2 (enExample) |
| KR (1) | KR20130115987A (enExample) |
| CN (2) | CN104856861B (enExample) |
| WO (1) | WO2012063835A1 (enExample) |
Cited By (3)
| Publication number | Priority date | Publication date | Assignee | Title |
|---|---|---|---|---|
| JP2015084779A (ja) * | 2013-10-28 | 2015-05-07 | 日立マクセル株式会社 | 美容機器 |
| JP2016042051A (ja) * | 2014-08-18 | 2016-03-31 | 京都府公立大学法人 | 口腔内マッサージ効果評価方法 |
| JP2020116125A (ja) * | 2019-01-23 | 2020-08-06 | 株式会社トラストレックス | 口腔用電動マッサージ器 |
Families Citing this family (13)
| Publication number | Priority date | Publication date | Assignee | Title |
|---|---|---|---|---|
| JP6498621B2 (ja) * | 2016-03-03 | 2019-04-10 | 株式会社大木工藝 | 歯茎マッサージ具 |
| US11007111B2 (en) * | 2016-06-29 | 2021-05-18 | Lori Ann Paul | Gum soother |
| JP2019013722A (ja) * | 2017-07-05 | 2019-01-31 | 株式会社 Mtg | 美容器 |
| KR102006577B1 (ko) * | 2018-09-12 | 2019-10-01 | 정형민 | 냉온 피부 자극기 |
| US10952924B2 (en) * | 2019-03-13 | 2021-03-23 | Indiga Group, Inc. | Lip augmentation assembly and method of selectively plumping segments of the lips |
| KR102133724B1 (ko) * | 2019-11-07 | 2020-07-14 | 주식회사 블루레오 | 잇몸 마사지기기 |
| US20230000717A1 (en) * | 2019-12-04 | 2023-01-05 | Joyfilly Limited | A massage attachment for use with an electric toothbrush |
| KR102369283B1 (ko) * | 2020-02-11 | 2022-03-02 | 청주대학교 산학협력단 | 체외 충격파를 이용한 잇몸 마사지기 |
| US20220160489A1 (en) * | 2020-11-20 | 2022-05-26 | Phagenesis Limited | Oral hygiene devices, systems, and methods |
| US20230172795A1 (en) * | 2021-12-07 | 2023-06-08 | 2815866 Ontario Inc. | Method for treating myofascial points |
| JP7774857B2 (ja) * | 2022-03-30 | 2025-11-25 | 雅伸 落合 | 口内マッサージ具、マッサージ部材、および把持部材 |
| US12409101B2 (en) * | 2022-12-14 | 2025-09-09 | Shenzhen Global Trade Network Technology Co., Ltd. | Inertial percussion massager |
| FR3159893A1 (fr) * | 2024-03-11 | 2025-09-12 | Thierry SOULIER | Dispositif de biostimulation osseuse adapté pour la cavité buccale |
Citations (5)
| Publication number | Priority date | Publication date | Assignee | Title |
|---|---|---|---|---|
| JP2002119562A (ja) * | 2000-10-18 | 2002-04-23 | Yoshiharu Nozue | 金属体歯肉歯茎マッサージ器 |
| JP2002153496A (ja) * | 2000-11-21 | 2002-05-28 | Matsushita Electric Works Ltd | 歯ブラシ |
| JP4280506B2 (ja) * | 2002-05-23 | 2009-06-17 | 株式会社 マリーヌ | 超音波イオン歯ブラシ |
| JP2009189431A (ja) * | 2008-02-12 | 2009-08-27 | Shigenori Iwasaki | 歯茎マッサージ部、電動歯茎マッサージャー、歯茎マッサージ方法 |
| JP2009195660A (ja) * | 2008-02-21 | 2009-09-03 | Samoto Daigen | ローラー式口腔内マッサージ器具 |
Family Cites Families (19)
| Publication number | Priority date | Publication date | Assignee | Title |
|---|---|---|---|---|
| US3563233A (en) * | 1969-03-17 | 1971-02-16 | Albert G Bodine | Sonic dental tool for massaging gums |
| US4219619A (en) * | 1978-09-08 | 1980-08-26 | Zarow Merle C | Vibrating dental instrument for setting crowns |
| US4299208A (en) * | 1980-02-11 | 1981-11-10 | Max A. Blanc | Gum massage device |
| JPS6311176A (ja) | 1986-03-24 | 1988-01-18 | 山口 義信 | 口腔用具 |
| DE3620295A1 (de) * | 1986-06-16 | 1987-12-17 | Brigitte Maser | Mehrzweckgeraet zur massage des zahnfleisches und reinigung der zaehne |
| JPS63238808A (ja) * | 1987-03-26 | 1988-10-04 | 前田 信秀 | 遠赤外線放射性を有する歯ブラシ |
| US4845796A (en) * | 1987-07-24 | 1989-07-11 | Randy Mosley | Rotating flexible stem tooth brush |
| CN2105955U (zh) * | 1991-11-23 | 1992-06-03 | 李俊宏 | 牙龈按摩器 |
| JPH0595527U (ja) | 1992-06-01 | 1993-12-27 | 川西 利明 | ローラー式歯茎マッサージ器 |
| CA2163752C (en) * | 1993-05-27 | 2001-08-07 | Tomohisa Sugimoto | Oral hygiene instrument |
| CN2269835Y (zh) * | 1996-11-13 | 1997-12-10 | 祝国斌 | 多用电动牙具 |
| US6183427B1 (en) * | 1997-02-06 | 2001-02-06 | Thinky Corp. | Dozing preventive device and its method |
| US6322583B1 (en) * | 1998-03-23 | 2001-11-27 | Hosheng Tu | Medical device and methods thereof |
| JP2001130963A (ja) * | 1999-11-01 | 2001-05-15 | Nippon Carbon Co Ltd | 等方性高密度炭素材の製造方法 |
| US8007909B2 (en) | 2004-04-19 | 2011-08-30 | National Institute Of Advanced Industrial Science & Technology | Carbon film |
| CN101027030A (zh) | 2004-12-22 | 2007-08-29 | 松下电工株式会社 | 牙龈按摩器 |
| FR2882506B1 (fr) * | 2005-02-25 | 2007-05-18 | Oreal | Procede de maquillage au moyen d'un applicateur vibrant |
| US20070265555A1 (en) * | 2006-05-12 | 2007-11-15 | Deng Connie Z | Hand tool for enhancing blood circulation of tooth root and gum |
| US20090007357A1 (en) * | 2007-05-07 | 2009-01-08 | The Gillette Company | Oral Hygiene Implements |
-
2011
- 2011-11-08 US US13/808,960 patent/US9597255B2/en not_active Expired - Fee Related
- 2011-11-08 JP JP2012542938A patent/JP5476521B2/ja not_active Expired - Fee Related
- 2011-11-08 WO PCT/JP2011/075756 patent/WO2012063835A1/ja not_active Ceased
- 2011-11-08 KR KR1020127031890A patent/KR20130115987A/ko not_active Ceased
- 2011-11-08 CN CN201510174000.8A patent/CN104856861B/zh not_active Expired - Fee Related
- 2011-11-08 CN CN201180027040.XA patent/CN102958486B/zh not_active Expired - Fee Related
-
2013
- 2013-12-09 JP JP2013254291A patent/JP2014057888A/ja active Pending
-
2015
- 2015-10-26 JP JP2015209887A patent/JP6120385B2/ja active Active
Patent Citations (5)
| Publication number | Priority date | Publication date | Assignee | Title |
|---|---|---|---|---|
| JP2002119562A (ja) * | 2000-10-18 | 2002-04-23 | Yoshiharu Nozue | 金属体歯肉歯茎マッサージ器 |
| JP2002153496A (ja) * | 2000-11-21 | 2002-05-28 | Matsushita Electric Works Ltd | 歯ブラシ |
| JP4280506B2 (ja) * | 2002-05-23 | 2009-06-17 | 株式会社 マリーヌ | 超音波イオン歯ブラシ |
| JP2009189431A (ja) * | 2008-02-12 | 2009-08-27 | Shigenori Iwasaki | 歯茎マッサージ部、電動歯茎マッサージャー、歯茎マッサージ方法 |
| JP2009195660A (ja) * | 2008-02-21 | 2009-09-03 | Samoto Daigen | ローラー式口腔内マッサージ器具 |
Cited By (3)
| Publication number | Priority date | Publication date | Assignee | Title |
|---|---|---|---|---|
| JP2015084779A (ja) * | 2013-10-28 | 2015-05-07 | 日立マクセル株式会社 | 美容機器 |
| JP2016042051A (ja) * | 2014-08-18 | 2016-03-31 | 京都府公立大学法人 | 口腔内マッサージ効果評価方法 |
| JP2020116125A (ja) * | 2019-01-23 | 2020-08-06 | 株式会社トラストレックス | 口腔用電動マッサージ器 |
Also Published As
| Publication number | Publication date |
|---|---|
| CN102958486B (zh) | 2015-04-29 |
| CN104856861B (zh) | 2017-06-13 |
| JP2016013483A (ja) | 2016-01-28 |
| US20130123675A1 (en) | 2013-05-16 |
| CN102958486A (zh) | 2013-03-06 |
| JP2014057888A (ja) | 2014-04-03 |
| JPWO2012063835A1 (ja) | 2014-05-12 |
| JP5476521B2 (ja) | 2014-04-23 |
| US9597255B2 (en) | 2017-03-21 |
| JP6120385B2 (ja) | 2017-04-26 |
| KR20130115987A (ko) | 2013-10-22 |
| CN104856861A (zh) | 2015-08-26 |
Similar Documents
| Publication | Publication Date | Title |
|---|---|---|
| JP5476521B2 (ja) | 歯茎マッサージ具 | |
| JP2014057888A5 (enExample) | ||
| JP2012100777A (ja) | マッサージ具 | |
| US7244237B2 (en) | Heated massage ball | |
| JP2012187377A (ja) | ホワイトニング補助機器とこれを用いた歯のホワイトニング処理方法 | |
| JP3194033U (ja) | マッサージ具 | |
| JP3194033U7 (enExample) | ||
| JP6498621B2 (ja) | 歯茎マッサージ具 | |
| JP2012085716A (ja) | マッサージローラー | |
| CN211912193U (zh) | 一种带纵向转珠的震动按摩棒 | |
| KR102133724B1 (ko) | 잇몸 마사지기기 | |
| JP5123135B2 (ja) | マッサージ装置 | |
| KR20120116607A (ko) | 온열기와 이를 구비하는 기능성 침대 및 온열기의 제어방법 | |
| JP2011172632A (ja) | 頭皮ケア装置 | |
| CN215899700U (zh) | 一种听诊器加热器及使用该加热器的听诊器组件 | |
| WO2019014803A1 (zh) | 一种震动棒 | |
| JP4718386B2 (ja) | 超音波美容器 | |
| JP3166055U (ja) | 美顔用ローラ器具 | |
| US20250025372A1 (en) | Apparatus, device, and method for powering portable massager with an external power source such as a mobile phone | |
| CN222549601U (zh) | 护理仪 | |
| CN209564378U (zh) | 按摩仪 | |
| CN219110106U (zh) | 一种按摩机及其按摩机芯 | |
| JP2001112836A (ja) | 体脂肪計付き美顔器 | |
| KR20150108608A (ko) | 전열 지압봉 어셈블리 | |
| KR20190103757A (ko) | 진동 온열 마사지 스틱 |
Legal Events
| Date | Code | Title | Description |
|---|---|---|---|
| WWE | Wipo information: entry into national phase |
Ref document number: 201180027040.X Country of ref document: CN |
|
| 121 | Ep: the epo has been informed by wipo that ep was designated in this application |
Ref document number: 11839784 Country of ref document: EP Kind code of ref document: A1 |
|
| ENP | Entry into the national phase |
Ref document number: 20127031890 Country of ref document: KR Kind code of ref document: A |
|
| WWE | Wipo information: entry into national phase |
Ref document number: 2012542938 Country of ref document: JP |
|
| WWE | Wipo information: entry into national phase |
Ref document number: 13808960 Country of ref document: US |
|
| NENP | Non-entry into the national phase |
Ref country code: DE |
|
| 122 | Ep: pct application non-entry in european phase |
Ref document number: 11839784 Country of ref document: EP Kind code of ref document: A1 |