WO2011105044A1 - Information processing method and information processing apparatus - Google Patents
Information processing method and information processing apparatus Download PDFInfo
- Publication number
- WO2011105044A1 WO2011105044A1 PCT/JP2011/000965 JP2011000965W WO2011105044A1 WO 2011105044 A1 WO2011105044 A1 WO 2011105044A1 JP 2011000965 W JP2011000965 W JP 2011000965W WO 2011105044 A1 WO2011105044 A1 WO 2011105044A1
- Authority
- WO
- WIPO (PCT)
- Prior art keywords
- orientation
- imaging
- image
- missing
- information processing
- Prior art date
- Legal status (The legal status is an assumption and is not a legal conclusion. Google has not performed a legal analysis and makes no representation as to the accuracy of the status listed.)
- Ceased
Links
Images
Classifications
-
- G—PHYSICS
- G01—MEASURING; TESTING
- G01B—MEASURING LENGTH, THICKNESS OR SIMILAR LINEAR DIMENSIONS; MEASURING ANGLES; MEASURING AREAS; MEASURING IRREGULARITIES OF SURFACES OR CONTOURS
- G01B11/00—Measuring arrangements characterised by the use of optical techniques
- G01B11/02—Measuring arrangements characterised by the use of optical techniques for measuring length, width or thickness
- G01B11/03—Measuring arrangements characterised by the use of optical techniques for measuring length, width or thickness by measuring coordinates of points
-
- G—PHYSICS
- G01—MEASURING; TESTING
- G01B—MEASURING LENGTH, THICKNESS OR SIMILAR LINEAR DIMENSIONS; MEASURING ANGLES; MEASURING AREAS; MEASURING IRREGULARITIES OF SURFACES OR CONTOURS
- G01B11/00—Measuring arrangements characterised by the use of optical techniques
- G01B11/26—Measuring arrangements characterised by the use of optical techniques for measuring angles or tapers; for testing the alignment of axes
-
- G—PHYSICS
- G06—COMPUTING OR CALCULATING; COUNTING
- G06T—IMAGE DATA PROCESSING OR GENERATION, IN GENERAL
- G06T15/00—3D [Three Dimensional] image rendering
- G06T15/10—Geometric effects
- G06T15/20—Perspective computation
- G06T15/205—Image-based rendering
-
- G—PHYSICS
- G06—COMPUTING OR CALCULATING; COUNTING
- G06T—IMAGE DATA PROCESSING OR GENERATION, IN GENERAL
- G06T7/00—Image analysis
- G06T7/70—Determining position or orientation of objects or cameras
- G06T7/73—Determining position or orientation of objects or cameras using feature-based methods
-
- G—PHYSICS
- G06—COMPUTING OR CALCULATING; COUNTING
- G06T—IMAGE DATA PROCESSING OR GENERATION, IN GENERAL
- G06T2207/00—Indexing scheme for image analysis or image enhancement
- G06T2207/30—Subject of image; Context of image processing
- G06T2207/30204—Marker
-
- G—PHYSICS
- G06—COMPUTING OR CALCULATING; COUNTING
- G06T—IMAGE DATA PROCESSING OR GENERATION, IN GENERAL
- G06T2207/00—Indexing scheme for image analysis or image enhancement
- G06T2207/30—Subject of image; Context of image processing
- G06T2207/30244—Camera pose
Definitions
- the present invention relates to a method for generating a multi view-point image composed of a great number of images of a three-dimensional object captured from a plurality of different view points.
- a great number of images captured from various view points are necessary. Further, with respect to recognition of a three-dimensional object by using an image which is obtained by imaging the three-dimensional object from an arbitrary view point or with respect to learning of a classifier that recognizes the three-dimensional object, it is useful to use a great number of images captured from various view points.
- the learning of the classifier is to set or adjust a parameter of the classifier by using a great amount of data that continually increases according to learning. According to learning, optimum control is realized while adjustment is being made.
- Various methods have been proposed so far as a method for acquiring a great number of images obtained by imaging an object from various view points.
- Japanese Patent Laid-Open No. 2007-72537 discusses an imaging apparatus including a plurality of imaging apparatuses and a rotation base where an object is mounted.
- the imaging apparatus references a feature point of the object. According to such an apparatus, the orientation of the object can be changed and a complete periphery image of the object can be captured.
- Japanese Patent Laid-Open No. 2004-139294 discusses a multi view-point image processing program using a plurality of markers each of which serves as a reference of a view point position. According to such a method, as is with patent literature 1, without using a large-scale imaging apparatus, images of an object captured according to imaging from various view points can be acquired.
- an improved three-dimensional model or improved learning of a classifier that performs arbitrary view-point object recognition it is useful if the image is acquired according to a shape of the object. For example, it is useful if an image of a portion whose structure is complex is acquired in detail from a number of view points. However, the portion of the view points which should be densely arranged in capturing a portion of the object is not clear. Further, even if a portion where view points should be densely arranged is given, a method for simply acquiring such an image is not provided.
- Japanese Patent Laid-Open No. 2007-72537 Japanese Patent Laid-Open No. 2004-139294 Japanese Patent Laid-Open No. 2007-156528 Japanese Patent Laid-Open No. 2000-194859
- an image which is missing in object recognition is presented by using a great number of images obtained by imaging an object from various view points.
- an information processing apparatus includes a relative position and orientation calculation means configured to calculate, based on a plurality of images captured by imaging an object from a plurality of view points by an imaging means, a relative position and orientation with respect to the object relative to the imaging means for each of the plurality of view points, a missing position and orientation calculation means configured to calculate a missing position and orientation of the imaging means from which imaging by the imaging means is missing based on the calculated plurality of relative positions and orientations, and a missing view-point image generation means configured to generate an image used for displaying the calculated missing position and orientation on a display means.
- an information processing method performed by an information processing apparatus includes a relative position and orientation calculation means of the information processing apparatus calculating, based on a plurality of images captured by imaging an object from a plurality of view points by an imaging means, a relative position and orientation with respect to the object relative to the imaging means for each of the plurality of view points, a missing position and orientation calculation means of the information processing apparatus calculating a missing position and orientation of the imaging means from which imaging by the imaging means is missing based on the calculated plurality of relative positions and orientations, and a missing view-point image generation means of the information processing apparatus generating an image used for display of the calculated missing position and orientation on a display means.
- a program causes a computer to execute each step of one of the video information processing methods described above.
- a recording medium stores a program causing a computer to execute each step of one of the video information processing methods described above.
- Fig. 1 is a configuration diagram according to a first exemplary embodiment.
- Fig. 2 illustrates a definition of a measurement coordinate system according to the first exemplary embodiment.
- Fig. 3 illustrates definition of a camera coordinate system and an image coordinate system according to the first exemplary embodiment.
- Fig. 4 is a flowchart illustrating processing according to the first exemplary embodiment.
- Fig. 5 is a flowchart illustrating processing performed by a missing position and orientation calculation unit according to the first exemplary embodiment.
- Fig. 6 illustrates an example of an image displayed on a display unit according to the first exemplary embodiment.
- Fig. 7 is a configuration diagram according to a second exemplary embodiment.
- Fig. 8 is a flowchart illustrating processing according to the second exemplary embodiment.
- Fig. 1 is a configuration diagram according to a first exemplary embodiment.
- Fig. 2 illustrates a definition of a measurement coordinate system according to the first exemplary embodiment.
- Fig. 3 illustrates definition of a
- FIG. 9A illustrates an example of an image processed by an image normalization unit according to the second exemplary embodiment.
- Fig. 9B illustrates an example of an image processed by an image normalization unit according to the second exemplary embodiment.
- Fig. 9C illustrates an example of an image processed by an image normalization unit according to the second exemplary embodiment.
- Fig. 9D illustrates an example of an image processed by an image normalization unit according to the second exemplary embodiment.
- Fig. 10 is a flowchart illustrating processing performed by the missing position and orientation calculation unit according to the second exemplary embodiment.
- Fig. 11 is a configuration diagram according to a third exemplary embodiment.
- Fig. 12 is a flowchart illustrating processing according to the third exemplary embodiment.
- Fig. 13 illustrates an example of missing view point determination based on comparison of two images.
- Fig. 14 illustrates an example of missing view point determination based on an orientation estimation result.
- Fig. 15 is a flowchart illustrating processing performed by the missing position and orientation calculation unit according to the third exemplary embodiment.
- a multi view-point image is generated from a great number of images obtained by evenly imaging an object being a measurement object from various view points.
- Fig. 1 is a configuration diagram according to the present embodiment.
- the present embodiment includes an imaging unit 101, an image input unit 102, a relative position and orientation calculation unit 103, a multi view-point image storage unit 104, a missing position and orientation calculation unit 105, a missing view-point image generation unit 106, and a display unit 107.
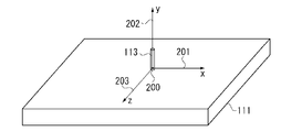
- an object 112 being a measurement object is set on a support 113.
- a plurality of markers 121, 122, . . . , 128 are arranged in the periphery of the object 112. Further, the eight markers of the markers 121 to 128 correspond to color 1, color 2, . . . , color 8 respectively.
- the imaging unit 101 performs imaging of the object 112. For example, imaging of the object 112 mounted on the support 113 is performed by a camera operated by a user.
- the imaging unit 101 can externally output the image which has been captured.
- the imaging unit is a digital still camera or a camcorder including an image sensor, such as a charge-coupled device (CCD), and a lens.
- the captured image is transmitted to the image input unit 102 when, for example, the user presses a shutter button of the digital still camera.
- the image input unit 102 inputs the image transmitted from the imaging unit 101.
- the image input by the image input unit 102 is transmitted to the relative position and orientation calculation unit 103.
- the relative position and orientation calculation unit 103 calculates a relative position and orientation of the object 112 which is a measurement object, and the imaging unit 101.
- the relative position and orientation of the object 112 and the imaging unit 101 calculated by the relative position and orientation calculation unit 103 is transmitted to the multi view-point image storage unit 104.
- the multi view-point image storage unit 104 stores the imaging orientation data obtained by the relative position and orientation calculation unit 103 in association with the image according to which the measurement of the imaging orientation has been performed. The storing operation is repeated until the number of the imaging orientation data pieces reaches a predetermined number. The recorded imaging orientation data is transmitted to the missing position and orientation calculation unit.
- the missing position and orientation calculation unit 105 calculates an imaging-missing view point at the current stage based on a great amount of imaging orientation data obtained by imaging up to the current stage and stored in the multi view-point image storage unit 104.
- the missing view-point image generation unit 106 generates an image showing the view point which is missing from the imaging orientation data of the missing view points calculated by the missing position and orientation calculation unit 105.
- the display unit 107 displays the display image generated by the missing view-point image generation unit 106.
- Fig. 2 illustrates a definition of a measurement coordinate system according to the present embodiment.
- the support 113 is where a measurement object is mounted.
- the support 113 is provided on the measurement base 111.
- the point of origin of the measurement coordinate system is a contact position 200 where the support 113 contacts the measurement base 111, and the axes are an x-axis 201, a y-axis 202, and a z-axis 203.
- the markers are uniquely identified. For example, if the markers have different colors and their three-dimensional positions are known, a color unique to each marker is extracted from the image captured by the imaging unit 101. According to this processing, a marker in the image can be identified and the position of the marker in the image can be detected. A three-dimensional position of each marker is fixed and a center position of the markers in the measurement coordinate system is measured in advance.
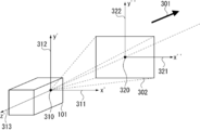
- Fig. 3 illustrates a definition of a camera coordinate system and an image coordinate system.
- a three-dimensional camera coordinate system is defined with respect to the imaging unit 101.
- an image plane 302 which is a virtual plane corresponding to the captured image is defined, and a two-dimensional image coordinate system of the image plane is defined.
- a principal point of the lens of the imaging unit 101 in the camera coordinate system is a point of origin 310.
- the direction corresponding to the right direction with respect to the captured image is defined as an x'-axis 311, the direction corresponding to the upper direction is defined as a y'-axis 312, and the axis parallel to the optical axis of the lens and in a direction opposite to an imaging direction 301 of the imaging unit 101 is defined as a z'-axis 313.
- the image coordinate system is defined, as is illustrated in Fig. 3, as a two-dimensional coordinate system.
- the center of an image plane 302 is defined as a point of origin 320
- the direction corresponding to the right direction of the image is defined as an x"-axis 321
- the direction corresponding to the upper direction is defined as a y"-axis 322.
- Fig. 4 is a flowchart illustrating processing according to the present embodiment. An example of a multi view-point image generation method will be described.
- step S401 the image input unit 102 inputs an image transmitted from the imaging unit 101 to the relative position and orientation calculation unit 103.
- the image obtained by imaging the object 112 needs to include at least four markers in the image.
- the image input by the image input unit 102 is transmitted to the relative position and orientation calculation unit 103 and the processing proceeds to step S402.
- step S402 the relative position and orientation calculation unit 103 calculates a relative position and orientation of the object 112 which is a measurement object and the imaging unit 101. In other words, by processing the image transmitted from the image input unit 102, the relative position and orientation calculation unit 103 measures a position and orientation of the imaging unit when the imaging unit captured the image.
- the relative position and orientation calculation unit extracts the colors 1 to 8, each of which is unique to each marker, and determines whether each marker is included in the image. To be more precise, a hue is obtained from RGB values of each pixel and if the obtained hue and the hue of the color to be extracted are within a predetermined range, that pixel is extracted. If a pixel of a corresponding color is extracted from the image, it is determined that a marker corresponding to that color is included in the image. Then, a barycentric position (position (x", y”) in the above-described image coordinate system) with respect to the image of the pixel corresponding to the color of the marker is obtained.
- positions of four or more markers, whose three-dimensional positions in the measurement coordinate system are known, in the image coordinate system can be obtained.
- a focal length of the lens is known as f [mm]
- f [mm] a focal length of the lens
- a relative position and orientation of two three-dimensional coordinate systems is expressed by two components of the coordinate system, which are a translational component and a rotational component.
- the translational component is a translational mobile component between two points of origin of the two three-dimensional coordinates and is expressed by a translational mobile component (Tx, Ty, Tz) from a point of origin 40 of the measurement coordinate system to the point of origin 310 of the camera coordinate system.
- the rotational component is expressed by an axis of rotation and an amount of rotation with respect to the axis of rotation.
- the relative position and orientation of the two three-dimensional coordinate systems is expressed by the amount of rotation when the x-axis 201, the y-axis 202, and the z-axis 203 of the measurement coordinate system are in the same directions as the x'-axis 311, the y'-axis 312, and the z'-axis 313 of the camera coordinate system respectively.
- the measurement coordinate system is expressed by a direction of the axis of rotation (Rx, Ry, Rz) and a rotation angle "theta" when the measurement coordinate system is rotated on the axis of rotation which passes through the origin of the measurement coordinate system.
- the measured relative position and orientation is expressed by the translational component (Tx, Ty, Tz) and the rotational component between the coordinate systems.
- the rotational component is expressed by the direction of the axis of rotation (Rx, Ry, Rz) and the rotation angle "theta".
- the relative position and orientation is used as the imaging orientation data.
- step S403 The relative position and orientation of the object 112 and the imaging unit 101 calculated by the relative position and orientation calculation unit 103 is transmitted to the multi view-point image storage unit 104 and then the processing proceeds to step S403.
- the multi view-point image storage unit 104 stores the imaging orientation data obtained by the relative position and orientation calculation unit 103 in association with the image according to which the measurement of the imaging orientation has been performed.
- the image of the object 112 which has been captured by the user and the position and orientation of the imaging unit 101 when the image has been captured are stored in the multi view-point image storage unit 104.
- the imaging is repeated until, for example, about 60 pieces of data are obtained.
- step S404 the missing position and orientation calculation unit 105 calculates the imaging-missing view point at the current stage based on a great amount of imaging orientation data captured by that time and stored in the multi view-point image storage unit 104.
- Fig. 5 is a flowchart illustrating processing performed by the missing position and orientation calculation unit. Details of the actual processing performed by the missing position and orientation calculation unit 105 in step S404 will be described.
- Step S501 is an approximately uniform direction calculation step.
- virtual view points are approximately uniformly arranged on a sphere in a virtual three-dimensional space having the object 112 at the center.
- a virtual coordinate system is set in a virtual three-dimensional space, and it is assumed that a sphere with radius 1 having the point of origin of the virtual coordinate system at the center is provided. Points of a predetermined number M are approximately uniformly arranged on the surface of the sphere. Then, a direction in which the imaging is possible is calculated
- the points can be approximately uniformly arranged on the surface of the sphere.
- Step S502 is a similar direction determination step. According to this step, it is determined whether a point not yet used for imaging in a similar orientation exists. To be more precise, it is determined whether imaging in the orientation similar to the imaging orientation in the virtual three-dimensional space is already performed when it is assumed that the imaging is performed with an angle toward the center of the sphere from each point. First, it is simply assumed that the imaging unit 101 is arranged such that the imaging is performed with an angle toward the center of the sphere from each point. Then, the direction of an z'-axis 313 of the camera coordinate system illustrated in Fig. 3 in the virtual coordinate system at that time is obtained.
- the imaging unit 101 Since the imaging is performed with an angle toward the center of the sphere from a point on the surface of the sphere, in other words, since the negative direction of the z'-axis 313 of the camera coordinate system passes through the center of the sphere, this direction will be the position of each point in the virtual coordinate system.
- the imaging unit 101 is arranged such that the image of the center of the sphere is captured from a certain point (Pxi, Pyi, Pzi), the direction of the z'-axis 313 of the camera coordinate system in the virtual coordinate system will be simply (Pxi, Pyi, Pzi).
- a direction with respect to the measurement coordinate system having highest similarity with the direction of the z'-axis 313 of the camera coordinate system is searched and the similarity is obtained.
- An inner product of each of the two directions can be used in determining the similarity.
- a direction (Qx, Qy, Qz) of the z'-axis 313 in the camera coordinate system of the measurement coordinate system is obtained. If the rotational components of the imaging orientation data are the direction of the axis of rotation (Rx, Ry, Rz) and the rotation angle "theta", the direction (Qx, Qy, Qz) can be obtained from the following equation (1).
- inner product of the direction (Pxi, Pyi, Pzi) corresponding to the certain point arranged approximately uniformly on the surface of the sphere and the direction (Qx, Qy, Qz) acquired according to the above-described equation (1) by using a plurality pieces of imaging orientation data stored in the multi view-point image storage unit 104 is obtained. From the obtained inner products, an inner product with the largest value is obtained.
- the predetermined reference value used for the determination can be an arbitrary value smaller than 1. For example, a value, 0.8, is used.
- Step S503 is a dissimilar direction calculation step.
- an imaging-missing view point imaging orientation when the imaging is performed with an angle toward the center of the sphere from a point on the surface of the sphere is obtained.
- a direction (Pxi, Pyi, Pzi) corresponding to the point is determined as the imaging orientation corresponding to the imaging-missing view point. According to such processing, an imaging-missing view point is calculated.
- step S405 it is determined whether a missing position and orientation exists. If it is determined that imaging from view points corresponding to all the points arranged approximately uniformly on the surface of the sphere is sufficient (NO in step S405), the missing position and orientation calculation unit 105 determines that imaging of the measurement object body is evenly performed from various view points, and the processing ends.
- step S405 if it is determined that imaging from a view point corresponding to one of the points arranged approximately uniformly on the surface of the sphere is missing (YES in step S405), the data (Pxi, Pyi, Pzi) corresponding to the imaging orientation is transmitted to the missing view-point image generation unit 106, and the processing proceeds to step S406.
- step S406 the missing view-point image generation unit 106 generates an image presenting the missing view point based on the data of the imaging orientation transmitted from the missing position and orientation calculation unit 105.
- Fig. 6 illustrates an example of an image displayed on the display unit 107.
- An arrow 601 corresponds to an imaging orientation from an imaging-missing view point transmitted from the missing position and orientation calculation unit 105.
- the arrow 601 is on a dotted line 602.
- the dotted line 602 connects the point of origin 40 of the measurement coordinate system and the data (Pxi, Pyi, Pzi) regarding imaging orientation from the imaging-missing view point.
- the missing view point can be confirmed.
- the missing view point can be expressed by a form other than an arrow so long as the user can understand the missing view point.
- the user that performs the imaging of the measurement object body performs imaging from the missing view point displayed on the display unit 107.
- An image captured from the view point corresponding to the arrow 601 is transmitted from the imaging unit 101 to the image input unit 102, and the processing returns to step S401.
- a multi view-point image composed of a great number of images obtained by evenly performing imaging from various view points is stored and a multi view-point image composed of a great number of images obtained by evenly performing imaging from various view points can be generated.
- step S407 the display unit 107 displays the image generated by the missing view-point image generation unit 106.
- the display unit 107 displays a position to which the imaging unit 101 is to be set and imaging of the object 112 is to be performed.
- the images of the object 112 captured evenly from various view points are stored in the multi view-point image storage unit 104, and the processing is continued until there are no missing view points.
- a multi view-point image composed of a great number of images of the measurement object body 112 captured evenly from various view points is generated.
- a view point used in imaging a complex portion of the three-dimensional structure of the measurement object body it is desirable to minutely perform the imaging compared to imaging of a portion having a simple structure. For example, by inputting data of a three-dimensional model of the measurement object body in advance and analyzing the data, a complex portion of the three-dimensional structure of the measurement object body is obtained.
- the measurement object body is a polygon
- the complexity of the structure can be evaluated according to the number of sides of the polygon.
- a view point used for imaging the complex portion of the three-dimensional structure of the measurement object body is obtained.
- a point in the vicinity of a point corresponding to a view point used for imaging the object body where the structure is complex is additionally generated.
- the density of the points on the surface of the sphere in the vicinity of the view point that is used for imaging the complex portion of the structure will be higher.
- step S402 the relative position and orientation of the measurement object body and the imaging unit 101 is directly obtained.
- the method for obtaining the position and orientation of the imaging unit 101 is not limited to using a marker.
- the position and orientation can be obtained in a way different from a captured image.
- a relative position and orientation can be obtained.
- the relative position and orientation of the imaging unit 101 and the object 112 can be obtained by estimating the relative position and orientation of the imaging unit and the object 112 from a three-dimensional model by using a technique discussed in nonpatent literature 2.
- an information processing method used for generating a multi view-point image used by a classifier will be described.
- the classifier recognizes the orientation of the object.
- the information processing method is used for generating the multi view-point image which is used for the learning of the classifier.
- Fig. 7 is a configuration diagram according to the present embodiment.
- the present embodiment includes the imaging unit 101, the image input unit 102, the relative position and orientation calculation unit 103, an image normalization unit 701, the multi view-point image storage unit 104, a classifier learning unit 702, the missing position and orientation calculation unit 105, the missing view-point image generation unit 106, and the display unit 107.
- the object 112 which is a measurement object is set on the support 113.
- a plurality of markers 121, 122, . . . , 128 are arranged. Further, the eight markers of the markers 121 to 128 correspond to the color 1, color 2, . . .
- the object 112 which is a measurement object does not include the colors 1 to 9.
- the imaging unit 101 performs imaging of the object 112.
- the captured image is transmitted to the image input unit 102.
- the image input unit 102 inputs the image transmitted from the imaging unit 101 to the relative position and orientation calculation unit 103.
- the image input by the image input unit 102 is transmitted to the relative position and orientation calculation unit 103.
- the relative position and orientation calculation unit 103 calculates a relative position and orientation of the object 112 which is a measurement object and the imaging unit 101.
- the relative position and orientation of the object 112 and the imaging unit 101 calculated by the relative position and orientation calculation unit 103 is transmitted to the multi view-point image storage unit 104.
- the image normalization unit 701 normalizes an image of the object 112 which is the measurement object into a unified format. To be more precise, an image of the measurement object is clipped from the input image. Then a gray-scale image of the clipped image is generated and the generated image is normalized into a predetermined size.
- the multi view-point image storage unit 104 stores the imaging orientation data obtained by the relative position and orientation calculation unit 103 in association with the image according to which the measurement of the imaging orientation has been performed. The storing operation is repeated until the number of the imaging orientation data pieces reaches a predetermined number. The recorded imaging orientation data is transmitted to the classifier learning unit 702.
- the classifier learning unit 702 Based on a great number of images and imaging orientation data stored in the multi view-point image storage unit 104, the classifier learning unit 702 performs learning of the classifier that estimates the orientation of the object 112 which is included in the image.
- the missing position and orientation calculation unit 105 calculates an imaging-missing view point at the current stage based on a great amount of imaging orientation data obtained by imaging by the current stage according to a result of estimation performed by the classifier which has performed learning according to the classifier learning unit 702.
- the missing view-point image generation unit 106 generates an image showing the view point which is missing from the imaging orientation data of the missing view points calculated by the missing position and orientation calculation unit 105.
- the display unit 107 displays the display image generated by the missing view-point image generation unit 106.
- Fig. 8 is a flowchart illustrating processing flow of a multi view-point image generation method according to the present embodiment.
- step S801 the image input unit 102 inputs the image transmitted from the imaging unit 101.
- the image input by the image input unit 102 is transmitted to the relative position and orientation calculation unit 103 and then the processing proceeds to step S802.
- step S802 the relative position and orientation calculation unit 103 calculates a relative position and orientation of the object 112 which is a measurement object and the imaging unit 101.
- step S803 the image normalization unit 701 normalizes an image of the object 112 which is the measurement object into a unified format. To be more precise, an image of the object 112 which is the measurement object is clipped from the input image. Then a gray-scale image of the clipped image is generated and the generated image is normalized into a predetermined size.
- Fig. 9 illustrates an example of an image processed by the image normalization unit 701. Details of the actual processing performed by the image normalization unit 701 in step S803 will be described.
- Fig. 9A illustrates an input image. Pixels of colors other than colors 1 to 8 being colors of the markers and the color 9 being the color assigned to the regions other than the regions of the markers in the input image, are extracted. As a result of the extraction, an image that extracts only the region of the object 112 which is the measurement object in Fig. 9B is generated. From this image, a circumscribing square region 9 is extracted and clipped as illustrated in Fig. 9C. Then, the color image of the clipped square region is changed into a gray scale image. As illustrated in Fig.
- the size of the image is normalized by expanding or reducing the image so that the width and the height of the clipped region is a predetermined length w pixels.
- An arbitrary value can be used for the predetermined length w pixels.
- step S804 the multi view-point image storage unit 104 stores the image which has undergone the normalization processing in association with the imaging orientation data calculated by the relative position and orientation calculation unit 103.
- the classifier learning unit 702 performs learning of the classifier that estimates the orientation of the object 112 included in the image based on a great number of images and imaging orientation data stored in the multi view-point image storage unit 104.
- the learning of the classifier a plurality of images which have undergone processing such as object clipping performed by a clipping processing unit 702 and imaging orientation data corresponding to each of the images, which are stored in the multi view-point image storage unit 104, are used as learning data.
- this classifier can be used for the estimation of orientation of a three-dimensional object of the support vector regression method discussed in nonpatent literature 3.
- the values predicted by the classifier use three values, that is, roll, pitch, and yaw as estimated values of the orientation of the object 112. To be more precise, the direction of the axis of rotation (Rx, Ry, Rz) and the value of the rotation angle "theta" that represent the rotational component of the imaging orientation data are estimated.
- an eigenspace of the image group is obtained.
- the eigenspace is of an arbitrary dimension, it is desirable to determine the dimension using a cumulative contribution ratio. For example, a number of dimensions where the cumulative contribution ratio is 90% or greater is used as a number of dimensions d ( ⁇ 100 x 100) in the eigenspace. Then, data generated by projecting each of the great number of images which are stored, to an eigenspace of d-dimension is used as input data.
- the direction of the axis of rotation (Rx, Ry, Rz) that indicates a rotational component of the imaging orientation data corresponding to each of the great number of images and the rotation angle "theta" are used as target values when the learning of the support vector regression method is performed. If a clipped image of the object 112 by the image normalization unit is input, in the classifier based on the support vector regression method, an orientation of the measurement object body 112 is output.
- the classifier learning unit 702 is not limited to a classifier using the support vector regression method. For example, a classifier that estimates the orientation of the object 112 from an image of the object 112 which has been captured such as a parametric eigenspace method discussed in nonpatent literature 4 can also be used.
- the missing position and orientation calculation unit 105 calculates an imaging-missing view point at the current stage based on estimation capability of the classifier at the time the classifier has performed learning according to a classifier learning unit 702. For example, a predetermined number of points are approximately uniformly arranged on the surface of the sphere in the virtual three-dimensional space. A plurality of view points, from which imaging is performed with an angle toward the center of the sphere, is prepared. The plurality of view points are hereinafter referred to as virtual view points. Then, regarding each of the virtual view points, out of the plurality pieces of imaging orientation data stored in the multi view-point image storage unit 104, two view points closest to the virtual view point are selected. These view points are hereinafter referred to as imaging-completed adjacent view points. An inner product value in the z'-axis direction in the camera coordinate system indicates the proximity of the view point. In this manner, the imaging-missing view point is calculated.
- Fig. 10 is a flowchart illustrating processing performed by the missing position and orientation calculation unit. Details of actual processing performed by a missing position and orientation calculation unit 123 in step S806 will be described.
- step S1001 a predetermined number of points are approximately uniformly arranged on the surface of the sphere in the virtual three-dimensional space.
- a plurality of view points, from which imaging is performed with an angle toward the center of the sphere, is prepared.
- the plurality of view points are hereinafter referred to as virtual view points.
- two view points closest to the virtual view point are selected. These view points are hereinafter referred to as imaging-completed adjacent view points.
- the proximity of the view point it may be determined that the higher the value of the inner product in the z'-axis direction in the camera coordinate system, the closer the view point.
- an estimated image of the measurement object body 112 when imaging is performed from a position corresponding to the virtual view point is generated.
- the estimated image is a virtual image of the measurement object body 112 when the measurement object body is observed from the above-described virtual view point. Any method can be used as the generation method of the estimated image so long as it can generate the above-described virtual image. Further, as is with the processing of the clip processing unit 702, a gray-scale image having the width and height of w pixels can be generated.
- step S1002 the image of the measurement object body 112 which is captured from the generated virtual view point is input to the classifier of the classifier learning unit 702, and the result of the orientation estimation performed by the classifier is obtained.
- a composite image of a measurement object body corresponding to imaging from a certain virtual view point is prepared, and with respect to the composite image, the classifier that has undergone the learning is applied, and a result of the orientation estimation of the object in the composite image is calculated.
- step S1003 if the result of the orientation estimation is not similar to the imaging orientation of an imaging system 71 when the imaging of the object is performed from a corresponding virtual view point, then it is determined that imaging is missing. Whether the orientation and the imaging orientation are similar or not, can also be determined according to whether a difference between the imaging orientation corresponding to the virtual view point and the result of the orientation estimation is equal to or smaller than a predetermined value. The difference between the two orientations can be considered as a rotation angle of one orientation when it is rotated so that it matches the other orientation.
- Fig. 14 is a schematic diagram of an example of missing view point determination based on the result of the orientation estimation.
- an image 1403 captured from a virtual view point which is a point corresponding to the middle of them is generated by using, for example, morphing. Then, the image is input to a discriminant function (e.g., multivalued nonlinear kernel regression function) which outputs the orientation of the object (direction of the axis of rotation and rotation angle) learned by using the acquired image. Whether the imaging data taken from the middle of the view points is missing is determined based on whether the orientation of the object which is output (estimated value) is within a predetermined range.
- a discriminant function e.g., multivalued nonlinear kernel regression function
- an estimated orientation output 1404 of the middle of the view points (output of the discriminant function) is correct as a middle of the view points, and the missing view points are calculated.
- a curve in Fig. 14 schematically shows values (multivalues) of the correct orientation. If the orientation estimated output 1404 is an output close to the curve as illustrated in Fig. 14, it is determined that an image captured from a view point corresponding to the virtual view point is not missing. If the orientation estimated output 1404 is greatly different from the curve, it is determined that an image captured from a view point corresponding to the virtual view point is missing for the learning of the classifier.
- step S1004 an imaging orientation corresponding to the virtual view point which has been determined that imaging from that point is missing is obtained.
- the position (Pxi, Pyi, Pzi) on the surface of the virtual sphere is obtained as the imaging orientation corresponding to the virtual view point.
- step S807 it is determined whether a missing position and orientation exists. If it is determined that imaging from view points corresponding to all the points arranged approximately uniformly on the surface of the sphere is sufficient (NO in step S807), the missing position and orientation calculation unit 105 determines that a multi view-point image of the measurement object body 112 is sufficiently captured for the learning of the classifier, and the processing proceeds to step S810.
- step S405 if it is determined that imaging from a view point corresponding to one of the points arranged approximately uniformly on the surface of the sphere is missing (YES in step S405), the data (Pxi, Pyi, Pzi) of the imaging orientation corresponding to the virtual view point determined as missing is transmitted to the missing view-point image generation unit 106, and the processing proceeds to step S808.
- step S808 the missing view-point image generation unit 106 generates an image presenting the missing view point based on the data of the imaging orientation transmitted from the missing position and orientation calculation unit 105.
- step S809 the display unit 107 displays the image generated by the missing view-point image generation unit 106.
- step S810 data of the classifier in a state where there are no missing view points is stored in the multi view-point image storage unit 104.
- a number of dimensions of the eigenspace related to the eigenspace on which imaging is performed and a basis vector corresponding to the number of dimensions, a plurality of support vectors, and a plurality of linear combination coefficients corresponding to the plurality of support vectors are stored in the multi view-point image storage unit 104.
- a multi view-point image composed of images necessary in the learning of the classifier that estimates the orientation can be generated. Further, since the classifier that performs arbitrary view point object recognition performs the learning by using the multi view-point image, the orientation of the object can be estimated by using the classifier.
- an example of a method for generating a multi view-point image used for learning of a classifier that recognizes orientation of an object whose image is captured is described.
- the user performs imaging from the missing view point.
- the imaging unit 101 can be mounted on a robot arm or the like. Then, the robot arm or the like can be moved to the missing view point and the imaging can be performed from the missing view point.
- data of the imaging orientation corresponding to the virtual view point which is determined as missing by the missing position and orientation calculation unit 105 is transmitted to an operation control unit of the robot arm or the like. Then, the operation control unit moves the robot arm based on the transmitted data of the imaging orientation.
- imaging by the imaging unit 101 is performed. In this way, the imaging from the missing view point can be performed and a multi view-point image sufficient for the learning of the classifier can be automatically obtained.
- an example of an information processing method for generating a multi view-point image used for generating a three-dimensional model of a measurement object body will be described.
- Fig. 11 is a configuration diagram according to the present embodiment.
- the present embodiment includes the imaging unit 101, the image input unit 102, the relative position and orientation calculation unit 103, an image normalization unit 701, the multi view-point image storage unit 104, a three-dimensional model generation unit 1101, the missing position and orientation calculation unit 105, the missing view-point image generation unit 106, and the display unit 107.
- the object 112 which is a measurement object is set on the support 113.
- a plurality of markers 121, 122, . . . , 128 are arranged. Further, the eight markers of the markers 121 to 128 correspond to the color 1, color 2, . .
- the object 112 which is a measurement object does not include the colors 1 to 9. In the following description, regarding the above-described configuration, only components different from those of the first exemplary embodiment are described and description of similar portions are not repeated.
- the imaging unit 101 performs imaging of the object 112.
- the captured image is transmitted to the processing unit 12.
- the image input unit 102 inputs the image transmitted from the imaging unit 101 to the processing unit 12.
- the image input by the image input unit 102 is transmitted to the relative position and orientation calculation unit 103.
- the relative position and orientation calculation unit 103 calculates a relative position and orientation of the object 112 which is a measurement object and the imaging unit 101.
- the relative position and orientation of the object 112 and the imaging unit 101 calculated by the relative position and orientation calculation unit 103 is transmitted to the multi view-point image storage unit 104.
- the image normalization unit 701 clips only the object 112 which is a measurement object from the input image.
- the clipped image is transformed into a gray scale image and normalized into a predetermined size.
- the multi view-point image storage unit 104 stores the imaging orientation data obtained by the relative position and orientation calculation unit 103 in association with the image according to which the measurement of the imaging orientation has been performed.
- the three-dimensional model generation unit 1101 generates a three-dimensional model of the measurement object body by using the images of the measurement object body 112 captured from a plurality of view points and stored in the multi view-point image storage unit 104.
- the missing position and orientation calculation unit 105 calculates an imaging-missing view point at the current stage according to a great amount of imaging orientation data obtained by imaging performed by the current stage.
- the missing view-point image generation unit 106 generates an image to be displayed from the imaging orientation data of the missing view points calculated by the missing position and orientation calculation unit 105.
- the display unit 107 displays the display image generated by the missing view-point image generation unit 106.
- Fig. 12 is a flowchart illustrating a multi view-point image generation method according to the present embodiment.
- step S1201 the image input unit 102 inputs the image transmitted from the imaging unit 101.
- the image input by the image input unit 102 is transmitted to the relative position and orientation calculation unit 103, and then the processing proceeds to step S1202.
- step S1202 the relative position and orientation calculation unit 103 calculates a relative position and orientation of the object 112 which is a measurement object and the imaging unit 101.
- step S1203 the image normalization unit 701 clips only the object 112 which is the measurement object from the input image.
- the clipped image is transformed into a gray scale image and normalized into a predetermined size.
- step S1204 the multi view-point image storage unit 104 stores the image whose object is clipped and has undergone the normalization processing in association with the imaging orientation data obtained by the relative position and orientation calculation unit 103.
- step S1205 the three-dimensional model generation unit 1101 generates a three-dimensional model of the measurement object body by using the images of the measurement object body 112 captured from a plurality of view points and stored in the multi view-point image storage unit 104. For example, by using a technique discussed in patent literature 4, a three-dimensional model of the object 112 captured from a plurality of view points is generated.
- step S1206 based on the three-dimensional model generated by the three-dimensional model generation unit 1101, the missing position and orientation calculation unit 105 calculates an imaging-missing view point at the current stage.
- Fig. 15 is a flowchart illustrating processing performed by the missing position and orientation calculation unit. Details of the actual processing performed by the missing position and orientation calculation unit 105 in step S1206 will be described.
- step S1501 first, a predetermined number of points are approximately uniformly arranged on the surface of a sphere in the virtual three-dimensional space and a virtual view point corresponding to each of such point is provided. Subsequently, two imaging-completed adjacent view points are selected for each virtual view point. Then, by using an image of the measurement object body 112 corresponding to the selected two imaging-completed adjacent view points, an estimated image of the measurement object body 112 is generated in a case where the imaging of the measurement object body is performed from a position corresponding to the virtual view point.
- the estimated image can also be generated, for example, by using view morphing method discussed in nonpatent literature 5.
- step S1502 a rendering image of the three-dimensional model which is generated by using the multi view-point image obtained by the current stage is generated.
- the rendering image of the three-dimensional model is generated by rendering the three-dimensional model generated by the three-dimensional model generation unit 1101 under a condition that the three-dimensional model is observed from each virtual view point.
- the rendering is a 3D-CG technique.
- step 1503 the estimated image and the rendering image corresponding to each virtual point are compared. If similarity of the two images is low, it is determined that imaging from that virtual view point is missing.
- the comparison of the two images is based on, for example, comparison of normalization correlation. If the value of the normalization correlation is equal to or lower than a predetermined value, it is determined that the similarity of the two images is low.
- Fig. 13 is a schematic diagram of an example of the missing view point determination based on the comparison of two images.
- an image 1303 captured from a virtual view point which is a point corresponding to the middle of them is generated by using, for example, a view-point morphing method.
- a rendering image 1304 is generated by rendering the three-dimensional model generated by using the multi view-point images obtained by the current stage according to projection under the condition that the observation is made from the middle of the view points. Then, by comparing the two images, based on whether their similarity (e.g., normalization correlation value of the result of the edge extraction) is equal to or greater than a predetermined value, whether imaging data of that middle of the view points is missing or not is determined. In other words, if a difference 1305 between the estimated image 1303 which is generated according to the view point morphing method or the like and the rendering image 1304 is great, it is determined that a corresponding view point is missing.
- step S1504 an imaging orientation corresponding to the virtual view point about which it has been determined that imaging from that point is missing is obtained.
- the position (Pxi, Pyi, Pzi) on the surface of the virtual sphere is obtained as the imaging orientation corresponding to the virtual view point.
- step S1207 it is determined whether a missing position and orientation exists. If it is determined that imaging from view points corresponding to all the points arranged approximately uniformly on the surface of the sphere is sufficient (NO in step S807), the missing position and orientation calculation unit 105 determines that imaging of a multi view-point image of the measurement object body 112 is sufficiently captured for the generation of the three-dimensional model, and the processing proceeds to step S1210.
- step S405 if it is determined that the imaging from a view point corresponding to one of the points arranged approximately uniformly on the surface of the sphere is missing (YES in step S405), the data (Pxi, Pyi, Pzi) of the imaging orientation is transmitted to the missing view-point image generation unit 106, and the processing proceeds to step S1208.
- step S1208 the missing view-point image generation unit 106 generates an image indicating the missing view point based on the data of the imaging orientation sent from the missing position and orientation calculation unit 105.
- step S1209 the display unit 107 displays the image generated by the missing view-point image generation unit 106.
- step S1210 the three-dimensional model generation unit 1101 generates a three-dimensional model of the measurement object body 112 from a plurality of images with no missing view points and stores the generated three-dimensional model in the multi view-point image storage unit 104.
- a multi view-point image composed of a great number of images necessary for generating a three-dimensional model for generating a three-dimensional model of an object can be generated.
- a multi view-point image sufficient for the generation of the three-dimensional model can be automatically obtained.
- an example of a multi view-point image generation method used for generating a three-dimensional model of a measurement object body is described.
- the present invention can be applied to an apparatus comprising a single device or to system constituted by a plurality of devices.
- the invention can be implemented by supplying a software program, which implements the functions of the foregoing embodiments, directly or indirectly to a system or apparatus, reading the supplied program code with a computer of the system or apparatus, and then executing the program code.
- a software program which implements the functions of the foregoing embodiments
- reading the supplied program code with a computer of the system or apparatus, and then executing the program code.
- the mode of implementation need not rely upon a program.
- the program code installed in the computer also implements the present invention.
- the claims of the present invention also cover a computer program for the purpose of implementing the functions of the present invention.
- the program may be executed in any form, such as an object code, a program executed by an interpreter, or scrip data supplied to an operating system.
- Example of storage media that can be used for supplying the program are a floppy disk, a hard disk, an optical disk, a magneto-optical disk, a CD-ROM, a CD-R, a CD-RW, a magnetic tape, a non-volatile type memory card, a ROM, and a DVD (DVD-ROM and a DVD-R).
- a client computer can be connected to a website on the Internet using a browser of the client computer, and the computer program of the present invention or an automatically-installable compressed file of the program can be downloaded to a recording medium such as a hard disk.
- the program of the present invention can be supplied by dividing the program code constituting the program into a plurality of files and downloading the files from different websites.
- a WWW World Wide Web
- a storage medium such as a CD-ROM
- an operating system or the like running on the computer may perform all or a part of the actual processing so that the functions of the foregoing embodiments can be implemented by this processing.
- a CPU or the like mounted on the function expansion board or function expansion unit performs all or a part of the actual processing so that the functions of the foregoing embodiments can be implemented by this processing.
Landscapes
- Physics & Mathematics (AREA)
- Engineering & Computer Science (AREA)
- General Physics & Mathematics (AREA)
- Theoretical Computer Science (AREA)
- Computer Graphics (AREA)
- Geometry (AREA)
- Computing Systems (AREA)
- Computer Vision & Pattern Recognition (AREA)
- Length Measuring Devices By Optical Means (AREA)
- Processing Or Creating Images (AREA)
- Image Processing (AREA)
- Testing, Inspecting, Measuring Of Stereoscopic Televisions And Televisions (AREA)
- Image Analysis (AREA)
Priority Applications (1)
| Application Number | Priority Date | Filing Date | Title |
|---|---|---|---|
| US13/580,560 US9429418B2 (en) | 2010-02-25 | 2011-02-22 | Information processing method and information processing apparatus |
Applications Claiming Priority (2)
| Application Number | Priority Date | Filing Date | Title |
|---|---|---|---|
| JP2010040596 | 2010-02-25 | ||
| JP2010-040596 | 2010-02-25 |
Publications (1)
| Publication Number | Publication Date |
|---|---|
| WO2011105044A1 true WO2011105044A1 (en) | 2011-09-01 |
Family
ID=44506477
Family Applications (1)
| Application Number | Title | Priority Date | Filing Date |
|---|---|---|---|
| PCT/JP2011/000965 Ceased WO2011105044A1 (en) | 2010-02-25 | 2011-02-22 | Information processing method and information processing apparatus |
Country Status (3)
| Country | Link |
|---|---|
| US (1) | US9429418B2 (enExample) |
| JP (1) | JP5812599B2 (enExample) |
| WO (1) | WO2011105044A1 (enExample) |
Cited By (2)
| Publication number | Priority date | Publication date | Assignee | Title |
|---|---|---|---|---|
| CN103295011A (zh) * | 2012-02-08 | 2013-09-11 | 索尼公司 | 信息处理装置、信息处理方法、以及计算机程序 |
| CN109565580A (zh) * | 2016-05-25 | 2019-04-02 | 佳能株式会社 | 信息处理设备、图像生成方法、控制方法和程序 |
Families Citing this family (38)
| Publication number | Priority date | Publication date | Assignee | Title |
|---|---|---|---|---|
| JP5812599B2 (ja) * | 2010-02-25 | 2015-11-17 | キヤノン株式会社 | 情報処理方法及びその装置 |
| US9129438B2 (en) * | 2011-01-18 | 2015-09-08 | NedSense Loft B.V. | 3D modeling and rendering from 2D images |
| JP2013225245A (ja) | 2012-04-23 | 2013-10-31 | Sony Corp | 画像処理装置、画像処理方法及びプログラム |
| JP5571128B2 (ja) * | 2012-06-28 | 2014-08-13 | 株式会社東芝 | 計測支援装置、方法及びプログラム |
| JP6338369B2 (ja) * | 2013-12-26 | 2018-06-06 | キヤノン株式会社 | 情報処理装置および情報処理方法 |
| JP6664579B2 (ja) * | 2014-06-20 | 2020-03-13 | ヤフー株式会社 | 学習装置、学習方法及び学習プログラム |
| JP6193195B2 (ja) * | 2014-09-17 | 2017-09-06 | 株式会社東芝 | 移動支援装置、方法及びプログラム |
| US9704300B2 (en) * | 2015-03-06 | 2017-07-11 | Siemens Medical Solutions Usa, Inc. | Detection of anatomy orientation using learning-based regression |
| JP6663926B2 (ja) * | 2015-05-13 | 2020-03-13 | グーグル エルエルシー | DeepStereo:実世界の画像から新たなビューを予測するための学習 |
| US10102654B1 (en) * | 2015-07-28 | 2018-10-16 | Cascade Technologies, Inc. | System and method for a scalable interactive image-based visualization environment of computational model surfaces |
| JP2017049052A (ja) * | 2015-08-31 | 2017-03-09 | 日本ユニシス株式会社 | 対象物の3次元画像データを生成するためのシステム、方法、プログラム |
| CN105513049B (zh) * | 2015-11-25 | 2018-12-21 | 中国联合网络通信集团有限公司 | 一种图像形成方法和图像形成系统 |
| KR102016413B1 (ko) * | 2016-01-05 | 2019-09-02 | 한국전자통신연구원 | 아이템 스캐닝 장치 및 방법 |
| JP6164319B2 (ja) * | 2016-03-02 | 2017-07-19 | ソニー株式会社 | 情報処理装置、情報処理方法およびコンピュータプログラム |
| US10717001B2 (en) * | 2016-03-25 | 2020-07-21 | Zero Latency PTY LTD | System and method for saving tracked data in the game server for replay, review and training |
| US10486061B2 (en) | 2016-03-25 | 2019-11-26 | Zero Latency Pty Ltd. | Interference damping for continuous game play |
| US10421012B2 (en) | 2016-03-25 | 2019-09-24 | Zero Latency PTY LTD | System and method for tracking using multiple slave servers and a master server |
| JP6431495B2 (ja) * | 2016-03-25 | 2018-11-28 | 本田技研工業株式会社 | 教師データ生成方法 |
| US9916496B2 (en) | 2016-03-25 | 2018-03-13 | Zero Latency PTY LTD | Systems and methods for operating a virtual reality environment using colored marker lights attached to game objects |
| JP6821326B2 (ja) * | 2016-05-12 | 2021-01-27 | キヤノン株式会社 | 情報処理装置、計測システム、情報処理方法およびプログラム |
| US10751609B2 (en) | 2016-08-12 | 2020-08-25 | Zero Latency PTY LTD | Mapping arena movements into a 3-D virtual world |
| JP6945297B2 (ja) * | 2016-12-05 | 2021-10-06 | 株式会社日立製作所 | 機器診断装置、機器診断システム及び機器診断方法 |
| WO2018143153A1 (ja) * | 2017-02-03 | 2018-08-09 | 三井住友建設株式会社 | 位置測定装置及び位置測定方法 |
| JP6983524B2 (ja) * | 2017-03-24 | 2021-12-17 | キヤノン株式会社 | 情報処理装置、情報処理方法およびプログラム |
| WO2018221198A1 (ja) * | 2017-05-31 | 2018-12-06 | 株式会社フジキン | 半導体製造装置の管理システム、方法、及びコンピュータプログラム |
| JP6946087B2 (ja) * | 2017-07-14 | 2021-10-06 | キヤノン株式会社 | 情報処理装置及びその制御方法、並びに、プログラム |
| JP6474179B2 (ja) * | 2017-07-30 | 2019-02-27 | 国立大学法人 奈良先端科学技術大学院大学 | 学習データセット作製方法、並びに、物体認識及び位置姿勢推定方法 |
| WO2019064399A1 (ja) * | 2017-09-27 | 2019-04-04 | 株式会社ソニー・インタラクティブエンタテインメント | 情報処理システムおよび対象物情報取得方法 |
| JP6734253B2 (ja) | 2017-12-20 | 2020-08-05 | ファナック株式会社 | ワークを撮像する視覚センサを備える撮像装置 |
| JP7133926B2 (ja) | 2018-01-15 | 2022-09-09 | キヤノン株式会社 | 情報処理装置、システム、情報処理方法 |
| JP2019192145A (ja) * | 2018-04-27 | 2019-10-31 | ソニー株式会社 | 情報処理装置、情報処理方法及びプログラム |
| JP7036401B2 (ja) * | 2018-04-27 | 2022-03-15 | Awl株式会社 | 学習用サーバ、不足学習用画像収集支援システム、及び不足学習用画像推定プログラム |
| US20220198751A1 (en) * | 2019-03-15 | 2022-06-23 | Mimaki Engineering Co., Ltd. | Three-dimensional-body data generation device, three-dimensional-body data generation method, program, and modeling system |
| KR102198851B1 (ko) | 2019-11-12 | 2021-01-05 | 네이버랩스 주식회사 | 물체의 3차원 모델 데이터 생성 방법 |
| US11800056B2 (en) | 2021-02-11 | 2023-10-24 | Logitech Europe S.A. | Smart webcam system |
| US11800048B2 (en) | 2021-02-24 | 2023-10-24 | Logitech Europe S.A. | Image generating system with background replacement or modification capabilities |
| JP2023113366A (ja) | 2022-02-03 | 2023-08-16 | キヤノン株式会社 | 情報処理装置、情報処理方法、及びプログラム |
| WO2024090191A1 (ja) * | 2022-10-28 | 2024-05-02 | ソニーグループ株式会社 | 情報処理装置、および情報処理方法、並びにプログラム |
Citations (1)
| Publication number | Priority date | Publication date | Assignee | Title |
|---|---|---|---|---|
| JP2005195335A (ja) * | 2003-12-26 | 2005-07-21 | Fuji Xerox Co Ltd | 3次元画像撮影装置および方法 |
Family Cites Families (93)
| Publication number | Priority date | Publication date | Assignee | Title |
|---|---|---|---|---|
| US5319444A (en) * | 1988-02-16 | 1994-06-07 | Canon Kabushiki Kaisha | Position detecting method and apparatus |
| US5340992A (en) * | 1988-02-16 | 1994-08-23 | Canon Kabushiki Kaisha | Apparatus and method of detecting positional relationship using a weighted coefficient |
| US5327221A (en) * | 1988-02-16 | 1994-07-05 | Canon Kabushiki Kaisha | Device for detecting positional relationship between two objects |
| US4920491A (en) * | 1988-05-16 | 1990-04-24 | General Electric Company | Enhancement of image quality by utilization of a priori information |
| DE68929270T2 (de) * | 1988-09-09 | 2001-05-23 | Canon K.K., Tokio/Tokyo | Vorrichtung und Gerät zur Positionsdetektion |
| US5225892A (en) * | 1990-02-05 | 1993-07-06 | Canon Kabushiki Kaisha | Positional deviation detecting method |
| EP0455443B1 (en) * | 1990-05-01 | 1997-11-12 | Canon Kabushiki Kaisha | Positional deviation detecting method and apparatus |
| US5291563A (en) * | 1990-12-17 | 1994-03-01 | Nippon Telegraph And Telephone Corporation | Method and apparatus for detection of target object with improved robustness |
| US5625408A (en) * | 1993-06-24 | 1997-04-29 | Canon Kabushiki Kaisha | Three-dimensional image recording/reconstructing method and apparatus therefor |
| JP2883265B2 (ja) * | 1993-09-24 | 1999-04-19 | キヤノン株式会社 | 画像処理装置 |
| US6463176B1 (en) * | 1994-02-02 | 2002-10-08 | Canon Kabushiki Kaisha | Image recognition/reproduction method and apparatus |
| US6118475A (en) * | 1994-06-02 | 2000-09-12 | Canon Kabushiki Kaisha | Multi-eye image pickup apparatus, and method and apparatus for measuring or recognizing three-dimensional shape |
| JP3513219B2 (ja) * | 1994-07-12 | 2004-03-31 | キヤノン株式会社 | 対応点マッチング方法および装置 |
| EP0701369A1 (en) * | 1994-09-09 | 1996-03-13 | Canon Kabushiki Kaisha | Image processing method and apparatus |
| US6640004B2 (en) * | 1995-07-28 | 2003-10-28 | Canon Kabushiki Kaisha | Image sensing and image processing apparatuses |
| US6636635B2 (en) * | 1995-11-01 | 2003-10-21 | Canon Kabushiki Kaisha | Object extraction method, and image sensing apparatus using the method |
| JP3869876B2 (ja) * | 1995-12-19 | 2007-01-17 | キヤノン株式会社 | 画像計測方法及び画像計測装置 |
| US6445814B2 (en) * | 1996-07-01 | 2002-09-03 | Canon Kabushiki Kaisha | Three-dimensional information processing apparatus and method |
| JP3679512B2 (ja) * | 1996-07-05 | 2005-08-03 | キヤノン株式会社 | 画像抽出装置および方法 |
| US6453069B1 (en) * | 1996-11-20 | 2002-09-17 | Canon Kabushiki Kaisha | Method of extracting image from input image using reference image |
| JPH10191020A (ja) * | 1996-12-20 | 1998-07-21 | Canon Inc | 被写体画像切出し方法及び装置 |
| EP0977151B1 (en) * | 1998-07-31 | 2007-11-07 | Canon Kabushiki Kaisha | Image processing apparatus, image processing method, and storage medium |
| JP2000209425A (ja) * | 1998-11-09 | 2000-07-28 | Canon Inc | 画像処理装置及び方法並びに記憶媒体 |
| JP2000194859A (ja) | 1998-12-25 | 2000-07-14 | Canon Inc | 被写体形状抽出方法、被写体形状抽出装置及び記録媒体 |
| JP2000209430A (ja) * | 1999-01-18 | 2000-07-28 | Canon Inc | 輪郭抽出装置及び方法並びに記憶媒体 |
| US6674905B1 (en) * | 1999-01-22 | 2004-01-06 | Canon Kabushiki Kaisha | Image processing method, image processing apparatus, and storage medium |
| JP4306006B2 (ja) * | 1999-03-30 | 2009-07-29 | コニカミノルタセンシング株式会社 | 3次元データ入力方法及び装置 |
| US7054850B2 (en) * | 2000-06-16 | 2006-05-30 | Canon Kabushiki Kaisha | Apparatus and method for detecting or recognizing pattern by employing a plurality of feature detecting elements |
| US6826299B2 (en) * | 2000-07-31 | 2004-11-30 | Geodetic Services, Inc. | Photogrammetric image correlation and measurement system and method |
| US7088860B2 (en) * | 2001-03-28 | 2006-08-08 | Canon Kabushiki Kaisha | Dynamically reconfigurable signal processing circuit, pattern recognition apparatus, and image processing apparatus |
| US20020164067A1 (en) * | 2001-05-02 | 2002-11-07 | Synapix | Nearest neighbor edge selection from feature tracking |
| JP4085671B2 (ja) * | 2002-03-29 | 2008-05-14 | コニカミノルタホールディングス株式会社 | データ処理方法、データ処理プログラムおよび記録媒体 |
| US7031512B2 (en) * | 2002-04-18 | 2006-04-18 | Stmicroelectronics, Inc. | Method and system for 3D smoothing within the bound of error regions of matching curves |
| JP2003346185A (ja) * | 2002-05-24 | 2003-12-05 | Olympus Optical Co Ltd | 情報表示システム及び携帯情報端末 |
| JP2004139294A (ja) * | 2002-10-17 | 2004-05-13 | Hitachi Ltd | 多視点画像処理プログラム、システム及びマーカ |
| JP2004170329A (ja) * | 2002-11-22 | 2004-06-17 | Nippon Steel Corp | バンプ電極およびバンプ電極用ボール検査方法 |
| AU2003289116A1 (en) * | 2002-12-16 | 2004-07-09 | Canon Kabushiki Kaisha | Pattern identification method, device thereof, and program thereof |
| US8737720B2 (en) * | 2003-04-30 | 2014-05-27 | Deere & Company | System and method for detecting and analyzing features in an agricultural field |
| EP1650711B1 (en) * | 2003-07-18 | 2015-03-04 | Canon Kabushiki Kaisha | Image processing device, imaging device, image processing method |
| US7643025B2 (en) * | 2003-09-30 | 2010-01-05 | Eric Belk Lange | Method and apparatus for applying stereoscopic imagery to three-dimensionally defined substrates |
| JP4262082B2 (ja) * | 2003-12-24 | 2009-05-13 | キヤノン株式会社 | 画像処理装置及びその制御方法とプログラム及び記憶媒体 |
| US7292735B2 (en) * | 2004-04-16 | 2007-11-06 | Microsoft Corporation | Virtual image artifact detection |
| GB2415344B (en) * | 2004-06-14 | 2010-10-06 | Canon Europa Nv | Texture data compression and rendering in 3D computer graphics |
| EP1607716A3 (en) * | 2004-06-18 | 2012-06-20 | Topcon Corporation | Model forming apparatus and method, and photographing apparatus and method |
| JP4217664B2 (ja) * | 2004-06-28 | 2009-02-04 | キヤノン株式会社 | 画像処理方法、画像処理装置 |
| WO2006011635A1 (en) * | 2004-07-30 | 2006-02-02 | Canon Kabushiki Kaisha | Image processing method and apparatus, image sensing apparatus, and program |
| JP2006287749A (ja) * | 2005-04-01 | 2006-10-19 | Canon Inc | 撮像装置、及びその制御方法 |
| FI20055168A0 (fi) * | 2005-04-13 | 2005-04-13 | Gen Electric | Tomografiamenetelmä |
| US7945938B2 (en) * | 2005-05-11 | 2011-05-17 | Canon Kabushiki Kaisha | Network camera system and control method therefore |
| WO2007008530A1 (en) * | 2005-07-08 | 2007-01-18 | Wisconsin Alumni Research Foundation | Backprojection reconstruction method for ct imaging |
| DE602006009191D1 (de) * | 2005-07-26 | 2009-10-29 | Canon Kk | Bildaufnahmegerät und -verfahren |
| JP4508049B2 (ja) | 2005-09-05 | 2010-07-21 | 株式会社日立製作所 | 360°画像撮影装置 |
| US8542928B2 (en) * | 2005-09-26 | 2013-09-24 | Canon Kabushiki Kaisha | Information processing apparatus and control method therefor |
| JP2007156528A (ja) | 2005-11-30 | 2007-06-21 | Canon Inc | 点密度均等配置装置及びその方法、並びにプログラム及び記憶媒体 |
| US7599547B2 (en) * | 2005-11-30 | 2009-10-06 | Microsoft Corporation | Symmetric stereo model for handling occlusion |
| JP4764273B2 (ja) * | 2006-06-30 | 2011-08-31 | キヤノン株式会社 | 画像処理装置、画像処理方法、プログラム、記憶媒体 |
| US8072482B2 (en) * | 2006-11-09 | 2011-12-06 | Innovative Signal Anlysis | Imaging system having a rotatable image-directing device |
| US8542236B2 (en) * | 2007-01-16 | 2013-09-24 | Lucasfilm Entertainment Company Ltd. | Generating animation libraries |
| JP4845755B2 (ja) * | 2007-01-30 | 2011-12-28 | キヤノン株式会社 | 画像処理装置、画像処理方法、プログラム及び記憶媒体 |
| US8000522B2 (en) * | 2007-02-02 | 2011-08-16 | General Electric Company | Method and system for three-dimensional imaging in a non-calibrated geometry |
| JP4999570B2 (ja) * | 2007-06-18 | 2012-08-15 | キヤノン株式会社 | 表情認識装置及び方法、並びに撮像装置 |
| JP5084398B2 (ja) * | 2007-08-24 | 2012-11-28 | キヤノン株式会社 | 測定装置、測定方法、及び、プログラム |
| JP5448326B2 (ja) * | 2007-10-29 | 2014-03-19 | キヤノン株式会社 | 把持装置および把持装置制御方法 |
| BRPI0822032A2 (pt) * | 2007-12-20 | 2015-07-21 | Koninkl Philips Electronics Nv | Método de codificação de imagem que permite renderização estereoscópica, portador de dados, codificador de imagem, decodificador de imagem, e, produto de programa de computador |
| JP5058838B2 (ja) * | 2008-02-01 | 2012-10-24 | キヤノン株式会社 | 情報処理装置および方法 |
| EP2327059B1 (en) * | 2008-10-02 | 2014-08-27 | Fraunhofer-Gesellschaft zur Förderung der angewandten Forschung e.V. | Intermediate view synthesis and multi-view data signal extraction |
| US8482654B2 (en) * | 2008-10-24 | 2013-07-09 | Reald Inc. | Stereoscopic image format with depth information |
| US8634635B2 (en) * | 2008-10-30 | 2014-01-21 | Clever Sys, Inc. | System and method for stereo-view multiple animal behavior characterization |
| EP2384000B1 (en) * | 2008-12-26 | 2013-10-16 | JVC KENWOOD Corporation | Image encoding device, image encoding method, program thereof, image decoding device, image decoding method, and program thereof |
| US8306265B2 (en) * | 2009-01-12 | 2012-11-06 | Eastman Kodak Company | Detection of animate or inanimate objects |
| JP5599572B2 (ja) * | 2009-03-12 | 2014-10-01 | 富士フイルム株式会社 | 症例画像検索装置、方法およびプログラム |
| CA2772607A1 (en) * | 2009-09-01 | 2011-03-10 | Prime Focus Vfx Services Ii Inc. | System and process for transforming two-dimensional images into three-dimensional images |
| JP5812599B2 (ja) * | 2010-02-25 | 2015-11-17 | キヤノン株式会社 | 情報処理方法及びその装置 |
| JP5588196B2 (ja) * | 2010-02-25 | 2014-09-10 | キヤノン株式会社 | 認識装置及びその制御方法、コンピュータプログラム |
| JP5665333B2 (ja) * | 2010-03-10 | 2015-02-04 | キヤノン株式会社 | 情報処理装置および情報処理装置の制御方法 |
| US9053393B2 (en) * | 2010-03-19 | 2015-06-09 | Canon Kabushiki Kaisha | Learning method and apparatus for pattern recognition |
| US8918209B2 (en) * | 2010-05-20 | 2014-12-23 | Irobot Corporation | Mobile human interface robot |
| JP2012038106A (ja) * | 2010-08-06 | 2012-02-23 | Canon Inc | 情報処理装置、情報処理方法、およびプログラム |
| JP5615088B2 (ja) * | 2010-08-18 | 2014-10-29 | キヤノン株式会社 | 画像処理装置及びその方法、プログラム、並びに撮像装置 |
| JP5587137B2 (ja) * | 2010-10-29 | 2014-09-10 | キヤノン株式会社 | 測定装置及び測定方法 |
| JP5743499B2 (ja) * | 2010-11-10 | 2015-07-01 | キヤノン株式会社 | 画像生成装置、画像生成方法、およびプログラム |
| JP5798318B2 (ja) * | 2010-12-15 | 2015-10-21 | キヤノン株式会社 | 距離データ生成装置、位置姿勢計測装置、距離データ生成装置の制御方法およびプログラム |
| JP5767464B2 (ja) * | 2010-12-15 | 2015-08-19 | キヤノン株式会社 | 情報処理装置、情報処理装置の制御方法、およびプログラム |
| US9177381B2 (en) * | 2010-12-22 | 2015-11-03 | Nani Holdings IP, LLC | Depth estimate determination, systems and methods |
| US20140043329A1 (en) * | 2011-03-21 | 2014-02-13 | Peng Wang | Method of augmented makeover with 3d face modeling and landmark alignment |
| FR2981772B1 (fr) * | 2011-10-21 | 2017-12-22 | Thales Sa | Procede de reconstruction 3d d'un objet d'une scene |
| JP5865043B2 (ja) * | 2011-12-06 | 2016-02-17 | キヤノン株式会社 | 情報処理装置、情報処理方法 |
| JP2013162487A (ja) * | 2012-02-08 | 2013-08-19 | Canon Inc | 画像表示装置及び撮像装置 |
| JP6027764B2 (ja) * | 2012-04-25 | 2016-11-16 | キヤノン株式会社 | ミラーシステム、および、その制御方法 |
| US9141868B2 (en) * | 2012-06-26 | 2015-09-22 | Xerox Corporation | Contemporaneously reconstructing images captured of a scene illuminated with unstructured and structured illumination sources |
| JP6143469B2 (ja) * | 2013-01-17 | 2017-06-07 | キヤノン株式会社 | 情報処理装置、情報処理方法及びプログラム |
| JP6433149B2 (ja) * | 2013-07-30 | 2018-12-05 | キヤノン株式会社 | 姿勢推定装置、姿勢推定方法およびプログラム |
| JP6338369B2 (ja) * | 2013-12-26 | 2018-06-06 | キヤノン株式会社 | 情報処理装置および情報処理方法 |
-
2010
- 2010-12-08 JP JP2010273896A patent/JP5812599B2/ja active Active
-
2011
- 2011-02-22 WO PCT/JP2011/000965 patent/WO2011105044A1/en not_active Ceased
- 2011-02-22 US US13/580,560 patent/US9429418B2/en active Active
Patent Citations (1)
| Publication number | Priority date | Publication date | Assignee | Title |
|---|---|---|---|---|
| JP2005195335A (ja) * | 2003-12-26 | 2005-07-21 | Fuji Xerox Co Ltd | 3次元画像撮影装置および方法 |
Cited By (3)
| Publication number | Priority date | Publication date | Assignee | Title |
|---|---|---|---|---|
| CN103295011A (zh) * | 2012-02-08 | 2013-09-11 | 索尼公司 | 信息处理装置、信息处理方法、以及计算机程序 |
| CN109565580A (zh) * | 2016-05-25 | 2019-04-02 | 佳能株式会社 | 信息处理设备、图像生成方法、控制方法和程序 |
| US11012674B2 (en) | 2016-05-25 | 2021-05-18 | Canon Kabushiki Kaisha | Information processing apparatus, image generation method, control method, and program |
Also Published As
| Publication number | Publication date |
|---|---|
| JP2011198349A (ja) | 2011-10-06 |
| US9429418B2 (en) | 2016-08-30 |
| JP5812599B2 (ja) | 2015-11-17 |
| US20120321173A1 (en) | 2012-12-20 |
Similar Documents
| Publication | Publication Date | Title |
|---|---|---|
| WO2011105044A1 (en) | Information processing method and information processing apparatus | |
| US11710282B2 (en) | Augmented reality content rendering via Albedo models, systems and methods | |
| US9940756B2 (en) | Silhouette-based object and texture alignment, systems and methods | |
| US9177381B2 (en) | Depth estimate determination, systems and methods | |
| US11222471B2 (en) | Implementing three-dimensional augmented reality in smart glasses based on two-dimensional data | |
| US10410089B2 (en) | Training assistance using synthetic images | |
| JP4829141B2 (ja) | 視線検出装置及びその方法 | |
| JP6685827B2 (ja) | 画像処理装置、画像処理方法及びプログラム | |
| WO2017041731A1 (en) | Markerless multi-user multi-object augmented reality on mobile devices | |
| CN112889091A (zh) | 使用模糊特征的相机位姿估计 | |
| KR102386444B1 (ko) | 이미지 심도 결정 방법 및 생체 식별 방법, 회로, 디바이스, 및 매체 | |
| JP6897082B2 (ja) | 顔向き推定用コンピュータプログラム、顔向き推定装置及び顔向き推定方法 | |
| KR20190011492A (ko) | 콘텐츠를 제공하기 위한 디바이스 및 그의 작동 방법 | |
| CN105516579A (zh) | 一种图像处理方法、装置和电子设备 | |
| JP4631973B2 (ja) | 画像処理装置、画像処理装置の制御方法、および画像処理装置の制御プログラム | |
| CN112492195A (zh) | 光学传感装置及方法 | |
| US11410398B2 (en) | Augmenting live images of a scene for occlusion | |
| JP2014164483A (ja) | データベース生成装置、カメラ姿勢推定装置、データベース生成方法、カメラ姿勢推定方法、およびプログラム | |
| JP6606340B2 (ja) | 画像検出装置、画像検出方法およびプログラム | |
| JP2020042575A (ja) | 情報処理装置、位置合わせ方法、及びプログラム | |
| JP2003346185A (ja) | 情報表示システム及び携帯情報端末 | |
| WO2024227199A2 (en) | Systems and methods for selecting motion models for aligning scene content captured by different image sensors | |
| JP6931267B2 (ja) | 原画像を目標画像に基づいて変形した表示画像を生成するプログラム、装置及び方法 | |
| CN116309803B (zh) | 多机器人视觉定位方法及装置、存储介质、计算机设备 | |
| KR101844367B1 (ko) | 부분 포즈 추정에 의하여 개략적인 전체 초기설정을 사용하는 머리 포즈 추정 방법 및 장치 |
Legal Events
| Date | Code | Title | Description |
|---|---|---|---|
| 121 | Ep: the epo has been informed by wipo that ep was designated in this application |
Ref document number: 11747016 Country of ref document: EP Kind code of ref document: A1 |
|
| WWE | Wipo information: entry into national phase |
Ref document number: 13580560 Country of ref document: US |
|
| NENP | Non-entry into the national phase |
Ref country code: DE |
|
| 122 | Ep: pct application non-entry in european phase |
Ref document number: 11747016 Country of ref document: EP Kind code of ref document: A1 |