WO2011074200A1 - Method for performing handover, user equipment, base station, and radio communication system - Google Patents

Method for performing handover, user equipment, base station, and radio communication system Download PDF

Info

Publication number
WO2011074200A1
WO2011074200A1 PCT/JP2010/007036 JP2010007036W WO2011074200A1 WO 2011074200 A1 WO2011074200 A1 WO 2011074200A1 JP 2010007036 W JP2010007036 W JP 2010007036W WO 2011074200 A1 WO2011074200 A1 WO 2011074200A1
Authority
WO
WIPO (PCT)
Prior art keywords
base station
user equipment
component carriers
handover
control unit
Prior art date
Legal status (The legal status is an assumption and is not a legal conclusion. Google has not performed a legal analysis and makes no representation as to the accuracy of the status listed.)
Ceased
Application number
PCT/JP2010/007036
Other languages
English (en)
French (fr)
Inventor
Hiroaki Takano
Kazuyuki Sakoda
Current Assignee (The listed assignees may be inaccurate. Google has not performed a legal analysis and makes no representation or warranty as to the accuracy of the list.)
Sony Corp
Original Assignee
Sony Corp
Priority date (The priority date is an assumption and is not a legal conclusion. Google has not performed a legal analysis and makes no representation as to the accuracy of the date listed.)
Filing date
Publication date
Priority to CN201080056946.XA priority Critical patent/CN102687573B/zh
Priority to US13/514,067 priority patent/US8761121B2/en
Priority to EP10837237.6A priority patent/EP2514255B1/en
Priority to RU2012123989/07A priority patent/RU2553973C2/ru
Priority to BR112012013897-9A priority patent/BR112012013897B1/pt
Priority to EP18189351.2A priority patent/EP3445114B1/en
Priority to EP19177922.2A priority patent/EP3637941B1/en
Application filed by Sony Corp filed Critical Sony Corp
Priority to IN5085DEN2012 priority patent/IN2012DN05085A/en
Publication of WO2011074200A1 publication Critical patent/WO2011074200A1/en
Anticipated expiration legal-status Critical
Priority to US14/042,159 priority patent/US8743833B2/en
Priority to US14/042,256 priority patent/US8743834B2/en
Priority to US14/248,964 priority patent/US9363818B2/en
Priority to US15/131,716 priority patent/US9578559B2/en
Ceased legal-status Critical Current

Links

Images

Classifications

    • HELECTRICITY
    • H04ELECTRIC COMMUNICATION TECHNIQUE
    • H04WWIRELESS COMMUNICATION NETWORKS
    • H04W36/00Hand-off or reselection arrangements
    • H04W36/0005Control or signalling for completing the hand-off
    • H04W36/0055Transmission or use of information for re-establishing the radio link
    • HELECTRICITY
    • H04ELECTRIC COMMUNICATION TECHNIQUE
    • H04WWIRELESS COMMUNICATION NETWORKS
    • H04W36/00Hand-off or reselection arrangements
    • H04W36/0005Control or signalling for completing the hand-off
    • H04W36/0055Transmission or use of information for re-establishing the radio link
    • H04W36/0058Transmission of hand-off measurement information, e.g. measurement reports
    • HELECTRICITY
    • H04ELECTRIC COMMUNICATION TECHNIQUE
    • H04LTRANSMISSION OF DIGITAL INFORMATION, e.g. TELEGRAPHIC COMMUNICATION
    • H04L5/00Arrangements affording multiple use of the transmission path
    • H04L5/003Arrangements for allocating sub-channels of the transmission path
    • H04L5/0053Allocation of signalling, i.e. of overhead other than pilot signals
    • H04L5/0055Physical resource allocation for ACK/NACK
    • HELECTRICITY
    • H04ELECTRIC COMMUNICATION TECHNIQUE
    • H04WWIRELESS COMMUNICATION NETWORKS
    • H04W36/00Hand-off or reselection arrangements
    • H04W36/02Buffering or recovering information during reselection ; Modification of the traffic flow during hand-off
    • HELECTRICITY
    • H04ELECTRIC COMMUNICATION TECHNIQUE
    • H04WWIRELESS COMMUNICATION NETWORKS
    • H04W36/00Hand-off or reselection arrangements
    • H04W36/24Reselection being triggered by specific parameters
    • H04W36/30Reselection being triggered by specific parameters by measured or perceived connection quality data
    • H04W36/302Reselection being triggered by specific parameters by measured or perceived connection quality data due to low signal strength
    • HELECTRICITY
    • H04ELECTRIC COMMUNICATION TECHNIQUE
    • H04WWIRELESS COMMUNICATION NETWORKS
    • H04W72/00Local resource management
    • H04W72/04Wireless resource allocation
    • H04W72/044Wireless resource allocation based on the type of the allocated resource
    • H04W72/0453Resources in frequency domain, e.g. a carrier in FDMA
    • HELECTRICITY
    • H04ELECTRIC COMMUNICATION TECHNIQUE
    • H04WWIRELESS COMMUNICATION NETWORKS
    • H04W72/00Local resource management
    • H04W72/50Allocation or scheduling criteria for wireless resources
    • H04W72/54Allocation or scheduling criteria for wireless resources based on quality criteria
    • H04W72/542Allocation or scheduling criteria for wireless resources based on quality criteria using measured or perceived quality
    • HELECTRICITY
    • H04ELECTRIC COMMUNICATION TECHNIQUE
    • H04WWIRELESS COMMUNICATION NETWORKS
    • H04W76/00Connection management
    • H04W76/10Connection setup
    • H04W76/15Setup of multiple wireless link connections
    • HELECTRICITY
    • H04ELECTRIC COMMUNICATION TECHNIQUE
    • H04WWIRELESS COMMUNICATION NETWORKS
    • H04W36/00Hand-off or reselection arrangements
    • H04W36/24Reselection being triggered by specific parameters
    • H04W36/26Reselection being triggered by specific parameters by agreed or negotiated communication parameters
    • H04W36/28Reselection being triggered by specific parameters by agreed or negotiated communication parameters involving a plurality of connections, e.g. multi-call or multi-bearer connections
    • HELECTRICITY
    • H04ELECTRIC COMMUNICATION TECHNIQUE
    • H04WWIRELESS COMMUNICATION NETWORKS
    • H04W36/00Hand-off or reselection arrangements
    • H04W36/24Reselection being triggered by specific parameters
    • H04W36/30Reselection being triggered by specific parameters by measured or perceived connection quality data
    • HELECTRICITY
    • H04ELECTRIC COMMUNICATION TECHNIQUE
    • H04WWIRELESS COMMUNICATION NETWORKS
    • H04W74/00Wireless channel access
    • H04W74/08Non-scheduled access, e.g. ALOHA
    • H04W74/0833Random access procedures, e.g. with 4-step access

Definitions

  • the present invention relates to a method for performing a handover, a user equipment, a base station, and a radio communication system.
  • Component carriers that are included in one communication channel in the carrier aggregation are not necessarily contiguous to one another in the frequency direction.
  • the mode in which component carriers are arranged contiguous to one another in the frequency direction is called a contiguous mode.
  • the mode in which component carriers are arranged not contiguous to one another is called a non-contiguous mode.
  • the number of component carriers in an uplink and the number of component carriers in a downlink are not necessarily equal.
  • the mode in which the number of component carriers in an uplink and the number of component carriers in a downlink are equal is called a symmetric mode.
  • the mode in which the number of component carriers in an uplink and the number of component carriers in a downlink are not equal is called an asymmetric mode.
  • any one of frequency division duplex (FDD) and time division duplex (TDD) can be used as duplex operation. Because the direction of a link (uplink or downlink) of each component carrier does not change in time in FDD, FDD is better suited to the carrier aggregation compared to TDD.
  • a handover which is a basic technique for achieving the mobility of a user equipment in the cellular communication standard, is one of important subjects in LTE-A.
  • a user equipment measures a communication quality over a channel with a serving base station (a currently connected base station) and communication qualities with peripheral base stations and transmits a measurement report containing measurements to the serving base station. Receiving the measurement report, the serving base station determines whether to execute a handover based on the measurements contained in the report.
  • a handover is carried out among a source base station (the serving base station before a handover), the user equipment, and a target base station (a serving base station after a handover) in accordance with a prescribed procedure (e.g. cf. Patent Literature 1 below)
  • processing such as request for a handover, confirmation of the request, issue of a handover command or random access to a target base station is performed based on the assumption that one communication channel is composed of one component carrier.
  • a radio communication involving the carrier aggregation it is desirable to perform such processing in the same manner as the existing procedure in order not to cause a significant impact on a system or a device which is widely used today.
  • a base station includes a radio communication unit configured to establish communication with a mobile communication terminal using a plurality of component carriers.
  • the base station further includes a control unit configured to transmit a command to the mobile communication terminal to reduce the plurality of component carriers to one prior to handover of communication between the mobile communication terminal and the base station to another base station.
  • a mobile communication terminal includes a radio communication unit configured to establish communication with a base station using a plurality of component carriers.
  • the mobile communication terminal further includes a control unit configured to receive a command from the base station to reduce the plurality of component carriers to one prior to handover of communication between the mobile communication terminal and the base station to another base station.
  • a communication system includes a first base station and a mobile communication terminal.
  • the first base station includes a radio communication unit configured to establish communication with a mobile communication terminal using a plurality of component carriers.
  • the first base station further includes a first control unit configured to transmit a command to the mobile communication terminal to reduce the plurality of component carriers to one prior to handover of communication between the mobile communication terminal and the base station to a second base station.
  • the mobile communication terminal includes a second control unit configured to reduce the plurality of component carriers to one upon reception of the command from the first base station.
  • a non-transitory computer readable medium having instructions stored thereon, which when executed by a processor in a base station causes the processor to establish communication with a mobile communication terminal using a plurality of component carriers.
  • the instructions further cause the processor to transmit a command to the mobile communication terminal to reduce the plurality of component carriers to one prior to handover of communication between the mobile communication terminal and the base station to another base station.
  • the method for performing a handover, the user equipment, the base station, and the radio communication system can carry out a handover during a radio communication involving the carrier aggregation without causing a significant impact on an existing system or device.
  • Fig. 1 is a sequence chart to describe a flow of a typical handover procedure.
  • Fig. 2 is an explanatory view to describe an example of a structure of a communication resource.
  • Fig. 3 is a schematic view showing an outline of a radio communication system according to an embodiment.
  • Fig. 4 is a block diagram showing an example of a configuration of a user equipment according to a first embodiment.
  • Fig. 5 is a block diagram showing an example of a detailed configuration of a radio communication unit according to the first embodiment.
  • Fig. 6 is a block diagram showing an example of a configuration of a base station according to the first embodiment.
  • Fig. 7 is a sequence chart showing an example of a flow along a first scenario of a handover procedure according to the first embodiment.
  • Fig. 1 is a sequence chart to describe a flow of a typical handover procedure.
  • Fig. 2 is an explanatory view to describe an example of a structure of a communication resource.
  • Fig. 3
  • Fig. 8 is a sequence chart showing an example of a flow along a second scenario of a handover procedure according to the first embodiment.
  • Fig. 9 is a block diagram showing an example of a configuration of a user equipment according to a second embodiment.
  • Fig. 10 is a block diagram showing an example of a configuration of a base station according to the second embodiment.
  • Fig. 11 is a sequence chart showing an example of a flow along a first scenario of a handover procedure according to the second embodiment.
  • Fig. 12 is a sequence chart showing an example of a flow along a second scenario of a handover procedure according to the second embodiment.
  • Fig. 13 is a block diagram showing an example of a configuration of a user equipment according to a third embodiment.
  • Fig. 14 is a block diagram showing an example of a configuration of a base station according to the third embodiment.
  • Fig. 15 is a sequence chart showing an example of a flow of a handover procedure according to the third embodiment.
  • Fig. 1 shows a flow of a handover procedure in conformity with LTE in a radio communication not involving the carrier aggregation as an example of a typical handover procedure.
  • a user equipment (UE), a source base station (source eNB), a target base station (target eNB), and a mobility management entity (MME) are involved in the handover procedure.
  • UE user equipment
  • source eNB source base station
  • target eNB target base station
  • MME mobility management entity
  • the user equipment first reports the channel quality of a communication channel between the user equipment and the source base station to the source base station (step S2).
  • the channel quality may be reported on a regular basis or when the channel quality falls below a predetermined reference value.
  • the user equipment can measure the channel quality of the communication channel with the source base station by receiving a reference signal contained in a downlink channel from the source base station.
  • the source base station determines the needs of measurement based on the quality report received from the user equipment and, if measurement is necessary, allocates measurement gaps to the user equipment (step S4).
  • the user equipment searches for a downlink channel from a peripheral base station (i.e. performs cell search) during the periods of the allocated measurement gaps (step S12).
  • a peripheral base station i.e. performs cell search
  • the user equipment can recognize a peripheral base station to search according to a list that is provided in advance from the source base station.
  • the user equipment When the user equipment acquires synchronization with a downlink channel, the user equipment performs measurement by using a reference signal contained in the downlink channel (step S14). During this period, the source base station restricts an allocation of data communication related to the user equipment so as to avoid occurrence of data transmission by the user equipment.
  • the user equipment Upon completion of the measurement, the user equipment transmits a measurement report containing measurements to the source base station (step S22).
  • the measurements contained in the measurement report may be the average value or the central value of measured values over a plurality of times of measurement or the like. Further, the measurements may contain data about a plurality of frequency bands.
  • the source base station determines whether or not to execute a handover based on the contents of the measurement report. For example, when the channel quality of another base station in the periphery is higher than the channel quality of the source base station by a predetermined threshold or greater, it can be determined that a handover is necessary. In this case, the source base station determines to carry out a handover procedure with the relevant another base station as a target base station, and transmits a handover request message to the target base station (step S24).
  • the target base station determines whether it is possible to accept the user equipment according to the availability of a communication service offered by itself or the like. When it is possible to accept the user equipment, the target base station transmits a handover request confirm message to the source base station (step S26).
  • the source base station transmits a handover command to the user equipment (step S28). Then, the user equipment acquires synchronization with the downlink channel of the target base station (step S32). After that, the user equipment makes a random access to the target base station by using a random access channel in a given time slot (step S34). During this period, the source base station forwards data addressed to the user equipment to the target base station (step S36). Then, after success in the random access, the user equipment transmits a handover complete message to the target base station (step S42).
  • the target base station requests the MME to perform route update for the user equipment (step S44).
  • the user equipment Upon updating the route of user data by the MME, the user equipment becomes able to communicate with another device through a new base station (i.e. the target base station). Then, the target base station transmits acknowledgement to the user equipment (step S46). A series of handover procedure thereby ends.
  • Fig. 2 shows a structure of a communication resource in LTE as an example of a structure of a communication resource to which the present invention is applicable.
  • the communication resource in LTE is segmented in the time direction into radio frames each having a length of 10 msec.
  • One radio frame includes ten sub-frames, and one sub-frame is made up of two 0.5 msec slots.
  • the sub-frame is one unit of an allocation of a communication resource to each user equipment in the time direction.
  • Such one unit is called a resource block.
  • One resource block includes twelve sub-carriers in the frequency direction. Specifically, one resource block has a size of 1 msec with 12 sub-carriers in the time-frequency domain.
  • Throughput of data communication increases as a larger number of resource blocks are allocated for data communication on condition of the same bandwidth and time length.
  • a part of radio frame with a given frequency band is reserved as a random access channel.
  • the random access channel can be used for an access to a base station by a user equipment that has changed from an idle mode to an active mode or an initial access to a target base station in a handover procedure, for example.
  • Fig. 3 is a schematic view showing an outline of a radio communication system 1 according to an embodiment of the present invention.
  • the radio communication system 1 includes a user equipment 100, a base station 200a and a base station 200b. It is assumed that the base station 200a is a serving base station for the user equipment 100.
  • the user equipment 100 is located inside a cell 202a where a radio communication service is provided by the base station 200a.
  • the user equipment 100 can perform a data communication with another user equipment (not shown) via the base station 200a over a communication channel formed by aggregating a plurality of component carriers (i.e. by carrier aggregation).
  • a handover is required for the user equipment 100.
  • the user equipment 100 is located inside a cell 202b where a radio communication service is provided by the base station 200b. Therefore, the base station 200b can be a candidate for a target base station for a handover of the user equipment 100.
  • the base station 200a can communicate with the base station 200b through a backhaul link (e.g. X2 interface).
  • a backhaul link e.g. X2 interface
  • the base station 200a and the base station 200b can communicate with the MME, which is an upper node, through S1 interface, for example.
  • the number of component carriers constituent of a communication channel may be shrunk temporarily.
  • Shrinking the number of component carriers means reducing the number of component carriers constituent of one communication channel by the carrier aggregation technology. For example, if the number of component carriers is temporarily shrunk to one, a handover can be carrier out according to the same procedure as the existing handover procedure.
  • the reduction of the number of component carriers can cause a temporary decrease in throughput.
  • the decrease in throughput raises the possibility of the occurrence of buffer under flow at the receiving end of data or buffer over flow at the transmitting end of data, which can lead to a failure of a communication service such as contents delivery. Therefore, in the case of temporarily shrinking the number of component carriers, it is effective to avoid or reduce the above-described possibility due to a decrease in throughput as much as possible as in the first to third embodiments of the present invention which are described in detail in the following sections.
  • base station 200a and the base station 200b are collectively referred to as a base station 200 by omitting the alphabetical letter at the end of the reference symbol. The same applies to the other elements.
  • Fig. 4 is a block diagram showing an example of a configuration of the user equipment 100 according to the embodiment.
  • the user equipment 100 includes a radio communication unit 110, a signal processing unit 150, a buffer 152, a control unit 160, and a measurement unit 170.
  • Fig. 5 is a block diagram showing an example of a more detailed configuration of the radio communication unit 110.
  • the radio communication unit 110 includes an antenna 112, a switch 114, a low noise amplifier (LNA) 120, a plurality of down-converters 122a to 122c, a plurality of filters 124a to 124c, a plurality of analogue-to-digital converters (ADCs) 126a to 126c, a demodulation unit 128, a modulation unit 130, a plurality of digital-to-analogue converters (DACs) 132a to 132c, a plurality of filters 134a to 134c, a plurality of up-converters 136a to 136c, a combiner 138, and a power amplifier (PA) 140.
  • LNA low noise amplifier
  • ADCs analogue-to-digital converters
  • ADCs analogue-to-digital converters
  • DACs digital-to-analogue converter
  • the antenna 112 receives a radio signal transmitted from the base station 200 and outputs the received signal to the LNA 120 through the switch 114.
  • the LNA 120 amplifies the received signal.
  • the down-converter 122a and the filter 124a separate a baseband signal of the first component carrier (CC1) from the received signal amplified by the LNA 120. Then, the separated baseband signal is converted to a digital signal by the ADC 126a and output to the demodulation unit 128.
  • the down-converter 122b and the filter 124b separate a baseband signal of the second component carrier (CC2) from the received signal amplified by the LNA 120.
  • the separated baseband signal is converted to a digital signal by the ADC 126b and output to the demodulation unit 128.
  • the down-converter 122c and the filter 124c separate a baseband signal of the third component carrier (CC3) from the received signal amplified by the LNA 120.
  • the separated baseband signal is converted to a digital signal by the ADC 126c and output to the demodulation unit 128.
  • the demodulation unit 128 generates a data signal by demodulating the baseband signals of the respective component carriers and outputs the data signal to the signal processing unit 150.
  • the modulation unit 130 modulates the data signal and generates baseband signals of the respective component carriers.
  • the baseband signal of the first component carrier (CC1) is converted to an analog signal by the DAC 132a.
  • a frequency component corresponding to the first component carrier in a transmission signal is generated from the analog signal by the filter 134a and the up-converter 136a.
  • the baseband signal of the second component carrier (CC2) is converted to an analog signal by the DAC 132b.
  • a frequency component corresponding to the second component carrier in the transmission signal is generated from the analog signal by the filter 134b and the up-converter 136b.
  • the number of component carriers handled by the radio communication unit 110 may be two, or four or more.
  • the radio communication unit 110 may process the signals of the respective component carriers in the digital region.
  • a digital signal converted by one ADC is separated into the signals of the respective component carriers by a digital filter.
  • the signal is converted into an analog signal by one DAC.
  • the load of the ADC and the DAC is generally smaller when processing the signals of the respective component carriers in the analog region.
  • a sampling frequency for AD/DA conversion is higher, and the load of the ADC and the DAC can thereby increase.
  • the signal processing unit 150 performs signal processing such as deinterleaving, decoding or error correction on the demodulated data signal that is input from the radio communication unit 110. Then, the signal processing unit 150 outputs the processed data signal to an upper layer. Note that the signal processing unit 150 performs buffer control of data signals by using the buffer 152. Specifically, the signal processing unit 150 stores processed data signals into the buffer 152 once and then outputs the data signal to an upper layer, following the first-in first-out (FIFO) rule, for example.
  • FIFO first-in first-out
  • the signal processing unit 150 performs signal processing such as encoding or interleaving on the data signal that is input from the upper layer.
  • the signal processing unit 150 may perform buffer control of data signals by using the buffer 152. Then, the signal processing unit 150 outputs the processed data signals to the radio communication unit 110.
  • control unit is further configured to restart use of the plurality of component carriers after completion of the handover.
  • control unit is further configured to receive a command from the base station to increase data throughput of the communication between the mobile communication terminal and the base station prior to reception of the command to reduce the plurality of component carriers to one.
  • the command from the base station to increase the data throughput instructs the control unit to increase the plurality of component carriers used between the base station and mobile communication terminal.
  • the control unit 160 controls the overall functions of the user equipment 100 by using a processing device such as a central processing unit (CPU) or a digital signal processor (DSP).
  • CPU central processing unit
  • DSP digital signal processor
  • the control unit 160 controls the timing of data communication by the radio communication unit 110 according to scheduling information that is received from the base station 200 by the radio communication unit 110. Further, the control unit 160 increases or decreases the number of component carriers constituent of the communication channel with the base station 200 according to a command from the base station 200. For example, when an expansion (increase) command of the number of component carriers is received from the base station 200, the control unit 160 increases the number of component carriers. Further, when a shrink command of the number of component carriers is received from the base station 200, the control unit 160 decreases the number of component carriers. Besides, the control unit 160 controls the user equipment 100 to operate in the same manner as the user equipment in the handover procedure which is descried with reference to Fig. 1.
  • the measurement unit 170 measures the channel quality for each of the component carriers by using a reference signal from the base station 200 according to control from the control unit 160, for example. Further, the measurement unit 170 executes measurement for a handover with respect to each of the component carriers by using the measurement gaps which are allocated by the base station 200. A result of the measurement executed by the measurement unit 170 is converted to a predetermined format for a measurement report by the control unit 160 and transmitted to the base station 200 through the radio communication unit 110. After that, the base station 200 determines, based on the measurement report, whether a handover should be executed or not for the user equipment 100.
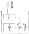
  • Fig. 6 is a block diagram showing an example of a configuration of the base station 200 according to the embodiment.
  • the base station 200 includes a radio communication unit 210, an interface unit 250, a component carrier (CC) management unit 260, and a control unit 280.
  • CC component carrier
  • Radio communication unit A specific configuration of the radio communication unit 210 may be similar to the configuration of the radio communication unit 110 of the user equipment 100 which is described above with reference to Fig. 5, although the number of component carriers to be supported, the requirements of processing performance or the like are different.
  • the radio communication unit 210 performs a radio communication with the user equipment over a communication channel which is formed by aggregating a plurality of component carriers with use of the carrier aggregation technology.
  • the interface unit 250 mediates a communication between the radio communication unit 210 or the control unit 280 and an upper node through the S1 interface illustrated in Fig. 3, for example. Further, the interface unit 250 mediates a communication between the radio communication unit 210 or the control unit 280 and another base station through the X2 interface illustrated in Fig. 3, for example.
  • the CC management unit 260 holds data that indicates which component carrier each user equipment is using for communication with respect to each of the user equipments belonging to the cell of the base station 200. Such data can be updated by the control unit 280 when an additional user equipment joins the cell of the base station 200 or when the connected user equipment changes its component carriers. Thus, the control unit 280 can recognize which component carrier the user equipment 100 is using by referring to the data held by the CC management unit 260.
  • control unit is further configured to increase data throughput of the communication between the mobile communication terminal and the base station prior to transmitting the command to reduce the plurality of component carriers to one.
  • control unit is further configured to transmit a command to the mobile communication terminal to increase the plurality of component carriers used between the base station and mobile communication terminal to increase the data throughput.
  • control unit is further configured to increase one or more resource blocks to be allocated to the mobile communication terminal in at least one component carrier from the plurality of component carriers to increase the data throughput.
  • the control unit 280 controls the overall functions of the base station 200 by using a processing device such as a CPU or a DSP. For example, the control unit 280 allocates communication resources for data communication to the user equipment 100 and other user equipments and then delivers scheduling information over a broadcast channel in a given sub-frame.
  • a processing device such as a CPU or a DSP.
  • the control unit 280 allocates communication resources for data communication to the user equipment 100 and other user equipments and then delivers scheduling information over a broadcast channel in a given sub-frame.
  • the control unit 280 when a handover request is confirmed by a target base station, temporarily increases the amount of communication resources to be allocated to the user equipment 100.
  • the control unit 280 may increase the above-described amount of communication resources by increasing the number of component carriers constituent of the communication channel with the user equipment 100, for example.
  • the number of component carriers can be increased by transmitting an expansion command of the number of component carriers to the user equipment 100, for example.
  • the control unit 280 may increase the above-described amount of communication resources by increasing the number of resource blocks to be allocated to the user equipment 100 in at least one component carrier.
  • control unit 280 After the control unit 280 transmits/receives data to/from the user equipment 100 at a higher rate than usual by using the communication resources which are increased in this manner, before transmitting a handover command to the user equipment 100, the control unit 280 transmits a shrink command of the number of component carriers to the user equipment 100. The number of component carriers constituent of the communication channel between the user equipment 100 and the base station 200 is thereby shrunk to one. Then, the control unit 280 transmits a handover command for one component carrier after the shrinkage to the user equipment 100.
  • the control unit 280 restarts the radio communication involving the carrier aggregation by the user equipment 100 in response to a request from the user equipment 100.
  • the control unit 280 controls the base station 200 to operate in the same manner as the source base station or the target base station in the handover procedure which is descried with reference to Fig. 1.
  • Fig. 7 is a sequence chart showing an example of a flow along the first scenario of a handover procedure according to the embodiment.
  • the user equipment 100 first transmits a measurement report for a plurality of component carriers constituent of a communication channel to the base station 200a (step S122).
  • the base station 200a determines the necessity of a handover based on the measurement report. For example, when a channel quality between the user equipment 100 and the base station 200b is better than a channel quality between the user equipment 100 and the base station 200a by a predetermined threshold or greater in any component carrier, it can be determined that a handover is necessary.
  • the base station 200a transmits a handover request message to the base station 200b (step S124).
  • the base station 200b determines whether it is possible to accept the user equipment 100 according to the availability of a communication service offered by itself or the like.
  • the base station 200b transmits a handover request confirm message to the base station 200a (step S126).
  • the base station 200a transmits an expansion command for increasing the number of component carriers to the user equipment 100 (step S130).
  • the user equipment 100 makes a random access to the base station 200a for a new component carrier to establish a communication channel with the base station 200a and thereby increases the number of component carriers (step S132).
  • the base station 200a transmits data to the user equipment 100 at a rate exceeding a normal data rate over the expanded communication channel (step S134). The transmitted data is temporarily accumulated in the buffer 152 of the user equipment 100.
  • the base station 200a transmits a shrink command for decreasing the number of component carriers to the user equipment 100 (step S136).
  • the user equipment 100 shrinks the number of component carriers constituent of the communication channel with the base station 200a to one (step S140).
  • the base station 200a then transmits a handover command for one component carrier after the shrinkage to the user equipment 100 (step S142).
  • the user equipment 100 acquires synchronization with the downlink channel of the base station 200b (step S152). Then, the user equipment 100 makes a random access to the base station 200b by using a random access channel in a given time slot of the synchronized downlink channel (step S154). During this period, the base station 200a forwards data addressed to the user equipment 100 to the base station 200b (step S156). Then, after success in the random access, the user equipment 100 transmits a handover complete message to the base station 200b (step S162). Receiving the handover complete message, the base station 200b requests the MME to perform route update for the user equipment 100 (step S164).
  • the user equipment 100 Upon updating the route of user data by the MME, the user equipment 100 becomes able to communicate with another device through a new base station (i.e. the base station 200b). Then, the base station 200b transmits acknowledgement for the handover complete message to the user equipment 100 (step S166).
  • a new base station i.e. the base station 200b
  • the user equipment 100 restarts the radio communication involving the carrier aggregation with the base station 200b, which is a new serving base station (step S180). Specifically, the user equipment 100 makes a random access to the base station 200b for an additional component carrier to establish a communication channel with the base station 200b, for example, and thereby increases the number of component carriers. It is thereby possible in the user equipment 100 to use the communication service again at substantially the same data rate as that before the start of the handover procedure.
  • Fig. 8 is a sequence chart showing an example of a flow along the second scenario of a handover procedure according to the embodiment. As is understood from comparison between Fig. 7 and Fig. 8, in the second scenario, the steps S130 and S132 in the first scenario are replaced by step S131.
  • the base station 200a which has received the handover request confirm message first increases the number of resource blocks to be allocated to the user equipment 100 in at least one component carrier.
  • the amount of communication resources available for the user equipment 100 thereby increases temporarily (step S131).
  • the base station 200a transmits data to the user equipment 100 at a rate exceeding a normal data rate by using the temporarily increased communication resources (step S134).
  • the transmitted data is temporarily accumulated in the buffer 152 of the user equipment 100.
  • a handover from the base station 200a to the base station 200b is carried out.
  • the radio communication involving the carrier aggregation is then restarted between the user equipment 100 and the base station 200b.
  • the first embodiment of the present invention is described above with reference to Figs. 4 to 8. According to the embodiment, before a handover command is transmitted from the source base station to the user equipment, the number of component carriers constituent of the communication channel between the user equipment and the source base station is shrunk to one. It is thereby possible to carry out the procedure from transmission of a handover command to completion of a handover in the same procedure as the existing handover procedure.
  • the amount of communication resources allocated to the user equipment is temporarily increased, and data is transmitted to the user equipment at a rate exceeding a normal data rate by using the communication resources. It is thereby possible to reduce the possibility of the occurrence of a failure caused by buffer under flow in the user equipment during the period until the user equipment restarts carrier aggregation with the target base station.
  • a temporary increase in the amount of communication resources can be made by an increase in the number of component carriers or an increase in the number of resource blocks. Because the increase in the number of component carriers and the increase in the number of resource blocks can be made by applying the existing scheme, the impact of such processing on the whole system is small. Further, in this embodiment, because a change in the number of component carriers is made under control of the base station, the impact on the user equipment, particularly, can be minimized.
  • data may be transmitted from the user equipment to the base station, rather than transmitted from the base station to the user equipment at a rate exceeding a normal data rate by using the temporarily increased communication resources.
  • a large amount of content data is transmitted in advance before the shrinkage of the number of component carriers, for example, thereby avoiding the occurrence of buffer over flow during the handover procedure.
  • FIG. 9 is a block diagram showing an example of a configuration of a user equipment 300 according to the embodiment.
  • the user equipment 300 includes a radio communication unit 110, a signal processing unit 150, a buffer 152, a control unit 360, and a measurement unit 170.
  • the control unit 160 controls the overall functions of the user equipment 300 by using a processing device such as a CPU or a DSP.
  • the control unit 360 controls the timing of data communication by the radio communication unit 110 according to scheduling information that is received from a base station 400 by the radio communication unit 110.
  • the control unit 360 shrinks the number of component carriers constituent of a communication channel with the base station 400 to one.
  • the control unit 360 may shrink the number of component carriers before transmitting a measurement report to the base station 400 when a result of the measurement by the measurement unit 170 indicates that a handover should be started, for example.
  • the control unit 360 transmits a shrink request to the base station 400 and, after the shrink request is confirmed by the base station 400, the control unit 360 shrinks the number of component carriers to one. Further, before shrinking the number of component carriers to one, the control unit 360 temporarily increases the amount of communication resources available for the user equipment 300.
  • the control unit 360 may temporarily increase the amount of communication resources available for the user equipment 300 by increasing the number of component carriers constituent of the communication channel with the base station 400, for example.
  • the base station 400 which has received the shrink request may temporarily increase the number of resource blocks to be allocated to the user equipment 300 in at least one component carrier.
  • control unit 360 After the control unit 360 transmits or receives data at a higher data rate than usual by using the communication resources which are increased in this manner and further shrinks the number of component carriers to one, the control unit 360 transmits a measurement report to the base station 400. After that, the control unit 360 controls the user equipment 300 to operate in the same manner as the user equipment in the handover procedure which is descried with reference to Fig. 1.
  • Fig. 10 is a block diagram showing an example of a configuration of the base station 400 according to the embodiment.
  • the base station 400 includes a radio communication unit 210, an interface unit 250, a CC management unit 260, and a control unit 480.
  • the control unit 480 controls the overall functions of the base station 400 by using a processing device such as a CPU or a DSP. For example, the control unit 480 allocates communication resources for data communication to the user equipment 300 and other user equipments and then delivers scheduling information over a broadcast channel in a given sub-frame.
  • a processing device such as a CPU or a DSP.
  • the control unit 480 allocates communication resources for data communication to the user equipment 300 and other user equipments and then delivers scheduling information over a broadcast channel in a given sub-frame.
  • the control unit 480 receives the above-described shrink request from the user equipment 300 through the radio communication unit 210. Further, before or after receiving the shrink request, the control unit 480 temporarily increases the amount of communication resources to be allocated to the user equipment 300 in response to a request from the user equipment 300.
  • the control unit 480 may increase the above-described amount of communication resources by increasing the number of component carriers constituent of the communication channel with the user equipment 300, for example.
  • the control unit 480 may increase the above-described amount of communication resources by increasing the number of resource blocks to be allocated to the user equipment 300 in at least one component carrier, for example.
  • control unit 480 After the control unit 480 transmits/receives data to/from the user equipment 300 at a higher rate than usual by using the communication resources which are increased in this manner, the control unit 480 confirms the shrink request from the user equipment 300. As a result, the number of component carriers constituent of the communication channel between the user equipment 300 and the base station 400 is shrunk to one. Then, the control unit 480 carries out a handover for one component carrier after the shrinkage.
  • the control unit 480 restarts the radio communication involving the carrier aggregation by the user equipment 300 in response to a request from the user equipment 300.
  • Fig. 11 is a sequence chart showing an example of a flow along the first scenario of a handover procedure according to the embodiment.
  • the user equipment 300 first makes a random access to the base station 400a for a new component carrier to establish a communication channel with the base station 400a and thereby increases the number of component carriers (step S212).
  • the base station 400a transmits data to the user equipment 300 at a rate exceeding a normal data rate over the expanded communication channel (step S214).
  • the transmitted data is temporarily accumulated in the buffer 152 of the user equipment 300. Note that, in the step S214, data may be received from the user equipment 300 rather than transmitted to the user equipment 300.
  • the user equipment 300 transmits a shrink request to the base station 400a (step S216). Then, the base station 400a transmits a confirm message for the shrink request to the user equipment 300 (step S222). The user equipment 300 then shrinks the number of component carriers constituent of the communication channel with the base station 400a to one (step S224).
  • the user equipment 300 transmits a measurement report for one component carrier after the shrinkage to the base station 400a (step S232).
  • the base station 400a transmits a handover request message to the base station 400b (step S234).
  • the base station 400b determines whether it is possible to accept the user equipment 300 according to the availability of a communication service offered by itself or the like.
  • the base station 400b determines that it is possible to accept the user equipment 300, it transmits a handover request confirm message to the base station 400a (step S236).
  • the base station 400a transmits a handover command to the user equipment 300 (step S242).
  • the user equipment 300 continues the handover procedure for one component carrier after the shrinkage. Specifically, the user equipment 300 first acquires synchronization with the downlink channel of the base station 400b (step S252). Then, the user equipment 300 makes a random access to the base station 400b by using a random access channel in a given time slot of the synchronized downlink channel (step S254). During this period, the base station 400a forwards data addressed to the user equipment 300 to the base station 400b (step S256). Then, after success in the random access, the user equipment 300 transmits a handover complete message to the base station 400b (step S262). Receiving the handover complete message, the base station 400b requests the MME to perform route update for the user equipment 300 (step S264). Then, the base station 400b transmits acknowledgement for the handover complete message to the user equipment 300 (step S266).
  • the user equipment 300 restarts the radio communication involving the carrier aggregation with the base station 400b, which is a new serving base station (step S280). Specifically, the user equipment 300 makes a random access to the base station 400b for an additional component carrier to establish a communication channel with the base station 400b, for example, and thereby increases the number of component carriers. It is thereby possible in the user equipment 300 to use the communication service again at substantially the same data rate as that before the start of the handover procedure.
  • Fig. 12 is a sequence chart showing an example of a flow along the second scenario of a handover procedure according to the embodiment. As is understood from comparison between Fig. 11 and Fig. 12, in the second scenario, the steps S212 to S222 in the first scenario are replaced by steps S216 to S222.
  • the user equipment 300 which has recognized that a measurement result indicates that a handover should be started transmits a shrink request to the base station 400a (step S216).
  • the base station 400a increases the number of resource blocks to be allocated to the user equipment 300 in at least one component carrier.
  • the amount of communication resources available for the user equipment 300 thereby increases temporarily (step S218).
  • the base station 400a transmits data to the user equipment 300 at a rate exceeding a normal data rate by using the temporarily increased communication resources (step S220).
  • the transmitted data is temporarily accumulated in the buffer 152 of the user equipment 300.
  • the base station 400a transmits a confirm message for the shrink request to the user equipment 300 (step S222).
  • the amount of communication resources allocated to the user equipment is temporarily increased, and data is transmitted and received at a rate exceeding a normal data rate by using the communication resources. It is thereby possible to reduce the possibility of the occurrence of a failure caused by buffer under flow or buffer over flow in the user equipment during the period until the user equipment restarts carrier aggregation with the target base station. Further, in this embodiment, because a change in the number of component carriers is made in response to a request from the user equipment, the impact on the base station, particularly, can be minimized.
  • Fig. 13 is a block diagram showing an example of a configuration of a user equipment 500 according to the embodiment.
  • the user equipment 500 includes a radio communication unit 110, a signal processing unit 150, a buffer 152, a control unit 560, and a measurement unit 170.
  • the control unit 560 controls the overall functions of the user equipment 500 by using a processing device such as a CPU or a DSP. For example, the control unit 560 controls the timing of data communication by the radio communication unit 110 according to scheduling information that is received from a base station 600 by the radio communication unit 110. Further, as the preliminary step toward a handover, the control unit 560 shrinks the number of component carriers constituent of a communication channel with a source base station to one. Further, after completing a handover for one component carrier after the shrinkage, the control unit 560 temporarily receives an allocation of many communication resources from a target base station and performs data communication at a rate exceeding a normal data rate.
  • a processing device such as a CPU or a DSP.
  • the control unit 560 controls the timing of data communication by the radio communication unit 110 according to scheduling information that is received from a base station 600 by the radio communication unit 110.
  • the control unit 560 shrinks the number of component carriers constituent of a communication channel with a source base station to one. Further, after completing
  • Fig. 14 is a block diagram showing an example of a configuration of the base station 600 according to the embodiment.
  • the base station 600 includes a radio communication unit 210, an interface unit 250, a CC management unit 260, and a control unit 680.
  • control unit is further configured to adjust a timing of a handover to compensate for a decrease in data throughput due to the reduction of the plurality of component carriers to one.
  • the timing of the hand over is decided based on a likelihood of success in a random access.
  • the control unit 680 controls the overall functions of the base station 600 by using a processing device such as a CPU or a DSP. For example, the control unit 680 allocates communication resources for data communication to the user equipment 500 and other user equipments and then delivers scheduling information over a broadcast channel in a given sub-frame.
  • the control unit 680 transmits a shrink command to the user equipment 500 before transmitting a handover command.
  • the number of component carriers constituent of the communication channel between the user equipment 500 and the base station 600 is thereby shrunk to one.
  • the control unit 680 transmits a handover command for one component carrier after the shrinkage to the user equipment 500.
  • the control unit 680 monitors the availability of communication resources. Then, the control unit 680 adjusts the timing to confirm the handover request from the source base station so that a decrease in throughput due to the shrinkage of the number of component carriers is suppressed or compensated.
  • the control unit 680 confirms the handover request after waiting until the timing at which a sufficient amount of communication resources can be allocated to the user equipment 500.
  • the sufficient amount may be the amount of communication resources which enables an allocation of substantially the same number of component carries as the number of component carriers before the handover (shrinkage) to a new communication channel, for example.
  • the number of component carriers before the handover can be notified from the source base station to the target base station by advance negotiation or using a handover request message or another message, for example.
  • control unit 680 may confirm the handover request after waiting until the timing at which it is determined that the possibility of success in a random access from the user equipment 500 is high.
  • An example of the timing when the possibility of success in a random access is high is timing at which there are not a large number of other user equipments that are trying to make a random access (e.g. another user equipment that has started a handover, a user equipment in the idle mode etc.). In this case, it is possible to prevent a delay of a handover caused by a failure and retry of a random access and reduce the time during which a throughput decreases due to the handover.
  • Fig. 15 is a sequence chart showing an example of a flow of a handover procedure according to the embodiment.
  • the user equipment 500 first transmits a measurement report for a plurality of component carriers constituent of a communication channel to the base station 600a (step S322).
  • the base station 600a which has determined that a handover is necessary based on the measurement report transmits a handover request message to the base station 600b (step S324).
  • the base station 600b adjusts the timing to confirm the handover request so that a decrease in throughput due to the shrinkage of the number of component carriers is suppressed or compensated. (step S325).
  • the base station 600b transmits a handover request confirm message to the base station 600a at timing (T1) when the subsequent random access is likely to succeed, timing (T2) when more communication resources can be allocated after completion of a handover, or timing (T3) when carrier aggregation can be restarted promptly after completion of a handover, for example (step S326).
  • the base station 600a transmits a shrink command for decreasing the number of component carriers to the user equipment 500 (step S336). After that, the user equipment 500 shrinks the number of component carriers constituent of the communication channel with the base station 600a to one (step S340). The base station 600a then transmits a handover command for one component carrier after the shrinkage to the user equipment 500 (step S342).
  • the user equipment 500 continues the handover procedure for one component carrier after the shrinkage. Specifically, the user equipment 500 first acquires synchronization with the downlink channel of the base station 600b (step S352). Then, the user equipment 500 makes a random access to the base station 600b by using a random access channel in a given time slot of the synchronized downlink channel (step S354). During this period, the base station 600a forwards data addressed to the user equipment 500 to the base station 600b (step S356). Then, after success in the random access, the user equipment 500 transmits a handover complete message to the base station 600b (step S362). Receiving the handover complete message, the base station 600b requests the MME to perform route update for the user equipment 500 (step S364). Then, the base station 600b transmits acknowledgement for the handover complete message to the user equipment 500 (step S366).
  • the base station 600b temporarily allocates a larger number of resource blocks to the user equipment 500, for example (step S370). Then, the base station 600b transmits data to the user equipment 500 at a rate exceeding a normal data rate (step S372). The transmitted data recovers the amount of data which has decreased during the handover procedure in the buffer 152 of the user equipment 500. Note that, in the step S372, data may be received from the user equipment 500, rather than transmitted to the user equipment 500. After that, the user equipment 500 restarts the radio communication involving the carrier aggregation with the base station 600b, which is a new serving base station (step S380).
  • the third embodiment of the present invention is described above with reference to Figs. 13 to 15. According to the embodiment, before a handover command is transmitted from a source base station to a user equipment, the number of component carriers constituent of the communication channel between the user equipment and the source base station is shrunk to one. It is thereby possible to carry out the procedure from transmission of a handover command to completion of a handover in the same procedure as the existing handover procedure.
  • the amount of communication resources allocated to the user equipment is temporarily increased in the target base station. Then, by using the communication resources, data is transmitted/received to/from the user equipment at a rate exceeding a normal data rate. It is thereby possible to compensate a decrease in throughput that occurs due to the shrinkage of the number of component carriers.
  • the timing to confirm the handover request in the target base station is adjusted so as to suppress or compensate a decrease in throughput due to the shrinkage of the number of component carriers. It is thereby possible to reduce the possibility that a failure occurs in a communication service such as contents delivery due to a decrease in throughput.
  • RADIO COMMUNICATION SYSTEM 100, 300, 500 USER EQUIPMENT 110 RADIO COMMUNICATION UNIT (USER EQUIPMENT) 160, 360, 560 CONTROL UNIT (USER EQUIPMENT) 200, 400, 600 BASE STATION 210 RADIO COMMUNICATION UNIT (BASE STATION) 280, 480, 680 CONTROL UNIT (BASE STATION)

Landscapes

  • Engineering & Computer Science (AREA)
  • Signal Processing (AREA)
  • Computer Networks & Wireless Communication (AREA)
  • Quality & Reliability (AREA)
  • Mobile Radio Communication Systems (AREA)
PCT/JP2010/007036 2009-12-16 2010-12-02 Method for performing handover, user equipment, base station, and radio communication system Ceased WO2011074200A1 (en)

Priority Applications (12)

Application Number Priority Date Filing Date Title
EP18189351.2A EP3445114B1 (en) 2009-12-16 2010-12-02 Method for performing handover, electronic device and communication apparatus
US13/514,067 US8761121B2 (en) 2009-12-16 2010-12-02 Method for performing handover, user equipment, base station, and radio communication system
EP10837237.6A EP2514255B1 (en) 2009-12-16 2010-12-02 Base station, user equipment, communication system and non-transitory computer readable medium for performing handover
RU2012123989/07A RU2553973C2 (ru) 2009-12-16 2010-12-02 Способ осуществления передачи абонентского соединения, абонентская станция, базовая станция и система радиосвязи
BR112012013897-9A BR112012013897B1 (pt) 2009-12-16 2010-12-02 Dispositivo eletrônico, e, aparelho e método de controle de comunicação
EP19177922.2A EP3637941B1 (en) 2009-12-16 2010-12-02 Method for performing handover and base station
IN5085DEN2012 IN2012DN05085A (enExample) 2009-12-16 2010-12-02
CN201080056946.XA CN102687573B (zh) 2009-12-16 2010-12-02 执行移交的方法、用户设备、基站和无线电通信系统
US14/042,159 US8743833B2 (en) 2009-12-16 2013-09-30 Method for performing handover, user equipment, base station, and radio communication system
US14/042,256 US8743834B2 (en) 2009-12-16 2013-09-30 Method for performing handover, user equipment, base station, and radio communication system
US14/248,964 US9363818B2 (en) 2009-12-16 2014-04-09 Method for performing handover, user equipment, base station, and radio communication system
US15/131,716 US9578559B2 (en) 2009-12-16 2016-04-18 Method for performing handover, user equipment, base station, and radio communication system

Applications Claiming Priority (2)

Application Number Priority Date Filing Date Title
JP2009285373A JP5446823B2 (ja) 2009-12-16 2009-12-16 ハンドオーバのための方法、端末装置、基地局及び無線通信システム
JP2009-285373 2009-12-16

Related Child Applications (4)

Application Number Title Priority Date Filing Date
US13/514,067 A-371-Of-International US8761121B2 (en) 2009-12-16 2010-12-02 Method for performing handover, user equipment, base station, and radio communication system
US14/042,159 Continuation US8743833B2 (en) 2009-12-16 2013-09-30 Method for performing handover, user equipment, base station, and radio communication system
US14/042,256 Continuation US8743834B2 (en) 2009-12-16 2013-09-30 Method for performing handover, user equipment, base station, and radio communication system
US14/248,964 Continuation US9363818B2 (en) 2009-12-16 2014-04-09 Method for performing handover, user equipment, base station, and radio communication system

Publications (1)

Publication Number Publication Date
WO2011074200A1 true WO2011074200A1 (en) 2011-06-23

Family

ID=44166975

Family Applications (1)

Application Number Title Priority Date Filing Date
PCT/JP2010/007036 Ceased WO2011074200A1 (en) 2009-12-16 2010-12-02 Method for performing handover, user equipment, base station, and radio communication system

Country Status (8)

Country Link
US (5) US8761121B2 (enExample)
EP (3) EP3637941B1 (enExample)
JP (1) JP5446823B2 (enExample)
CN (4) CN105163356B (enExample)
BR (1) BR112012013897B1 (enExample)
IN (1) IN2012DN05085A (enExample)
RU (2) RU2553973C2 (enExample)
WO (1) WO2011074200A1 (enExample)

Cited By (4)

* Cited by examiner, † Cited by third party
Publication number Priority date Publication date Assignee Title
GB2479601A (en) * 2010-04-12 2011-10-19 Samsung Electronics Co Ltd Assisting handover of user equipment in a wireless network employing aggregated component carriers
US20130065588A1 (en) * 2011-09-13 2013-03-14 Christoffer Rödbro Transmitting data over multiple networks
WO2014185139A1 (ja) * 2013-05-14 2014-11-20 ソニー株式会社 通信制御装置、通信制御方法、端末装置及び情報処理装置
CN108934077A (zh) * 2012-10-05 2018-12-04 日本电气株式会社 无线电站、无线电终端及其方法

Families Citing this family (25)

* Cited by examiner, † Cited by third party
Publication number Priority date Publication date Assignee Title
US9026070B2 (en) 2003-12-18 2015-05-05 Qualcomm Incorporated Low-power wireless diversity receiver with multiple receive paths
US7676839B2 (en) 2004-03-15 2010-03-09 Xceedid Systems and methods for access control
US9450665B2 (en) 2005-10-19 2016-09-20 Qualcomm Incorporated Diversity receiver for wireless communication
JP5446823B2 (ja) 2009-12-16 2014-03-19 ソニー株式会社 ハンドオーバのための方法、端末装置、基地局及び無線通信システム
US9198094B2 (en) * 2011-02-24 2015-11-24 Lg Electronics Inc. Method for setting search space for handover of relay node in wireless communication system, and device therefor
US9178669B2 (en) 2011-05-17 2015-11-03 Qualcomm Incorporated Non-adjacent carrier aggregation architecture
US9252827B2 (en) 2011-06-27 2016-02-02 Qualcomm Incorporated Signal splitting carrier aggregation receiver architecture
US9154179B2 (en) 2011-06-29 2015-10-06 Qualcomm Incorporated Receiver with bypass mode for improved sensitivity
US12081243B2 (en) 2011-08-16 2024-09-03 Qualcomm Incorporated Low noise amplifiers with combined outputs
US10154442B2 (en) 2012-01-12 2018-12-11 Futurewei Technologies, Inc. System and method for wireless link configuration
US9172402B2 (en) 2012-03-02 2015-10-27 Qualcomm Incorporated Multiple-input and multiple-output carrier aggregation receiver reuse architecture
US9362958B2 (en) 2012-03-02 2016-06-07 Qualcomm Incorporated Single chip signal splitting carrier aggregation receiver architecture
US9118439B2 (en) * 2012-04-06 2015-08-25 Qualcomm Incorporated Receiver for imbalanced carriers
US9154356B2 (en) 2012-05-25 2015-10-06 Qualcomm Incorporated Low noise amplifiers for carrier aggregation
US9867194B2 (en) 2012-06-12 2018-01-09 Qualcomm Incorporated Dynamic UE scheduling with shared antenna and carrier aggregation
US9300420B2 (en) 2012-09-11 2016-03-29 Qualcomm Incorporated Carrier aggregation receiver architecture
US9543903B2 (en) 2012-10-22 2017-01-10 Qualcomm Incorporated Amplifiers with noise splitting
US8995591B2 (en) 2013-03-14 2015-03-31 Qualcomm, Incorporated Reusing a single-chip carrier aggregation receiver to support non-cellular diversity
JP6227933B2 (ja) 2013-08-21 2017-11-08 株式会社Nttドコモ 移動通信方法
CN103685477A (zh) * 2013-11-26 2014-03-26 珠海中慧微电子有限公司 具有ftp传输功能的gprs模块及其ftp文件传输方法
US20150350955A1 (en) * 2014-05-28 2015-12-03 Qualcomm Incorporated Techniques for handling partial loading of carriers in wireless communications
US10177722B2 (en) 2016-01-12 2019-01-08 Qualcomm Incorporated Carrier aggregation low-noise amplifier with tunable integrated power splitter
US9788325B2 (en) * 2016-03-01 2017-10-10 Wipro Limited Methods and systems for radio carriers management in a wireless broadband network
US20190273649A1 (en) * 2018-03-02 2019-09-05 Nxp B.V. Vehicle quality of service device
US12464424B2 (en) 2021-07-30 2025-11-04 Electronics And Telecommunications Research Institute Method and apparatus for improving handover performance in communication system

Citations (2)

* Cited by examiner, † Cited by third party
Publication number Priority date Publication date Assignee Title
JP2002112304A (ja) * 2000-09-28 2002-04-12 Mitsubishi Electric Corp ハンドオーバ予測通信システム
JP2009232293A (ja) 2008-03-24 2009-10-08 Ntt Docomo Inc ハンドオーバ制御方法、セル再選択方法及び移動局

Family Cites Families (50)

* Cited by examiner, † Cited by third party
Publication number Priority date Publication date Assignee Title
US5701585A (en) * 1994-12-12 1997-12-23 Telefonaktiebolaget Lm Ericsson Mobile assisted handoff
FI105136B (fi) * 1997-04-21 2000-06-15 Nokia Mobile Phones Ltd Yleinen pakettiradiopalvelu
JP3829051B2 (ja) * 2000-09-19 2006-10-04 株式会社日立コミュニケーションテクノロジー ハンドオーバの制御方法、基地局制御装置および移動体端末
WO2004112419A1 (ja) * 2003-06-12 2004-12-23 Fujitsu Limited 基地局装置および移動通信システム
JP3643366B2 (ja) * 2003-07-10 2005-04-27 松下電器産業株式会社 Cdma送信装置及びcdma受信装置
EP1816666B1 (en) * 2004-10-29 2016-02-03 Fujitsu Ltd. Communication device by multicarrier transmission method and communication system
CN101228735A (zh) * 2005-04-26 2008-07-23 纳维尼网络公司 用于无线通信系统的随机访问方法
KR101221898B1 (ko) * 2005-06-14 2013-01-15 엘지전자 주식회사 이동 통신 시스템에서의 시그널링 방법
CN101300757B (zh) * 2005-11-04 2017-08-11 日本电气株式会社 无线电通信系统及用于其的发送功率控制方法
CN101405973B (zh) * 2006-03-20 2013-04-24 英特尔公司 用于分配时间和频率资源的无线接入网和方法
US8023574B2 (en) * 2006-05-05 2011-09-20 Intel Corporation Method and apparatus to support scalability in a multicarrier network
JP2008103865A (ja) * 2006-10-18 2008-05-01 Nec Corp ハンドオーバ制御システム及びその方法並びにそれを用いた移動通信システム及び無線基地局
US8121094B2 (en) * 2006-12-04 2012-02-21 Electronics And Telecommunications Research Institute Method for managing cross-layer handover
CN101222751B (zh) * 2007-01-12 2012-09-05 华为技术有限公司 一种用户终端、基站及单独下行载波配置信息传输方法及系统
US20080232326A1 (en) * 2007-03-19 2008-09-25 Bengt Lindoff Method and Apparatus for Reducing Interference in Wireless Communication Networks by Enabling More Opportune Handover
CN101277145B (zh) * 2007-03-30 2012-05-09 联想(北京)有限公司 一种主、副子载波的切换方法
JP4919890B2 (ja) * 2007-07-11 2012-04-18 株式会社日立製作所 無線システム、基地局および移動局
US20090154446A1 (en) * 2007-12-14 2009-06-18 Infineon Technologies Ag Data frame, telegram, method for controlling an rf-transceiver and mobile communication system
GB0725047D0 (en) * 2007-12-21 2008-01-30 Fujitsu Lab Of Europ Ltd Communications system
US20090196261A1 (en) * 2008-01-04 2009-08-06 Qualcomm, Incorporated Resource allocation for enhanced uplink using a shared control channel
WO2009088339A1 (en) * 2008-01-08 2009-07-16 Telefonaktiebolaget L M Ericsson (Publ) Offered bit rate at handover
WO2009148378A1 (en) * 2008-06-05 2009-12-10 Telefonaktiebolaget L M Ericsson (Publ) Method and arrangement in a wireless communication network
US8711811B2 (en) * 2008-06-19 2014-04-29 Telefonaktiebolaget L M Ericsson (Publ) Identifying multi-component carrier cells
US8929282B2 (en) * 2008-11-06 2015-01-06 Htc Corporation Method and apparatus for TTI bundling transmission in a wireless communications system
KR101152955B1 (ko) * 2008-11-12 2012-06-08 한국전자통신연구원 반송파 구성원간의 핸드오버 장치 및 방법
KR101136135B1 (ko) * 2008-11-21 2012-04-17 한국전자통신연구원 반송파 집합 환경에서의 기지국간 핸드오버 장치
US20110002281A1 (en) * 2008-12-30 2011-01-06 Interdigital Patent Holdings, Inc. Discontinuous reception for carrier aggregation
TWI403121B (zh) * 2008-12-30 2013-07-21 Htc Corp 辨識混合式自動重發請求程序之方法及其通訊裝置
EP2395720A4 (en) * 2009-02-06 2017-04-19 LG Electronics Inc. Device and method supporting multi-carrier waves
TWI578811B (zh) * 2009-03-12 2017-04-11 內數位專利控股公司 執行分量載波特定再配置方法及裝置
US8620334B2 (en) * 2009-03-13 2013-12-31 Interdigital Patent Holdings, Inc. Method and apparatus for carrier assignment, configuration and switching for multicarrier wireless communications
US8811350B2 (en) * 2009-03-13 2014-08-19 Lg Electronics Inc. Handover performed in consideration of uplink/downlink component carrier setup
JP5579253B2 (ja) * 2009-03-31 2014-08-27 テレフオンアクチーボラゲット エル エム エリクソン(パブル) 通信システムにおける方法及び装置
CN102396280B (zh) * 2009-04-09 2013-04-17 华为技术有限公司 一种随机接入方法、演进基站及终端设备
US8843133B2 (en) * 2009-04-23 2014-09-23 Htc Corporation Method of handling cell change and related communication device
WO2010121569A1 (en) * 2009-04-24 2010-10-28 Mediatek Inc. Carrier assignment with mobility support in multi-carrier ofdm systems
KR101717522B1 (ko) * 2009-04-27 2017-03-17 엘지전자 주식회사 다중 반송파를 지원하는 무선 통신 시스템에서 하향링크 제어채널을 모니터링하는 방법 및 장치
WO2010126256A2 (en) * 2009-04-27 2010-11-04 Lg Electronics Inc. Method of performing a handover procedure in wireless communication system
US8995358B2 (en) * 2009-04-30 2015-03-31 Qualcomm Incorporated False detection reduction during multi-carrier operation
US9130698B2 (en) * 2009-05-21 2015-09-08 Qualcomm Incorporated Failure indication for one or more carriers in a multi-carrier communication environment
US20100302951A1 (en) * 2009-05-26 2010-12-02 Ou Meng-Hui Method and Apparatus for Handling Radio Link Failure
KR101607336B1 (ko) * 2009-06-07 2016-03-30 엘지전자 주식회사 무선 통신 시스템에서 rb 설정 방법 및 장치
US8817646B2 (en) * 2009-06-22 2014-08-26 Lg Electronics Inc. Method and apparatus for managing system information in wireless communication system supporting multi-carriers
TWI444076B (zh) * 2009-07-14 2014-07-01 Htc Corp 處理隨機存取程序的方法及其相關通訊裝置
KR101591829B1 (ko) * 2009-07-17 2016-02-04 엘지전자 주식회사 무선 통신 시스템에서 채널 대역폭 정보 전송 및 수신 방법
US9107190B2 (en) * 2009-08-17 2015-08-11 Nokia Technologies Oy Discontinuous reception for multi-component carrier system
US8494453B2 (en) * 2009-11-03 2013-07-23 Htc Corporation Method of handling measurement and related communication device
US20110103331A1 (en) * 2009-11-05 2011-05-05 Richard Lee-Chee Kuo Method and apparatus to activate component carriers in a wireless communication network
JP5446823B2 (ja) * 2009-12-16 2014-03-19 ソニー株式会社 ハンドオーバのための方法、端末装置、基地局及び無線通信システム
CN103081553A (zh) * 2010-09-27 2013-05-01 富士通株式会社 载波聚合系统中载波状态的处理方法和用户设备

Patent Citations (2)

* Cited by examiner, † Cited by third party
Publication number Priority date Publication date Assignee Title
JP2002112304A (ja) * 2000-09-28 2002-04-12 Mitsubishi Electric Corp ハンドオーバ予測通信システム
JP2009232293A (ja) 2008-03-24 2009-10-08 Ntt Docomo Inc ハンドオーバ制御方法、セル再選択方法及び移動局

Non-Patent Citations (6)

* Cited by examiner, † Cited by third party
Title
"3GPP draft; R2-093722", 23 June 2009, MOBILE COMPETENCE CENTER, article "Handover for carrier aggregation"
"3GPP TSG RAN WG2 Meeting #66bis R2-093722", 29 June 2009, article CATT: "Handover for Carrier Aggregation", XP008157409 *
"3GPP TSG RAN WG2 Meeting #67 R2-094731", 24 August 2009, article HUAWEI: "Intra LTE-A UE Handover Procedure inter-eNB for CA", XP008157474 *
"Draft amendment to IEEE standard for local and metropolitan area networks part 16: Air interface for fixed and mobile broadband wireless access systems; P80216M_D2", IEEE-SA, PISCATAWAY, NJ USA, vol. 802, 15 October 2009 (2009-10-15), pages 1 - 621
"Multi-carrier DG Harmonized text proposal - MAC; C80216m-09_1283r2", IEEE DRAFT; IEEE-SA, PISCATAWAY, NJ USA, vol. 802, 16 July 2009 (2009-07-16), pages 1 - 21
See also references of EP2514255A4

Cited By (7)

* Cited by examiner, † Cited by third party
Publication number Priority date Publication date Assignee Title
GB2479601A (en) * 2010-04-12 2011-10-19 Samsung Electronics Co Ltd Assisting handover of user equipment in a wireless network employing aggregated component carriers
GB2479601B (en) * 2010-04-12 2014-11-05 Samsung Electronics Co Ltd Handover with carrier aggregation
US9661533B2 (en) 2010-04-12 2017-05-23 Samsung Electronics Co., Ltd. Handover with carrier aggregation
US20130065588A1 (en) * 2011-09-13 2013-03-14 Christoffer Rödbro Transmitting data over multiple networks
CN108934077A (zh) * 2012-10-05 2018-12-04 日本电气株式会社 无线电站、无线电终端及其方法
CN108934077B (zh) * 2012-10-05 2024-02-23 日本电气株式会社 无线电站、无线电终端及其方法
WO2014185139A1 (ja) * 2013-05-14 2014-11-20 ソニー株式会社 通信制御装置、通信制御方法、端末装置及び情報処理装置

Also Published As

Publication number Publication date
CN110248390B (zh) 2021-07-13
CN110248390A (zh) 2019-09-17
US8743834B2 (en) 2014-06-03
EP2514255B1 (en) 2020-04-29
EP3637941A2 (en) 2020-04-15
JP2011130089A (ja) 2011-06-30
BR112012013897B1 (pt) 2021-11-23
RU2677684C2 (ru) 2019-01-21
US20140233531A1 (en) 2014-08-21
EP2514255A4 (en) 2016-03-02
US9578559B2 (en) 2017-02-21
RU2012123989A (ru) 2013-12-20
US20160234731A1 (en) 2016-08-11
CN105163356A (zh) 2015-12-16
US20140044101A1 (en) 2014-02-13
JP5446823B2 (ja) 2014-03-19
EP3445114B1 (en) 2021-11-17
US8761121B2 (en) 2014-06-24
US20140044100A1 (en) 2014-02-13
CN110677888B (zh) 2021-04-09
RU2553973C2 (ru) 2015-06-20
CN102687573B (zh) 2015-11-25
US8743833B2 (en) 2014-06-03
EP3445114A2 (en) 2019-02-20
EP3637941A3 (en) 2020-08-05
EP2514255A1 (en) 2012-10-24
CN102687573A (zh) 2012-09-19
IN2012DN05085A (enExample) 2015-10-09
US20120236829A1 (en) 2012-09-20
CN110677888A (zh) 2020-01-10
CN105163356B (zh) 2019-11-12
US9363818B2 (en) 2016-06-07
RU2015117937A3 (enExample) 2018-06-27
EP3445114A3 (en) 2019-02-27
RU2015117937A (ru) 2015-09-27
EP3637941B1 (en) 2021-02-03
BR112012013897A2 (pt) 2016-05-03

Similar Documents

Publication Publication Date Title
EP3637941B1 (en) Method for performing handover and base station
US11570673B2 (en) Method for performing handover, user equipment, and radio communication system
US20190313299A1 (en) Method for performing handover, user equipment, base station, and radio communication system
EP2514235B1 (en) User equipment, method for performing handover, base station, and radio communication system

Legal Events

Date Code Title Description
WWE Wipo information: entry into national phase

Ref document number: 201080056946.X

Country of ref document: CN

121 Ep: the epo has been informed by wipo that ep was designated in this application

Ref document number: 10837237

Country of ref document: EP

Kind code of ref document: A1

121 Ep: the epo has been informed by wipo that ep was designated in this application

Ref document number: 10837237

Country of ref document: EP

Kind code of ref document: A1

WWE Wipo information: entry into national phase

Ref document number: 13514067

Country of ref document: US

WWE Wipo information: entry into national phase

Ref document number: 2012123989

Country of ref document: RU

Ref document number: 5085/DELNP/2012

Country of ref document: IN

Ref document number: 2010837237

Country of ref document: EP

NENP Non-entry into the national phase

Ref country code: DE

REG Reference to national code

Ref country code: BR

Ref legal event code: B01A

Ref document number: 112012013897

Country of ref document: BR

ENP Entry into the national phase

Ref document number: 112012013897

Country of ref document: BR

Kind code of ref document: A2

Effective date: 20120608