WO2011058759A1 - Modularized document handler - Google Patents
Modularized document handler Download PDFInfo
- Publication number
- WO2011058759A1 WO2011058759A1 PCT/JP2010/006667 JP2010006667W WO2011058759A1 WO 2011058759 A1 WO2011058759 A1 WO 2011058759A1 JP 2010006667 W JP2010006667 W JP 2010006667W WO 2011058759 A1 WO2011058759 A1 WO 2011058759A1
- Authority
- WO
- WIPO (PCT)
- Prior art keywords
- drive
- drive device
- validator
- gear
- actuator
- Prior art date
- Legal status (The legal status is an assumption and is not a legal conclusion. Google has not performed a legal analysis and makes no representation as to the accuracy of the status listed.)
- Ceased
Links
Images
Classifications
-
- G—PHYSICS
- G07—CHECKING-DEVICES
- G07F—COIN-FREED OR LIKE APPARATUS
- G07F7/00—Mechanisms actuated by objects other than coins to free or to actuate vending, hiring, coin or paper currency dispensing or refunding apparatus
- G07F7/04—Mechanisms actuated by objects other than coins to free or to actuate vending, hiring, coin or paper currency dispensing or refunding apparatus by paper currency
Definitions
- This invention relates to a document handler driven by a modular drive device that may drive a plurality of different modular driven devices drivingly and disengageably connected to the drive device.
- U.S. Patent No. 5,836,435 discloses a bill handling apparatus that comprises a validator means for validating a bill inserted into the apparatus, a stacker means for storing a bill in response to an output from the validator means when the bill is considered genuine by the validator means, a frame for supporting the stacker means, a coupling means provided between the validator means and frame for detachably supporting the validator means on the frame in the condition of alignment of the passageway in the validator means with a passageway of the stacker means, a connector means which comprises a plug and a jack, one of which is attached to a rear end of the validator means for electrical connection with a validator sensor, and the other is attached to a front end of the frame, and a power transmission means which comprises a drive gear rotatably supported on the frame, and a follower gear rotatably mounted on the validator means and disposed on the same plane of the drive gear.
- the validator means includes conveyor means for transporting the bill along a passageway, and sensor means disposed adjacent to the passageway.
- the follower gear in the validator means automatically comes into engagement with the drive gear of the frame, and the plug and jack of the connector means are simultaneously and automatically engaged with each other to drive a conveyer means in the validator means by a motor provided outside the validator means and in the frame.
- the sensor means in the validator means can forward its output to a validator control means provided outside the validator means and in the frame through the connector means.
- this bill handling apparatus is disadvantageous because a drive means and a pusher in the bill handling apparatus are not modularized for assembly and disassembly.
- U.S. Patent No. 5,372,361 demonstrates a bill handling apparatus which comprises a validator for checking a bill fed into the apparatus whether or not the bill is genuine, a stacker detachably mounted in the apparatus and having a casing for defining a compartment to store the accumulated bills, and a transporter for transporting the bill along a passageway from the validator to the stacker, a chamber defined by the casing of the stacker, a pusher removably located within the chamber of the stacker and drivingly connected with the transporter for pushing the bill into the compartment, an opening formed in the casing in the vicinity of the chamber for passing the pusher, and a slit-shaped inlet formed in a base plate of the pusher for receiving the bill within the pusher from an exit of the passageway of the transporter.
- this apparatus is inconvenient because the validator cannot be removed from the apparatus.
- U.S. Patent No. 6,619,461 represents a banknote validator that comprises a plurality of releasable components secured in a frame body, and electrical means for connecting the validator to an associated device allowing communication therebetween.
- the releasable components include a validating head for receiving and determining the authenticity of a banknote, a banknote storage arrangement for receiving banknotes accepted by the validator, and a power interface module for receiving power from the electrical means to provide any power conversion necessary for powering the validating head.
- This banknote validator comprises several releasable components, however, does not have any releasable power transmission device.
- an object of the present invention is to provide a modularized document handler that comprises a modular drive device and a plurality of modular driven devices drivingly and detachably connected to the drive device to operate the driven devices by the drive device.
- Another object of the present invention is to provide a modularized document handler that comprises a drive device, a validator and a stacker each formed into a unit that may be organically and separably interlocked each other for integral driving of the validator and stacker by the drive device.
- Still another object of the present invention is to provide a modularized document handler that comprises a drive device, a validator and a stacker organically and separably unitized each other to consistently and continuously transport a document inserted into the validator through the drive device to the stacker.
- the modularized document handler comprises a validator (2) for validating a document (35), a stacker (3) for stowing document (35) sent from validator (2) and a drive device (1) for transporting document (35) from validator (2) to stacker (3).
- Drive device (1) comprises an actuator (17), a power transmission device (8) driven by actuator (17), anterior and posterior gears (11, 12) both driven by drive power from actuator (17) through power transmission device (8).
- Validator (2) and stacker (3) are drivingly and disengageably connected to respectively anterior and posterior gears (11, 12) to operate validator (2) and stacker (3) by drive power from actuator (17) to consistently transport a document (35) from a passageway (10) formed in validator (2) through an intermediate path (48) formed in drive device (1) to stacker (3).
- the document handler is advantageous because validator (2) and stacker (3) may be disengaged from respectively anterior and posterior gears (11, 12) for easy assembly, disassembly, repair, maintenance, check, overhaul or exchange or the like.
- FIG. 1 Another modularized document handler according to the present invention, comprises an actuator (17), a power transmission device (8), a support frame (22) formed with a pair of hinges (160) for sustaining actuator (17) and power transmission device (8) as a single drive unit (13), and a case (15) for accommodating drive unit (13).
- Case (15) is formed with a pair of bearings (161) capable of detachably and rotatably receiving hinges (160) of support frame (22).
- Drive unit (13) is easily mounted in position within case (15) by detachably fitting hinges (160) in mating bearings (161) and then rotating drive unit (13) toward inside of case (15).
- Drive device (1), validator (2) and stacker (3) are independently assembled as discrete and different modules or units that may be organically and separably interlocked for integral driving of validator (2) and stacker (3) by drive device (1) to consistently transport a document (35) from validator (2) through drive device (1) to stacker (3).
- the document handler is advantageous because drive device (1), validator (2) and stacker (3) may be disengaged from each other for easy assembly, disassembly, repair, maintenance, check or exchange or the like.
- a still further modularized document handler comprises a drive device (1) and a validator (2) drivingly and disengageably connected to drive device (1).
- Drive device (1) comprises an actuator (17) and a power transmission device (8) driven by actuator (17), an anterior gear (11) driven by actuator (17) through a power transmission device (8), a support frame (22) for sustaining an incorporate drive unit (13) made up of actuator (17), power transmission device (8) and anterior gear (11), and a case (15) for accommodating incorporate drive unit (13).
- Validator (2) comprises a passageway (10) and a conveyer device (5) for conveying a document (35) along passageway (10).
- Conveyer device (5) has an input gear (21) drivingly and disengageably connected to anterior gear (11) of drive device (1).
- the drive device can be drivingly and detachably connected to driven devices such as validator and stacker to synchronously energize the drive device and driven devices by an actuator provided in the drive device in the organically interlocked fashion without need of any additional actuator or actuators in the driven devices.
- the drive and driven devices may make up individually discrete or independent modules or units that may be drivingly and separably connected to each other for improvement in easy assembly, disassembly, maintenance, check, exchange of the drive and driven devices, and concurrently this structure effectively proves useful in reductions in number of assembled parts, weight of the apparatus and production costs.
- the validator and stacker are drivingly and disengageably connected to the drive device in the organically interlocked relation to each other, a document can be continuously sent from the validator through the drive device to the stacker.
- Figure 1 is a front view of a drive device for use in a modularized document handler according to the present invention
- Figure 2 is a side elevation view of the drive device shown in Figure 1
- Figure 3 is a perspective front-bottom view of the drive device
- Figure 4 is a perspective back-bottom view of the drive device
- Figure 5 is a partial sectional view of a posterior gear in the drive device
- Figure 6 is an exploded perspective view of a bill handling apparatus according to the present invention
- Figure 7 is a sectional view of the drive device to which a validator is attached in drivingly and separably interlocked relation
- Figure 8 is a perspective bottom view of the drive device from which a drive unit is removed
- Figure 9 is a sectional view of the drive device in which the drive unit is mounted on mating bearings with a case
- Figure 10 is a sectional view
- a bill handling apparatus as a highly-modularized document handler according to the present invention.
- These embodiments exemplify and instantiate an example of a practical and concrete bill handling apparatus that incorporates a drive device 1, a validator 2, a stacker 3 and a frame 4 all of which are modularized into discrete units and are assembled into the bill handling apparatus.
- a word "unit” for drive device 1, validator 2, stacker 3 and frame 4 has the same meaning as a discrete incorporable "module”, “block” or “package”
- a word “modularize” has the same meaning as “unitize", "package” and "lump together”.
- a word “detachable” has the same meaning as “removable”, “separable”, “dismountable”.
- a word “document” means a bill, bank note, coupon, security, tender, token, scrip or all other valuable paper.
- the embodiments of the present invention may include as driven devices a conveyer device, a carrier device, a pusher device, a transport device and an anti-pullback unit, however, it is apparent that one of ordinary skill in the art would be able to select a plurality of necessary driven devices, to remove unnecessary driven device or devices or to add another device or other devices undisclosed herein to one or more of devices driven by the drive device in the present invention.
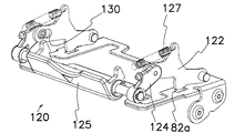
- FIGS 1 to 4 indicate a drive unit 13 of generally triangular section for use in a drive device 1 of a bill handling apparatus according to the present invention.
- Drive unit 13 comprises an actuator 17, power transmission devices 8 driven by actuator 17, and a support frame 22 for sustaining actuator 17 and power transmission devices 8 as a unit.
- drive device 1 has drive unit 13 and a case 15 for accommodating drive unit 13. Not shown in the drawings, however, disposed within case 15 is a drive control device electrically connected to drive unit 13 to control operation of drive unit 13.
- drive device 1 is drivingly and separably connected to a conveyer device 5 in a validator 2 as a first driven device to operate conveyer device 5 by drive device 1.
- drive device 1 comprises a partially-arcuate intermediate path 48, and a transport device 9 as a fourth driven device drivingly connected to actuator 17 through power transmission device 8 for transporting bill 35 along intermediate path 48 in drive device 1.
- An inlet 48a of intermediate path 48 ( Figure 10) is communicated to a passageway 10 in a validator 2, and an outlet 48b of intermediate path 48 is communicated to a standby chamber 78 in a stacker 3 ( Figures 13 and 14).
- actuator 17 comprises a reversible transport motor 701 rotatable in the forward and adverse directions, and a stowing motor 702.
- Transport motor 701 has a drive shaft for supporting a pinion 23 drivingly connected to power transmission device 8 to drive it by transport motor 701.
- power transmission device 8 is drivingly connected to transport device 9 and a transport gear 201 as one of posterior gears 12.
- Transport device 9 is then drivingly connected to an anti-pullback unit 41 and an anterior gear 11 in turn.
- Stowing motor 702 is drivingly connected to a stowing gear 202 as the other of posterior gears 12 through an additional power transmission device that has same or similar constructions as shown pinion 23 and power transmission device 8 so that additional power transmission device is rotatably mounted on same shafts. Reduction ratio or number of gear teeth in additional power transmission device connected to stowing gear 202 may be different from that of power transmission device 8.
- Transport device 9 and posterior gears 12 are drivingly connected in parallel to power transmission device 8, and anti-pullback unit 41 and anterior gear 11 are drivingly connected in parallel to transport device 9.
- This embodiment adopts the above gear train order or sequence of power transmission device 8, transport device 9, posterior and anterior gears 12 and 11, however, one of ordinary skill in the art would be able to change the train order as necessary.
- Anterior gear 11 is drivingly connected to an input gear (a first driven gear) 21 in conveyer device 5 through output gear 39 (Figure 7), and posterior gears 12 are made up of transport and stowing gears 201 and 202 that are drivingly connected to respectively a carrier gear 761 in carrier device 6 of stacker 3 ( Figure 13) and a pusher gear 762 in a pusher device 7 of stacker 3 ( Figure 14).
- Carrier gear 761 is used to rotate carrier device 6 in stacker 3 to transport bill 35 from drive device 1 into standby chamber 78 in stacker 3, and pusher gear 762 is used to activate pusher device 7 to stow bill 35 in standby chamber 78 into storage 79.
- Carrier and pusher gears 761 and 762 are inclusively shown as drive gears 76.
- Power transmission device 8 comprises a third gear 63 meshed with ah pinion 23 of transport and stowing motors 701 and 702, a fourth gear 64 mounted on a shaft of third gear 63, a fifth gear 65 meshed with fourth gear 64, a sixth gear 66 mounted on a shaft of fifth gear 65, a seventh gear 67 meshed with sixth gear 66, an eighth gear 68 mounted on a shaft of seventh gear 67, a ninth gear 69 meshed with eighth gear 68, a tenth gear 70 mounted on a shaft of ninth gear 69, and an eleventh gear 71 meshed with tenth gear 70 as shown in Figure 5.
- Eleventh gear 71 is engaged with twelfth gear 72 that comprises transport and stowing gear 201 in posterior gears 12.
- additional power transmission device has similar gears as those 63 to 72 and stowing gear 202 in posterior gears 12.
- transport device 9 comprises twelfth gear 72 meshed with eleventh gear 71, a first pulley 74 (Figure 1) mounted on a hinge shaft 73 of twelfth gears 72, a drive belt 36 wound around first pulley 74, a plurality of idle rollers 38 in contact to drive belt 36 to hold it in position, a second pulley 75 mounted on a shaft for supporting anterior gear 11, and a drive pulley 32 mounted on a shaft 140 of anti-pullback unit 41 to wind drive belt 36 around drive pulley 32.
- Anterior gear 11 is rotatably mounted on a shaft of second pulleys 75 in drive unit 13 to disengageably mesh anterior gear 11 with output gear 39 ( Figure 7) rotatably mounted within case 15.
- transport and stowing motors 701 and 702 in actuator 17 can drive, through power transmission devices 8, five driven devices that contain a first driven device: conveyer device 5 in validator 2 drivingly connected to anterior gear 11; second and third driven devices: carrier and pusher devices 6 and 7 drivingly connected to transport and stowing gears 201 and 202 in posterior gears 12; a fourth driven device: transport device 9 with first pulley 74 drivingly connected to twelfth gear 72; and a fifth driven device: anti-pullback unit 41 with rotor 42 drivingly connected to drive belt 36.
- a first driven device conveyer device 5 in validator 2 drivingly connected to anterior gear 11
- second and third driven devices carrier and pusher devices 6 and 7 drivingly connected to transport and stowing gears 201 and 202 in posterior gears 12
- a fourth driven device transport device 9 with first pulley 74 drivingly connected to twelfth gear 72
- a fifth driven device anti-pullback unit 41 with rotor 42 drivingly connected to drive
- First Driven Device Conveyer Device As illustrated in Figure 7, input gear 21 in conveyer device 5 of validator 2 as first driven device is drivingly and disengageably connected to output gear 39 in drive device 1 to drive input gear 21 by rotation of actuator 17 through power transmission device 8, anterior gear 11 and output gear 39.
- An inlet sensor (not shown) is provided in validator 2 to detect insertion of bill 35 into an inlet 14 of passageway 10 and produce a detection signal that is used to rotate transport motor 701 in the forward direction.
- conveyer device 5 is rotated in the forward direction to transport bill 35 along passageway 10 toward drive device 1.
- Discrimination sensors (not shown) are deployed in validator 2 to photo-electrically or magneto-electrically detect physical features of bill 35 to produce pattern signals.
- a drive control device (not shown) in case 15 receives pattern signals from discrimination sensors to discriminate authenticity of bill 35 in view of pattern signals.
- drive control device decides bill 35 as false, it rotates transport motor 701 and conveyer device 5 in the adverse direction to return bill 35 to inlet 14 in validator 2.
- a sliding connector 16 is provided between case 15 in drive device 1 and housing 20 in validator 2 to detachably or separably mount housing 20 in validator 2 on case 15 in drive device 1 via sliding connector 16.
- Sliding connector 16 comprises a pair of rails 52 of L-shaped section secured on case 15, and mating sliders (not shown) secured on a bottom surface of housing 20. These sliders have their cross-section complementary to those of rails 52 to detachably attach sliders to rails 52 for sliding movement of sliders on rails 52 so that validator 2 can move on case 15 along rails 52.
- Second Driven Device Carrier Device
- Carrier and pusher devices 6 and 7 in stacker 3 shown in Figures 13 and 14 are respectively second and third driven devices which have respectively carrier and pusher gears 761 and 762 (drive gears 76) drivingly and disengageably connected to respectively transport and stowing gears 201 and 202 of posterior gears 12 in drive device 1 ( Figure 2).
- Carrier device 6 comprises carrier gear 761, an intermediate gear 767 meshed with carrier gear 761, a pulley gear 763 meshed with intermediate gear 767, a pulley 764 rotatable integrally with pulley gear 763, and a belt 765 wound around pulleys 764 and 768 and an idle roller 766.
- transport device 9 in drive device 1 is operated to transport bill 35 through passageway 10 and intermediate path 48 and also rotate carrier gear 761 of carrier device 6.
- Rotation of transport gear 201 causes carrier gear 761, intermediate gear 767, pulley gear 763 and pulley 764 to rotate so that belt 765 receives bill 35 supplied from outlet 48b of intermediate path 48 to transport it into standby chamber 78 in stacker 3.
- transport device 9 in drive device 1 is rotated in the adverse direction to return bill 35 through intermediate path 48 and passageway 10 to inlet 14.
- Pusher device 7 comprises a series of gears 710 to 713 meshed with pusher gear 762, and a link device 717 provided with an arm 715 formed with an opening 716 for receiving a pin 714 secured on gear 713.
- Operation of stowing motor 702 causes pusher gear 762 to rotate, and therefore, gear 713 together with pin 714 is rotated to retract link device 717 to the backward original position shown in Figure 14.
- stowing motor 702 is operated to extend link device 717 from the original position to the stretched position (not shown) to stow bill 35 in standby chamber 78 into storage 79.
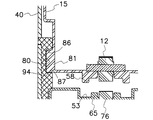
- cam connector 19 comprises cam guides 80 ( Figure 20) formed on a pair of vertically disposed side walls 40 in frame 4, and followers 81 formed on a pair of vertically disposed side walls 51 in drive device 1 so that followers 81 may be inserted into mating cam guides 80 for detachable attachment of drive device 1 to frame 4.
- a bracket 82 is horizontally disposed at a right angle and connected to vertically disposed side walls 40 in frame 4.
- Cam connector 19 may be formed of molding resin, forming metal or combined material of resin and metal.
- cam guide 80 comprises a distal path 83 horizontally formed on side walls 40 in frame 4, an aslope access path 84 connected to distal path 83, and a horizontal proximal path 85 connected to a bottom of access path 84.
- Distal path 83 comprises a distal surface 86 formed opposite to bracket 82, a ridged surface 87 upwardly protruded toward distal surface 86 and an inlet incline 88 formed in front of ridged surface 87.
- Access path 84 is formed between distal and proximal paths 83 and 85 to comprise a back ramp 89 connected to distal surface 86 and an anterior ramp 90 connected to ridged surface 87 and disposed in parallel to back ramp 89.
- Proximal path 85 comprises a proximal surface 91 continuously extending from anterior ramp 90 and disposed in parallel to distal surface 86, a latch surface 92 continuously extending from back ramp 89 and disposed in parallel to distal surface 86, and an innermost surface 93 formed between proximal and latch surfaces 91 and 92.
- Bracket 82 is attached and secured to frame 4 in front of inlet incline 88 to define an inlet 105 of distal path 83 in cooperation with distal surface 86.
- Follower 81 shown in Figure 21 comprises a proximal flat 94, a distal flat 95 formed in parallel to and in an upwardly spaced relation to proximal flat 94, an intermediate ramp 96 connected to proximal flat 94 and disposed in parallel to anterior ramp 90, an intermediate flat 97 connected to intermediate ramp 96 and disposed in parallel to and in an upwardly spaced relation to proximal flat 94, a complementary ramp 98 connected to intermediate flat 97, a base flat 99 connected to complementary ramp 98 and disposed in parallel to and in a downwardly spaced relation to intermediate flat 97, a stabilizing ramp 100 connected to distal flat 95 and disposed in parallel to intermediate ramp 96, and an anterior flat 101 connected to stabilizing ramp 100 and disposed in parallel to and in an upwardly spaced relation to distal flat 95, a rising 103 formed at an end of anterior flat 101 to come into contact to or confrontation with an edge 102 of inlet 105 in distal path 83 when follower 81 is inserted into cam guide 80, and an
- follower 81 is traveled toward the rear of frame 4 in an upwardly spaced relation from stacker 3 by a height of ridged surface 87 over bracket 82.
- bottom parts of posterior gears 12 and protective ridges 58 of drive device 1 are located to project from bottom surface 15a of case 15, it is possible to prevent unfavorable contact of these bottom parts to bracket 82 and a top surface 62 of stacker 3 while moving follower 81 rearward, because proximal flat 94 of follower 81 is in contact to ridged surface 87 of cam guide 80 to space these bottom parts from bracket 82 and top surface 62 as shown in Figures 22 and 23.
- proximal flat 94 of follower 81 is brought into contact to proximal surface 91, and simultaneously, posterior gears 12 and protective ridges 58, projecting from bottom surface 15a of case 15, are brought into engagement with respectively carrier and pusher gears 761, 762 and mating inset grooves 53.
- follower 81 is further pushed toward the rear of proximal path 85, it horizontally moves along proximal path 85 of cam guide 80 by a small distance, and finally end surface 104 of follower 81 comes into contact to innermost surface 93 of proximal path 85 to completely put case 15 in the proper fixed position, at the same time to bring posterior gears 12 into secure engagement with carrier and pusher gears 761, 762 and also to prevent further forward movement of follower 81 as shown in Figures 19 and 25.
- complementary ramp 98 of follower 81 is in contact to or faces inlet incline 88, and rising 103 of follower 81 faces or is in contact to edge 102 of inlet 105, but a gap is formed between intermediate ramp 96 of follower 81 and anterior ramp 90 of cam guide 80 as shown in Figure 19.
- posterior gears 12 may be in driving connection with carrier and pusher gears 761, 762 at the time of contact of proximal flat 94 to proximal surface 91 once end surface 104 reaches proximal path 85, and a spring or elastic medium for producing elastic buffer action may be used in at least one of interlocked posterior and carrier and pusher gears 761 and 762.
- bottom surface 15a of case 15 is also formed with an outlet 48b of intermediate path 48 in drive device 1; transport and stowing gears 201 and 202 of posterior gears 12 of transport device 9 in drive device 1 protrude from openings 56a, 56b formed on bottom surface 15a in case 15; a plurality of protective ridges 58 are formed around openings 56a, 56b to downward project from bottom surface 15b toward stacker 3 while surrounding posterior gears 12. Projection length of protective ridges 58 from bottom surface 15a is substantially the same as or more than that of posterior gears 12 to completely surround posterior gears 12 by protective ridges 58. Protective ridges 58 extend in parallel to each other and perpendicularly to outlet 48b.
- top surface 62 of stacker 3 is disposed in parallel to bottom surface 15a of case 15, and comprises an inlet 59 for receiving bill 35 transported from outlet 48b of intermediate path 48 in drive device 1, and a plurality of or four inwardly hollow and straight inset grooves 53 extending lengthwise or perpendicularly to inlet 59 and in parallel to each other. Openings 57a and 57b are formed in inset grooves 53 to expose carrier and pusher gears 761 and 762 outside through openings 57a and 57b.
- a plurality of ridges 54 are formed in inset grooves 53 on top surface 62 and on opposite sides of carrier and pusher gears 761 and 762.
- bottom surface 15a of case 15 comes to be disposed in parallel to top surface 62 of stacker 3; protective ridges 58 of drive device 1 is fit into mating inset grooves 53 of stacker 3; posterior gears 12 of drive device 1 become meshed with carrier and pusher gears 761 and 762 of stacker 3; and at the same time, protective ridges 58 of case 15 are located to sandwich ridges 54 of stacker 3 therebetween; and outlet 48b of intermediate path 48 in case 15 is rendered properly aligned with inlet 59 of stacker 3.
- each bottom part of transport and stowing gears 201 and 202 projects in each opening 56a, 56b to come into driving and disengageable engagement with respectively carrier and pusher gears 761 and 762 of stacker 3.
- Figures 18 and 19 indicate the arrangement of case 15 in the properly fixed position of frame 4 where end surface 104 of follower 81 is in contact to or closest to innermost surface 93 of cam guide 80.
- transport and stowing gears 201 and 202 are in engagement with respectively carrier and pusher gears 761 and 762 to drive carrier device 6 for introducing bill 35 and pusher device 7 for stowing bill 35.
- transport gear 201 activates carrier device 6 to introduce bill 35 into standby chamber 78, and during adverse rotation of transport motor 701, bill 35 can be returned to inlet 14 through intermediate path 48 and passageway 10. Then, when bill 35 is retained in standby chamber 78, stowing motor 702 is operated to rotate power transmission device 8 and stowing gear 202 of posterior gears 12 to activate pusher device 7 which then stows bill 35 in standby chamber 78 into storage 79.
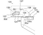
- Latch Device 120 disposed at the front end of case 15 and between case 15 and bracket 82 is a latch device 120 that securely fastens case 15 to bracket 82 to prevent contingent movement of case 15 in the withdrawal direction.
- Latch device 120 comprises a ratchet lever 122 rotatably mounted on bracket 82 around a shaft 121, a rotatable operation lever 124 secured on an axis 123, a handle 125 secured on axis 123 and a tensile spring 127 having one end secured to side wall 51 of case 15 ( Figures 6 and 27) and the other end connected to a biased end 128 of ratchet lever 122 to produce a tensile elastic force for resiliently urging ratchet lever 122 in the counterclockwise direction of rotation around shaft 121.
- Ratchet lever 122 comprises a stopper 126 formed with a lever slant 126a which may be caught by an edge of an opening 82a formed on bracket 82, and an elongated hole 130 for rotatably receiving a pin 129 secured on operation lever 124.
- drive device 1 When drive device 1 is mounted on frame 4, stopper 126 slides on an upper surface of bracket 82 with lever slant 126a in contact to bracket 82, and therefore, lever slant 126a forcibly rotates ratchet lever 122 in the clockwise direction against resilient force of tensile spring 127.
- handle 125 is manually withdrawn downward, ratchet lever 122 is also forcibly rotated in the clockwise direction to release engagement of stopper 125 from opening 82a.
- the bill handling apparatus may increase height and length in stacker 3 to effectively expand its content for accommodating bills therein. Also, as stacker 3 may have its extended length, it can receive longer bills prior art stackers cannot stow, and obviously this widens application ranges of the bill handling apparatus.
- drive device 1 can be mounted at a predetermined fixed location in frame 4 while protecting transport and stowing gears 201 and 202 of drive device 1 against undesirable collision with externals upon attachment and detachment operation of drive device 1 with respect to frame 4, thereby extending service life of the bill handling apparatus.
- cam guides 80 and mating followers 81 provide a slip-on attachment construction for promptly and easily mounting and dismounting drive device 1 on and from frame 4 without producing any mechanical collision therebetween.
- latchet lever 122 When drive device 1 is removed from frame 4, handle 125 is manually rotated downward or in the counterclockwise direction around axis 123 against resilient force of spring 127 to rotate latchet lever 122 upward in the clockwise direction through pin 129. Clockwise rotation of latchet lever 122 releases engagement between stopper 126 and opening 82a to allow drive device 1 to be pulled forward so that followers 81 can be separated from cam guides 80 to remove drive device 1 from frame 4 without undesirable physical contact of transport device 9 in drive device 1 to bracket 82 and top surface 62 of stacker 3.
- complementary ramp 98 of follower 81 is in contact to or faces inlet incline 88; rising 103 of follower 81 faces or is in contact to edge 102 of inlet 105; a gap is formed between intermediate ramp 96 of follower 81 and anterior ramp 90 of cam guide 80 as shown in Figure 19.
- posterior gears 12 may be drivingly connected to drive gears 76 at the time of arrival of follower 81 at proximal path 85 with proximal flat 94 in contact to proximal surface 91.
- an elastic damper action may be produced by resiliently urging at least one of posterior and drive gears 12 and 76 with an elastic material such as a spring when posterior gears 12 are brought into driving engagement with drive gears 76.
- follower 81 may be moved along distal path 83 so that drive device 1 may be moved horizontally, parallel to and over top surface 62 of stacker 3 while maintaining drive device 1 in a spaced relation to bracket 82 and stacker 3 to avoid physical contact of posterior gears 12 of drive device 1 to bracket 82 or stacker 3. Then, follower 81 may be moved at a slant along access path 84 increasingly closer to stacker 3 and proximal path 85.
- posterior gears 12 of drive device 1 may be brought into direct engagement with drive gears 76 of stacker 3; at once, proximal flat 94 of follower 81 is brought into contact to proximal surface 91 of cam guide 80; protective ridges 58 on bottom surface 15a of drive device 1 may be fit in inset grooves 53 on top surface 62 of stacker 3; and outlet 48b of drive device 1 may be in alignment with inlet 59 of stacker 3.
- the shown embodiment illustrates a structure of cam connector 19 having cam guides 80 formed on inner surfaces of side walls 40 in frame 4 and followers 81 formed on a pair of side walls 51 on case 15 of drive device 1, otherwise, vice versa, followers 81 may be formed on inner surfaces of side walls 40 in frame 4, and cam guides 80 may be formed on a pair of side walls 51 of drive device 1.
- transport device 9 comprises a drive pulley 32 drivingly connected to actuator 17 through power transmission device 8 for rotating whole anti-pullback unit 41, a drive belt 36 wound around drive pulley 32, idle rollers 38 and first pulley 74 in drive device 1 for transporting document or bill 35 along intermediate path 48.
- Bill 35 is fed through passageway 10 in validator 2 into intermediate path 48 of drive device 1, and so, is grasped between drive belt 36 and rotatable pinch rollers 33 to transport bill 35 along intermediate path 48 toward stacker 3.
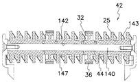
- anti-pullback unit 41 has a rotor 42 that comprises a bearing shaft 140 held on support frame 22, rotor pulleys 32 mounted on bearing shaft 140 for rotation by drive belts 36 wound around rotor pulleys 32, and rollers 43 rotatably mounted on bearing shaft 140 disposed in a bore 142 of rollers 43.
- roller 43 comprises a cylindrical core 44 and a plurality of flange-like disks 151 secured on and radially extending from cylindrical core 44 coaxially, in a line and in a spaced relation each other.
- Each disk 151 has opposite side surfaces formed with fins 143 that axially project toward a faced radial surface 152 of adjoining disk 151 in a spaced relation to former disk 151.
- Each fin 143 has a radially outwardly tapered guide surface 144, a barb 145 formed at a radially inward edge of fin 143 and a hook 146 formed at a tip of fin 143 included between guide surface 144 and barb 145 to form each fin 143 into a generally fletched or right-triangular shape.
- hook 146 is formed at the tip of fin 143 to circumferentially or widthwise and radially inwardly slightly project from fin 143 to contour a capture space 147 between barb 145 and cylindrical core 44 so that capture space 147 can catch flexible extracting tool 170 such as thread, string or tape connected to bill 35 to positively prevent unauthorized drawing of bill 35 out of the apparatus.
- Pulley 74 shown in Figure 1 is rotated by transport motor 701 of actuator 17 through power transmission device 8, and drive belts 36 wound around pulleys 74 run to rotate rotor pulleys 32 integrally with anti-pullback unit 41.
- bill 35 is sent from passageway 10 into intermediate path 48, it is grasped between drive belts 36 and pinch rollers 33 and transported along intermediate path 48 while bill 35 is in contact to and along outer periphery of disks 151 in roller 43. Then, drive belts 36 are further operated to convey bill 35 along intermediate path 48 toward stacker 3.
- drive unit 13 of generally triangular section may be easily mounted in and dismounted from case 15 although drive unit 13 comprises as a unit inclusive of actuator 17, power transmission device 8 driven by actuator 17, transport device 9 as a fourth driven device, anti-pullback unit 41 as a fifth driven device and support frame 22 for sustaining all these elements to naturally operate transport device 9 and anti-pullback unit 41 through power transmission device 8.
- support frame 22 comprises a pair of cylindrical or semi-cylindrical hinge sleeves 160 that each have a bearing (not shown) for rotatably supporting hinge shaft 73 in power transmission device 8.
- Hinge sleeves 160 may be rotatably and removably received by hinge bearings or dents 161 of mating semicircular section formed in case 15, and hinge shaft 73 may be rotatably and disengageably received by a notch 163 formed in case 15.
- hinge sleeves 160 of drive unit 13 are fit in mating hinge bearings 161; secondly, drive unit 13 is rotated in the clockwise direction around hinge sleeves 160 to a predetermined position in case 15 as seen in Figures 9 to 12; and finally, fixation screws 163 are used to fasten support frame 22 to an inner wall of case 15 to secure drive unit 13 in position within case 15.
- a bottom cover 15a may be attached to bottom surface of case 15 by means of cap screws 164.
- Figure 15 illustrates a perspective view of the completely assembled bill handling apparatus according to the embodiment of the present invention
- Figure 6 represents an exploded perspective view of frame 4, drive device 1, validator 2 and stacker 3 before assemblage
- Figure 8 depicts drive unit 13 and case 15 before assemblage.
- drive unit 13 is mounted in the proper position within case 15 as described before; secondly, drive unit 13 is secured within case 15 by means of fixation screws 163; and thirdly, bottom cover 15a is attached to bottom surface of case 15 by cap screws 164.
- housing 20 of validator 2 is removably attached on case 15 of drive device 1 by means of sliding connector 16; fifthly, case 15 of drive device 1 is detachably attached to frame 4 by means of cam connector 19; and finally, stacker 3 is detachably attached to frame 4.
- case 15 may be attached to frame 4 by means of cam connector 19.
- latchet lever 122 of latch device 120 is automatically locked in opening 82a of bracket 82 to prevent accidental pullout of case 15 from frame 4.
- housing 20 of validator 2 may be detachably attached on case 15 of drive device 1 through sliding connector 16 to automatically engage input gear 21 of conveyer device 5 with output gear 39 in drive device 1 so that conveyer device 5 may be drivingly and separably connected to drive device 1, and concurrently passageway 10 of validator 2 may automatically be communicated with intermediate path 48 in drive device 1.
- drive device 1 is removably attached to frame 4 via cam connector 19 after stacker 3 is detachably attached to frame 4 ahead, or if vice versa, stacker 3 is detachably attached to frame 4 after drive device 1 is removably attached to frame 4 via cam connector 19 ahead, drive device 1 and stacker 3 may be drivingly connected while intermediate path 48 being communicated with standby chamber 78. In this way, one can easily handle, assemble or disassemble drive device 1, validator 2, stacker 3 and frame 4 as discrete individual modules or units.
- Figure 15 illustrates a completely assembled bill handling apparatus according to the present invention.
- validator sensor not shown detects optical and magnetic features of bill 35 moved along passageway 10 to produce detection signals indicative of these features that are received by drive control device for determination on bill authenticity.
- drive control device decides bill 35 as genuine, it continuously operate conveyer device 5 in the forward direction to send bill 35 to drive device 1.
- drive control device decides bill 35 as false, it rotates transport motor 701 in the adverse direction to reverse power transmission device 8, drive belt 36 in transport device 9 and conveyer device 5 to return bill 35 to inlet 49 of validator 2.
- Bill 35 decided as genuine is transported through passageway 10 into intermediate path 48 in drive device 1, and so, it is held between drive belt 36 and pinch rollers 33 to move bill 35 in the forward direction along intermediate path 48 toward stacker 3. Then, bill 35 goes through outlet 48b of intermediate path 48 and inlet 59 of stacker 3 into standby chamber 78 by operation of carrier device 6, and there, drive control device stops operation of transport motor 701 and carrier device 6, and at the same time, operates stowing motor 702 to activate pusher device 7 that consequently stows bill 35 in standby chamber 78 into storage 79.
- anti-pullback unit 41 may certainly prevent such an unfair action as follows.
- forward movement of bill 35 pulls connected string 170 into passageway 10 and intermediate path 48 so that string 170 goes along guide surface 144 of fin 143 in the radially inward direction of roller 43 and comes into engagement with barb 145 of fin 143.
- flexible string 170 through passageway 10 and arcuate intermediate path 48 is subject to tensional force by bill 35 transported by transport and carrier devices 9 and 6 possibly in addition to gravities of bill 35 and string 170.
- this tensional force and gravities may exert tension on string 170 to stretch it over an airline or minimal distance within arcuate intermediate path 48.
- This operation accelerates to press string 170 within intermediate path 48 on guide surface 144 of fin 143 to cause it to slide on and go radially inwardly along guide surface 144, and finally, flexible string 170 is driven into capture space 147 for tangled engagement of string 147 with fins 143 as shown in Figures 7, 32 and 33.
- Disassembly of Bill Handling Apparatus There is no particular order for disassembly of drive device 1, validator 2, stacker 3 and frame 4, and all or selected one or ones of them can be taken apart when needed.
- housing 20 of validator 2 may be removed from case 15 of drive device 1 along sliding connector 16 while disengaging input gear 21 of validator 2 from output gear 39 of drive device 1.
- latchet lever 122 of latch device 120 is released from opening 82a in bracket 82 to remove follower 81 from cam guide 80 and to detach drive device 1 from frame 4 while disengaging posterior gears 12 of drive device 1 from drive gears 76 in stacker 3.
- stacker 3 may be separably attached to frame 4 so that stacker 3 may be removed from frame 4 and drive device 1 as necessary.
- U.S. Patent No. 5,372,361 describes a detail of structure for a stacker removably attached to frame. In this way, the embodiment of the present invention enables drive device 1, validator 2, stacker 3 and frame 4 of the bill handling apparatus to disjoin into discrete modules or units under the disassembly method opposite to the assembly method for check, repair, overhaul or exchange of part or unit.
- the unitized bill handling apparatus may be assembled by incorporation of individually modularized drive device 1, validator 2, stacker 3 and frame 4, and then disjoined into their incorporable and separable discrete modules for separate manufacture, assembly, disassembly, check, overhaul and exchange.
- the organically interlocked relation is accomplished by separable combination of drive device 1, validator 2 and stacker 3 to drivingly connect actuator 17 in drive device 1 with conveyer device 5 in validator 2 and carrier and pusher devices 6 and 7 in stacker 3.
- a single drive device 1 can establish an integrated or centralized drive system for conveyer, carrier and pusher devices 5, 6 and 7 without need of any additional drive source and control device in validator 2 and stacker 3 both made in reduced weight, because drive device 1 has actuator 17 inclusive of transport and stowing motors 701 and 702 and drive control device.
- Drive device 1 may have built-in transport device 9 and anti-pullback unit 41 both driven by transport motor 701.
- the present invention deals with a modularized document handler that comprises a modular drive device and a plurality of modular driven devices in particular such as a validator and a stacker drivingly and separably connected to the drive device.
Landscapes
- Physics & Mathematics (AREA)
- General Physics & Mathematics (AREA)
- Pile Receivers (AREA)
- Sheets, Magazines, And Separation Thereof (AREA)
- Delivering By Means Of Belts And Rollers (AREA)
- Exposure Or Original Feeding In Electrophotography (AREA)
- Toys (AREA)
Priority Applications (7)
| Application Number | Priority Date | Filing Date | Title |
|---|---|---|---|
| RU2012125025/08A RU2518956C2 (ru) | 2009-11-16 | 2010-11-12 | Модульное устройство обработки документов |
| MX2012005693A MX2012005693A (es) | 2009-11-16 | 2010-11-12 | Manipulador de documento por modulos. |
| CN201080051735.7A CN102640192B (zh) | 2009-11-16 | 2010-11-12 | 模块化文件处理机 |
| ES10829719.3T ES2561506T3 (es) | 2009-11-16 | 2010-11-12 | Manipulador de documentos compuesto por módulos |
| BR112012011707-6A BR112012011707B1 (pt) | 2009-11-16 | 2010-11-12 | Manipulador modularizado de documento |
| EP10829719.3A EP2502212B1 (en) | 2009-11-16 | 2010-11-12 | Modularized document handler |
| CA2779663A CA2779663C (en) | 2009-11-16 | 2010-11-12 | Modularized document handler |
Applications Claiming Priority (2)
| Application Number | Priority Date | Filing Date | Title |
|---|---|---|---|
| JP2009261381A JP5484866B2 (ja) | 2009-11-16 | 2009-11-16 | 紙葉類取扱装置 |
| JP2009-261381 | 2009-11-16 |
Publications (1)
| Publication Number | Publication Date |
|---|---|
| WO2011058759A1 true WO2011058759A1 (en) | 2011-05-19 |
Family
ID=43991425
Family Applications (1)
| Application Number | Title | Priority Date | Filing Date |
|---|---|---|---|
| PCT/JP2010/006667 Ceased WO2011058759A1 (en) | 2009-11-16 | 2010-11-12 | Modularized document handler |
Country Status (11)
| Country | Link |
|---|---|
| US (1) | US8528715B2 (enExample) |
| EP (1) | EP2502212B1 (enExample) |
| JP (1) | JP5484866B2 (enExample) |
| CN (1) | CN102640192B (enExample) |
| BR (1) | BR112012011707B1 (enExample) |
| CA (1) | CA2779663C (enExample) |
| ES (1) | ES2561506T3 (enExample) |
| MX (1) | MX2012005693A (enExample) |
| RU (1) | RU2518956C2 (enExample) |
| TW (1) | TWI492159B (enExample) |
| WO (1) | WO2011058759A1 (enExample) |
Cited By (1)
| Publication number | Priority date | Publication date | Assignee | Title |
|---|---|---|---|---|
| EP2494529B1 (en) * | 2009-10-26 | 2015-04-29 | Japan Cash Machine Co., Ltd. | Document handler having validator detachably attached thereto |
Families Citing this family (12)
| Publication number | Priority date | Publication date | Assignee | Title |
|---|---|---|---|---|
| US8430395B2 (en) * | 2010-11-16 | 2013-04-30 | Ncr Corporation | Pick unit |
| JP5887318B2 (ja) | 2013-09-13 | 2016-03-16 | 日本金銭機械株式会社 | 紙葉類収納用スタッカ |
| CN103793992B (zh) * | 2014-02-19 | 2016-09-14 | 北京兆维电子(集团)有限责任公司 | 一种票据自动存储箱 |
| CN105374107B (zh) * | 2014-08-21 | 2018-12-07 | 北京兆维电子(集团)有限责任公司 | 单据回收装置 |
| US9721414B2 (en) | 2014-10-31 | 2017-08-01 | Crane Payment Innovations, Inc. | Document cassette displacement actuator for document acceptor |
| CN106683267A (zh) * | 2015-11-07 | 2017-05-17 | 江苏永兴金融设备有限公司 | 一种现金自动存款机的进钞机构 |
| GB2560315A (en) | 2017-03-06 | 2018-09-12 | Innovative Tech Ltd | A safe conduit device |
| CN110288756B (zh) * | 2018-03-13 | 2021-12-21 | 山东新北洋信息技术股份有限公司 | 薄片类介质输送装置及现金循环处理设备 |
| JP7104543B2 (ja) * | 2018-04-09 | 2022-07-21 | 富士通コンポーネント株式会社 | 記録紙カセット |
| GB2575248B (en) * | 2018-06-28 | 2020-09-02 | Innovative Tech Ltd | A banknote acceptor feeder device |
| US20210319643A1 (en) * | 2020-04-09 | 2021-10-14 | Cummins-Allison Corp. | Banknote processing device and methods |
| JP7585268B2 (ja) | 2022-09-30 | 2024-11-18 | 日本金銭機械株式会社 | 紙葉類取扱装置及びその劣化度表示法 |
Citations (9)
| Publication number | Priority date | Publication date | Assignee | Title |
|---|---|---|---|---|
| US5372361A (en) | 1992-11-13 | 1994-12-13 | Japan Cash Machine Co. Ltd. | Bill handling apparatus with exchangeable pusher for stacker |
| EP0662676A2 (en) | 1994-01-10 | 1995-07-12 | Mars Incorporated | Currency validator and secure lockable, removable currency cassette |
| EP0762344A1 (en) | 1995-03-07 | 1997-03-12 | Japan Cash Machine Co., Ltd. | Bill handling apparatus |
| US20010017276A1 (en) | 2000-02-25 | 2001-08-30 | Shigeru Yasuda | Bank-note processing device |
| US6619461B2 (en) | 2000-10-17 | 2003-09-16 | Cashcode Company Inc. | Validator with removable power interface |
| EP1443474A1 (en) | 2001-09-28 | 2004-08-04 | Japan Cash Machine Co., Ltd. | Paper sheet handling apparatus |
| US6932208B1 (en) | 2004-09-21 | 2005-08-23 | International Games System Co., Ltd. | Avoiding bill being extracted apparatus |
| JP2009176143A (ja) | 2008-01-25 | 2009-08-06 | Aruze Corp | 紙葉類処理装置 |
| EP2494529A1 (en) | 2009-10-26 | 2012-09-05 | Japan Cash Machine Co., Ltd. | Document handler having validator detachably attached thereto |
Family Cites Families (5)
| Publication number | Priority date | Publication date | Assignee | Title |
|---|---|---|---|---|
| JP2567046Y2 (ja) * | 1992-11-13 | 1998-03-30 | 日本金銭機械株式会社 | 紙幣取扱装置 |
| DE4434126C1 (de) * | 1994-09-23 | 1996-03-21 | Atronic Casino Technology Dist | Vorrichtung zur Entnahme eines Banknotenbehälters, der einer Banknotenprüfeinrichtung in einem münzbetätigten Unterhaltungsautomaten zugeordnet ist |
| JP2003346210A (ja) * | 2002-05-27 | 2003-12-05 | Japan Cash Machine Co Ltd | 紙幣取扱装置 |
| AU2006202180A1 (en) * | 2005-06-17 | 2007-01-11 | Aruze Corp. | Bill handling device |
| JP2008046841A (ja) * | 2006-08-15 | 2008-02-28 | Glory Ltd | 紙幣処理装置及び紙幣処理方法 |
-
2009
- 2009-11-16 JP JP2009261381A patent/JP5484866B2/ja active Active
-
2010
- 2010-08-30 US US12/871,254 patent/US8528715B2/en active Active
- 2010-11-12 EP EP10829719.3A patent/EP2502212B1/en active Active
- 2010-11-12 RU RU2012125025/08A patent/RU2518956C2/ru active
- 2010-11-12 MX MX2012005693A patent/MX2012005693A/es active IP Right Grant
- 2010-11-12 WO PCT/JP2010/006667 patent/WO2011058759A1/en not_active Ceased
- 2010-11-12 CA CA2779663A patent/CA2779663C/en active Active
- 2010-11-12 CN CN201080051735.7A patent/CN102640192B/zh active Active
- 2010-11-12 ES ES10829719.3T patent/ES2561506T3/es active Active
- 2010-11-12 BR BR112012011707-6A patent/BR112012011707B1/pt active IP Right Grant
- 2010-11-15 TW TW099139210A patent/TWI492159B/zh active
Patent Citations (10)
| Publication number | Priority date | Publication date | Assignee | Title |
|---|---|---|---|---|
| US5372361A (en) | 1992-11-13 | 1994-12-13 | Japan Cash Machine Co. Ltd. | Bill handling apparatus with exchangeable pusher for stacker |
| EP0662676A2 (en) | 1994-01-10 | 1995-07-12 | Mars Incorporated | Currency validator and secure lockable, removable currency cassette |
| EP0762344A1 (en) | 1995-03-07 | 1997-03-12 | Japan Cash Machine Co., Ltd. | Bill handling apparatus |
| US5836435A (en) | 1995-03-07 | 1998-11-17 | Japan Cash Machine Co., Ltd. | Bill handling apparatus |
| US20010017276A1 (en) | 2000-02-25 | 2001-08-30 | Shigeru Yasuda | Bank-note processing device |
| US6619461B2 (en) | 2000-10-17 | 2003-09-16 | Cashcode Company Inc. | Validator with removable power interface |
| EP1443474A1 (en) | 2001-09-28 | 2004-08-04 | Japan Cash Machine Co., Ltd. | Paper sheet handling apparatus |
| US6932208B1 (en) | 2004-09-21 | 2005-08-23 | International Games System Co., Ltd. | Avoiding bill being extracted apparatus |
| JP2009176143A (ja) | 2008-01-25 | 2009-08-06 | Aruze Corp | 紙葉類処理装置 |
| EP2494529A1 (en) | 2009-10-26 | 2012-09-05 | Japan Cash Machine Co., Ltd. | Document handler having validator detachably attached thereto |
Non-Patent Citations (1)
| Title |
|---|
| See also references of EP2502212A4 * |
Cited By (1)
| Publication number | Priority date | Publication date | Assignee | Title |
|---|---|---|---|---|
| EP2494529B1 (en) * | 2009-10-26 | 2015-04-29 | Japan Cash Machine Co., Ltd. | Document handler having validator detachably attached thereto |
Also Published As
| Publication number | Publication date |
|---|---|
| BR112012011707A8 (pt) | 2016-10-11 |
| JP2011107920A (ja) | 2011-06-02 |
| BR112012011707A2 (pt) | 2016-03-01 |
| ES2561506T3 (es) | 2016-02-26 |
| EP2502212A4 (en) | 2013-08-07 |
| CN102640192A (zh) | 2012-08-15 |
| US20110114441A1 (en) | 2011-05-19 |
| TWI492159B (zh) | 2015-07-11 |
| RU2012125025A (ru) | 2013-12-27 |
| EP2502212B1 (en) | 2015-11-04 |
| EP2502212A1 (en) | 2012-09-26 |
| CA2779663C (en) | 2015-06-23 |
| BR112012011707B1 (pt) | 2019-10-08 |
| JP5484866B2 (ja) | 2014-05-07 |
| TW201133348A (en) | 2011-10-01 |
| CA2779663A1 (en) | 2011-05-19 |
| MX2012005693A (es) | 2012-09-07 |
| CN102640192B (zh) | 2014-12-10 |
| US8528715B2 (en) | 2013-09-10 |
| RU2518956C2 (ru) | 2014-06-10 |
Similar Documents
| Publication | Publication Date | Title |
|---|---|---|
| US8528715B2 (en) | Modularized document handler | |
| US7255216B2 (en) | Bill handling machine | |
| EP2494529B1 (en) | Document handler having validator detachably attached thereto | |
| US5372361A (en) | Bill handling apparatus with exchangeable pusher for stacker | |
| US7789389B2 (en) | Media dispenser and method for rejecting media | |
| KR100718519B1 (ko) | 지엽류 처리 장치 | |
| US8393609B2 (en) | Document handler | |
| KR102521070B1 (ko) | 지엽류 처리 장치 | |
| US7651093B2 (en) | Stacking module of media dispenser and control method thereof | |
| KR101046821B1 (ko) | 카세트의 푸쉬플레이트 잠금장치 | |
| US20060097443A1 (en) | Delivery clamp module of media dispenser and control method thereof | |
| JP4454463B2 (ja) | 薄片搬送装置 | |
| JP4454465B2 (ja) | 薄片搬送装置 | |
| JP4454464B2 (ja) | 薄片搬送装置 | |
| JP2021105893A (ja) | 紙葉類収納装置及び紙葉類処理装置 | |
| JP2007004794A (ja) | 貨幣の出金 | |
| KR20070072254A (ko) | 금융자동화기기의 출금장치 및 카세트 모듈 | |
| JPH10269403A (ja) | 紙幣一括払出装置 | |
| JP2006039949A (ja) | 紙葉類処理装置 |
Legal Events
| Date | Code | Title | Description |
|---|---|---|---|
| WWE | Wipo information: entry into national phase |
Ref document number: 201080051735.7 Country of ref document: CN |
|
| 121 | Ep: the epo has been informed by wipo that ep was designated in this application |
Ref document number: 10829719 Country of ref document: EP Kind code of ref document: A1 |
|
| WWE | Wipo information: entry into national phase |
Ref document number: 2779663 Country of ref document: CA |
|
| WWE | Wipo information: entry into national phase |
Ref document number: 3968/DELNP/2012 Country of ref document: IN |
|
| NENP | Non-entry into the national phase |
Ref country code: DE |
|
| WWE | Wipo information: entry into national phase |
Ref document number: 1201002257 Country of ref document: TH Ref document number: MX/A/2012/005693 Country of ref document: MX |
|
| WWE | Wipo information: entry into national phase |
Ref document number: 2010829719 Country of ref document: EP |
|
| WWE | Wipo information: entry into national phase |
Ref document number: 2012125025 Country of ref document: RU |
|
| REG | Reference to national code |
Ref country code: BR Ref legal event code: B01A Ref document number: 112012011707 Country of ref document: BR |
|
| ENP | Entry into the national phase |
Ref document number: 112012011707 Country of ref document: BR Kind code of ref document: A2 Effective date: 20120516 |