WO2011052334A1 - 補正画像データ生成方法及び表示装置 - Google Patents

補正画像データ生成方法及び表示装置 Download PDF

Info

Publication number
WO2011052334A1
WO2011052334A1 PCT/JP2010/067018 JP2010067018W WO2011052334A1 WO 2011052334 A1 WO2011052334 A1 WO 2011052334A1 JP 2010067018 W JP2010067018 W JP 2010067018W WO 2011052334 A1 WO2011052334 A1 WO 2011052334A1
Authority
WO
WIPO (PCT)
Prior art keywords
display device
image data
corrected image
display
image
Prior art date
Legal status (The legal status is an assumption and is not a legal conclusion. Google has not performed a legal analysis and makes no representation as to the accuracy of the status listed.)
Ceased
Application number
PCT/JP2010/067018
Other languages
English (en)
French (fr)
Japanese (ja)
Inventor
堀川 嘉明
Current Assignee (The listed assignees may be inaccurate. Google has not performed a legal analysis and makes no representation or warranty as to the accuracy of the list.)
Olympus Corp
Original Assignee
Olympus Corp
Priority date (The priority date is an assumption and is not a legal conclusion. Google has not performed a legal analysis and makes no representation as to the accuracy of the date listed.)
Filing date
Publication date
Application filed by Olympus Corp filed Critical Olympus Corp
Publication of WO2011052334A1 publication Critical patent/WO2011052334A1/ja
Priority to US13/443,488 priority Critical patent/US20120195519A1/en
Anticipated expiration legal-status Critical
Ceased legal-status Critical Current

Links

Images

Classifications

    • GPHYSICS
    • G09EDUCATION; CRYPTOGRAPHY; DISPLAY; ADVERTISING; SEALS
    • G09GARRANGEMENTS OR CIRCUITS FOR CONTROL OF INDICATING DEVICES USING STATIC MEANS TO PRESENT VARIABLE INFORMATION
    • G09G3/00Control arrangements or circuits, of interest only in connection with visual indicators other than cathode-ray tubes
    • G09G3/20Control arrangements or circuits, of interest only in connection with visual indicators other than cathode-ray tubes for presentation of an assembly of a number of characters, e.g. a page, by composing the assembly by combination of individual elements arranged in a matrix no fixed position being assigned to or needed to be assigned to the individual characters or partial characters
    • G09G3/34Control arrangements or circuits, of interest only in connection with visual indicators other than cathode-ray tubes for presentation of an assembly of a number of characters, e.g. a page, by composing the assembly by combination of individual elements arranged in a matrix no fixed position being assigned to or needed to be assigned to the individual characters or partial characters by control of light from an independent source
    • G09G3/36Control arrangements or circuits, of interest only in connection with visual indicators other than cathode-ray tubes for presentation of an assembly of a number of characters, e.g. a page, by composing the assembly by combination of individual elements arranged in a matrix no fixed position being assigned to or needed to be assigned to the individual characters or partial characters by control of light from an independent source using liquid crystals
    • G09G3/3611Control of matrices with row and column drivers
    • G09G3/3648Control of matrices with row and column drivers using an active matrix
    • GPHYSICS
    • G06COMPUTING OR CALCULATING; COUNTING
    • G06TIMAGE DATA PROCESSING OR GENERATION, IN GENERAL
    • G06T5/00Image enhancement or restoration
    • G06T5/20Image enhancement or restoration using local operators
    • GPHYSICS
    • G06COMPUTING OR CALCULATING; COUNTING
    • G06TIMAGE DATA PROCESSING OR GENERATION, IN GENERAL
    • G06T5/00Image enhancement or restoration
    • G06T5/70Denoising; Smoothing
    • GPHYSICS
    • G02OPTICS
    • G02FOPTICAL DEVICES OR ARRANGEMENTS FOR THE CONTROL OF LIGHT BY MODIFICATION OF THE OPTICAL PROPERTIES OF THE MEDIA OF THE ELEMENTS INVOLVED THEREIN; NON-LINEAR OPTICS; FREQUENCY-CHANGING OF LIGHT; OPTICAL LOGIC ELEMENTS; OPTICAL ANALOGUE/DIGITAL CONVERTERS
    • G02F1/00Devices or arrangements for the control of the intensity, colour, phase, polarisation or direction of light arriving from an independent light source, e.g. switching, gating or modulating; Non-linear optics
    • G02F1/01Devices or arrangements for the control of the intensity, colour, phase, polarisation or direction of light arriving from an independent light source, e.g. switching, gating or modulating; Non-linear optics for the control of the intensity, phase, polarisation or colour 
    • G02F1/13Devices or arrangements for the control of the intensity, colour, phase, polarisation or direction of light arriving from an independent light source, e.g. switching, gating or modulating; Non-linear optics for the control of the intensity, phase, polarisation or colour  based on liquid crystals, e.g. single liquid crystal display cells
    • G02F1/133Constructional arrangements; Operation of liquid crystal cells; Circuit arrangements
    • G02F1/1333Constructional arrangements; Manufacturing methods
    • G02F1/1335Structural association of cells with optical devices, e.g. polarisers or reflectors
    • G02F1/133526Lenses, e.g. microlenses or Fresnel lenses

Definitions

  • the present invention relates to a method of generating corrected image data and a display device.
  • Patent Document 1 proposes a method of displaying a corrected image with edge emphasis.
  • Patent Document 2 proposes a method of using a pre-corrected image generated by the inverse matrix of the Toeplitz matrix.
  • the present invention was devised in view of the above problems, and a corrected image data generating method for generating a pre-corrected image capable of performing diopter adjustment at a practically sufficient level, and a display device displaying the pre-corrected image Intended to provide.
  • a method of generating corrected image data according to the present invention is characterized by generating pre-corrected image data consisting of amplitude information and phase information.
  • the correction function used to generate the pre-corrected image data is preferably a correction function of an optical system.
  • the correction function is preferably an inverse of the transfer function of defocus.
  • the correction function is preferably a Wiener filter of a transfer function of defocus.
  • the optical system is preferably an eye optical system.
  • a display device includes a processing unit that generates correction image data including amplitude information and phase information according to any one of the above-described correction image data generation methods, and amplitude information and phase of the generated correction image data. And a display unit configured to control and display information.
  • the display unit is preferably a display device configured of liquid crystal.
  • the display device is preferably illuminated through the scattering plate.
  • the coherence illumination area is preferably larger than 1 mm.
  • the light source of the display device is preferably a solid light source.
  • the light source is preferably an LED.
  • the light source is preferably a laser.
  • the corrected image data generation method and the display apparatus according to the present invention have an effect of generating a pre-corrected image capable of performing diopter adjustment at a practically sufficient level and displaying the pre-corrected image.
  • FIG. 1 is a view showing an example of a display image. It is also a display image used to generate corrected image data according to the first embodiment of the present invention.
  • FIG. 2 is a view showing a focal position of a presbyopic observer and a visual distance at which the image shown in FIG. 1 is arranged.
  • FIG. 3 is a view showing a defocus image seen by the observer with presbyopia shown in FIG. 2 when the image shown in FIG.
  • FIG. 4 is a view showing an image seen when a presbyopic observer shown in FIG. 2 looks at the pre-corrected image generated by the winner filter based on the image shown in FIG. The defocus is corrected and in focus, and the image is the same as in FIG. FIG.
  • FIG. 5 is a diagram showing an amplitude component of the pre-corrected image generated by the winner filter based on the image shown in FIG.
  • FIG. 6 is a diagram also showing phase components of the pre-corrected image. The phase component is represented by shading.
  • FIG. 7 is a side view showing the structure of a liquid crystal device capable of simultaneously displaying an amplitude component and a phase component.
  • FIG. 8 is a block diagram showing a configuration of a control system of the liquid crystal device shown in FIG.
  • FIG. 9 is a conceptual view showing a state in which coherent imaging is established.
  • FIG. 10 is a conceptual view showing a configuration provided with a scattering plate.
  • FIG. 11 is a view showing the configuration of a display device according to the second embodiment.
  • FIG. 12 is a front view showing the configuration of the display device according to the third embodiment.
  • FIG. 13 is a side view showing the configuration of the display device according to the third embodiment.
  • x and y are two-dimensional coordinates of the image.
  • I (x, y)
  • O (x, y) the intensity of an image (hereinafter, display image) displayed on the display device
  • O (x, y) and the amplitude of the display image is o (x, y)
  • O (x, y) is Be done.
  • O (x, y)
  • a point image response function (hereinafter, IRF, amplitude) of the eye optical system is h (x, y)
  • coherent imaging is expressed by convolution of the following equation (1).
  • I (x, y)
  • 2
  • i (x, y), h (x, y) and o (x, y) are respectively expressed by the following equations (2), (3) and (4) by Fourier transformation.
  • Fi (u, v), Fh (u, v), and Fo (u, v) are Fourier transforms of i (x, y), h (x, y), o (x, y), respectively.
  • Fh (u, v) is a Fourier transform of IRF, which is also CTF (coherent transfer function).
  • Fi (u, v) can be expressed by the product of Fh (u, v) and Fo (u, v) as shown in equation (5).
  • Fi (u, v) Fh (u, v) Fo (u, v) (5)
  • a is the pupil radius of the optical system
  • is the wavelength
  • f is the focal length of the optical system
  • w (u, v) is wavefront aberration.
  • the pupil function including defocus as described above is a complex number and includes phase information.
  • CTF is a Fourier transform of IRF.
  • imaging is represented by the following equation (8) in the spatial frequency domain.
  • Fi (u, v) Fh (u, v) Fo (u, v) (8)
  • the correction represented by the following equation (9) that is, the correction with the pupil function h (u, v) including defocus on the display image (amplitude) o (u, v)
  • the pre-correction image o '(x, y) is generated.
  • the winner filter is expressed by the following equation (11).
  • is a signal noise ratio.
  • the pre-corrected image o ′ ′ (u, v) is easily obtained by the inverse Fourier transform of the following equation (12).
  • Fo "(u, v) t (u, v) Fo (u, v) (12)
  • the data of the pre-corrected image o ′ ′ (u, v) is a complex number.
  • the absolute value of the complex number indicates the amplitude component, and the argument indicates the phase component.
  • FIG. 1 is a diagram showing an example of a display image.
  • FIG. 2 is a view showing a focal position of a presbyopic observer and a visual distance at which the image shown in FIG. 1 is arranged.
  • FIG. 3 is a view showing a defocused image seen by the observer of the presbyopia shown in FIG. 2 when the image shown in FIG. 1 is set at the clear vision distance. That is, when the presbyopia observer A (the focal point position 10 (FIG. 2)) which is focused only at 3 m or more looks at the display image 11 of FIG. 1 placed at a 30 cm clear vision distance (FIG. 2) It is. It turns out that it is blurred.
  • FIG. 2 is a view showing a focal position of a presbyopic observer and a visual distance at which the image shown in FIG. 1 is arranged.
  • FIG. 3 is a view showing a defocused image seen by the observer of the presbyopia shown in FIG. 2 when the image shown in FIG
  • FIG. 4 is a view showing an image as viewed by an observer of the pre-corrected image presbyopia generated by the winner filter based on the image shown in FIG. It can be seen that the blur is well corrected. By looking at the pre-corrected image, even a presbyopic observer who is not focused on the clear vision distance can see an in-focus image.
  • the data of the pre-corrected image generated by the winner filter is a complex number, and it is necessary to simultaneously display both the amplitude information and the phase information for accurate display. Hereinafter, display of amplitude information and phase information will be described.
  • FIG. 5 is a diagram showing an example of the amplitude component of the pre-corrected image.
  • FIG. 5 is a diagram showing an example of the amplitude component of the pre-corrected image.
  • FIG. 6 is a diagram showing an example of the phase component of the pre-corrected image. However, the phase is displayed in gray scale.
  • FIG. 7 is a side view showing the structure of a liquid crystal device capable of simultaneously displaying an amplitude component and a phase component.
  • FIG. 8 is a block diagram showing a configuration of a control system of the liquid crystal device shown in FIG.
  • the liquid crystal device shown in FIG. 7 includes a light source 21, a light guide plate 22, a polarizing plate 23, a switch array transparent electrode 24, a liquid crystal 25, a transparent electrode 26, a polarizing plate 27, a liquid crystal 28 and a switch array transparent electrode 29.
  • the light guide plate 22 to the switch array transparent electrode 29 are stacked in this order.
  • color filters for color display are omitted.
  • the switch array transparent electrode 24, the transparent electrode 26, and the switch array transparent electrode 29 are connected to the control unit 15, and the control unit 15 is connected to the processing unit 16.
  • the processing unit 16 generates corrected image data including the amplitude information and the phase information according to the above-described procedure.
  • the amplitude information and the phase information of the corrected image data generated by the processing unit 16 are controlled by the control unit 15 and displayed on the liquid crystal device (display unit) shown in FIG.
  • the light from the light source 21 passes through the light guide plate 22, is linearly polarized by the polarizing plate 23, and is incident on the liquid crystal 25.
  • the switch array transparent electrode 24 When an electric field is applied between the switch array transparent electrode 24 and the transparent electrode 26, the polarization direction of the light whose alignment of the liquid crystal 25 is aligned in the direction of the voltage changes. Thus, the amount of light passing through the polarizer 27 is modulated by the applied electric field.
  • the switch array transparent electrode 24 can control an electric field applied to each pixel, thereby displaying amplitude information.
  • the light emitted from the polarizing plate 27 enters the liquid crystal 28.
  • the liquid crystal 28 is oriented such that the effective refractive index changes with voltage, and the voltage applied to the switch array transparent electrode 29 can modulate the phase of the transmitted light. Therefore, phase information can be displayed.
  • FIG. 9 is a conceptual view showing a state in which coherent imaging is established.
  • the light 33 emitted from the point light source 31 becomes approximately parallel light by the lens 32, and passes through the display device 34 capable of displaying amplitude information and phase information
  • the eyes of the observer A may be entered.
  • the scattering plate 45 diffusing plate
  • FIG. 10 is a conceptual view showing a configuration provided with a scattering plate.
  • the light from the light source 46 is scattered at each point (for example, points 47a, 47b, 47c) of the scattering plate 45.
  • the luminous fluxes 48a, 48b, 48c generated by the scattering at the scattering points 47a, 47b, 47c respectively pass through the display device 44 capable of displaying amplitude information and phase information.
  • the observer can observe the information of the display device 44 from each of the directions A1, A2, and A3.
  • the corrected image data generation method and the display apparatus display the pre-corrected image data including the amplitude information and the phase information on the display device 44 as the display unit, so that even a person who does not focus on the display position You can see the display in focus.
  • the method and the display device for generating corrected image data according to the present embodiment even a person with a presbyopia can see a focused display without putting on or taking off the reading glasses.
  • the burden on the eye of the observer with presbyopia can be alleviated, and observation can be performed without adding reading glasses or other optical members.
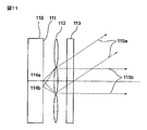
  • FIG. 11 is a diagram showing the configuration of a display device according to the second embodiment. The display device shown in FIG.
  • a pinhole array 111 is provided on one side of the light guide plate 110.
  • the pinhole array 111 is configured, for example, by arranging pinholes 114 a and 114 b with a diameter of 5 ⁇ m at intervals of 10 ⁇ m.
  • a microlens array 112 is provided at a position facing the pinhole array 111. The distance between the pinhole array 111 and the microlens array 112 is, for example, 1 mm.
  • the diameter of the lenses constituting the microlens array 112 corresponds to a coherent illumination area, and is preferably, for example, 1 mm or more.
  • a display device 113 is provided at a position facing the microlens array 112.
  • the display device 113 is disposed, for example, at a position about 1 mm away from the microlens array 112, and displays amplitude information and phase information.
  • a display unit, a control unit, and a processing unit shown in FIGS. 7 and 8 are used as the display device 113.
  • the light scattered by the pinholes 114a and 114b becomes luminous fluxes 115a and 115b and is observed by the observer.
  • the wavefronts of point light sources formed by the pinholes 114a and 114b become coherent illumination on the display device 113, so that coherent imaging can be obtained and recognition can be performed at a wide viewing angle.
  • a solid light source particularly an LED
  • red, green and blue LEDs for color display.
  • the second embodiment is an example of a method of forming a coherence region.
  • Third Embodiment Since an ordinary light source is an incoherent light source, it is necessary to create conditions for coherent imaging using an arrangement such as the point light source 31 of FIG. 9 or the pinholes 114a and 114b of FIG.
  • a coherent light source such as a LD (laser diode)
  • LD laser diode
  • the light scattered at each of the scattering points 47a, 47b, 47c is coherent with each other and causes interference. This point is different from the second embodiment.
  • speckle a granular pattern with high contrast
  • FIG. 12 is a front view showing the configuration of the display device according to the third embodiment.
  • FIG. 13 is a side view showing the configuration of the display device according to the third embodiment.
  • the display shown in FIGS. 12 and 13 is an example using a laser such as an LD having a long coherence length.
  • the display device illustrated in FIGS. 12 and 13 includes a display device 216, a scattering plate 217 (a diffusion plate), a light guide plate 218, a deflector 219 (AOD), and an LD 220.
  • the laser light generated by the LD 220 is deflected by the deflector 219 and emitted to the display device 216 capable of displaying the amplitude and the phase via the light guide plate 218 and the scattering plate 217.
  • the light generated by the LD 220 can be uniformly spread by the light guide plate 218, and the display plate 216 can be uniformly illuminated by the diffusion plate 217.
  • the light generated by the LD 220 has coherence because it has a long coherence length. For this reason, it is easy to produce the speckle noise of a granular pattern. If speckle noise occurs, the information displayed on the display device 216 is significantly disturbed.
  • the deflector 219 is used as a speckle reduction mechanism to deflect the laser beam of the illumination light to change the optical path length. This allows the speckle pattern to move and be averaged. Besides this, a method of shifting the wavelength of the LD is also effective for removing speckle noise. Thus, it is preferable to have a function to reduce speckle. For color display, red, green and blue LDs are used.
  • the method of generating corrected image data and the display device according to the present invention are useful for mobile devices such as mobile phones, digital cameras, electronic books and the like provided with an FPD.

Landscapes

  • Engineering & Computer Science (AREA)
  • Physics & Mathematics (AREA)
  • General Physics & Mathematics (AREA)
  • Theoretical Computer Science (AREA)
  • Chemical & Material Sciences (AREA)
  • Crystallography & Structural Chemistry (AREA)
  • Computer Hardware Design (AREA)
  • Liquid Crystal (AREA)
  • Control Of Indicators Other Than Cathode Ray Tubes (AREA)
  • Image Processing (AREA)
  • Liquid Crystal Display Device Control (AREA)
  • Controls And Circuits For Display Device (AREA)
PCT/JP2010/067018 2009-10-27 2010-09-22 補正画像データ生成方法及び表示装置 Ceased WO2011052334A1 (ja)

Priority Applications (1)

Application Number Priority Date Filing Date Title
US13/443,488 US20120195519A1 (en) 2009-10-27 2012-04-10 Method of Generating Corrected Image Data and Display Apparatus

Applications Claiming Priority (2)

Application Number Priority Date Filing Date Title
JP2009-246723 2009-10-27
JP2009246723A JP5511050B2 (ja) 2009-10-27 2009-10-27 補正画像データ生成方法及び表示装置

Related Child Applications (1)

Application Number Title Priority Date Filing Date
US13/443,488 Continuation US20120195519A1 (en) 2009-10-27 2012-04-10 Method of Generating Corrected Image Data and Display Apparatus

Publications (1)

Publication Number Publication Date
WO2011052334A1 true WO2011052334A1 (ja) 2011-05-05

Family

ID=43921762

Family Applications (1)

Application Number Title Priority Date Filing Date
PCT/JP2010/067018 Ceased WO2011052334A1 (ja) 2009-10-27 2010-09-22 補正画像データ生成方法及び表示装置

Country Status (3)

Country Link
US (1) US20120195519A1 (enExample)
JP (1) JP5511050B2 (enExample)
WO (1) WO2011052334A1 (enExample)

Families Citing this family (6)

* Cited by examiner, † Cited by third party
Publication number Priority date Publication date Assignee Title
JP5607473B2 (ja) * 2010-09-16 2014-10-15 日本放送協会 視度補正装置
CN104216151B (zh) 2013-05-31 2017-11-14 国际商业机器公司 液晶显示器的自动调焦装置和方法
WO2016093071A1 (ja) * 2014-12-10 2016-06-16 ソニー株式会社 画像処理装置、画像処理方法、およびプログラム
JP6604131B2 (ja) * 2015-10-07 2019-11-13 富士通コネクテッドテクノロジーズ株式会社 電子機器および情報表示プログラム
JP6966718B2 (ja) * 2017-08-29 2021-11-17 国立大学法人 奈良先端科学技術大学院大学 ディスプレイ装置
DE102023132267A1 (de) * 2023-11-20 2025-05-22 Schwind Eye-Tech-Solutions Gmbh Verfahren zum Kompensieren einer Fehlsichtigkeit eines Benutzers für eine Anzeigevorrichtung, Anzeigevorrichtung, Computerprogramm und computerlesbares Medium

Citations (7)

* Cited by examiner, † Cited by third party
Publication number Priority date Publication date Assignee Title
JPH0997333A (ja) * 1995-07-25 1997-04-08 Toyota Central Res & Dev Lab Inc 画像処理装置
JPH11285022A (ja) * 1998-03-26 1999-10-15 Nec Home Electron Ltd 陰極線管表示装置
JP2002329193A (ja) * 2001-04-27 2002-11-15 Communication Research Laboratory 歪画像補正方法及び装置
JP2004178232A (ja) * 2002-11-27 2004-06-24 Nec Corp 画像表示装置及びそれに用いる画像表示方法
JP2005338418A (ja) * 2004-05-26 2005-12-08 Fuji Photo Film Co Ltd 表示装置、表示方法、及びプログラム
JP2007010924A (ja) * 2005-06-29 2007-01-18 Pro Saido Kk 画面表示装置
JP2007128355A (ja) * 2005-11-04 2007-05-24 Sueo Sugimoto 画像処理装置、コンピュータ、及び画像形成装置

Family Cites Families (10)

* Cited by examiner, † Cited by third party
Publication number Priority date Publication date Assignee Title
JP3299453B2 (ja) * 1996-10-30 2002-07-08 株式会社山武 模様検出装置
US6191887B1 (en) * 1999-01-20 2001-02-20 Tropel Corporation Laser illumination with speckle reduction
US7054504B2 (en) * 1999-02-25 2006-05-30 Ludwig Lester F Relative optical path phase reconstruction in the correction of misfocused images using fractional powers of the fourier transform
US6419671B1 (en) * 1999-12-23 2002-07-16 Visx, Incorporated Optical feedback system for vision correction
US6659613B2 (en) * 2000-03-27 2003-12-09 Board Of Regents, The University Of Texas System Methods and systems for measuring local scattering and aberration properties of optical media
US6849844B2 (en) * 2000-10-12 2005-02-01 Jed Khoury 2-D microscopic tomographic systems utilizing 2-D deflection sensors
JP4598261B2 (ja) * 2000-11-16 2010-12-15 株式会社トプコン 眼光学特性測定装置
JP4339037B2 (ja) * 2003-04-08 2009-10-07 株式会社キーエンス パターン検出装置、パターン検出方法、パターン検出プログラムおよびコンピュータで読み取り可能な記録媒体
JP4941311B2 (ja) * 2008-01-09 2012-05-30 ソニー株式会社 マウス
JP2009199000A (ja) * 2008-02-25 2009-09-03 Funai Electric Co Ltd 画像撮影装置

Patent Citations (7)

* Cited by examiner, † Cited by third party
Publication number Priority date Publication date Assignee Title
JPH0997333A (ja) * 1995-07-25 1997-04-08 Toyota Central Res & Dev Lab Inc 画像処理装置
JPH11285022A (ja) * 1998-03-26 1999-10-15 Nec Home Electron Ltd 陰極線管表示装置
JP2002329193A (ja) * 2001-04-27 2002-11-15 Communication Research Laboratory 歪画像補正方法及び装置
JP2004178232A (ja) * 2002-11-27 2004-06-24 Nec Corp 画像表示装置及びそれに用いる画像表示方法
JP2005338418A (ja) * 2004-05-26 2005-12-08 Fuji Photo Film Co Ltd 表示装置、表示方法、及びプログラム
JP2007010924A (ja) * 2005-06-29 2007-01-18 Pro Saido Kk 画面表示装置
JP2007128355A (ja) * 2005-11-04 2007-05-24 Sueo Sugimoto 画像処理装置、コンピュータ、及び画像形成装置

Also Published As

Publication number Publication date
JP5511050B2 (ja) 2014-06-04
JP2011095839A (ja) 2011-05-12
US20120195519A1 (en) 2012-08-02

Similar Documents

Publication Publication Date Title
US20230341693A1 (en) Virtual reality and augmented reality systems with dynamic vision correction
Konrad et al. Accommodation-invariant computational near-eye displays
US11852890B2 (en) Near-eye display system
JP6704349B2 (ja) 表示装置及び表示方法
US8891030B2 (en) Display method, display apparatus, optical unit, method of manufacturing display apparatus, and electronic equipment
Hamasaki et al. Varifocal occlusion for optical see-through head-mounted displays using a slide occlusion mask
CN107111137B (zh) 具有弯曲光路的虚拟图像显示器
TWI515456B (zh) 提供視力增進之眼戴式顯示系統
US20200301239A1 (en) Varifocal display with fixed-focus lens
US11397407B2 (en) Holographic display device
Llull et al. Design and optimization of a near-eye multifocal display system for augmented reality
WO2006099074A2 (en) Dual stacked panel display
JP5511050B2 (ja) 補正画像データ生成方法及び表示装置
CN107148591A (zh) 显示装置和显示控制方法
US8525957B2 (en) Display apparatus, electronic equipment, mobile electronic equipment, mobile telephone, and image pickup apparatus
Zhang et al. A resolution-enhanced digital micromirror device (DMD) projection system
JP6329792B2 (ja) 表示装置
Hu et al. Perception-driven soft-edge occlusion for optical see-through head-mounted displays
Yamada et al. VARiable HMD: optical see-through HMD for AR and VR
Barsky et al. Vision correcting displays based on inverse blurring and aberration compensation
TW202338456A (zh) 用於在顯示系統中分色雷射背光的相位板和製造方法
JP2011095842A (ja) 補正画像データ生成方法及び表示装置
TW202338411A (zh) 用於顯示系統中分色雷射背光的相位板和製造方法
WO2023147162A1 (en) Phase plate and fabrication method for color-separated laser backlight in display systems
Hu et al. X-Mask: Improving Soft-Edge Occlusion in Optical See-Through Displays with Cross-Shaped Pinholes

Legal Events

Date Code Title Description
121 Ep: the epo has been informed by wipo that ep was designated in this application

Ref document number: 10826468

Country of ref document: EP

Kind code of ref document: A1

NENP Non-entry into the national phase

Ref country code: DE

122 Ep: pct application non-entry in european phase

Ref document number: 10826468

Country of ref document: EP

Kind code of ref document: A1