WO2011027799A1 - バタフライバルブ - Google Patents

バタフライバルブ Download PDF

Info

Publication number
WO2011027799A1
WO2011027799A1 PCT/JP2010/064968 JP2010064968W WO2011027799A1 WO 2011027799 A1 WO2011027799 A1 WO 2011027799A1 JP 2010064968 W JP2010064968 W JP 2010064968W WO 2011027799 A1 WO2011027799 A1 WO 2011027799A1
Authority
WO
WIPO (PCT)
Prior art keywords
valve
seat ring
valve body
bush
hole
Prior art date
Legal status (The legal status is an assumption and is not a legal conclusion. Google has not performed a legal analysis and makes no representation as to the accuracy of the status listed.)
Ceased
Application number
PCT/JP2010/064968
Other languages
English (en)
French (fr)
Japanese (ja)
Inventor
義人 尾崎
昭宏 釈迦郡
Current Assignee (The listed assignees may be inaccurate. Google has not performed a legal analysis and makes no representation or warranty as to the accuracy of the list.)
Asahi Yukizai Corp
Original Assignee
Asahi Organic Chemicals Industry Co Ltd
Priority date (The priority date is an assumption and is not a legal conclusion. Google has not performed a legal analysis and makes no representation as to the accuracy of the date listed.)
Filing date
Publication date
Application filed by Asahi Organic Chemicals Industry Co Ltd filed Critical Asahi Organic Chemicals Industry Co Ltd
Priority to CN2010800397336A priority Critical patent/CN102575776B/zh
Priority to US13/394,750 priority patent/US20120168659A1/en
Priority to DE112010003557.1T priority patent/DE112010003557B4/de
Publication of WO2011027799A1 publication Critical patent/WO2011027799A1/ja
Anticipated expiration legal-status Critical
Ceased legal-status Critical Current

Links

Images

Classifications

    • FMECHANICAL ENGINEERING; LIGHTING; HEATING; WEAPONS; BLASTING
    • F16ENGINEERING ELEMENTS AND UNITS; GENERAL MEASURES FOR PRODUCING AND MAINTAINING EFFECTIVE FUNCTIONING OF MACHINES OR INSTALLATIONS; THERMAL INSULATION IN GENERAL
    • F16KVALVES; TAPS; COCKS; ACTUATING-FLOATS; DEVICES FOR VENTING OR AERATING
    • F16K1/00Lift valves or globe valves, i.e. cut-off apparatus with closure members having at least a component of their opening and closing motion perpendicular to the closing faces
    • F16K1/16Lift valves or globe valves, i.e. cut-off apparatus with closure members having at least a component of their opening and closing motion perpendicular to the closing faces with pivoted closure-members
    • F16K1/18Lift valves or globe valves, i.e. cut-off apparatus with closure members having at least a component of their opening and closing motion perpendicular to the closing faces with pivoted closure-members with pivoted discs or flaps
    • F16K1/22Lift valves or globe valves, i.e. cut-off apparatus with closure members having at least a component of their opening and closing motion perpendicular to the closing faces with pivoted closure-members with pivoted discs or flaps with axis of rotation crossing the valve member, e.g. butterfly valves
    • F16K1/226Shaping or arrangements of the sealing
    • F16K1/2263Shaping or arrangements of the sealing the sealing being arranged on the valve seat
    • F16K1/2265Shaping or arrangements of the sealing the sealing being arranged on the valve seat with a channel- or U-shaped seal covering a central body portion

Definitions

  • the present invention relates to a butterfly valve suitably used in piping lines for chemical factories, water and sewage systems, agriculture and fisheries, and more specifically, when the valve body is bent due to fluid pressure when the butterfly valve is closed.
  • the present invention relates to a butterfly valve that prevents occurrence and improves the assembly of a seat ring and a valve body to a valve body.
  • valve shaft 103 and the seat ring 102 are not sufficiently sealed, the shaft seal portion between the seat ring 102 and the valve shaft 103 is opened and closed continuously with high fluid pressure applied.
  • the fluid leaks from 106, and the fluid enters the seat ring back 107, that is, between the seat ring 102 and the valve body 101, and stays there.
  • the diameter of the seat ring 102 swells in the inner diameter direction.
  • the valve body 105 may not be lifted or closed.
  • the deflection of the valve body 105 increases due to the fluid pressure applied when the valve is closed, and this deflection causes the upstream side (left side in FIG. 12) to which the fluid pressure is applied.
  • the outer peripheral edge 108 of the valve body 105 is pulled in the inner diameter direction, the outer peripheral edge 108 of the upstream valve body 105 and the seat ring 102 that are normally pressed are separated from each other, and a gap 109 may be generated (see FIG. 13), there is a risk that fluid may leak from the gap 109 into the gap 110 between the valve shaft hole 104 and the valve shaft 103.
  • the valve body 105 and the seat ring 102 are strongly pressed against each other on the downstream side (the right side in FIG. 13) where no fluid pressure is applied.
  • the fluid does not leak from the valve, but the valve shaft 103 may be corroded by the fluid.
  • the fluid is a corrosive fluid
  • the corrosive fluid is a metal valve.
  • the shaft 103 is corroded, and the durability of the valve may be deteriorated or damaged.
  • the fluid is a slurry, in addition to corrosion, there is a problem in that operation failure or intense wear due to particles in the slurry may be caused and the durability of the valve may be significantly deteriorated.
  • Patent Document 1 discloses a butterfly valve that solves the problem of fluid leakage from the shaft seal portion 106 and the gap 110, which is a problem of the conventional butterfly valve.
  • the shaft seal portion 201 of the butterfly valve is provided with a step 202 in the middle in the length direction of the outer surface, a portion from the step 202 to one end is a large diameter portion 203, and the other end from the step 202
  • the portion extending to the small diameter portion 204 is provided on the step 202 surface with an annular projection 205 that protrudes toward the end on the small diameter portion side and extends in the circumferential direction, and the annular projection 205 serves as a contact portion with the outer peripheral surface of the seat ring 206,
  • the annular protrusion 205 is brought into contact with the outer peripheral surface of the seat ring 206, and flows in the fluid passage from around the valve shaft 211. That was achieved, the fluid leakage can be prevented easily and reliably.
  • the seat ring 206 is fitted into the valve body 207, and the valve body 209 is fitted into the seat ring 206, and then the bush 210 is moved to the small diameter portion.
  • 204 is inserted into the upper and lower through holes 212 of the valve body 207, and then the valve shaft 211 is inserted. Thereafter, the small diameter portion 204 is advanced into the valve body 209, and the annular protrusion 205 is brought into contact with the outer peripheral surface of the seat ring 206.
  • the flange 208 of the large diameter portion 203 is assembled to the valve body 207 by using bolts.
  • the through holes 212 and 214 and the fitting holes It is not easy to assemble while matching the centers of 215, and there is a problem that assembly and fine adjustment are difficult. In particular, since the parts are made of metal or the weight of the parts increases as the diameter increases, there is a problem that labor and assembly time become excessive.
  • the bush 210 since the bush 210 has the flange 208 and the valve body 207 fastened with bolts, the valve body 207 and the top flange 213 must be provided separately, which increases the number of parts, and facilitates assembly and parts management. There is a problem that the time required for the process increases. Further, since the bush 210 cannot be inserted from the inside of the valve body 207, in order to insert the bush 210 into the valve body 207, a through hole 212 must be provided below the valve body 207. There is a problem in that leakage may occur from the through hole 212 below the main body 207.
  • the present invention has been made in view of the above-described problems of the prior art, and its object is to provide a valve shaft hole and a valve of a valve body when the butterfly valve is bent due to fluid pressure when the butterfly valve is closed. Prevents the occurrence of the internal leakage of the valve body in which fluid leaks into the gap with the shaft and the leakage of the valve shaft portion in which fluid leaks into the shaft sealing portion between the through hole of the seat ring and the valve shaft, and the seat ring and It is an object of the present invention to provide a butterfly valve with improved assembly of the valve body to the valve body.
  • a seat ring that is fitted to the inner peripheral surface of the valve body, a valve shaft that is supported by the valve body through the through hole of the seat ring, and a disc that is supported by attaching the valve shaft to the valve shaft hole
  • a hollow cylindrical bush is inserted into the through-hole of the seat ring and the seat ring
  • a first feature is that a water stop fit is provided in a valve shaft fitting hole provided in the valve body without protruding from the outer peripheral surface.
  • a second feature is that a flange is provided on the outer peripheral surface side of the seat ring of the bush.
  • the fifth feature is that the upper end surface of the bushing on the outer peripheral surface side of the seat ring is a curved surface.
  • the sixth feature is that the bush is mounted so as not to rotate with respect to the seat ring.
  • a ninth feature is that the valve body is rotated by any one of a manual type, a pneumatic type, and an electric type driving method.
  • the annular protrusion 19 may be formed anywhere as long as it is on the inner peripheral surface side of the seat ring 2 of the flange 18, and is not particularly limited. However, if the annular protrusion 19 is provided on the outer edge of the flange 18, the sheet can be efficiently formed. The strength of the ring 2 in the vicinity of the through hole 11 can be improved, the deformation of the through hole 11 and the movement of the seat ring 2 can be prevented, and the sealing performance can be maintained, so that these effects are maximized. In order to pull it out, it is desirable to provide an annular protrusion 19 on the outer edge of the flange 18. In order to further enhance the effect of the annular protrusion 19, concentric annular protrusions 19 may be provided at a plurality of locations.
  • the end surface on the outer peripheral surface side of the seat ring 2 of the bush 5 may be flat or curved, and is not particularly limited.
  • the bush 5 When the butterfly valve is assembled, the bush 5 is uniformly pressed against the seat ring 2 by the inner peripheral surface of the valve body 1.
  • the bush 5 and the flange portion 18 are arranged on the bushing.
  • protrusions are integrally provided on the side surfaces of the bush 5 and the flange 18, or the cross-sectional shape of the bush 5 and the flange 18 is a rectangle, an ellipse, or a perfect circle. It is desirable to have a shape with a portion.
  • the end surface of the bush 5 or the flange portion 18 on the inner peripheral surface side of the seat ring 2 may be a curved surface or a flat surface, and is not particularly limited.
  • a protrusion is integrally provided on the side surface of the bush 5 or the flange portion 18, or a cross-sectional shape of the bush 5 or the flange portion 18 is provided in a polygon, an ellipse, or a perfect circle with a chamfered portion or a protrusion portion.
  • the bush 5 is more reliably unrotatable with respect to the seat ring 2.
  • a structure using a water stop member 23 such as an O-ring is desirable.
  • the material of the valve shaft 3 of the present invention is not particularly limited as long as it has no problem in strength such as cast iron, cast steel, carbon steel, stainless steel and titanium.
  • the material of the seat ring 2 of the present invention is preferably an elastic material, such as ethylene propylene rubber (hereinafter referred to as EPDM), rubber such as nitrile rubber and fluorine rubber, synthetic resin such as PVDF, and the like. There is no particular limitation as long as it is not corrosive.
  • the material of the bush 5 of the present invention is not particularly limited as long as it has corrosion resistance and has a strength that does not break even if bending occurs, but it may be a resin or a metal, but is not limited to PVC, PP, PVDF, polytetrafluoro It is desirable that it is made of ethylene (hereinafter referred to as PTFE), perfluoroalkoxy alkane (hereinafter referred to as PFA) or PE. This is because metal is often used as the material of the valve shaft 3, but if the material of the bush 5 is PVC, PP, or PVDF, the valve shaft 3 can be prevented from corroding even when a corrosive fluid is passed. This is preferable because the same effect as that obtained when the valve shaft 3 is coated with anticorrosion can be obtained.
  • the shape of the water stop member 23 is not particularly limited as long as it can reliably seal, and may be an O-ring or a packing.
  • the bush 5 When the bush 5 is movable, the water-stop member 23 slides while maintaining the sealing performance between the water-stop member 23 and the seal surface. Therefore, an O-ring having a circular cross-sectional shape and strong against sliding is suitable.
  • the material of the water stop member 23 is not particularly limited as long as it is generally used as a sealing material, but a material having a small compression set is preferable as a mechanical property, and examples thereof include EPDM and fluororubber.
  • the water stop members 23 may be mounted at a plurality of locations, and further, the water stop members 23 having different thicknesses and thicknesses are used in order to improve long-term durability performance. May be.
  • the present invention has the structure as described above, and the following excellent effects can be obtained.
  • the upper end surface on the outer peripheral surface side of the seat ring of the bush is in contact with the inner peripheral surface of the valve body, it is not necessary to newly provide a part for pressing the bush, and the number of parts can be reduced.
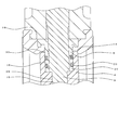
  • FIG. 1 It is a longitudinal cross-sectional view which shows the time of the fully closed butterfly valve of 1st embodiment of this invention. It is a principal part expanded longitudinal cross-sectional view of FIG. It is a front view which shows the state which inserted the bush in the seat ring at the time of the assembly of the butterfly valve of 1st embodiment. It is a front view which shows the state which put the valve body in the seat ring of FIG. It is a front view which shows the state which integrated the bush and the valve body in the seat ring of FIG. It is a front view which shows the time of full opening of the butterfly valve of 1st embodiment of this invention.
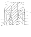
  • FIG. 1st embodiment It is a longitudinal cross-sectional view which shows the state which fluid pressure was added to the upstream and the deflection
  • FIG. 2nd embodiment of this invention It is a fragmentary sectional view which shows the butterfly valve by the pneumatic drive system of 3rd embodiment.
  • a hollow cylindrical valve body 1 having a nominal diameter of 100A made of PP is provided with a substantially disk-shaped top flange 6 projecting to the outer periphery at the top, and the inner peripheral surface of the valve body 1 A seat ring 2 to be described later is fitted, and a fitting groove 8 into which an ear portion 7 of the seat ring 2 is fitted is provided in the vicinity of openings on both side surfaces of the valve body 1.
  • the wafer type valve body 1 is used, but a valve body such as a lug type or a double flange type may be used.
  • a hollow cylindrical main body 9 and flange surfaces 10 on both side surfaces thereof are integrally formed.
  • the outer periphery of the flange surface 10 is formed in a circular shape, and the ear portion 7 provided projecting inwardly at the upper end of the flange surface 10 is fitted into fitting grooves 8 provided on both side surfaces of the valve body 1.
  • the seat ring 2 is prevented from moving.
  • a through hole 11 through which the valve shaft 3 penetrates is provided above and below the main body 9 in the axial direction of the valve shaft 3, and around the through hole 11, an annular portion 18 of the bush 5 described below and an annular shape are provided.
  • a fitting recess 20 and a fitting groove 21 are formed in which the protrusions 19 are fitted, respectively.
  • the inner periphery of the seat ring 2 is formed in a circular shape, and the annular protrusion 13 having an outer periphery having a tapered surface 12 toward the valve axis direction projects in the inner diameter direction at the peripheral edge of the through hole 11. Is provided.
  • a boss portion 14 that is always in pressure contact with the valve body 4 is provided.
  • the boss portion 14 is provided with a concave spherical shape whose contact surface matches the shape of the valve body 4 so as to enhance the valve seat sealing performance.
  • the valve shaft 3 made of SUS403 is composed of a central portion and a reduced diameter portion provided at the upper portion and having an outer diameter smaller than the outer diameter of the central portion, and the upper end portion of the reduced diameter portion is provided at the upper portion of the valve body 1.
  • the top body 6 is supported by the valve body 1 so as to protrude from the center of the top flange 6.
  • the central portion of the valve shaft 3 is tightly penetrated through the valve body 1 and the seat ring 2 in a state where the valve shaft 3 is rotatable.
  • the circular valve body 4 made of PP is provided with a valve shaft hole 15 penetrating the valve body 4 in the center, and a valve shaft fitting hole 16 into which a later-described bush 5 is fitted in the opening of the valve shaft hole 15.
  • a mortar-shaped annular recess 17 is provided on the inner periphery of the opening end of the valve shaft fitting hole 16. Further, the valve shaft 3 is passed through the valve shaft hole 15 so as not to rotate, is supported by the valve shaft 3, and is disposed at the center inside the valve body 1.
  • the annular recess 17 of the valve body 4 and the annular projection 13 of the seat ring 2 are assembled so that the annular projection 13 fits into the annular recess 17.
  • the hollow cylindrical bush 5 made of PP has a flange 18 formed at the upper end of the outer periphery of the seat ring 2, and an annular protrusion 19 extending in the inner peripheral direction at the outer edge of the flange 18. Yes.
  • the flange 18 and the annular protrusion 19 are inserted into the seat ring 2 while being fitted in the fitting recess 20 and the fitting groove 21 formed around the through hole 11 of the seat ring 2, respectively. 11 is prevented, and a sealing surface is formed between the flange 18 and the fitting protrusion 19 and the outer peripheral surface of the seat ring 2.
  • the upper end surface on the outer peripheral side of the seat ring 2 and the upper end surface of the flange portion 18 are continuously formed, the same curved surface as the outer peripheral surface of the seat ring 2 is formed, and the outer peripheral surface of the seat ring 2 is Similarly, since it abuts against the inner peripheral surface of the valve body 1, it is not necessary to newly provide a part for pressing the bush 5, and the number of parts can be reduced.
  • the front end portion of the bushing 5 on the inner peripheral side of the seat ring 2 protrudes from the seat ring 2 and serves as a valve body fitting portion 22 that fits into the valve shaft fitting hole 16 of the valve body 4.
  • the length of the valve body fitting part 22 is 17 mm
  • the annular groove part 24 is formed in two places in the outer peripheral surface of the valve body fitting part 22, the water stop member 23 is fitted, and the valve body The sealing performance between the valve body fitting portion 22 and the valve shaft fitting hole 16 is maintained by being pressed against the inner peripheral surface of the four valve shaft fitting holes 16.
  • the seat ring 2 is crushed in the axial direction of the through hole 11 until the distance between the end portions on the side becomes longer than the length of the valve body 4 in the valve shaft 3 direction.
  • the valve body 4 is placed between the upper and lower bushes 5 so as to be fully open or half open (see FIG. 4), and one valve shaft fitting hole 16 of the valve body 4 is inserted into the other one.
  • the other valve shaft fitting hole 16 is inserted into the valve body fitting portion 22 of the other bush 5 while the force applied to the seat ring 2 is loosened while being inserted into the valve body fitting portion 22 of the bush 5, and the seat ring 2 is released, the bush 5 is pressed from the direction of the valve shaft 3, and the valve body fitting portion 22 of the bush 5 is fitted into the valve shaft fitting hole 16 of the valve body 4 (see FIG. 5). ).
  • the valve body fitting portion 22 of the bush 5 protrudes from the inner peripheral surface of the seat ring 2, the center of the valve shaft fitting hole 16 of the valve body 4 and the through hole 11 of the seat ring 2 is finely adjusted. And can be assembled easily.
  • the water stop member 23 is sandwiched between the stepped portion 31 formed in the valve body fitting portion 34 and the stepped portion 36 formed in the valve shaft fitting hole 35, whereby the valve body fitting portion The sealing property between the valve shaft fitting hole 35 and the valve shaft fitting hole 35 is maintained.
  • the step portions 31 and 36 may be provided in one of the valve shaft fitting hole 35 and the valve body fitting portion 34, and the valve body fitting is performed without providing the step portion 36 of the valve shaft fitting hole 35.
  • the water stop member 23 may be sandwiched between the step portion 31 of the portion 34 and the bottom surface of the valve shaft fitting hole 36.
  • the water stop member 23 may be sandwiched between the step portion 36 of the valve shaft fitting hole 35 and the end face of the valve body fitting portion 34 without providing the step portion 31 of the valve body fitting portion 34. Since other configurations of the valve body 4 and the bush 5 of this embodiment and configurations and operations of other components are the same as those of the first embodiment, description thereof will be omitted.
  • the pneumatic drive unit 25 is attached to the top flange 6 of the valve body 1 via a mounting base 33.
  • the drive of the pneumatic drive unit 25 is transmitted to the upper part of the valve shaft 3, and the valve body is rotated by rotating the valve shaft 3 to open and close the valve.
  • an electric drive unit including a motor or the like may be provided instead of the pneumatic drive unit 25 by air pressure, and is not particularly limited.
  • the electric drive unit is mounted on the butterfly valve via the mounting base 33.
  • the other configurations of the valve body 1, the valve shaft 3, and the valve body 4 and the configurations of the other parts of the present embodiment are the same as those of the first embodiment, and thus description thereof is omitted.
  • the butterfly valve since the butterfly valve is driven by the pneumatic drive unit 25, the valve can be remotely operated and electrically controlled. Therefore, the butterfly valve is installed in a narrow space where human hands cannot enter. It is possible to manage valve operations, opening / closing operations that repeat opening and closing frequently, and computer-controlled opening / closing operations.
  • valve body 4 When the valve shaft 3 is rotated from the fully opened state, the valve body 4 is also rotated accordingly, and the outer peripheral edge 32 of the valve body 4 is pressed against the inner periphery of the seat ring 2 to be fully closed (see FIG. 1), the valve seat is sealed by the inner periphery of the seat ring 2 and the outer peripheral edge 32 of the valve body 4. Further, the flange portion 18 and the annular projection portion 19 of the bush 5 abut on the fitting recess 20 and the fitting groove portion 21 of the seat ring 2, and the end surface on the outer peripheral surface side of the seat ring 2 of the bush 5 is seated by the valve body 1.
  • the valve body fitting portion 22 of the bush 5 is fitted into the valve shaft fitting hole 16 of the valve body 4 and the bush 5 and the valve body 4 are sealed by the water stop member 23,
  • the bush 5 can move in the valve shaft fitting hole 16 in accordance with the deflection of the valve body 4 and can prevent the stress due to the deflection from being applied to the bush 5.
  • the movement of the bush 5 may shift the sealing surface where the water stop member 23 seals with the valve body 4, but the water stop member 23 slides on the inner surface of the valve shaft fitting hole 16 of the valve body 4. Since the sealing performance does not change only by moving to an appropriate sealing position, even when the valve body 4 is deflected, it is possible to maintain the same sealing performance as in a state where there is no deflection.
  • valve seat sealability test In accordance with the test method for valve seat sealability in JIS B 2032, with the valve closed, a water pressure of 1.5 MPa is set to 1.5 times the maximum allowable pressure upstream. After adding for 1 minute, the presence or absence of leakage to the downstream side, internal leakage of the valve body and leakage of the valve stem portion was visually confirmed. Specifically, the downstream leakage is confirmed by the presence or absence of leakage at the seal portion between the valve body 4 and the seat ring 2, and the internal leakage of the valve body is made from the downstream by opening a hole in the center of the valve body 4.
  • the diameter is 100 mm
  • a flange 18 is provided at the upper end on the outer peripheral surface side of the seat ring 2 according to the third embodiment of the present invention, and the outer edge of the flange 18 extends in the inner peripheral direction of the seat ring 2.
  • the valve 5 provided in the valve body 4 in a state where the annular protrusion 19 is provided and the bush 5 whose upper end surface is curved is inserted into the through hole 11 of the seat ring 2 and does not protrude from the outer peripheral surface of the seat ring 2.
  • a valve seat sealability test and a durability test were performed using a butterfly valve fitted with a waterstop member 23 in the shaft fitting hole 16. The test results are shown in Tables 1 and 2, respectively. In Tables 1 and 2, “good” indicates that no leakage occurred, and “bad” indicates that internal leakage of the valve body occurred.
  • Example 1 As shown in Table 2, in Example 1, there was no fluid leakage even after repeated opening and closing 100,000 times. On the other hand, in Comparative Example 1, the internal leakage of the valve body occurred after repeated opening and closing 10,000 times. From this result, as in Example 1, in addition to the seal structure by the seat ring 2 and the valve body 4, the water stop member 23 is attached to the valve body fitting portion 22 of the bush 5 to fit the valve shaft of the valve body 4.
  • the butterfly valve provided with a sealing structure between the joint hole 16 is provided with means for preventing fluid from entering the valve shaft hole 15 in addition to the sealing structure by the seat ring 2 and the valve body 4 as in Comparative Example 1.
  • the first embodiment can prevent the valve shaft portion from leaking even when the full opening and closing are repeated for long-term use.

Landscapes

  • Engineering & Computer Science (AREA)
  • General Engineering & Computer Science (AREA)
  • Mechanical Engineering (AREA)
  • Lift Valve (AREA)
  • Details Of Valves (AREA)
PCT/JP2010/064968 2009-09-07 2010-09-01 バタフライバルブ Ceased WO2011027799A1 (ja)

Priority Applications (3)

Application Number Priority Date Filing Date Title
CN2010800397336A CN102575776B (zh) 2009-09-07 2010-09-01 蝶阀
US13/394,750 US20120168659A1 (en) 2009-09-07 2010-09-01 Butterfly valve
DE112010003557.1T DE112010003557B4 (de) 2009-09-07 2010-09-01 Absperrklappe

Applications Claiming Priority (2)

Application Number Priority Date Filing Date Title
JP2009-205406 2009-09-07
JP2009205406A JP5505605B2 (ja) 2009-09-07 2009-09-07 バタフライバルブ

Publications (1)

Publication Number Publication Date
WO2011027799A1 true WO2011027799A1 (ja) 2011-03-10

Family

ID=43649334

Family Applications (1)

Application Number Title Priority Date Filing Date
PCT/JP2010/064968 Ceased WO2011027799A1 (ja) 2009-09-07 2010-09-01 バタフライバルブ

Country Status (5)

Country Link
US (1) US20120168659A1 (enExample)
JP (1) JP5505605B2 (enExample)
CN (1) CN102575776B (enExample)
DE (1) DE112010003557B4 (enExample)
WO (1) WO2011027799A1 (enExample)

Cited By (2)

* Cited by examiner, † Cited by third party
Publication number Priority date Publication date Assignee Title
JP2018530714A (ja) * 2015-09-18 2018-10-18 ビクターリック カンパニー 弁および連結器
WO2020168617A1 (zh) * 2019-02-21 2020-08-27 江苏神通阀门股份有限公司 一种超低温蝶阀

Families Citing this family (13)

* Cited by examiner, † Cited by third party
Publication number Priority date Publication date Assignee Title
JP5694049B2 (ja) * 2011-05-23 2015-04-01 株式会社荏原製作所 逆止弁
CN103542111B (zh) * 2013-10-29 2016-02-10 天津市大站阀门总厂 带有可靠密封防泄漏阀座的对夹式蝶阀
CN103953735A (zh) * 2014-05-22 2014-07-30 江苏明江阀业有限公司 一种氯碱专用角式截止阀
JP6715692B2 (ja) * 2016-06-17 2020-07-01 旭有機材株式会社 バタフライバルブ用のシートリング及びこれを備えるバタフライバルブ
JP6755140B2 (ja) * 2016-07-20 2020-09-16 旭有機材株式会社 バタフライ弁
US10408355B2 (en) * 2017-11-01 2019-09-10 Mueller International, Llc Pressure activated valve seat
CN113242947B (zh) * 2018-12-28 2023-12-01 株式会社开滋 中心型蝶形阀
CN110131424A (zh) * 2019-06-19 2019-08-16 厦门科恒塑胶有限公司 一种密封性较好的蝶阀
CN110242754A (zh) * 2019-07-10 2019-09-17 车碧怀 一种三偏心软密封蝶阀
CN112762178A (zh) * 2019-11-06 2021-05-07 蔡宗晏 蝶阀
JP7242582B2 (ja) * 2020-01-24 2023-03-20 Ckd株式会社 バタフライバルブ
CN112112986A (zh) * 2020-04-14 2020-12-22 上海晟凡流体控制有限公司 一种衬氟蝶阀
TWI878562B (zh) * 2020-07-31 2025-04-01 日商旭有機材股份有限公司 蝶形閥

Citations (5)

* Cited by examiner, † Cited by third party
Publication number Priority date Publication date Assignee Title
JPS4723720U (enExample) * 1971-03-19 1972-11-16
JPS6297370U (enExample) * 1985-12-10 1987-06-20
JPH0921480A (ja) * 1995-07-10 1997-01-21 Kubota Corp バタフライ弁の軸封装置
JP2005133810A (ja) * 2003-10-30 2005-05-26 Tomoe Tech Res Co バタフライ弁及びその構成部品
JP2007303635A (ja) * 2006-05-15 2007-11-22 Calsonic Kansei Corp 冷凍サイクル用のシール構造

Family Cites Families (12)

* Cited by examiner, † Cited by third party
Publication number Priority date Publication date Assignee Title
JPS629693Y2 (enExample) * 1979-11-10 1987-03-06
AT368614B (de) * 1981-01-14 1982-10-25 Voest Alpine Ag Absperrklappe
US4685611A (en) * 1986-11-26 1987-08-11 Keystone International, Inc. Butterfly valve construction having a composite seat
US5314165A (en) 1993-07-14 1994-05-24 Bray International, Inc. Rotary valve
JPH0723720U (ja) * 1993-10-01 1995-05-02 澄夫 本田 本体底面に、凹部を設けた、歩車道境界ブロックの吊り金具
GB2286651B (en) 1994-02-18 1997-11-05 Bray Int Inc Rotary valve
JP3089221B2 (ja) * 1997-05-08 2000-09-18 株式会社巴技術研究所 バタフライ弁の軸封装置
JP4703235B2 (ja) * 2005-03-31 2011-06-15 旭有機材工業株式会社 バタフライバルブ
JP2007120595A (ja) 2005-10-27 2007-05-17 Asahi Organic Chem Ind Co Ltd バタフライバルブ
DE102006002936A1 (de) 2006-01-21 2007-08-02 Erhard Gmbh & Co. Kg Armatur zum Absperren oder Regeln eines Mediums
WO2008136490A1 (ja) * 2007-04-26 2008-11-13 Asahi Organic Chemicals Industry Co., Ltd. バルブの製造方法およびバルブ
CN201155576Y (zh) * 2008-03-04 2008-11-26 上海艾维科阀门有限公司 一种硬密封蝶阀

Patent Citations (5)

* Cited by examiner, † Cited by third party
Publication number Priority date Publication date Assignee Title
JPS4723720U (enExample) * 1971-03-19 1972-11-16
JPS6297370U (enExample) * 1985-12-10 1987-06-20
JPH0921480A (ja) * 1995-07-10 1997-01-21 Kubota Corp バタフライ弁の軸封装置
JP2005133810A (ja) * 2003-10-30 2005-05-26 Tomoe Tech Res Co バタフライ弁及びその構成部品
JP2007303635A (ja) * 2006-05-15 2007-11-22 Calsonic Kansei Corp 冷凍サイクル用のシール構造

Cited By (2)

* Cited by examiner, † Cited by third party
Publication number Priority date Publication date Assignee Title
JP2018530714A (ja) * 2015-09-18 2018-10-18 ビクターリック カンパニー 弁および連結器
WO2020168617A1 (zh) * 2019-02-21 2020-08-27 江苏神通阀门股份有限公司 一种超低温蝶阀

Also Published As

Publication number Publication date
US20120168659A1 (en) 2012-07-05
CN102575776A (zh) 2012-07-11
CN102575776B (zh) 2013-11-13
DE112010003557T5 (de) 2012-09-06
JP5505605B2 (ja) 2014-05-28
JP2011058509A (ja) 2011-03-24
DE112010003557B4 (de) 2023-02-16

Similar Documents

Publication Publication Date Title
JP5505605B2 (ja) バタフライバルブ
US9587747B2 (en) Flexible seals for process control valves
US10781925B2 (en) Butterfly valve seat ring and butterfly valve provided with same
JP6495243B2 (ja) バタフライバルブのシール構造
JP4703235B2 (ja) バタフライバルブ
JPH0213192B2 (enExample)
KR101881460B1 (ko) 내식성 금속재의 버터플라이 밸브
JP2007120595A (ja) バタフライバルブ
CA3009537C (en) Butterfly valve seat with seat cover
EP3372875B1 (en) Ball valve
US20230304584A1 (en) Butterfly valve
JP6725931B2 (ja) ライニング型バタフライバルブ
US20160138719A1 (en) Butterfly Valve Seal Retaining Arrangement
WO2016121709A1 (ja) ライニング型バタフライバルブ
JP2017096323A (ja) ライニング型バタフライバルブ
KR200297444Y1 (ko) 버터플라이밸브의 메탈시트 실링장치
KR200297445Y1 (ko) 버터플라이밸브의 메탈시트 실링장치

Legal Events

Date Code Title Description
WWE Wipo information: entry into national phase

Ref document number: 201080039733.6

Country of ref document: CN

121 Ep: the epo has been informed by wipo that ep was designated in this application

Ref document number: 10813748

Country of ref document: EP

Kind code of ref document: A1

WWE Wipo information: entry into national phase

Ref document number: 112010003557

Country of ref document: DE

Ref document number: 1120100035571

Country of ref document: DE

WWE Wipo information: entry into national phase

Ref document number: 13394750

Country of ref document: US

122 Ep: pct application non-entry in european phase

Ref document number: 10813748

Country of ref document: EP

Kind code of ref document: A1