WO2011007540A1 - 洗濯機 - Google Patents

洗濯機 Download PDF

Info

Publication number
WO2011007540A1
WO2011007540A1 PCT/JP2010/004505 JP2010004505W WO2011007540A1 WO 2011007540 A1 WO2011007540 A1 WO 2011007540A1 JP 2010004505 W JP2010004505 W JP 2010004505W WO 2011007540 A1 WO2011007540 A1 WO 2011007540A1
Authority
WO
WIPO (PCT)
Prior art keywords
washing liquid
washing
washing machine
inner tub
tub
Prior art date
Legal status (The legal status is an assumption and is not a legal conclusion. Google has not performed a legal analysis and makes no representation as to the accuracy of the status listed.)
Ceased
Application number
PCT/JP2010/004505
Other languages
English (en)
French (fr)
Japanese (ja)
Inventor
大山眞
安井利彦
久保光市
Current Assignee (The listed assignees may be inaccurate. Google has not performed a legal analysis and makes no representation or warranty as to the accuracy of the list.)
Panasonic Corp
Original Assignee
Panasonic Corp
Priority date (The priority date is an assumption and is not a legal conclusion. Google has not performed a legal analysis and makes no representation as to the accuracy of the date listed.)
Filing date
Publication date
Application filed by Panasonic Corp filed Critical Panasonic Corp
Priority to US13/383,027 priority Critical patent/US20120103026A1/en
Priority to CN2010800317280A priority patent/CN102471974A/zh
Priority to EP10799604.3A priority patent/EP2455529A4/en
Publication of WO2011007540A1 publication Critical patent/WO2011007540A1/ja
Anticipated expiration legal-status Critical
Ceased legal-status Critical Current

Links

Images

Classifications

    • DTEXTILES; PAPER
    • D06TREATMENT OF TEXTILES OR THE LIKE; LAUNDERING; FLEXIBLE MATERIALS NOT OTHERWISE PROVIDED FOR
    • D06FLAUNDERING, DRYING, IRONING, PRESSING OR FOLDING TEXTILE ARTICLES
    • D06F39/00Details of washing machines not specific to a single type of machines covered by groups D06F9/00 - D06F27/00 
    • D06F39/08Liquid supply or discharge arrangements
    • D06F39/083Liquid discharge or recirculation arrangements
    • DTEXTILES; PAPER
    • D06TREATMENT OF TEXTILES OR THE LIKE; LAUNDERING; FLEXIBLE MATERIALS NOT OTHERWISE PROVIDED FOR
    • D06FLAUNDERING, DRYING, IRONING, PRESSING OR FOLDING TEXTILE ARTICLES
    • D06F34/00Details of control systems for washing machines, washer-dryers or laundry dryers
    • D06F34/14Arrangements for detecting or measuring specific parameters
    • D06F34/22Condition of the washing liquid, e.g. turbidity
    • DTEXTILES; PAPER
    • D06TREATMENT OF TEXTILES OR THE LIKE; LAUNDERING; FLEXIBLE MATERIALS NOT OTHERWISE PROVIDED FOR
    • D06FLAUNDERING, DRYING, IRONING, PRESSING OR FOLDING TEXTILE ARTICLES
    • D06F2103/00Parameters monitored or detected for the control of domestic laundry washing machines, washer-dryers or laundry dryers
    • D06F2103/20Washing liquid condition, e.g. turbidity
    • DTEXTILES; PAPER
    • D06TREATMENT OF TEXTILES OR THE LIKE; LAUNDERING; FLEXIBLE MATERIALS NOT OTHERWISE PROVIDED FOR
    • D06FLAUNDERING, DRYING, IRONING, PRESSING OR FOLDING TEXTILE ARTICLES
    • D06F2103/00Parameters monitored or detected for the control of domestic laundry washing machines, washer-dryers or laundry dryers
    • D06F2103/38Time, e.g. duration
    • DTEXTILES; PAPER
    • D06TREATMENT OF TEXTILES OR THE LIKE; LAUNDERING; FLEXIBLE MATERIALS NOT OTHERWISE PROVIDED FOR
    • D06FLAUNDERING, DRYING, IRONING, PRESSING OR FOLDING TEXTILE ARTICLES
    • D06F2105/00Systems or parameters controlled or affected by the control systems of washing machines, washer-dryers or laundry dryers
    • D06F2105/06Recirculation of washing liquids, e.g. by pumps or diverting valves
    • DTEXTILES; PAPER
    • D06TREATMENT OF TEXTILES OR THE LIKE; LAUNDERING; FLEXIBLE MATERIALS NOT OTHERWISE PROVIDED FOR
    • D06FLAUNDERING, DRYING, IRONING, PRESSING OR FOLDING TEXTILE ARTICLES
    • D06F2105/00Systems or parameters controlled or affected by the control systems of washing machines, washer-dryers or laundry dryers
    • D06F2105/46Drum speed; Actuation of motors, e.g. starting or interrupting
    • DTEXTILES; PAPER
    • D06TREATMENT OF TEXTILES OR THE LIKE; LAUNDERING; FLEXIBLE MATERIALS NOT OTHERWISE PROVIDED FOR
    • D06FLAUNDERING, DRYING, IRONING, PRESSING OR FOLDING TEXTILE ARTICLES
    • D06F2105/00Systems or parameters controlled or affected by the control systems of washing machines, washer-dryers or laundry dryers
    • D06F2105/58Indications or alarms to the control system or to the user

Definitions

  • the present invention relates to a washing machine that controls operation according to the state of the washing liquid.
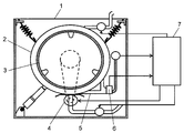
  • FIG. 10 is a cross-sectional view of a washing machine disclosed in Patent Document 1.
  • the washing machine includes a housing 1, an outer tub 2 supported inside the housing 1, and a bottomed cylindrical inner tub 3 that is rotatably provided inside the outer tub 2. And a drive motor 4 for rotating the inner tub 3.
  • the rotation axis of the inner tank 3 is horizontal.
  • the inner tub 3 accommodates laundry such as clothes.
  • a circulation path 5 through which the washing liquid circulates is provided outside the outer tub 2.
  • a turbidity sensor 6 for detecting the turbidity of the washing liquid is attached to the circulation path 5.
  • the washing liquid circulates in the circulation path 5 by the rotation of the inner tub 3. Thereby, detergent and dirt do not accumulate at the bottom of the outer tub 2. Further, the concentration of the washing liquid in the outer tub 2 and the washing liquid in the circulation path 5 is made uniform. Since the concentration of the washing liquid is made uniform, the degree of contamination of the washing liquid can be detected by detecting the turbidity of the washing liquid. That is, the turbidity sensor 6 detects the degree of contamination of the washing liquid.
  • the control unit 7 determines the dirt on the laundry based on the detected degree of dirt on the washing liquid. The controller 7 shortens the washing time when there is little dirt and optimally controls the washing time.
  • the conventional washing machine circulates the washing liquid in the circulation path 5 by the rotation of the inner tub 3. Therefore, it is necessary to increase the rotational speed of the inner tub 3 in order to ensure a sufficient circulation amount of the washing liquid.
  • the inner tub 3 functions as a stirring unit that stirs the laundry by rotation. That is, the laundry is lifted by the rotation of the inner tub 3, and then the laundry is dropped, thereby washing. This washing is called tapping.
  • the inner tank 3 has an optimum rotation speed. When the inner tub 3 rotates at a rotation speed higher than the optimum rotation speed, the laundry is attached to the inner surface of the inner tub 3 and rotates. In such a state, the washing performance of the washing machine is deteriorated because tapping is not performed.
  • the conventional washing machine rotates the inner tub 3 at an optimum rotation speed in order to maintain the washing performance by tapping. Therefore, the circulation amount of the washing liquid in the circulation path 5 is not sufficiently ensured. Thereby, equalization of the washing liquid in the outer tub 2 and the washing liquid in the circulation path 5 is delayed, and the detection accuracy of the turbidity sensor 6 is lowered.
  • the present invention provides a washing machine that maintains the detection accuracy of the degree of contamination of the washing liquid without deteriorating the washing performance.
  • the washing machine of the present invention includes a housing, an outer tub supported inside the housing, an inner tub that accommodates laundry and is rotatably provided inside the outer tub, and an agitation unit that agitates the laundry With. Furthermore, the washing machine of the present invention includes a circulation path that sucks the washing liquid accumulated in the outer tub and returns it to the inside of the outer tub, a circulation pump that is provided in the middle of the circulation path and circulates the washing liquid, and an agitator and a circulation pump. The control part which controls operation
  • FIG. 1 is a cross-sectional view of a washing machine according to Embodiment 1 of the present invention.
  • FIG. 2 is a cross-sectional view of the discharge port of the washing machine in the same embodiment.
  • FIG. 3 is a cross-sectional view of another discharge port of the washing machine in the same embodiment.
  • FIG. 4 is a sectional view of another washing machine according to the embodiment.
  • FIG. 5 is a cross-sectional view of the washing liquid state detection unit of the washing machine in the same embodiment.
  • FIG. 6 is a cross-sectional view showing another operation of the discharge port of the washing machine in the same embodiment.
  • FIG. 7 is a cross-sectional view of another washing machine according to the embodiment.
  • FIG. 8 is a cross-sectional view of another washing machine according to the embodiment.
  • FIG. 9 is a sectional view of another washing machine according to the embodiment.
  • FIG. 10 is a cross-sectional view of a conventional washing machine.
  • (Embodiment 1) 1 is a cross-sectional view of a washing machine according to Embodiment 1 of the present invention.
  • An outer tub 24 supported by a spring 22, a damping portion 23, or the like that is a support portion is provided inside the housing 21.
  • An inner tank 25 is rotatably provided in the outer tank 24.
  • a drive motor 26 for rotating the inner tank 25 is provided on the back surface (right side in FIG. 1) of the outer tank 24.
  • This washing machine is a so-called drum type washing machine, and the rotation axis of the inner tub 25 is inclined to be higher in the front (left side in FIG. 1) than the horizontal or horizontal.
  • the door body 27 provided in the housing 21 opens and closes the front opening 24 a of the outer tub 24.
  • the casing 21 and the door body 27 are sealed with a water seal packing 28.
  • a plurality of protrusions 29 are provided on the inner surface of the cylindrical portion of the inner tank 25. The protrusion 29 lifts the laundry upward when the inner tub 25 is rotated at a low speed.
  • a water supply valve 30 having a water supply port 30a for connecting one end of a water supply hose (not shown) and a detergent charging unit 31 for a user to add a detergent in advance are provided on the upper portion of the housing 21. . Further, a water supply path 32 for connecting the water supply valve 30 and the detergent charging unit 31 and the detergent charging unit 31 and the outer tub 24 is provided. The other end of the water supply hose is connected to the water supply.
  • a water intake 33 is provided at the bottom of the outer tub 24.
  • the water intake 33 is connected to a drainage path 36 via a drainage filter 34 and a drainage valve 35.
  • the washing liquid is discharged from the drainage path 36 to the outside of the washing machine.
  • a circulation path 37 branched from between the water intake 33 and the drain valve 35 is provided.
  • the washing liquid taken from the water intake port 33 is returned to the outer tub 24 again by the circulation path 37.
  • a discharge port 38 that is an outlet of the circulation path 37 is provided in the outer tub 24.
  • the discharge port 38 ejects the washing liquid toward the inside of the inner tub 25.
  • the route from the intake port 33 to the discharge port 38 is collectively referred to as a circulation route 37.
  • the circulation path 37 is provided with a circulation pump 39 for circulating the washing liquid through the circulation path 37 and a washing liquid state detection unit 40 for detecting the state of the washing liquid.
  • a circulation pump 39 for circulating the washing liquid through the circulation path 37
  • a washing liquid state detection unit 40 for detecting the state of the washing liquid.
  • the circulation path 37 demonstrated the case where it branched from between the water intake 33 and the drain valve 35, it is connected with the water intake (not shown) provided separately from the water intake 33 of the water discharge path 36, and is comprised. You can also
  • FIG. 2 is a sectional view of the discharge port 38 of the circulation path 37 of the washing machine in the present embodiment.
  • the discharge port 38 is provided between the outer tub 24 and the inner tub 25, and sprays the washing liquid toward the inside of the inner tub 25 through the gap between the outer tub 24 and the inner tub 25.
  • a state of jetting the washing liquid is shown in FIG.
  • the discharge port 38 may be configured so that the discharge port 38 is provided in an exposed portion of the outer tank 24 and sprayed toward the inside of the inner tank 25.
  • FIG. 3C shows how the washing liquid is jetted in this case.
  • a discharge port 38 is provided between the outer tub 24 and the inner tub 25, and the washing liquid is not sprayed into the inner tub 25. It can be set as the structure which injects a washing
  • FIG. 5 is a cross-sectional view of the washing liquid state detection unit 40.
  • the washing liquid state detection unit 40 includes an optical sensor 41 that detects the turbidity of the washing liquid and an electrode sensor 42 that detects the conductivity of the washing liquid.
  • the optical sensor 41 includes a light emitting element 43 and a light receiving element 44.
  • the light emitting element 43 is, for example, an LED
  • the light receiving element 44 is, for example, a phototransistor.
  • the light emitting element 43 and the light receiving element 44 are installed opposite to each other at a substantially horizontal position with the circulation path 37 interposed therebetween.
  • the electrode sensor 42 includes a pair of electrodes 45 a and 45 b on one side of the side wall of the circulation path 37.
  • the control unit 46 controls the operation of the drive motor 26, the water supply valve 30, the drain valve 35, the circulation pump 39, and the like. Further, the control unit 46 reads the output from the washing liquid state detection unit 40 and performs calculations. As a result, the degree of contamination of the washing liquid is detected.
  • the user opens the door body 27, puts laundry such as clothes into the inner tub 25, and closes the door body 27.
  • the start button is pushed, the operation of the washing machine is started.
  • the control unit 46 drives the drive motor 26 and estimates the amount of clothing from the load of the drive motor 26 and the like.
  • the control unit 46 displays a necessary amount of detergent on a display unit (not shown) according to the estimated amount of clothing.
  • the control unit 46 opens the water supply valve 30 after a predetermined time has elapsed.
  • water is supplied from a water supply (not shown).
  • the supplied water is supplied to the outer tub 24 through the water supply path 32.
  • the detergent charging unit 31 in which the detergent is charged it becomes a washing liquid containing the detergent and is supplied to the outer tub 24.
  • the control unit 46 drives the drive motor 26 almost simultaneously with the start of water supply, whereby the inner tank 25 rotates.
  • the water supply valve 30 is closed.
  • the rotation of the inner tank 25 is continued. Since the three protrusions 29 are provided on the inner surface of the inner tub 25, the clothes are lifted when the inner tub 25 rotates. Thereafter, the laundry leaves the inner surface of the inner tub 25 and falls above the inner tub 25.
  • This tapping washing promotes washing of the laundry. There is a suitable rotational speed for tapping, and the cleaning performance is degraded whether the rotational speed is higher or lower.
  • the control unit 46 opens the drain valve 35 after washing the clothes for a predetermined time. As a result, the washing liquid is drained from the washing path 36 to the outside of the washing machine. Then, the control part 46 performs the spin-drying
  • the optical sensor 41 detects the turbidity of the washing liquid.
  • the portion of the circulation path 37 that is sandwiched between the light emitting element 43 and the light receiving element 44 is formed of a translucent resin material.
  • the light receiving element 44 outputs a signal corresponding to the intensity of the received light.
  • the control unit 46 such as a microcomputer takes in this signal, converts it into a voltage, and outputs it.
  • the light passing through the washing liquid is attenuated according to the degree of turbidity of the washing liquid.
  • the degree of turbidity of the washing liquid is large. That is, the washing liquid is dirty. Conversely, when the amount of light received by the light receiving element 44 is large, the degree of turbidity of the washing liquid is small. In this way, the turbidity of the washing liquid is quantitatively detected from the amount of light received by the light receiving element 44. Since the dirt contained in the laundry dissolves in the washing liquid and the washing liquid becomes cloudy, it can be estimated that the amount of dirt attached to the laundry is large when the washing liquid has a high degree of cloudiness.
  • the electrode sensor 42 measures the conductivity of the washing liquid.
  • the conductivity is measured by, for example, forming an RC oscillation circuit with the impedance of the washing liquid between the electrodes 45a and 45b and the capacitor (not shown) of the control circuit, and changing the impedance of the washing liquid with a frequency change. And the frequency change is converted into a voltage value. Since electrolyte components such as sweat contained in the laundry are dissolved in the laundry liquid, the conductivity of the laundry liquid is high when there is a lot of dirt such as sweat contained in the laundry. That is, by quantitatively detecting the conductivity of the washing liquid, the amount of dirt such as sweat attached to the laundry can be estimated.
  • the degree of dirt on the laundry such as clothes is estimated by the optical sensor 41 and the electrode sensor 42.
  • the degree of contamination is estimated by detecting a temporal change in the outputs of the optical sensor 41 and the electrode sensor 42 and performing a calculation such as taking a difference between certain periods.
  • the degree of contamination is estimated by combining the output results of both the optical sensor 41 and the electrode sensor 42.
  • Operation control of the washing step and the rinsing step is performed according to the estimated degree of dirt on the laundry. That is, when there is little dirt on the laundry, the time for the washing step is shortened. Alternatively, the amount of water used in the washing step and rinsing step is reduced. Thereby, water saving, power saving, and shortening of operation time are performed.
  • the degree of turbidity of the washing liquid varies depending on the detergent contained in the washing liquid.
  • the conductivity of the washing liquid may increase depending on the components of the detergent contained in the washing liquid.
  • the washing liquid state detection unit 40 may detect not only the degree of contamination of the washing liquid but also the state of the washing liquid such as the type and amount of the detergent included based on the degree of turbidity and conductivity of the washing liquid. it can.
  • the washing liquid state detection unit 40 In order to increase the correlation between the detection result by the washing liquid state detection unit 40 and the amount of dirt adhering to clothing, it is necessary to devise a determination algorithm such as the absolute value of the detection value and the change rate of the detection value. .
  • a determination algorithm such as the absolute value of the detection value and the change rate of the detection value.
  • the washing liquid state detection unit 40 since the washing liquid state detection unit 40 is provided in the circulation path 37, the structure that prevents the dirt from adhering to the optical sensor 41, the electrode sensor 42, or the like, or the influence of stirring of the washing liquid is affected. It can be configured to be difficult to receive. Therefore, any determination algorithm contributes to the improvement of detection accuracy, and the determination algorithm is not limited.
  • the degree of stain of the washing liquid can be determined on the assumption that the degree of dirt on the laundry, and in this case, depending on the degree of dirt of the laundry liquid, the operation time in the washing step and the rinsing step of the washing machine The amount of water is controlled.
  • cleaning liquid is detectable.
  • the optical sensor 41 and the electrode sensor 42 were used in order to measure the turbidity and electrical conductivity of a washing liquid was demonstrated, another sensor can be used.
  • the washing liquid that circulates in the circulation path 37 includes particles such as foam and sand. Since bubbles are lighter than water, they gather above the inside of the circulation path 37, and particles such as sand gather below the inside of the circulation path 37 because they are heavy. Therefore, if the light emitting element 43 and the light receiving element 44 are provided in a substantially horizontal direction across the vicinity of the center of the circulation path 37, the detection accuracy is improved.
  • the present invention is not limited to this configuration, and it is possible to detect the degree of turbidity of the washing liquid even when the light emitting element 43 and the light receiving element 44 are provided in the vertical direction, the oblique direction, or one side of the circulation path 37. is there.
  • the present invention is not limited to this configuration, and the conductivity of the washing liquid can be detected even when the electrode 45a and the electrode 45b are provided facing each other in the vertical direction or the diagonal direction with the circulation path 37 interposed therebetween. .
  • the washing liquid accumulated in the outer tub 24 is sucked from the water intake port 33, passes through the washing liquid state detection unit 40 and the drainage filter 34, and is discharged from the discharge port 38 to the inside of the inner tub 25. It is injected toward The washing liquid cleans the laundry and is sucked again from the water intake 33.
  • the dirt concentration of the washing liquid becomes more uniform. That is, the degree of dirt of the washing liquid detected by the washing liquid state detection unit 40 and the degree of dirt of the washing liquid in the outer tub 24 are substantially the same. For this reason, by providing the washing liquid state detection unit 40 in the circulation path 37, the degree of contamination of the washing liquid can be detected more accurately and quickly.
  • the clothes can be quickly wetted after the start of the washing step. Further, the cleaning power is increased by the mechanical force due to the spraying of the washing liquid.
  • the circulation of the washing liquid is forcibly performed by the circulation pump 39. Therefore, the circulation of the washing liquid is performed regardless of the rotation of the inner tub 25 that is a stirring unit for stirring clothes. That is, even when the rotational speed of the inner tub 25 is low, the washing liquid can be sufficiently circulated.
  • the washing liquid with less dirt components circulates through the washing liquid state detection unit 40.
  • the washing liquid with a small amount of dirt components cleans the washing liquid state detection unit 40. That is, the detergent component and dirt adhering at the washing step are removed, and the deterioration of the detection performance of the washing liquid state detection unit 40 is suppressed.
  • the discharge port 38 of the circulation path 37 demonstrated the structure provided in one place under the outer tank 24, the circulation path 37 is branched, the discharge port 38 is provided in several places, and it goes to the inner tank 25.
  • the structure which injects washing liquid simultaneously may be sufficient.
  • the circulation pump 39 is intermittently operated repeatedly during driving and stopping during the washing step and the rinsing step.
  • the circulation pump 39 is driven, bubbles and dirt particles are mixed and circulated in the washing liquid, so that the degree of dirt is detected to be large, and the detection value varies greatly.
  • the washing liquid state detection unit 40 performs stable and highly accurate detection by detecting the state of the washing liquid while the circulation pump 39 is stopped. Therefore, the estimation accuracy of dirt is improved.
  • the detected value is not stable for a while due to the influence of bubbles or the like. For this reason, the detection is performed after the circulation pump 39 is stopped for a predetermined time.
  • the detection accuracy is improved by adopting it as a detection value. Further, by performing an operation such as averaging a plurality of detection values, errors are further eliminated and detection accuracy is increased. Further, the washing liquid state detection unit 40 can always perform measurement such as 1 second intervals and use only necessary information.
  • the electrode sensor 42 is the same as the optical sensor 41, and the measurement accuracy is improved by measuring when the circulation pump 39 is stopped. Note that the turbidity detection by the optical sensor 41 and the conductivity detection by the electrode sensor 42 do not have to be performed at the same timing, and may be performed at a timing according to each feature. If there is no problem in accuracy, the degree of dirt on the laundry may be detected by detecting the degree of dirt on the laundry while the circulation pump 39 is being driven.
  • the circulation of the washing liquid to the circulation path 37 is not performed by the rotation of the inner tub 25 that is the agitation unit, but is performed by the circulation pump 39.
  • the circulation of can be stopped. For this reason, high detection accuracy can be obtained while ensuring cleaning power.
  • higher detection accuracy can be obtained in consideration of the penetration of the washing liquid into the clothes, the degree of foaming, and the like. it can.
  • the washing liquid in the outer tub 24 is stirred by the rotation of the inner tub 25 that is a stirring portion.
  • the rotation of the inner tub 25 affects the detection of the washing liquid state detection unit 40 and causes a detection error.
  • This detection error is reduced by synchronizing the operation of the circulation pump 39 and the operation of the drive motor 26 (that is, the rotation of the inner tank 25). That is, the control unit 46 drives and stops the circulation pump 39, drives the drive motor 26 in the forward direction (hereinafter referred to as forward rotation), and stops and drives in the direction opposite to the forward direction (hereinafter referred to as inversion).
  • forward rotation drives the direction opposite to the forward direction
  • the controller 46 repeats the operation of driving the circulation pump 39 for 1 minute and then stopping for 1 minute. This 2 minutes is one cycle.
  • the control unit 46 repeats the operation of rotating the drive motor 26 normally for 30 seconds and then reversing for 30 seconds in one cycle twice. In this way, the operations of the circulation pump 39 and the drive motor 26 are synchronized.
  • the above-described method of synchronization is an example, and the drive time and the stop time, or the forward rotation time and the inversion time are not necessarily the same.
  • control unit 46 stops the drive motor 26 and stops the rotation of the inner tank 25 after a predetermined time after the circulation pump 39 is stopped, both the circulation pump 39 and the drive motor 26 are stopped.
  • the detection by the washing liquid state detection unit 40 at this time or before and after this time, the error is reduced.
  • the stop of the drive motor 26 is effective even if it is provided only slightly between the forward rotation and the reverse rotation.
  • the discharge port 38 of the circulation path 37 is provided so as to inject the washing liquid from the gap between the outer tub 24 and the inner tub 25 toward the inside of the inner tub 25.
  • the washing power of the washing machine is improved, for example, the circulated washing liquid hits the laundry such as clothes, and the wetting of the laundry is promoted.
  • the washing liquid is injected into the inner tub 25 as shown in FIG. Circulate with.
  • the rotational speed of the circulation pump 39 is equal to or lower than the predetermined rotational speed
  • the washing liquid circulates inside the outer tub 24 as shown in FIG. That is, by controlling the rotational speed of the circulation pump 39, the washing liquid is switched between a state where the washing liquid does not enter the inside of the inner tub 25 and a state where the washing liquid is sprayed both inside and outside the inner tub 25 as necessary. be able to.
  • the improvement of the detection accuracy of the washing liquid state detection unit 40 will be described below.
  • the water supply valve 30 is opened, and the detergent introduced into the detergent introduction unit 31 together with the water supply flows into the outer tub 24.
  • the circulation pump 39 is driven at a predetermined rotational speed or higher at the stage of water supply, a washing liquid having a high detergent concentration is jetted from the discharge port 38 into the inner tub 25.
  • the detergent concentration of the laundry liquid accumulated in the outer tub 24 is lowered.
  • the washing liquid immediately after the start of water supply is in a state where only the detergent is dissolved.
  • the washing liquid in this state is detected by the washing liquid state detection unit 40, and the type of the detergent can be identified as a powder detergent or a liquid detergent.
  • this detection result can be used as an initial value of the washing liquid before the start of the washing step.
  • the rotational speed of the circulation pump 39 is set to a predetermined rotational speed or less, and the washing liquid does not spray from the discharge port 38 into the inner tub 25 but falls below the outer tub 24. Let This improves the accuracy of detecting the type of detergent and detecting the initial state of the washing liquid before the start of the washing step.
  • the washing liquid collected in the washing liquid state detection unit 40 and the washing liquid collected in the outer tub 24 are made uniform. Is not performed, the detection accuracy deteriorates. That is, as described above, the washing liquid is dropped from the discharge port 38 to the lower side of the outer tub 24 and is circulated inside the outer tub 24, whereby the dissolution of the detergent is promoted and the washing liquid is made uniform. Thereafter, from the middle of the washing step, the washing effect is enhanced by spraying the washing liquid onto the laundry, and the dissolution of the dirt from the laundry is accelerated, and the amount of dirt can be estimated at an early stage. it can. In this way, by controlling the rotational speed of the circulation pump 39, it is possible to perform highly accurate soil determination using one circulation pump 39 and the circulation path 37.
  • the detection accuracy is improved by reducing at least the amount of the washing liquid sprayed into the inner tub 25. That is, when at least the washing liquid does not enter the inner tub 25 and circulates in the outer tub 24, the detection accuracy is improved. In other words, it is not effective only when the washing liquid is not sprayed into the inner tub 25 at all. Even when a part of the washing liquid is sprayed into the inner tub 25, a part of the washing liquid is used. If it is injected between the outer tank 24 and the inner tank 25 and circulates inside the outer tank 24, the detection accuracy is improved.
  • the state where the washing liquid is not sprayed into the inner tub 25 or the state where the washing liquid is sprayed both inside and outside the inner tub 25 is not effective only at the beginning of water supply.
  • foaming can be further increased by spraying the washing liquid into the inner tub 25.
  • foaming can be suppressed by stopping the injection of the washing liquid into the inner tub 25. That is, a decrease in detection accuracy due to bubbles is suppressed.
  • by controlling the rotational speed of the circulation pump 39 it is possible to switch the injection of the washing liquid without adding a configuration.
  • Water supplied from the water supply path 32 is supplied between the outer tank 24 and the inner tank 25. As shown in A of FIG. 1, the washing liquid state detection unit 40 is provided below the lowest point inside the inner tub 25. That is, the supplied water reaches the washing liquid state detection unit 40 before entering the inner tub 25.
  • the water supplied from the water supply path 32 reaches the washing liquid state detection unit 40 without passing through laundry such as clothes including dirt and detergent.
  • the washing liquid state detection unit 40 detects water that does not contain dirt or detergent, it is possible to detect a secular change due to dirt adhering to the washing liquid state detection unit 40 or the like. By correcting the measurement based on the detection result, it is possible to maintain the detection accuracy corresponding to the secular change.
  • the water supplied from the water supply path 32 enters the washing liquid state detection unit 40 without entering the inner tub 25 as the washing liquid containing the detergent introduced into the detergent charging unit 31.
  • the detergent component does not adhere to or is absorbed by the clothes or the like, and the washing liquid in which only the detergent is dissolved before the dirt component is melted from the clothes reaches the washing liquid state detection unit 40.
  • the accuracy of discriminating whether the detergent is a powder detergent or a liquid detergent is increased.
  • the accuracy as the initial value of the washing liquid in the washing step is increased, and the accuracy of detection of the degree of contamination of the washing liquid is increased. Based on this result, when there is little dirt, efficient washing, such as shortening the washing time or reducing the amount of water used, can be performed.
  • the amount of water supply increases and the washing liquid containing the detergent enters the inner tub 25. Since the water supply path 32 supplies the washing liquid between the outer tub 24 and the inner tub 25, the amount of the detergent adhering to or adsorbing on the clothes is smaller than in the case of supplying water directly into the inner tub 25. . Further, even after the amount of water supply is increased and the water is supplied into the inner tub 25, the detection accuracy as the initial value of the washing liquid in the washing step is increased.
  • the detergent can be dissolved quickly and the washing liquid can be quickly applied to the clothes.
  • the laundry liquid containing the detergent reaches the laundry liquid state detection unit 40 before the circulation pump 39 is driven, so that the initial state of the laundry liquid is accurately detected before the laundry liquid is bubbled.
  • the inner tub 25 in order to improve the washing performance of the washing machine, it is preferable to rotate the inner tub 25 as a stirring unit from an early stage.
  • the washing liquid is foamed. This bubble may reduce the detection accuracy of the washing liquid state detection unit 40.
  • the washing liquid containing the detergent reaches the washing liquid state detection unit 40. For this reason, the initial state of the washing liquid before the washing liquid is foamed is detected with high accuracy.
  • the washing liquid state detection unit 40 is provided at a position away from the water intake 33 in the middle of the circulation path 37, and is provided at a position that does not directly face the inner tub 25. Thereby, the influence which rotation of the inner tub 25 has on the detection of the washing
  • cleaning liquid state detection part 40 can be restrained few.
  • a partition wall is provided between the inner tub 25 and the washing liquid state detection unit 40, thereby It can be set as the structure which does not oppose the tank 25 directly.
  • the drum type washing machine in which the rotation axis of the inner tub 25 is substantially horizontal has been described, the same effect can be obtained even in other washing machines (pulsator type washing machines) as shown in the sectional view of FIG. Have.
  • the same components as those in FIGS. 1 to 6 are described with the same reference numerals.
  • the rotation axis of the inner tub 25 is vertical.
  • rotation of the stirring body 47 provided in the bottom face of the inner tank 25 is operation
  • the water supply path 32 supplies water between the inner tank 25 and the outer tank 24.
  • the washing liquid is circulated to the circulation path 37 by the circulation pump 39, and the washing liquid state detection unit 40 is used.
  • the state of the washing liquid can be detected. Even if the washing machine is a washing / drying machine having a drying function, the washing machine has the same effect at the time of washing.
  • FIG. 8 is a cross-sectional view of another washing machine according to the embodiment of the present invention.
  • the difference from the above washing machine is that a switching valve 48 is provided in the circulation path 37 and the circulation path 37 is branched into an inner tank circulation path 49 and an outer tank circulation path 50.
  • the washing machine can switch the circulation path 37 to the inner tank circulation path 49 or the outer tank circulation path 50 by the switching valve 48.
  • the washing liquid does not directly enter the inner tank 25 by switching the path to the outer tank circulation path 50. In this case, it is possible to accurately detect the state in which only the detergent is dissolved in the washing liquid, that is, the initial state.
  • the switching valve 48 is provided.
  • a circulation pump 139 that can switch the output path between forward rotation and reverse rotation is provided. By using it, it becomes possible to switch and supply the washing liquid to each of the inner tank circulation path 49 and the outer tank circulation path 50, and the same effect is obtained.
  • the washing machine according to the present invention can perform optimum operation control according to the degree of dirt by accurately detecting the degree of dirt of the washing liquid. That is, it can be used for a washing machine other than a washing machine for washing clothes and the like.

Landscapes

  • Engineering & Computer Science (AREA)
  • Textile Engineering (AREA)
  • Control Of Washing Machine And Dryer (AREA)
  • Detail Structures Of Washing Machines And Dryers (AREA)
  • Main Body Construction Of Washing Machines And Laundry Dryers (AREA)
PCT/JP2010/004505 2009-07-14 2010-07-12 洗濯機 Ceased WO2011007540A1 (ja)

Priority Applications (3)

Application Number Priority Date Filing Date Title
US13/383,027 US20120103026A1 (en) 2009-07-14 2010-07-12 Washing machine
CN2010800317280A CN102471974A (zh) 2009-07-14 2010-07-12 洗衣机
EP10799604.3A EP2455529A4 (en) 2009-07-14 2010-07-12 WASHING MACHINE

Applications Claiming Priority (2)

Application Number Priority Date Filing Date Title
JP2009165660A JP2011019607A (ja) 2009-07-14 2009-07-14 洗濯機
JP2009-165660 2009-07-14

Publications (1)

Publication Number Publication Date
WO2011007540A1 true WO2011007540A1 (ja) 2011-01-20

Family

ID=43449150

Family Applications (1)

Application Number Title Priority Date Filing Date
PCT/JP2010/004505 Ceased WO2011007540A1 (ja) 2009-07-14 2010-07-12 洗濯機

Country Status (6)

Country Link
US (1) US20120103026A1 (enExample)
EP (1) EP2455529A4 (enExample)
JP (1) JP2011019607A (enExample)
CN (1) CN102471974A (enExample)
TW (1) TW201109493A (enExample)
WO (1) WO2011007540A1 (enExample)

Cited By (1)

* Cited by examiner, † Cited by third party
Publication number Priority date Publication date Assignee Title
EP3684970A1 (en) * 2017-09-18 2020-07-29 Gorenje Gospodinjski aparati d.d. Washing machine with a sensor

Families Citing this family (31)

* Cited by examiner, † Cited by third party
Publication number Priority date Publication date Assignee Title
JP6074645B2 (ja) * 2012-03-21 2017-02-08 パナソニックIpマネジメント株式会社 洗濯機
ITTO20120637A1 (it) * 2012-07-19 2014-01-20 Indesit Co Spa Lavabiancheria con circuito di ricircolo
CN104487621B (zh) * 2012-07-24 2017-04-05 松下知识产权经营株式会社 洗涤干燥机
JP5797628B2 (ja) * 2012-09-26 2015-10-21 日立アプライアンス株式会社 洗濯機
JP5797629B2 (ja) * 2012-09-26 2015-10-21 日立アプライアンス株式会社 洗濯機
CN105369562B (zh) * 2014-08-28 2019-12-20 青岛海尔洗衣机有限公司 一种带有防衣物褪色提醒功能的洗衣机
CN105506934B (zh) * 2014-09-22 2019-08-09 青岛海尔智能技术研发有限公司 洗衣机的过滤组件的自清洁方法
DE102015214803A1 (de) * 2015-08-04 2017-02-09 BSH Hausgeräte GmbH Wäschepflegegerät mit einem Zirkulationssystem
CN105088684B (zh) * 2015-08-06 2018-04-20 无锡小天鹅股份有限公司 滚筒洗衣机和洗衣机的控制方法
CN105177923B (zh) * 2015-09-02 2018-04-20 无锡小天鹅股份有限公司 洗衣机的控制方法、装置以及洗衣机
CN105155209B (zh) * 2015-10-21 2018-01-02 珠海格力电器股份有限公司 一种洗衣机漂洗控制方法
JP6634598B2 (ja) * 2016-03-10 2020-01-22 パナソニックIpマネジメント株式会社 洗濯機
US10161075B2 (en) * 2016-06-30 2018-12-25 Midea Group Co., Ltd. Laundry washing machine with automatic detection of detergent deficit
US10161074B2 (en) * 2016-06-30 2018-12-25 Midea Group Co., Ltd. Laundry washing machine with automatic detergent dispensing and/or rinse operation type selection
US10273622B2 (en) 2016-06-30 2019-04-30 Midea Group Co., Ltd. Laundry washing machine with automatic selection of load type
US10358760B2 (en) 2016-06-30 2019-07-23 Midea Group Co., Ltd. Laundry washing machine with automatic rinse operation type selection
CN107184105B (zh) * 2017-06-13 2020-10-02 杭州九阳小家电有限公司 一种烹饪设备的自动清洗方法
EP3505669B1 (en) 2017-12-28 2021-02-17 LG Electronics Inc. Washing machine, and method for controlling the same
EP3505667B1 (en) * 2017-12-28 2020-08-19 LG Electronics Inc. Method for controlling washing machine
EP3505668B1 (en) 2017-12-28 2021-06-09 LG Electronics Inc. Method for controlling washing machine
KR102459588B1 (ko) * 2018-01-05 2022-10-26 엘지전자 주식회사 세탁기의 제어방법
CN110804837B (zh) * 2018-08-02 2023-01-13 青岛海尔洗衣机有限公司 一种水质检测装置及洗涤系统的控制方法
KR102596982B1 (ko) * 2018-12-24 2023-11-02 삼성전자주식회사 세탁기 및 그 제어 방법
CN111088651A (zh) * 2019-12-25 2020-05-01 李洋 洗衣机污水实时检测装置及其检测控制方法
US11371175B2 (en) 2020-06-04 2022-06-28 Midea Group Co., Ltd. Laundry washing machine with dynamic selection of load type
US11898289B2 (en) 2020-12-18 2024-02-13 Midea Group Co., Ltd. Laundry washing machine calibration
US11866868B2 (en) 2020-12-18 2024-01-09 Midea Group Co., Ltd. Laundry washing machine color composition analysis with article alerts
US11773524B2 (en) 2020-12-18 2023-10-03 Midea Group Co., Ltd. Laundry washing machine color composition analysis during loading
US12221736B2 (en) 2021-12-10 2025-02-11 Midea Group Co., Ltd. Laundry washing machine with dynamic drain system
US12264425B2 (en) 2021-12-10 2025-04-01 Midea Group Co., Ltd. Laundry washing machine with dynamic spin system
US12139836B2 (en) 2022-06-28 2024-11-12 Midea Group Co., Ltd. Laundry washing machine with dynamic rinse system

Citations (2)

* Cited by examiner, † Cited by third party
Publication number Priority date Publication date Assignee Title
JPS6063096A (ja) * 1984-07-31 1985-04-11 松下電器産業株式会社 一槽式脱水洗濯機
JPH08141272A (ja) * 1994-11-17 1996-06-04 Matsushita Electric Ind Co Ltd 洗濯機

Family Cites Families (9)

* Cited by examiner, † Cited by third party
Publication number Priority date Publication date Assignee Title
JPH04240485A (ja) * 1991-01-25 1992-08-27 Matsushita Electric Ind Co Ltd 洗濯機の濁度検知装置
US5446531A (en) * 1994-05-20 1995-08-29 Honeywell Inc. Sensor platform for use in machines for washing articles
US5731868A (en) * 1997-02-06 1998-03-24 Honeywell Inc Method for characterizing the nature of fluid in machine for washing articles
DE19748706A1 (de) * 1997-11-04 1999-05-06 Bosch Siemens Hausgeraete Automatisch gesteuerte Waschmaschine mit einem Laugenumwälzsystem
JP2000051576A (ja) * 1998-08-04 2000-02-22 Sharp Corp 洗濯機
DE10011692A1 (de) * 2000-03-10 2001-09-13 Aweco Appliance Sys Gmbh & Co Haushaltsmaschine zur Reinigung von Gegenständen
EP1900867A1 (en) * 2006-09-13 2008-03-19 Electrolux Home Products Corporation N.V. Method for detecting pump faults in a washing machine
KR101052783B1 (ko) * 2007-04-06 2011-07-29 삼성전자주식회사 세탁기의 제어방법
JP4905439B2 (ja) * 2008-11-20 2012-03-28 パナソニック株式会社 洗濯機

Patent Citations (2)

* Cited by examiner, † Cited by third party
Publication number Priority date Publication date Assignee Title
JPS6063096A (ja) * 1984-07-31 1985-04-11 松下電器産業株式会社 一槽式脱水洗濯機
JPH08141272A (ja) * 1994-11-17 1996-06-04 Matsushita Electric Ind Co Ltd 洗濯機

Cited By (1)

* Cited by examiner, † Cited by third party
Publication number Priority date Publication date Assignee Title
EP3684970A1 (en) * 2017-09-18 2020-07-29 Gorenje Gospodinjski aparati d.d. Washing machine with a sensor

Also Published As

Publication number Publication date
JP2011019607A (ja) 2011-02-03
CN102471974A (zh) 2012-05-23
US20120103026A1 (en) 2012-05-03
EP2455529A1 (en) 2012-05-23
EP2455529A4 (en) 2013-11-20
TW201109493A (en) 2011-03-16

Similar Documents

Publication Publication Date Title
WO2011007540A1 (ja) 洗濯機
JP2011019607A5 (enExample)
CN103649399B (zh) 滚筒式洗衣机
JP2011055980A (ja) 洗濯機
JP2018130238A (ja) 洗濯機
CN106661800A (zh) 滚筒式洗衣机
JP2018121899A (ja) 洗濯機
CN106029968B (zh) 滚筒式洗衣机
JP2012130813A (ja) 洗濯機
JP2015006278A (ja) ドラム式洗濯機
JP2016073417A (ja) ドラム式洗濯機
JP2011041586A (ja) 洗濯機
JP2010268938A (ja) ドラム式洗濯機
JP2012130812A (ja) 洗濯機
JP2013128535A (ja) 洗濯機
JP2011019608A5 (enExample)
JP2011019608A (ja) 洗濯機
JP2014212809A (ja) ドラム式洗濯機
JP6259996B2 (ja) ドラム式洗濯機
JP2015156993A (ja) ドラム式洗濯機
JP6028229B2 (ja) 洗濯機
JPH04288197A (ja) 洗濯機の洗濯制御方法
JP2022034361A (ja) 洗濯機
CN104420114A (zh) 滚筒式洗衣机
JP6259995B2 (ja) ドラム式洗濯機

Legal Events

Date Code Title Description
WWE Wipo information: entry into national phase

Ref document number: 201080031728.0

Country of ref document: CN

121 Ep: the epo has been informed by wipo that ep was designated in this application

Ref document number: 10799604

Country of ref document: EP

Kind code of ref document: A1

WWE Wipo information: entry into national phase

Ref document number: 2010799604

Country of ref document: EP

WWE Wipo information: entry into national phase

Ref document number: 13383027

Country of ref document: US

NENP Non-entry into the national phase

Ref country code: DE