WO2010084552A2 - Refrigeration cycle apparatus - Google Patents

Refrigeration cycle apparatus Download PDF

Info

Publication number
WO2010084552A2
WO2010084552A2 PCT/JP2009/007020 JP2009007020W WO2010084552A2 WO 2010084552 A2 WO2010084552 A2 WO 2010084552A2 JP 2009007020 W JP2009007020 W JP 2009007020W WO 2010084552 A2 WO2010084552 A2 WO 2010084552A2
Authority
WO
WIPO (PCT)
Prior art keywords
motor
refrigerant
target rotational
refrigeration cycle
cycle apparatus
Prior art date
Legal status (The legal status is an assumption and is not a legal conclusion. Google has not performed a legal analysis and makes no representation as to the accuracy of the status listed.)
Ceased
Application number
PCT/JP2009/007020
Other languages
English (en)
French (fr)
Other versions
WO2010084552A3 (en
Inventor
Takeshi Ogata
Katsuji Taniguchi
Masanobu Wada
Hiroshi Hasegawa
Yuichi Yakumaru
Current Assignee (The listed assignees may be inaccurate. Google has not performed a legal analysis and makes no representation or warranty as to the accuracy of the list.)
Panasonic Corp
Original Assignee
Panasonic Corp
Priority date (The priority date is an assumption and is not a legal conclusion. Google has not performed a legal analysis and makes no representation as to the accuracy of the date listed.)
Filing date
Publication date
Application filed by Panasonic Corp filed Critical Panasonic Corp
Priority to JP2011529408A priority Critical patent/JP2012515890A/ja
Priority to EP09801563A priority patent/EP2389548A2/en
Priority to US13/144,848 priority patent/US20120017620A1/en
Priority to CN2009801546335A priority patent/CN102282433B/zh
Publication of WO2010084552A2 publication Critical patent/WO2010084552A2/en
Publication of WO2010084552A3 publication Critical patent/WO2010084552A3/en
Anticipated expiration legal-status Critical
Ceased legal-status Critical Current

Links

Images

Classifications

    • FMECHANICAL ENGINEERING; LIGHTING; HEATING; WEAPONS; BLASTING
    • F25REFRIGERATION OR COOLING; COMBINED HEATING AND REFRIGERATION SYSTEMS; HEAT PUMP SYSTEMS; MANUFACTURE OR STORAGE OF ICE; LIQUEFACTION SOLIDIFICATION OF GASES
    • F25BREFRIGERATION MACHINES, PLANTS OR SYSTEMS; COMBINED HEATING AND REFRIGERATION SYSTEMS; HEAT PUMP SYSTEMS
    • F25B9/00Compression machines, plants or systems, in which the refrigerant is air or other gas of low boiling point
    • F25B9/06Compression machines, plants or systems, in which the refrigerant is air or other gas of low boiling point using expanders
    • FMECHANICAL ENGINEERING; LIGHTING; HEATING; WEAPONS; BLASTING
    • F25REFRIGERATION OR COOLING; COMBINED HEATING AND REFRIGERATION SYSTEMS; HEAT PUMP SYSTEMS; MANUFACTURE OR STORAGE OF ICE; LIQUEFACTION SOLIDIFICATION OF GASES
    • F25BREFRIGERATION MACHINES, PLANTS OR SYSTEMS; COMBINED HEATING AND REFRIGERATION SYSTEMS; HEAT PUMP SYSTEMS
    • F25B2500/00Problems to be solved
    • F25B2500/26Problems to be solved characterised by the startup of the refrigeration cycle

Definitions

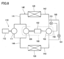
  • FIG. 1 shows a refrigeration cycle apparatus according to one embodiment of the present invention.
  • This refrigeration cycle apparatus includes a refrigerant circuit 30.
  • the refrigerant circuit 30 includes an expander-compressor unit 1 as a first compressor, a second compressor 2, a radiator 4, an evaporator 5, and first to fourth pipes (refrigerant pipes) 3a to 3d for connecting these devices.

Landscapes

  • Engineering & Computer Science (AREA)
  • Physics & Mathematics (AREA)
  • Mechanical Engineering (AREA)
  • Thermal Sciences (AREA)
  • General Engineering & Computer Science (AREA)
  • Heat-Pump Type And Storage Water Heaters (AREA)
  • Air Conditioning Control Device (AREA)
  • Control Of Positive-Displacement Pumps (AREA)
PCT/JP2009/007020 2009-01-20 2009-12-18 Refrigeration cycle apparatus Ceased WO2010084552A2 (en)

Priority Applications (4)

Application Number Priority Date Filing Date Title
JP2011529408A JP2012515890A (ja) 2009-01-20 2009-12-18 冷凍サイクル装置
EP09801563A EP2389548A2 (en) 2009-01-20 2009-12-18 Refrigeration cycle apparatus
US13/144,848 US20120017620A1 (en) 2009-01-20 2009-12-18 Refrigeration cycle apparatus
CN2009801546335A CN102282433B (zh) 2009-01-20 2009-12-18 致冷循环设备

Applications Claiming Priority (2)

Application Number Priority Date Filing Date Title
JP2009009707 2009-01-20
JP2009-009707 2009-01-20

Publications (2)

Publication Number Publication Date
WO2010084552A2 true WO2010084552A2 (en) 2010-07-29
WO2010084552A3 WO2010084552A3 (en) 2010-10-07

Family

ID=42267614

Family Applications (1)

Application Number Title Priority Date Filing Date
PCT/JP2009/007020 Ceased WO2010084552A2 (en) 2009-01-20 2009-12-18 Refrigeration cycle apparatus

Country Status (5)

Country Link
US (1) US20120017620A1 (enExample)
EP (1) EP2389548A2 (enExample)
JP (1) JP2012515890A (enExample)
CN (1) CN102282433B (enExample)
WO (1) WO2010084552A2 (enExample)

Families Citing this family (5)

* Cited by examiner, † Cited by third party
Publication number Priority date Publication date Assignee Title
WO2011136593A2 (ko) * 2010-04-28 2011-11-03 엘지전자 주식회사 건조기의 제어방법
WO2014023694A2 (de) * 2012-08-06 2014-02-13 Kriwan Industrie-Elektronik Gmbh Verfahren zur regelung eines verdichters einer kälteanlage sowie eine kälteanlage
CN109579230B (zh) * 2018-11-16 2021-01-08 青岛海信日立空调系统有限公司 一种压缩机频率的分配方法及装置
CN113432298B (zh) * 2021-06-28 2022-03-22 珠海格力电器股份有限公司 压缩系统的控制方法、装置及空气能热泵热水器
CN113503653B (zh) * 2021-08-04 2022-05-06 珠海格力电器股份有限公司 多压缩机制冷系统及空调器

Citations (1)

* Cited by examiner, † Cited by third party
Publication number Priority date Publication date Assignee Title
JP2007132622A (ja) 2005-11-11 2007-05-31 Daikin Ind Ltd ヒートポンプ給湯装置

Family Cites Families (17)

* Cited by examiner, † Cited by third party
Publication number Priority date Publication date Assignee Title
EP1160522B1 (en) * 2000-06-01 2005-07-27 Denso Corporation Ejector cycle system
JP2002333189A (ja) * 2001-05-11 2002-11-22 Fujitsu General Ltd 空気調和機の制御方法
JP4242131B2 (ja) * 2002-10-18 2009-03-18 パナソニック株式会社 冷凍サイクル装置
JP4055902B2 (ja) * 2003-04-28 2008-03-05 株式会社日立製作所 膨張機を備えた冷凍装置
JP3843963B2 (ja) * 2003-05-19 2006-11-08 松下電器産業株式会社 ヒートポンプ給湯装置
JP2004347148A (ja) * 2003-05-20 2004-12-09 Matsushita Electric Ind Co Ltd ヒートポンプ給湯装置
US6898941B2 (en) * 2003-06-16 2005-05-31 Carrier Corporation Supercritical pressure regulation of vapor compression system by regulation of expansion machine flowrate
JP4517684B2 (ja) * 2004-03-10 2010-08-04 ダイキン工業株式会社 ロータリ式膨張機
JP4389699B2 (ja) * 2004-07-07 2009-12-24 ダイキン工業株式会社 冷凍装置
JP2006078087A (ja) * 2004-09-09 2006-03-23 Daikin Ind Ltd 冷凍装置
US20060225445A1 (en) * 2005-04-07 2006-10-12 Carrier Corporation Refrigerant system with variable speed compressor in tandem compressor application
JP2006308207A (ja) * 2005-04-28 2006-11-09 Daikin Ind Ltd 冷凍装置
JP3863555B2 (ja) * 2006-04-10 2006-12-27 松下電器産業株式会社 冷凍サイクル装置
JP2008014602A (ja) * 2006-07-10 2008-01-24 Matsushita Electric Ind Co Ltd 冷凍サイクル装置
WO2008054380A2 (en) * 2006-10-27 2008-05-08 Carrier Corporation Economized refrigeration cycle with expander
JP4924092B2 (ja) * 2007-02-26 2012-04-25 パナソニック株式会社 冷凍サイクル装置
JPWO2010007730A1 (ja) * 2008-07-18 2012-01-05 パナソニック株式会社 冷凍サイクル装置

Patent Citations (1)

* Cited by examiner, † Cited by third party
Publication number Priority date Publication date Assignee Title
JP2007132622A (ja) 2005-11-11 2007-05-31 Daikin Ind Ltd ヒートポンプ給湯装置

Also Published As

Publication number Publication date
CN102282433B (zh) 2013-07-31
US20120017620A1 (en) 2012-01-26
CN102282433A (zh) 2011-12-14
JP2012515890A (ja) 2012-07-12
EP2389548A2 (en) 2011-11-30
WO2010084552A3 (en) 2010-10-07

Similar Documents

Publication Publication Date Title
JP5042058B2 (ja) ヒートポンプ式給湯用室外機及びヒートポンプ式給湯装置
US20100287964A1 (en) Refrigerating apparatus
JP5064517B2 (ja) 冷凍サイクル装置
JPWO2011135616A1 (ja) 冷凍サイクル装置
JP4725387B2 (ja) 空気調和装置
JP2005291622A (ja) 冷凍サイクル装置およびその制御方法
JP4053082B2 (ja) 冷凍サイクル装置
JP4912308B2 (ja) 冷凍サイクル装置
WO2010084552A2 (en) Refrigeration cycle apparatus
JP2017044454A (ja) 冷凍サイクル装置及び冷凍サイクル装置の制御方法
JP2008241065A (ja) 冷凍装置及び冷凍装置の油戻し方法
JP4888256B2 (ja) 冷凍装置
EP2317249A1 (en) Refrigeration cycle device
JP6080939B2 (ja) 空気調和装置
JP2015087020A (ja) 冷凍サイクル装置
JP4905447B2 (ja) 空気調和機
JP2013139890A (ja) 冷凍装置
JP2008121977A (ja) ヒートポンプ給湯機
JP2008232564A (ja) 冷凍装置及び冷凍装置の制御方法
JP7078724B2 (ja) 冷凍サイクル装置およびその制御方法
JP7041024B2 (ja) 複合熱源ヒートポンプ装置
JP5109971B2 (ja) 空気調和機
JP2011141078A (ja) 冷凍サイクル装置
WO2015140950A1 (ja) 空気調和装置
JP2016133238A (ja) ヒートポンプサイクル装置

Legal Events

Date Code Title Description
WWE Wipo information: entry into national phase

Ref document number: 200980154633.5

Country of ref document: CN

121 Ep: the epo has been informed by wipo that ep was designated in this application

Ref document number: 09801563

Country of ref document: EP

Kind code of ref document: A2

DPE1 Request for preliminary examination filed after expiration of 19th month from priority date (pct application filed from 20040101)
ENP Entry into the national phase

Ref document number: 2011529408

Country of ref document: JP

Kind code of ref document: A

WWE Wipo information: entry into national phase

Ref document number: 13144848

Country of ref document: US

WWE Wipo information: entry into national phase

Ref document number: 2009801563

Country of ref document: EP

NENP Non-entry into the national phase

Ref country code: DE