WO2010001724A1 - 電源装置 - Google Patents

電源装置 Download PDF

Info

Publication number
WO2010001724A1
WO2010001724A1 PCT/JP2009/060989 JP2009060989W WO2010001724A1 WO 2010001724 A1 WO2010001724 A1 WO 2010001724A1 JP 2009060989 W JP2009060989 W JP 2009060989W WO 2010001724 A1 WO2010001724 A1 WO 2010001724A1
Authority
WO
WIPO (PCT)
Prior art keywords
potential
power supply
discharge circuit
discharge
substrate
Prior art date
Legal status (The legal status is an assumption and is not a legal conclusion. Google has not performed a legal analysis and makes no representation as to the accuracy of the status listed.)
Ceased
Application number
PCT/JP2009/060989
Other languages
English (en)
French (fr)
Japanese (ja)
Inventor
芳邦 堀下
忍 松原
敦 小野
Current Assignee (The listed assignees may be inaccurate. Google has not performed a legal analysis and makes no representation or warranty as to the accuracy of the list.)
Ulvac Inc
Original Assignee
Ulvac Inc
Priority date (The priority date is an assumption and is not a legal conclusion. Google has not performed a legal analysis and makes no representation as to the accuracy of the date listed.)
Filing date
Publication date
Application filed by Ulvac Inc filed Critical Ulvac Inc
Priority to KR1020117002275A priority Critical patent/KR101298166B1/ko
Priority to US12/999,085 priority patent/US20110120861A1/en
Priority to CN2009801255039A priority patent/CN102076878B/zh
Priority to KR1020137013816A priority patent/KR20130080055A/ko
Publication of WO2010001724A1 publication Critical patent/WO2010001724A1/ja
Anticipated expiration legal-status Critical
Ceased legal-status Critical Current

Links

Images

Classifications

    • CCHEMISTRY; METALLURGY
    • C23COATING METALLIC MATERIAL; COATING MATERIAL WITH METALLIC MATERIAL; CHEMICAL SURFACE TREATMENT; DIFFUSION TREATMENT OF METALLIC MATERIAL; COATING BY VACUUM EVAPORATION, BY SPUTTERING, BY ION IMPLANTATION OR BY CHEMICAL VAPOUR DEPOSITION, IN GENERAL; INHIBITING CORROSION OF METALLIC MATERIAL OR INCRUSTATION IN GENERAL
    • C23CCOATING METALLIC MATERIAL; COATING MATERIAL WITH METALLIC MATERIAL; SURFACE TREATMENT OF METALLIC MATERIAL BY DIFFUSION INTO THE SURFACE, BY CHEMICAL CONVERSION OR SUBSTITUTION; COATING BY VACUUM EVAPORATION, BY SPUTTERING, BY ION IMPLANTATION OR BY CHEMICAL VAPOUR DEPOSITION, IN GENERAL
    • C23C14/00Coating by vacuum evaporation, by sputtering or by ion implantation of the coating forming material
    • C23C14/22Coating by vacuum evaporation, by sputtering or by ion implantation of the coating forming material characterised by the process of coating
    • C23C14/34Sputtering
    • C23C14/3464Sputtering using more than one target
    • CCHEMISTRY; METALLURGY
    • C23COATING METALLIC MATERIAL; COATING MATERIAL WITH METALLIC MATERIAL; CHEMICAL SURFACE TREATMENT; DIFFUSION TREATMENT OF METALLIC MATERIAL; COATING BY VACUUM EVAPORATION, BY SPUTTERING, BY ION IMPLANTATION OR BY CHEMICAL VAPOUR DEPOSITION, IN GENERAL; INHIBITING CORROSION OF METALLIC MATERIAL OR INCRUSTATION IN GENERAL
    • C23CCOATING METALLIC MATERIAL; COATING MATERIAL WITH METALLIC MATERIAL; SURFACE TREATMENT OF METALLIC MATERIAL BY DIFFUSION INTO THE SURFACE, BY CHEMICAL CONVERSION OR SUBSTITUTION; COATING BY VACUUM EVAPORATION, BY SPUTTERING, BY ION IMPLANTATION OR BY CHEMICAL VAPOUR DEPOSITION, IN GENERAL
    • C23C14/00Coating by vacuum evaporation, by sputtering or by ion implantation of the coating forming material
    • C23C14/22Coating by vacuum evaporation, by sputtering or by ion implantation of the coating forming material characterised by the process of coating
    • C23C14/54Controlling or regulating the coating process
    • C23C14/542Controlling the film thickness or evaporation rate
    • HELECTRICITY
    • H01ELECTRIC ELEMENTS
    • H01JELECTRIC DISCHARGE TUBES OR DISCHARGE LAMPS
    • H01J37/00Discharge tubes with provision for introducing objects or material to be exposed to the discharge, e.g. for the purpose of examination or processing thereof
    • H01J37/32Gas-filled discharge tubes
    • H01J37/34Gas-filled discharge tubes operating with cathodic sputtering
    • HELECTRICITY
    • H01ELECTRIC ELEMENTS
    • H01JELECTRIC DISCHARGE TUBES OR DISCHARGE LAMPS
    • H01J37/00Discharge tubes with provision for introducing objects or material to be exposed to the discharge, e.g. for the purpose of examination or processing thereof
    • H01J37/32Gas-filled discharge tubes
    • H01J37/34Gas-filled discharge tubes operating with cathodic sputtering
    • H01J37/3411Constructional aspects of the reactor
    • H01J37/3444Associated circuits
    • HELECTRICITY
    • H02GENERATION; CONVERSION OR DISTRIBUTION OF ELECTRIC POWER
    • H02MAPPARATUS FOR CONVERSION BETWEEN AC AND AC, BETWEEN AC AND DC, OR BETWEEN DC AND DC, AND FOR USE WITH MAINS OR SIMILAR POWER SUPPLY SYSTEMS; CONVERSION OF DC OR AC INPUT POWER INTO SURGE OUTPUT POWER; CONTROL OR REGULATION THEREOF
    • H02M3/00Conversion of DC power input into DC power output
    • H02M3/02Conversion of DC power input into DC power output without intermediate conversion into AC
    • H02M3/04Conversion of DC power input into DC power output without intermediate conversion into AC by static converters
    • H02M3/10Conversion of DC power input into DC power output without intermediate conversion into AC by static converters using discharge tubes with control electrode or semiconductor devices with control electrode
    • H02M3/145Conversion of DC power input into DC power output without intermediate conversion into AC by static converters using discharge tubes with control electrode or semiconductor devices with control electrode using devices of a triode or transistor type requiring continuous application of a control signal
    • H02M3/155Conversion of DC power input into DC power output without intermediate conversion into AC by static converters using discharge tubes with control electrode or semiconductor devices with control electrode using devices of a triode or transistor type requiring continuous application of a control signal using semiconductor devices only
    • HELECTRICITY
    • H05ELECTRIC TECHNIQUES NOT OTHERWISE PROVIDED FOR
    • H05HPLASMA TECHNIQUE; PRODUCTION OF ACCELERATED ELECTRICALLY-CHARGED PARTICLES OR OF NEUTRONS; PRODUCTION OR ACCELERATION OF NEUTRAL MOLECULAR OR ATOMIC BEAMS
    • H05H1/00Generating plasma; Handling plasma
    • H05H1/24Generating plasma
    • H05H1/46Generating plasma using applied electromagnetic fields, e.g. high frequency or microwave energy
    • HELECTRICITY
    • H03ELECTRONIC CIRCUITRY
    • H03HIMPEDANCE NETWORKS, e.g. RESONANT CIRCUITS; RESONATORS
    • H03H7/00Multiple-port networks comprising only passive electrical elements as network components
    • H03H7/38Impedance-matching networks

Definitions

  • the present invention relates to a power supply device, and more particularly to a power supply device used for powering a target in a sputtering apparatus.
  • sputtering As one method for forming a predetermined thin film on the surface of a substrate to be processed such as glass or silicon wafer, there is a sputtering (hereinafter referred to as “sputtering”) method.
  • ions in the plasma atmosphere are accelerated and bombarded toward a target formed in a predetermined shape according to the composition of a thin film to be deposited on the substrate surface, and sputtered particles (target atoms) are scattered. It adheres and deposits on the surface of a substrate to form a predetermined thin film.
  • sputtered particles target atoms
  • the following sputtering apparatus is known as an apparatus for efficiently forming a thin film with a constant film thickness on a large-area substrate.
  • this sputtering apparatus is configured such that a plurality of targets of the same shape arranged in parallel at equal intervals facing a processing substrate in a vacuum chamber, and a pair of targets arranged in parallel alternately with a predetermined frequency.
  • an AC power supply power supply device that applies a predetermined potential by changing the polarity (reversing the polarity).
  • the charge-up charge staying on the target surface is canceled during sputtering when an opposite phase voltage is applied. For this reason, even when a target such as an oxide is used, the occurrence of abnormal discharge (arc discharge) due to target charge-up is suppressed.
  • a substrate that is electrically insulated or floating in the sputtering chamber is also charged up.
  • the charge-up charge on the surface of the substrate is neutralized by, for example, sputtered particles or ionized sputtering gas ions and disappears. .
  • the substrate surface per unit time is increased. This increases the charge-up charge and tends to stay on the substrate surface.
  • a transparent conductive film such as ITO is formed on the surface of a substrate on which a metal film or an insulating film constituting an electrode is formed in the FPD manufacturing process, charge-up charges are likely to stay in the insulating film on the substrate surface.
  • the discharge current flows only between the targets because the discharge is performed between the pair of targets during the sputtering. For this reason, on the basis of the ground potential (the sputtering apparatus itself is normally grounded), the plasma potential is lower than that of the normal ground. As a result, when the charge-up charge stays on the processing substrate (or the insulating film formed on the processing substrate surface), the conventional AC power source cannot prevent the charge-up charge from staying.
  • a power supply device includes a first discharge circuit that applies a predetermined potential by alternately inverting the polarity at a predetermined frequency with respect to a pair of electrodes in contact with plasma, A second discharge circuit for applying a predetermined potential between an electrode to which a potential is not applied from the first discharge circuit and the ground, and the second discharge circuit is configured to reverse the polarity. It has a reverse potential applying means for applying a potential opposite to the output potential to at least one of the electrodes.
  • the second discharge circuit when outputting to one of the electrodes, in addition to the path through which the discharge current flows from the one electrode to the other electrode by the first discharge circuit, the second discharge circuit passes the ground. Thus, a path through which a discharge current flows to the other electrode is generated. At the time of polarity reversal, a potential opposite to the output potential is applied to at least one of the electrodes via the reverse potential applying means.
  • the predetermined AC potential is applied to the paired targets by alternately changing the polarity at a predetermined frequency.
  • the power supply device of the present invention is applied to the sputtered device, every time a reverse potential is applied to the target, the substrate disposed in a potential-insulated or floating state in the sputtering chamber is capacitively coupled with the target as the electrode. As a result, the charge-up charge staying on the substrate flows to the target.
  • the first discharge circuit includes a DC power supply source and a bridge circuit including a switching element connected between positive and negative DC outputs from the DC power supply source.
  • the operation of each switching element of the circuit is controlled and output to the pair of electrodes, and the second discharge circuit is provided with another DC power supply source, and the positive output from the other DC power supply source is provided.
  • a configuration may be adopted in which the DC output terminal is grounded and the negative DC output terminal is connected to the pair of electrodes via another switching element interlocked with the operation of the switching element of the bridge circuit. .
  • the reverse potential applying means includes a DC power source connected between the positive and negative DC outputs of the second discharge circuit, and a switching element for controlling application of the reverse potential from the DC power source to each electrode.
  • a configuration including the above may be employed.
  • the second discharge circuit includes a diode having a positive DC output and a cathode on the ground side, a reverse current to the second discharge circuit is prevented when an arc discharge occurs for some reason. You can do it.
  • the electrodes are preferably a pair of targets disposed in a processing chamber in which a sputtering method is performed.
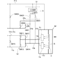
  • the power supply device E is, for example, an AC pulse at a predetermined frequency with respect to a pair of targets T1 and T2 which are arranged to face a substrate S in the vacuum chamber (processing chamber) M1 of the sputtering device M and are in contact with the plasma P. Used to apply (output) a potential.
  • the power supply device E is a control means C that performs overall control of the first discharge circuit E1 and the second discharge circuit E2, and the operation of switching elements described later provided in the first discharge circuit E1 and the second discharge circuit E2. (See FIG. 1)).
  • the first discharge circuit E1 includes a DC power supply source 1 that enables supply of DC power.
  • the DC power supply source 1 is a rectifier composed of, for example, an input unit to which commercial AC power (three-phase AC 200 V or 400 V) is input, and a diode that rectifies the input AC power and converts it into DC power. And outputs DC power to the oscillating unit via positive and negative DC power lines 11a and 11b.
  • a switching transistor controlled by the control means 3 via an output oscillation driver circuit (not shown) is provided between the DC power lines 11a and 11b, so that supply of DC power to the oscillation unit can be controlled. ing.
  • the oscillating unit includes a bridge circuit 12 including four first to fourth switching transistors (switching elements) SW11 to SW14 connected between positive and negative DC power lines 11a and 11b, and outputs from the bridge circuit 12 Lines 13a and 13b are connected to a pair of targets T1 and T2, respectively.
  • the switching on / off of each of the switching transistors SW11 to SW14 is controlled by the control means C via an output oscillation driver circuit (not shown).
  • the first and fourth switching transistors SW11, SW14 The switching of each of the switching transistors SW11 to SW14 is controlled so that the on / off timing of the third switching transistors SW12 and SW13 is reversed, and a predetermined frequency (for example, 1 to 10 kHz) is applied to the pair of targets T1 and T2.
  • a predetermined frequency for example, 1 to 10 kHz
  • a predetermined pulse potential is applied with alternating polarity.
  • switching transistors SW11 to SW14 are switched in a state in which DC power is output from the DC power supply source 1, their switching loss becomes great, and thus the durability of the switching transistors SW11 to SW14 is improved. It is necessary to configure as follows. Therefore, switching between on and off is controlled between the positive and negative DC output lines 11a and 11b from the DC power supply source 1 by the control means C via an output oscillation driver circuit (not shown). A transistor SW15 is provided.
  • the switching transistors SW11 to SW14 of the bridge circuit 12 are switched in a short-circuited state of the output short-circuiting switch transistor SW15 (a state where the output to the targets T1 and T2 is shut off) (FIG. 3). That is, when the switching transistor SW15 is short-circuited (on), for example, the first and fourth switching transistors SW11 and SW14 are turned on, and then the switching transistor SW15 is released (off) and output to one target T1. (A negative pulse potential is applied to the target T1). Next, the switching transistor SW15 is short-circuited again, the first and fourth switching transistors SW11 and SW14 are turned off, the second and third switching transistors SW12 and SW13 are turned on, and then the switching transistor SW15 is turned off. Output to the other target T2 (a negative pulse potential is applied to the target T2).
  • the switching loss that occurs when outputting to the targets T1 and T2 occurs only in the switching transistor SW15, and almost no switching loss occurs in each of the switching transistors SW11 to SW14.
  • high durability can be achieved without using a high-performance switching element, and a sufficient heat dissipation mechanism is not required as in the case where switching loss occurs with four switching elements, resulting in lower costs. I can plan. *
  • the second discharge circuit E2 includes a DC power supply source 2 having the same configuration as that of the first discharge circuit E1.
  • the positive DC power line 21a from the DC power supply source 2 is connected to the vacuum chamber M1 grounded.
  • the negative DC power line 21b from the DC power supply source 2 is branched and connected to the output lines 13a and 13b of the first discharge circuit E1, respectively.
  • switching transistors SW21 and SW22 that are operated in conjunction with the switching transistors SW11 to SW14 of the bridge circuit 13 are provided on the branch lines 22a and 22b from the negative DC power line 21b, respectively.
  • the switching of both the switching transistors SW21 and SW22 is controlled by the control means C via an output oscillation driver circuit (not shown).
  • the first and fourth switching transistors SW11 and SW14 are turned on.
  • the switching transistor SW21 is turned on, and predetermined power is input to the other target T2 by the second discharge circuit E2. (See FIG. 3).
  • a gas such as Ar is introduced at a constant flow rate through a gas introduction means (not shown) while the inside of the vacuum chamber M1 is maintained at a predetermined degree of vacuum, and a pair is formed by the first and second discharge circuits E1 and E2.
  • the first and fourth switching transistors SW11 and SW14 are turned on (in this case, the second and third switching transistors).
  • SW12 and SW13 are in an off state)
  • the discharge current Iac flows from one target T1 to the other target T2 by the first discharge circuit E1 and the switching transistor SW21 is turned on (in this case, the switching transistor SW21 is in an off state).
  • the vacuum chamber M is grounded by the second discharge circuit E2.
  • the discharge current Idc flows to the other target T2. *
  • the second The on / off timings of the switching transistors SW21 and SW22 of the discharge circuit E2 are also inverted and output to the pair of targets T1 and T2 at a predetermined frequency.
  • the targets T1 and T2 are alternately switched to the anode electrode and the cathode electrode, a glow discharge is generated between the anode electrode, the cathode electrode, the cathode electrode, and the ground, and a plasma atmosphere is formed. Sputtered.
  • the power supply device E has a path through which the discharge current Idc flows between one target T1 or T2 and the ground in addition to a path through which the discharge current Iac flows between the pair of targets T1 and T2. .
  • the plasma is biased only in front of the target being output when the output frequency is low, whereas In the power supply device E of the present embodiment, plasma P is generated in front of both targets T1 and T2 (see FIG. 1).
  • a predetermined thin film is formed on the surface of the substrate S, it is easy to make the film thickness distribution uniform.
  • a switching transistor SW23 for output short-circuiting is provided between the positive and negative DC power lines 21a and 21b, and outputs to the targets T1 and T2 similarly to the first discharge circuit E1. It is preferable that the switching loss generated at the time is generated only in the switching transistor SW23.
  • the charge-up charge staying on the target surface during the sputtering is canceled when the opposite phase voltage is applied. For this reason, even when a target such as an oxide is used, the occurrence of abnormal discharge (arc discharge) due to target charge-up is suppressed.
  • the substrate S that is electrically isolated or floating in the vacuum chamber M1 is also charged up.
  • the charge-up charge on the surface of the substrate S is neutralized by, for example, sputtered particles or ionized sputter gas ions. It will disappear.
  • the charge-up charge e on the surface of the substrate S per unit time increases and it tends to stay on the surface of the substrate S.
  • the charge-up charge e stays on the substrate S in this manner, for example, the charge-up charge e is applied to the mask plate due to a potential difference in the adjacent portion between the substrate S and the grounded mask plate M2 disposed in the peripheral portion of the substrate S. May jump instantaneously, and abnormal discharge (arc discharge) may occur due to this. In this case, the film on the surface of the substrate S is damaged, resulting in a product defect or generation of particles, and the formation of a good thin film is obstructed. It is preferable that retention of up charge can be efficiently suppressed.
  • the reverse pulse generation circuit (reverse potential applying means) 3 is provided between the positive DC output line 21a of the second discharge circuit E2 and the branch lines 22a and 22b.
  • the reverse pulse generation circuit 3 includes a DC pulse power supply 31 having a known structure, and switching transistors SW31 and SW32 that control application of a positive pulse potential from the DC pulse power supply 31 to the targets T1 and T2 (see FIG. 2).
  • the substrate S and the targets T1 and T2 are capacitively coupled in the vacuum chamber M1, and thus stay on the substrate S.
  • the charged up charge e flows to the targets T1 and T2.
  • the power supply device E effectively prevents the charge-up charge e from staying on the surface of the substrate S, and abnormal discharge due to the charge-up of the substrate S Therefore, it is possible to form a good thin film with high productivity even for the substrate S having a large area.
  • the positive DC power line 21a is provided with a diode 24 with the ground side as a cathode.
  • the capacitance component (capacitance) component is dominant over the inductance component. If the capacitive component is dominant in this way, the impedance on the plasma load side becomes small when arc discharge occurs, and the output and the plasma load are combined and suddenly released from the capacitive component to the output side.
  • the negative DC output lines 11b and 21b of the first and second discharge circuits E1 and E2 are provided with the inductor 4 having an inductance value larger than the inductance value of the plasma, and the current per unit time when the arc discharge occurs. Increase rate is limited.
  • the inductor 4 when the inductor 4 is provided as described above, a diode 5 and a resistor 6 that are connected in series with each other in parallel to the inductor 4 in order to suppress overvoltage that may occur when switching each switching element.
  • the switching transistors SW11 to SW14 and SW21, SW22 are switched (during polarity reversal) in the first and second discharge circuits E1, E2, the outputs to the targets T1, T2 are initially constant voltage specific.
  • the output current gradually increases, and thereafter (when the output current reaches a predetermined value), the output becomes a constant current characteristic.
  • the inductor 4, the diode 5 and the resistor 6 are provided in the negative DC output lines 11b and 21b, respectively, but may be provided in the negative DC output lines 11a and 21a or both.
  • the reverse potential applying means 3 is described as an example composed of the DC pulse power supply 31 and the switching transistors SW31 and SW32.
  • any device capable of applying a positive potential at the time of polarity reversal is not limited to this.
  • a transformer may be provided so that a positive pulse potential is applied.
  • the present invention is not limited to this.
  • a power supply unit with the same structure is assigned to each pair of targets of a plurality of same-shaped targets arranged in parallel at equal intervals facing the substrate in a vacuum chamber, and a pulse voltage is applied to each target at a predetermined frequency.
  • the present invention can also be applied to a case where a plurality of power supply devices output to a pair of targets.

Landscapes

  • Chemical & Material Sciences (AREA)
  • Engineering & Computer Science (AREA)
  • Physics & Mathematics (AREA)
  • Plasma & Fusion (AREA)
  • Mechanical Engineering (AREA)
  • Organic Chemistry (AREA)
  • Metallurgy (AREA)
  • Chemical Kinetics & Catalysis (AREA)
  • Materials Engineering (AREA)
  • Analytical Chemistry (AREA)
  • Spectroscopy & Molecular Physics (AREA)
  • Electromagnetism (AREA)
  • Power Engineering (AREA)
  • Physical Vapour Deposition (AREA)
  • Plasma Technology (AREA)
  • Dc-Dc Converters (AREA)
PCT/JP2009/060989 2008-06-30 2009-06-17 電源装置 Ceased WO2010001724A1 (ja)

Priority Applications (4)

Application Number Priority Date Filing Date Title
KR1020117002275A KR101298166B1 (ko) 2008-06-30 2009-06-17 전원 장치
US12/999,085 US20110120861A1 (en) 2008-06-30 2009-06-17 Power supply apparatus
CN2009801255039A CN102076878B (zh) 2008-06-30 2009-06-17 电源装置
KR1020137013816A KR20130080055A (ko) 2008-06-30 2009-06-17 전원 장치

Applications Claiming Priority (2)

Application Number Priority Date Filing Date Title
JP2008170807A JP5500794B2 (ja) 2008-06-30 2008-06-30 電源装置
JP2008-170807 2008-06-30

Publications (1)

Publication Number Publication Date
WO2010001724A1 true WO2010001724A1 (ja) 2010-01-07

Family

ID=41465825

Family Applications (1)

Application Number Title Priority Date Filing Date
PCT/JP2009/060989 Ceased WO2010001724A1 (ja) 2008-06-30 2009-06-17 電源装置

Country Status (6)

Country Link
US (1) US20110120861A1 (enExample)
JP (1) JP5500794B2 (enExample)
KR (2) KR20130080055A (enExample)
CN (1) CN102076878B (enExample)
TW (1) TW201006317A (enExample)
WO (1) WO2010001724A1 (enExample)

Cited By (1)

* Cited by examiner, † Cited by third party
Publication number Priority date Publication date Assignee Title
EP2569798A4 (en) * 2010-05-11 2016-03-16 Advanced Energy Ind Inc METHOD AND DEVICE FOR APPLYING A PERIODIC VOLTAGE USING DC POWER

Families Citing this family (6)

* Cited by examiner, † Cited by third party
Publication number Priority date Publication date Assignee Title
DE102010031568B4 (de) 2010-07-20 2014-12-11 TRUMPF Hüttinger GmbH + Co. KG Arclöschanordnung und Verfahren zum Löschen von Arcs
KR101421483B1 (ko) * 2010-08-18 2014-07-22 가부시키가이샤 알박 직류 전원 장치
US9129776B2 (en) * 2012-11-01 2015-09-08 Advanced Energy Industries, Inc. Differing boost voltages applied to two or more anodeless electrodes for plasma processing
US9287098B2 (en) 2012-11-01 2016-03-15 Advanced Energy Industries, Inc. Charge removal from electrodes in unipolar sputtering system
US9226380B2 (en) 2012-11-01 2015-12-29 Advanced Energy Industries, Inc. Adjustable non-dissipative voltage boosting snubber network
JP2022080674A (ja) * 2020-11-18 2022-05-30 東京エレクトロン株式会社 プラズマ処理装置

Citations (4)

* Cited by examiner, † Cited by third party
Publication number Priority date Publication date Assignee Title
JPH09172787A (ja) * 1995-10-20 1997-06-30 Haiden Kenkyusho:Kk 正負パルス式高電圧電源
JP2005133110A (ja) * 2003-10-28 2005-05-26 Konica Minolta Opto Inc スパッタリング装置
JP2007186724A (ja) * 2006-01-11 2007-07-26 Ulvac Japan Ltd スパッタリング方法及びスパッタリング装置
JP2007186726A (ja) * 2006-01-11 2007-07-26 Ulvac Japan Ltd スパッタリング装置

Family Cites Families (6)

* Cited by examiner, † Cited by third party
Publication number Priority date Publication date Assignee Title
DE4233720C2 (de) * 1992-10-07 2001-05-17 Leybold Ag Einrichtung für die Verhinderung von Überschlägen in Vakuum-Zerstäubungsanlagen
DE4446532A1 (de) * 1994-12-24 1996-06-27 Bosch Gmbh Robert Stromversorgungsschaltung
DE19651811B4 (de) * 1996-12-13 2006-08-31 Unaxis Deutschland Holding Gmbh Vorrichtung zum Belegen eines Substrats mit dünnen Schichten
ATE506463T1 (de) * 1997-02-20 2011-05-15 Shibaura Mechatronics Corp Stromversorgungsvorrichtung zum sputtern und sputtervorrichtung, die diese verwendet
US7247221B2 (en) * 2002-05-17 2007-07-24 Applied Films Corporation System and apparatus for control of sputter deposition process
CN101589450B (zh) * 2006-12-12 2013-08-28 Oc欧瑞康巴尔斯公司 生成靶溅射以在衬底上产生涂层的设备和在其上实施电压脉冲的方法

Patent Citations (4)

* Cited by examiner, † Cited by third party
Publication number Priority date Publication date Assignee Title
JPH09172787A (ja) * 1995-10-20 1997-06-30 Haiden Kenkyusho:Kk 正負パルス式高電圧電源
JP2005133110A (ja) * 2003-10-28 2005-05-26 Konica Minolta Opto Inc スパッタリング装置
JP2007186724A (ja) * 2006-01-11 2007-07-26 Ulvac Japan Ltd スパッタリング方法及びスパッタリング装置
JP2007186726A (ja) * 2006-01-11 2007-07-26 Ulvac Japan Ltd スパッタリング装置

Cited By (1)

* Cited by examiner, † Cited by third party
Publication number Priority date Publication date Assignee Title
EP2569798A4 (en) * 2010-05-11 2016-03-16 Advanced Energy Ind Inc METHOD AND DEVICE FOR APPLYING A PERIODIC VOLTAGE USING DC POWER

Also Published As

Publication number Publication date
KR101298166B1 (ko) 2013-08-21
US20110120861A1 (en) 2011-05-26
CN102076878A (zh) 2011-05-25
JP2010007162A (ja) 2010-01-14
CN102076878B (zh) 2013-01-16
JP5500794B2 (ja) 2014-05-21
TW201006317A (en) 2010-02-01
KR20130080055A (ko) 2013-07-11
KR20110027819A (ko) 2011-03-16

Similar Documents

Publication Publication Date Title
JP5429772B2 (ja) 電源装置
JP5500794B2 (ja) 電源装置
JP5124344B2 (ja) バイポーラパルス電源及び複数のバイポーラパルス電源からなる電源装置並びに出力方法
TWI483536B (zh) Bipolar pulse power supply and the bipolar pulse power supply in parallel connected to the power supply device
JP2009284732A5 (enExample)
WO2009145093A1 (ja) スパッタリング方法
JP5186281B2 (ja) バイポーラパルス電源及びこのバイポーラパルス電源を複数台並列接続してなる電源装置
US9117637B2 (en) Redundant anode sputtering method and assembly
JP2010007162A5 (enExample)
JP5322235B2 (ja) スパッタリング方法
JP2013189698A (ja) 成膜装置および成膜方法

Legal Events

Date Code Title Description
WWE Wipo information: entry into national phase

Ref document number: 200980125503.9

Country of ref document: CN

121 Ep: the epo has been informed by wipo that ep was designated in this application

Ref document number: 09773302

Country of ref document: EP

Kind code of ref document: A1

NENP Non-entry into the national phase

Ref country code: DE

WWE Wipo information: entry into national phase

Ref document number: 12999085

Country of ref document: US

ENP Entry into the national phase

Ref document number: 20117002275

Country of ref document: KR

Kind code of ref document: A

122 Ep: pct application non-entry in european phase

Ref document number: 09773302

Country of ref document: EP

Kind code of ref document: A1