US8207450B2 - Printed circuit board comprising metal bumps integrated with connection pads - Google Patents

Printed circuit board comprising metal bumps integrated with connection pads Download PDF

Info

Publication number
US8207450B2
US8207450B2 US12/382,360 US38236009A US8207450B2 US 8207450 B2 US8207450 B2 US 8207450B2 US 38236009 A US38236009 A US 38236009A US 8207450 B2 US8207450 B2 US 8207450B2
Authority
US
United States
Prior art keywords
layer
circuit board
printed circuit
metal
connection pads
Prior art date
Legal status (The legal status is an assumption and is not a legal conclusion. Google has not performed a legal analysis and makes no representation as to the accuracy of the status listed.)
Active, expires
Application number
US12/382,360
Other versions
US20100139964A1 (en
Inventor
Jin Yong An
Jae Joon Lee
Current Assignee (The listed assignees may be inaccurate. Google has not performed a legal analysis and makes no representation or warranty as to the accuracy of the list.)
Samsung Electro Mechanics Co Ltd
Original Assignee
Samsung Electro Mechanics Co Ltd
Priority date (The priority date is an assumption and is not a legal conclusion. Google has not performed a legal analysis and makes no representation as to the accuracy of the date listed.)
Filing date
Publication date
Application filed by Samsung Electro Mechanics Co Ltd filed Critical Samsung Electro Mechanics Co Ltd
Assigned to SAMSUNG ELECTRO-MECHANICS CO., LTD. reassignment SAMSUNG ELECTRO-MECHANICS CO., LTD. ASSIGNMENT OF ASSIGNORS INTEREST (SEE DOCUMENT FOR DETAILS). Assignors: AN, JIN YONG, LEE, JAE JOON
Publication of US20100139964A1 publication Critical patent/US20100139964A1/en
Priority to US13/477,407 priority Critical patent/US9021693B2/en
Application granted granted Critical
Publication of US8207450B2 publication Critical patent/US8207450B2/en
Active legal-status Critical Current
Adjusted expiration legal-status Critical

Links

Images

Classifications

    • HELECTRICITY
    • H05ELECTRIC TECHNIQUES NOT OTHERWISE PROVIDED FOR
    • H05KPRINTED CIRCUITS; CASINGS OR CONSTRUCTIONAL DETAILS OF ELECTRIC APPARATUS; MANUFACTURE OF ASSEMBLAGES OF ELECTRICAL COMPONENTS
    • H05K3/00Apparatus or processes for manufacturing printed circuits
    • H05K3/40Forming printed elements for providing electric connections to or between printed circuits
    • H05K3/4007Surface contacts, e.g. bumps
    • HELECTRICITY
    • H05ELECTRIC TECHNIQUES NOT OTHERWISE PROVIDED FOR
    • H05KPRINTED CIRCUITS; CASINGS OR CONSTRUCTIONAL DETAILS OF ELECTRIC APPARATUS; MANUFACTURE OF ASSEMBLAGES OF ELECTRICAL COMPONENTS
    • H05K1/00Printed circuits
    • H05K1/02Details
    • H05K1/11Printed elements for providing electric connections to or between printed circuits
    • HELECTRICITY
    • H05ELECTRIC TECHNIQUES NOT OTHERWISE PROVIDED FOR
    • H05KPRINTED CIRCUITS; CASINGS OR CONSTRUCTIONAL DETAILS OF ELECTRIC APPARATUS; MANUFACTURE OF ASSEMBLAGES OF ELECTRICAL COMPONENTS
    • H05K3/00Apparatus or processes for manufacturing printed circuits
    • H05K3/40Forming printed elements for providing electric connections to or between printed circuits
    • HELECTRICITY
    • H05ELECTRIC TECHNIQUES NOT OTHERWISE PROVIDED FOR
    • H05KPRINTED CIRCUITS; CASINGS OR CONSTRUCTIONAL DETAILS OF ELECTRIC APPARATUS; MANUFACTURE OF ASSEMBLAGES OF ELECTRICAL COMPONENTS
    • H05K3/00Apparatus or processes for manufacturing printed circuits
    • H05K3/46Manufacturing multilayer circuits
    • HELECTRICITY
    • H05ELECTRIC TECHNIQUES NOT OTHERWISE PROVIDED FOR
    • H05KPRINTED CIRCUITS; CASINGS OR CONSTRUCTIONAL DETAILS OF ELECTRIC APPARATUS; MANUFACTURE OF ASSEMBLAGES OF ELECTRICAL COMPONENTS
    • H05K3/00Apparatus or processes for manufacturing printed circuits
    • H05K3/46Manufacturing multilayer circuits
    • H05K3/4644Manufacturing multilayer circuits by building the multilayer layer by layer, i.e. build-up multilayer circuits
    • H05K3/4682Manufacture of core-less build-up multilayer circuits on a temporary carrier or on a metal foil
    • H10W70/05
    • H10W70/685
    • H10W90/701
    • HELECTRICITY
    • H05ELECTRIC TECHNIQUES NOT OTHERWISE PROVIDED FOR
    • H05KPRINTED CIRCUITS; CASINGS OR CONSTRUCTIONAL DETAILS OF ELECTRIC APPARATUS; MANUFACTURE OF ASSEMBLAGES OF ELECTRICAL COMPONENTS
    • H05K2201/00Indexing scheme relating to printed circuits covered by H05K1/00
    • H05K2201/03Conductive materials
    • H05K2201/0332Structure of the conductor
    • H05K2201/0364Conductor shape
    • H05K2201/0367Metallic bump or raised conductor not used as solder bump
    • HELECTRICITY
    • H05ELECTRIC TECHNIQUES NOT OTHERWISE PROVIDED FOR
    • H05KPRINTED CIRCUITS; CASINGS OR CONSTRUCTIONAL DETAILS OF ELECTRIC APPARATUS; MANUFACTURE OF ASSEMBLAGES OF ELECTRICAL COMPONENTS
    • H05K2203/00Indexing scheme relating to apparatus or processes for manufacturing printed circuits covered by H05K3/00
    • H05K2203/02Details related to mechanical or acoustic processing, e.g. drilling, punching, cutting, using ultrasound
    • H05K2203/0228Cutting, sawing, milling or shearing
    • HELECTRICITY
    • H05ELECTRIC TECHNIQUES NOT OTHERWISE PROVIDED FOR
    • H05KPRINTED CIRCUITS; CASINGS OR CONSTRUCTIONAL DETAILS OF ELECTRIC APPARATUS; MANUFACTURE OF ASSEMBLAGES OF ELECTRICAL COMPONENTS
    • H05K2203/00Indexing scheme relating to apparatus or processes for manufacturing printed circuits covered by H05K3/00
    • H05K2203/03Metal processing
    • H05K2203/0376Etching temporary metallic carrier substrate
    • HELECTRICITY
    • H05ELECTRIC TECHNIQUES NOT OTHERWISE PROVIDED FOR
    • H05KPRINTED CIRCUITS; CASINGS OR CONSTRUCTIONAL DETAILS OF ELECTRIC APPARATUS; MANUFACTURE OF ASSEMBLAGES OF ELECTRICAL COMPONENTS
    • H05K2203/00Indexing scheme relating to apparatus or processes for manufacturing printed circuits covered by H05K3/00
    • H05K2203/05Patterning and lithography; Masks; Details of resist
    • H05K2203/0502Patterning and lithography
    • H05K2203/054Continuous temporary metal layer over resist, e.g. for selective electroplating
    • HELECTRICITY
    • H05ELECTRIC TECHNIQUES NOT OTHERWISE PROVIDED FOR
    • H05KPRINTED CIRCUITS; CASINGS OR CONSTRUCTIONAL DETAILS OF ELECTRIC APPARATUS; MANUFACTURE OF ASSEMBLAGES OF ELECTRICAL COMPONENTS
    • H05K3/00Apparatus or processes for manufacturing printed circuits
    • H05K3/10Apparatus or processes for manufacturing printed circuits in which conductive material is applied to the insulating support in such a manner as to form the desired conductive pattern
    • H05K3/108Apparatus or processes for manufacturing printed circuits in which conductive material is applied to the insulating support in such a manner as to form the desired conductive pattern by semi-additive methods; masks therefor
    • HELECTRICITY
    • H05ELECTRIC TECHNIQUES NOT OTHERWISE PROVIDED FOR
    • H05KPRINTED CIRCUITS; CASINGS OR CONSTRUCTIONAL DETAILS OF ELECTRIC APPARATUS; MANUFACTURE OF ASSEMBLAGES OF ELECTRICAL COMPONENTS
    • H05K3/00Apparatus or processes for manufacturing printed circuits
    • H05K3/10Apparatus or processes for manufacturing printed circuits in which conductive material is applied to the insulating support in such a manner as to form the desired conductive pattern
    • H05K3/20Apparatus or processes for manufacturing printed circuits in which conductive material is applied to the insulating support in such a manner as to form the desired conductive pattern by affixing prefabricated conductor pattern
    • H05K3/205Apparatus or processes for manufacturing printed circuits in which conductive material is applied to the insulating support in such a manner as to form the desired conductive pattern by affixing prefabricated conductor pattern using a pattern electroplated or electroformed on a metallic carrier
    • H10P72/7424
    • YGENERAL TAGGING OF NEW TECHNOLOGICAL DEVELOPMENTS; GENERAL TAGGING OF CROSS-SECTIONAL TECHNOLOGIES SPANNING OVER SEVERAL SECTIONS OF THE IPC; TECHNICAL SUBJECTS COVERED BY FORMER USPC CROSS-REFERENCE ART COLLECTIONS [XRACs] AND DIGESTS
    • Y10TECHNICAL SUBJECTS COVERED BY FORMER USPC
    • Y10TTECHNICAL SUBJECTS COVERED BY FORMER US CLASSIFICATION
    • Y10T29/00Metal working
    • Y10T29/49Method of mechanical manufacture
    • Y10T29/49002Electrical device making
    • Y10T29/49117Conductor or circuit manufacturing
    • Y10T29/49124On flat or curved insulated base, e.g., printed circuit, etc.
    • Y10T29/49126Assembling bases
    • YGENERAL TAGGING OF NEW TECHNOLOGICAL DEVELOPMENTS; GENERAL TAGGING OF CROSS-SECTIONAL TECHNOLOGIES SPANNING OVER SEVERAL SECTIONS OF THE IPC; TECHNICAL SUBJECTS COVERED BY FORMER USPC CROSS-REFERENCE ART COLLECTIONS [XRACs] AND DIGESTS
    • Y10TECHNICAL SUBJECTS COVERED BY FORMER USPC
    • Y10TTECHNICAL SUBJECTS COVERED BY FORMER US CLASSIFICATION
    • Y10T29/00Metal working
    • Y10T29/49Method of mechanical manufacture
    • Y10T29/49002Electrical device making
    • Y10T29/49117Conductor or circuit manufacturing
    • Y10T29/49124On flat or curved insulated base, e.g., printed circuit, etc.
    • Y10T29/49155Manufacturing circuit on or in base
    • Y10T29/49165Manufacturing circuit on or in base by forming conductive walled aperture in base

Definitions

  • the present invention relates to a printed circuit board comprising a metal bump and a method of manufacturing the same, and, more particularly, to a printed circuit board comprising metal bumps, the metal bumps having constant diameters and arranged at fine pitches, and a method of manufacturing the same.
  • a package PKG
  • an interposer substrate
  • the densification of the package is caused by the increase in the number of I/Os, and methods of connecting the package with the interposer have improved.
  • a wire bonding method and a flip bonding method are used as a method of mounting an IC in a high-density package.
  • the flip bonding method may be used due to the costs required to mount the IC when the number of I/Os is increased.
  • FIG. 1 is of sectional views showing a conventional process of manufacturing a substrate on which a semiconductor chip is mounted.
  • a carrier 1 formed of a double-sided copper clad laminate is provided, and then, as shown in FIG. 1B , a solder resist 3 is applied on the carrier 1 , and then, as shown in FIG. 1C , a dry film 5 is applied on the solder resist 3 and then patterned. Thereafter, as shown in FIG. 1D , electrolytic plating is conducted, and then, as shown in FIG. 1E , the dry film 5 is removed to form connection pads 7 . Subsequently, as shown in FIG. 1F , a first insulation layer 9 is formed on the connection pads 7 and the solder resist 3 , and then, as shown in FIG. 1G , a first circuit layer 11 is formed.
  • a build-up layer 13 is additionally formed by repeating the above processes, and then, as shown in FIG. 1I , a solder resist 15 is applied on the build-up layer 13 .
  • the carrier 1 is separated by conducting a routing process, and then, as shown in FIG. 1K , copper foil is etched and removed. Then, as shown in FIG. 1L , the solder resists 3 and 15 are patterned to form openings 17 for exposing the connection pads 7 .
  • solder balls 19 for flip chip bonding are formed in the openings 17 .
  • the formation of the solder balls 9 is conducted through a solder paste printing process using screen printing and a reflow process.
  • the method of forming a bump on a printed circuit board using a printing process is problematic in that large connection pads are required, and thus it is difficult to realize bump arranged at fine pitches of 120 ⁇ m or less.
  • the method of forming a bump on a printed circuit board using a printing process is problematic in that a fine bump is not formed, or its volume is very small even though the fine bump is formed.
  • connection pads are formed by plating, their thicknesses are different from each other due to plating deviation, and, since solder paste cannot be easily printed in a completely uniform manner even in the solder paste printing process, the heights of solder balls are not uniform, so that there is a problem in that solder balls which are not connected to a semiconductor chip are formed.
  • the present invention has been made to solve the above conventional problems, and the present invention provides a printed circuit board comprising metal bumps, the metal bumps arranged at fine pitches and uniform diameter and height, and a method of manufacturing the same.
  • An aspect of the present invention provides a printed circuit board, including: an upper circuit layer including connection pads made of a conductive metal and buried in an insulation layer; and metal bumps, each having a constant diameter, which are integrated with the connection pads and protrude over the insulation layer.
  • each of the connection pads may have an exposed surface being flush with a surface of the insulation layer.
  • the insulation layer may be made of a solder resist.
  • the printed circuit board may further include a connection metal layer formed on the metal bumps.
  • the printed circuit board may further include a build-up layer including a lower circuit layer disposed beneath the insulation layer.
  • the lower circuit layer may include lower connection pads, and the printed circuit board may further include a solder resist layer covering the lower circuit layer and having openings for exposing the lower connection pads.
  • Another aspect of the present invention provides a method of manufacturing a printed circuit board, including: applying a dry film on a carrier and then patterning the dry film to form holes for forming metal bumps; forming an upper circuit layer including metal bumps charged in the holes and connection pads on the dry film; forming an insulation layer on the dry film; forming a build-up layer including a lower circuit layer on the insulation layer; removing the carrier; and removing the dry film.
  • the forming of the upper circuit layer may include: forming a seed layer on the holes and the dry film; patterning the seed layer to form openings for forming the upper circuit layer, including openings for forming the connection pads, the openings exposing the holes; plating the openings for forming the upper circuit layer to form the upper circuit layer including the metal bumps and the connection pads; and removing the seed layer.
  • the method may further include: forming a solder resist layer on the lower circuit layer after the forming of the build-up layer.
  • the removing of the carrier may include: separating a metal foil constituting an outer layer of the carrier from the carrier; and removing the metal foil from the dry film.
  • the method may further include: forming a connection metal layer on bottoms of the holes after the applying of the dry film.
  • FIGS. 1A to 1M are sectional views showing a conventional process of manufacturing a substrate on which a semiconductor chip is mounted;
  • FIGS. 2 to 11 are sectional views showing a method of manufacturing a printed circuit board including a metal bump according to an embodiment of the present invention.
  • FIGS. 12 to 22 are sectional views showing a method of manufacturing a printed circuit board including a metal bump according to another embodiment of the present invention.
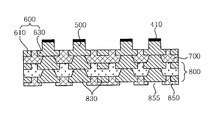
  • FIG. 11 is a sectional view showing a printed circuit board including a metal bump according to an embodiment of the present invention.
  • the printed circuit board according to an embodiment of the present invention includes an upper circuit layer 600 including connection pads 630 buried in an insulation layer 700 and made of a conductive metal; and metal bumps 500 , having constant diameters, which are integrated with the connection pads 630 and protrude over the insulation layer 700 .
  • the insulation layer 700 may be a solder resist layer, and may be made of a composite polymer resin which is generally used as an interlayer insulation material.
  • the insulation layer 700 may be made of prepreg, or an epoxy resin such as FR-4, BT (Bismaleimide Triazine), ABF (Ajinomoto Build up Film) or the like, but the present invention is not limited thereto.
  • the metal bumps 500 protrude over the insulation layer 700 , and function to electrically connect an electronic part to be mounted in the printed circuit board later with wires formed in the printed circuit board.
  • the metal bumps 500 are integrated with the connection pads 630 buried in the insulation layer 700 , and are made of the same material as the connection pads 630 . Therefore, the metal bumps 500 are not completely distinct from the connection pad 630 , but the metal bumps 500 have diameters smaller than those of the connection pads 630 and protrude over the insulation layer 700 .
  • each of the metal bumps 500 has a post shape in which its upper diameter is the same as its lower diameter.
  • the meaning that the metal bump 500 has a constant diameter does not mean that the upper and lower diameters of the metal bump 500 are mathematically exactly equal to each other but means that a slight change in diameter of the metal bump 500 due to the errors occurring in a substrate manufacturing process is allowed.
  • connection metal layer 410 may further be formed on the metal bumps 500 .
  • the connection metal layer 410 may be made of a conductive metal such as tin (Sn), an alloy of tin (Sn) and silver (Ag) or the like.
  • the upper circuit layer is buried in the insulation layer 700 , and includes the connection pads 630 integrated with the metal bumps 500 .
  • the connection pads 630 are buried in the insulation layer 700 , but they have exposed surfaces which are exposed to the outside of the insulation layer 700 .
  • the exposed surfaces are surfaces of the connection pads 630 which are not covered by the insulation layer 700 , and are not surfaces which are exposed to the outside of another insulation layer or a solder resist layer which can be formed on the insulation layer 700 .
  • the exposed surfaces of the connection pads 630 are flush with the surface of the insulation layer 700 .
  • the connection pads may be made of a conductive metal such as gold, silver, copper, nickel or the like.
  • the printed circuit board according to the embodiment of the present invention further includes a build-up layer 800 which is disposed beneath the insulation layer 700 and includes a lower circuit layer 830 electrically connected to the upper circuit layer 600 .
  • the build-up layer 800 may further include an inner circuit layer 810 (refer to FIG. 7 ) formed between the upper circuit layer 600 and the lower circuit layer 830 .
  • an inner circuit layer 810 (refer to FIG. 7 ) formed between the upper circuit layer 600 and the lower circuit layer 830 .
  • the number of inner circuit layers 810 is not limited thereto. It is easily understood by those skilled in the art that, if necessary, the number of the inner circuit layers 810 can be controlled.
  • the lower circuit layer 830 may include lower connection pads, and may further include a solder resist layer 850 covering the lower circuit layer 830 and having openings 855 for exposing the lower connection pads.
  • the printed circuit board since the printed circuit board includes the post-shaped metal bumps 500 having excellent electric conductivity, the printed circuit board can be easily connected electrically to an electronic part mounted therein.
  • the above printed circuit board is advantageous in that the printed circuit board includes metal bumps 500 arranged at fine pitches because the metal bumps 500 have constant diameters, the lower diameters of which are not larger than the upper diameters thereof.
  • the above printed circuit board is advantageous in that voids are not formed in an underfill process because the height of the insulation layer is the same as the height of the connection pads and thus a stepped portion is not formed therebetween.
  • FIGS. 2 to 11 are sectional views showing a method of manufacturing a printed circuit board including a metal bump according to an embodiment of the present invention.
  • the method of manufacturing a printed circuit board including a metal bump according to an embodiment of the present invention will be described with reference to FIGS. 2 to 11 .
  • a process of applying a dry film 310 on a carrier 100 and then patterning the dry film 310 to form holes 315 for forming metal bumps 500 will be described.
  • a process of placing a printed circuit board on one side of the carrier 100 is described, but a process of placing a printed circuit board on both sides of the carrier 100 may be conducted.
  • a carrier 100 functioning as a support, is provided.
  • the carrier 100 has a structure in which insulation material layers 150 and release layers 170 are sequentially formed on both sides of a double-sided copper clad laminate in which copper foil layers 130 are formed on both sides of an insulation resin layer 110 .
  • the insulation resin layer 110 contains a glass material, and may have a thickness of about 100 ⁇ 800 ⁇ m.
  • the release layer 170 has a length and an area smaller than those of the copper foil layer 130 , and may be formed on the insulation material layer 150 , but not on the lateral sides of the copper foil layer 130 .
  • the release layer serves to easily separate metal foil 190 from the carrier 100 in the latter half of a process of manufacturing a printed circuit board.
  • the release layer 170 may be formed by applying a releasing material on the insulation material layer 150 in the form of thin film or sputtering the releasing material on the insulation material layer 150 .
  • the metal foil 190 which is bound by a portion of the insulation material layer 150 on which the release layer 170 is not formed, is applied on the carrier 100 .
  • the metal foil 190 may be made of a conductive metal such as copper (Cu), gold (Au), silver (Ag) or the like. In this embodiment, copper foil is used as the metal foil 190 .
  • a dry film 310 is applied on the carrier 100 and then patterned to form holes 315 for forming metal bumps 500 .
  • a photosensitive dry-film may be used as the dry film 310 .
  • the patterning of the dry film 310 may be performed by selectively exposing and curing the applied dry film 310 using a mask (not shown) having light shielding patterns and then removing the uncured portion of the dry film 310 .
  • connection metal layer 410 is formed on the bottoms of the holes 315 .
  • the formation of the connection metal layer 410 may be optional.
  • the connection metal layer 410 may be formed using the metal foil 190 as a lead wire by electrolytic plating.
  • the connection metal layer 410 serves to protect the upper ends of the metal bumps 500 to be connected to an electronic part later and serve to smoothly perform the electrical connection of the electronic part and the metal bumps 500 .
  • the connection metal layer 410 may be made of a conductive metal such as tin (Sn), an alloy of tin (Sn) and silver (Ag) or the like.
  • the connection metal layer 410 may be made of a metal which causes the copper foil formed on the carrier 100 to be selectively etched with respect to the connection metal layer 410 .
  • an upper circuit layer 600 including metal bumps 500 charged in the holes 315 and connection pads 630 on the dry film 310 will be described.
  • a seed layer (not shown) is formed on the dry film 310 and the inner surfaces of the holes.
  • a plating resist (not shown) made of a photosensitive material is placed on the seed layer, and then the seed layer is patterned to form openings for forming the upper circuit layer 600 , including openings for forming the connection pads 630 , these openings exposing the holes 315 .
  • the upper circuit layer 600 including metal bumps 500 charged in the holes 315 and the connection pads 630 can be formed by electroplating the openings through a general SAP process. Then, the exposed portion of the seed layer is removed by flash etching or quick etching. In this case, the upper circuit layer may selectively include circuit patterns 610 . It can be easily understood that whether or not the circuit patterns 610 are formed can be determined by the patterning type of the plating resist.
  • the diameters of the holes formed by patterning the dry film 310 through exposure and development are constant.
  • the meaning that the metal bump 500 has a constant diameter does not mean that the upper and lower diameters of the metal bump 500 are mathematically exactly equal to each other but means that a slight change in diameters of the metal bumps 500 due to the errors occurring in a substrate manufacturing process is allowed.
  • the metal bumps 500 may be formed to have a height corresponding to the thickness of the dry film 310 .
  • the insulation layer 700 may be a solder resist layer, and may be made of a composite polymer resin which is generally used as an interlayer insulation material.
  • the insulation layer 700 may be made of prepreg, or an epoxy resin such as FR-4, BT (Bismaleimide Triazine), ABF (Ajinomoto Build up Film) or the like, but the present invention is not limited thereto.
  • a process of forming a build-up layer 800 including a lower circuit layer 830 on the insulation layer 700 will be described.
  • via holes are formed in the insulation layer 700 using a YAG laser drill or a CO 2 laser drill, and then an inner circuit layer 810 is formed through a semi-additive process, and then the lower circuit layer 830 is formed by repeating the above processes.
  • a process of forming a build-up layer including one inner circuit layer is exemplified, but the present invention is not limited thereto.
  • the number of the inner circuit layers 810 is not limited, and the inner circuit layer 810 may not exist.
  • a solder resist layer 850 for covering the lower circuit layer 830 is formed on the lower circuit layer 830 .
  • the lateral portions of the carrier 100 and the printed circuit board placed on the carrier 100 may be cut through a routing process, and the metal foil 190 constituting an outer layer of the carrier 100 may be separated from the carrier 100 .
  • the routing process is a process of performing mechanical cutting using a routing bit.
  • the lateral portions of the carrier 100 and the printed circuit board are cut and removed, and thus the insulation material layer 150 binding the metal foil 190 applied on the carrier 100 is also removed, thereby separating the metal foil 190 and the printed circuit board from the carrier 100 .
  • the metal foil is removed from the dry film 310 through an etching process.
  • openings 855 for exposing lower connection pads formed in the lower circuit layer 830 are formed in the solder resist layer 850 .
  • the dry film 310 is removed using a stripping agent.
  • a surface protection layer may be formed on the exposed surfaces of the metal bumps 500 and the connection pads 630 .
  • the surface protection layer can be formed by performing an OSP process or by performing a nickel or gold plating process.
  • the metal bumps 500 are formed by charging a metal into the holes 315 having constant diameters and formed in the dry film 310 through a plating process, metal bumps having constant diameters can be formed, and thus metal bumps arranged at fine pitches can also be formed.
  • FIGS. 12 to 22 are sectional views showing a method of manufacturing a printed circuit board including a metal bump according to another embodiment of the present invention.
  • the method of manufacturing a printed circuit board including a metal bump according to another embodiment of the present invention will be described with reference to FIGS. 12 to 22 .
  • parts of the description overlapping with the above embodiment are omitted.
  • a carrier 100 coated with metal foil 190 is provided.
  • a metal layer 330 including holes 335 for forming metal bumps 500 is formed on the metal foil 190 .
  • the metal layer 330 may be formed by forming a photosensitive plating resist layer (not shown) on the metal foil 190 and patterning the photosensitive plating resist layer using the metal foil 190 as a lead wire through electrolytic plating.
  • the metal layer 330 may be made of a conductive metal. In this embodiment, the metal layer 330 is made of copper (Cu).
  • a barrier layer 430 serving as an etching inhibiting layer, is formed on the metal layer 330 and the inner surfaces of the holes.
  • the barrier layer 430 may be formed by electroless plating or electrolytic plating.
  • the barrier layer 430 may be made of a metal which has selective etchability with respect to the metal layer 330 and the metal bumps 500 and upper circuit layer 600 to be formed later.
  • the barrier layer 430 is made of nickel (Ni).
  • metal bumps 500 are formed in the holes 335 and an upper circuit layer 600 is formed on the barrier layer 430 , and then, as shown in FIG. 16 , an insulation layer 700 is formed on the upper circuit layer 600 .
  • an inner circuit layer 810 and a lower circuit layer 830 are sequentially formed on the insulation layer 700 , and then a solder resist layer 850 is formed on the lower circuit layer 830 .
  • the metal foil 190 is separated from the carrier 190 and then removed.
  • openings 855 for exposing lower connection pads formed in the lower circuit layer 830 are formed in the solder resist layer 850 .
  • the metal layer 330 is etched and thus removed, and then, as shown in FIG. 22 , the barrier layer 430 is removed.
  • the barrier layer 430 may be removed using a nickel selective etchant.
  • the barrier layer 430 and the upper circuit layer 600 may be made of metals, one of which has a selective etchability with respect to the other. The barrier layer 430 can be removed without damaging the upper circuit layer 600 .
  • the printed circuit board according to the present invention is advantageous in that the printed circuit board can be easily connected electrically to an electronic part mounted therein because the printed circuit board includes post-shaped metal bumps having excellent electric conductivity. Further, the printed circuit board according to the present invention is advantageous in that the printed circuit board includes metal bumps arranged at fine pitches because the metal bumps have constant diameters, the lower diameters of which are not larger than the upper diameters thereof.
  • a printed circuit board including post-shaped metal bumps having constant heights and excellent electrical conductivity can be manufactured.
  • metal bumps 500 are formed by charging a metal into holes having constant diameters and formed in a dry film through a plating process, metal bumps having constant diameters can be formed, and thus metal bumps arranged at fine pitches can also be formed.

Landscapes

  • Engineering & Computer Science (AREA)
  • Microelectronics & Electronic Packaging (AREA)
  • Manufacturing & Machinery (AREA)
  • Production Of Multi-Layered Print Wiring Board (AREA)
  • Physics & Mathematics (AREA)
  • Condensed Matter Physics & Semiconductors (AREA)
  • General Physics & Mathematics (AREA)
  • Computer Hardware Design (AREA)
  • Power Engineering (AREA)
  • Ceramic Engineering (AREA)
  • Electric Connection Of Electric Components To Printed Circuits (AREA)

Abstract

Disclosed herein is a printed circuit board, including: an upper circuit layer including connection pads made of a conductive metal and buried in an insulation layer; and metal bumps, each having a constant diameter, which are integrated with the connection pads and protrude over the insulation layer.

Description

CROSS REFERENCE TO RELATED APPLICATION
This application claims the benefit of Korean Patent Application No. 10-2008-0124154, filed Dec. 8, 2008, entitled “a printed circuit board comprising a metal bump and a method of manufacturing the same”, which is hereby incorporated by reference in its entirety into this application.
BACKGROUND OF THE INVENTION
1. Field of the Invention
The present invention relates to a printed circuit board comprising a metal bump and a method of manufacturing the same, and, more particularly, to a printed circuit board comprising metal bumps, the metal bumps having constant diameters and arranged at fine pitches, and a method of manufacturing the same.
2. Description of the Related Art
With the advancement of electronics industry, electronic parts have become highly functionalized, and thus a package (PKG) is required to be miniaturized and highly-densified. Further, an interposer (substrate) for connecting an IC to a main board is also required to be highly-densified. The densification of the package is caused by the increase in the number of I/Os, and methods of connecting the package with the interposer have improved. Currently, as a method of mounting an IC in a high-density package, a wire bonding method and a flip bonding method are used. Among them, the flip bonding method may be used due to the costs required to mount the IC when the number of I/Os is increased.
FIG. 1 is of sectional views showing a conventional process of manufacturing a substrate on which a semiconductor chip is mounted.
First, as shown in FIG. 1A, a carrier 1 formed of a double-sided copper clad laminate is provided, and then, as shown in FIG. 1B, a solder resist 3 is applied on the carrier 1, and then, as shown in FIG. 1C, a dry film 5 is applied on the solder resist 3 and then patterned. Thereafter, as shown in FIG. 1D, electrolytic plating is conducted, and then, as shown in FIG. 1E, the dry film 5 is removed to form connection pads 7. Subsequently, as shown in FIG. 1F, a first insulation layer 9 is formed on the connection pads 7 and the solder resist 3, and then, as shown in FIG. 1G, a first circuit layer 11 is formed.
Thereafter, as shown in FIG. 1H, a build-up layer 13 is additionally formed by repeating the above processes, and then, as shown in FIG. 1I, a solder resist 15 is applied on the build-up layer 13.
Subsequently, as shown in FIG. 1J, the carrier 1 is separated by conducting a routing process, and then, as shown in FIG. 1K, copper foil is etched and removed. Then, as shown in FIG. 1L, the solder resists 3 and 15 are patterned to form openings 17 for exposing the connection pads 7.
Thereafter, as shown in FIG. 1M, solder balls 19 for flip chip bonding are formed in the openings 17. The formation of the solder balls 9 is conducted through a solder paste printing process using screen printing and a reflow process.
However, as described above, the method of forming a bump on a printed circuit board using a printing process is problematic in that large connection pads are required, and thus it is difficult to realize bump arranged at fine pitches of 120 μm or less.
Further, the method of forming a bump on a printed circuit board using a printing process is problematic in that a fine bump is not formed, or its volume is very small even though the fine bump is formed.
Further, in the method, since the connection pads are formed by plating, their thicknesses are different from each other due to plating deviation, and, since solder paste cannot be easily printed in a completely uniform manner even in the solder paste printing process, the heights of solder balls are not uniform, so that there is a problem in that solder balls which are not connected to a semiconductor chip are formed.
Further, in the method, since the stepped portion of the solder resist 15 is large, there is a problem in that voids are formed in an underfill process performed after the mounting of an electronic part.
SUMMARY OF THE INVENTION
Accordingly, the present invention has been made to solve the above conventional problems, and the present invention provides a printed circuit board comprising metal bumps, the metal bumps arranged at fine pitches and uniform diameter and height, and a method of manufacturing the same.
An aspect of the present invention provides a printed circuit board, including: an upper circuit layer including connection pads made of a conductive metal and buried in an insulation layer; and metal bumps, each having a constant diameter, which are integrated with the connection pads and protrude over the insulation layer.
In the printed circuit board, each of the connection pads may have an exposed surface being flush with a surface of the insulation layer.
The insulation layer may be made of a solder resist.
The printed circuit board may further include a connection metal layer formed on the metal bumps.
The printed circuit board may further include a build-up layer including a lower circuit layer disposed beneath the insulation layer.
The lower circuit layer may include lower connection pads, and the printed circuit board may further include a solder resist layer covering the lower circuit layer and having openings for exposing the lower connection pads.
Another aspect of the present invention provides a method of manufacturing a printed circuit board, including: applying a dry film on a carrier and then patterning the dry film to form holes for forming metal bumps; forming an upper circuit layer including metal bumps charged in the holes and connection pads on the dry film; forming an insulation layer on the dry film; forming a build-up layer including a lower circuit layer on the insulation layer; removing the carrier; and removing the dry film.
In the method, the forming of the upper circuit layer may include: forming a seed layer on the holes and the dry film; patterning the seed layer to form openings for forming the upper circuit layer, including openings for forming the connection pads, the openings exposing the holes; plating the openings for forming the upper circuit layer to form the upper circuit layer including the metal bumps and the connection pads; and removing the seed layer.
The method may further include: forming a solder resist layer on the lower circuit layer after the forming of the build-up layer.
In the method, the removing of the carrier may include: separating a metal foil constituting an outer layer of the carrier from the carrier; and removing the metal foil from the dry film.
The method may further include: forming a connection metal layer on bottoms of the holes after the applying of the dry film.
Various objects, advantages and features of the invention will become apparent from the following description of embodiments with reference to the accompanying drawings.
The terms and words used in the present specification and claims should not be interpreted as being limited to typical meanings or dictionary definitions, but should be interpreted as having meanings and concepts relevant to the technical scope of the present invention based on the rule according to which an inventor can appropriately define the concept of the term to describe the best method he or she knows for carrying out the invention.
BRIEF DESCRIPTION OF THE DRAWINGS
The above and other objects, features and advantages of the present invention will be more clearly understood from the following detailed description taken in conjunction with the accompanying drawings, in which:
FIGS. 1A to 1M are sectional views showing a conventional process of manufacturing a substrate on which a semiconductor chip is mounted;
FIGS. 2 to 11 are sectional views showing a method of manufacturing a printed circuit board including a metal bump according to an embodiment of the present invention; and
FIGS. 12 to 22 are sectional views showing a method of manufacturing a printed circuit board including a metal bump according to another embodiment of the present invention.
DESCRIPTION OF THE PREFERRED EMBODIMENTS
Hereinafter, preferred embodiments of the present invention will be described in detail with reference to the attached drawings.
Throughout the accompanying drawings, the same reference numerals are used to designate the same or similar components, and redundant descriptions thereof are omitted. In the following description, the terms “upper”, “lower” and the like are used to differentiate a certain component from other components, but the configuration of such components should not be construed to be limited by the terms.
FIG. 11 is a sectional view showing a printed circuit board including a metal bump according to an embodiment of the present invention. As shown in FIG. 11, the printed circuit board according to an embodiment of the present invention includes an upper circuit layer 600 including connection pads 630 buried in an insulation layer 700 and made of a conductive metal; and metal bumps 500, having constant diameters, which are integrated with the connection pads 630 and protrude over the insulation layer 700.
The insulation layer 700 may be a solder resist layer, and may be made of a composite polymer resin which is generally used as an interlayer insulation material. For example, the insulation layer 700 may be made of prepreg, or an epoxy resin such as FR-4, BT (Bismaleimide Triazine), ABF (Ajinomoto Build up Film) or the like, but the present invention is not limited thereto.
The metal bumps 500 protrude over the insulation layer 700, and function to electrically connect an electronic part to be mounted in the printed circuit board later with wires formed in the printed circuit board. The metal bumps 500 are integrated with the connection pads 630 buried in the insulation layer 700, and are made of the same material as the connection pads 630. Therefore, the metal bumps 500 are not completely distinct from the connection pad 630, but the metal bumps 500 have diameters smaller than those of the connection pads 630 and protrude over the insulation layer 700. In this embodiment, each of the metal bumps 500 has a post shape in which its upper diameter is the same as its lower diameter. Here, the meaning that the metal bump 500 has a constant diameter does not mean that the upper and lower diameters of the metal bump 500 are mathematically exactly equal to each other but means that a slight change in diameter of the metal bump 500 due to the errors occurring in a substrate manufacturing process is allowed.
In this case, a connection metal layer 410 may further be formed on the metal bumps 500. The connection metal layer 410 may be made of a conductive metal such as tin (Sn), an alloy of tin (Sn) and silver (Ag) or the like.
The upper circuit layer is buried in the insulation layer 700, and includes the connection pads 630 integrated with the metal bumps 500. In this embodiment, the connection pads 630 are buried in the insulation layer 700, but they have exposed surfaces which are exposed to the outside of the insulation layer 700. Here, the exposed surfaces are surfaces of the connection pads 630 which are not covered by the insulation layer 700, and are not surfaces which are exposed to the outside of another insulation layer or a solder resist layer which can be formed on the insulation layer 700. In this embodiment, the exposed surfaces of the connection pads 630 are flush with the surface of the insulation layer 700. The connection pads may be made of a conductive metal such as gold, silver, copper, nickel or the like.
Meanwhile, in this embodiment, only the upper structure of the printed circuit board, which is a characteristic structure of the present invention, is described, but the printed circuit board according to the embodiment of the present invention further includes a build-up layer 800 which is disposed beneath the insulation layer 700 and includes a lower circuit layer 830 electrically connected to the upper circuit layer 600. The build-up layer 800 may further include an inner circuit layer 810 (refer to FIG. 7) formed between the upper circuit layer 600 and the lower circuit layer 830. In this embodiment, only a single inner circuit layer 810 is exemplified, but the number of inner circuit layers 810 is not limited thereto. It is easily understood by those skilled in the art that, if necessary, the number of the inner circuit layers 810 can be controlled.
In this case, the lower circuit layer 830 may include lower connection pads, and may further include a solder resist layer 850 covering the lower circuit layer 830 and having openings 855 for exposing the lower connection pads.
According to the above printed circuit board, since the printed circuit board includes the post-shaped metal bumps 500 having excellent electric conductivity, the printed circuit board can be easily connected electrically to an electronic part mounted therein.
Further, the above printed circuit board is advantageous in that the printed circuit board includes metal bumps 500 arranged at fine pitches because the metal bumps 500 have constant diameters, the lower diameters of which are not larger than the upper diameters thereof.
Furthermore, the above printed circuit board is advantageous in that voids are not formed in an underfill process because the height of the insulation layer is the same as the height of the connection pads and thus a stepped portion is not formed therebetween.
FIGS. 2 to 11 are sectional views showing a method of manufacturing a printed circuit board including a metal bump according to an embodiment of the present invention. Hereinafter, the method of manufacturing a printed circuit board including a metal bump according to an embodiment of the present invention will be described with reference to FIGS. 2 to 11.
First, a process of applying a dry film 310 on a carrier 100 and then patterning the dry film 310 to form holes 315 for forming metal bumps 500 will be described. In this embodiment, for example, a process of placing a printed circuit board on one side of the carrier 100 is described, but a process of placing a printed circuit board on both sides of the carrier 100 may be conducted.
As shown in FIG. 2, in order to prevent a printed circuit board from warping during processing, a carrier 100, functioning as a support, is provided. For example, the carrier 100 has a structure in which insulation material layers 150 and release layers 170 are sequentially formed on both sides of a double-sided copper clad laminate in which copper foil layers 130 are formed on both sides of an insulation resin layer 110.
In this case, in order to increase the strength of the double-sided copper clad laminate, the insulation resin layer 110 contains a glass material, and may have a thickness of about 100˜800 μm.
Further, the release layer 170 has a length and an area smaller than those of the copper foil layer 130, and may be formed on the insulation material layer 150, but not on the lateral sides of the copper foil layer 130. The release layer serves to easily separate metal foil 190 from the carrier 100 in the latter half of a process of manufacturing a printed circuit board. Meanwhile, the release layer 170 may be formed by applying a releasing material on the insulation material layer 150 in the form of thin film or sputtering the releasing material on the insulation material layer 150. The metal foil 190, which is bound by a portion of the insulation material layer 150 on which the release layer 170 is not formed, is applied on the carrier 100. The metal foil 190 may be made of a conductive metal such as copper (Cu), gold (Au), silver (Ag) or the like. In this embodiment, copper foil is used as the metal foil 190.
Thereafter, as shown in FIG. 3, a dry film 310 is applied on the carrier 100 and then patterned to form holes 315 for forming metal bumps 500. As the dry film 310, a photosensitive dry-film may be used. The patterning of the dry film 310 may be performed by selectively exposing and curing the applied dry film 310 using a mask (not shown) having light shielding patterns and then removing the uncured portion of the dry film 310.
Subsequently, as shown in FIG. 4, a connection metal layer 410 is formed on the bottoms of the holes 315. The formation of the connection metal layer 410 may be optional. The connection metal layer 410 may be formed using the metal foil 190 as a lead wire by electrolytic plating. The connection metal layer 410 serves to protect the upper ends of the metal bumps 500 to be connected to an electronic part later and serve to smoothly perform the electrical connection of the electronic part and the metal bumps 500. The connection metal layer 410 may be made of a conductive metal such as tin (Sn), an alloy of tin (Sn) and silver (Ag) or the like. The connection metal layer 410 may be made of a metal which causes the copper foil formed on the carrier 100 to be selectively etched with respect to the connection metal layer 410.
Next, as shown in FIG. 5, a process of forming an upper circuit layer 600 including metal bumps 500 charged in the holes 315 and connection pads 630 on the dry film 310 will be described. First, a seed layer (not shown) is formed on the dry film 310 and the inner surfaces of the holes. Subsequently, a plating resist (not shown) made of a photosensitive material is placed on the seed layer, and then the seed layer is patterned to form openings for forming the upper circuit layer 600, including openings for forming the connection pads 630, these openings exposing the holes 315. Subsequently, the upper circuit layer 600 including metal bumps 500 charged in the holes 315 and the connection pads 630 can be formed by electroplating the openings through a general SAP process. Then, the exposed portion of the seed layer is removed by flash etching or quick etching. In this case, the upper circuit layer may selectively include circuit patterns 610. It can be easily understood that whether or not the circuit patterns 610 are formed can be determined by the patterning type of the plating resist.
In this case, the diameters of the holes formed by patterning the dry film 310 through exposure and development are constant. For this reason, it is possible to form the metal bumps 500 having a constant diameter, that is, having a post shape, lateral sides of which are not tapered. Here, the meaning that the metal bump 500 has a constant diameter does not mean that the upper and lower diameters of the metal bump 500 are mathematically exactly equal to each other but means that a slight change in diameters of the metal bumps 500 due to the errors occurring in a substrate manufacturing process is allowed. Further, it can be understood that the metal bumps 500 may be formed to have a height corresponding to the thickness of the dry film 310.
Next, as shown in FIG. 6, a process of forming an insulation layer 700 on the dry film 310 will be described. The insulation layer 700 may be a solder resist layer, and may be made of a composite polymer resin which is generally used as an interlayer insulation material. For example, the insulation layer 700 may be made of prepreg, or an epoxy resin such as FR-4, BT (Bismaleimide Triazine), ABF (Ajinomoto Build up Film) or the like, but the present invention is not limited thereto.
Next, as shown in FIGS. 7 and 8, a process of forming a build-up layer 800 including a lower circuit layer 830 on the insulation layer 700 will be described. In this process, via holes are formed in the insulation layer 700 using a YAG laser drill or a CO2 laser drill, and then an inner circuit layer 810 is formed through a semi-additive process, and then the lower circuit layer 830 is formed by repeating the above processes. In this embodiment, a process of forming a build-up layer including one inner circuit layer is exemplified, but the present invention is not limited thereto. The number of the inner circuit layers 810 is not limited, and the inner circuit layer 810 may not exist. When the lower circuit layer 830 is completed, a solder resist layer 850 for covering the lower circuit layer 830 is formed on the lower circuit layer 830.
Next, as shown in FIG. 9, a process of removing the carrier 100 will be described. In this process, the lateral portions of the carrier 100 and the printed circuit board placed on the carrier 100 may be cut through a routing process, and the metal foil 190 constituting an outer layer of the carrier 100 may be separated from the carrier 100. Here, the routing process is a process of performing mechanical cutting using a routing bit. In the routing process, the lateral portions of the carrier 100 and the printed circuit board are cut and removed, and thus the insulation material layer 150 binding the metal foil 190 applied on the carrier 100 is also removed, thereby separating the metal foil 190 and the printed circuit board from the carrier 100. Then, the metal foil is removed from the dry film 310 through an etching process.
Subsequently, as shown in FIG. 10, openings 855 for exposing lower connection pads formed in the lower circuit layer 830 are formed in the solder resist layer 850.
Subsequently, as shown in FIG. 11, the dry film 310 is removed using a stripping agent.
Thereafter, a surface protection layer may be formed on the exposed surfaces of the metal bumps 500 and the connection pads 630. For example, the surface protection layer can be formed by performing an OSP process or by performing a nickel or gold plating process.
According to the above process of manufacturing a printed circuit board, since the dry film 310 is formed on the carrier 100 and then metal bumps are formed, a printed circuit board including post-shaped metal bumps having constant heights and excellent electric conductivity can be manufactured.
Further, according to the above process of manufacturing a printed circuit board, since the metal bumps 500 are formed by charging a metal into the holes 315 having constant diameters and formed in the dry film 310 through a plating process, metal bumps having constant diameters can be formed, and thus metal bumps arranged at fine pitches can also be formed.
FIGS. 12 to 22 are sectional views showing a method of manufacturing a printed circuit board including a metal bump according to another embodiment of the present invention. Hereinafter, the method of manufacturing a printed circuit board including a metal bump according to another embodiment of the present invention will be described with reference to FIGS. 12 to 22. Here, parts of the description overlapping with the above embodiment are omitted.
First, as shown in FIG. 12, a carrier 100 coated with metal foil 190 is provided.
Subsequently, as shown in FIG. 13, a metal layer 330 including holes 335 for forming metal bumps 500 is formed on the metal foil 190. The metal layer 330 may be formed by forming a photosensitive plating resist layer (not shown) on the metal foil 190 and patterning the photosensitive plating resist layer using the metal foil 190 as a lead wire through electrolytic plating. The metal layer 330 may be made of a conductive metal. In this embodiment, the metal layer 330 is made of copper (Cu).
Subsequently, as shown in FIG. 14, a barrier layer 430, serving as an etching inhibiting layer, is formed on the metal layer 330 and the inner surfaces of the holes. The barrier layer 430 may be formed by electroless plating or electrolytic plating. In this case, the barrier layer 430 may be made of a metal which has selective etchability with respect to the metal layer 330 and the metal bumps 500 and upper circuit layer 600 to be formed later. In this embodiment, the barrier layer 430 is made of nickel (Ni).
Subsequently, as shown in FIG. 15, metal bumps 500 are formed in the holes 335 and an upper circuit layer 600 is formed on the barrier layer 430, and then, as shown in FIG. 16, an insulation layer 700 is formed on the upper circuit layer 600.
Subsequently, as shown in FIGS. 17 and 18, an inner circuit layer 810 and a lower circuit layer 830 are sequentially formed on the insulation layer 700, and then a solder resist layer 850 is formed on the lower circuit layer 830.
Subsequently, as shown in FIG. 19, the metal foil 190 is separated from the carrier 190 and then removed.
Subsequently, as shown in FIG. 20, openings 855 for exposing lower connection pads formed in the lower circuit layer 830 are formed in the solder resist layer 850.
Subsequently, as shown in FIG. 21, the metal layer 330 is etched and thus removed, and then, as shown in FIG. 22, the barrier layer 430 is removed. The barrier layer 430 may be removed using a nickel selective etchant. The barrier layer 430 and the upper circuit layer 600 may be made of metals, one of which has a selective etchability with respect to the other. The barrier layer 430 can be removed without damaging the upper circuit layer 600.
As described above, the printed circuit board according to the present invention is advantageous in that the printed circuit board can be easily connected electrically to an electronic part mounted therein because the printed circuit board includes post-shaped metal bumps having excellent electric conductivity. Further, the printed circuit board according to the present invention is advantageous in that the printed circuit board includes metal bumps arranged at fine pitches because the metal bumps have constant diameters, the lower diameters of which are not larger than the upper diameters thereof.
According to the process of manufacturing a printed circuit board according to the present invention, since a dry film is formed on a carrier and then metal bumps are formed, a printed circuit board including post-shaped metal bumps having constant heights and excellent electrical conductivity can be manufactured.
Further, according to the process of manufacturing a printed circuit board of the present invention, since metal bumps 500 are formed by charging a metal into holes having constant diameters and formed in a dry film through a plating process, metal bumps having constant diameters can be formed, and thus metal bumps arranged at fine pitches can also be formed.
Although the preferred embodiments of the present invention have been disclosed for illustrative purposes, those skilled in the art will appreciate that various modifications, additions and substitutions are possible, without departing from the scope and spirit of the invention as disclosed in the accompanying claims.

Claims (5)

1. A printed circuit board, comprising:
an upper circuit layer including connection pads made of a conductive metal and buried in an insulation layer, wherein each of the connection pads has an exposed surface being flush with a surface of the insulation layer; and
metal bumps, each having a constant diameter, which are integrated with the connection pads and protrude over the insulation layer.
2. The printed circuit board according to claim 1, wherein the insulation layer is made of a solder resist.
3. The printed circuit board according to claim 1, further comprising:
a connection metal layer formed on the metal bumps.
4. The printed circuit board according to claim 1, further comprising:
a build-up layer including a lower circuit layer disposed beneath the insulation layer.
5. The printed circuit board according to claim 4, wherein the lower circuit layer includes lower connection pads, and
wherein the printed circuit board further comprises a solder resist layer covering the lower circuit layer and having openings for exposing the lower connection pads.
US12/382,360 2008-12-08 2009-03-13 Printed circuit board comprising metal bumps integrated with connection pads Active 2030-05-23 US8207450B2 (en)

Priority Applications (1)

Application Number Priority Date Filing Date Title
US13/477,407 US9021693B2 (en) 2008-12-08 2012-05-22 Method of manufacturing printed circuit board with metal bump

Applications Claiming Priority (2)

Application Number Priority Date Filing Date Title
KR10-2008-0124154 2008-12-08
KR1020080124154A KR20100065691A (en) 2008-12-08 2008-12-08 A printed circuit board comprising a metal bump and a method of manufacturing the same

Related Child Applications (1)

Application Number Title Priority Date Filing Date
US13/477,407 Division US9021693B2 (en) 2008-12-08 2012-05-22 Method of manufacturing printed circuit board with metal bump

Publications (2)

Publication Number Publication Date
US20100139964A1 US20100139964A1 (en) 2010-06-10
US8207450B2 true US8207450B2 (en) 2012-06-26

Family

ID=42229812

Family Applications (2)

Application Number Title Priority Date Filing Date
US12/382,360 Active 2030-05-23 US8207450B2 (en) 2008-12-08 2009-03-13 Printed circuit board comprising metal bumps integrated with connection pads
US13/477,407 Active 2030-04-30 US9021693B2 (en) 2008-12-08 2012-05-22 Method of manufacturing printed circuit board with metal bump

Family Applications After (1)

Application Number Title Priority Date Filing Date
US13/477,407 Active 2030-04-30 US9021693B2 (en) 2008-12-08 2012-05-22 Method of manufacturing printed circuit board with metal bump

Country Status (3)

Country Link
US (2) US8207450B2 (en)
JP (1) JP2010135721A (en)
KR (1) KR20100065691A (en)

Cited By (8)

* Cited by examiner, † Cited by third party
Publication number Priority date Publication date Assignee Title
US20110155438A1 (en) * 2009-12-28 2011-06-30 Ngk Spark Plug Co., Ltd. Multilayer Wiring Substrate
US20110163064A1 (en) * 2010-01-07 2011-07-07 Jae Joon Lee Carrier for manufacturing printed circuit board, method of manufacturing the same and method of manufacturing printed circuit board using the same
US20110303442A1 (en) * 2010-06-11 2011-12-15 Unimicron Technology Corp. Substrate strip with wiring and method of manufacturing the same
US20120231155A1 (en) * 2008-12-08 2012-09-13 Samsung Electro-Mechanics Co., Ltd. Method of manufacturing printed circuit board with metal bump
US20130092422A1 (en) * 2011-10-12 2013-04-18 Subtron Technology Co., Ltd. Circuit board structure and manufacturing method thereof
US9210816B1 (en) * 2013-12-18 2015-12-08 Stats Chippac Ltd. Method of manufacture of support system with fine pitch
US9693455B1 (en) 2014-03-27 2017-06-27 STATS ChipPAC Pte. Ltd. Integrated circuit packaging system with plated copper posts and method of manufacture thereof
US12107063B2 (en) 2020-07-15 2024-10-01 Samsung Electronics Co., Ltd. Semiconductor package device

Families Citing this family (18)

* Cited by examiner, † Cited by third party
Publication number Priority date Publication date Assignee Title
KR101095211B1 (en) * 2008-12-17 2011-12-16 삼성전기주식회사 Carrier member for substrate manufacturing and substrate manufacturing method using same
JP5147779B2 (en) 2009-04-16 2013-02-20 新光電気工業株式会社 Wiring board manufacturing method and semiconductor package manufacturing method
KR101133219B1 (en) * 2010-07-06 2012-04-05 엘지이노텍 주식회사 Printed circuit board and Manufacturing method Using the same
JP2012186270A (en) * 2011-03-04 2012-09-27 Toppan Printing Co Ltd Manufacturing method of semiconductor package
JP5422718B2 (en) * 2012-10-04 2014-02-19 新光電気工業株式会社 Wiring board and semiconductor package
KR101422524B1 (en) * 2012-12-24 2014-07-24 주식회사 심텍 PCB having fine pitch connection and method of manufacturing the same
US9642261B2 (en) * 2014-01-24 2017-05-02 Zhuhai Advanced Chip Carriers & Electronic Substrate Solutions Technologies Co. Ltd. Composite electronic structure with partially exposed and protruding copper termination posts
US9679841B2 (en) * 2014-05-13 2017-06-13 Qualcomm Incorporated Substrate and method of forming the same
TWI581386B (en) * 2014-06-16 2017-05-01 恆勁科技股份有限公司 Package apparatus and manufacturing method thereof
KR102240704B1 (en) * 2014-07-15 2021-04-15 삼성전기주식회사 Package board, method of manufacturing the same and stack type package using the therof
KR101720516B1 (en) * 2015-04-30 2017-04-03 주식회사 심텍 method of fabricating PCB substrate having copper bump
KR102333092B1 (en) * 2015-07-15 2021-12-01 삼성전기주식회사 Circuit board and manufacturing method of the same
CN106550554B (en) * 2015-09-17 2020-08-25 奥特斯(中国)有限公司 Protective structure for manufacturing a component carrier with a dummy core and two sheets of different materials thereon
JP2017084997A (en) * 2015-10-29 2017-05-18 イビデン株式会社 Printed wiring board and method of manufacturing the same
US11758654B2 (en) 2018-04-09 2023-09-12 Bitmain Development Pte. Ltd. Circuit substrate, chip, series circuit, circuit board and electronic device
CN113948478B (en) * 2020-07-15 2025-02-11 欣兴电子股份有限公司 Packaging substrate and manufacturing method thereof
US20230070275A1 (en) * 2021-09-09 2023-03-09 Qualcomm Incorporated Package comprising a substrate with a pad interconnect comprising a protrusion
CN115050658B (en) * 2022-04-25 2025-05-30 厦门通富微电子有限公司 Chip-on-film packaging method and chip-on-film

Citations (7)

* Cited by examiner, † Cited by third party
Publication number Priority date Publication date Assignee Title
US3594493A (en) * 1968-10-02 1971-07-20 Elliott Bros Printed circuit assemblies and method
KR100704919B1 (en) 2005-10-14 2007-04-09 삼성전기주식회사 Substrate without core layer and its manufacturing method
US7222421B2 (en) * 2004-01-19 2007-05-29 Shinko Electric Industries Co., Ltd. Circuit substrate manufacturing method
JP2007165513A (en) 2005-12-13 2007-06-28 Shinko Electric Ind Co Ltd Manufacturing method of multilayer wiring board for semiconductor device and manufacturing method of semiconductor device
US7594317B2 (en) * 2005-12-07 2009-09-29 Shinko Electric Industries Co., Ltd. Method of manufacturing wiring substrate and method of manufacturing electronic component mounting structure
US7696613B2 (en) * 2005-09-07 2010-04-13 Shinko Electric Industries Co., Ltd. Multilayered wiring substrate including wiring layers and insulating layers and method of manufacturing the same
US20100147559A1 (en) * 2008-12-17 2010-06-17 Samsung Electro-Mechanics Co., Ltd. Carrier used in the manufacture of substrate and method of manufacturing substrate using the carrier

Family Cites Families (2)

* Cited by examiner, † Cited by third party
Publication number Priority date Publication date Assignee Title
KR100956688B1 (en) * 2008-05-13 2010-05-10 삼성전기주식회사 Printed circuit board and manufacturing method thereof
KR20100065691A (en) * 2008-12-08 2010-06-17 삼성전기주식회사 A printed circuit board comprising a metal bump and a method of manufacturing the same

Patent Citations (8)

* Cited by examiner, † Cited by third party
Publication number Priority date Publication date Assignee Title
US3594493A (en) * 1968-10-02 1971-07-20 Elliott Bros Printed circuit assemblies and method
US7222421B2 (en) * 2004-01-19 2007-05-29 Shinko Electric Industries Co., Ltd. Circuit substrate manufacturing method
US7716826B2 (en) * 2004-01-19 2010-05-18 Shinko Electric Industries Co., Ltd. Circuit substrate manufacturing method
US7696613B2 (en) * 2005-09-07 2010-04-13 Shinko Electric Industries Co., Ltd. Multilayered wiring substrate including wiring layers and insulating layers and method of manufacturing the same
KR100704919B1 (en) 2005-10-14 2007-04-09 삼성전기주식회사 Substrate without core layer and its manufacturing method
US7594317B2 (en) * 2005-12-07 2009-09-29 Shinko Electric Industries Co., Ltd. Method of manufacturing wiring substrate and method of manufacturing electronic component mounting structure
JP2007165513A (en) 2005-12-13 2007-06-28 Shinko Electric Ind Co Ltd Manufacturing method of multilayer wiring board for semiconductor device and manufacturing method of semiconductor device
US20100147559A1 (en) * 2008-12-17 2010-06-17 Samsung Electro-Mechanics Co., Ltd. Carrier used in the manufacture of substrate and method of manufacturing substrate using the carrier

Cited By (13)

* Cited by examiner, † Cited by third party
Publication number Priority date Publication date Assignee Title
US20120231155A1 (en) * 2008-12-08 2012-09-13 Samsung Electro-Mechanics Co., Ltd. Method of manufacturing printed circuit board with metal bump
US9021693B2 (en) * 2008-12-08 2015-05-05 Samsung Electro-Mechanics Co., Ltd. Method of manufacturing printed circuit board with metal bump
US20110155438A1 (en) * 2009-12-28 2011-06-30 Ngk Spark Plug Co., Ltd. Multilayer Wiring Substrate
US8883016B2 (en) 2010-01-07 2014-11-11 Samsung Electro-Mechanics Co., Ltd. Carrier for manufacturing printed circuit board, method of manufacturing the same and method of manufacturing printed circuit board using the same
US8563141B2 (en) * 2010-01-07 2013-10-22 Samsung Electro-Mechanics Co., Ltd. Carrier for manufacturing printed circuit board, method of manufacturing the same and method of manufacturing printed circuit board using the same
US20110163064A1 (en) * 2010-01-07 2011-07-07 Jae Joon Lee Carrier for manufacturing printed circuit board, method of manufacturing the same and method of manufacturing printed circuit board using the same
US20110303442A1 (en) * 2010-06-11 2011-12-15 Unimicron Technology Corp. Substrate strip with wiring and method of manufacturing the same
US9380706B2 (en) * 2010-06-11 2016-06-28 Unimicron Technology Corp. Method of manufacturing a substrate strip with wiring
US20130092422A1 (en) * 2011-10-12 2013-04-18 Subtron Technology Co., Ltd. Circuit board structure and manufacturing method thereof
US8991043B2 (en) * 2011-10-12 2015-03-31 Subtron Technology Co., Ltd. Manufacturing method of a circuit board structure
US9210816B1 (en) * 2013-12-18 2015-12-08 Stats Chippac Ltd. Method of manufacture of support system with fine pitch
US9693455B1 (en) 2014-03-27 2017-06-27 STATS ChipPAC Pte. Ltd. Integrated circuit packaging system with plated copper posts and method of manufacture thereof
US12107063B2 (en) 2020-07-15 2024-10-01 Samsung Electronics Co., Ltd. Semiconductor package device

Also Published As

Publication number Publication date
US9021693B2 (en) 2015-05-05
US20100139964A1 (en) 2010-06-10
KR20100065691A (en) 2010-06-17
JP2010135721A (en) 2010-06-17
US20120231155A1 (en) 2012-09-13

Similar Documents

Publication Publication Date Title
US8207450B2 (en) Printed circuit board comprising metal bumps integrated with connection pads
US20100139969A1 (en) Printed circuit board comprising metal bump and method of manufacturing the same
JP6711509B2 (en) Printed circuit board, semiconductor package and manufacturing method thereof
KR101006619B1 (en) Printed Circuit Board with Round Solder Bump and Manufacturing Method Thereof
US8464423B2 (en) Method of manufacturing a printed circuit board having metal bumps
US8209860B2 (en) Method of manufacturing printed circuit board having metal bump
KR20130057314A (en) Printed circuit board and method of manufacturing a printed circuit board
US20160143137A1 (en) Printed circuit board and method of manufacturing the same, and electronic component module
US11923282B2 (en) Wiring substrate
JP2013070009A (en) Printed circuit board and method for manufacturing the same
KR101300413B1 (en) Printed circuit board for Semiconductor package and method for the same
KR102422884B1 (en) Printed circuit board and the method thereof
JP5599860B2 (en) Manufacturing method of semiconductor package substrate
KR101501902B1 (en) Printed circuit board substrate having metal post and the method of manufacturing the same
KR102333097B1 (en) Printed circuit board and method of manufacturing the same, and electronic component module
KR100951574B1 (en) Solder Forming Method for Coreless Package Substrate
KR20090065609A (en) Solder Forming Method for Flip Chip Mounting
TW201507562A (en) Printed circuit board and method for manufacturing same
KR20100099092A (en) A printed circuit board comprising a round solder bump

Legal Events

Date Code Title Description
AS Assignment

Owner name: SAMSUNG ELECTRO-MECHANICS CO., LTD.,KOREA, REPUBLI

Free format text: ASSIGNMENT OF ASSIGNORS INTEREST;ASSIGNORS:AN, JIN YONG;LEE, JAE JOON;REEL/FRAME:022439/0482

Effective date: 20090105

Owner name: SAMSUNG ELECTRO-MECHANICS CO., LTD., KOREA, REPUBL

Free format text: ASSIGNMENT OF ASSIGNORS INTEREST;ASSIGNORS:AN, JIN YONG;LEE, JAE JOON;REEL/FRAME:022439/0482

Effective date: 20090105

FEPP Fee payment procedure

Free format text: PAYOR NUMBER ASSIGNED (ORIGINAL EVENT CODE: ASPN); ENTITY STATUS OF PATENT OWNER: LARGE ENTITY

STCF Information on status: patent grant

Free format text: PATENTED CASE

FPAY Fee payment

Year of fee payment: 4

MAFP Maintenance fee payment

Free format text: PAYMENT OF MAINTENANCE FEE, 8TH YEAR, LARGE ENTITY (ORIGINAL EVENT CODE: M1552); ENTITY STATUS OF PATENT OWNER: LARGE ENTITY

Year of fee payment: 8

MAFP Maintenance fee payment

Free format text: PAYMENT OF MAINTENANCE FEE, 12TH YEAR, LARGE ENTITY (ORIGINAL EVENT CODE: M1553); ENTITY STATUS OF PATENT OWNER: LARGE ENTITY

Year of fee payment: 12