US7005347B1 - Structures of and methods of fabricating trench-gated MIS devices - Google Patents

Structures of and methods of fabricating trench-gated MIS devices Download PDF

Info

Publication number
US7005347B1
US7005347B1 US10/832,776 US83277604A US7005347B1 US 7005347 B1 US7005347 B1 US 7005347B1 US 83277604 A US83277604 A US 83277604A US 7005347 B1 US7005347 B1 US 7005347B1
Authority
US
United States
Prior art keywords
mask
trench
layer
contact
aperture
Prior art date
Legal status (The legal status is an assumption and is not a legal conclusion. Google has not performed a legal analysis and makes no representation as to the accuracy of the status listed.)
Expired - Lifetime
Application number
US10/832,776
Inventor
Anup Bhalla
Dorman Pitzer
Jacek Korec
Xiaorong Shi
Sik Lui
Current Assignee (The listed assignees may be inaccurate. Google has not performed a legal analysis and makes no representation or warranty as to the accuracy of the list.)
Vishay Siliconix Inc
Original Assignee
Vishay Siliconix Inc
Priority date (The priority date is an assumption and is not a legal conclusion. Google has not performed a legal analysis and makes no representation as to the accuracy of the date listed.)
Filing date
Publication date
Application filed by Vishay Siliconix Inc filed Critical Vishay Siliconix Inc
Priority to US10/832,776 priority Critical patent/US7005347B1/en
Application granted granted Critical
Publication of US7005347B1 publication Critical patent/US7005347B1/en
Assigned to JPMORGAN CHASE BANK, N.A., AS ADMINISTRATIVE AGENT reassignment JPMORGAN CHASE BANK, N.A., AS ADMINISTRATIVE AGENT SECURITY AGREEMENT Assignors: SILICONIX INCORPORATED, VISHAY DALE ELECTRONICS, INC., VISHAY INTERTECHNOLOGY, INC., VISHAY SPRAGUE, INC.
Assigned to JPMORGAN CHASE BANK, N.A., AS ADMINISTRATIVE AGENT reassignment JPMORGAN CHASE BANK, N.A., AS ADMINISTRATIVE AGENT SECURITY INTEREST (SEE DOCUMENT FOR DETAILS). Assignors: DALE ELECTRONICS, INC., SILICONIX INCORPORATED, SPRAGUE ELECTRIC COMPANY, VISHAY DALE ELECTRONICS, INC., VISHAY DALE ELECTRONICS, LLC, VISHAY EFI, INC., VISHAY GENERAL SEMICONDUCTOR, INC., VISHAY INTERTECHNOLOGY, INC., VISHAY SPRAGUE, INC., VISHAY-DALE, INC., VISHAY-SILICONIX, VISHAY-SILICONIX, INC.
Assigned to VISHAY INTERTECHNOLOGY, INC., VISHAY SPRAGUE, INC., SPRAGUE ELECTRIC COMPANY, VISHAY TECHNO COMPONENTS, LLC, VISHAY VITRAMON, INC., VISHAY EFI, INC., DALE ELECTRONICS, INC., VISHAY DALE ELECTRONICS, INC., SILICONIX INCORPORATED reassignment VISHAY INTERTECHNOLOGY, INC. RELEASE BY SECURED PARTY (SEE DOCUMENT FOR DETAILS). Assignors: JPMORGAN CHASE BANK, N.A., AS ADMINISTRATIVE AGENT
Anticipated expiration legal-status Critical
Expired - Lifetime legal-status Critical Current

Links

Images

Classifications

    • HELECTRICITY
    • H10SEMICONDUCTOR DEVICES; ELECTRIC SOLID-STATE DEVICES NOT OTHERWISE PROVIDED FOR
    • H10DINORGANIC ELECTRIC SEMICONDUCTOR DEVICES
    • H10D30/00Field-effect transistors [FET]
    • H10D30/60Insulated-gate field-effect transistors [IGFET]
    • H10D30/64Double-diffused metal-oxide semiconductor [DMOS] FETs
    • H10D30/66Vertical DMOS [VDMOS] FETs
    • H10D30/668Vertical DMOS [VDMOS] FETs having trench gate electrodes, e.g. UMOS transistors
    • HELECTRICITY
    • H10SEMICONDUCTOR DEVICES; ELECTRIC SOLID-STATE DEVICES NOT OTHERWISE PROVIDED FOR
    • H10DINORGANIC ELECTRIC SEMICONDUCTOR DEVICES
    • H10D30/00Field-effect transistors [FET]
    • H10D30/01Manufacture or treatment
    • H10D30/021Manufacture or treatment of FETs having insulated gates [IGFET]
    • H10D30/028Manufacture or treatment of FETs having insulated gates [IGFET] of double-diffused metal oxide semiconductor [DMOS] FETs
    • H10D30/0291Manufacture or treatment of FETs having insulated gates [IGFET] of double-diffused metal oxide semiconductor [DMOS] FETs of vertical DMOS [VDMOS] FETs
    • H10D30/0297Manufacture or treatment of FETs having insulated gates [IGFET] of double-diffused metal oxide semiconductor [DMOS] FETs of vertical DMOS [VDMOS] FETs using recessing of the gate electrodes, e.g. to form trench gate electrodes
    • HELECTRICITY
    • H10SEMICONDUCTOR DEVICES; ELECTRIC SOLID-STATE DEVICES NOT OTHERWISE PROVIDED FOR
    • H10DINORGANIC ELECTRIC SEMICONDUCTOR DEVICES
    • H10D30/00Field-effect transistors [FET]
    • H10D30/60Insulated-gate field-effect transistors [IGFET]
    • H10D30/64Double-diffused metal-oxide semiconductor [DMOS] FETs
    • H10D30/66Vertical DMOS [VDMOS] FETs
    • H10D30/665Vertical DMOS [VDMOS] FETs having edge termination structures
    • HELECTRICITY
    • H10SEMICONDUCTOR DEVICES; ELECTRIC SOLID-STATE DEVICES NOT OTHERWISE PROVIDED FOR
    • H10DINORGANIC ELECTRIC SEMICONDUCTOR DEVICES
    • H10D64/00Electrodes of devices having potential barriers
    • H10D64/20Electrodes characterised by their shapes, relative sizes or dispositions 
    • H10D64/27Electrodes not carrying the current to be rectified, amplified, oscillated or switched, e.g. gates
    • H10D64/311Gate electrodes for field-effect devices
    • H10D64/411Gate electrodes for field-effect devices for FETs
    • H10D64/511Gate electrodes for field-effect devices for FETs for IGFETs
    • H10D64/512Disposition of the gate electrodes, e.g. buried gates
    • H10D64/513Disposition of the gate electrodes, e.g. buried gates within recesses in the substrate, e.g. trench gates, groove gates or buried gates
    • HELECTRICITY
    • H10SEMICONDUCTOR DEVICES; ELECTRIC SOLID-STATE DEVICES NOT OTHERWISE PROVIDED FOR
    • H10DINORGANIC ELECTRIC SEMICONDUCTOR DEVICES
    • H10D64/00Electrodes of devices having potential barriers
    • H10D64/20Electrodes characterised by their shapes, relative sizes or dispositions 
    • H10D64/27Electrodes not carrying the current to be rectified, amplified, oscillated or switched, e.g. gates
    • H10D64/311Gate electrodes for field-effect devices
    • H10D64/411Gate electrodes for field-effect devices for FETs
    • H10D64/511Gate electrodes for field-effect devices for FETs for IGFETs
    • H10D64/517Gate electrodes for field-effect devices for FETs for IGFETs characterised by the conducting layers
    • HELECTRICITY
    • H10SEMICONDUCTOR DEVICES; ELECTRIC SOLID-STATE DEVICES NOT OTHERWISE PROVIDED FOR
    • H10DINORGANIC ELECTRIC SEMICONDUCTOR DEVICES
    • H10D64/00Electrodes of devices having potential barriers
    • H10D64/20Electrodes characterised by their shapes, relative sizes or dispositions 
    • H10D64/27Electrodes not carrying the current to be rectified, amplified, oscillated or switched, e.g. gates
    • H10D64/311Gate electrodes for field-effect devices
    • H10D64/411Gate electrodes for field-effect devices for FETs
    • H10D64/511Gate electrodes for field-effect devices for FETs for IGFETs
    • H10D64/517Gate electrodes for field-effect devices for FETs for IGFETs characterised by the conducting layers
    • H10D64/519Gate electrodes for field-effect devices for FETs for IGFETs characterised by the conducting layers characterised by their top-view geometrical layouts
    • HELECTRICITY
    • H10SEMICONDUCTOR DEVICES; ELECTRIC SOLID-STATE DEVICES NOT OTHERWISE PROVIDED FOR
    • H10DINORGANIC ELECTRIC SEMICONDUCTOR DEVICES
    • H10D84/00Integrated devices formed in or on semiconductor substrates that comprise only semiconducting layers, e.g. on Si wafers or on GaAs-on-Si wafers
    • H10D84/01Manufacture or treatment
    • H10D84/0123Integrating together multiple components covered by H10D12/00 or H10D30/00, e.g. integrating multiple IGBTs
    • H10D84/0126Integrating together multiple components covered by H10D12/00 or H10D30/00, e.g. integrating multiple IGBTs the components including insulated gates, e.g. IGFETs
    • H10D84/016Integrating together multiple components covered by H10D12/00 or H10D30/00, e.g. integrating multiple IGBTs the components including insulated gates, e.g. IGFETs the components including vertical IGFETs
    • HELECTRICITY
    • H10SEMICONDUCTOR DEVICES; ELECTRIC SOLID-STATE DEVICES NOT OTHERWISE PROVIDED FOR
    • H10DINORGANIC ELECTRIC SEMICONDUCTOR DEVICES
    • H10D84/00Integrated devices formed in or on semiconductor substrates that comprise only semiconducting layers, e.g. on Si wafers or on GaAs-on-Si wafers
    • H10D84/01Manufacture or treatment
    • H10D84/02Manufacture or treatment characterised by using material-based technologies
    • H10D84/03Manufacture or treatment characterised by using material-based technologies using Group IV technology, e.g. silicon technology or silicon-carbide [SiC] technology
    • H10D84/038Manufacture or treatment characterised by using material-based technologies using Group IV technology, e.g. silicon technology or silicon-carbide [SiC] technology using silicon technology, e.g. SiGe
    • HELECTRICITY
    • H10SEMICONDUCTOR DEVICES; ELECTRIC SOLID-STATE DEVICES NOT OTHERWISE PROVIDED FOR
    • H10DINORGANIC ELECTRIC SEMICONDUCTOR DEVICES
    • H10D84/00Integrated devices formed in or on semiconductor substrates that comprise only semiconducting layers, e.g. on Si wafers or on GaAs-on-Si wafers
    • H10D84/80Integrated devices formed in or on semiconductor substrates that comprise only semiconducting layers, e.g. on Si wafers or on GaAs-on-Si wafers characterised by the integration of at least one component covered by groups H10D12/00 or H10D30/00, e.g. integration of IGFETs
    • H10D84/82Integrated devices formed in or on semiconductor substrates that comprise only semiconducting layers, e.g. on Si wafers or on GaAs-on-Si wafers characterised by the integration of at least one component covered by groups H10D12/00 or H10D30/00, e.g. integration of IGFETs of only field-effect components
    • H10D84/83Integrated devices formed in or on semiconductor substrates that comprise only semiconducting layers, e.g. on Si wafers or on GaAs-on-Si wafers characterised by the integration of at least one component covered by groups H10D12/00 or H10D30/00, e.g. integration of IGFETs of only field-effect components of only insulated-gate FETs [IGFET]
    • HELECTRICITY
    • H10SEMICONDUCTOR DEVICES; ELECTRIC SOLID-STATE DEVICES NOT OTHERWISE PROVIDED FOR
    • H10DINORGANIC ELECTRIC SEMICONDUCTOR DEVICES
    • H10D84/00Integrated devices formed in or on semiconductor substrates that comprise only semiconducting layers, e.g. on Si wafers or on GaAs-on-Si wafers
    • H10D84/80Integrated devices formed in or on semiconductor substrates that comprise only semiconducting layers, e.g. on Si wafers or on GaAs-on-Si wafers characterised by the integration of at least one component covered by groups H10D12/00 or H10D30/00, e.g. integration of IGFETs
    • H10D84/82Integrated devices formed in or on semiconductor substrates that comprise only semiconducting layers, e.g. on Si wafers or on GaAs-on-Si wafers characterised by the integration of at least one component covered by groups H10D12/00 or H10D30/00, e.g. integration of IGFETs of only field-effect components
    • H10D84/83Integrated devices formed in or on semiconductor substrates that comprise only semiconducting layers, e.g. on Si wafers or on GaAs-on-Si wafers characterised by the integration of at least one component covered by groups H10D12/00 or H10D30/00, e.g. integration of IGFETs of only field-effect components of only insulated-gate FETs [IGFET]
    • H10D84/837Integrated devices formed in or on semiconductor substrates that comprise only semiconducting layers, e.g. on Si wafers or on GaAs-on-Si wafers characterised by the integration of at least one component covered by groups H10D12/00 or H10D30/00, e.g. integration of IGFETs of only field-effect components of only insulated-gate FETs [IGFET] comprising vertical IGFETs
    • H10D84/839Integrated devices formed in or on semiconductor substrates that comprise only semiconducting layers, e.g. on Si wafers or on GaAs-on-Si wafers characterised by the integration of at least one component covered by groups H10D12/00 or H10D30/00, e.g. integration of IGFETs of only field-effect components of only insulated-gate FETs [IGFET] comprising vertical IGFETs comprising VDMOS
    • HELECTRICITY
    • H10SEMICONDUCTOR DEVICES; ELECTRIC SOLID-STATE DEVICES NOT OTHERWISE PROVIDED FOR
    • H10DINORGANIC ELECTRIC SEMICONDUCTOR DEVICES
    • H10D62/00Semiconductor bodies, or regions thereof, of devices having potential barriers
    • H10D62/10Shapes, relative sizes or dispositions of the regions of the semiconductor bodies; Shapes of the semiconductor bodies
    • H10D62/102Constructional design considerations for preventing surface leakage or controlling electric field concentration
    • H10D62/103Constructional design considerations for preventing surface leakage or controlling electric field concentration for increasing or controlling the breakdown voltage of reverse-biased devices
    • H10D62/104Constructional design considerations for preventing surface leakage or controlling electric field concentration for increasing or controlling the breakdown voltage of reverse-biased devices having particular shapes of the bodies at or near reverse-biased junctions, e.g. having bevels or moats
    • HELECTRICITY
    • H10SEMICONDUCTOR DEVICES; ELECTRIC SOLID-STATE DEVICES NOT OTHERWISE PROVIDED FOR
    • H10DINORGANIC ELECTRIC SEMICONDUCTOR DEVICES
    • H10D62/00Semiconductor bodies, or regions thereof, of devices having potential barriers
    • H10D62/10Shapes, relative sizes or dispositions of the regions of the semiconductor bodies; Shapes of the semiconductor bodies
    • H10D62/17Semiconductor regions connected to electrodes not carrying current to be rectified, amplified or switched, e.g. channel regions
    • H10D62/393Body regions of DMOS transistors or IGBTs 
    • HELECTRICITY
    • H10SEMICONDUCTOR DEVICES; ELECTRIC SOLID-STATE DEVICES NOT OTHERWISE PROVIDED FOR
    • H10DINORGANIC ELECTRIC SEMICONDUCTOR DEVICES
    • H10D64/00Electrodes of devices having potential barriers
    • H10D64/111Field plates
    • HELECTRICITY
    • H10SEMICONDUCTOR DEVICES; ELECTRIC SOLID-STATE DEVICES NOT OTHERWISE PROVIDED FOR
    • H10DINORGANIC ELECTRIC SEMICONDUCTOR DEVICES
    • H10D64/00Electrodes of devices having potential barriers
    • H10D64/111Field plates
    • H10D64/117Recessed field plates, e.g. trench field plates or buried field plates
    • HELECTRICITY
    • H10SEMICONDUCTOR DEVICES; ELECTRIC SOLID-STATE DEVICES NOT OTHERWISE PROVIDED FOR
    • H10DINORGANIC ELECTRIC SEMICONDUCTOR DEVICES
    • H10D8/00Diodes
    • H10D8/60Schottky-barrier diodes 
    • H10D8/605Schottky-barrier diodes  of the trench conductor-insulator-semiconductor barrier type, e.g. trench MOS barrier Schottky rectifiers [TMBS]
    • HELECTRICITY
    • H10SEMICONDUCTOR DEVICES; ELECTRIC SOLID-STATE DEVICES NOT OTHERWISE PROVIDED FOR
    • H10DINORGANIC ELECTRIC SEMICONDUCTOR DEVICES
    • H10D84/00Integrated devices formed in or on semiconductor substrates that comprise only semiconducting layers, e.g. on Si wafers or on GaAs-on-Si wafers
    • H10D84/101Integrated devices comprising main components and built-in components, e.g. IGBT having built-in freewheel diode
    • H10D84/141VDMOS having built-in components
    • HELECTRICITY
    • H10SEMICONDUCTOR DEVICES; ELECTRIC SOLID-STATE DEVICES NOT OTHERWISE PROVIDED FOR
    • H10DINORGANIC ELECTRIC SEMICONDUCTOR DEVICES
    • H10D84/00Integrated devices formed in or on semiconductor substrates that comprise only semiconducting layers, e.g. on Si wafers or on GaAs-on-Si wafers
    • H10D84/101Integrated devices comprising main components and built-in components, e.g. IGBT having built-in freewheel diode
    • H10D84/141VDMOS having built-in components
    • H10D84/143VDMOS having built-in components the built-in components being PN junction diodes
    • HELECTRICITY
    • H10SEMICONDUCTOR DEVICES; ELECTRIC SOLID-STATE DEVICES NOT OTHERWISE PROVIDED FOR
    • H10DINORGANIC ELECTRIC SEMICONDUCTOR DEVICES
    • H10D84/00Integrated devices formed in or on semiconductor substrates that comprise only semiconducting layers, e.g. on Si wafers or on GaAs-on-Si wafers
    • H10D84/101Integrated devices comprising main components and built-in components, e.g. IGBT having built-in freewheel diode
    • H10D84/141VDMOS having built-in components
    • H10D84/146VDMOS having built-in components the built-in components being Schottky barrier diodes
    • YGENERAL TAGGING OF NEW TECHNOLOGICAL DEVELOPMENTS; GENERAL TAGGING OF CROSS-SECTIONAL TECHNOLOGIES SPANNING OVER SEVERAL SECTIONS OF THE IPC; TECHNICAL SUBJECTS COVERED BY FORMER USPC CROSS-REFERENCE ART COLLECTIONS [XRACs] AND DIGESTS
    • Y10TECHNICAL SUBJECTS COVERED BY FORMER USPC
    • Y10STECHNICAL SUBJECTS COVERED BY FORMER USPC CROSS-REFERENCE ART COLLECTIONS [XRACs] AND DIGESTS
    • Y10S257/00Active solid-state devices, e.g. transistors, solid-state diodes
    • Y10S257/905Plural dram cells share common contact or common trench

Definitions

  • This invention relates to metal-insulator-silicon semiconductor devices and in particular to such devices in which the gate is formed in a trench.
  • MIS metal-insulator-silicon
  • MOSFET metal-oxide-silicon field-effect transistors
  • IGBT insulated gate bipolar transistors
  • MOS-gated thyristors Cross-sectional views of a single gate trench in a MOSFET, an IGBT and a MOS-gated thyristor are shown in FIGS. 1 , 2 and 3 , respectively.
  • the gate material In such devices the gate material, often polysilicon, must be connected to the leads of the device package and to external circuitry by means of a conductive pad, typically metal. To accomplish this, the trench is filled to overflowing with the gate material and the gate material is patterned using lithography and etching. Following the patterning, the gate material normally is restricted to the inside of the trench in the active areas of the device, as shown in FIGS. 1 , 2 and 3 . In the areas where the contact is to be made to the gate material, however, the gate material extends outside of the trench and overlies the surface of the silicon. This is shown in the three-dimensional cutaway view of a conventional MIS device 40 in FIG.
  • a polysilicon layer 42 extends outside the trenches 44 and overlies the epitaxial silicon layer 46 .
  • Trenches 44 are lined with a gate oxide layer 47 which insulates the polysilicon layer 42 from the epitaxial layer 46 .
  • the ends of the trenches are designated 43 .
  • a portion of the polysilicon layer 42 overlies a thick field oxide region 48 .
  • the area of contact between a subsequent gate metal layer and polysilicon layer 42 is designated 45 .
  • FIG. 5A is a top view of the gate metal area 41 of the same device.
  • FIG. 5B is a cross-sectional view of the same device taken at cross-section 5 B— 5 B (drawn to a different scale from FIG. 5A ).
  • the MIS cells 54 in the active area 56 are square.
  • Polysilicon layer 42 and the area of contact 45 between gate metal 49 and polysilicon layer 42 are shown.
  • FIG. 6 is a similar top view taken in the gate pad edge and termination region of the device.
  • FIG. 7 is a detailed cross-sectional view taken near the end of one of trenches 44 .
  • the upper trench corners, represented by 52 typically oxidize in a manner that leads to local thinning of the oxide and a lower breakdown voltage across the oxide. The sharper the corner, the more serious this problem becomes.
  • the electric field reaches a maximum at the trench corners as a result of field crowding.
  • FIGS. 8A–8I illustrate the steps of a conventional process performed on an N+ silicon substrate 802 .
  • the process begins with a first photoresist mask A 1 which is formed over an oxide layer 804 and patterned, using normal photolithographic processes, to define the areas where P-tubs will be formed ( FIG. 8A ).
  • the P-tubs are used to reduce the strength of the electric field at the corners of the trenches.
  • P-type dopant is implant through openings in mask A 1 to form P-tubs 806 , and mask A 1 is removed.
  • a second mask A 2 is deposited and patterned to define the active region 808 of the device, the oxide layer 804 , which has become a field oxide layer, remaining in a termination region 810 of the device ( FIG. 8C ).
  • Trenches 812 are then etched, typically using a reactive ion etch (RIE) process ( FIG. 8D ). Trenches 812 A and 812 B are interconnected (in the third, dimension outside the plane of the paper) and trench 812 C is an optional “channel stopper” trench which is located on the outer edge of the termination area.
  • RIE reactive ion etch
  • a polysilicon layer 814 is deposited and doped, filling trenches 812 and overflowing onto the surface of the silicon.
  • a fourth, polysilicon mask A 4 is deposited on polysilicon layer 814 and patterned ( FIG. 8E ). Polysilicon layer 814 is etched back into the trenches 812 , except for a portion that is allowed to extend from trench 812 B onto the field oxide layer 804 in the gate bus area. It is through this extension of the polysilicon layer 814 that electrical contact with the portion of polysilicon layer 814 in the trenches 812 is made.
  • P-type dopant is implanted and driven in to form P-body regions 816 ( FIG. 8F ). While this dopant also gets into the polysilicon layer 814 , its concentration is too low to create any problems there.
  • a fifth mask A 5 is deposited and patterned to define areas where N-type dopant is to be implanted to form N+ source regions 818 ( FIG. 8G ).
  • a borophosphosilicate glass (BPSG) layer 820 is deposited and reflowed.
  • a sixth mask A 6 is formed and patterned to define where contact to the substrate (P-body regions 816 and N+ source regions 818 ) and to the gate (polysilicon layer 814 ) is to be made ( FIG. 8H ).
  • P-type dopant is implanted to form P+ body contact regions 821 and then a metal layer 822 is deposited.
  • a seventh mask (not shown) is formed over metal layer 822 and patterned.
  • Metal layer 822 is etched through the seventh mask to form a source metal 822 A and a gate bus 822 B ( FIG. 8I ).
  • a passivation layer is deposited, and if so an eighth mask (not shown) is formed and patterned to define the source and gate pads, where external contact to the MOSFET will be made.
  • a trench-gated MIS device is formed in a semiconductor chip which comprises an active area containing transistor cells, a gate metal area containing no transistor cells; and a gate metal layer.
  • a trench is formed in a pattern on a surface of the semiconductor chip, the trench extending from the active area into the gate metal area, the trench having walls lined with a layer of an insulating material.
  • a conductive gate material normally polysilicon, is disposed in the trench, a top surface of the gate material being at a level lower than a top surface of the semiconductor chip.
  • a nonconductive layer overlies the active and gate metal areas, and an aperture is formed in the nonconductive layer over a portion of the trench in the gate metal area.
  • the aperture is filled with a conductive material, often referred to as a “gate metal”, such that the gate metal contacts the conductive gate material in an area of contact that is within the trench.
  • the gate material does not overflow the trench onto the surface of the semiconductor chip, the gate material does not extend around the upper corners of the trench. This avoids the stress that occurs when a voltage difference is created between the gate material and the semiconductor material.
  • a width of the trench at the area of contact between the gate contact material and the gate material may be greater than a width of the trench in the active area.
  • the gate metal may contact the conductive gate material in a first gate finger, the first gate finger being perpendicular to a second gate finger, the second gate finger extending from the active area into the gate metal area and intersecting the first gate finger.
  • the process requires fewer masking steps than conventional processes and yields a device with a relatively flat topography which is more amenable to very fine photolithographic processing.
  • the process comprises forming a trench mask over the surface of a semiconductor substrate, the trench mask having an aperture defining the location of a trench; etching through the aperture in the trench mask to form a trench in the substrate; removing the trench mask; forming a first nonconductive layer on a wall of the trench; depositing a layer of a conductive gate material such that the gate material overflows onto the surface of the substrate outside the trench; etching the gate material without a mask such that a top surface of the gate material is reduced to a level below the surface of the substrate; depositing a second nonconductive layer over the surface of the substrate, forming a contact mask over the second nonconductive layer, the contact mask having an aperture; etching through the aperture in the contact mask to form a gate contact aperture in the second nonconductive layer; removing
  • etching through the contact mask may form a substrate contact aperture in the second nonconductive layer, and the second conductive layer may extend through the substrate contact aperture to make contact with the substrate, and the process may include forming a metal mask over the second conductive layer, the metal mask having an aperture; and etching the second conductive layer through the aperture in the metal mask.
  • the process does not include a mask for etching a portion of the gate contact material and may not include a mask for etching a portion of an oxide layer to form a field oxide region.
  • the process can be used to fabricate a variety of MIS devices, including MOSFETS, IGBTs, MOS-gated thyristors.
  • the process can also be used to fabricate a MOSFET with integrated Schottky or polysilicon diodes.
  • the invention also includes an MIS device having a relatively flat topography.
  • the gate bus does not overlie a thick field oxide region.
  • a nonconductive layer overlies the top surface of the semiconductor substrate.
  • a conductive layer typically metal, overlies the nonconductive layer.
  • the nonconductive layer contains apertures through which the metal layer makes electrical contact with the substrate in the active region of the MIS device (e.g., the source and body in a MOSFET).
  • a gate bus also overlies the same nonconductive layer.
  • the thickness of the nonconductive layer under the gate bus is substantially the same as the thickness of the nonconductive layer in the active region of the device.
  • a gate contact trench filled with a conductive gate material is formed in the substrate below the gate bus, and the gate bus is electrically connected to the gate material through an aperture in the nonconductive layer.
  • two or more protective trenches are formed on the opposite sides of the gate contact trench. This allows the gate contact trench to be made wider and deeper than the trenches in the active region of the device without adversely affecting the breakdown voltage at the bottom of the gate contact trench.
  • FIG. 1 is a cross-sectional view of a single gate trench in a MOSFET.
  • FIG. 2 is a cross-sectional view of a single gate trench in an IGBT.
  • FIG. 3 is a cross-sectional view of a single gate trench in a MOS-gated thyristor.
  • FIG. 4 is a three-dimensional cutaway view showing how the gate is contacted in a conventional MIS device.
  • FIG. 5A is a top view and FIG. 5B is a cross-sectional view of the gate metal area of the MIS device shown in FIG. 4 .
  • FIG. 6 is a top view taken in the gate pad edge and termination region of the MIS device.
  • FIG. 7 is a detailed view of a gate trench, showing the areas of stress at the upper corners of the trench.
  • FIGS. 8A–8I show the steps of a conventional process for forming a trench-gated MOSFET.
  • FIG. 9 is a three-dimensional cutaway view of an MIS device in accordance with the invention.
  • FIG. 10 is a three-dimensional cutaway view of an MIS device in accordance with the invention which contains a P-tub in the mesas.
  • FIG. 11 is a three-dimensional cutaway view of an MIS device in accordance with the invention which contains a P-tub which extends underneath the trench.
  • FIG. 12 is a cross-sectional view made by a scanning electron microscope (SEM) a MOS capacitor fabricated in accordance with this invention.
  • SEM scanning electron microscope
  • FIG. 13 is a graph showing the Fowler-Nordheim tunneling current as a function of the voltage between the gate and the silicon for various types of MOS capacitors.
  • FIG. 14 is an overall top view of an MIS chip showing how the active regions, the gate pad regions, the termination regions, and the gate metal regions might be configured.
  • FIG. 15A is a top view of the gate metal and active regions of an MIS device in accordance with a first embodiment of the invention.
  • FIG. 15B is a top view of the edge termination and gate pad regions of the first embodiment.
  • FIG. 15C is a cross-sectional view of the gate contact area in the first embodiment.
  • FIG. 16A is a top view of the gate metal and active regions of an MIS device in accordance with a second embodiment of the invention.
  • FIG. 16B is a top view of the edge termination and gate pad regions of the second embodiment.
  • FIG. 16C is a cross-sectional view of the gate contact area in the second embodiment.
  • FIG. 16D is a detailed top view of the intersection between a gate finger and the gate finger in which contact between the gate metal and polysilicon is made in the second embodiment.
  • FIG. 16E is a cross-sectional view of the trench in the second embodiment.
  • FIG. 16F is a cross-sectional view of the intersection between a gate finger and the gate finger in which contact between the gate metal and polysilicon is made in the second embodiment.
  • FIG. 17A is a top view of the gate metal and active regions of an MIS device in accordance with a third embodiment of the invention.
  • FIG. 17B is a top view of the edge termination and gate pad regions of the third embodiment.
  • FIG. 18 is a top view of the gate metal and active regions of an MIS device in accordance with a fourth embodiment of the invention.
  • FIG. 19 is a top view of the gate metal and active regions of an MIS device in accordance with a fifth embodiment of the invention.
  • FIGS. 20A–20F illustrate the steps of a process of fabricating a contact between the gate polysilicon and gate metal in an MIS device in accordance with this invention.
  • FIGS. 21A–21I illustrate the steps of a process in accordance with the invention for fabricating a trench MOSFET.
  • FIGS. 22A–22I illustrate the steps of a process for forming a trench MOSFET with an integrated Schottky diode.
  • FIGS. 23A–23J illustrate the steps of a conventional process for forming a trench MOSFET with integrated polysilicon diodes.
  • FIGS. 24A–24I illustrate the steps of a process in accordance with the invention for forming a trench MOSFET with integrated polysilicon diodes.
  • FIGS. 25A–25F illustrate the steps of a process in accordance with this invention for fabricating a MOSFET by growing the body region epitaxially.
  • FIG. 26A shows a cross-sectional view of a conventional gate contact trench.
  • FIG. 26B shows a cross-sectional view of a gate contact trench and a pair of protective trenches in accordance with the invention.
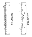
  • FIG. 27A shows a polysilicon MOSFET that can be fabricated using the process shown in FIGS. 24A–24I .
  • FIGS. 27B and 27C show top and cross-sectional views, respectively, for a particular embodiment of a polysilicon MOSFET.
  • the polysilicon or other material used to fill the trenches in a trench-gated MIS device is etched back or otherwise held back within the trench such that contact between the gate filling material and the gate metal is made within the trench.
  • the gate filling material does not overlap the upper corners of the trench, thereby eliminating the problems that arise from the stress at the upper corners of the trench.
  • polysilicon designates whatever conductive material is deposited in the trench as a gate material, it being understood that in some embodiments metal or other conductive materials may be used instead of polysilicon as the gate material; similarly, “gate metal” is used to designate the conductive material that is used to form a contact with the gate material within the trench, it being understood that in some embodiments polysilicon or other conductive materials may be used instead of metal as the “gate metal”.
  • FIG. 9 shows a partial view of a trench-gated MIS device 80 formed in an N-epitaxial (epi) layer 82 which is grown on an N+ substrate 81 .
  • a P-body region 83 is shown in N-epi layer 82 .
  • a gate trench 84 is lined by a gate oxide layer 85 which connects with an oxide layer 89 on the top surface of N-epi layer 82 .
  • Trench 84 is partially filled with a polysilicon gate 86 having a top surface 87 which is within trench 84 (i.e., below the top surface of N-epi layer 82 ).
  • trench 84 includes a somewhat wider transverse portion 84 A.
  • a portion 88 of the top surface 87 in transverse portion 84 A indicates where contact will later be made between polysilicon gate 86 and a gate metal layer (not shown).
  • the polysilicon within trench 84 does not extend around the upper corners of the trench in the manner of polysilicon layer 42 . This avoids the stress problems described above.
  • FIG. 10 shows an MIS device 90 which is similar to MIS device 80 except that a P-tub 91 is formed in N-epi layer 82 in the mesa between the trench segments to shield the gate trench 84 .
  • P-tub 101 extends into the area directly below the trench 84 .
  • MIS devices 90 and 100 are designed to have high breakdown voltages.
  • FIG. 12 is a cross-sectional view made by a scanning electron microscope (SEM) of a MOS capacitor fabricated in accordance with this invention.
  • the polysilicon gate is shown as 110 and the gate metal as 112 .
  • a BPSG dielectric layer 116 overlies the mesas between the segments of trench 114 and provides insulation between the gate metal 112 and the upper corners of trench 114 .
  • FIG. 13 is a graph showing the Fowler-Nordheim tunneling current as a function of the voltage between the gate and the silicon for various types of MOS capacitors. Curves A–E are for the following devices:
  • the FN tunneling currents are much lower for devices according to the invention than for conventional trench-gated devices and in fact they are quite similar to the currents for conventional planar devices.
  • FIGS. 15A–15C , 16 A– 16 F, 17 A, 17 B, 18 and 19 show a series of parallel “gate fingers” which leave the the active area of an MIS device and enter a gate metal region of a termination or gate pad region.
  • the term “gate finger” refers to an extension of the gate trench into a region outside the active region of the MIS device, e.g., sometimes referred to as the “gate metal” or “gate bus” region or the “termination” or “edge termination” region.
  • FIG. 14 is an overall top view of an MIS chip showing illustratively how the active, gate pad and the edge termination regions might be configured. It will be appreciated by those skilled in the art that numerous alternative configurations are possible.
  • FIG. 15A shows a first embodiment of the invention.
  • a square-celled MOSFET 140 includes an active region 141 and a gate metal region 142 .
  • a series of parallel gate fingers 143 extend from active region 141 into gate metal region 142 .
  • the edges of the source metal are designated 144 ; the edges of the gate metal are designated 145 .
  • Areas 146 designate the areas of contact between the polysilicon within gate fingers 143 and gate metal 145 . It will be noted that gate fingers 143 expand into wide portions 147 to accommodate areas of contact 146 . This allows for a good electrical contact to be made in the trench, spaced from the upper corners of the trench, even though the dimensions of the active cells become very small.
  • FIG. 15C shows a cross-sectional view of one of the areas of contact 146 at cross-section 15 C— 15 C, showing a gate metal 148 and a BPSG layer 149 .
  • FIG. 15B shows a top view of a portion of MOSFET 140 that adjoins a termination region 150 and a gate pad 151 .
  • FIG. 16A shows a second embodiment of the invention.
  • MOSFET 160 contains an active region 161 and a gate metal region 162 .
  • the edge of the source metal is shown as 164 and the edge of gate metal 168 is shown as 165 .
  • a series of parallel gate fingers 163 extend from active region 161 into gate metal region 162 .
  • An area of contact 166 between the gate polysilicon and gate metal 168 is made in a gate finger 167 which extends perpendicular to gate fingers 163 .
  • gate finger 167 is wider than gate fingers 163 , but this need not be the case.
  • FIG. 16C shows a detailed cross-sectional view taken at cross-section 16 C– 16 C in FIG. 16A .
  • FIG. 16B is a top view of MOSFET 160 in the vicinity of a termination region 170 and a gate pad 171 .
  • FIG. 16C is a detailed top view of the an intersection between one of gate fingers 163 and gate finger 167 .
  • the view at cross-section 16 E— 16 E, shown in FIG. 16E shows a section of the trench filled with polysilicon 173 , whereas at the intersection between gate finger 163 and gate finger 167 , represented as cross-section 16 F— 16 F and shown in FIG. 16F , polysilicon 173 does not fill the trench completely.
  • MOSFET 180 is similar to MOSFET 160 shown in FIGS. 16A and 16B , except that gate fingers 183 are more widely spaced than gate fingers 163 , and gate finger 187 becomes narrower at the intersections with gate fingers 183 . Areas of contact 186 between the gate polysilicon and the gate metal do not extend into the areas where gate fingers 183 and 187 intersect. Thus the possible problem caused by the width of gate finger 187 at the intersections with gate fingers 183 is avoided. Of course, the spacing between gate fingers 183 is variable and need not be greater than the spacing between gate fingers 163 in MOSFET, 160 .
  • FIG. 17B is a top view of MOSFET 180 in the vicinity of termination region 190 and gate pad 191 .
  • a fourth embodiment, shown in FIG. 18 represents another way of overcoming the possible trench filling problem described above.
  • MOSFET 200 is somewhat similar to MOSFET 160 shown in FIG. 16A , in the sense that parallel gate fingers 203 running from active region 201 to gate metal region 202 intersect gate finger 207 at right angles, but in MOSFET 200 the intersections between gate finger 207 and gate fingers 203 coming from opposite sides of gate finger 207 are offset, resulting in “T” interesections. As a result, the filling of the trench at the intersections is improved as compared with the configuration shown in FIG. 16A .
  • Contact between the polysilicon gate and gate metal is made in an area of contact 206 which runs longitudinally along gate finger 207 .
  • a fifth embodiment, shown in FIG. 19 is like MOSFET 140 shown in FIG. 15A in that gate fingers 223 include wide portions 227 where contact between the gate polysilicon and the gate metal is made.
  • the wide portions 227 are offset from each other in the longitudinal direction of gate fingers 223 , thereby allowing the distance between gate fingers 223 to be reduced beyond what would otherwise be possible.
  • FIGS. 20A–20F A process for making a gate contact within the trench is shown in FIGS. 20A–20F .
  • the process begins with a semiconductor chip which includes an N-epitaxial layer 301 grown in an N+ substrate 300 using a known process.
  • a photoresist trench mask 302 is formed in the surface of N-epi layer 301 , as shown in FIG. 20A .
  • a trench 303 shown in FIG. 20B , is formed by reactive ion etching (RIE) through the opening in trench mask 302 .
  • RIE reactive ion etching
  • a sacrificial oxide layer (not shown) is formed on the walls of the trench to repair crystal damage done during the RIE etch, and the sacrificial oxide is then removed.
  • a gate oxide layer 304 is thermally grown on the walls of the trench.
  • a polysilicon layer 305 is deposited over the top surface of N-epi layer 301 , filling the trench 303 , yielding the structure shown in FIG. 20B .
  • Polysilicon layer 305 is then etched back, as shown in FIG. 20C , until a top surface 306 of polysilicon layer 305 is below a top surface 307 of N-epi layer 301 . It is important that the polysilicon layer 305 be etched back far enough that it no longer overlaps the upper corners of trench 303 . Surface 306 of polysilicon layer 305 can be just below top surface 307 of N-epi layer 301 . Note that, since the polysilicon is etched back uniformly throughout the chip, this process step can normally be performed without a mask, thereby reducing the costs of fabrication.
  • a borophosphosilicate glass (BPSG) layer 308 is deposited over the top surface of the structure, and masked with a photoresist layer 309 .
  • An opening 310 in the photoresist mask is formed over the central portion of the trench 303 . such that the edges of opening 310 are spaced laterally inward from the walls of the trench 303 .
  • the resulting structure is shown in FIG. 20D .
  • BPSG layer 308 is etched through the opening 310 in photoresist layer 309 , producing a gate contact opening 311 which is generally coincident with opening 310 and which extends to the surface 306 of polysilicon 305 .
  • Photoresist layer 309 is then removed, yielding the structure shown in FIG. 20E .
  • a metal layer 312 is deposited. Since contact between metal layer 312 and polysilicon 305 occurs entirely within a central region of the trench 303 , and since the width of the gate contact opening 311 is less than the width of the top surface 306 of polysilicon layer 305 , proximity between the polysilicon layer 305 and the N-epi layer 301 at the upper corners of trench 303 is avoided. It is this proximity that creates the stress problems described above.
  • the conventional process for forming a trench-gated MOSFET requires numerous mask steps (eight in the example shown in FIGS. 8A–8I ) and leaves a ridge in the area of the gate bus which makes photolithography at small dimensions difficult.
  • Another aspect of this invention is an improved process which avoids these problems.
  • FIGS. 21A–21I illustrate the steps of a process in accordance with this invention.
  • the process starts with an N ⁇ layer 402 , which could be an epi layer overlying an N+ substrate.
  • a thin oxide layer 404 may be formed on the surface of layer 402 for adhesion of the photoresist mask or to provide a hard mask for resist etch selectivity reasons or to avoid later oxidation.
  • a first photoresist mask B 1 is formed and patterned to define the locations of the trenches. Since the layer 402 is very flat, mask B 1 may be thinner than the masks required in the prior art (e.g., mask A 3 shown in FIG. 8D ), and smaller features (trenches) may therefore be defined.
  • Trenches 406 are etched through mask B 1 using RIE. Trenches 406 include trenches 406 A in an active area 407 , a gate bus contact trench 406 B in a termination area 409 , and an optional channel stopper trench 406 C in a channel stopper area 411 ( FIG. 21A ). Trenches 406 A and 406 B are connected together in the third dimension.
  • trenches 406 After trenches 406 have been etched, mask B 1 is stripped, and a sacrificial oxide layer (not shown) is grown on the walls of trenches 406 and etched to remove crystal defects caused by the RIE process.
  • a gate oxide layer 408 is grown on the walls of trenches 406 .
  • a polysilicon layer 410 is deposited, doped and etched back until polysilicon layer 410 remains only inside the trenches 406 ( FIG. 21B ). Note that unlike the process described in FIGS. 8A–8I , this process requires no polysilicon mask to pattern polysilicon layer 410 .
  • a re-oxidation may be performed if a thicker oxide layer is needed over the mesa and termination areas.
  • a second mask B 2 is deposited and patterned to define the regions where the body implant is to be introduced into layer 402 .
  • a P-type dopant is implanted through openings in mask B 2 and driven in to form P-body regions 412 ( FIG. 21C ). Unlike the process described in FIGS. 8A–8I , this process requires no mask to define the active area (see, e.g., mask A 2 in FIG. 8C ). If the designer wishes to pattern the body within the mesa region to achieve a “split-well” structure, as described in J. Zeng et al., ISPSD 2000, pp 145–148, the fact that the surface of the layer 402 is very flat makes small feature lithography easier.
  • the implant energy of the P-type dopant is selected such that the dopant penetrates the oxide layer 408 but not the mask B 2 . If oxide layer 408 is too thick, it may be etched back to facilitate penetration by the implant.
  • the mask B 2 is then stripped, the structure is cleaned an d the P-type dopant is annealed and diffused to achieve the desired junction depth within the N-type layer.
  • a third mask B 3 is deposited and patterned to define the locations of the source regions.
  • N-type dopant is implanted through opening in mask B 3 to form N+ source regions 414 ( FIG. 21D ). Note that the N-type dopant is kept out of the termination area and the periphery of the active area but is allowed into the region near the “channel stopper” trench 406 C, forming N+ regions 415 , which prevent a surface inversion layer from forming. The surface of the structure is still very flat, making photolithography relatively easy.
  • the oxide layer 408 may need to be etched down with mask B 3 in place, depending on the ion species to be implanted through the oxide layer 408 .
  • Mask B 3 is stripped and the structure is cleaned again.
  • a layer 416 of a dielectric such as BPSG is deposited and densified if necessary.
  • a fourth mask B 4 is deposited over BPSG layer 416 and patterned to define the contact openings ( FIG. 21E ). Since the structure is still quite flat, this lithography step may be performed with a thinner layer of photoresist than, for example, mask A 6 shown in FIG. 8H .
  • BPSG layer 416 is etched through openings in mask B 4
  • mask B 4 is removed and P-type dopant is implanted to form P-type contact regions 418 ( FIG. 21F ).
  • This implant reduces the resistance between the metal layer to be deposited and the body, and it may also be used to shift avalanche breakdown from the region adjacent to the trenches to the central region of the mesas between the trenches, as described in U.S. Pat. No. 5,072,266 to Bulucea et al. If this technique is hampered because the body junction is too deep, a series of distributed avalanche clamps can be created by patterning regions where the body implant is blocked, creating curved junctions where the dopant diffuses laterally. The spacing between the curved junctions can be controlled to set the breakdown voltage to be lower than that of the active trenches. The source contact must be interrupted in these regions. Alternatively, the breakdown voltage can be set by designing the breakdown voltage in the termination area 409 to be lower than the breakdown voltage in the active area 407 .
  • the contact is made to the gate within trench 406 B, thereby eliminating the need for a polysilicon mask.
  • the flatness of the layer 402 makes it easier to define a small contact opening in the BPSG layer 416 .
  • two separate masks can be used to form the contact openings through BPSG layer 416 to the polysilicon layer 410 in gate bus contact trench 406 B and to N ⁇ layer 402 , respectively, instead of using a single mask B 4 .
  • the structure is now subjected to a high temperature anneal in the range of 750° C. to 950° C. This activates the P+ contact implant, activates the N+ source implant (if it has not already been activated) and densifies and smoothes the BPSG layer 416 .
  • a metal layer 419 is deposited, and a fifth mask B 5 is deposited over metal layer 419 and patterned ( FIG. 21G ).
  • Metal layer 419 is etched through openings in mask B 5 into a source metal portion 419 S, a gate metal portion 419 G, a field plate 41 F, and an edge termination 419 E.
  • a passivation layer 420 is deposited over metal layer 419 , and a sixth mask B 6 is deposited and patterned ( FIG. 21H ). Passivation layer 420 is etched through openings in mask B 6 to expose source metal portion 419 S ( FIG. 21I ).
  • the wafer can be thinned by grinding it from the back side, and a layer of back side metal can be applied as is customary to form the drain contact.
  • FIGS. 21A–21I offers a number of advantages over prior art processes such as the one shown in FIGS. 8A–8I .
  • the process of this invention has fewer steps and is less costly. For example, six masking steps are required instead of eight.
  • a high degree of silicon flatness is maintained throughout the process until metal deposition, and this helps in the photolithographic delineation of small features and the fabrication of small cell pitches. All contact to the gate is made within the trenches, thus avoiding the current leakage problems that occur as a result of Fowler-Nordheim tunneling through the gate oxide at the upper corners of the trenches when the polysilicon gate material extends out of the trenches and onto the top surfaces of the mesas.
  • the area around the “channel-stopper” trench 406 C is free of P-type diffusions and may be provided with a field plate that is coupled to the drain via trench 404 C as shown in FIG. 21I .
  • the N+ regions 415 at the periphery track the drain potential because the sawed edge of the chip behaves as a resistive short to the drain. This structure improves the reliability of higher voltage terminations by terminating any inversion layer that may form as a result of charges over the terminations or hot carrier aided walk-out.
  • FIGS. 21A–21I may be adapted simply to provide a trench MOSFET with an integrated Schottky diode, such as a Trench-MOS Barrier Schottky (TMBS) device.
  • FIGS. 22A–22I illustrate the steps of an alternative process for forming a trench MOSFET with a Trench-MOS Barrier Schottky device. The process includes one additional mask compared with the process shown in FIGS. 21A–21I .
  • the process starts with an N ⁇ silicon layer 502 , which again could overlie a heavily-doped substrate.
  • a thin oxide layer 504 may be formed on the surface of layer 502 for adhesion of the photoresist mask or to provide a hard mask for resist etch selectivity reasons or to avoid later oxidation.
  • a first photoresist mask C 1 is formed and patterned to define the locations of the trenches. Since the surface of layer 502 is very flat, mask C 1 may be thinner than the masks required in the prior art (e.g., mask A 3 shown in FIG. 8D ), and smaller features (trenches) may therefore be defined.
  • Trenches 506 are etched through mask C 1 using RIE.
  • Trenches 506 include trenches 506 A in an active area 507 , a gate bus contact trench 506 B in a termination area 509 , an optional channel stopper trench 506 C in a channel stopper area 511 , and trenches 506 D in a Schottky diode area 513 ( FIG. 22A ). Trenches 506 A and 506 B (and optionally trenches 506 D) are connected together in the third dimension.
  • trenches 506 After trenches 506 have been etched, mask C 1 is stripped, and a sacrificial oxide layer is grown on the walls of trenches 506 and etched to remove crystal defects caused by the RIE process.
  • a gate oxide layer 508 is grown on the walls of trenches 506 .
  • a polysilicon layer 510 is deposited, doped and etched back until polysilicon layer 510 remains only inside the trenches 506 ( FIG. 22B ). Like the process described in FIGS. 21A–21I , this process requires no polysilicon mask to pattern polysilicon layer 510 .
  • a re-oxidation may be performed if a thicker oxide layer is needed over the mesa and termination areas.
  • a second mask C 2 is deposited and patterned to define the regions where the body implant is to be introduced into layer 502 .
  • a P-type dopant is implanted through openings in mask C 2 and driven in to form P-body regions 512 ( FIG. 22C ). Like the process described in FIGS. 21A–21I , this process requires no mask to define the active area (see, e.g., mask A 2 in FIG. 8C ).
  • the implant energy of the P-type dopant is selected such that the dopant penetrates the oxide layer 508 but not the mask C 2 . If oxide layer 508 is too thick, it may be etched back to facilitate penetration by the implant.
  • the mask C 2 is then stripped, the structure is cleaned and the P-type dopant is annealed and diffused to achieve the desired junction depth with the N-type layer 502 .
  • a third mask C 3 is deposited and patterned to define the locations of the source regions.
  • N-type dopant is implanted through opening in mask C 3 to form N+ source regions 514 ( FIG. 22D ). Note that the N-type dopant is kept out of the termination area and the periphery of the active area but is allowed into the region near the “channel stopper” trench 506 C, forming N+ regions 515 .
  • the surface of the structure is still very flat, making photolithography relatively easy.
  • the oxide layer 508 may need to be etched down with mask C 3 in place, depending on the ion species to be implanted through the oxide layer 508 .
  • Mask C 3 is stripped and the structure is cleaned again.
  • a layer 516 of a dielectric such as BPSG is deposited and densified if necessary.
  • a fourth mask C 4 is deposited over BPSG layer 516 and patterned to define the contact openings ( FIG. 22E ). Since the structure is still quite flat, this lithography step may be performed with a thinner layer of photoresist than, for example, mask A 6 shown in FIG. 8H .
  • BPSG layer 516 is etched through openings in mask C 4 , mask C 4 is removed.
  • An additional fifth mask (contact block) C 5 is deposited and patterned to cover the Schottky diode area 513 and a portion of the channel stopper area 511 .
  • P-type dopant is implanted to form P-type contact regions 518 , with mask C 5 preventing the dopant from getting into the Schottky diode area 513 ( FIG. 22F ).
  • This implant reduces the resistance between the metal layer to be deposited and the body, and it may also be used to shift avalanche breakdown from the region adjacent to the trenches to the central region of the mesas between the trenches, as described in U.S. Pat. No. 5,072,266 to Bulucea et al. If this technique is hampered because the body junction is too deep, a series of distributed avalanche clamps can be created by patterning regions where the body implant is blocked, creating curved junctions where the dopant diffuses laterally.
  • the spacing between the curved junctions can be controlled to set the breakdown voltage to be lower than that of the active trenches.
  • the source contact must be interrupted in these regions.
  • the breakdown voltage can be set by designing the breakdown voltage in the termination area 509 to be lower than the breakdown voltage in the active area 507 .
  • the contact is made to the gate within trench 506 B, thereby eliminating the need for a polysilicon mask.
  • the flatness of the layer makes it easier to define a small contact opening in the BPSG layer 516 .
  • the structure is now subjected to a high temperature in the range of 750° C. to 950° C. This activates the P+ contact implant, activates the N+ source implant (if it has not already been activated) and drives it to a lower junction depth, and densifies and smoothes the BPSG layer 516 .
  • a metal layer 519 is deposited, making contact in particular with the N+ source regions 514 and P-body regions 518 in the active area 507 , and with the surface of the layer 502 in the Schottky diode area 513 .
  • a sixth mask C 6 is deposited over metal layer 519 and patterned ( FIG. 22G ).
  • Metal layer 519 is etched through openings in mask C 6 and divided into a source metal portion 519 S in Schottky diode area 513 and active area 505 , a gate metal portion 519 G, a field plate 519 F, and an edge termination 519 E.
  • a passivation layer 520 is deposited over metal layer 519 , and a seventh mask C 7 is deposited and patterned ( FIG. 22H ).
  • Passivation layer 520 is etched through openings in mask C 7 to expose source metal portion 519 S ( FIG. 22I ).
  • the wafer can be thinned by grinding it from the back side, and a layer of back side metal can be applied as is customary to form the drain contact.
  • the availability of the fifth mask C 5 allows the fourth mask C 4 to be held back from the trench 506 C, creating an opening in BPSG layer 516 that exposes N+ regions 515 and allows metal layer to make contact with N+ regions 515 as well as the polysilicon in trench 506 A. This provides better contact between the field plate edge termination and the drain.
  • a trench-MOS barrier Schottky (TMBS), an MPS rectifier, or a junction barrier Schottky (JBS) may be formed within the same general process flow.
  • the Schottky diodes may be interspersed among the MOSFET cells in the active area or may be grouped in a separate part of the chip, as shown in FIGS. 22A–22I .
  • the process of FIGS. 22A–22I provides a cost-effective method of replacing the conventional MOSFET-Schottky combination, currently available in a two-chip form.
  • a contact block mask (mask C 5 in FIG. 22F ) needs to be added.
  • FIGS. 8A–8I including Schottky diodes would raise the mask count by two (a body block mask and a contact block mask), resulting in a total of ten masks.
  • FIGS. 24A–24I illustrate the steps of such a process which involves the addition of one mask.
  • FIGS. 23A–23J The conventional process is illustrated in FIGS. 23A–23J , requiring 9 masks.
  • An oxide layer 604 and a first photoresist mask D 1 are deposited on an N+ silicon layer 602 and are patterned with openings in the areas were P-type tubs are to be formed ( FIG. 23A ).
  • a P-type dopant is implanted through the openings in mask D 1 and driven in, forming P-type tubs 606 ( FIG. 23B ).
  • a second photoresist mask D 2 is formed with an opening defining the location of an active area 608 .
  • Oxide layer 604 is etched through the opening in mask D 2 ( FIG. 23C ), and mask D 2 is removed.
  • a third photoresist mask D 3 is formed, defining the locations of the trenches.
  • Layer 602 is etched to form trenches 610 in active area 608 and a trench 612 in the channel stopper area ( FIG. 23D ).
  • a sacrificial oxide layer is formed and removed from the walls of trenches 610 , 612 , and a gate oxide layer is formed on the walls of the trenches.
  • a polysilicon layer 614 is deposited and an N-type background dopant is implanted into polysilicon layer 614 .
  • a low temperature oxide (LTO) layer 611 is deposited.
  • a fourth photoresist mask D 4 is deposited over the region of polysilicon layer 614 where the diodes are to be formed. Using photoresist mask D 4 , LTO 611 layer is etched to form a mask ( FIG. 25E ), and photoresist mask D 4 is removed. Polysilicon layer 614 is then doped with POCl 3 , using LTO layer 611 as a mask.
  • a fifth mask D 5 is deposited, and polysilicon layer 614 is etched back into the trenches 610 except in region 616 , where a portion of the polysilicon is allowed to overlap the edge of the trench and extend over the oxide layer 604 ( FIG. 23F ). Mask D 5 is removed.
  • a P-type dopant is implanted in the vicinity of trenches 610 and driven in to form P-body region 618 ( FIG. 23G ).
  • a sixth N+ block mask D 6 is deposited and patterned. N-type dopant is implanted to form N+ source regions adjacent to trenches 610 . The N-type dopant also enters portions of polysilicon layer 614 , where it forms diodes 622 and 624 at junctions with the N-type background-doped regions of polysilicon layer 614 ( FIG. 23H ). Mask D 6 is removed.
  • a BPSG layer 626 is deposited and a seventh contact mask D 7 is deposited and patterned over BPSG layer 626 . Openings in mask D 7 define where contact will be made to various areas of the device.
  • BPSG layer 626 is etched through the openings in mask D 7 , and P-type dopant is implanted through the openings in BPSG layer 626 to form P+ contact regions 625 ( FIG. 23I ).
  • Mask D 7 is removed.
  • a metal layer 628 is deposited, metal layer 628 making contact with the device through the openings in BPSG layer 626 .
  • An eighth mask (not shown) is formed over metal layer 628 .
  • Metal layer 628 is etched through openings in the eighth mask to form a portion 628 A which contacts the anode of diode 622 , a portion 628 B which contacts the cathode of diode 622 and the source-body regions of the MOSFETs in the active area, and a portion 628 C which contacts the cathode of diode 624 ( FIG. 23J ).
  • Another section of metal layer 628 contacts the polysilicon gate (which is also the anode of diode 624 ) in the third dimension.
  • Portion 628 A of metal layer 628 is connected to the polysilicon gate, and portion 628 C of metal layer 628 is connected to the drain of the device (both in the third dimension).
  • diode 622 connects the source-body and the gate and diode 624 connects the drain and the gate.
  • to fabricate the device requires nine masking steps if a final passivation and pad mask are implemented.
  • N ⁇ layer 702 which could be an epi layer overlying an N+ substrate.
  • a thin oxide layer 704 may be formed on the surface of layer 702 for adhesion of the photoresist mask or to provide a hard mask for resist etch selectivity reasons or to avoid later oxidation.
  • a first photoresist mask E 1 is formed and patterned to define the locations of the trenches. Since the surface of layer 702 is very flat, mask E 1 may be thinner than the masks required in the prior art (e.g., mask A 3 shown in FIG. 8D ), and smaller features (trenches) may therefore be defined. Trenches 706 are etched through mask E 1 using RIE.
  • Trenches 706 include trenches 706 A in an active area 707 , a gate bus contact trench 706 B in a termination area 709 , and an optional channel stopper trench 706 C in a channel stopper area 711 ( FIG. 24A ). Trenches 706 A and 706 B are connected together in the third dimension.
  • trenches 706 After trenches 706 have been etched, mask E 1 is stripped, and a sacrificial oxide layer is grown on the walls of trenches 706 and etched to remove crystal defects caused by the RIE process. A gate oxide layer 708 is grown on the walls of trenches 706 . A polysilicon layer 710 is deposited, doped and etched back until polysilicon layer 710 remains only inside the trenches 706 ( FIG. 24B ). A re-oxidation may be performed if a thicker oxide layer is needed over the mesa and termination areas.
  • a second mask E 2 is deposited and patterned to define the regions where the body implant is to be introduced into layer 702 .
  • a P-type dopant is implanted through openings in mask E 2 and driven in to form P-body regions 712 ( FIG. 24C ).
  • Mask E 2 is removed.
  • a low temperature oxide (LTO) layer 714 is deposited over the surface of layer 702 to a thickness of, for example 2000 ⁇ , and a second polysilicon layer 716 is deposited over layer 714 .
  • a blanket implant of polysilicon layer 716 with P-type dopant is performed.
  • a third mask E 3 is deposited over layer 702 and patterned to define the location of a polysilicon diode ( FIG. 24D ).
  • Polysilicon layer 716 and LTO layer 714 are etched through the openings in mask E 3 , defining the polysilicon diode, and mask E 3 is removed.
  • a fourth mask E 4 is deposited, and N-type dopant is implanted through the openings in mask E 4 , simultaneously forming N+ source regions 718 and the cathode of a diode 720 ( FIG. 24E ).
  • Mask E 4 is removed.
  • BPSG layer 722 is deposited and a fifth mask E 5 is deposited over BPSG layer 722 and patterned ( FIG. 24F ).
  • BPSG layer 722 is etched through openings in mask E 5 to create contact openings in BPSG layer 722 , and mask E 5 is removed.
  • P-type dopant is implanted through the openings in BPSG layer 722 to form contact regions 724 ( FIG. 24G ).
  • BPSG layer 722 is reflowed by heating.
  • a metal layer 726 is deposited over BPSG layer 722 , establishing electrical contact with the device through the openings in BPSG layer 722 .
  • a sixth mask E 6 is deposited over metal layer 726 and is patterned ( FIG. 24H ).
  • Metal layer 726 is etched through openings in mask E 6 to separate metal layer 726 into a portion 726 A that contacts the source-body terminals of the MOSFETs and the anode of diode 720 , a portion 726 B that contacts the cathode of diode 720 and the polysilicon in trench 706 B in the gate bus area of the device, a portion 726 C that forms a field plate in the termination area of the device, and a portion 726 D that contacts the polysilicon in trench 706 C in the channel stopper area of the device.
  • FIGS. 24A–24I can also be used to fabricate a polysilicon MOSFET 730 , shown in FIGS. 27A–27C .
  • a trench 706 D is etched through the mask E 1 .
  • Gate oxide layer 708 is grown and polysilicon layer 710 is deposited as described above (see FIG. 24B ).
  • Mask E 2 is deposited and P-type dopant is implanted through openings in mask E 2 to form a P-type region 740 in N-epi layer 702 .
  • LTO layer 714 is deposited over the surface of layer 702
  • the second polysilicon layer 716 is deposited over LTO layer 714 (see FIG. 24D ).
  • a blanket P-type implant of polysilicon layer 716 is performed.
  • Polysilicon MOSFET 730 can be formed in numerous geographies.
  • the source/drain regions may be interdigitated as shown in the top view of FIG. 27B .
  • FIG. 27C is a cross-sectional view of the structure shown in FIG. 27B taken at section 27 C— 27 C.
  • Mask E 3 is used to pattern polysilicon layer 716 and LTO layer 714 as shown in FIG. 27A . At the same time mask E 3 is used to form an opening through polysilicon layer 716 and LTO layer 714 to a gate contact region 748 on polysilicon layer 710 . After mask E 3 has been removed, mask E 4 is deposited and patterned such that the subsequent implantation of N-type dopant through openings in mask E 4 forms an N+ source region 742 and an N+ drain region 744 in polysilicon layer 716 . N+ regions 742 and 744 are formed at the same time as the cathode of diode 720 (see FIG. 24E ). Source region 742 and drain region 744 are separated by a P-body region 746 that is located directly over trench 706 D.
  • BPSG layer 722 is deposited and openings in mask E 5 are used to etch through BPSG layer 722 to a source contact 750 , a drain contact 752 and a body contact 754 .
  • the openings in BPSG layer 722 are filled with metal layer 726 , and mask E 6 is used to separate metal layer 726 into source, drain, body and gate segments (not shown).
  • the source and body segments of metal layer 726 are shorted together or are part of a single source-body segment of metal layer 726 .
  • FIGS. 25A–25F Another variation of the process can be used to fabricate a MOSFET by growing the body region of the device epitaxially. This process is shown in FIGS. 25A–25F .
  • a P-type epitaxial (epi) layer 904 is grown on the surface of an N-type layer 902 .
  • a first mask F 1 is then deposited on the surface of epi layer 904 and patterned.
  • Trenches 906 are etched through openings in mask F 1 , with trenches 906 A in an active region 907 , trench 906 B in a termination region 909 , trench 906 C in a channel stopper region 911 , and a wide trench 906 D in termination region 909 ( FIG. 25A ).
  • a sacrificial oxide layer (not shown) is grown on the walls of the trenches 906 to repair crystal damage caused by the etching.
  • a gate oxide layer 908 is grown on the walls of the trenches 906 .
  • a polysilicon layer 910 is then deposited over the surface of the device, doped and etched back so that it remains in the trenches 906 A, 906 B and 906 C ( FIG. 25B ). Because trench 906 D is very wide, polysilicon layer 910 is removed from trench 906 D.
  • a second mask F 2 is deposited and patterned and N-type dopant is implanted through openings in mask F 2 to form N+ source regions 914 and an N+ region 915 around trench 906 C ( FIG. 25C ).
  • Mask F 2 is removed.
  • a BPSG layer 922 is deposited, and a third mask F 3 is deposited over BPSG layer 922 and patterned ( FIG. 25D ).
  • BPSG layer 922 is etched through mask F 3 , and mask F 3 is removed.
  • P-type dopant is implanted to form P+ contact regions 918 ( FIG. 25E ).
  • the doping concentration of the P-type dopant is not high enough to significantly affect the doping of polysilicon layer 910 in trench 906 B.
  • a metal layer 926 is deposited and a fourth mask F 4 is deposited over metal layer 926 and patterned. Metal layer 926 is etched through openings in mask F 4 to separate metal layer 926 in to a portion 926 A that contacts the source-body regions of the MOSFETs and a portion 926 B that contacts the polysilicon in trench 906 A ( FIG. 25F ). Mask F 4 is then removed.
  • the number of masks required is further reduced to only four. It is a low thermal budget process, since the P-type body dopant, being grown epitaxially rather than implanted, does not need to be activated and driven in. This is of great benefit in the manufacture of shallow trench, low threshold voltage, and P-channel devices. (Of course, the body dopant would be N-type for P-channel devices.) Since the temperature does not have to exceed about 900° C. after the trenches are filled, materials such as tungsten and titanium silicide can be used in place of polysilicon to fill the trenches. The process can be adapted as shown in FIGS. 24A–24I to fabricate polysilicon diodes and MOSFETs in the same device.
  • FIG. 26A shows a gate contact trench 950 positioned between two MOSFET trenches 952 .
  • the increased depth of trench 950 would be of no consequence if the bottom of the trench were covered or shielded by a deep diffusion of the same polarity as the body. Absent such a deep diffusion, however, the breakdown voltage will be lower under gate contact trench 950 than under active MOSFET trenches 952 .
  • the potential contours, represented by the dashed line in FIG. 25A are curved under trench 950 , indicating that the breakdown voltage is less in that location than under trenches 952 .
  • Shielding trenches 954 can be the same size as active MOSFET trenches 952 , but this need not be the case. Shielding trenches 954 should be positioned close to gate contact trench 950 . Preferably the spacing between shielding trenches 954 and gate contact trench 950 is less than the thickness of the N-epi layer, e.g., the same as the width of the mesas between the trenches in the active area of the device. The mesas between shielding trenches 954 and gate contact trench 950 may be allowed to float.
  • the shielding trenches improve the breakdown of the gate contact trench because the limited charge available between the shielding trenches and the gate contact trench flattens out the potential contours, as shown by the dashed line in FIG. 25B .

Landscapes

  • Electrodes Of Semiconductors (AREA)
  • Metal-Oxide And Bipolar Metal-Oxide Semiconductor Integrated Circuits (AREA)
  • Internal Circuitry In Semiconductor Integrated Circuit Devices (AREA)
  • Insulated Gate Type Field-Effect Transistor (AREA)

Abstract

In a trench-gated MIS device contact is made to the gate within the trench, thereby eliminating the need to have the gate material, typically polysilicon, extend outside of the trench. This avoids the problem of stress at the upper corners of the trench. Contact between the gate metal and the polysilicon is normally made in a gate metal region that is outside the active region of the device. Various configurations for making the contact between the gate metal and the polysilicon are described, including embodiments wherein the trench is widened in the area of contact. Since the polysilicon is etched back below the top surface of the silicon throughout the device, there is normally no need for a polysilicon mask, thereby saving fabrication costs.

Description

This application is a divisional of 10/104,811 filed Mar. 22, 2002 now U.S. Pat. No. 6,838,722.
FIELD OF THE INVENTION
This invention relates to metal-insulator-silicon semiconductor devices and in particular to such devices in which the gate is formed in a trench.
BACKGROUND OF THE INVENTION
There is a class of metal-insulator-silicon (MIS) devices in which the gate is formed in a trench that extends downward from the surface of the silicon or other semiconductor material. The current flow in such devices is primarily vertical and as a result the cells can be more densely packed. All else being equal, this increases the current carrying capability and reduces the on-resistance of the device. Devices that fit into the general catagory of MIS devices include metal-oxide-silicon field-effect transistors (MOSFETs), insulated gate bipolar transistors (IGBTs) and MOS-gated thyristors. Cross-sectional views of a single gate trench in a MOSFET, an IGBT and a MOS-gated thyristor are shown in FIGS. 1, 2 and 3, respectively.
In such devices the gate material, often polysilicon, must be connected to the leads of the device package and to external circuitry by means of a conductive pad, typically metal. To accomplish this, the trench is filled to overflowing with the gate material and the gate material is patterned using lithography and etching. Following the patterning, the gate material normally is restricted to the inside of the trench in the active areas of the device, as shown in FIGS. 1, 2 and 3. In the areas where the contact is to be made to the gate material, however, the gate material extends outside of the trench and overlies the surface of the silicon. This is shown in the three-dimensional cutaway view of a conventional MIS device 40 in FIG. 4, wherein in an inactive gate metal area 41 a polysilicon layer 42 extends outside the trenches 44 and overlies the epitaxial silicon layer 46. Trenches 44 are lined with a gate oxide layer 47 which insulates the polysilicon layer 42 from the epitaxial layer 46. The ends of the trenches are designated 43. A portion of the polysilicon layer 42 overlies a thick field oxide region 48. The area of contact between a subsequent gate metal layer and polysilicon layer 42 is designated 45.
FIG. 5A is a top view of the gate metal area 41 of the same device. FIG. 5B is a cross-sectional view of the same device taken at cross-section 5B—5B (drawn to a different scale from FIG. 5A). In this embodiment the MIS cells 54 in the active area 56 are square. Polysilicon layer 42 and the area of contact 45 between gate metal 49 and polysilicon layer 42 are shown. FIG. 6 is a similar top view taken in the gate pad edge and termination region of the device.
The corners of the trenches are known to be sources of stress, leading to defect-related problems in devices. This is shown in FIG. 7, which is a detailed cross-sectional view taken near the end of one of trenches 44. The upper trench corners, represented by 52, typically oxidize in a manner that leads to local thinning of the oxide and a lower breakdown voltage across the oxide. The sharper the corner, the more serious this problem becomes. Moreover, when a voltage difference is applied between the gate and the adjacent semiconductor material (P-body in FIG. 7, which in a MOSFET is normally shorted to the source), the electric field reaches a maximum at the trench corners as a result of field crowding. This leads to leakage currents from Fowler-Nordheim tunneling through the gate oxide and limits the maximum usable gate voltage of the device. The field-crowding problem is present even if the gate oxide layer is perfectly uniform, and it becomes worse as the trench corner becomes sharper.
For these reasons, many manufacturers use various techniques for rounding the trench corners. It is difficult, however, to round the upper trench corners sufficiently to avoid the problem of an excessive gate leakage current, and it is likely to become more difficult to do so as cell densities increase.
Furthermore, the process used to fabricate trench-gated MOSFETs normally involves many mask steps and yields an uneven topography that hinders the definition of very small features. FIGS. 8A–8I illustrate the steps of a conventional process performed on an N+ silicon substrate 802. The process begins with a first photoresist mask A1 which is formed over an oxide layer 804 and patterned, using normal photolithographic processes, to define the areas where P-tubs will be formed (FIG. 8A). The P-tubs are used to reduce the strength of the electric field at the corners of the trenches. P-type dopant is implant through openings in mask A1 to form P-tubs 806, and mask A1 is removed. After P-tubs 806 are driven in by heating, which thickens oxide layer 804 (FIG. 8B), a second mask A2 is deposited and patterned to define the active region 808 of the device, the oxide layer 804, which has become a field oxide layer, remaining in a termination region 810 of the device (FIG. 8C).
Mask A2 is removed, and a third, trench mask A3 is formed and patterned to define where the trenches will be located. Trenches 812 are then etched, typically using a reactive ion etch (RIE) process (FIG. 8D). Trenches 812A and 812B are interconnected (in the third, dimension outside the plane of the paper) and trench 812C is an optional “channel stopper” trench which is located on the outer edge of the termination area. After the trenches have been etched and mask A3 has been removed, a sacrificial oxide layer is formed and removed to repair any crystal damage that occurred during the RIE process. A gate oxide layer 813 is formed on the walls of the trenches 812.
A polysilicon layer 814 is deposited and doped, filling trenches 812 and overflowing onto the surface of the silicon. A fourth, polysilicon mask A4 is deposited on polysilicon layer 814 and patterned (FIG. 8E). Polysilicon layer 814 is etched back into the trenches 812, except for a portion that is allowed to extend from trench 812B onto the field oxide layer 804 in the gate bus area. It is through this extension of the polysilicon layer 814 that electrical contact with the portion of polysilicon layer 814 in the trenches 812 is made.
Mask A4 is then removed, and P-type dopant is implanted and driven in to form P-body regions 816 (FIG. 8F). While this dopant also gets into the polysilicon layer 814, its concentration is too low to create any problems there.
A fifth mask A5 is deposited and patterned to define areas where N-type dopant is to be implanted to form N+ source regions 818 (FIG. 8G). After N+ source regions 818 have been formed and mask A5 has been removed, a borophosphosilicate glass (BPSG) layer 820 is deposited and reflowed. A sixth mask A6 is formed and patterned to define where contact to the substrate (P-body regions 816 and N+ source regions 818) and to the gate (polysilicon layer 814) is to be made (FIG. 8H). P-type dopant is implanted to form P+ body contact regions 821 and then a metal layer 822 is deposited. A seventh mask (not shown) is formed over metal layer 822 and patterned. Metal layer 822 is etched through the seventh mask to form a source metal 822A and a gate bus 822B (FIG. 8I). Optionally, a passivation layer is deposited, and if so an eighth mask (not shown) is formed and patterned to define the source and gate pads, where external contact to the MOSFET will be made.
There are several disadvantages with this process. First, eight masks are required and this leads to considerable complexity and expense. Second, the presence of the field oxide layer 804 and the extension of the polysilicon layer 814 outside the trenches yields a raised topography in the area of the gate bus 822B. This raised area creates problems in photolithography, particularly as the dimensions of these devices extend further into the submicron range. Third, breakdown may occur across the gate oxide at the upper corners of trench 812 B polysilicon layer 814 and substrate 802.
Therefore, what is needed is a process that is simpler, yields a flatter topography and avoids the breakdown problem at the upper corners of the trenches.
SUMMARY OF THE INVENTION
This invention provides a structure and technique for avoiding the problem of voltage breakdown at the upper corners of the trenches in a trench-gated MIS device. A trench-gated MIS device is formed in a semiconductor chip which comprises an active area containing transistor cells, a gate metal area containing no transistor cells; and a gate metal layer. A trench is formed in a pattern on a surface of the semiconductor chip, the trench extending from the active area into the gate metal area, the trench having walls lined with a layer of an insulating material. A conductive gate material, normally polysilicon, is disposed in the trench, a top surface of the gate material being at a level lower than a top surface of the semiconductor chip. A nonconductive layer overlies the active and gate metal areas, and an aperture is formed in the nonconductive layer over a portion of the trench in the gate metal area. The aperture is filled with a conductive material, often referred to as a “gate metal”, such that the gate metal contacts the conductive gate material in an area of contact that is within the trench.
Since the gate material does not overflow the trench onto the surface of the semiconductor chip, the gate material does not extend around the upper corners of the trench. This avoids the stress that occurs when a voltage difference is created between the gate material and the semiconductor material.
Numerous embodiments according to this invention are possible. For example, to create a good electrical contact between the gate material and the gate metal, a width of the trench at the area of contact between the gate contact material and the gate material may be greater than a width of the trench in the active area. The gate metal may contact the conductive gate material in a first gate finger, the first gate finger being perpendicular to a second gate finger, the second gate finger extending from the active area into the gate metal area and intersecting the first gate finger.
Another aspect of this invention relates to a process of fabricating an MIS device. The process requires fewer masking steps than conventional processes and yields a device with a relatively flat topography which is more amenable to very fine photolithographic processing. The process comprises forming a trench mask over the surface of a semiconductor substrate, the trench mask having an aperture defining the location of a trench; etching through the aperture in the trench mask to form a trench in the substrate; removing the trench mask; forming a first nonconductive layer on a wall of the trench; depositing a layer of a conductive gate material such that the gate material overflows onto the surface of the substrate outside the trench; etching the gate material without a mask such that a top surface of the gate material is reduced to a level below the surface of the substrate; depositing a second nonconductive layer over the surface of the substrate, forming a contact mask over the second nonconductive layer, the contact mask having an aperture; etching through the aperture in the contact mask to form a gate contact aperture in the second nonconductive layer; removing the contact mask; and depositing a second conductive layer over the second nonconductive layer, the second conductive layer extending through the gate contact aperture to make contact with the gate material. Optionally, etching through the contact mask may form a substrate contact aperture in the second nonconductive layer, and the second conductive layer may extend through the substrate contact aperture to make contact with the substrate, and the process may include forming a metal mask over the second conductive layer, the metal mask having an aperture; and etching the second conductive layer through the aperture in the metal mask. The process does not include a mask for etching a portion of the gate contact material and may not include a mask for etching a portion of an oxide layer to form a field oxide region.
Many variations of the process are possible, and the process can be used to fabricate a variety of MIS devices, including MOSFETS, IGBTs, MOS-gated thyristors. The process can also be used to fabricate a MOSFET with integrated Schottky or polysilicon diodes.
The invention also includes an MIS device having a relatively flat topography. In particular, the gate bus does not overlie a thick field oxide region.
Rather, a nonconductive layer (e.g., BPSG) overlies the top surface of the semiconductor substrate. A conductive layer, typically metal, overlies the nonconductive layer. The nonconductive layer contains apertures through which the metal layer makes electrical contact with the substrate in the active region of the MIS device (e.g., the source and body in a MOSFET). A gate bus also overlies the same nonconductive layer. The thickness of the nonconductive layer under the gate bus is substantially the same as the thickness of the nonconductive layer in the active region of the device. In some embodiments, a gate contact trench filled with a conductive gate material is formed in the substrate below the gate bus, and the gate bus is electrically connected to the gate material through an aperture in the nonconductive layer.
In accordance with another aspect of the invention, two or more protective trenches are formed on the opposite sides of the gate contact trench. This allows the gate contact trench to be made wider and deeper than the trenches in the active region of the device without adversely affecting the breakdown voltage at the bottom of the gate contact trench.
BRIEF DESCRIPTION OF THE DRAWINGS
FIG. 1 is a cross-sectional view of a single gate trench in a MOSFET.
FIG. 2 is a cross-sectional view of a single gate trench in an IGBT.
FIG. 3 is a cross-sectional view of a single gate trench in a MOS-gated thyristor.
FIG. 4 is a three-dimensional cutaway view showing how the gate is contacted in a conventional MIS device.
FIG. 5A is a top view and FIG. 5B is a cross-sectional view of the gate metal area of the MIS device shown in FIG. 4.
FIG. 6 is a top view taken in the gate pad edge and termination region of the MIS device.
FIG. 7 is a detailed view of a gate trench, showing the areas of stress at the upper corners of the trench.
FIGS. 8A–8I show the steps of a conventional process for forming a trench-gated MOSFET.
FIG. 9 is a three-dimensional cutaway view of an MIS device in accordance with the invention.
FIG. 10 is a three-dimensional cutaway view of an MIS device in accordance with the invention which contains a P-tub in the mesas.
FIG. 11 is a three-dimensional cutaway view of an MIS device in accordance with the invention which contains a P-tub which extends underneath the trench.
FIG. 12 is a cross-sectional view made by a scanning electron microscope (SEM) a MOS capacitor fabricated in accordance with this invention.
FIG. 13 is a graph showing the Fowler-Nordheim tunneling current as a function of the voltage between the gate and the silicon for various types of MOS capacitors.
FIG. 14 is an overall top view of an MIS chip showing how the active regions, the gate pad regions, the termination regions, and the gate metal regions might be configured.
FIG. 15A is a top view of the gate metal and active regions of an MIS device in accordance with a first embodiment of the invention.
FIG. 15B is a top view of the edge termination and gate pad regions of the first embodiment.
FIG. 15C is a cross-sectional view of the gate contact area in the first embodiment.
FIG. 16A is a top view of the gate metal and active regions of an MIS device in accordance with a second embodiment of the invention.
FIG. 16B is a top view of the edge termination and gate pad regions of the second embodiment.
FIG. 16C is a cross-sectional view of the gate contact area in the second embodiment.
FIG. 16D is a detailed top view of the intersection between a gate finger and the gate finger in which contact between the gate metal and polysilicon is made in the second embodiment.
FIG. 16E is a cross-sectional view of the trench in the second embodiment.
FIG. 16F is a cross-sectional view of the intersection between a gate finger and the gate finger in which contact between the gate metal and polysilicon is made in the second embodiment.
FIG. 17A is a top view of the gate metal and active regions of an MIS device in accordance with a third embodiment of the invention.
FIG. 17B is a top view of the edge termination and gate pad regions of the third embodiment.
FIG. 18 is a top view of the gate metal and active regions of an MIS device in accordance with a fourth embodiment of the invention.
FIG. 19 is a top view of the gate metal and active regions of an MIS device in accordance with a fifth embodiment of the invention.
FIGS. 20A–20F illustrate the steps of a process of fabricating a contact between the gate polysilicon and gate metal in an MIS device in accordance with this invention.
FIGS. 21A–21I illustrate the steps of a process in accordance with the invention for fabricating a trench MOSFET.
FIGS. 22A–22I illustrate the steps of a process for forming a trench MOSFET with an integrated Schottky diode.
FIGS. 23A–23J illustrate the steps of a conventional process for forming a trench MOSFET with integrated polysilicon diodes.
FIGS. 24A–24I illustrate the steps of a process in accordance with the invention for forming a trench MOSFET with integrated polysilicon diodes.
FIGS. 25A–25F illustrate the steps of a process in accordance with this invention for fabricating a MOSFET by growing the body region epitaxially.
FIG. 26A shows a cross-sectional view of a conventional gate contact trench.
FIG. 26B shows a cross-sectional view of a gate contact trench and a pair of protective trenches in accordance with the invention.
FIG. 27A shows a polysilicon MOSFET that can be fabricated using the process shown in FIGS. 24A–24I.
FIGS. 27B and 27C show top and cross-sectional views, respectively, for a particular embodiment of a polysilicon MOSFET.
DESCRIPTION OF THE INVENTION
According to this invention, the polysilicon or other material used to fill the trenches in a trench-gated MIS device is etched back or otherwise held back within the trench such that contact between the gate filling material and the gate metal is made within the trench. The gate filling material does not overlap the upper corners of the trench, thereby eliminating the problems that arise from the stress at the upper corners of the trench. (Note: As used herein, “polysilicon” designates whatever conductive material is deposited in the trench as a gate material, it being understood that in some embodiments metal or other conductive materials may be used instead of polysilicon as the gate material; similarly, “gate metal” is used to designate the conductive material that is used to form a contact with the gate material within the trench, it being understood that in some embodiments polysilicon or other conductive materials may be used instead of metal as the “gate metal”.)
FIG. 9 shows a partial view of a trench-gated MIS device 80 formed in an N-epitaxial (epi) layer 82 which is grown on an N+ substrate 81. A P-body region 83 is shown in N-epi layer 82. A gate trench 84 is lined by a gate oxide layer 85 which connects with an oxide layer 89 on the top surface of N-epi layer 82. Trench 84 is partially filled with a polysilicon gate 86 having a top surface 87 which is within trench 84 (i.e., below the top surface of N-epi layer 82). In this embodiment trench 84 includes a somewhat wider transverse portion 84A. A portion 88 of the top surface 87 in transverse portion 84A indicates where contact will later be made between polysilicon gate 86 and a gate metal layer (not shown).
In contrast with the similar MIS device 40 shown in FIG. 4, the polysilicon within trench 84 does not extend around the upper corners of the trench in the manner of polysilicon layer 42. This avoids the stress problems described above.
FIG. 10 shows an MIS device 90 which is similar to MIS device 80 except that a P-tub 91 is formed in N-epi layer 82 in the mesa between the trench segments to shield the gate trench 84. In the MIS device 100 shown in FIG. 11, P-tub 101 extends into the area directly below the trench 84. MIS devices 90 and 100 are designed to have high breakdown voltages.
FIG. 12 is a cross-sectional view made by a scanning electron microscope (SEM) of a MOS capacitor fabricated in accordance with this invention. The polysilicon gate is shown as 110 and the gate metal as 112. A BPSG dielectric layer 116 overlies the mesas between the segments of trench 114 and provides insulation between the gate metal 112 and the upper corners of trench 114.
FIG. 13 is a graph showing the Fowler-Nordheim tunneling current as a function of the voltage between the gate and the silicon for various types of MOS capacitors. Curves A–E are for the following devices:
Table 1
Curve Type of Device
A Conventional Planar Device
B Device According to Invention with Square Cells
C Device According to Invention with Stripe Cells
D Conventional Device with Square Cells
E Conventional Device with Stripe Cells
According to FIG. 13, in the range from about 25V to 50V the FN tunneling currents are much lower for devices according to the invention than for conventional trench-gated devices and in fact they are quite similar to the currents for conventional planar devices.
The principles of this invention can be applied to a wide variety of cofigurations. Several examples, by no means exhaustive, are shown in FIGS. 15A–15C, 16A–16F, 17A, 17B, 18 and 19. All of these examples show a series of parallel “gate fingers” which leave the the active area of an MIS device and enter a gate metal region of a termination or gate pad region. As used herein, the term “gate finger” refers to an extension of the gate trench into a region outside the active region of the MIS device, e.g., sometimes referred to as the “gate metal” or “gate bus” region or the “termination” or “edge termination” region. FIG. 14 is an overall top view of an MIS chip showing illustratively how the active, gate pad and the edge termination regions might be configured. It will be appreciated by those skilled in the art that numerous alternative configurations are possible.
FIG. 15A shows a first embodiment of the invention. A square-celled MOSFET 140 includes an active region 141 and a gate metal region 142. A series of parallel gate fingers 143 extend from active region 141 into gate metal region 142. The edges of the source metal are designated 144; the edges of the gate metal are designated 145. Areas 146 designate the areas of contact between the polysilicon within gate fingers 143 and gate metal 145. It will be noted that gate fingers 143 expand into wide portions 147 to accommodate areas of contact 146. This allows for a good electrical contact to be made in the trench, spaced from the upper corners of the trench, even though the dimensions of the active cells become very small. FIG. 15C shows a cross-sectional view of one of the areas of contact 146 at cross-section 15C—15C, showing a gate metal 148 and a BPSG layer 149. FIG. 15B shows a top view of a portion of MOSFET 140 that adjoins a termination region 150 and a gate pad 151.
FIG. 16A shows a second embodiment of the invention. MOSFET 160 contains an active region 161 and a gate metal region 162. The edge of the source metal is shown as 164 and the edge of gate metal 168 is shown as 165. A series of parallel gate fingers 163 extend from active region 161 into gate metal region 162. An area of contact 166 between the gate polysilicon and gate metal 168 is made in a gate finger 167 which extends perpendicular to gate fingers 163. In this embodiment, gate finger 167 is wider than gate fingers 163, but this need not be the case. FIG. 16C shows a detailed cross-sectional view taken at cross-section 16C–16C in FIG. 16A. FIG. 16B is a top view of MOSFET 160 in the vicinity of a termination region 170 and a gate pad 171.
There could be problems in filling the trench at the intersections between gate fingers 163 and gate finger 167, inasmuch as gate finger 167 is wider than gate fingers 163. This possible problem is illustrated in FIGS. 16C–16F. FIG. 16C is a detailed top view of the an intersection between one of gate fingers 163 and gate finger 167. The view at cross-section 16E—16E, shown in FIG. 16E, shows a section of the trench filled with polysilicon 173, whereas at the intersection between gate finger 163 and gate finger 167, represented as cross-section 16F—16F and shown in FIG. 16F, polysilicon 173 does not fill the trench completely.
This problem can be overcome in the third embodiment, shown in FIGS. 17A and 17B. MOSFET 180 is similar to MOSFET 160 shown in FIGS. 16A and 16B, except that gate fingers 183 are more widely spaced than gate fingers 163, and gate finger 187 becomes narrower at the intersections with gate fingers 183. Areas of contact 186 between the gate polysilicon and the gate metal do not extend into the areas where gate fingers 183 and 187 intersect. Thus the possible problem caused by the width of gate finger 187 at the intersections with gate fingers 183 is avoided. Of course, the spacing between gate fingers 183 is variable and need not be greater than the spacing between gate fingers 163 in MOSFET, 160. FIG. 17B is a top view of MOSFET 180 in the vicinity of termination region 190 and gate pad 191.
A fourth embodiment, shown in FIG. 18, represents another way of overcoming the possible trench filling problem described above. MOSFET 200 is somewhat similar to MOSFET 160 shown in FIG. 16A, in the sense that parallel gate fingers 203 running from active region 201 to gate metal region 202 intersect gate finger 207 at right angles, but in MOSFET 200 the intersections between gate finger 207 and gate fingers 203 coming from opposite sides of gate finger 207 are offset, resulting in “T” interesections. As a result, the filling of the trench at the intersections is improved as compared with the configuration shown in FIG. 16A. Contact between the polysilicon gate and gate metal is made in an area of contact 206 which runs longitudinally along gate finger 207.
A fifth embodiment, shown in FIG. 19, is like MOSFET 140 shown in FIG. 15A in that gate fingers 223 include wide portions 227 where contact between the gate polysilicon and the gate metal is made. In MOSFET 220, however, the wide portions 227 are offset from each other in the longitudinal direction of gate fingers 223, thereby allowing the distance between gate fingers 223 to be reduced beyond what would otherwise be possible.
A process for making a gate contact within the trench is shown in FIGS. 20A–20F. The process begins with a semiconductor chip which includes an N-epitaxial layer 301 grown in an N+ substrate 300 using a known process. A photoresist trench mask 302 is formed in the surface of N-epi layer 301, as shown in FIG. 20A. A trench 303, shown in FIG. 20B, is formed by reactive ion etching (RIE) through the opening in trench mask 302. In embodiments where certain portions of the trench are widened to allow for the gate contact (see FIGS. 15A, 16A and 17), this is accomplished by adjusting the width of the opening in the trench mask. Trench mask 302 is then removed.
Typically, a sacrificial oxide layer (not shown) is formed on the walls of the trench to repair crystal damage done during the RIE etch, and the sacrificial oxide is then removed. A gate oxide layer 304 is thermally grown on the walls of the trench. A polysilicon layer 305 is deposited over the top surface of N-epi layer 301, filling the trench 303, yielding the structure shown in FIG. 20B.
Polysilicon layer 305 is then etched back, as shown in FIG. 20C, until a top surface 306 of polysilicon layer 305 is below a top surface 307 of N-epi layer 301. It is important that the polysilicon layer 305 be etched back far enough that it no longer overlaps the upper corners of trench 303. Surface 306 of polysilicon layer 305 can be just below top surface 307 of N-epi layer 301. Note that, since the polysilicon is etched back uniformly throughout the chip, this process step can normally be performed without a mask, thereby reducing the costs of fabrication.
Next, a borophosphosilicate glass (BPSG) layer 308 is deposited over the top surface of the structure, and masked with a photoresist layer 309. An opening 310 in the photoresist mask is formed over the central portion of the trench 303. such that the edges of opening 310 are spaced laterally inward from the walls of the trench 303. The resulting structure is shown in FIG. 20D.
BPSG layer 308 is etched through the opening 310 in photoresist layer 309, producing a gate contact opening 311 which is generally coincident with opening 310 and which extends to the surface 306 of polysilicon 305. Photoresist layer 309 is then removed, yielding the structure shown in FIG. 20E.
As shown in FIG. 20F, a metal layer 312 is deposited. Since contact between metal layer 312 and polysilicon 305 occurs entirely within a central region of the trench 303, and since the width of the gate contact opening 311 is less than the width of the top surface 306 of polysilicon layer 305, proximity between the polysilicon layer 305 and the N-epi layer 301 at the upper corners of trench 303 is avoided. It is this proximity that creates the stress problems described above.
As described above, the conventional process for forming a trench-gated MOSFET requires numerous mask steps (eight in the example shown in FIGS. 8A–8I) and leaves a ridge in the area of the gate bus which makes photolithography at small dimensions difficult. Another aspect of this invention is an improved process which avoids these problems.
FIGS. 21A–21I illustrate the steps of a process in accordance with this invention. The process starts with an N− layer 402, which could be an epi layer overlying an N+ substrate. Optionally, a thin oxide layer 404 may be formed on the surface of layer 402 for adhesion of the photoresist mask or to provide a hard mask for resist etch selectivity reasons or to avoid later oxidation. Next, a first photoresist mask B1 is formed and patterned to define the locations of the trenches. Since the layer 402 is very flat, mask B1 may be thinner than the masks required in the prior art (e.g., mask A3 shown in FIG. 8D), and smaller features (trenches) may therefore be defined. Trenches 406 are etched through mask B1 using RIE. Trenches 406 include trenches 406A in an active area 407, a gate bus contact trench 406B in a termination area 409, and an optional channel stopper trench 406C in a channel stopper area 411 (FIG. 21A). Trenches 406A and 406B are connected together in the third dimension.
After trenches 406 have been etched, mask B1 is stripped, and a sacrificial oxide layer (not shown) is grown on the walls of trenches 406 and etched to remove crystal defects caused by the RIE process. A gate oxide layer 408 is grown on the walls of trenches 406. A polysilicon layer 410 is deposited, doped and etched back until polysilicon layer 410 remains only inside the trenches 406 (FIG. 21B). Note that unlike the process described in FIGS. 8A–8I, this process requires no polysilicon mask to pattern polysilicon layer 410. A re-oxidation may be performed if a thicker oxide layer is needed over the mesa and termination areas.
A second mask B2 is deposited and patterned to define the regions where the body implant is to be introduced into layer 402. A P-type dopant is implanted through openings in mask B2 and driven in to form P-body regions 412 (FIG. 21C). Unlike the process described in FIGS. 8A–8I, this process requires no mask to define the active area (see, e.g., mask A2 in FIG. 8C). If the designer wishes to pattern the body within the mesa region to achieve a “split-well” structure, as described in J. Zeng et al., ISPSD 2000, pp 145–148, the fact that the surface of the layer 402 is very flat makes small feature lithography easier. The implant energy of the P-type dopant is selected such that the dopant penetrates the oxide layer 408 but not the mask B2. If oxide layer 408 is too thick, it may be etched back to facilitate penetration by the implant.
The mask B2 is then stripped, the structure is cleaned an d the P-type dopant is annealed and diffused to achieve the desired junction depth within the N-type layer.
A third mask B3 is deposited and patterned to define the locations of the source regions. N-type dopant is implanted through opening in mask B3 to form N+ source regions 414 (FIG. 21D). Note that the N-type dopant is kept out of the termination area and the periphery of the active area but is allowed into the region near the “channel stopper” trench 406C, forming N+ regions 415, which prevent a surface inversion layer from forming. The surface of the structure is still very flat, making photolithography relatively easy. The oxide layer 408 may need to be etched down with mask B3 in place, depending on the ion species to be implanted through the oxide layer 408.
Mask B3 is stripped and the structure is cleaned again.
A layer 416 of a dielectric such as BPSG is deposited and densified if necessary. A fourth mask B4 is deposited over BPSG layer 416 and patterned to define the contact openings (FIG. 21E). Since the structure is still quite flat, this lithography step may be performed with a thinner layer of photoresist than, for example, mask A6 shown in FIG. 8H. After BPSG layer 416 is etched through openings in mask B4, mask B4 is removed and P-type dopant is implanted to form P-type contact regions 418 (FIG. 21F). This implant reduces the resistance between the metal layer to be deposited and the body, and it may also be used to shift avalanche breakdown from the region adjacent to the trenches to the central region of the mesas between the trenches, as described in U.S. Pat. No. 5,072,266 to Bulucea et al. If this technique is hampered because the body junction is too deep, a series of distributed avalanche clamps can be created by patterning regions where the body implant is blocked, creating curved junctions where the dopant diffuses laterally. The spacing between the curved junctions can be controlled to set the breakdown voltage to be lower than that of the active trenches. The source contact must be interrupted in these regions. Alternatively, the breakdown voltage can be set by designing the breakdown voltage in the termination area 409 to be lower than the breakdown voltage in the active area 407.
Note that the contact is made to the gate within trench 406B, thereby eliminating the need for a polysilicon mask. The flatness of the layer 402 makes it easier to define a small contact opening in the BPSG layer 416.
Alternatively, two separate masks can be used to form the contact openings through BPSG layer 416 to the polysilicon layer 410 in gate bus contact trench 406B and to N− layer 402, respectively, instead of using a single mask B4.
The structure is now subjected to a high temperature anneal in the range of 750° C. to 950° C. This activates the P+ contact implant, activates the N+ source implant (if it has not already been activated) and densifies and smoothes the BPSG layer 416.
A metal layer 419 is deposited, and a fifth mask B5 is deposited over metal layer 419 and patterned (FIG. 21G). Metal layer 419 is etched through openings in mask B5 into a source metal portion 419S, a gate metal portion 419G, a field plate 41F, and an edge termination 419E. A passivation layer 420 is deposited over metal layer 419, and a sixth mask B6 is deposited and patterned (FIG. 21H). Passivation layer 420 is etched through openings in mask B6 to expose source metal portion 419S (FIG. 21I). Next, the wafer can be thinned by grinding it from the back side, and a layer of back side metal can be applied as is customary to form the drain contact.
The process illustrated in FIGS. 21A–21I offers a number of advantages over prior art processes such as the one shown in FIGS. 8A–8I. The process of this invention has fewer steps and is less costly. For example, six masking steps are required instead of eight. A high degree of silicon flatness is maintained throughout the process until metal deposition, and this helps in the photolithographic delineation of small features and the fabrication of small cell pitches. All contact to the gate is made within the trenches, thus avoiding the current leakage problems that occur as a result of Fowler-Nordheim tunneling through the gate oxide at the upper corners of the trenches when the polysilicon gate material extends out of the trenches and onto the top surfaces of the mesas.
In addition, the area around the “channel-stopper” trench 406C is free of P-type diffusions and may be provided with a field plate that is coupled to the drain via trench 404C as shown in FIG. 21I. The N+ regions 415 at the periphery track the drain potential because the sawed edge of the chip behaves as a resistive short to the drain. This structure improves the reliability of higher voltage terminations by terminating any inversion layer that may form as a result of charges over the terminations or hot carrier aided walk-out.
The process shown in FIGS. 21A–21I may be adapted simply to provide a trench MOSFET with an integrated Schottky diode, such as a Trench-MOS Barrier Schottky (TMBS) device. FIGS. 22A–22I illustrate the steps of an alternative process for forming a trench MOSFET with a Trench-MOS Barrier Schottky device. The process includes one additional mask compared with the process shown in FIGS. 21A–21I.
The process starts with an N− silicon layer 502, which again could overlie a heavily-doped substrate. Optionally, a thin oxide layer 504 may be formed on the surface of layer 502 for adhesion of the photoresist mask or to provide a hard mask for resist etch selectivity reasons or to avoid later oxidation. Next, a first photoresist mask C1 is formed and patterned to define the locations of the trenches. Since the surface of layer 502 is very flat, mask C1 may be thinner than the masks required in the prior art (e.g., mask A3 shown in FIG. 8D), and smaller features (trenches) may therefore be defined. Trenches 506 are etched through mask C1 using RIE. Trenches 506 include trenches 506A in an active area 507, a gate bus contact trench 506B in a termination area 509, an optional channel stopper trench 506C in a channel stopper area 511, and trenches 506D in a Schottky diode area 513 (FIG. 22A). Trenches 506A and 506B (and optionally trenches 506D) are connected together in the third dimension.
After trenches 506 have been etched, mask C1 is stripped, and a sacrificial oxide layer is grown on the walls of trenches 506 and etched to remove crystal defects caused by the RIE process. A gate oxide layer 508 is grown on the walls of trenches 506. A polysilicon layer 510 is deposited, doped and etched back until polysilicon layer 510 remains only inside the trenches 506 (FIG. 22B). Like the process described in FIGS. 21A–21I, this process requires no polysilicon mask to pattern polysilicon layer 510. A re-oxidation may be performed if a thicker oxide layer is needed over the mesa and termination areas.
A second mask C2 is deposited and patterned to define the regions where the body implant is to be introduced into layer 502. A P-type dopant is implanted through openings in mask C2 and driven in to form P-body regions 512 (FIG. 22C). Like the process described in FIGS. 21A–21I, this process requires no mask to define the active area (see, e.g., mask A2 in FIG. 8C). The implant energy of the P-type dopant is selected such that the dopant penetrates the oxide layer 508 but not the mask C2. If oxide layer 508 is too thick, it may be etched back to facilitate penetration by the implant.
The mask C2 is then stripped, the structure is cleaned and the P-type dopant is annealed and diffused to achieve the desired junction depth with the N-type layer 502.
A third mask C3 is deposited and patterned to define the locations of the source regions. N-type dopant is implanted through opening in mask C3 to form N+ source regions 514 (FIG. 22D). Note that the N-type dopant is kept out of the termination area and the periphery of the active area but is allowed into the region near the “channel stopper” trench 506C, forming N+ regions 515. The surface of the structure is still very flat, making photolithography relatively easy. The oxide layer 508 may need to be etched down with mask C3 in place, depending on the ion species to be implanted through the oxide layer 508.
Mask C3 is stripped and the structure is cleaned again.
A layer 516 of a dielectric such as BPSG is deposited and densified if necessary. A fourth mask C4 is deposited over BPSG layer 516 and patterned to define the contact openings (FIG. 22E). Since the structure is still quite flat, this lithography step may be performed with a thinner layer of photoresist than, for example, mask A6 shown in FIG. 8H. After BPSG layer 516 is etched through openings in mask C4, mask C4 is removed. An additional fifth mask (contact block) C5 is deposited and patterned to cover the Schottky diode area 513 and a portion of the channel stopper area 511. P-type dopant is implanted to form P-type contact regions 518, with mask C5 preventing the dopant from getting into the Schottky diode area 513 (FIG. 22F). This implant reduces the resistance between the metal layer to be deposited and the body, and it may also be used to shift avalanche breakdown from the region adjacent to the trenches to the central region of the mesas between the trenches, as described in U.S. Pat. No. 5,072,266 to Bulucea et al. If this technique is hampered because the body junction is too deep, a series of distributed avalanche clamps can be created by patterning regions where the body implant is blocked, creating curved junctions where the dopant diffuses laterally. The spacing between the curved junctions can be controlled to set the breakdown voltage to be lower than that of the active trenches. The source contact must be interrupted in these regions. Alternatively, the breakdown voltage can be set by designing the breakdown voltage in the termination area 509 to be lower than the breakdown voltage in the active area 507.
Note that the contact is made to the gate within trench 506B, thereby eliminating the need for a polysilicon mask. The flatness of the layer makes it easier to define a small contact opening in the BPSG layer 516.
The structure is now subjected to a high temperature in the range of 750° C. to 950° C. This activates the P+ contact implant, activates the N+ source implant (if it has not already been activated) and drives it to a lower junction depth, and densifies and smoothes the BPSG layer 516.
A metal layer 519 is deposited, making contact in particular with the N+ source regions 514 and P-body regions 518 in the active area 507, and with the surface of the layer 502 in the Schottky diode area 513. A sixth mask C6 is deposited over metal layer 519 and patterned (FIG. 22G). Metal layer 519 is etched through openings in mask C6 and divided into a source metal portion 519S in Schottky diode area 513 and active area 505, a gate metal portion 519G, a field plate 519F, and an edge termination 519E. A passivation layer 520 is deposited over metal layer 519, and a seventh mask C7 is deposited and patterned (FIG. 22H). Passivation layer 520 is etched through openings in mask C7 to expose source metal portion 519S (FIG. 22I). Next, the wafer can be thinned by grinding it from the back side, and a layer of back side metal can be applied as is customary to form the drain contact.
Note also that the availability of the fifth mask C5 allows the fourth mask C4 to be held back from the trench 506C, creating an opening in BPSG layer 516 that exposes N+ regions 515 and allows metal layer to make contact with N+ regions 515 as well as the polysilicon in trench 506A. This provides better contact between the field plate edge termination and the drain.
Alternatively, a trench-MOS barrier Schottky (TMBS), an MPS rectifier, or a junction barrier Schottky (JBS) may be formed within the same general process flow. The Schottky diodes may be interspersed among the MOSFET cells in the active area or may be grouped in a separate part of the chip, as shown in FIGS. 22A–22I. The process of FIGS. 22A–22I provides a cost-effective method of replacing the conventional MOSFET-Schottky combination, currently available in a two-chip form. As compared with the basic process shown in FIGS. 21A–21I, only a contact block mask (mask C5 in FIG. 22F) needs to be added. In the eight-mask prior art process shown in FIGS. 8A–8I, including Schottky diodes would raise the mask count by two (a body block mask and a contact block mask), resulting in a total of ten masks.
Another alternative of the basic process allows the integration of polysilicon diodes into the device. FIGS. 24A–24I illustrate the steps of such a process which involves the addition of one mask.
The conventional process is illustrated in FIGS. 23A–23J, requiring 9 masks. An oxide layer 604 and a first photoresist mask D1 are deposited on an N+ silicon layer 602 and are patterned with openings in the areas were P-type tubs are to be formed (FIG. 23A).
A P-type dopant is implanted through the openings in mask D1 and driven in, forming P-type tubs 606 (FIG. 23B). After mask D1 has been removed, a second photoresist mask D2 is formed with an opening defining the location of an active area 608. Oxide layer 604 is etched through the opening in mask D2 (FIG. 23C), and mask D2 is removed. A third photoresist mask D3 is formed, defining the locations of the trenches. Layer 602 is etched to form trenches 610 in active area 608 and a trench 612 in the channel stopper area (FIG. 23D).
A sacrificial oxide layer is formed and removed from the walls of trenches 610, 612, and a gate oxide layer is formed on the walls of the trenches. A polysilicon layer 614 is deposited and an N-type background dopant is implanted into polysilicon layer 614. A low temperature oxide (LTO) layer 611 is deposited. A fourth photoresist mask D4 is deposited over the region of polysilicon layer 614 where the diodes are to be formed. Using photoresist mask D4, LTO 611 layer is etched to form a mask (FIG. 25E), and photoresist mask D4 is removed. Polysilicon layer 614 is then doped with POCl3, using LTO layer 611 as a mask.
A fifth mask D5 is deposited, and polysilicon layer 614 is etched back into the trenches 610 except in region 616, where a portion of the polysilicon is allowed to overlap the edge of the trench and extend over the oxide layer 604 (FIG. 23F). Mask D5 is removed.
A P-type dopant is implanted in the vicinity of trenches 610 and driven in to form P-body region 618 (FIG. 23G).
A sixth N+ block mask D6 is deposited and patterned. N-type dopant is implanted to form N+ source regions adjacent to trenches 610. The N-type dopant also enters portions of polysilicon layer 614, where it forms diodes 622 and 624 at junctions with the N-type background-doped regions of polysilicon layer 614 (FIG. 23H). Mask D6 is removed.
A BPSG layer 626 is deposited and a seventh contact mask D7 is deposited and patterned over BPSG layer 626. Openings in mask D7 define where contact will be made to various areas of the device. BPSG layer 626 is etched through the openings in mask D7, and P-type dopant is implanted through the openings in BPSG layer 626 to form P+ contact regions 625 (FIG. 23I). Mask D7 is removed.
A metal layer 628 is deposited, metal layer 628 making contact with the device through the openings in BPSG layer 626. An eighth mask (not shown) is formed over metal layer 628. Metal layer 628 is etched through openings in the eighth mask to form a portion 628A which contacts the anode of diode 622, a portion 628B which contacts the cathode of diode 622 and the source-body regions of the MOSFETs in the active area, and a portion 628C which contacts the cathode of diode 624 (FIG. 23J). Another section of metal layer 628 (not shown) contacts the polysilicon gate (which is also the anode of diode 624) in the third dimension.
Portion 628A of metal layer 628 is connected to the polysilicon gate, and portion 628C of metal layer 628 is connected to the drain of the device (both in the third dimension). Thus diode 622 connects the source-body and the gate and diode 624 connects the drain and the gate. However, to fabricate the device requires nine masking steps if a final passivation and pad mask are implemented.
The foregoing prior art process can be contrasted with the process shown in FIGS. 24A–24I, wherein the number of masking steps is reduced to seven.
The process starts with an N− layer 702, which could be an epi layer overlying an N+ substrate. Optionally, a thin oxide layer 704 may be formed on the surface of layer 702 for adhesion of the photoresist mask or to provide a hard mask for resist etch selectivity reasons or to avoid later oxidation. Next, a first photoresist mask E1 is formed and patterned to define the locations of the trenches. Since the surface of layer 702 is very flat, mask E1 may be thinner than the masks required in the prior art (e.g., mask A3 shown in FIG. 8D), and smaller features (trenches) may therefore be defined. Trenches 706 are etched through mask E1 using RIE. Trenches 706 include trenches 706A in an active area 707, a gate bus contact trench 706B in a termination area 709, and an optional channel stopper trench 706C in a channel stopper area 711 (FIG. 24A). Trenches 706A and 706B are connected together in the third dimension.
After trenches 706 have been etched, mask E1 is stripped, and a sacrificial oxide layer is grown on the walls of trenches 706 and etched to remove crystal defects caused by the RIE process. A gate oxide layer 708 is grown on the walls of trenches 706. A polysilicon layer 710 is deposited, doped and etched back until polysilicon layer 710 remains only inside the trenches 706 (FIG. 24B). A re-oxidation may be performed if a thicker oxide layer is needed over the mesa and termination areas.
A second mask E2 is deposited and patterned to define the regions where the body implant is to be introduced into layer 702. A P-type dopant is implanted through openings in mask E2 and driven in to form P-body regions 712 (FIG. 24C). Mask E2 is removed.
A low temperature oxide (LTO) layer 714 is deposited over the surface of layer 702 to a thickness of, for example 2000 Å, and a second polysilicon layer 716 is deposited over layer 714. A blanket implant of polysilicon layer 716 with P-type dopant is performed. A third mask E3 is deposited over layer 702 and patterned to define the location of a polysilicon diode (FIG. 24D).
Polysilicon layer 716 and LTO layer 714 are etched through the openings in mask E3, defining the polysilicon diode, and mask E3 is removed. A fourth mask E4 is deposited, and N-type dopant is implanted through the openings in mask E4, simultaneously forming N+ source regions 718 and the cathode of a diode 720 (FIG. 24E). Mask E4 is removed.
Next a BPSG layer 722 is deposited and a fifth mask E5 is deposited over BPSG layer 722 and patterned (FIG. 24F). BPSG layer 722 is etched through openings in mask E5 to create contact openings in BPSG layer 722, and mask E5 is removed. P-type dopant is implanted through the openings in BPSG layer 722 to form contact regions 724 (FIG. 24G). BPSG layer 722 is reflowed by heating.
A metal layer 726 is deposited over BPSG layer 722, establishing electrical contact with the device through the openings in BPSG layer 722. A sixth mask E6 is deposited over metal layer 726 and is patterned (FIG. 24H). Metal layer 726 is etched through openings in mask E6 to separate metal layer 726 into a portion 726A that contacts the source-body terminals of the MOSFETs and the anode of diode 720, a portion 726B that contacts the cathode of diode 720 and the polysilicon in trench 706B in the gate bus area of the device, a portion 726C that forms a field plate in the termination area of the device, and a portion 726D that contacts the polysilicon in trench 706C in the channel stopper area of the device.
The process described in FIGS. 24A–24I can also be used to fabricate a polysilicon MOSFET 730, shown in FIGS. 27A–27C. A trench 706D is etched through the mask E1. Gate oxide layer 708 is grown and polysilicon layer 710 is deposited as described above (see FIG. 24B). Mask E2 is deposited and P-type dopant is implanted through openings in mask E2 to form a P-type region 740 in N-epi layer 702. Then, after mask E2 is removed, LTO layer 714 is deposited over the surface of layer 702, and the second polysilicon layer 716 is deposited over LTO layer 714 (see FIG. 24D). A blanket P-type implant of polysilicon layer 716 is performed.
Polysilicon MOSFET 730 can be formed in numerous geographies. For example, the source/drain regions may be interdigitated as shown in the top view of FIG. 27B. FIG. 27C is a cross-sectional view of the structure shown in FIG. 27B taken at section 27C—27C.
Mask E3 is used to pattern polysilicon layer 716 and LTO layer 714 as shown in FIG. 27A. At the same time mask E3 is used to form an opening through polysilicon layer 716 and LTO layer 714 to a gate contact region 748 on polysilicon layer 710. After mask E3 has been removed, mask E4 is deposited and patterned such that the subsequent implantation of N-type dopant through openings in mask E4 forms an N+ source region 742 and an N+ drain region 744 in polysilicon layer 716. N+ regions 742 and 744 are formed at the same time as the cathode of diode 720 (see FIG. 24E). Source region 742 and drain region 744 are separated by a P-body region 746 that is located directly over trench 706D.
BPSG layer 722 is deposited and openings in mask E5 are used to etch through BPSG layer 722 to a source contact 750, a drain contact 752 and a body contact 754. The openings in BPSG layer 722 are filled with metal layer 726, and mask E6 is used to separate metal layer 726 into source, drain, body and gate segments (not shown). In many embodiments the source and body segments of metal layer 726 are shorted together or are part of a single source-body segment of metal layer 726.
Another variation of the process can be used to fabricate a MOSFET by growing the body region of the device epitaxially. This process is shown in FIGS. 25A–25F.
Initially, a P-type epitaxial (epi) layer 904 is grown on the surface of an N-type layer 902. A first mask F1 is then deposited on the surface of epi layer 904 and patterned. Trenches 906 are etched through openings in mask F1, with trenches 906A in an active region 907, trench 906B in a termination region 909, trench 906C in a channel stopper region 911, and a wide trench 906D in termination region 909 (FIG. 25A). A sacrificial oxide layer (not shown) is grown on the walls of the trenches 906 to repair crystal damage caused by the etching. The sacrificial oxide layer is removed, and a gate oxide layer 908 is grown on the walls of the trenches 906. A polysilicon layer 910 is then deposited over the surface of the device, doped and etched back so that it remains in the trenches 906A, 906B and 906C (FIG. 25B). Because trench 906D is very wide, polysilicon layer 910 is removed from trench 906D.
A second mask F2 is deposited and patterned and N-type dopant is implanted through openings in mask F2 to form N+ source regions 914 and an N+ region 915 around trench 906C (FIG. 25C). Mask F2 is removed.
A BPSG layer 922 is deposited, and a third mask F3 is deposited over BPSG layer 922 and patterned (FIG. 25D). BPSG layer 922 is etched through mask F3, and mask F3 is removed. P-type dopant is implanted to form P+ contact regions 918 (FIG. 25E). The doping concentration of the P-type dopant is not high enough to significantly affect the doping of polysilicon layer 910 in trench 906B.
A metal layer 926 is deposited and a fourth mask F4 is deposited over metal layer 926 and patterned. Metal layer 926 is etched through openings in mask F4 to separate metal layer 926 in to a portion 926A that contacts the source-body regions of the MOSFETs and a portion 926B that contacts the polysilicon in trench 906A (FIG. 25F). Mask F4 is then removed.
There are several advantages to this process. The number of masks required is further reduced to only four. It is a low thermal budget process, since the P-type body dopant, being grown epitaxially rather than implanted, does not need to be activated and driven in. This is of great benefit in the manufacture of shallow trench, low threshold voltage, and P-channel devices. (Of course, the body dopant would be N-type for P-channel devices.) Since the temperature does not have to exceed about 900° C. after the trenches are filled, materials such as tungsten and titanium silicide can be used in place of polysilicon to fill the trenches. The process can be adapted as shown in FIGS. 24A–24I to fabricate polysilicon diodes and MOSFETs in the same device.
It may be desirable to make the gate contact trench wider than the trenches in the active area of the device, as shown in FIGS. 15–19. When this is done, unless special precautions are taken in the etching process, the gate contact trench will also be deeper than the trenches in the active area. This is illustrated in FIG. 26A, which shows a gate contact trench 950 positioned between two MOSFET trenches 952. The increased depth of trench 950 would be of no consequence if the bottom of the trench were covered or shielded by a deep diffusion of the same polarity as the body. Absent such a deep diffusion, however, the breakdown voltage will be lower under gate contact trench 950 than under active MOSFET trenches 952. The potential contours, represented by the dashed line in FIG. 25A, are curved under trench 950, indicating that the breakdown voltage is less in that location than under trenches 952.
This problem can be alleviated or overcome by placing shielding trenches on the opposite sides of trench 950, as illustrated by shielding trenches 954 in FIG. 25B. Shielding trenches 954 can be the same size as active MOSFET trenches 952, but this need not be the case. Shielding trenches 954 should be positioned close to gate contact trench 950. Preferably the spacing between shielding trenches 954 and gate contact trench 950 is less than the thickness of the N-epi layer, e.g., the same as the width of the mesas between the trenches in the active area of the device. The mesas between shielding trenches 954 and gate contact trench 950 may be allowed to float. In some cases, it may be desirable to form two or more shielding trenches on each side of the gate contact trench. The shielding trenches improve the breakdown of the gate contact trench because the limited charge available between the shielding trenches and the gate contact trench flattens out the potential contours, as shown by the dashed line in FIG. 25B.
It will be understood by those skilled in the art that the broad principles of this invention can be used to fabricate many embodiments in addition to those specifically described herein. Accordingly, the embodiments described herein are to be regarded as illustrative and not limiting.

Claims (17)

1. A process of fabricating an MIS device, the device comprising an active region and a termination region, comprising:
forming a trench mask over the surface of a semiconductor substrate, the substrate being doped with a material of a first conductivity type, the trench mask having an aperture defining the location of a termination trench to be formed;
etching through the aperture in the trench mask to form a termination trench in the substrate;
removing the trench mask;
forming a first nonconductive layer on a wall of the termination trench;
depositing a layer of a conductive gate material into the termination trench, the conductive gate material overflowing the surface of the substrate outside the termination trench;
etching the gate material without a mask such that a top surface of the gate material in the termination trench is reduced to a level below the surface of the substrate;
depositing a second nonconductive layer over the surface of the substrate;
forming a contact mask over the second nonconductive layer, the contact mask having a gate contact aperture;
etching the second nonconductive layer through the gate contact aperture in the contact mask to form a gate contact aperture in the second nonconductive layer;
removing the contact mask; and
depositing a second conductive layer over the second nonconductive layer, the second conductive layer extending through the gate contact aperture to make contact with the conductive gate material in the termination trench wherein said process does not include a mask for etching a portion of an oxide layer to form a field oxide region in the termination region.
2. The process of claim 1 wherein the contact mask has a substrate contact aperture, the process comprising etching the second nonconductive layer through the substrate contact aperture in the contact mask to form a substrate contact aperture in the second nonconductive layer, and wherein depositing a second conductive layer over the second nonconductive layer causes the second conductive layer to extend through the substrate contact aperture to make contact with the substrate.
3. The process of claim 2 comprising forming a metal mask over the second conductive layer, the metal mask having an aperture, and etching the second conductive layer through the aperture in the metal mask to form a first portion of the second conductive layer that is in electrical contact with the gate material and a second portion of the second conductive layer that is in electrical contact with the substrate, the first and second portions of the second conductive layer being electrically isolated from each other.
4. The process of claim 1 comprising forming a body mask over the surface of the substrate, the body mask having an aperture, and implanting dopant of a second conductivity type into the substrate through the aperture in the body mask to form a body region.
5. The process of claim 1 wherein the trench mask contains a second aperture in the active region and a third aperture in a channel stopper region, and wherein the process comprises etching the substrate through the second and third apertures to form an active trench in the active region and a channel stopper trench in the channel stopper region.
6. The process of claim 5 comprising forming a source mask over the substrate, the source mask having an aperture over an area of the substrate adjacent to the active trench, and implanting dopant of the first conductivity through the aperture in the source mask to form a source region of the MIS device.
7. The process of claim 6 wherein the source mask comprises a second aperture in the channel stopper region and the process comprises implanting dopant of the first conductivity type into an area adjacent to the channel stopper trench.
8. The process of claim 2 comprising implanting dopant of the second conductivity type through the substrate contact aperture in the second nonconductive layer to form a heavily-doped contact region in the substrate.
9. The process of claim 5 wherein
depositing a layer of conductive gate material comprises depositing the conductive gate material into the channel stopper trench;
etching the gate material without a mask comprises reducing the surface of the gate material in the channel stopper trench to a level below the surface of the substrate;
the contact mask has a second aperture over the channel stopper trench;
the process comprises etching the second nonconductive layer through the second aperture in the contact mask to expose the surface of the conductive gate material in the channel stopper trench; and
depositing the second conductive layer comprises the second conductive layer to flow into the second aperture in the contact mask and to make electrical contact with the conductive gate material in the channel stopper trench.
10. The process of claim 1 wherein:
the second conductive layer comprises metal;
the trench mask comprises a second aperture;
the process comprises etching the substrate through the second aperture in the trench mask to form a Schottky diode trench in the substrate;
depositing a layer of a conductive gate material comprises depositing the conductive gate material into the Schottky trench;
a body mask covers the Schottky trench and an adjacent area of the substrate;
the contact mask has a second aperture over an area of the substrate adjacent to the Schottky trench;
the process comprises etching the second nonconductive layer through the second aperture in the contact mask to expose the area of the substrate adjacent to the Schottky trench; and
depositing the second conductive layer comprises causing the second conductive layer to fill the second aperture in the contact mask and to make electrical contact with the area of the substrate adjacent to the Schottky trench, thereby forming a Schottky diode.
11. The process of claim 10 wherein the trench mask contains a second aperture in the active region, and wherein the process comprises etching the substrate through the second aperture to form an active trench in the active region.
12. The process of claim 11 comprising:
depositing a polysilicon layer over the substrate;
introducing a dopant of a second conductivity type into the polysilicon layer;
forming a polysilicon mask over the polysilicon layer, the polysilicon mask defining the location of a polysilicon diode to be formed;
etching an area of the polysilicon layer not covered by the polysilicon mask;
removing the polysilicon mask;
forming a source mask, the source mask having a first aperture over an area of the substrate adjacent to the trench and a second aperture over a region of the polysilicon layer; and
implanting dopant of the first conductivity type through the first and second apertures in the source mask to form a source region of the MIS device and a terminal of a polysilicon diode.
13. The process of claim 12 wherein:
depositing said second nonconductive layer is performed after implanting dopant of the first conductivity type through the first and second apertures in the source mask;
the contact mask has a cathode aperture overlying a cathode of the polysilicon diode;
the process comprises etching the second nonconductive layer through the anode and cathode apertures in the contact mask to form anode and cathode contact apertures in the second nonconductive layer, respectively; and
depositing a second conductive layer comprises causing the second conductive layer to flow into the anode and cathode contact apertures so as to make electrical contact with the anode and cathode, respectively, of the polysilicon diode.
14. The process of claim 12 wherein:
the polysilicon mask defines the location of a polysilicon MOSFET to be formed;
the trench mask contains a third aperture in the active region, the process comprising etching the substrate through the third aperture to form a polysilicon MOSFET trench; and
wherein the source mask has at least one opening defining a region within the polysilicon MOSFET.
15. The process of claim 1 comprising:
forming a second contact mask over the second nonconductive layer, the second contact mask having a substrate contact aperture;
etching the second nonconductive layer through the substrate contact aperture in the second contact mask to form a substrate contact aperture in the second nonconductive layer; and
wherein depositing a second conductive layer over the second nonconductive layer causes the second layer to extend through the substrate contact aperture to make contact with the substrate.
16. A process of fabricating an MIS device comprising:
providing a semiconductor substrate doped with a dopant of a first conductivity type;
growing an epitaxial layer of a second conductivity type on a semiconductor surface;
forming a trench mask over the surface of the epitaxial layer, the trench mask having a first aperture in an active region of the device and a second aperture in a termination region of the device, the termination region being located between the active region and a channel stopper region;
etching the epitaxial layer through the first and second apertures in the trench mask to form first and second trenches, the second trench being substantially wider than the first trench;
removing the trench mask;
forming a first nonconductive layer on a wall of the first and second trenches;
depositing a layer of a conductive gate material into the first and second trenches, the layer of conductive gate material overflowing the surface of the substrate outside the trenches;
etching the conductive gate material such that a top surface of the conductive gate material in the first trench is reduced to a level below the surface of the substrate and the conductive gate material in the second trench is substantially removed;
depositing a second nonconductive layer over the surface of the epitaxial layer and over the gate material in the first trench and into the second trench;
forming a contact mask over the second nonconductive layer, the contact mask having a substrate contact aperture and a gate contact aperture;
etching the second nonconductive layer through the apertures in the contact mask to form a substrate contact aperture and a gate contact aperture in the second nonconductive layer;
removing the contact mask; and
depositing a second conductive layer over the second nonconductive layer, the second conductive layer extending through the substrate contact aperture to make contact with the substrate and through the gate contact aperture to make contact with the conductive gate material wherein said process does not include a mask for etching a portion of an oxide layer to form a field oxide region in the termination region.
17. The process of claim 16 comprising:
forming a metal mask over the second conductive layer, the metal mask having an aperture; and
etching the second nonconductive layer through the aperture in the metal mask.
US10/832,776 2002-03-22 2004-04-27 Structures of and methods of fabricating trench-gated MIS devices Expired - Lifetime US7005347B1 (en)

Priority Applications (1)

Application Number Priority Date Filing Date Title
US10/832,776 US7005347B1 (en) 2002-03-22 2004-04-27 Structures of and methods of fabricating trench-gated MIS devices

Applications Claiming Priority (2)

Application Number Priority Date Filing Date Title
US10/104,811 US6838722B2 (en) 2002-03-22 2002-03-22 Structures of and methods of fabricating trench-gated MIS devices
US10/832,776 US7005347B1 (en) 2002-03-22 2004-04-27 Structures of and methods of fabricating trench-gated MIS devices

Related Parent Applications (1)

Application Number Title Priority Date Filing Date
US10/104,811 Division US6838722B2 (en) 2002-03-22 2002-03-22 Structures of and methods of fabricating trench-gated MIS devices

Publications (1)

Publication Number Publication Date
US7005347B1 true US7005347B1 (en) 2006-02-28

Family

ID=28040697

Family Applications (6)

Application Number Title Priority Date Filing Date
US10/104,811 Expired - Lifetime US6838722B2 (en) 2002-03-22 2002-03-22 Structures of and methods of fabricating trench-gated MIS devices
US10/668,866 Abandoned US20040113201A1 (en) 2002-03-22 2003-09-22 Structures of and methods of fabricating trench-gated MIS devices
US10/832,776 Expired - Lifetime US7005347B1 (en) 2002-03-22 2004-04-27 Structures of and methods of fabricating trench-gated MIS devices
US10/898,431 Expired - Lifetime US7335946B1 (en) 2002-03-22 2004-07-22 Structures of and methods of fabricating trench-gated MIS devices
US11/982,906 Expired - Lifetime US7868381B1 (en) 2002-03-22 2007-11-05 Structures of and methods of fabricating trench-gated MIS devices
US12/917,378 Expired - Lifetime US9324858B2 (en) 2002-03-22 2010-11-01 Trench-gated MIS devices

Family Applications Before (2)

Application Number Title Priority Date Filing Date
US10/104,811 Expired - Lifetime US6838722B2 (en) 2002-03-22 2002-03-22 Structures of and methods of fabricating trench-gated MIS devices
US10/668,866 Abandoned US20040113201A1 (en) 2002-03-22 2003-09-22 Structures of and methods of fabricating trench-gated MIS devices

Family Applications After (3)

Application Number Title Priority Date Filing Date
US10/898,431 Expired - Lifetime US7335946B1 (en) 2002-03-22 2004-07-22 Structures of and methods of fabricating trench-gated MIS devices
US11/982,906 Expired - Lifetime US7868381B1 (en) 2002-03-22 2007-11-05 Structures of and methods of fabricating trench-gated MIS devices
US12/917,378 Expired - Lifetime US9324858B2 (en) 2002-03-22 2010-11-01 Trench-gated MIS devices

Country Status (4)

Country Link
US (6) US6838722B2 (en)
EP (2) EP2511955B1 (en)
JP (2) JP5379339B2 (en)
CN (3) CN101980356B (en)

Cited By (31)

* Cited by examiner, † Cited by third party
Publication number Priority date Publication date Assignee Title
US20080001219A1 (en) * 2005-02-11 2008-01-03 Alpha & Omega Semiconductor, Inc. Power MOS device
US20080048298A1 (en) * 2006-08-28 2008-02-28 Micron Technology, Inc. Semiconductor devices, assemblies and constructions, and methods of forming semiconductor devices, assemblies and constructions
US20080191304A1 (en) * 2007-02-09 2008-08-14 Cree, Inc. Schottky Diode Structure with Silicon Mesa and Junction Barrier Schottky Wells
US20080258212A1 (en) * 2007-04-19 2008-10-23 Vishay-Siliconix Trench metal oxide semiconductor with recessed trench material and remote contacts
US20090065855A1 (en) * 2005-02-11 2009-03-12 Alpha & Omega Semiconductor Limited MOS device with integrated schottky diode in active region contact trench
US20090065814A1 (en) * 2005-02-11 2009-03-12 Alpha & Omega Semiconductor Limited MOS device with schottky barrier controlling layer
US20090065861A1 (en) * 2005-02-11 2009-03-12 Alpha & Omega Semiconductor Limited MOS device with low injection diode
US20090127593A1 (en) * 2005-02-11 2009-05-21 Alpha & Omega Semiconductor Limited MOS device
US20090152624A1 (en) * 2007-12-17 2009-06-18 Infineon Technologies Austria Ag Integrated circuit device with a semiconductor body and method for the production of an integrated circuit device
US20100078774A1 (en) * 2008-09-30 2010-04-01 Infineon Technologies Austria Ag Semiconductor device with channel stop trench and method
US20100123193A1 (en) * 2008-11-14 2010-05-20 Burke Peter A Semiconductor component and method of manufacture
US20100123189A1 (en) * 2008-11-14 2010-05-20 Prasad Venkatraman Semiconductor component and method of manufacture
US20100123188A1 (en) * 2008-11-14 2010-05-20 Prasad Venkatraman Semiconductor device having trench shield electrode structure
US20100123192A1 (en) * 2008-11-14 2010-05-20 Burke Peter A Semiconductor component and method of manufacture
US20100123220A1 (en) * 2008-11-14 2010-05-20 Burke Peter A Trench shielding structure for semiconductor device and method
US20100123187A1 (en) * 2008-11-14 2010-05-20 Burke Peter A Contact structure for semiconductor device having trench shield electrode and method
US20110042742A1 (en) * 2002-03-22 2011-02-24 Vishay-Siliconix Structures of and methods of fabricating trench-gated mis devices
US20110136309A1 (en) * 2009-12-09 2011-06-09 Grivna Gordon M Method of forming an insulated gate field effect transistor device having a shield electrode structure
US20110136310A1 (en) * 2009-12-09 2011-06-09 Grivna Gordon M Method of forming an insulated gate field effect transistor device having a shield electrode structure
CN102290350A (en) * 2010-06-18 2011-12-21 飞兆半导体公司 Trench MOS barrier Schottky rectifier with planar surface using CMP technique
US20120161286A1 (en) * 2010-12-23 2012-06-28 Anup Bhalla Monolithic IGBT and diode structure for quasi-resonant converters
US8742483B2 (en) 2006-05-17 2014-06-03 Micron Technology, Inc. DRAM arrays
US9263455B2 (en) 2013-07-23 2016-02-16 Micron Technology, Inc. Methods of forming an array of conductive lines and methods of forming an array of recessed access gate lines
US9419129B2 (en) 2009-10-21 2016-08-16 Vishay-Siliconix Split gate semiconductor device with curved gate oxide profile
US9425305B2 (en) 2009-10-20 2016-08-23 Vishay-Siliconix Structures of and methods of fabricating split gate MIS devices
US9577089B2 (en) 2010-03-02 2017-02-21 Vishay-Siliconix Structures and methods of fabricating dual gate devices
US10234486B2 (en) 2014-08-19 2019-03-19 Vishay/Siliconix Vertical sense devices in vertical trench MOSFET
US11081554B2 (en) * 2017-10-12 2021-08-03 Semiconductor Components Industries, Llc Insulated gate semiconductor device having trench termination structure and method
US11114559B2 (en) 2011-05-18 2021-09-07 Vishay-Siliconix, LLC Semiconductor device having reduced gate charges and superior figure of merit
US11218144B2 (en) 2019-09-12 2022-01-04 Vishay-Siliconix, LLC Semiconductor device with multiple independent gates
US11217541B2 (en) 2019-05-08 2022-01-04 Vishay-Siliconix, LLC Transistors with electrically active chip seal ring and methods of manufacture

Families Citing this family (121)

* Cited by examiner, † Cited by third party
Publication number Priority date Publication date Assignee Title
US8080459B2 (en) 2002-09-24 2011-12-20 Vishay-Siliconix Self aligned contact in a semiconductor device and method of fabricating the same
US8629019B2 (en) 2002-09-24 2014-01-14 Vishay-Siliconix Method of forming self aligned contacts for a power MOSFET
US6861701B2 (en) * 2003-03-05 2005-03-01 Advanced Analogic Technologies, Inc. Trench power MOSFET with planarized gate bus
US7638841B2 (en) 2003-05-20 2009-12-29 Fairchild Semiconductor Corporation Power semiconductor devices and methods of manufacture
US7754550B2 (en) * 2003-07-10 2010-07-13 International Rectifier Corporation Process for forming thick oxides on Si or SiC for semiconductor devices
US7186446B2 (en) * 2003-10-31 2007-03-06 International Business Machines Corporation Plasma enhanced ALD of tantalum nitride and bilayer
US20050112957A1 (en) * 2003-11-26 2005-05-26 International Business Machines Corporation Partial inter-locking metal contact structure for semiconductor devices and method of manufacture
US7279743B2 (en) * 2003-12-02 2007-10-09 Vishay-Siliconix Closed cell trench metal-oxide-semiconductor field effect transistor
JP3917144B2 (en) * 2004-04-09 2007-05-23 株式会社東芝 Semiconductor device
US8183629B2 (en) * 2004-05-13 2012-05-22 Vishay-Siliconix Stacked trench metal-oxide-semiconductor field effect transistor device
US7268395B2 (en) * 2004-06-04 2007-09-11 International Rectifier Corporation Deep trench super switch device
US7186622B2 (en) * 2004-07-15 2007-03-06 Infineon Technologies Ag Formation of active area using semiconductor growth process without STI integration
JPWO2006035877A1 (en) * 2004-09-29 2008-05-15 松下電器産業株式会社 Semiconductor device
US7453119B2 (en) * 2005-02-11 2008-11-18 Alphs & Omega Semiconductor, Ltd. Shielded gate trench (SGT) MOSFET cells implemented with a schottky source contact
US20070004116A1 (en) * 2005-06-06 2007-01-04 M-Mos Semiconductor Sdn. Bhd. Trenched MOSFET termination with tungsten plug structures
AT504290A2 (en) 2005-06-10 2008-04-15 Fairchild Semiconductor FIELD EFFECT TRANSISTOR WITH LOAD BALANCE
JP2007048769A (en) * 2005-08-05 2007-02-22 Matsushita Electric Ind Co Ltd Semiconductor device and manufacturing method thereof
TWI317971B (en) * 2005-08-17 2009-12-01 Int Rectifier Corp A method for fabricating a semiconductor device
US7943990B2 (en) 2005-08-17 2011-05-17 International Rectifier Corporation Power semiconductor device with interconnected gate trenches
US7524726B2 (en) * 2005-08-17 2009-04-28 International Rectifier Corporation Method for fabricating a semiconductor device
US7557032B2 (en) * 2005-09-01 2009-07-07 Micron Technology, Inc. Silicided recessed silicon
KR20070046666A (en) * 2005-10-31 2007-05-03 삼성에스디아이 주식회사 Spacer and electron emission display device having the same
US7544545B2 (en) 2005-12-28 2009-06-09 Vishay-Siliconix Trench polysilicon diode
US7449354B2 (en) 2006-01-05 2008-11-11 Fairchild Semiconductor Corporation Trench-gated FET for power device with active gate trenches and gate runner trench utilizing one-mask etch
TWI435430B (en) 2006-01-18 2014-04-21 維雪 希里康尼克斯公司 Low voltage output driver with high electrostatic discharge performance
US7358172B2 (en) * 2006-02-21 2008-04-15 International Business Machines Corporation Poly filled substrate contact on SOI structure
US20070228463A1 (en) * 2006-04-03 2007-10-04 Jun Cai Self-aligned complementary ldmos
US8471390B2 (en) 2006-05-12 2013-06-25 Vishay-Siliconix Power MOSFET contact metallization
US7759731B2 (en) * 2006-08-28 2010-07-20 Advanced Analogic Technologies, Inc. Lateral trench MOSFET with direct trench polysilicon contact and method of forming the same
US7791160B2 (en) 2006-10-19 2010-09-07 International Business Machines Corporation High-performance FET device layout
US7689946B2 (en) * 2006-10-19 2010-03-30 International Business Machines Corporation High-performance FET device layout
US7705426B2 (en) * 2006-11-10 2010-04-27 International Business Machines Corporation Integration of a SiGe- or SiGeC-based HBT with a SiGe- or SiGeC-strapped semiconductor device
US9437729B2 (en) 2007-01-08 2016-09-06 Vishay-Siliconix High-density power MOSFET with planarized metalization
US7800185B2 (en) * 2007-01-28 2010-09-21 Force-Mos Technology Corp. Closed trench MOSFET with floating trench rings as termination
US9947770B2 (en) 2007-04-03 2018-04-17 Vishay-Siliconix Self-aligned trench MOSFET and method of manufacture
US7923373B2 (en) 2007-06-04 2011-04-12 Micron Technology, Inc. Pitch multiplication using self-assembling materials
WO2009039441A1 (en) 2007-09-21 2009-03-26 Fairchild Semiconductor Corporation Superjunction structures for power devices and methods of manufacture
US9484451B2 (en) * 2007-10-05 2016-11-01 Vishay-Siliconix MOSFET active area and edge termination area charge balance
JP2009188294A (en) * 2008-02-08 2009-08-20 Nec Electronics Corp Power MOSFET
US10600902B2 (en) 2008-02-13 2020-03-24 Vishay SIliconix, LLC Self-repairing field effect transisitor
US20090236670A1 (en) * 2008-03-21 2009-09-24 Himax Analogic, Inc. Semiconductor Device and a Manufacturing Process Thereof
TWI384625B (en) * 2008-06-30 2013-02-01 萬國半導體股份有限公司 Device layout and method for improving the breakdown voltage of Schottky without affecting the MOS-Schottky integrated device
US8174067B2 (en) 2008-12-08 2012-05-08 Fairchild Semiconductor Corporation Trench-based power semiconductor devices with increased breakdown voltage characteristics
US8304829B2 (en) 2008-12-08 2012-11-06 Fairchild Semiconductor Corporation Trench-based power semiconductor devices with increased breakdown voltage characteristics
US8664713B2 (en) 2008-12-31 2014-03-04 Stmicroelectronics S.R.L. Integrated power device on a semiconductor substrate having an improved trench gate structure
US8227855B2 (en) * 2009-02-09 2012-07-24 Fairchild Semiconductor Corporation Semiconductor devices with stable and controlled avalanche characteristics and methods of fabricating the same
US8148749B2 (en) * 2009-02-19 2012-04-03 Fairchild Semiconductor Corporation Trench-shielded semiconductor device
US8049276B2 (en) 2009-06-12 2011-11-01 Fairchild Semiconductor Corporation Reduced process sensitivity of electrode-semiconductor rectifiers
TWI469221B (en) * 2009-06-26 2015-01-11 Pfc Device Co Ditch-type Xiaoji diode and manufacturing method thereof
US9443974B2 (en) 2009-08-27 2016-09-13 Vishay-Siliconix Super junction trench power MOSFET device fabrication
US9230810B2 (en) 2009-09-03 2016-01-05 Vishay-Siliconix System and method for substrate wafer back side and edge cross section seals
US9306056B2 (en) 2009-10-30 2016-04-05 Vishay-Siliconix Semiconductor device with trench-like feed-throughs
US8604525B2 (en) 2009-11-02 2013-12-10 Vishay-Siliconix Transistor structure with feed-through source-to-substrate contact
US8476698B2 (en) * 2010-02-19 2013-07-02 Alpha And Omega Semiconductor Incorporated Corner layout for superjunction device
US9466674B2 (en) * 2010-03-08 2016-10-11 Cree, Inc. Semiconductor devices with non-implanted barrier regions and methods of fabricating same
TWI438901B (en) 2010-05-27 2014-05-21 Sinopower Semiconductor Inc Power semiconductor component with low gate input resistance and manufacturing method thereof
CN102299103B (en) * 2010-06-25 2013-05-08 茂达电子股份有限公司 Method for manufacturing semiconductor component
JP5654818B2 (en) * 2010-09-27 2015-01-14 ルネサスエレクトロニクス株式会社 Method for manufacturing power semiconductor device
CN102569384B (en) * 2010-12-17 2015-07-01 无锡华润上华半导体有限公司 Groove MOSFET (metal-oxide-semiconductor field-effect transistor) device and manufacturing method thereof
US8431470B2 (en) 2011-04-04 2013-04-30 Alpha And Omega Semiconductor Incorporated Approach to integrate Schottky in MOSFET
CN102184957B (en) * 2011-04-22 2016-05-11 上海华虹宏力半导体制造有限公司 Umos transistor and forming method thereof
US8502302B2 (en) 2011-05-02 2013-08-06 Alpha And Omega Semiconductor Incorporated Integrating Schottky diode into power MOSFET
US8507978B2 (en) 2011-06-16 2013-08-13 Alpha And Omega Semiconductor Incorporated Split-gate structure in trench-based silicon carbide power device
US8536646B2 (en) 2011-09-21 2013-09-17 Sinopower Semiconductor Inc. Trench type power transistor device
US10032878B2 (en) * 2011-09-23 2018-07-24 Infineon Technologies Ag Semiconductor device with a semiconductor via and laterally connected electrode
US9324829B2 (en) 2011-09-23 2016-04-26 Infineon Technologies Ag Method of forming a trench electrode device with wider and narrower regions
US8872278B2 (en) 2011-10-25 2014-10-28 Fairchild Semiconductor Corporation Integrated gate runner and field implant termination for trench devices
US9431249B2 (en) 2011-12-01 2016-08-30 Vishay-Siliconix Edge termination for super junction MOSFET devices
US9614043B2 (en) 2012-02-09 2017-04-04 Vishay-Siliconix MOSFET termination trench
JP2013232533A (en) * 2012-04-27 2013-11-14 Rohm Co Ltd Semiconductor device and semiconductor device manufacturing method
US9842911B2 (en) 2012-05-30 2017-12-12 Vishay-Siliconix Adaptive charge balanced edge termination
CN103633135B (en) * 2012-08-15 2016-04-13 上海华虹宏力半导体制造有限公司 A kind of contact hole domain of groove type double-layer grid power MOS device
JP6077251B2 (en) * 2012-09-28 2017-02-08 エスアイアイ・セミコンダクタ株式会社 Semiconductor device
CN103854964B (en) * 2012-11-30 2016-08-17 上海华虹宏力半导体制造有限公司 The method improving trench gate discrete power device wafers internal stress
ITMI20122226A1 (en) * 2012-12-21 2014-06-22 St Microelectronics Srl REALIZATION OF ELECTRONIC DEVICES IN A WAFER IN SEMICONDUCTOR MATERIAL WITH TRINCEE HAVING DIFFERENT DIRECTIONS
JP6135181B2 (en) * 2013-02-26 2017-05-31 サンケン電気株式会社 Semiconductor device
JP6164604B2 (en) 2013-03-05 2017-07-19 ローム株式会社 Semiconductor device
JP6164636B2 (en) * 2013-03-05 2017-07-19 ローム株式会社 Semiconductor device
DE102013108518B4 (en) 2013-08-07 2016-11-24 Infineon Technologies Ag SEMICONDUCTOR DEVICE AND METHOD FOR MANUFACTURING THE SAME
US9299776B2 (en) 2013-10-21 2016-03-29 Semiconductor Components Industries, Llc Method of forming a semiconductor device including trench termination and trench structure therefor
CN103839801B (en) * 2014-03-17 2017-06-16 上海华虹宏力半导体制造有限公司 Schottky diode and preparation method thereof
US9508596B2 (en) 2014-06-20 2016-11-29 Vishay-Siliconix Processes used in fabricating a metal-insulator-semiconductor field effect transistor
US9887259B2 (en) 2014-06-23 2018-02-06 Vishay-Siliconix Modulated super junction power MOSFET devices
EP3183754A4 (en) 2014-08-19 2018-05-02 Vishay-Siliconix Super-junction metal oxide semiconductor field effect transistor
US9425304B2 (en) 2014-08-21 2016-08-23 Vishay-Siliconix Transistor structure with improved unclamped inductive switching immunity
CN104409503B (en) * 2014-11-21 2017-05-17 中国科学院上海微系统与信息技术研究所 Layout design of MOSFET with multiple interdigital grid electrode structures
DE102014119466A1 (en) * 2014-12-22 2016-06-23 Infineon Technologies Ag SEMICONDUCTOR DEVICE WITH STRIPULAR TRENCHGATE STRUCTURES AND GATE CONNECTOR STRUCTURE
US20160247879A1 (en) * 2015-02-23 2016-08-25 Polar Semiconductor, Llc Trench semiconductor device layout configurations
JP6600475B2 (en) * 2015-03-27 2019-10-30 ローム株式会社 Semiconductor device
US10388781B2 (en) 2016-05-20 2019-08-20 Alpha And Omega Semiconductor Incorporated Device structure having inter-digitated back to back MOSFETs
US10446545B2 (en) 2016-06-30 2019-10-15 Alpha And Omega Semiconductor Incorporated Bidirectional switch having back to back field effect transistors
US9812580B1 (en) 2016-09-06 2017-11-07 Qualcomm Incorporated Deep trench active device with backside body contact
US10056461B2 (en) 2016-09-30 2018-08-21 Alpha And Omega Semiconductor Incorporated Composite masking self-aligned trench MOSFET
US10103140B2 (en) 2016-10-14 2018-10-16 Alpha And Omega Semiconductor Incorporated Switch circuit with controllable phase node ringing
JP2018074126A (en) 2016-11-04 2018-05-10 トヨタ自動車株式会社 Semiconductor device
US10199492B2 (en) 2016-11-30 2019-02-05 Alpha And Omega Semiconductor Incorporated Folded channel trench MOSFET
US10103258B2 (en) 2016-12-29 2018-10-16 Texas Instruments Incorporated Laterally diffused metal oxide semiconductor with gate poly contact within source window
JP6726112B2 (en) 2017-01-19 2020-07-22 株式会社 日立パワーデバイス Semiconductor device and power converter
TWI708342B (en) * 2017-05-19 2020-10-21 力智電子股份有限公司 Semiconductor structure and manufacturing method thereof and terminal area structure of semiconductor device
US10263070B2 (en) 2017-06-12 2019-04-16 Alpha And Omega Semiconductor (Cayman) Ltd. Method of manufacturing LV/MV super junction trench power MOSFETs
JP6925236B2 (en) * 2017-10-30 2021-08-25 ルネサスエレクトロニクス株式会社 Semiconductor devices and their manufacturing methods
US10438813B2 (en) 2017-11-13 2019-10-08 Alpha And Omega Semiconductor (Cayman) Ltd. Semiconductor device having one or more titanium interlayers and method of making the same
CN108321193B (en) * 2018-02-05 2019-12-10 电子科技大学 A trench gate charge storage type IGBT and its manufacturing method
US11404567B2 (en) 2018-07-23 2022-08-02 Stmicroelectronics S.R.L. Trench-gate field effect transistor with improved electrical performances and corresponding manufacturing process
JP7036001B2 (en) * 2018-12-28 2022-03-15 三菱電機株式会社 Manufacturing method of semiconductor device
US11362209B2 (en) 2019-04-16 2022-06-14 Semiconductor Components Industries, Llc Gate polysilicon feed structures for trench devices
JP7390868B2 (en) 2019-11-18 2023-12-04 ルネサスエレクトロニクス株式会社 semiconductor equipment
CN112992682A (en) * 2019-12-13 2021-06-18 华润微电子(重庆)有限公司 Groove type field effect transistor structure and preparation method thereof
EP3863065B1 (en) 2020-02-04 2025-05-21 Infineon Technologies Austria AG Semiconductor die and method of manufacturing the same
JP7048659B2 (en) * 2020-04-07 2022-04-05 ローム株式会社 Semiconductor device
JP7515324B2 (en) 2020-07-10 2024-07-12 三菱電機株式会社 Semiconductor Device
US11581215B2 (en) * 2020-07-14 2023-02-14 Newport Fab, Llc Body-source-tied semiconductor-on-insulator (SOI) transistor
JP7330392B2 (en) * 2020-09-30 2023-08-21 三菱電機株式会社 Semiconductor device and method for manufacturing semiconductor device
US11776994B2 (en) 2021-02-16 2023-10-03 Alpha And Omega Semiconductor International Lp SiC MOSFET with reduced channel length and high Vth
CN113314589A (en) * 2021-05-17 2021-08-27 无锡新洁能股份有限公司 Trench type power semiconductor device and method of manufacturing the same
JP7605050B2 (en) * 2021-07-06 2024-12-24 株式会社デンソー Semiconductor device and manufacturing method thereof
CN114783999B (en) * 2022-06-20 2022-09-30 深圳芯能半导体技术有限公司 IGBT device with built-in temperature sensor and preparation method thereof
CN116884947B (en) * 2023-09-05 2024-01-23 长电集成电路(绍兴)有限公司 Semiconductor packaging structure and preparation method thereof
CN117894684B (en) * 2024-03-18 2024-05-24 泰科天润半导体科技(北京)有限公司 Manufacturing method of low-on-resistance tri-gate longitudinal silicon carbide MOSFET
CN119300377B (en) * 2024-10-15 2025-10-03 上海积塔半导体有限公司 IGBT device structure and preparation method thereof
CN121096960A (en) * 2025-11-06 2025-12-09 湖北星辰技术有限公司 Semiconductor device and method of forming the same

Citations (11)

* Cited by examiner, † Cited by third party
Publication number Priority date Publication date Assignee Title
US5614751A (en) * 1995-01-10 1997-03-25 Siliconix Incorporated Edge termination structure for power MOSFET
US5668026A (en) * 1996-03-06 1997-09-16 Megamos Corporation DMOS fabrication process implemented with reduced number of masks
US5726463A (en) * 1992-08-07 1998-03-10 General Electric Company Silicon carbide MOSFET having self-aligned gate structure
US5877528A (en) * 1997-03-03 1999-03-02 Megamos Corporation Structure to provide effective channel-stop in termination areas for trenched power transistors
US6413822B2 (en) * 1999-04-22 2002-07-02 Advanced Analogic Technologies, Inc. Super-self-aligned fabrication process of trench-gate DMOS with overlying device layer
US6489204B1 (en) * 2001-08-20 2002-12-03 Episil Technologies, Inc. Save MOS device
US6495884B2 (en) * 2000-03-22 2002-12-17 Seiko Instruments Inc. Vertical MOS transistor
US6525373B1 (en) * 1998-06-30 2003-02-25 Fairchild Korea Semiconductor Ltd. Power semiconductor device having trench gate structure and method for manufacturing the same
US6545315B2 (en) * 1999-09-14 2003-04-08 General Semiconductor, Inc. Trench DMOS transistor having reduced punch-through
US6621107B2 (en) * 2001-08-23 2003-09-16 General Semiconductor, Inc. Trench DMOS transistor with embedded trench schottky rectifier
US6683346B2 (en) * 2001-03-09 2004-01-27 Fairchild Semiconductor Corporation Ultra dense trench-gated power-device with the reduced drain-source feedback capacitance and Miller charge

Family Cites Families (80)

* Cited by examiner, † Cited by third party
Publication number Priority date Publication date Assignee Title
JPS6070766A (en) 1983-09-26 1985-04-22 Mitsubishi Electric Corp Mos type semiconductor device
JP2570742B2 (en) 1987-05-27 1997-01-16 ソニー株式会社 Semiconductor device
US5283201A (en) 1988-05-17 1994-02-01 Advanced Power Technology, Inc. High density power device fabrication process
US4881105A (en) * 1988-06-13 1989-11-14 International Business Machines Corporation Integrated trench-transistor structure and fabrication process
US5072266A (en) 1988-12-27 1991-12-10 Siliconix Incorporated Trench DMOS power transistor with field-shaping body profile and three-dimensional geometry
JPH03211885A (en) 1990-01-17 1991-09-17 Matsushita Electron Corp Semiconductor device and manufacture thereof
JP3167457B2 (en) 1992-10-22 2001-05-21 株式会社東芝 Semiconductor device
JP3311070B2 (en) 1993-03-15 2002-08-05 株式会社東芝 Semiconductor device
JP3082522B2 (en) * 1993-07-27 2000-08-28 日産自動車株式会社 Insulated electrode and method of manufacturing the same
JP3481287B2 (en) 1994-02-24 2003-12-22 三菱電機株式会社 Manufacturing method of semiconductor device
JP3307785B2 (en) * 1994-12-13 2002-07-24 三菱電機株式会社 Insulated gate semiconductor device
JPH09102602A (en) * 1995-10-05 1997-04-15 Nippon Telegr & Teleph Corp <Ntt> MOSFET
US5637898A (en) 1995-12-22 1997-06-10 North Carolina State University Vertical field effect transistors having improved breakdown voltage capability and low on-state resistance
JP3141769B2 (en) 1996-02-13 2001-03-05 富士電機株式会社 Insulated gate thyristor and manufacturing method thereof
US5763915A (en) 1996-02-27 1998-06-09 Magemos Corporation DMOS transistors having trenched gate oxide
JPH10173175A (en) 1996-12-09 1998-06-26 Toshiba Corp Semiconductor device and method of manufacturing semiconductor device
JPH1168102A (en) 1997-08-21 1999-03-09 Toshiba Corp Method for manufacturing semiconductor device
JPH1197689A (en) * 1997-09-17 1999-04-09 Nec Corp Semiconductor device
JP3431467B2 (en) * 1997-09-17 2003-07-28 株式会社東芝 High voltage semiconductor device
JPH11121741A (en) * 1997-10-14 1999-04-30 Toshiba Corp Semiconductor device
US6031265A (en) * 1997-10-16 2000-02-29 Magepower Semiconductor Corp. Enhancing DMOS device ruggedness by reducing transistor parasitic resistance and by inducing breakdown near gate runners and termination area
US6242775B1 (en) * 1998-02-24 2001-06-05 Micron Technology, Inc. Circuits and methods using vertical complementary transistors
FR2785090B1 (en) 1998-10-23 2001-01-19 St Microelectronics Sa POWER COMPONENT CARRYING INTERCONNECTIONS
US5998833A (en) 1998-10-26 1999-12-07 North Carolina State University Power semiconductor devices having improved high frequency switching and breakdown characteristics
US6084264A (en) 1998-11-25 2000-07-04 Siliconix Incorporated Trench MOSFET having improved breakdown and on-resistance characteristics
US6255683B1 (en) 1998-12-29 2001-07-03 Infineon Technologies Ag Dynamic random access memory
EP1151478B1 (en) * 1999-01-11 2002-08-28 Fraunhofer-Gesellschaft zur Förderung der angewandten Forschung e.V. Power mos element and method for producing the same
JP2000223705A (en) * 1999-01-29 2000-08-11 Nissan Motor Co Ltd Semiconductor device
US6351018B1 (en) * 1999-02-26 2002-02-26 Fairchild Semiconductor Corporation Monolithically integrated trench MOSFET and Schottky diode
US6404007B1 (en) 1999-04-05 2002-06-11 Fairchild Semiconductor Corporation Trench transistor with superior gate dielectric
GB9917099D0 (en) * 1999-07-22 1999-09-22 Koninkl Philips Electronics Nv Cellular trench-gate field-effect transistors
JP4091242B2 (en) * 1999-10-18 2008-05-28 セイコーインスツル株式会社 Vertical MOS transistor and manufacturing method thereof
US6548860B1 (en) 2000-02-29 2003-04-15 General Semiconductor, Inc. DMOS transistor structure having improved performance
JP4581179B2 (en) 2000-04-26 2010-11-17 富士電機システムズ株式会社 Insulated gate semiconductor device
JP2002043574A (en) * 2000-07-27 2002-02-08 Sanyo Electric Co Ltd MOSFET protection device and method of manufacturing the same
US6309929B1 (en) * 2000-09-22 2001-10-30 Industrial Technology Research Institute And Genetal Semiconductor Of Taiwan, Ltd. Method of forming trench MOS device and termination structure
US7345342B2 (en) 2001-01-30 2008-03-18 Fairchild Semiconductor Corporation Power semiconductor devices and methods of manufacture
US6870220B2 (en) 2002-08-23 2005-03-22 Fairchild Semiconductor Corporation Method and apparatus for improved MOS gating to reduce miller capacitance and switching losses
US7132712B2 (en) 2002-11-05 2006-11-07 Fairchild Semiconductor Corporation Trench structure having one or more diodes embedded therein adjacent a PN junction
US6710403B2 (en) 2002-07-30 2004-03-23 Fairchild Semiconductor Corporation Dual trench power MOSFET
TW484213B (en) 2001-04-24 2002-04-21 Ememory Technology Inc Forming method and operation method of trench type separation gate nonvolatile flash memory cell structure
JP4823435B2 (en) * 2001-05-29 2011-11-24 三菱電機株式会社 Semiconductor device and manufacturing method thereof
JP2002373989A (en) * 2001-06-13 2002-12-26 Toshiba Corp Semiconductor device
US7009247B2 (en) * 2001-07-03 2006-03-07 Siliconix Incorporated Trench MIS device with thick oxide layer in bottom of gate contact trench
US6882000B2 (en) 2001-08-10 2005-04-19 Siliconix Incorporated Trench MIS device with reduced gate-to-drain capacitance
US6573142B1 (en) 2002-02-26 2003-06-03 Taiwan Semiconductor Manufacturing Company Method to fabricate self-aligned source and drain in split gate flash
DE10212149B4 (en) 2002-03-19 2007-10-04 Infineon Technologies Ag Transistor arrangement with shield electrode outside of an active cell array and reduced gate-drain capacitance
US6838722B2 (en) * 2002-03-22 2005-01-04 Siliconix Incorporated Structures of and methods of fabricating trench-gated MIS devices
US6858494B2 (en) 2002-08-20 2005-02-22 Taiwan Semiconductor Manufacturing Company Structure and fabricating method with self-aligned bit line contact to word line in split gate flash
US7576388B1 (en) 2002-10-03 2009-08-18 Fairchild Semiconductor Corporation Trench-gate LDMOS structures
US7638841B2 (en) 2003-05-20 2009-12-29 Fairchild Semiconductor Corporation Power semiconductor devices and methods of manufacture
DE10339455B3 (en) 2003-08-27 2005-05-04 Infineon Technologies Ag Vertical semiconductor device having a field electrode drift zone and method for making such a drift zone
GB0327793D0 (en) 2003-11-29 2003-12-31 Koninkl Philips Electronics Nv Trench mosfet
GB0327791D0 (en) 2003-11-29 2003-12-31 Koninkl Philips Electronics Nv Trench insulated gate field effect transistor
JP4903055B2 (en) 2003-12-30 2012-03-21 フェアチャイルド・セミコンダクター・コーポレーション Power semiconductor device and manufacturing method thereof
US6906380B1 (en) 2004-05-13 2005-06-14 Vishay-Siliconix Drain side gate trench metal-oxide-semiconductor field effect transistor
DE102004029435B4 (en) 2004-06-18 2017-02-16 Infineon Technologies Ag Field plate trench transistor
US7453119B2 (en) 2005-02-11 2008-11-18 Alphs & Omega Semiconductor, Ltd. Shielded gate trench (SGT) MOSFET cells implemented with a schottky source contact
US7494876B1 (en) 2005-04-21 2009-02-24 Vishay Siliconix Trench-gated MIS device having thick polysilicon insulation layer at trench bottom and method of fabricating the same
AT504289A2 (en) 2005-05-26 2008-04-15 Fairchild Semiconductor TRENCH-GATE FIELD EFFECT TRANSISTORS AND METHOD FOR MAKING THE SAME
US20070004116A1 (en) 2005-06-06 2007-01-04 M-Mos Semiconductor Sdn. Bhd. Trenched MOSFET termination with tungsten plug structures
AT504290A2 (en) 2005-06-10 2008-04-15 Fairchild Semiconductor FIELD EFFECT TRANSISTOR WITH LOAD BALANCE
US7385248B2 (en) 2005-08-09 2008-06-10 Fairchild Semiconductor Corporation Shielded gate field effect transistor with improved inter-poly dielectric
US7446374B2 (en) 2006-03-24 2008-11-04 Fairchild Semiconductor Corporation High density trench FET with integrated Schottky diode and method of manufacture
US7544571B2 (en) 2006-09-20 2009-06-09 Fairchild Semiconductor Corporation Trench gate FET with self-aligned features
DE102006045441B4 (en) 2006-09-26 2008-09-25 Infineon Technologies Austria Ag A method of manufacturing a semiconductor device device having a trench transistor structure
US7750398B2 (en) 2006-09-26 2010-07-06 Force-Mos Technology Corporation Trench MOSFET with trench termination and manufacture thereof
US7732842B2 (en) 2006-12-06 2010-06-08 Fairchild Semiconductor Corporation Structure and method for forming a planar schottky contact
US8659074B2 (en) 2007-01-09 2014-02-25 Maxpower Semiconductor, Inc. Semiconductor device
US8035159B2 (en) 2007-04-30 2011-10-11 Alpha & Omega Semiconductor, Ltd. Device structure and manufacturing method using HDP deposited source-body implant block
US8497549B2 (en) 2007-08-21 2013-07-30 Fairchild Semiconductor Corporation Method and structure for shielded gate trench FET
US8686493B2 (en) 2007-10-04 2014-04-01 Fairchild Semiconductor Corporation High density FET with integrated Schottky
KR101396124B1 (en) 2007-12-21 2014-05-19 삼성전자주식회사 Method of forming a trench and method of manufacturing a semiconductor device using the same
WO2009151657A1 (en) 2008-06-11 2009-12-17 Maxpower Semiconductor Inc. Super self-aligned trench mosfet devices, methods and systems
WO2010120704A2 (en) 2009-04-13 2010-10-21 Maxpower Semiconductor Inc. Power semiconductor devices, methods, and structures with embedded dielectric layers containing permanent charges
US9419129B2 (en) 2009-10-21 2016-08-16 Vishay-Siliconix Split gate semiconductor device with curved gate oxide profile
US8354711B2 (en) 2010-01-11 2013-01-15 Maxpower Semiconductor, Inc. Power MOSFET and its edge termination
JP5580150B2 (en) 2010-09-09 2014-08-27 株式会社東芝 Semiconductor device
US8587059B2 (en) 2011-04-22 2013-11-19 Infineon Technologies Austria Ag Transistor arrangement with a MOSFET
US9385132B2 (en) 2011-08-25 2016-07-05 Micron Technology, Inc. Arrays of recessed access devices, methods of forming recessed access gate constructions, and methods of forming isolation gate constructions in the fabrication of recessed access devices

Patent Citations (11)

* Cited by examiner, † Cited by third party
Publication number Priority date Publication date Assignee Title
US5726463A (en) * 1992-08-07 1998-03-10 General Electric Company Silicon carbide MOSFET having self-aligned gate structure
US5614751A (en) * 1995-01-10 1997-03-25 Siliconix Incorporated Edge termination structure for power MOSFET
US5668026A (en) * 1996-03-06 1997-09-16 Megamos Corporation DMOS fabrication process implemented with reduced number of masks
US5877528A (en) * 1997-03-03 1999-03-02 Megamos Corporation Structure to provide effective channel-stop in termination areas for trenched power transistors
US6525373B1 (en) * 1998-06-30 2003-02-25 Fairchild Korea Semiconductor Ltd. Power semiconductor device having trench gate structure and method for manufacturing the same
US6413822B2 (en) * 1999-04-22 2002-07-02 Advanced Analogic Technologies, Inc. Super-self-aligned fabrication process of trench-gate DMOS with overlying device layer
US6545315B2 (en) * 1999-09-14 2003-04-08 General Semiconductor, Inc. Trench DMOS transistor having reduced punch-through
US6495884B2 (en) * 2000-03-22 2002-12-17 Seiko Instruments Inc. Vertical MOS transistor
US6683346B2 (en) * 2001-03-09 2004-01-27 Fairchild Semiconductor Corporation Ultra dense trench-gated power-device with the reduced drain-source feedback capacitance and Miller charge
US6489204B1 (en) * 2001-08-20 2002-12-03 Episil Technologies, Inc. Save MOS device
US6621107B2 (en) * 2001-08-23 2003-09-16 General Semiconductor, Inc. Trench DMOS transistor with embedded trench schottky rectifier

Cited By (73)

* Cited by examiner, † Cited by third party
Publication number Priority date Publication date Assignee Title
US20110042742A1 (en) * 2002-03-22 2011-02-24 Vishay-Siliconix Structures of and methods of fabricating trench-gated mis devices
US9324858B2 (en) 2002-03-22 2016-04-26 Vishay-Siliconix Trench-gated MIS devices
US20090065855A1 (en) * 2005-02-11 2009-03-12 Alpha & Omega Semiconductor Limited MOS device with integrated schottky diode in active region contact trench
US7923774B2 (en) 2005-02-11 2011-04-12 Alpha & Omega Semiconductor Limited Power MOS device with conductive contact layer
US20080001219A1 (en) * 2005-02-11 2008-01-03 Alpha & Omega Semiconductor, Inc. Power MOS device
US20090065814A1 (en) * 2005-02-11 2009-03-12 Alpha & Omega Semiconductor Limited MOS device with schottky barrier controlling layer
US20090065861A1 (en) * 2005-02-11 2009-03-12 Alpha & Omega Semiconductor Limited MOS device with low injection diode
US20090127593A1 (en) * 2005-02-11 2009-05-21 Alpha & Omega Semiconductor Limited MOS device
US8093651B2 (en) 2005-02-11 2012-01-10 Alpha & Omega Semiconductor Limited MOS device with integrated schottky diode in active region contact trench
US7948029B2 (en) 2005-02-11 2011-05-24 Alpha And Omega Semiconductor Incorporated MOS device with varying trench depth
US8283723B2 (en) 2005-02-11 2012-10-09 Alpha & Omega Semiconductor Limited MOS device with low injection diode
US20090224316A1 (en) * 2005-02-11 2009-09-10 Alpha & Omega Semiconductor, Limited Power MOS device with conductive contact layer
US8362547B2 (en) 2005-02-11 2013-01-29 Alpha & Omega Semiconductor Limited MOS device with Schottky barrier controlling layer
US7800169B2 (en) 2005-02-11 2010-09-21 Alpha And Omega Semiconductor Incorporated Power MOS device
US10978585B2 (en) 2005-02-11 2021-04-13 Alpha And Omega Semiconductor Limited MOS device with island region
US10535764B2 (en) 2005-02-11 2020-01-14 Alpha And Omega Semiconductor Limited Device and fabrication of MOS device with island region
US8742483B2 (en) 2006-05-17 2014-06-03 Micron Technology, Inc. DRAM arrays
US8921909B2 (en) 2006-05-17 2014-12-30 Micron Technology, Inc. Semiconductor constructions, DRAM arrays, and methods of forming semiconductor constructions
US7537994B2 (en) * 2006-08-28 2009-05-26 Micron Technology, Inc. Methods of forming semiconductor devices, assemblies and constructions
US20080048298A1 (en) * 2006-08-28 2008-02-28 Micron Technology, Inc. Semiconductor devices, assemblies and constructions, and methods of forming semiconductor devices, assemblies and constructions
US8044479B2 (en) 2006-08-28 2011-10-25 Micron Technology, Inc. Transistors, semiconductor devices, assemblies and constructions
US8791506B2 (en) 2006-08-28 2014-07-29 Micron Technology, Inc. Semiconductor devices, assemblies and constructions
US20090200614A1 (en) * 2006-08-28 2009-08-13 Micron Technology, Inc. Transistors, Semiconductor Devices, Assemblies And Constructions
US20080191304A1 (en) * 2007-02-09 2008-08-14 Cree, Inc. Schottky Diode Structure with Silicon Mesa and Junction Barrier Schottky Wells
US8384181B2 (en) 2007-02-09 2013-02-26 Cree, Inc. Schottky diode structure with silicon mesa and junction barrier Schottky wells
US20080258212A1 (en) * 2007-04-19 2008-10-23 Vishay-Siliconix Trench metal oxide semiconductor with recessed trench material and remote contacts
US8368126B2 (en) 2007-04-19 2013-02-05 Vishay-Siliconix Trench metal oxide semiconductor with recessed trench material and remote contacts
US8883580B2 (en) 2007-04-19 2014-11-11 Vishay-Siliconix Trench metal oxide semiconductor with recessed trench material and remote contacts
US20090152624A1 (en) * 2007-12-17 2009-06-18 Infineon Technologies Austria Ag Integrated circuit device with a semiconductor body and method for the production of an integrated circuit device
US20110076817A1 (en) * 2007-12-17 2011-03-31 Infineon Technologies Austria Ag Integrated circuit device with a semiconductor body and method for the production of an integrated circuit device
US7880226B2 (en) * 2007-12-17 2011-02-01 Infineon Technologies Austria Ag Integrated circuit device with a semiconductor body and method for the production of an integrated circuit device
US8114743B2 (en) * 2007-12-17 2012-02-14 Infineon Technologies Austria Ag Integrated circuit device with a semiconductor body and method for the production of an integrated circuit device
WO2009141678A3 (en) * 2007-12-21 2010-03-18 Alpha & Omega Semiconductor Limited Mos device with integrated schottky diode in active region contact trench
US7816229B2 (en) * 2008-09-30 2010-10-19 Infineon Technologies Austria Ag Semiconductor device with channel stop trench and method
US20100078774A1 (en) * 2008-09-30 2010-04-01 Infineon Technologies Austria Ag Semiconductor device with channel stop trench and method
US20100123220A1 (en) * 2008-11-14 2010-05-20 Burke Peter A Trench shielding structure for semiconductor device and method
US8552535B2 (en) 2008-11-14 2013-10-08 Semiconductor Components Industries, Llc Trench shielding structure for semiconductor device and method
US20100123193A1 (en) * 2008-11-14 2010-05-20 Burke Peter A Semiconductor component and method of manufacture
US9306018B2 (en) 2008-11-14 2016-04-05 Semiconductor Components Industries, Llc Trench shielding structure for semiconductor device and method
US20100123189A1 (en) * 2008-11-14 2010-05-20 Prasad Venkatraman Semiconductor component and method of manufacture
US20100123192A1 (en) * 2008-11-14 2010-05-20 Burke Peter A Semiconductor component and method of manufacture
US8362548B2 (en) 2008-11-14 2013-01-29 Semiconductor Components Industries, Llc Contact structure for semiconductor device having trench shield electrode and method
US20100123187A1 (en) * 2008-11-14 2010-05-20 Burke Peter A Contact structure for semiconductor device having trench shield electrode and method
US7897462B2 (en) 2008-11-14 2011-03-01 Semiconductor Components Industries, L.L.C. Method of manufacturing semiconductor component with gate and shield electrodes in trenches
US8415739B2 (en) 2008-11-14 2013-04-09 Semiconductor Components Industries, Llc Semiconductor component and method of manufacture
US20100123188A1 (en) * 2008-11-14 2010-05-20 Prasad Venkatraman Semiconductor device having trench shield electrode structure
US7915672B2 (en) 2008-11-14 2011-03-29 Semiconductor Components Industries, L.L.C. Semiconductor device having trench shield electrode structure
US9425305B2 (en) 2009-10-20 2016-08-23 Vishay-Siliconix Structures of and methods of fabricating split gate MIS devices
US9893168B2 (en) 2009-10-21 2018-02-13 Vishay-Siliconix Split gate semiconductor device with curved gate oxide profile
US9419129B2 (en) 2009-10-21 2016-08-16 Vishay-Siliconix Split gate semiconductor device with curved gate oxide profile
US8664065B2 (en) 2009-12-09 2014-03-04 Semiconductor Components Industries, Llc Method of forming an insulated gate field effect transistor device having a shield electrode structure
US20110136309A1 (en) * 2009-12-09 2011-06-09 Grivna Gordon M Method of forming an insulated gate field effect transistor device having a shield electrode structure
US20110136310A1 (en) * 2009-12-09 2011-06-09 Grivna Gordon M Method of forming an insulated gate field effect transistor device having a shield electrode structure
US8021947B2 (en) 2009-12-09 2011-09-20 Semiconductor Components Industries, Llc Method of forming an insulated gate field effect transistor device having a shield electrode structure
US8247296B2 (en) 2009-12-09 2012-08-21 Semiconductor Components Industries, Llc Method of forming an insulated gate field effect transistor device having a shield electrode structure
US9577089B2 (en) 2010-03-02 2017-02-21 Vishay-Siliconix Structures and methods of fabricating dual gate devices
US10453953B2 (en) 2010-03-02 2019-10-22 Vishay-Siliconix Structures and methods of fabricating dual gate devices
CN102290350B (en) * 2010-06-18 2015-10-28 飞兆半导体公司 Utilize the trench MOS barrier Schottky rectifier with flat surfaces of CMP technology
CN102290350A (en) * 2010-06-18 2011-12-21 飞兆半导体公司 Trench MOS barrier Schottky rectifier with planar surface using CMP technique
US20110309470A1 (en) * 2010-06-18 2011-12-22 Grebs Thomas E Trench MOS Barrier Schottky Rectifier With A Planar Surface Using CMP Techniques
US8319290B2 (en) * 2010-06-18 2012-11-27 Fairchild Semiconductor Corporation Trench MOS barrier schottky rectifier with a planar surface using CMP techniques
US8432000B2 (en) 2010-06-18 2013-04-30 Fairchild Semiconductor Corporation Trench MOS barrier schottky rectifier with a planar surface using CMP techniques
US8502346B2 (en) * 2010-12-23 2013-08-06 Alpha And Omega Semiconductor Incorporated Monolithic IGBT and diode structure for quasi-resonant converters
US20120161286A1 (en) * 2010-12-23 2012-06-28 Anup Bhalla Monolithic IGBT and diode structure for quasi-resonant converters
US11114559B2 (en) 2011-05-18 2021-09-07 Vishay-Siliconix, LLC Semiconductor device having reduced gate charges and superior figure of merit
US10163908B2 (en) 2013-07-23 2018-12-25 Micron Technology, Inc. Array of conductive lines individually extending transversally across and elevationally over a mid-portion of individual active area regions
US9263455B2 (en) 2013-07-23 2016-02-16 Micron Technology, Inc. Methods of forming an array of conductive lines and methods of forming an array of recessed access gate lines
US10234486B2 (en) 2014-08-19 2019-03-19 Vishay/Siliconix Vertical sense devices in vertical trench MOSFET
US10444262B2 (en) 2014-08-19 2019-10-15 Vishay-Siliconix Vertical sense devices in vertical trench MOSFET
US10527654B2 (en) 2014-08-19 2020-01-07 Vishay SIliconix, LLC Vertical sense devices in vertical trench MOSFET
US11081554B2 (en) * 2017-10-12 2021-08-03 Semiconductor Components Industries, Llc Insulated gate semiconductor device having trench termination structure and method
US11217541B2 (en) 2019-05-08 2022-01-04 Vishay-Siliconix, LLC Transistors with electrically active chip seal ring and methods of manufacture
US11218144B2 (en) 2019-09-12 2022-01-04 Vishay-Siliconix, LLC Semiconductor device with multiple independent gates

Also Published As

Publication number Publication date
CN101980356A (en) 2011-02-23
EP1351313A2 (en) 2003-10-08
CN101369532B (en) 2010-10-27
US7335946B1 (en) 2008-02-26
CN101980356B (en) 2013-04-03
JP2003309263A (en) 2003-10-31
CN100433366C (en) 2008-11-12
EP1351313B1 (en) 2016-01-20
JP5379339B2 (en) 2013-12-25
US6838722B2 (en) 2005-01-04
CN1455459A (en) 2003-11-12
EP1351313A3 (en) 2007-12-26
JP5651097B2 (en) 2015-01-07
US9324858B2 (en) 2016-04-26
US7868381B1 (en) 2011-01-11
CN101369532A (en) 2009-02-18
US20030178673A1 (en) 2003-09-25
EP2511955A3 (en) 2013-07-03
JP2012060147A (en) 2012-03-22
US20040113201A1 (en) 2004-06-17
US20110042742A1 (en) 2011-02-24
EP2511955A2 (en) 2012-10-17
EP2511955B1 (en) 2017-07-05

Similar Documents

Publication Publication Date Title
US7005347B1 (en) Structures of and methods of fabricating trench-gated MIS devices
US6825105B2 (en) Manufacture of semiconductor devices with Schottky barriers
US7649223B2 (en) Semiconductor device having superjunction structure and method for manufacturing the same
KR101051507B1 (en) Trench gate MOSF and its manufacturing method
US5468982A (en) Trenched DMOS transistor with channel block at cell trench corners
US10861965B2 (en) Power MOSFET with an integrated pseudo-Schottky diode in source contact trench
US5589405A (en) Method for fabricating VDMOS transistor with improved breakdown characteristics
US7087958B2 (en) Termination structure of DMOS device
JPH08264787A (en) Power MOSFET edge termination method and structure
US7102182B2 (en) Semiconductor device
US20110298042A1 (en) Power semiconductor device with trench bottom polysilicon and fabrication method thereof
JP2002164541A (en) Semiconductor device and manufacturing method thereof
US20080227269A1 (en) Termination trench structure for mosgated device and process for its manufacture
EP1162665A2 (en) Trench gate MIS device and method of fabricating the same
US20050073004A1 (en) Semiconductor device and manufacturing method thereof
EP0961325B1 (en) High integration density MOS technology power device
WO2025026567A1 (en) Vertical semiconductor power device and method for producing the device

Legal Events

Date Code Title Description
STCF Information on status: patent grant

Free format text: PATENTED CASE

FPAY Fee payment

Year of fee payment: 4

AS Assignment

Owner name: JPMORGAN CHASE BANK, N.A., AS ADMINISTRATIVE AGENT, TEXAS

Free format text: SECURITY AGREEMENT;ASSIGNORS:VISHAY INTERTECHNOLOGY, INC.;VISHAY DALE ELECTRONICS, INC.;SILICONIX INCORPORATED;AND OTHERS;REEL/FRAME:025675/0001

Effective date: 20101201

Owner name: JPMORGAN CHASE BANK, N.A., AS ADMINISTRATIVE AGENT

Free format text: SECURITY AGREEMENT;ASSIGNORS:VISHAY INTERTECHNOLOGY, INC.;VISHAY DALE ELECTRONICS, INC.;SILICONIX INCORPORATED;AND OTHERS;REEL/FRAME:025675/0001

Effective date: 20101201

FPAY Fee payment

Year of fee payment: 8

MAFP Maintenance fee payment

Free format text: PAYMENT OF MAINTENANCE FEE, 12TH YEAR, LARGE ENTITY (ORIGINAL EVENT CODE: M1553)

Year of fee payment: 12

AS Assignment

Owner name: JPMORGAN CHASE BANK, N.A., AS ADMINISTRATIVE AGENT

Free format text: SECURITY INTEREST;ASSIGNORS:VISHAY DALE ELECTRONICS, INC.;DALE ELECTRONICS, INC.;VISHAY DALE ELECTRONICS, LLC;AND OTHERS;REEL/FRAME:049440/0876

Effective date: 20190605

Owner name: JPMORGAN CHASE BANK, N.A., AS ADMINISTRATIVE AGENT, ILLINOIS

Free format text: SECURITY INTEREST;ASSIGNORS:VISHAY DALE ELECTRONICS, INC.;DALE ELECTRONICS, INC.;VISHAY DALE ELECTRONICS, LLC;AND OTHERS;REEL/FRAME:049440/0876

Effective date: 20190605

AS Assignment

Owner name: DALE ELECTRONICS, INC., NEBRASKA

Free format text: RELEASE BY SECURED PARTY;ASSIGNOR:JPMORGAN CHASE BANK, N.A., AS ADMINISTRATIVE AGENT;REEL/FRAME:049826/0312

Effective date: 20190716

Owner name: VISHAY VITRAMON, INC., VERMONT

Free format text: RELEASE BY SECURED PARTY;ASSIGNOR:JPMORGAN CHASE BANK, N.A., AS ADMINISTRATIVE AGENT;REEL/FRAME:049826/0312

Effective date: 20190716

Owner name: VISHAY INTERTECHNOLOGY, INC., PENNSYLVANIA

Free format text: RELEASE BY SECURED PARTY;ASSIGNOR:JPMORGAN CHASE BANK, N.A., AS ADMINISTRATIVE AGENT;REEL/FRAME:049826/0312

Effective date: 20190716

Owner name: SILICONIX INCORPORATED, CALIFORNIA

Free format text: RELEASE BY SECURED PARTY;ASSIGNOR:JPMORGAN CHASE BANK, N.A., AS ADMINISTRATIVE AGENT;REEL/FRAME:049826/0312

Effective date: 20190716

Owner name: VISHAY SPRAGUE, INC., VERMONT

Free format text: RELEASE BY SECURED PARTY;ASSIGNOR:JPMORGAN CHASE BANK, N.A., AS ADMINISTRATIVE AGENT;REEL/FRAME:049826/0312

Effective date: 20190716

Owner name: VISHAY EFI, INC., VERMONT

Free format text: RELEASE BY SECURED PARTY;ASSIGNOR:JPMORGAN CHASE BANK, N.A., AS ADMINISTRATIVE AGENT;REEL/FRAME:049826/0312

Effective date: 20190716

Owner name: VISHAY DALE ELECTRONICS, INC., NEBRASKA

Free format text: RELEASE BY SECURED PARTY;ASSIGNOR:JPMORGAN CHASE BANK, N.A., AS ADMINISTRATIVE AGENT;REEL/FRAME:049826/0312

Effective date: 20190716

Owner name: SPRAGUE ELECTRIC COMPANY, VERMONT

Free format text: RELEASE BY SECURED PARTY;ASSIGNOR:JPMORGAN CHASE BANK, N.A., AS ADMINISTRATIVE AGENT;REEL/FRAME:049826/0312

Effective date: 20190716

Owner name: VISHAY TECHNO COMPONENTS, LLC, VERMONT

Free format text: RELEASE BY SECURED PARTY;ASSIGNOR:JPMORGAN CHASE BANK, N.A., AS ADMINISTRATIVE AGENT;REEL/FRAME:049826/0312

Effective date: 20190716