US20180120249A1 - Method for measuring blood components and biosensor and measuring instrument for use therein - Google Patents

Method for measuring blood components and biosensor and measuring instrument for use therein Download PDF

Info

Publication number
US20180120249A1
US20180120249A1 US15/855,119 US201715855119A US2018120249A1 US 20180120249 A1 US20180120249 A1 US 20180120249A1 US 201715855119 A US201715855119 A US 201715855119A US 2018120249 A1 US2018120249 A1 US 2018120249A1
Authority
US
United States
Prior art keywords
amount
blood
electrode
working electrode
sensor
Prior art date
Legal status (The legal status is an assumption and is not a legal conclusion. Google has not performed a legal analysis and makes no representation as to the accuracy of the status listed.)
Abandoned
Application number
US15/855,119
Inventor
Masaki Fujiwara
Teppei Shinno
Shin Ikeda
Current Assignee (The listed assignees may be inaccurate. Google has not performed a legal analysis and makes no representation or warranty as to the accuracy of the list.)
PHC Holdings Corp
Original Assignee
PHC Holdings Corp
Priority date (The priority date is an assumption and is not a legal conclusion. Google has not performed a legal analysis and makes no representation as to the accuracy of the date listed.)
Filing date
Publication date
Application filed by PHC Holdings Corp filed Critical PHC Holdings Corp
Priority to US15/855,119 priority Critical patent/US20180120249A1/en
Publication of US20180120249A1 publication Critical patent/US20180120249A1/en
Assigned to PHC HOLDINGS CORPORATION reassignment PHC HOLDINGS CORPORATION CHANGE OF NAME (SEE DOCUMENT FOR DETAILS). Assignors: PANASONIC HEALTHCARE HOLDINGS CO., LTD.
Abandoned legal-status Critical Current

Links

Images

Classifications

    • AHUMAN NECESSITIES
    • A61MEDICAL OR VETERINARY SCIENCE; HYGIENE
    • A61BDIAGNOSIS; SURGERY; IDENTIFICATION
    • A61B5/00Measuring for diagnostic purposes; Identification of persons
    • A61B5/14Devices for taking samples of blood ; Measuring characteristics of blood in vivo, e.g. gas concentration within the blood, pH-value of blood
    • GPHYSICS
    • G01MEASURING; TESTING
    • G01NINVESTIGATING OR ANALYSING MATERIALS BY DETERMINING THEIR CHEMICAL OR PHYSICAL PROPERTIES
    • G01N27/00Investigating or analysing materials by the use of electric, electrochemical, or magnetic means
    • G01N27/26Investigating or analysing materials by the use of electric, electrochemical, or magnetic means by investigating electrochemical variables; by using electrolysis or electrophoresis
    • G01N27/28Electrolytic cell components
    • G01N27/30Electrodes, e.g. test electrodes; Half-cells
    • G01N27/327Biochemical electrodes, e.g. electrical or mechanical details for in vitro measurements
    • G01N27/3271Amperometric enzyme electrodes for analytes in body fluids, e.g. glucose in blood
    • G01N27/3272Test elements therefor, i.e. disposable laminated substrates with electrodes, reagent and channels
    • AHUMAN NECESSITIES
    • A61MEDICAL OR VETERINARY SCIENCE; HYGIENE
    • A61BDIAGNOSIS; SURGERY; IDENTIFICATION
    • A61B5/00Measuring for diagnostic purposes; Identification of persons
    • A61B5/145Measuring characteristics of blood in vivo, e.g. gas concentration or pH-value ; Measuring characteristics of body fluids or tissues, e.g. interstitial fluid or cerebral tissue
    • A61B5/14546Measuring characteristics of blood in vivo, e.g. gas concentration or pH-value ; Measuring characteristics of body fluids or tissues, e.g. interstitial fluid or cerebral tissue for measuring analytes not otherwise provided for, e.g. ions, cytochromes
    • AHUMAN NECESSITIES
    • A61MEDICAL OR VETERINARY SCIENCE; HYGIENE
    • A61BDIAGNOSIS; SURGERY; IDENTIFICATION
    • A61B5/00Measuring for diagnostic purposes; Identification of persons
    • A61B5/145Measuring characteristics of blood in vivo, e.g. gas concentration or pH-value ; Measuring characteristics of body fluids or tissues, e.g. interstitial fluid or cerebral tissue
    • A61B5/1468Measuring characteristics of blood in vivo, e.g. gas concentration or pH-value ; Measuring characteristics of body fluids or tissues, e.g. interstitial fluid or cerebral tissue using chemical or electrochemical methods, e.g. by polarographic means
    • A61B5/1486Measuring characteristics of blood in vivo, e.g. gas concentration or pH-value ; Measuring characteristics of body fluids or tissues, e.g. interstitial fluid or cerebral tissue using chemical or electrochemical methods, e.g. by polarographic means using enzyme electrodes, e.g. with immobilised oxidase
    • CCHEMISTRY; METALLURGY
    • C12BIOCHEMISTRY; BEER; SPIRITS; WINE; VINEGAR; MICROBIOLOGY; ENZYMOLOGY; MUTATION OR GENETIC ENGINEERING
    • C12QMEASURING OR TESTING PROCESSES INVOLVING ENZYMES, NUCLEIC ACIDS OR MICROORGANISMS; COMPOSITIONS OR TEST PAPERS THEREFOR; PROCESSES OF PREPARING SUCH COMPOSITIONS; CONDITION-RESPONSIVE CONTROL IN MICROBIOLOGICAL OR ENZYMOLOGICAL PROCESSES
    • C12Q1/00Measuring or testing processes involving enzymes, nucleic acids or microorganisms; Compositions therefor; Processes of preparing such compositions
    • C12Q1/001Enzyme electrodes
    • C12Q1/004Enzyme electrodes mediator-assisted
    • CCHEMISTRY; METALLURGY
    • C12BIOCHEMISTRY; BEER; SPIRITS; WINE; VINEGAR; MICROBIOLOGY; ENZYMOLOGY; MUTATION OR GENETIC ENGINEERING
    • C12QMEASURING OR TESTING PROCESSES INVOLVING ENZYMES, NUCLEIC ACIDS OR MICROORGANISMS; COMPOSITIONS OR TEST PAPERS THEREFOR; PROCESSES OF PREPARING SUCH COMPOSITIONS; CONDITION-RESPONSIVE CONTROL IN MICROBIOLOGICAL OR ENZYMOLOGICAL PROCESSES
    • C12Q1/00Measuring or testing processes involving enzymes, nucleic acids or microorganisms; Compositions therefor; Processes of preparing such compositions
    • C12Q1/001Enzyme electrodes
    • C12Q1/005Enzyme electrodes involving specific analytes or enzymes
    • C12Q1/006Enzyme electrodes involving specific analytes or enzymes for glucose
    • GPHYSICS
    • G01MEASURING; TESTING
    • G01NINVESTIGATING OR ANALYSING MATERIALS BY DETERMINING THEIR CHEMICAL OR PHYSICAL PROPERTIES
    • G01N27/00Investigating or analysing materials by the use of electric, electrochemical, or magnetic means
    • G01N27/26Investigating or analysing materials by the use of electric, electrochemical, or magnetic means by investigating electrochemical variables; by using electrolysis or electrophoresis
    • G01N27/28Electrolytic cell components
    • G01N27/30Electrodes, e.g. test electrodes; Half-cells
    • G01N27/327Biochemical electrodes, e.g. electrical or mechanical details for in vitro measurements
    • GPHYSICS
    • G01MEASURING; TESTING
    • G01NINVESTIGATING OR ANALYSING MATERIALS BY DETERMINING THEIR CHEMICAL OR PHYSICAL PROPERTIES
    • G01N27/00Investigating or analysing materials by the use of electric, electrochemical, or magnetic means
    • G01N27/26Investigating or analysing materials by the use of electric, electrochemical, or magnetic means by investigating electrochemical variables; by using electrolysis or electrophoresis
    • G01N27/28Electrolytic cell components
    • G01N27/30Electrodes, e.g. test electrodes; Half-cells
    • G01N27/327Biochemical electrodes, e.g. electrical or mechanical details for in vitro measurements
    • G01N27/3271Amperometric enzyme electrodes for analytes in body fluids, e.g. glucose in blood
    • G01N27/3274Corrective measures, e.g. error detection, compensation for temperature or hematocrit, calibration
    • GPHYSICS
    • G01MEASURING; TESTING
    • G01NINVESTIGATING OR ANALYSING MATERIALS BY DETERMINING THEIR CHEMICAL OR PHYSICAL PROPERTIES
    • G01N27/00Investigating or analysing materials by the use of electric, electrochemical, or magnetic means
    • G01N27/26Investigating or analysing materials by the use of electric, electrochemical, or magnetic means by investigating electrochemical variables; by using electrolysis or electrophoresis
    • G01N27/28Electrolytic cell components
    • G01N27/30Electrodes, e.g. test electrodes; Half-cells
    • G01N27/327Biochemical electrodes, e.g. electrical or mechanical details for in vitro measurements
    • G01N27/3275Sensing specific biomolecules, e.g. nucleic acid strands, based on an electrode surface reaction
    • G01N27/3277Sensing specific biomolecules, e.g. nucleic acid strands, based on an electrode surface reaction being a redox reaction, e.g. detection by cyclic voltammetry
    • GPHYSICS
    • G01MEASURING; TESTING
    • G01NINVESTIGATING OR ANALYSING MATERIALS BY DETERMINING THEIR CHEMICAL OR PHYSICAL PROPERTIES
    • G01N27/00Investigating or analysing materials by the use of electric, electrochemical, or magnetic means
    • G01N27/26Investigating or analysing materials by the use of electric, electrochemical, or magnetic means by investigating electrochemical variables; by using electrolysis or electrophoresis
    • G01N27/403Cells and electrode assemblies
    • G01N27/413Concentration cells using liquid electrolytes measuring currents or voltages in voltaic cells
    • GPHYSICS
    • G01MEASURING; TESTING
    • G01NINVESTIGATING OR ANALYSING MATERIALS BY DETERMINING THEIR CHEMICAL OR PHYSICAL PROPERTIES
    • G01N27/00Investigating or analysing materials by the use of electric, electrochemical, or magnetic means
    • G01N27/26Investigating or analysing materials by the use of electric, electrochemical, or magnetic means by investigating electrochemical variables; by using electrolysis or electrophoresis
    • G01N27/416Systems
    • GPHYSICS
    • G01MEASURING; TESTING
    • G01NINVESTIGATING OR ANALYSING MATERIALS BY DETERMINING THEIR CHEMICAL OR PHYSICAL PROPERTIES
    • G01N33/00Investigating or analysing materials by specific methods not covered by groups G01N1/00 - G01N31/00
    • G01N33/48Biological material, e.g. blood, urine; Haemocytometers
    • G01N33/483Physical analysis of biological material
    • G01N33/487Physical analysis of biological material of liquid biological material
    • G01N33/49Blood

Definitions

  • the present invention relates to a method of measuring a blood component and to a biosensor and a measuring device used in the method.
  • the configuration of the sensor for measuring a blood component is such that, for example, a cover is disposed on an insulating substrate having a working electrode and a counter electrode on its surface with a spacer intervening between the cover and the insulating substrate.
  • a reagent containing an oxidoreductase, a mediator (an electron carrier), and the like is provided, thereby forming an analysis portion.
  • the analysis portion communicates with one end of a channel for leading blood to the analysis portion.
  • the other end of the channel is open toward the outside of the sensor so as to serve as a blood supply port.
  • Blood component analysis (e.g., analysis of blood glucose level) using the sensor configured as above is carried out in the following manner, for example.
  • the sensor is set in a dedicated measuring device (a meter).
  • a fingertip or the like is punctured with a lancet to cause bleeding, and the blood supply port of the sensor is brought into contact with the blood that has come out.
  • the blood is drawn into the channel of the sensor by capillary action and flows through the channel to be led to the analysis portion where the blood comes into contact with the reagent.
  • a redox reaction occurs between a component in the blood and the oxidoreductase so that electrons move to the electrodes via the mediator.
  • a current caused to flow at this time is detected, and the measuring device converts the detected current into the amount of the blood component and displays the value obtained by the conversion.
  • an electrochemical blood glucose sensor may be affected by an interfering substance such as an easily oxidizable compound (e.g., ascorbic acid or uric acid) and the amount of blood cells/hematocrit (Hct).
  • an interfering substance such as an easily oxidizable compound (e.g., ascorbic acid or uric acid) and the amount of blood cells/hematocrit (Hct).
  • Hct blood cells/hematocrit
  • Patent Document 2 Japanese Patent No. 3369183
  • Patent Document 3 Japanese Patent No. 3267933
  • the present invention provides a method of measuring a component in blood, including the steps of: measuring a component in blood by causing a redox reaction between the component and an oxidoreductase in the presence of a mediator, detecting a redox current caused by the redox reaction with a first electrode system including a working electrode and a counter electrode, and converting a value of the detected current into an amount of the component; correcting the amount of the component using an amount of blood cells contained in the blood; and correcting the amount of the component using an amount of an interfering substance contained in the blood.
  • the correction step using the amount of the blood cells includes: providing a second electrode system including a working electrode and a counter electrode; providing a mediator on the counter electrode of the second electrode system but not on the working electrode of the second electrode system; supplying the blood to the second electrode system; applying a voltage to the second electrode system in this state to cause a redox current to flow through the second electrode system; detecting the redox current; converting a value of the detected redox current into the amount of the blood cells; and correcting the amount of the component based on the amount of the blood cells.
  • the correction step using the amount of the interfering substance includes: providing a third electrode system including a working electrode and a counter electrode; supplying the blood to the third electrode system; applying a voltage to the third electrode system in this state to cause a redox current to flow through the third electrode system; detecting the redox current; converting a value of the detected redox current into the amount of the interfering substance; and correcting the amount of the component based on the amount of the interfering substance.
  • the present invention provides a biosensor for measuring a component in blood by causing a redox reaction of the component and detecting a redox current caused by the redox reaction with an electrode.
  • the biosensor includes: a first analysis portion including a first electrode system on which at least an oxidoreductase that acts upon the component and a mediator are provided; a second analysis portion including a second electrode system that includes a working electrode and a counter electrode, a mediator being provided on the counter electrode but not on the working electrode; and a third analysis portion including a third electrode system that includes a working electrode and a counter electrode.
  • the component in the blood is measured by causing a redox reaction between the component and the oxidoreductase in the presence of the mediator and detecting with the first electrode system a redox current caused to flow when a voltage is applied.
  • an amount of blood cells contained in the blood is measured by supplying the blood to the second electrode system, applying a voltage to the second electrode system in this state to cause a redox current to flow through the second electrode system, and detecting the redox current.
  • an amount of an interfering substance contained in the blood is measured by supplying the blood to the third electrode system, applying a voltage to the third electrode system in this state to cause a current to flow through the third electrode system, and detecting the current.
  • the present invention provides a measuring device for measuring a component in blood using the above-described biosensor.
  • the measuring device includes: measurement means for measuring a component in blood by causing a redox reaction between the component and the oxidoreductase, detecting a redox current caused by the redox reaction with the first electrode system, and converting the detected current into an amount of the component; correction means for correcting the amount of the component using an amount of blood cells contained in the blood; and correction means for correcting the amount of the component using an amount of an interfering substance contained in the blood.
  • the correction means using the amount of the blood cells uses the second electrode system for measuring the amount of the blood cells and carries out the correction by applying a voltage to the second electrode system in the presence of the blood to cause a current to flow, detecting the current, converting a value of the detected current into the amount of the blood cells, and correcting the amount of the component based on the amount of the blood cells.
  • the correction means using the amount of the interfering substance uses the third electrode system for measuring the amount of the interfering substance and carries out the correction by applying a voltage to the third electrode system in the presence of the blood to cause a current to flow, detecting the current, converting a value of the detected current into the amount of the interfering substance, and correcting the amount of the components based on the amount of the interfering substance.
  • the amount of blood cells and the amount of an interfering substance can be measured with high accuracy by providing a plurality of working electrodes and measuring the amount of the blood component using one of the working electrodes and the amount of the blood cells and the amount of the interfering substance using the other working electrodes.
  • the correction of the amount of the blood component using the amounts of the blood cells and the interfering substance can be performed with high accuracy and high reliability.
  • FIG. 1 is an exploded perspective view showing an example of a sensor according to the present invention.
  • FIG. 2 is a sectional view of the sensor shown in FIG. 1 .
  • FIG. 3 is a plan view of the sensor shown in FIG. 1 .
  • FIG. 4 is an exploded perspective view of another example of a sensor according to the present invention.
  • FIG. 5 is a sectional view of the sensor shown in FIG. 4 .
  • FIG. 6 is a plan view of the sensor shown in FIG. 4 .
  • FIG. 7 is a plan view of still another example of a sensor according to the present invention.
  • FIG. 8 is an exploded perspective view showing still another example of a sensor according to the present invention.
  • FIG. 9 is a sectional view of the sensor shown in FIG. 8 .
  • FIG. 10 is a plan view of the sensor shown in FIG. 8 .
  • FIG. 11 is a plan view of still another example of a sensor according to the present invention.
  • FIG. 12 is a graph showing an example of the result of measurement of a response current for determining the amount of an interfering substance.
  • FIG. 13 is a graph showing an example of the result of measurement of a response current for determining the amount of blood cells.
  • FIG. 13A is a graph showing changes in response current ( ⁇ A) over time during application of a voltage (V)
  • FIG. 13B is a graph showing changes in difference in sensitivity (%) over time during the application of the voltage (V).
  • FIG. 14 is a graph showing another example of the result of measurement of a response current for determining the amount of blood cells.
  • FIG. 14A is a graph showing changes in response current ( ⁇ A) over time during application of a voltage (V)
  • FIG. 14B is a graph showing changes in difference in sensitivity (%) over time during the application of the voltage (V).
  • FIG. 15 is a graph showing still another example of the result of measurement of a response current for determining the amount of blood cells.
  • FIG. 15A is a graph showing changes in response current ( ⁇ A) over time during application of a voltage (V)
  • FIG. 15B is a graph showing changes in difference in sensitivity (%) over time during the application of the voltage (V).
  • FIG. 16 is a graph showing still another example of the result of measurement of a response current for determining the amount of blood cells.
  • FIG. 16A is a graph showing changes in response current ( ⁇ A) over time during application of a voltage (V)
  • FIG. 16B is a graph showing changes in difference in sensitivity (%) over time during the application of the voltage (V).
  • FIG. 17 is a graph showing still another example of the result of measurement of a response current for determining the amount of blood cells.
  • FIG. 17A is a graph showing changes in response current ( ⁇ A) over time during application of a voltage (V)
  • FIG. 17B is a graph showing changes in difference in sensitivity (%) over time during the application of the voltage (V).
  • the correction based on the amount of the blood cells preferably is carried out using at least one of a calibration curve and a calibration table that have been prepared previously for showing the relationship between an amount of the blood cells and an amount of the blood component.
  • the correction based on the amount of the interfering substance preferably is carried out using at least one of a calibration curve and a calibration table that have been prepared previously for showing the relationship between an amount of the interfering substance and an amount of the blood component.
  • a mediator is provided at least on the counter electrode.
  • At least one electrode selected from the working electrodes and the counter electrodes of the first electrode system, the second electrode system, and the third electrode system may serve also as any of the other electrodes.
  • an electrode that is used as a working electrode in a certain step may be used as a counter electrode in another step, and vice versa.
  • the order of measuring the amount of the blood component, the amount of the blood cells, and the amount of the interfering substance is not particularly limited, but it is preferable that the amount of the blood cells is measured last. Either of the amount of the blood component or the amount of the interfering substance may be measured first, or they may be measured at the same time.
  • a voltage for pretreating the third electrode system is applied to the third electrode system before measuring the amount of the interfering substance.
  • the surface of the third electrode system is cleaned, so that the amount of the interfering substance and the amount of the blood cells can be measured more accurately.
  • the voltage applied to the working electrode of the third electrode system to perform the pretreatment preferably is in the range from 0.01 to 1 V relative to the counter electrode of the third electrode system.
  • the voltage applied to the working electrode of the third electrode system to measure the amount of the interfering substance preferably is in the range from 0.01 to 1 V and more preferably in the range from 0.01 to 0.5 V relative to the counter electrode of the third electrode system.
  • the voltage applied to the working electrode of the second electrode system to measure the amount of the blood cells preferably is at least 1 V, more preferably in the range from 1 to 10 V, and still more preferably in the range from 1 to 5 V relative to the counter electrode of the second electrode system.
  • the blood component to be measured is, for example, glucose, lactic acid, uric acid, bilirubin, cholesterol, or the like.
  • the oxidoreductase is selected as appropriate depending on the blood component to be measured. Examples of the oxidoreductase include glucose oxidase, lactate oxidase, cholesterol oxidase, bilirubin oxidase, glucose dehydrogenase, and lactate dehydrogenase.
  • the amount of the oxidoreductase is, for example, 0.01 to 100 U, preferably 0.05 to 10 U, and more preferably 0.1 to 5 U per one sensor or one measurement.
  • the oxidoreductase to be used preferably is glucose oxidase or glucose dehydrogenase.
  • the biosensor according to the present invention is configured so that it further includes a channel for leading blood to the biosensor, and the working electrode of the second analysis portion or the third analysis portion is located furthest upstream and the remaining electrodes are located downstream with respect to flow of the blood supplied from one end of the channel.
  • the first analysis portion is located furthest downstream in the channel.
  • the second electrode system and the third electrode system may share the same working electrode.
  • either one or a combination of the electrodes of the first electrode system may be shared with at least one of the second electrode system and the third electrode system as the counter electrode.
  • the second electrode system and the third electrode system may share an electrode, which is used as the counter electrode in the second electrode system and as the working electrode in the third electrode system.
  • the mediator may be provided on the working electrode of the third electrode system, and in this case, the second electrode system and the third electrode system may share an electrode, which is used as the working electrode in the third electrode system and as the counter electrode in the second electrode system, and the third electrode system and the first electrode system may share the same counter electrode.
  • the biosensor according to the present invention is configured so that it further includes a liquid detecting electrode, and the liquid detecting electrode is located downstream from at least one of the analysis portions so that whether or not the blood is supplied to the at least one of the analysis portions can be detected with the liquid detecting electrode.
  • the liquid detecting electrode can prevent the occurrence of measurement error due to the lack of blood supplied to the biosensor, so that more accurate measurement of the amount of the blood component becomes possible.
  • at least one of the working electrodes and the counter electrodes of the first electrode system, the second electrode system, and the third electrode system may serve also as the liquid detecting electrode.
  • the measuring device according to the present invention further includes detection means that detects whether or not the blood is supplied inside the biosensor with the liquid detecting electrode.
  • a mediator may be used.
  • the mediator include ferricyanides, p-benzoquinone, p-benzoquinone derivatives, phenazine methosulfate, methylene blue, ferrocene, and ferrocene derivatives.
  • ferricyanides are preferable, and potassium ferricyanide is more preferable.
  • the amount of the mediator to be blended is not particularly limited, but is, for example, 0.1 to 1000 mM, preferably 1 to 500 mM, and more preferably 10 to 200 mM per one measurement or one sensor.
  • each of the electrodes preferably is coated with a polymeric material in order to prevent adhesion of impurities, oxidation of the electrode, and the like.
  • the polymeric material include carboxymethyl cellulose (CMC), hydroxyethyl cellulose, hydroxypropyl cellulose, methyl cellulose, ethyl cellulose, ethyl hydroxyethyl cellulose, carboxyethyl cellulose, polyvinyl alcohol, polyvinylpyrrolidone, polyamino acid such as polylysine, polystyrene sulfonate, gelatin and derivatives thereof, polyacrylic acid and salts thereof, polymethacrylic acid and salts thereof, starch and derivatives thereof, maleic anhydride polymer and salts thereof, and agarose gel and derivatives thereof.
  • CMC carboxymethyl cellulose
  • hydroxypropyl cellulose hydroxypropyl cellulose
  • methyl cellulose methyl cellulose
  • ethyl cellulose ethyl
  • the method of coating the electrode with a polymeric material is not particularly limited.
  • the coating can be achieved by providing a polymeric material solution, applying the solution to the electrode surface, and then removing a solvent contained in the coating layer of the solution by drying.
  • FIGS. 1, 2, and 3 show one example of a sensor for measuring a blood component according to the present invention.
  • FIG. 1 is an exploded perspective view of the sensor
  • FIG. 2 is a sectional view of the sensor
  • FIG. 3 is a plan view of the sensor.
  • the same components are given the same reference numerals.
  • a first electrode system including a first working electrode 13 and a first counter electrode 15 , a second electrode system including a second working electrode 17 and a second counter electrode 11 , a third electrode system including a third working electrode 12 and a third counter electrode 16 , and a liquid detecting electrode 14 are formed on an insulating substrate 101 .
  • a first reagent layer 23 is provided on the first electrode system, a second reagent layer 21 is provided on the second counter electrode 11 , and a third reagent layer 22 is provided on the third electrode system.
  • the first reagent layer 23 contains an oxidoreductase such as glucose dehydrogenase and a mediator such as potassium ferricyanide and optionally contains an enzyme stabilizer, a crystal homogenizing agent, and the like.
  • a mediator such as potassium ferricyanide and optionally contains an enzyme stabilizer, a crystal homogenizing agent, and the like.
  • a cover 103 is disposed on the insulating substrate 101 so as to cover an entire area excluding one end portion (the end portion on the right in the drawings) with a spacer 102 intervening therebetween.
  • the insulating substrate 101 , the spacer 102 , and the cover 103 form a channel 24 for leading blood to the respective electrodes ( 11 to 17 ).
  • the channel 24 extends to the other end portion (the end portion on the left in the drawings) of the sensor, and the tip of the channel 24 is open toward the outside of the sensor so as to serve as a blood supply port.
  • the seven electrodes ( 11 to 17 ) are connected to leads, respectively. These leads extend to the above-described one end portion (the end portion on the right in the drawings) of the sensor with the tip of each lead not being covered with the cover but being exposed.
  • the cover 103 has an air hole 25 at a portion corresponding to the right end portion of the channel 24 .
  • the material of the insulating substrate is not particularly limited, and may be, for example, polyethylene terephthalate (PET), polycarbonate (PC), polyimide (PI), polyethylene (PE), polypropylene (PP), polystyrene (PS), polyvinyl chloride (PVC), polyoxymethylene (POM), monomer-cast nylon (MC), polybutylene terephthalate (PBT), a methacrylic resin (PMMA), an ABS resin (ABS), or glass.
  • PET polyethylene terephthalate
  • PC polycarbonate
  • PI polyimide
  • PET polyethylene terephthalate
  • PET polycarbonate
  • PI polyimide
  • PET polyethylene terephthalate
  • PET polycarbonate
  • PI polyimide
  • PET polyethylene terephthalate
  • PET polyethylene terephthalate
  • PC polycarbonate
  • PI polyimide
  • PET polyethylene terephthalate
  • PET polyethylene terephthalate
  • PC polycarbonate
  • the insulating substrate may have an overall length of 5 to 100 mm, a width of 2 to 50 mm, and a thickness of 0.05 to 2 mm; preferably an overall length of 7 to 50 mm, a width of 3 to 20 mm, and a thickness of 0.1 to 1 mm; and more preferably an overall length of 10 to 30 mm, a width of 3 to 10 mm, and a thickness of 0.1 to 0.6 mm. Note here that the above description as to the material and the size of the insulating substrate also applies to Examples 2 to 6 to be described later.
  • the electrodes and the leads on the insulating substrate may be formed by, for example, forming a conductive layer with gold, platinum, palladium, or the like by sputtering or vapor deposition and then processing the conductive layer into a particular electrode pattern with a laser.
  • a laser examples include YAG lasers, CO 2 lasers, and excimer lasers. Note here that this also applies to Examples 2 to 6 to be described later.
  • the first reagent layer 23 is formed in the following manner. For example, an aqueous solution containing 0.1 to 5 U/sensor of glucose dehydrogenase, 10 to 200 mM of potassium ferricyanide, 1 to 50 mM of maltitol, and 20 to 200 mM of taurine is dropped on a round slit portion 20 and then is dried. By providing this slit portion 20 , it becomes possible to suppress the spreading of the droplet of the aqueous solution, thereby allowing the first reagent layer 23 to be provided at a desired position more accurately. In this manner, the first reagent layer 23 is formed on the first working electrode 13 and the first counter electrode 15 .
  • the drying may be natural drying or forced drying using warm air, for example. However, if the temperature of the warm air is too high, there is a possibility that the enzyme contained in the solution might be deactivated. Thus, the temperature of the warm air preferably is around 50° C.
  • the second reagent layer 21 is formed in the following manner. For example, an aqueous solution containing 10 to 200 mM of potassium ferricyanide and 20 to 200 mM of taurine is dropped on a round slit portion 18 and then is dried. By providing this slit portion 18 , it becomes possible to suppress the spreading of the droplet of the aqueous solution, thereby allowing the second reagent layer 21 to be provided at a desired position more accurately. In this manner, the second reagent layer 21 is formed on the second counter electrode 11 .
  • the third reagent layer 22 is formed in the following manner. For example, an aqueous solution containing 10 to 200 mM of potassium ferricyanide and 20 to 200 mM of taurine is dropped on a round slit portion 19 and then is dried. By providing this slit portion 19 , it becomes possible to suppress the spreading of the droplet of the aqueous solution, thereby allowing the third reagent layer 22 to be provided at a desired position more accurately. In this manner, the third reagent layer 22 is formed on the third working electrode 12 and the third counter electrode 16 .
  • the material of the spacer is not particularly limited.
  • the same material as that of the insulating substrate can be used.
  • the size of the spacer also is not particularly limited.
  • the spacer may have an overall length of 5 to 100 mm, a width of 2 to 50 mm, and a thickness of 0.01 to 1 mm; preferably an overall length of 7 to 50 mm, a width of 3 to 20 mm, and a thickness 0.05 to 0.5 mm; and more preferably an overall length of 10 to 30 mm, a width of 3 to 10 mm, and a thickness of 0.05 to 0.25 mm.
  • the spacer has an I-shaped cut-away portion that serves as the channel for leading blood.
  • the cut-away portion may have, for example, an overall length of 0.5 to 8 mm and a width of 0.1 to 5 mm; preferably an overall length of 1 to 10 mm and a width of 0.2 to 3 mm; and more preferably an overall length of 1 to 5 mm and a width of 0.5 to 2 mm.
  • the cut-away portion may be formed, for instance, by using a laser, a drill, or the like, or by forming the spacer using a die that can form the spacer provided with the cut-away portion. Note here that the above description as to the material and the size of the spacer and the cut-away portion also applies to Examples 2 to 6 to be described later.
  • the material of the cover is not particularly limited.
  • the same material as that of the insulating substrate can be used. It is more preferable that a portion of the cover corresponding to the ceiling of the channel for leading blood to the sensor is subjected to a treatment for imparting hydrophilicity.
  • the treatment for imparting hydrophilicity may be carried out by, for example, applying a surfactant or introducing a hydrophilic functional group such as a hydroxyl group, a carbonyl group, or a carboxyl group to the surface of the cover by plasma processing or the like. Furthermore, a layer formed of a surfactant such as lecithin may be formed on the reagent layer.
  • the size of the cover is not particularly limited.
  • the cover may have an overall length of 5 to 100 mm, a width of 3 to 50 mm, and a thickness of 0.01 to 0.5 mm; preferably an overall length of 10 to 50 mm, a width of 3 to 20 mm, and a thickness of 0.05 to 0.25 mm; and more preferably an overall length of 15 to 30 mm, a width of 5 to 10 mm, and a thickness of 0.05 to 0.1 mm.
  • the cover preferably has an air hole, and the shape of the air hole may be, for example, circular, oval, polygonal, or the like, and the maximum diameter thereof may be, for example, 0.01 to 10 mm, preferably 0.05 to 5 mm, and more preferably 0.1 to 2 mm.
  • the air hole may be formed, for instance, by perforating the cover with a laser, a drill, or the like, or by forming the cover using a die that can form the cover provided with the air hole. Note here that the above description as to the material and the size of the cover and the air hole also applies to Examples 2 to 6 to be described later.
  • the senor By laminating the insulating substrate, the spacer, and the cover in this order and integrating them, the sensor can be obtained.
  • the integration can be achieved by adhering these three components with an adhesive or through heat-sealing.
  • an adhesive an epoxy adhesive, an acrylic adhesive, a polyurethane adhesive, a thermosetting adhesive (a hot melt adhesive or the like), a UV curable adhesive, or the like can be used, for example. Note here that this also applies to Examples 2 to 6 to be described later.
  • Measurement of a blood glucose level using this sensor can be carried out in the following manner, for example. First, a fingertip or the like is punctured with a dedicated lancet to cause bleeding. On the other hand, the sensor is set in a dedicated measuring device (a meter). The blood supply port of the sensor set in the measuring device is brought into contact with the blood that has come out, so that the blood is led inside the sensor by capillary action. Then, the sensor analyzes the blood according to the following steps.
  • the supply of blood to the sensor is detected by applying a voltage between the first counter electrode 15 and the liquid detecting electrode 14 . It is to be noted here that the combination of the electrodes used for the blood supply detection is by no means limited to the above combination. After the supply of the blood has been confirmed, the subsequent step is started.
  • the voltage applied in Step 1 is, for example, 0.05 to 1.0 V, preferably 0.1 to 0.8 V, and more preferably 0.2 to 0.5 V.
  • the first working electrode 13 After allowing glucose in the blood to react with an oxidoreductase for a certain period of time, a voltage is applied to the first working electrode 13 .
  • the first working electrode 13 is used as a working electrode and the first counter electrode 15 is used as a counter electrode.
  • a reduced mediator generated on the first working electrode 13 through the enzyme reaction is oxidized, and the oxidation current caused at this time is detected.
  • the glucose is allowed to react with the oxidoreductase for, for example, 0 to 60 seconds, preferably 1 to 30 seconds, and more preferably 2 to 10 seconds.
  • the voltage applied is, for example, 0.05 to 1 V, preferably 0.1 to 0.8 V, and more preferably 0.2 to 0.5 V
  • the voltage application time is, for example, 0.01 to 30 seconds, preferably 0.1 to 10 seconds, and more preferably 1 to 5 seconds.
  • the third working electrode 12 By applying a voltage to the third working electrode 12 , a current caused by the electrolytic oxidation reaction of the interfering substance is detected.
  • the third working electrode 12 is used as a working electrode and the third counter electrode 16 is used as a counter electrode.
  • the amount of the interfering substance is determined based on the result of this detection.
  • the amount of the interfering substance is used for the correction in the measurement of the glucose. In this correction, the amount of the interfering substance determined using a previously prepared calibration curve showing the relationship between a current and an amount of the interfering substance may be used or alternatively the detected current may be used as it is.
  • the voltage applied is, for example, 0.01 to 1 V and preferably 0.01 to 0.5 V
  • the voltage application time is, for example, 0.001 to 60 seconds, preferably 0.01 to 10 seconds, and more preferably 0.01 to 5 seconds.
  • both the working electrode and the counter electrode of the third electrode system are provided with the mediator. Accordingly, a current caused by the electrolytic oxidation reaction of the interfering substance is large, so that the amount of the interfering substance can be measured more accurately.
  • an electrolytic current depending on the amount of the blood cells can be detected.
  • the second working electrode 17 is used as a working electrode and the second counter electrode 11 is used as a counter electrode.
  • the amount of the blood cells is determined based on the result of this detection.
  • the amount of the blood cells is used for the correction in the measurement of the glucose. In this correction, the amount of the blood cells determined using a previously prepared calibration curve showing the relationship between an electrolytic current and an amount of the blood cells may be used or alternatively the detected electrolytic current may be used as it is.
  • the voltage applied is, for example, 1 to 10 V, preferably 1 to 5 V, and more preferably 2 to 3 V
  • the voltage application time is, for example, 0.001 to 60 seconds, preferably 0.01 to 10 seconds, and more preferably 0.01 to 5 seconds.
  • the amount of the glucose obtained in Step 2 is corrected using the amount of the interfering substance measured in Step 3 and the amount of the blood cells measured in Step 4.
  • the correction is carried out based on a calibration curve (including a calibration table) prepared previously.
  • the corrected amount of the glucose is displayed on or stored in the measuring device.
  • FIGS. 4, 5, and 6 show another example of a sensor for measuring a blood component according to the present invention.
  • FIG. 4 is an exploded perspective view of the sensor
  • FIG. 5 is a sectional view of the sensor
  • FIG. 6 is a plan view of the sensor.
  • the same components are given the same reference numerals.
  • either one or the combination of the electrodes of the first or third electrode system serves as the counter electrode of the second electrode system of the sensor according to Example 1.
  • a first electrode system including a first working electrode 33 and a first counter electrode 35 , a second working electrode 37 , a third electrode system including a third working electrode 32 and a third counter electrode 36 , and a liquid detecting electrode 34 are formed on an insulating substrate 301 .
  • a first reagent layer 43 is provided on the first electrode system, and a third reagent layer 42 is provided on the third electrode system.
  • the first reagent layer 43 contains an oxidoreductase such as glucose dehydrogenase and a mediator such as potassium ferricyanide and optionally contains an enzyme stabilizer, a crystal homogenizing agent, and the like.
  • the third reagent layer 42 contains a mediator such as potassium ferricyanide and optionally contains an enzyme stabilizer, a crystal homogenizing agent, and the like.
  • a cover 303 is disposed on the insulating substrate 301 so as to cover an entire area excluding one end portion (the end portion on the right in the drawings) with a spacer 302 intervening therebetween.
  • the insulating substrate 301 , the spacer 302 , and the cover 303 form a channel 44 for leading blood to the respective electrodes ( 32 to 37 ).
  • the channel 44 extends to the other end portion (the end portion on the left in the drawings) of the sensor, and the tip of the channel 44 is open toward the outside of the sensor so as to serve as a blood supply port.
  • the six electrodes ( 32 to 37 ) are connected to leads, respectively. These leads extend to the above-described one end portion (the end portion on the right in the drawings) of the sensor with the tip of each lead not being covered with the cover but being exposed.
  • the cover 303 has an air hole 45 at a portion corresponding to the right end portion of the channel 44 .
  • the first reagent layer 43 is formed in the following manner. For example, an aqueous solution containing 0.1 to 5 U/sensor of glucose dehydrogenase, 10 to 200 mM of potassium ferricyanide, 1 to 50 mM of maltitol, and 20 to 200 mM of taurine is dropped on a round slit portion 40 and then is dried. By providing this slit portion 40 , it becomes possible to suppress the spreading of the droplet of the aqueous solution, thereby allowing the first reagent layer 43 to be provided at a desired position more accurately. In this manner, the first reagent layer 43 is formed on the first working electrode 33 and the first counter electrode 35 .
  • the drying may be natural drying or forced drying using warm air, for example. However, if the temperature of the warm air is too high, there is a possibility that the enzyme contained in the solution might be deactivated. Thus, the temperature of the warm air preferably is around 50° C.
  • the third reagent layer 42 is formed in the following manner. For example, an aqueous solution containing 10 to 200 mM of potassium ferricyanide and 20 to 200 mM of taurine is dropped on a round slit portion 39 and then is dried. By providing this slit portion 39 , it becomes possible to suppress the spreading of the droplet of the aqueous solution, thereby allowing the third reagent layer 42 to be provided at a desired position more accurately. In this manner, the third reagent layer 42 is formed on the third working electrode 32 and the third counter electrode 36 .
  • Measurement of a blood glucose level using this sensor can be carried out in the following manner, for example. First, a fingertip or the like is punctured with a dedicated lancet to cause bleeding. On the other hand, the sensor is set in a dedicated measuring device (a meter). The blood supply port of the sensor set in the measuring device is brought into contact with the blood that has come out, so that the blood is led inside the sensor by capillary action. Then, the sensor analyzes the blood according to the following steps.
  • Step 1 Detecting Specimen (Blood)
  • the supply of blood to the sensor is detected by applying a voltage between the first counter electrode 35 and the liquid detecting electrode 34 . It is to be noted here that the combination of the electrodes used for the blood supply detection is by no means limited to the above combination.
  • the voltage applied in Step 1 is, for example, 0.05 to 1.0 V, preferably 0.1 to 0.8 V, and more preferably 0.2 to 0.5 V.
  • the first working electrode 33 After allowing glucose in the blood to react with an oxidoreductase for a certain period of time, a voltage is applied to the first working electrode 33 .
  • the first working electrode 33 is used as a working electrode and the first counter electrode 35 is used as a counter electrode.
  • a reduced mediator generated on the first working electrode 33 through the enzyme reaction is oxidized, and the oxidation current caused at this time is detected.
  • the glucose is allowed to react with the oxidoreductase for, for example, 0 to 60 seconds, preferably 1 to 30 seconds, and more preferably 2 to 10 seconds.
  • the voltage applied is, for example, 0.05 to 1 V, preferably 0.1 to 0.8 V, and more preferably 0.2 to 0.5 V
  • the voltage application time is, for example, 0.01 to 30 seconds, preferably 0.1 to 10 seconds, and more preferably 1 to 5 seconds.
  • the third working electrode 32 By applying a voltage to the third working electrode 32 , a current caused by the electrolytic oxidation reaction of the interfering substance is detected.
  • the third working electrode 32 is used as a working electrode and the third counter electrode 36 is used as a counter electrode.
  • the amount of the interfering substance is determined based on the result of this detection.
  • the amount of the interfering substance is used for the correction in the measurement of the glucose.
  • the amount of the interfering substance determined using a previously prepared calibration curve showing the relationship between a current and an amount of the interfering substance may be used or alternatively the detected current may be used as it is.
  • the voltage applied is, for example, 0.01 to 1 V and preferably 0.01 to 0.5 V
  • the voltage application time is, for example, 0.001 to 60 seconds, preferably 0.01 to 10 seconds, and more preferably 0.01 to 5 seconds.
  • an electrolytic current depending on the amount of the blood cells can be detected.
  • the second working electrode 37 is used as a working electrode and the third working electrode 32 is used as a counter electrode.
  • the amount of the blood cells is determined based on the result of this detection.
  • the amount of the blood cells is used for the correction in the measurement of the glucose. In this correction, the amount of the blood cells determined using a previously prepared calibration curve showing the relationship between an electrolytic current and an amount of the blood cells may be used or alternatively the detected electrolytic current may be used as it is.
  • Step 4 the voltage applied is, for example, 1 to 10 V, preferably 1 to 5 V, and more preferably 2 to 3 V, and the voltage application time is, for example, 0.001 to 60 seconds, preferably 0.01 to 10 seconds, and more preferably 0.01 to 5 seconds.
  • Step 4 is performed as a last step in the series of steps.
  • the third working electrode 32 is used as the counter electrode in the present example, the present invention is not limited thereto. It should be noted that the first working electrode 33 alone, the first counter electrode 35 alone, the third counter electrode 36 alone, the combination of the third working electrode 32 and the third counter electrode 36 , or the combination of the first working electrode 33 and the first counter electrode 35 also may be used as the counter electrode.
  • the reason why the measurement of the amount of the blood cells is performed last is as follows.
  • the mediator that initially is in an oxidized state e.g., potassium ferricyanide
  • the mediator that is in a reduced state e.g., potassium ferrocyanide
  • the amount of the glucose obtained in Step 2 is corrected using the amount of the interfering substance measured in Step 3 and the amount of the blood cells measured in Step 4.
  • the correction is carried out based on a calibration curve (including a calibration table) prepared previously.
  • the corrected amount of the glucose is displayed on or stored in the measuring device.
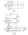
  • FIG. 7 shows still another example of a sensor for measuring a blood component according to the present invention.
  • FIG. 7 is a plan view showing an electrode pattern in this sensor, which corresponds to the electrode pattern shown in FIG. 6 in which either one or the combination of the electrodes of the first electrode system is shared with the third electrode system as the counter electrode. Except for the above, this sensor has the same configuration as the sensor according to Example 2, and the components, the configuration of the reagent layers, production method, etc. of this sensor are the same as those of the sensor according to Example 2.
  • Measurement of a blood glucose level using this sensor can be carried out in the following manner, for example. First, a fingertip or the like is punctured with a dedicated lancet to cause bleeding. On the other hand, the sensor is set in a dedicated measuring device (a meter). The blood supply port of the sensor set in the measuring device is brought into contact with the blood that has come out, so that the blood is led inside the sensor by capillary action. Then, the sensor analyzes the blood according to the following steps.
  • Step 1 Detecting Specimen (Blood)
  • the supply of blood to the sensor is detected by applying a voltage between the first counter electrode 35 and the liquid detecting electrode 34 . It is to be noted here that the combination of the electrodes used for the blood supply detection is by no means limited to the above combination.
  • the voltage applied in Step 1 is, for example, 0.05 to 1.0 V, preferably 0.1 to 0.8 V, and more preferably 0.2 to 0.5 V.
  • the first working electrode 33 After allowing glucose in the blood to react with an oxidoreductase for a certain period of time, a voltage is applied to the first working electrode 33 .
  • the first working electrode 33 is used as a working electrode and the first counter electrode 35 is used as a counter electrode.
  • a reduced mediator generated on the first working electrode 33 through the enzyme reaction is oxidized, and the oxidation current caused at this time is detected.
  • the glucose is allowed to react with the oxidoreductase for, for example, 0 to 60 seconds, preferably 1 to 30 seconds, and more preferably 2 to 10 seconds.
  • the voltage applied is, for example, 0.05 to 1 V, preferably 0.1 to 0.8 V, and more preferably 0.2 to 0.5 V
  • the voltage application time is, for example, 0.01 to 30 seconds, preferably 0.1 to 10 seconds, and more preferably 1 to 5 seconds.
  • the third working electrode 32 By applying a voltage to the third working electrode 32 , a current caused by the electrolytic oxidation reaction of the interfering substance is detected.
  • the third working electrode 32 is used as a working electrode and the first working electrode 33 is used as a counter electrode.
  • the amount of the interfering substance is determined based on the result of this detection.
  • the amount of the interfering substance is used for the correction in the measurement of the glucose. In this correction, the amount of the interfering substance determined using a previously prepared calibration curve showing the relationship between a current and an amount of the interfering substance may be used or alternatively the detected current may be used as it is.
  • the voltage applied is, for example, 0.01 to 1 V and preferably 0.01 to 0.5 V
  • the voltage application time is, for example, 0.001 to 60 seconds, preferably 0.01 to 10 seconds, and more preferably 0.01 to 5 seconds.
  • the first working electrode 33 is used as the counter electrode in the present example, the present invention is not limited thereto. It should be noted that the first counter electrode 35 alone or the combination of the first working electrode 33 and the first counter electrode 35 also may be used as the counter electrode.
  • Step 3 preferably is performed after the amount of the blood component has been measured.
  • the reason why the amount of the interfering substance is measured after the amount of the blood component has been measured is as follows.
  • the mediator that initially is in an oxidized state e.g., potassium ferricyanide
  • the mediator that is in a reduced state e.g., potassium ferrocyanide
  • the mediator causes a background noise during the measurement of the amount of the blood component, resulting in an error in the measured value.
  • Step 3 may be performed before measuring the amount of the blood component.
  • the amount of the mediator in a reduced state e.g., potassium ferrocyanide
  • an electrolytic current depending on the amount of the blood cells can be detected.
  • the second working electrode 37 is used as a working electrode and the third working electrode 32 is used as a counter electrode.
  • the amount of the blood cells is determined based on the result of this detection.
  • the amount of the blood cells is used for the correction in the measurement of the glucose. In this correction, the amount of the blood cells determined using a previously prepared calibration curve showing the relationship between an electrolytic current and an amount of the blood cells may be used or alternatively the detected electrolytic current may be used as it is.
  • Step 4 the voltage applied is, for example, 1 to 10 V, preferably 1 to 5 V, and more preferably 2 to 3 V, and the voltage application time is, for example, 0.001 to 60 seconds, preferably 0.01 to 10 seconds, and more preferably 0.01 to 5 seconds.
  • Step 4 is performed as a last step in the series of steps.
  • the third working electrode 32 is used as the counter electrode in the present example, the present invention is not limited thereto. It should be noted that the first working electrode 33 alone, the first counter electrode 35 alone, or the combination of the first working electrode 33 and the first counter electrode 35 also may be used as the counter electrode.
  • the amount of the glucose obtained in Step 2 is corrected using the amount of the interfering substance measured in Step 3 and the amount of the blood cells measured in Step 4.
  • the correction is carried out based on a calibration curve (including a calibration table) prepared previously.
  • the corrected amount of the glucose is displayed on or stored in the measuring device.
  • FIGS. 8, 9, and 10 show still another example of a sensor for measuring a blood component according to the present invention.
  • FIG. 8 is an exploded perspective view of the sensor
  • FIG. 9 is a sectional view of the sensor
  • FIG. 10 is a plan view of the sensor.
  • the sensor according to the present example corresponds to the sensor according to Example 3 from which the third reagent layer provided on the third working electrode is removed.
  • a first electrode system including a first working electrode 53 and a first counter electrode 55 , a second working electrode 57 , a third working electrode 52 , and a liquid detecting electrode 54 are formed on an insulating substrate 501 .
  • a first reagent layer 63 is provided on the first electrode system.
  • the first reagent layer 63 contains an oxidoreductase such as glucose dehydrogenase and a mediator such as potassium ferricyanide and optionally contains an enzyme stabilizer, a crystal homogenizing agent, and the like.
  • a cover 503 is disposed on the insulating substrate 501 so as to cover an entire area excluding one end portion (the end portion on the right in the drawings) with a spacer 502 intervening therebetween. In this sensor, the insulating substrate 501 , the spacer 502 , and the cover 503 form a channel 64 for leading blood to the respective electrodes ( 52 to 55 , and 57 ).
  • the channel 64 extends to the other end portion (the end portion on the left in the drawings) of the sensor, and the tip of the channel 64 is open toward the outside of the sensor so as to serve as a blood supply port.
  • the five electrodes ( 52 to 55 , and 57 ) are connected to leads, respectively. These leads extend to the above-described one end portion (the end portion on the right in the drawings) of the sensor with the tip of each lead not being covered with the cover but being exposed.
  • the cover 503 has an air hole 65 at a portion corresponding to the right end portion of the channel 64 .
  • the first reagent layer 63 is formed in the following manner. For example, an aqueous solution containing 0.1 to 5 U/sensor of glucose dehydrogenase, 10 to 200 mM of potassium ferricyanide, 1 to 50 mM of maltitol, and 20 to 200 mM of taurine is dropped on a round slit portion 60 and then is dried. By providing this slit portion 60 , it becomes possible to suppress the spreading of the droplet of the aqueous solution, thereby allowing the first reagent layer 63 to be provided at a desired position more accurately. In this manner, the first reagent layer 63 is formed on the first working electrode 53 and the first counter electrode 55 .
  • the drying may be natural drying or forced drying using warm air, for example. However, if the temperature of the warm air is too high, there is a possibility that the enzyme contained in the solution might be deactivated. Thus, the temperature of the warm air preferably is around 50° C.
  • Measurement of a blood glucose level using this sensor can be carried out in the following manner, for example. First, a fingertip or the like is punctured with a dedicated lancet to cause bleeding. On the other hand, the sensor is set in a dedicated measuring device (a meter). The blood supply port of the sensor set in the measuring device is brought into contact with the blood that has come out, so that the blood is led inside the sensor by capillary action. Then, the sensor analyzes the blood according to the following steps.
  • Step 1 Detecting Specimen (Blood)
  • the supply of blood to the sensor is detected by applying a voltage between the first counter electrode 55 and the liquid detecting electrode 54 . It is to be noted here that the combination of the electrodes used for the blood supply detection is by no means limited to the above combination.
  • the voltage applied in Step 1 is, for example, 0.05 to 1.0 V, preferably 0.1 to 0.8 V, and more preferably 0.2 to 0.5 V.
  • the first working electrode 53 After allowing glucose in the blood to react with an oxidoreductase for a certain period of time, a voltage is applied to the first working electrode 53 .
  • the first working electrode 53 is used as a working electrode and the first counter electrode 55 is used as a counter electrode.
  • a reduced mediator generated on the first working electrode 53 through the enzyme reaction is oxidized, and the oxidation current caused at this time is detected.
  • the glucose is allowed to react with the oxidoreductase for, for example, 0 to 60 seconds, preferably 1 to 30 seconds, and more preferably 2 to 10 seconds.
  • the voltage applied is, for example, 0.05 to 1 V, preferably 0.1 to 0.8 V, and more preferably 0.2 to 0.5 V
  • the voltage application time is, for example, 0.01 to 30 seconds, preferably 0.1 to 10 seconds, and more preferably 1 to 5 seconds.
  • the third working electrode 52 By applying a voltage to the third working electrode 52 , a current caused by the electrolytic oxidation reaction of the interfering substance is detected.
  • the third working electrode 52 is used as a working electrode and the first working electrode 53 is used as a counter electrode.
  • the amount of the interfering substance is determined based on the result of this detection.
  • the amount of the interfering substance is used for the correction in the measurement of the glucose. In this correction, the amount of the interfering substance determined using a previously prepared calibration curve showing the relationship between a current and an amount of the interfering substance may be used or alternatively the detected current may be used as it is.
  • the voltage applied is, for example, 0.01 to 1 V and preferably 0.01 to 0.5 V
  • the voltage application time is, for example, 0.001 to 60 seconds, preferably 0.01 to 10 seconds, and more preferably 0.01 to 5 seconds.
  • the first working electrode 53 is used as the counter electrode in the present example, the present invention is not limited thereto. It should be noted that the first counter electrode 55 alone or the combination of the first working electrode 53 and the first counter electrode 55 also may be used as the counter electrode.
  • Step 3 preferably is performed after the amount of the blood component has been measured.
  • the reason why the amount of the interfering substance is measured after the amount of the blood component has been measured is the same as that described in Example 3.
  • the second working electrode 57 By applying a voltage to the second working electrode 57 , an electrolytic current depending on the amount of the blood cells can be detected.
  • the second working electrode 57 is used as a working electrode and the first working electrode 53 is used as a counter electrode.
  • the amount of the blood cells is determined based on the result of this detection.
  • the reason why the first working electrode 53 is used as the counter electrode is as follows. After the amount of the blood component has been measured, the mediator that is in an oxidized state (e.g., potassium ferricyanide) is present dominantly on the first working electrode 53 .
  • the mediator that is in an oxidized state e.g., potassium ferricyanide
  • the amount of the blood cells is used for the correction in the measurement of the glucose.
  • the amount of the blood cells determined using a previously prepared calibration curve showing the relationship between an electrolytic current and an amount of the blood cells may be used or alternatively the detected electrolytic current may be used as it is.
  • the voltage applied is, for example, 1 to 10 V, preferably 1 to 5 V, and more preferably 2 to 3 V
  • the voltage application time is, for example, 0.001 to 60 seconds, preferably 0.01 to 10 seconds, and more preferably 0.01 to 5 seconds.
  • Step 4 is performed as a last step in the series of steps.
  • the first working electrode 53 is used as the counter electrode in the present example, the present invention is not limited thereto. It should be noted that the first counter electrode 55 alone or the combination of the first working electrode 53 and the first counter electrode 55 also may be used as the counter electrode.
  • the amount of the glucose obtained in Step 2 is corrected using the amount of the interfering substance measured in Step 3 and the amount of the blood cells measured in Step 4.
  • the correction is carried out based on a calibration curve (including a calibration table) prepared previously.
  • the corrected amount of the glucose is displayed on or stored in the measuring device.
  • FIG. 11 shows still another example of a sensor for measuring a blood component according to the present invention.
  • FIG. 11 is a plan view showing an electrode pattern in this sensor, which corresponds to the electrode pattern shown in FIG. 10 in which the second working electrode serves also as the third working electrode. Except for the above, this sensor has the same configuration as the sensor according to Example 4, and the components, the configuration of the reagent layers, production method, etc. of this sensor are the same as those of the sensor according to Example 4.
  • Measurement of a blood glucose level using this sensor can be carried out in the following manner, for example. First, a fingertip or the like is punctured with a dedicated lancet to cause bleeding. On the other hand, the sensor is set in a dedicated measuring device (a meter). The blood supply port of the sensor set in the measuring device is brought into contact with the blood that has come out, so that the blood is led inside the sensor by capillary action. Then, the sensor analyzes the blood according to the following steps.
  • Step 1 Detecting Specimen (Blood)
  • the supply of blood to the sensor is detected by applying a voltage between the first counter electrode 55 and the liquid detecting electrode 54 . It is to be noted here that the combination of the electrodes used for the blood supply detection is by no means limited to the above combination.
  • the voltage applied in Step 1 is, for example, 0.05 to 1.0 V, preferably 0.1 to 0.8 V, and more preferably 0.2 to 0.5 V.
  • the first working electrode 53 After allowing glucose in the blood to react with an oxidoreductase for a certain period of time, a voltage is applied to the first working electrode 53 .
  • the first working electrode 53 is used as a working electrode and the first counter electrode 55 is used as a counter electrode.
  • a reduced mediator generated on the first working electrode 53 through the enzyme reaction is oxidized, and the oxidation current caused at this time is detected.
  • the glucose is allowed to react with the oxidoreductase for, for example, 0 to 60 seconds, preferably 1 to 30 seconds, and more preferably 2 to 10 seconds.
  • the voltage applied is, for example, 0.05 to 1 V, preferably 0.1 to 0.8 V, and more preferably 0.2 to 0.5 V
  • the voltage application time is, for example, 0.01 to 30 seconds, preferably 0.1 to 10 seconds, and more preferably 1 to 5 seconds.
  • the second working electrode 57 By applying a voltage to the second working electrode 57 , a current caused by the electrolytic oxidation reaction of the interfering substance is detected.
  • the second working electrode 57 is used as a working electrode and the first working electrode 53 is used as a counter electrode.
  • the amount of the interfering substance is determined based on the result of this detection.
  • the amount of the interfering substance is used for the correction in the measurement of the glucose. In this correction, the amount of the interfering substance determined using a previously prepared calibration curve showing the relationship between a current and an amount of the interfering substance may be used or alternatively the detected current may be used as it is.
  • the voltage applied is, for example, 0.01 to 1 V and preferably 0.01 to 0.5 V
  • the voltage application time is, for example, 0.001 to 60 seconds, preferably 0.01 to 10 seconds, and more preferably 0.01 to 5 seconds.
  • the first working electrode 53 is used as the counter electrode in the present example, the present invention is not limited thereto. It should be noted that the first counter electrode 55 alone or the combination of the first working electrode 53 and the first counter electrode 55 also may be used as the counter electrode.
  • Step 3 preferably is performed after the amount of the blood component has been measured.
  • the reason why the amount of the interfering substance is measured after the amount of the blood component has been measured is the same as that described in Example 3.
  • an electrolytic current depending on the amount of the blood cells can be detected.
  • the second working electrode 57 is used as a working electrode and the first working electrode 53 is used as a counter electrode.
  • the amount of the blood cells is determined based on the result of this detection.
  • the reason why the first working electrode 53 is used as the counter electrode is the same as that described in Example 4.
  • the amount of the blood cells is used for the correction in the measurement of the glucose. In this correction, the amount of the blood cells determined using a previously prepared calibration curve showing the relationship between an electrolytic current and an amount of the blood cells may be used or alternatively the detected electrolytic current may be used as it is.
  • Step 4 the voltage applied is, for example, 1 to 10 V, preferably 1 to 5 V, and more preferably 2 to 3 V, and the voltage application time is, for example, 0.001 to 60 seconds, preferably 0.01 to 10 seconds, and more preferably 0.01 to 5 seconds.
  • Step 4 is performed as a last step in the series of steps.
  • the first working electrode 53 is used as the counter electrode in the present example, the present invention is not limited thereto. It should be noted that the first counter electrode 55 alone or the combination of the first working electrode 53 and the first counter electrode 55 also may be used as the counter electrode.
  • the amount of the glucose obtained in Step 2 is corrected using the amount of the interfering substance measured in Step 3 and the amount of the blood cells measured in Step 4.
  • the correction is carried out based on a calibration curve (including a calibration table) prepared previously.
  • the corrected amount of the glucose is displayed on or stored in the measuring device.
  • Example 6 is directed to an example where a sensor as shown in FIG. 11 was used as in Example 5 and an electrode pretreatment further is performed.
  • Measurement of a blood glucose level using this sensor can be carried out in the following manner, for example. First, a fingertip or the like is punctured with a dedicated lancet to cause bleeding. On the other hand, the sensor is set in a dedicated measuring device (a meter). The blood supply port of the sensor set in the measuring device is brought into contact with the blood that has come out, so that the blood is led inside the sensor by capillary action. Then, the sensor analyzes the blood according to the following steps.
  • Step 1 Detecting Specimen (Blood)
  • the supply of blood to the sensor is detected by applying a voltage between the first counter electrode 55 and the liquid detecting electrode 54 . It is to be noted here that the combination of the electrodes used for the blood supply detection is by no means limited to the above combination.
  • the voltage applied in Step 1 is, for example, 0.05 to 1.0 V, preferably 0.1 to 0.8 V, and more preferably 0.2 to 0.5 V.
  • a voltage is applied to the second working electrode 57 to clean the surface of the second working electrode 57 .
  • the second working electrode 57 is used as a working electrode and the first counter electrode 55 is used as a counter electrode.
  • the voltage applied preferably is in the range from 0.01 to 1 V and more preferably from 0.01 to 0.5 V, and the voltage application time is, for example, 0.001 to 30 seconds, preferably 0.01 to 10 seconds, and more preferably 0.01 to 5 seconds.
  • Step 2 may be performed simultaneously with or after Step 4 (the measurement of glucose) to be described later.
  • Step 2 is performed before measuring the amount of the interfering substance and the amount of the blood cells, Step 2 can be performed at the most effective timing from the viewpoint of simplicity in operation and reduction in time required for the whole measurement process.
  • the second working electrode 57 By applying a voltage to the second working electrode 57 , a current caused by the electrolytic oxidation reaction of the interfering substance is detected.
  • the second working electrode 57 is used as a working electrode and the first counter electrode 55 is used as a counter electrode.
  • the amount of the interfering substance is determined based on the result of this detection.
  • the amount of the interfering substance is used for the correction in the measurement of the glucose. In this correction, the amount of the interfering substance determined using a previously prepared calibration curve showing the relationship between a current and an amount of the interfering substance may be used or alternatively the detected current may be used as it is.
  • the voltage applied is, for example, 0.01 to 1 V and preferably 0.01 to 0.5 V
  • the voltage application time is, for example, 0.001 to 60 seconds, preferably 0.01 to 10 seconds, and more preferably 0.01 to 5 seconds.
  • the first counter electrode 55 is used as the counter electrode in the present example, the present invention is not limited thereto. It should be noted that the first working electrode 53 alone or the combination of the first working electrode 53 and the first counter electrode 55 also may be used as the counter electrode.
  • Step 3 preferably is performed after the amount of the blood component has been measured.
  • the reason why the amount of the interfering substance is measured after the amount of the blood component has been measured is the same as that described in Example 3.
  • Step 3 may be performed before measuring the amount of the blood component. The reason for this is that, in this case, the amount of the mediator in a reduced state (e.g., potassium ferrocyanide) generated on the first counter electrode 55 is not large enough to diffuse on the first working electrode 33 and thus there is little chance that it might cause a background noise.
  • the mediator in a reduced state e.g., potassium ferrocyanide
  • the first working electrode 53 After allowing glucose in the blood to react with an oxidoreductase for a certain period of time, a voltage is applied to the first working electrode 53 .
  • the first working electrode 53 is used as a working electrode and the first counter electrode 55 is used as a counter electrode.
  • a reduced mediator generated on the first working electrode 53 through the enzyme reaction is oxidized, and the oxidation current caused at this time is detected.
  • the glucose is allowed to react with the oxidoreductase for, for example, 0 to 60 seconds, preferably 1 to 30 seconds, and more preferably 2 to 10 seconds.
  • the voltage applied is, for example, 0.05 to 1 V, preferably 0.1 to 0.8 V, and more preferably 0.2 to 0.5 V
  • the voltage application time is, for example, 0.01 to 30 seconds, preferably 0.1 to 10 seconds, and more preferably 1 to 5 seconds.
  • an electrolytic current depending on the amount of the blood cells can be detected.
  • the second working electrode 57 is used as a working electrode and the first working electrode 53 is used as a counter electrode.
  • the amount of the blood cells is determined based on the result of this detection.
  • the amount of the blood cells is used for the correction in the measurement of the glucose. In this correction, the amount of the blood cells determined using a previously prepared calibration curve showing the relationship between an electrolytic current and an amount of the blood cells may be used or alternatively the detected electrolytic current may be used as it is.
  • Step 4 the voltage applied is, for example, 1 to 10 V, preferably 1 to 5 V, and more preferably 2 to 3 V, and the voltage application time is, for example, 0.001 to 60 seconds, preferably 0.01 to 10 seconds, and more preferably 0.01 to 5 seconds.
  • Step 4 is performed as a last step in the series of steps.
  • the first working electrode 53 is used as the counter electrode in the present example, the present invention is not limited thereto. It should be noted that the first counter electrode 55 alone or the combination of the first working electrode 53 and the first counter electrode 55 also may be used as the counter electrode.
  • the amount of the glucose obtained in Step 4 is corrected using the amount of the interfering substance measured in Step 3 and the amount of the blood cells measured in Step 5.
  • the correction is carried out based on a calibration curve (including a calibration table) prepared previously.
  • the corrected amount of the glucose is displayed on or stored in the measuring device.
  • Examples 1 to 6 describe the case where the glucose concentration in blood is measured.
  • the present invention is by no means limited thereto.
  • the present invention also is useful for the measurement of other blood components, such as lactic acid and cholesterol.
  • Electrodes patterns are shown in Examples 1 to 6, the present invention is by no means limited thereto. It is to be noted here that the electrode pattern can be changed as appropriate depending on the purpose or the conditions of use of the sensor, for example.
  • the first reagent layer 23 was formed by dissolving glucose dehydrogenase (1 to 5 U), potassium ferricyanide (60 mM), and taurine (80 mM) in a CMC aqueous solution (0.1 wt %) to prepare a reagent solution, dropping the reagent solution on the round slit portion 20 , and then drying it.
  • the second reagent layer 21 and the third reagent layer 22 were formed by dissolving potassium ferricyanide (60 mM) and taurine (80 mM) in a CMC aqueous solution (0.1 wt %) to prepare a reagent solution, dropping the reagent solution on the round slit portions 18 and 19 , and then drying it.
  • a response current for determining the amount of an interfering substance was measured.
  • Ascorbic acid was used as an example of an easily oxidizable interfering substance, and blood samples respectively containing 0, 5, 10, and 20 mg/dl of ascorbic acid were provided.
  • a current flowing through the third electrode system was measured. The measurement was performed by applying a voltage of 0.5 V to the third working electrode 12 for 3 seconds.
  • a response current for determining the amount of blood cells was measured.
  • an electrolytic current flowing through the second electrode system was measured.
  • the measurement was performed by applying a voltage of 2.5 V to the second working electrode 17 for 3 seconds.
  • the first reagent layer 43 was formed by dissolving glucose dehydrogenase (1 to 5 U), potassium ferricyanide (60 mM), and taurine (80 mM) in a CMC aqueous solution (0.1 wt %) to prepare a reagent solution, dropping the reagent solution on the round slit portion 40 , and then drying it.
  • the third reagent layer 42 was formed by dissolving potassium ferricyanide (60 mM) and taurine (80 mM) in a CMC aqueous solution (0.1 wt %) to prepare a reagent solution, dropping the reagent solution on the round slit portion 39 , and then drying it.
  • a response current for determining the amount of an interfering substance was measured.
  • Ascorbic acid was used as an example of an easily oxidizable interfering substance, and blood samples respectively containing 0, 5, 10, and 20 mg/dl of ascorbic acid were provided.
  • a current flowing through the third electrode system was measured. The measurement was performed by applying a voltage of 0.5 V to the third working electrode 32 for 3 seconds.
  • a response current for determining the amount of blood cells was measured.
  • an electrolytic current flowing through the second electrode system was measured. The measurement was performed by applying a voltage of 2.5 V to the second working electrode 37 for 3 seconds.
  • the first reagent layer 43 was formed by dissolving glucose dehydrogenase (1 to 5 U), potassium ferricyanide (60 mM), and taurine (80 mM) in a CMC aqueous solution (0.1 wt %) to prepare a reagent solution, dropping the reagent solution on the round slit portion 40 , and then drying it.
  • the third reagent layer 42 was formed by dissolving potassium ferricyanide (60 mM) and taurine (80 mM) in a CMC aqueous solution (0.1 wt %) to prepare a reagent solution, dropping the reagent solution on the round slit portion 39 , and then drying it.
  • a response current for determining the amount of an interfering substance was measured.
  • Ascorbic acid was used as an example of an easily oxidizable interfering substance, and blood samples respectively containing 0, 5, 10, and 20 mg/dl of ascorbic acid were provided.
  • a current flowing through the third electrode system was measured.
  • the measurement was performed by applying a voltage of 0.5 V to the third working electrode 32 for 3 seconds.
  • a response current for determining the amount of blood cells was measured.
  • an electrolytic current flowing through the second electrode system was measured.
  • the measurement was performed by applying a voltage of 2.5 V to the second working electrode 37 for 3 seconds.
  • a sensor having a configuration shown in FIGS. 8, 9, and 10 was produced.
  • the first reagent layer 63 was formed by dissolving glucose dehydrogenase (1 to 5 U), potassium ferricyanide (60 mM), and taurine (80 mM) in a CMC aqueous solution (0.1 wt %) to prepare a reagent solution, dropping the reagent solution on the round slit portion 60 , and then drying it.
  • a response current for determining the amount of an interfering substance was measured.
  • Ascorbic acid was used as an example of an easily oxidizable interfering substance, and blood samples respectively containing 0, 5, 10, and 20 mg/dl of ascorbic acid were provided.
  • a current flowing through the third electrode system was measured.
  • the first working electrode 53 as a counter electrode, the measurement was performed by applying a voltage of 0.5 V to the third working electrode 52 for 3 seconds.
  • a response current for determining the amount of blood cells was measured.
  • an electrolytic current flowing through the second electrode system was measured.
  • the measurement was performed by applying a voltage of 2.5 V to the second working electrode 57 for 3 seconds.
  • the first reagent layer 63 was formed by dissolving glucose dehydrogenase (1 to 5 U), potassium ferricyanide (60 mM), and taurine (80 mM) in a CMC aqueous solution (0.1 wt %) to prepare a reagent solution, dropping the reagent solution on the round slit portion 60 , and then drying it.
  • a response current for determining the amount of an interfering substance was measured.
  • Ascorbic acid was used as an example of an easily oxidizable interfering substance, and blood samples respectively containing 0, 5, 10, and 20 mg/dl of ascorbic acid were provided.
  • a current flowing through the third electrode system was measured.
  • the measurement was performed by applying a voltage of 0.5 V to the third working electrode 52 for 3 seconds.
  • a response current for determining the amount of blood cells was measured.
  • an electrolytic current flowing through the second electrode system was measured.
  • the measurement was performed by applying a voltage of 2.5 V to the second working electrode 57 for 3 seconds.
  • FIG. 12 is a graph showing the result of measurements of the response currents for determining the amount of the interfering substance in Reference Examples 1 to 5. As can be seen from FIG. 12 , the response currents reflecting the amounts of the interfering substance could be detected.
  • FIGS. 13 to 17 show the result of measurements of the response currents for determining the amount of the blood cells in Reference Examples 1 to 5.
  • FIGS. 13A to 17A are graphs each showing changes in response current ( ⁇ A) over time during the application of the voltage (V)
  • FIGS. 13B to 17B are graphs each showing changes in difference in sensitivity (%) over time during the application of the voltage (V).
  • the difference in sensitivity did not depend on the voltage application time, so that the response current reflecting the amount of the blood cells could be detected definitely.
  • the method of measuring a blood component measures the amounts of an interfering substance and blood cells with high accuracy and high reliability and corrects the amount of the blood component based on the amounts of the interfering substance and the blood cells.
  • the method of the present invention can measure the blood component with high accuracy and high reliability. Accordingly, the present invention is useful for the measurement of a blood component such as glucose.

Landscapes

  • Health & Medical Sciences (AREA)
  • Life Sciences & Earth Sciences (AREA)
  • Chemical & Material Sciences (AREA)
  • Physics & Mathematics (AREA)
  • Molecular Biology (AREA)
  • General Health & Medical Sciences (AREA)
  • Engineering & Computer Science (AREA)
  • Pathology (AREA)
  • Immunology (AREA)
  • Biochemistry (AREA)
  • Analytical Chemistry (AREA)
  • Hematology (AREA)
  • Biophysics (AREA)
  • Biomedical Technology (AREA)
  • General Physics & Mathematics (AREA)
  • Chemical Kinetics & Catalysis (AREA)
  • Electrochemistry (AREA)
  • Organic Chemistry (AREA)
  • Medical Informatics (AREA)
  • Veterinary Medicine (AREA)
  • Heart & Thoracic Surgery (AREA)
  • Surgery (AREA)
  • Animal Behavior & Ethology (AREA)
  • Public Health (AREA)
  • Wood Science & Technology (AREA)
  • Zoology (AREA)
  • Proteomics, Peptides & Aminoacids (AREA)
  • Optics & Photonics (AREA)
  • Genetics & Genomics (AREA)
  • General Engineering & Computer Science (AREA)
  • Bioinformatics & Cheminformatics (AREA)
  • Biotechnology (AREA)
  • Microbiology (AREA)
  • Medicinal Chemistry (AREA)
  • General Chemical & Material Sciences (AREA)
  • Food Science & Technology (AREA)
  • Urology & Nephrology (AREA)
  • Ecology (AREA)
  • Spectroscopy & Molecular Physics (AREA)
  • Emergency Medicine (AREA)

Abstract

The present invention provides a method of measuring a component in blood, by which the amounts of blood cells and an interfering substance can be measured with high accuracy and high reliability and the amount of the component can be corrected accurately based on the amounts of the blood cells and the interfering substance. In a sensor for measuring a blood component, a first working electrode 13 measures a current that flows during a redox reaction of a blood component, a second working electrode 17 measures the amount of blood cells, and a third working electrode 12 measures the amount of an interfering substance. Next, based on the measurement results, the amount of the blood component to be measured is corrected. Thus, more accurate and precise measurement of the amount of the blood component can be realized.

Description

    TECHNICAL FIELD
  • The present invention relates to a method of measuring a blood component and to a biosensor and a measuring device used in the method.
  • BACKGROUND ART
  • Conventionally, sensors for measuring a blood component have been used for clinical tests, self-measurement of blood glucose level by diabetics, etc. The configuration of the sensor for measuring a blood component is such that, for example, a cover is disposed on an insulating substrate having a working electrode and a counter electrode on its surface with a spacer intervening between the cover and the insulating substrate. On the working electrode and the counter electrode, a reagent containing an oxidoreductase, a mediator (an electron carrier), and the like is provided, thereby forming an analysis portion. The analysis portion communicates with one end of a channel for leading blood to the analysis portion. The other end of the channel is open toward the outside of the sensor so as to serve as a blood supply port. Blood component analysis (e.g., analysis of blood glucose level) using the sensor configured as above is carried out in the following manner, for example. First, the sensor is set in a dedicated measuring device (a meter). Then, a fingertip or the like is punctured with a lancet to cause bleeding, and the blood supply port of the sensor is brought into contact with the blood that has come out. The blood is drawn into the channel of the sensor by capillary action and flows through the channel to be led to the analysis portion where the blood comes into contact with the reagent. Then, a redox reaction occurs between a component in the blood and the oxidoreductase so that electrons move to the electrodes via the mediator. A current caused to flow at this time is detected, and the measuring device converts the detected current into the amount of the blood component and displays the value obtained by the conversion.
  • However, the sensor response of an electrochemical blood glucose sensor as described above may be affected by an interfering substance such as an easily oxidizable compound (e.g., ascorbic acid or uric acid) and the amount of blood cells/hematocrit (Hct). Thus, in order to obtain an accurate measured value, it is necessary to quantitate the interfering substance, the blood cells, or both the interfering substance and the blood cells and then correct the amount of the blood component (e.g., the blood glucose level) based on the value(s) obtained by the quantitation. For example, there has been a sensor that corrects the amount of a blood component by measuring the amount of blood cells by the use of two working electrodes and one reference electrode (see Patent Document 1). Other than this, there has been a method in which the amount of blood cells is measured using a mediator (see Patent Document 2). Also, there has been a method in which an interfering substance is quantitated using an interfering substance-detecting electrode (see Patent Document 3). However, the conventional techniques have a problem concerning the accuracy and the reliability of the measured amounts of the blood cells and the interfering substance so that the amount of the blood component cannot be corrected sufficiently.
  • [Patent Document 1] JP 2003-501627 A [Patent Document 2] Japanese Patent No. 3369183 [Patent Document 3] Japanese Patent No. 3267933 DISCLOSURE OF INVENTION Problem to be Solved by the Invention
  • With the foregoing in mind, it is an object of the present invention to provide a method of measuring a blood component, by which the amount of a blood component can be corrected accurately by measuring the amount of blood cells and the amount of an interfering substance with high accuracy and high reliability and also to provide a sensor and a measuring device used in the method.
  • Means for Solving Problem
  • In order to achieve the above object, the present invention provides a method of measuring a component in blood, including the steps of: measuring a component in blood by causing a redox reaction between the component and an oxidoreductase in the presence of a mediator, detecting a redox current caused by the redox reaction with a first electrode system including a working electrode and a counter electrode, and converting a value of the detected current into an amount of the component; correcting the amount of the component using an amount of blood cells contained in the blood; and correcting the amount of the component using an amount of an interfering substance contained in the blood. The correction step using the amount of the blood cells includes: providing a second electrode system including a working electrode and a counter electrode; providing a mediator on the counter electrode of the second electrode system but not on the working electrode of the second electrode system; supplying the blood to the second electrode system; applying a voltage to the second electrode system in this state to cause a redox current to flow through the second electrode system; detecting the redox current; converting a value of the detected redox current into the amount of the blood cells; and correcting the amount of the component based on the amount of the blood cells. The correction step using the amount of the interfering substance includes: providing a third electrode system including a working electrode and a counter electrode; supplying the blood to the third electrode system; applying a voltage to the third electrode system in this state to cause a redox current to flow through the third electrode system; detecting the redox current; converting a value of the detected redox current into the amount of the interfering substance; and correcting the amount of the component based on the amount of the interfering substance.
  • Furthermore, the present invention provides a biosensor for measuring a component in blood by causing a redox reaction of the component and detecting a redox current caused by the redox reaction with an electrode. The biosensor includes: a first analysis portion including a first electrode system on which at least an oxidoreductase that acts upon the component and a mediator are provided; a second analysis portion including a second electrode system that includes a working electrode and a counter electrode, a mediator being provided on the counter electrode but not on the working electrode; and a third analysis portion including a third electrode system that includes a working electrode and a counter electrode. In the first analysis portion, the component in the blood is measured by causing a redox reaction between the component and the oxidoreductase in the presence of the mediator and detecting with the first electrode system a redox current caused to flow when a voltage is applied. In the second analysis portion, an amount of blood cells contained in the blood is measured by supplying the blood to the second electrode system, applying a voltage to the second electrode system in this state to cause a redox current to flow through the second electrode system, and detecting the redox current. In the third analysis portion, an amount of an interfering substance contained in the blood is measured by supplying the blood to the third electrode system, applying a voltage to the third electrode system in this state to cause a current to flow through the third electrode system, and detecting the current.
  • Still further, the present invention provides a measuring device for measuring a component in blood using the above-described biosensor. The measuring device includes: measurement means for measuring a component in blood by causing a redox reaction between the component and the oxidoreductase, detecting a redox current caused by the redox reaction with the first electrode system, and converting the detected current into an amount of the component; correction means for correcting the amount of the component using an amount of blood cells contained in the blood; and correction means for correcting the amount of the component using an amount of an interfering substance contained in the blood. The correction means using the amount of the blood cells uses the second electrode system for measuring the amount of the blood cells and carries out the correction by applying a voltage to the second electrode system in the presence of the blood to cause a current to flow, detecting the current, converting a value of the detected current into the amount of the blood cells, and correcting the amount of the component based on the amount of the blood cells. The correction means using the amount of the interfering substance uses the third electrode system for measuring the amount of the interfering substance and carries out the correction by applying a voltage to the third electrode system in the presence of the blood to cause a current to flow, detecting the current, converting a value of the detected current into the amount of the interfering substance, and correcting the amount of the components based on the amount of the interfering substance.
  • Effects of the Invention
  • As described above, in the measurement of a blood component, the amount of blood cells and the amount of an interfering substance can be measured with high accuracy by providing a plurality of working electrodes and measuring the amount of the blood component using one of the working electrodes and the amount of the blood cells and the amount of the interfering substance using the other working electrodes. As a result, the correction of the amount of the blood component using the amounts of the blood cells and the interfering substance can be performed with high accuracy and high reliability.
  • BRIEF DESCRIPTION OF DRAWINGS
  • FIG. 1 is an exploded perspective view showing an example of a sensor according to the present invention.
  • FIG. 2 is a sectional view of the sensor shown in FIG. 1.
  • FIG. 3 is a plan view of the sensor shown in FIG. 1.
  • FIG. 4 is an exploded perspective view of another example of a sensor according to the present invention.
  • FIG. 5 is a sectional view of the sensor shown in FIG. 4.
  • FIG. 6 is a plan view of the sensor shown in FIG. 4.
  • FIG. 7 is a plan view of still another example of a sensor according to the present invention.
  • FIG. 8 is an exploded perspective view showing still another example of a sensor according to the present invention.
  • FIG. 9 is a sectional view of the sensor shown in FIG. 8.
  • FIG. 10 is a plan view of the sensor shown in FIG. 8.
  • FIG. 11 is a plan view of still another example of a sensor according to the present invention.
  • FIG. 12 is a graph showing an example of the result of measurement of a response current for determining the amount of an interfering substance.
  • FIG. 13 is a graph showing an example of the result of measurement of a response current for determining the amount of blood cells.
  • FIG. 13A is a graph showing changes in response current (μA) over time during application of a voltage (V), and FIG. 13B is a graph showing changes in difference in sensitivity (%) over time during the application of the voltage (V).
  • FIG. 14 is a graph showing another example of the result of measurement of a response current for determining the amount of blood cells. FIG. 14A is a graph showing changes in response current (μA) over time during application of a voltage (V), and FIG. 14B is a graph showing changes in difference in sensitivity (%) over time during the application of the voltage (V).
  • FIG. 15 is a graph showing still another example of the result of measurement of a response current for determining the amount of blood cells. FIG. 15A is a graph showing changes in response current (μA) over time during application of a voltage (V), and FIG. 15B is a graph showing changes in difference in sensitivity (%) over time during the application of the voltage (V).
  • FIG. 16 is a graph showing still another example of the result of measurement of a response current for determining the amount of blood cells. FIG. 16A is a graph showing changes in response current (μA) over time during application of a voltage (V), and FIG. 16B is a graph showing changes in difference in sensitivity (%) over time during the application of the voltage (V).
  • FIG. 17 is a graph showing still another example of the result of measurement of a response current for determining the amount of blood cells. FIG. 17A is a graph showing changes in response current (μA) over time during application of a voltage (V), and FIG. 17B is a graph showing changes in difference in sensitivity (%) over time during the application of the voltage (V).
  • EXPLANATION OF REFERENCE NUMERALS
      • 11 second counter electrode
      • 12, 32, 52 third working electrode
      • 13, 33, 53 first working electrode
      • 14, 34, 54 liquid detecting electrode
      • 15, 35, 55 first counter electrode
      • 16, 36 third counter electrode
      • 17, 37, 57 second working electrode
      • 18, 19, 20, 39, 40, 60 round slit portion
      • 21 second reagent layer
      • 22, 42 third reagent layer
      • 23, 43, 63 first reagent layer
      • 24, 44, 64 channel
      • 25, 45, 65 air hole
      • 101, 301, 501 insulating substrate
      • 102, 302, 502 spacer
      • 103, 303, 503 cover
    DESCRIPTION OF THE INVENTION
  • In the present invention, the correction based on the amount of the blood cells preferably is carried out using at least one of a calibration curve and a calibration table that have been prepared previously for showing the relationship between an amount of the blood cells and an amount of the blood component. Furthermore, in the present invention, the correction based on the amount of the interfering substance preferably is carried out using at least one of a calibration curve and a calibration table that have been prepared previously for showing the relationship between an amount of the interfering substance and an amount of the blood component.
  • In the present invention, it is preferable that, in the third electrode system, a mediator is provided at least on the counter electrode.
  • In the present invention, at least one electrode selected from the working electrodes and the counter electrodes of the first electrode system, the second electrode system, and the third electrode system may serve also as any of the other electrodes. In the method of measuring a blood component according to the present invention, an electrode that is used as a working electrode in a certain step may be used as a counter electrode in another step, and vice versa.
  • In the present invention, the order of measuring the amount of the blood component, the amount of the blood cells, and the amount of the interfering substance is not particularly limited, but it is preferable that the amount of the blood cells is measured last. Either of the amount of the blood component or the amount of the interfering substance may be measured first, or they may be measured at the same time.
  • In the present invention, it is preferable that a voltage for pretreating the third electrode system is applied to the third electrode system before measuring the amount of the interfering substance. By this pretreatment, the surface of the third electrode system is cleaned, so that the amount of the interfering substance and the amount of the blood cells can be measured more accurately.
  • In the present invention, the voltage applied to the working electrode of the third electrode system to perform the pretreatment preferably is in the range from 0.01 to 1 V relative to the counter electrode of the third electrode system.
  • In the present invention, the voltage applied to the working electrode of the third electrode system to measure the amount of the interfering substance preferably is in the range from 0.01 to 1 V and more preferably in the range from 0.01 to 0.5 V relative to the counter electrode of the third electrode system.
  • In the present invention, the voltage applied to the working electrode of the second electrode system to measure the amount of the blood cells preferably is at least 1 V, more preferably in the range from 1 to 10 V, and still more preferably in the range from 1 to 5 V relative to the counter electrode of the second electrode system.
  • In the present invention, the blood component to be measured is, for example, glucose, lactic acid, uric acid, bilirubin, cholesterol, or the like. Furthermore, the oxidoreductase is selected as appropriate depending on the blood component to be measured. Examples of the oxidoreductase include glucose oxidase, lactate oxidase, cholesterol oxidase, bilirubin oxidase, glucose dehydrogenase, and lactate dehydrogenase. The amount of the oxidoreductase is, for example, 0.01 to 100 U, preferably 0.05 to 10 U, and more preferably 0.1 to 5 U per one sensor or one measurement. When the blood component to be measured is glucose, the oxidoreductase to be used preferably is glucose oxidase or glucose dehydrogenase.
  • Preferably, the biosensor according to the present invention is configured so that it further includes a channel for leading blood to the biosensor, and the working electrode of the second analysis portion or the third analysis portion is located furthest upstream and the remaining electrodes are located downstream with respect to flow of the blood supplied from one end of the channel.
  • In the biosensor according to the present invention, it is preferable that the first analysis portion is located furthest downstream in the channel.
  • In the biosensor according to the present invention, it is not always necessary to provide a mediator on the working electrode of the third electrode system. When the mediator is not provided on the working electrode of the third electrode system, the second electrode system and the third electrode system may share the same working electrode. Also, in this case, either one or a combination of the electrodes of the first electrode system may be shared with at least one of the second electrode system and the third electrode system as the counter electrode.
  • In the biosensor according to the present invention, the second electrode system and the third electrode system may share an electrode, which is used as the counter electrode in the second electrode system and as the working electrode in the third electrode system.
  • In the biosensor according to the present invention, the mediator may be provided on the working electrode of the third electrode system, and in this case, the second electrode system and the third electrode system may share an electrode, which is used as the working electrode in the third electrode system and as the counter electrode in the second electrode system, and the third electrode system and the first electrode system may share the same counter electrode.
  • Preferably, the biosensor according to the present invention is configured so that it further includes a liquid detecting electrode, and the liquid detecting electrode is located downstream from at least one of the analysis portions so that whether or not the blood is supplied to the at least one of the analysis portions can be detected with the liquid detecting electrode. The liquid detecting electrode can prevent the occurrence of measurement error due to the lack of blood supplied to the biosensor, so that more accurate measurement of the amount of the blood component becomes possible. Note here that at least one of the working electrodes and the counter electrodes of the first electrode system, the second electrode system, and the third electrode system may serve also as the liquid detecting electrode. Furthermore, it is preferable that the measuring device according to the present invention further includes detection means that detects whether or not the blood is supplied inside the biosensor with the liquid detecting electrode.
  • In the present invention, a mediator may be used. There is no particular limitation regarding the mediator to be used. Examples of the mediator include ferricyanides, p-benzoquinone, p-benzoquinone derivatives, phenazine methosulfate, methylene blue, ferrocene, and ferrocene derivatives. Among these, ferricyanides are preferable, and potassium ferricyanide is more preferable. The amount of the mediator to be blended is not particularly limited, but is, for example, 0.1 to 1000 mM, preferably 1 to 500 mM, and more preferably 10 to 200 mM per one measurement or one sensor.
  • In the present invention, each of the electrodes preferably is coated with a polymeric material in order to prevent adhesion of impurities, oxidation of the electrode, and the like. Examples of the polymeric material include carboxymethyl cellulose (CMC), hydroxyethyl cellulose, hydroxypropyl cellulose, methyl cellulose, ethyl cellulose, ethyl hydroxyethyl cellulose, carboxyethyl cellulose, polyvinyl alcohol, polyvinylpyrrolidone, polyamino acid such as polylysine, polystyrene sulfonate, gelatin and derivatives thereof, polyacrylic acid and salts thereof, polymethacrylic acid and salts thereof, starch and derivatives thereof, maleic anhydride polymer and salts thereof, and agarose gel and derivatives thereof. They may be used individually or two or more of them may be used together. The method of coating the electrode with a polymeric material is not particularly limited. For example, the coating can be achieved by providing a polymeric material solution, applying the solution to the electrode surface, and then removing a solvent contained in the coating layer of the solution by drying.
  • Hereinafter, examples of a sensor for measuring a blood component and the like according to the present invention will be described with reference to the drawings.
  • Example 1
  • FIGS. 1, 2, and 3 show one example of a sensor for measuring a blood component according to the present invention. FIG. 1 is an exploded perspective view of the sensor, FIG. 2 is a sectional view of the sensor, and FIG. 3 is a plan view of the sensor. In these three drawings, the same components are given the same reference numerals.
  • As shown in the drawings, in this sensor, a first electrode system including a first working electrode 13 and a first counter electrode 15, a second electrode system including a second working electrode 17 and a second counter electrode 11, a third electrode system including a third working electrode 12 and a third counter electrode 16, and a liquid detecting electrode 14 are formed on an insulating substrate 101. A first reagent layer 23 is provided on the first electrode system, a second reagent layer 21 is provided on the second counter electrode 11, and a third reagent layer 22 is provided on the third electrode system. The first reagent layer 23 contains an oxidoreductase such as glucose dehydrogenase and a mediator such as potassium ferricyanide and optionally contains an enzyme stabilizer, a crystal homogenizing agent, and the like. Each of the second reagent layer 21 and the third reagent layer 22 contains a mediator such as potassium ferricyanide and optionally contains an enzyme stabilizer, a crystal homogenizing agent, and the like. A cover 103 is disposed on the insulating substrate 101 so as to cover an entire area excluding one end portion (the end portion on the right in the drawings) with a spacer 102 intervening therebetween. In this sensor, the insulating substrate 101, the spacer 102, and the cover 103 form a channel 24 for leading blood to the respective electrodes (11 to 17). The channel 24 extends to the other end portion (the end portion on the left in the drawings) of the sensor, and the tip of the channel 24 is open toward the outside of the sensor so as to serve as a blood supply port. The seven electrodes (11 to 17) are connected to leads, respectively. These leads extend to the above-described one end portion (the end portion on the right in the drawings) of the sensor with the tip of each lead not being covered with the cover but being exposed. The cover 103 has an air hole 25 at a portion corresponding to the right end portion of the channel 24.
  • In the present invention, the material of the insulating substrate is not particularly limited, and may be, for example, polyethylene terephthalate (PET), polycarbonate (PC), polyimide (PI), polyethylene (PE), polypropylene (PP), polystyrene (PS), polyvinyl chloride (PVC), polyoxymethylene (POM), monomer-cast nylon (MC), polybutylene terephthalate (PBT), a methacrylic resin (PMMA), an ABS resin (ABS), or glass. Among these, polyethylene terephthalate (PET), polycarbonate (PC), and polyimide (PI) are preferable, and polyethylene terephthalate (PET) is more preferable. The size of the insulating substrate is not particularly limited. For example, the insulating substrate may have an overall length of 5 to 100 mm, a width of 2 to 50 mm, and a thickness of 0.05 to 2 mm; preferably an overall length of 7 to 50 mm, a width of 3 to 20 mm, and a thickness of 0.1 to 1 mm; and more preferably an overall length of 10 to 30 mm, a width of 3 to 10 mm, and a thickness of 0.1 to 0.6 mm. Note here that the above description as to the material and the size of the insulating substrate also applies to Examples 2 to 6 to be described later.
  • The electrodes and the leads on the insulating substrate may be formed by, for example, forming a conductive layer with gold, platinum, palladium, or the like by sputtering or vapor deposition and then processing the conductive layer into a particular electrode pattern with a laser. Examples of the laser include YAG lasers, CO2 lasers, and excimer lasers. Note here that this also applies to Examples 2 to 6 to be described later.
  • The first reagent layer 23 is formed in the following manner. For example, an aqueous solution containing 0.1 to 5 U/sensor of glucose dehydrogenase, 10 to 200 mM of potassium ferricyanide, 1 to 50 mM of maltitol, and 20 to 200 mM of taurine is dropped on a round slit portion 20 and then is dried. By providing this slit portion 20, it becomes possible to suppress the spreading of the droplet of the aqueous solution, thereby allowing the first reagent layer 23 to be provided at a desired position more accurately. In this manner, the first reagent layer 23 is formed on the first working electrode 13 and the first counter electrode 15. The drying may be natural drying or forced drying using warm air, for example. However, if the temperature of the warm air is too high, there is a possibility that the enzyme contained in the solution might be deactivated. Thus, the temperature of the warm air preferably is around 50° C.
  • The second reagent layer 21 is formed in the following manner. For example, an aqueous solution containing 10 to 200 mM of potassium ferricyanide and 20 to 200 mM of taurine is dropped on a round slit portion 18 and then is dried. By providing this slit portion 18, it becomes possible to suppress the spreading of the droplet of the aqueous solution, thereby allowing the second reagent layer 21 to be provided at a desired position more accurately. In this manner, the second reagent layer 21 is formed on the second counter electrode 11.
  • The third reagent layer 22 is formed in the following manner. For example, an aqueous solution containing 10 to 200 mM of potassium ferricyanide and 20 to 200 mM of taurine is dropped on a round slit portion 19 and then is dried. By providing this slit portion 19, it becomes possible to suppress the spreading of the droplet of the aqueous solution, thereby allowing the third reagent layer 22 to be provided at a desired position more accurately. In this manner, the third reagent layer 22 is formed on the third working electrode 12 and the third counter electrode 16.
  • In the present invention, the material of the spacer is not particularly limited. For example, the same material as that of the insulating substrate can be used. The size of the spacer also is not particularly limited. For example, the spacer may have an overall length of 5 to 100 mm, a width of 2 to 50 mm, and a thickness of 0.01 to 1 mm; preferably an overall length of 7 to 50 mm, a width of 3 to 20 mm, and a thickness 0.05 to 0.5 mm; and more preferably an overall length of 10 to 30 mm, a width of 3 to 10 mm, and a thickness of 0.05 to 0.25 mm. The spacer has an I-shaped cut-away portion that serves as the channel for leading blood. The cut-away portion may have, for example, an overall length of 0.5 to 8 mm and a width of 0.1 to 5 mm; preferably an overall length of 1 to 10 mm and a width of 0.2 to 3 mm; and more preferably an overall length of 1 to 5 mm and a width of 0.5 to 2 mm. The cut-away portion may be formed, for instance, by using a laser, a drill, or the like, or by forming the spacer using a die that can form the spacer provided with the cut-away portion. Note here that the above description as to the material and the size of the spacer and the cut-away portion also applies to Examples 2 to 6 to be described later.
  • In the present invention, the material of the cover is not particularly limited. For example, the same material as that of the insulating substrate can be used. It is more preferable that a portion of the cover corresponding to the ceiling of the channel for leading blood to the sensor is subjected to a treatment for imparting hydrophilicity. The treatment for imparting hydrophilicity may be carried out by, for example, applying a surfactant or introducing a hydrophilic functional group such as a hydroxyl group, a carbonyl group, or a carboxyl group to the surface of the cover by plasma processing or the like. Furthermore, a layer formed of a surfactant such as lecithin may be formed on the reagent layer. The size of the cover is not particularly limited. For example, the cover may have an overall length of 5 to 100 mm, a width of 3 to 50 mm, and a thickness of 0.01 to 0.5 mm; preferably an overall length of 10 to 50 mm, a width of 3 to 20 mm, and a thickness of 0.05 to 0.25 mm; and more preferably an overall length of 15 to 30 mm, a width of 5 to 10 mm, and a thickness of 0.05 to 0.1 mm. The cover preferably has an air hole, and the shape of the air hole may be, for example, circular, oval, polygonal, or the like, and the maximum diameter thereof may be, for example, 0.01 to 10 mm, preferably 0.05 to 5 mm, and more preferably 0.1 to 2 mm. The air hole may be formed, for instance, by perforating the cover with a laser, a drill, or the like, or by forming the cover using a die that can form the cover provided with the air hole. Note here that the above description as to the material and the size of the cover and the air hole also applies to Examples 2 to 6 to be described later.
  • By laminating the insulating substrate, the spacer, and the cover in this order and integrating them, the sensor can be obtained. The integration can be achieved by adhering these three components with an adhesive or through heat-sealing. As the adhesive, an epoxy adhesive, an acrylic adhesive, a polyurethane adhesive, a thermosetting adhesive (a hot melt adhesive or the like), a UV curable adhesive, or the like can be used, for example. Note here that this also applies to Examples 2 to 6 to be described later.
  • Measurement of a blood glucose level using this sensor can be carried out in the following manner, for example. First, a fingertip or the like is punctured with a dedicated lancet to cause bleeding. On the other hand, the sensor is set in a dedicated measuring device (a meter). The blood supply port of the sensor set in the measuring device is brought into contact with the blood that has come out, so that the blood is led inside the sensor by capillary action. Then, the sensor analyzes the blood according to the following steps.
  • (Step 1; Detecting Specimen (Blood))
  • The supply of blood to the sensor is detected by applying a voltage between the first counter electrode 15 and the liquid detecting electrode 14. It is to be noted here that the combination of the electrodes used for the blood supply detection is by no means limited to the above combination. After the supply of the blood has been confirmed, the subsequent step is started. The voltage applied in Step 1 is, for example, 0.05 to 1.0 V, preferably 0.1 to 0.8 V, and more preferably 0.2 to 0.5 V.
  • (Step 2: Measuring Glucose)
  • After allowing glucose in the blood to react with an oxidoreductase for a certain period of time, a voltage is applied to the first working electrode 13. In this step, the first working electrode 13 is used as a working electrode and the first counter electrode 15 is used as a counter electrode. A reduced mediator generated on the first working electrode 13 through the enzyme reaction is oxidized, and the oxidation current caused at this time is detected. The glucose is allowed to react with the oxidoreductase for, for example, 0 to 60 seconds, preferably 1 to 30 seconds, and more preferably 2 to 10 seconds. In Step 2, the voltage applied is, for example, 0.05 to 1 V, preferably 0.1 to 0.8 V, and more preferably 0.2 to 0.5 V, and the voltage application time is, for example, 0.01 to 30 seconds, preferably 0.1 to 10 seconds, and more preferably 1 to 5 seconds.
  • (Step 3: Measuring Amount of Interfering Substance)
  • By applying a voltage to the third working electrode 12, a current caused by the electrolytic oxidation reaction of the interfering substance is detected. In this step, the third working electrode 12 is used as a working electrode and the third counter electrode 16 is used as a counter electrode. The amount of the interfering substance is determined based on the result of this detection. The amount of the interfering substance is used for the correction in the measurement of the glucose. In this correction, the amount of the interfering substance determined using a previously prepared calibration curve showing the relationship between a current and an amount of the interfering substance may be used or alternatively the detected current may be used as it is. In Step 3, the voltage applied is, for example, 0.01 to 1 V and preferably 0.01 to 0.5 V, and the voltage application time is, for example, 0.001 to 60 seconds, preferably 0.01 to 10 seconds, and more preferably 0.01 to 5 seconds. In the present example, both the working electrode and the counter electrode of the third electrode system are provided with the mediator. Accordingly, a current caused by the electrolytic oxidation reaction of the interfering substance is large, so that the amount of the interfering substance can be measured more accurately.
  • (Step 4: Measuring Amount of Blood Cells)
  • By applying a voltage to the second working electrode 17, an electrolytic current depending on the amount of the blood cells can be detected. In this step, the second working electrode 17 is used as a working electrode and the second counter electrode 11 is used as a counter electrode. The amount of the blood cells is determined based on the result of this detection. The amount of the blood cells is used for the correction in the measurement of the glucose. In this correction, the amount of the blood cells determined using a previously prepared calibration curve showing the relationship between an electrolytic current and an amount of the blood cells may be used or alternatively the detected electrolytic current may be used as it is. In Step 4, the voltage applied is, for example, 1 to 10 V, preferably 1 to 5 V, and more preferably 2 to 3 V, and the voltage application time is, for example, 0.001 to 60 seconds, preferably 0.01 to 10 seconds, and more preferably 0.01 to 5 seconds.
  • (Step 5: Correcting Amount of Blood Component)
  • The amount of the glucose obtained in Step 2 is corrected using the amount of the interfering substance measured in Step 3 and the amount of the blood cells measured in Step 4. Preferably, the correction is carried out based on a calibration curve (including a calibration table) prepared previously. The corrected amount of the glucose is displayed on or stored in the measuring device.
  • Example 2
  • FIGS. 4, 5, and 6 show another example of a sensor for measuring a blood component according to the present invention. FIG. 4 is an exploded perspective view of the sensor, FIG. 5 is a sectional view of the sensor, and FIG. 6 is a plan view of the sensor. In these three drawings, the same components are given the same reference numerals. In the sensor according to the present example, either one or the combination of the electrodes of the first or third electrode system serves as the counter electrode of the second electrode system of the sensor according to Example 1. Through the shared use of the electrode as described above, it is possible to make the channel for leading blood to the sensor shorter, thereby allowing the amount of blood required as a specimen to be reduced. Moreover, through the shared use of the electrode, the number of the reagent layers can be reduced to two.
  • As shown in the drawings, in this sensor, a first electrode system including a first working electrode 33 and a first counter electrode 35, a second working electrode 37, a third electrode system including a third working electrode 32 and a third counter electrode 36, and a liquid detecting electrode 34 are formed on an insulating substrate 301. A first reagent layer 43 is provided on the first electrode system, and a third reagent layer 42 is provided on the third electrode system. The first reagent layer 43 contains an oxidoreductase such as glucose dehydrogenase and a mediator such as potassium ferricyanide and optionally contains an enzyme stabilizer, a crystal homogenizing agent, and the like. The third reagent layer 42 contains a mediator such as potassium ferricyanide and optionally contains an enzyme stabilizer, a crystal homogenizing agent, and the like. A cover 303 is disposed on the insulating substrate 301 so as to cover an entire area excluding one end portion (the end portion on the right in the drawings) with a spacer 302 intervening therebetween. In this sensor, the insulating substrate 301, the spacer 302, and the cover 303 form a channel 44 for leading blood to the respective electrodes (32 to 37). The channel 44 extends to the other end portion (the end portion on the left in the drawings) of the sensor, and the tip of the channel 44 is open toward the outside of the sensor so as to serve as a blood supply port. The six electrodes (32 to 37) are connected to leads, respectively. These leads extend to the above-described one end portion (the end portion on the right in the drawings) of the sensor with the tip of each lead not being covered with the cover but being exposed. The cover 303 has an air hole 45 at a portion corresponding to the right end portion of the channel 44.
  • The first reagent layer 43 is formed in the following manner. For example, an aqueous solution containing 0.1 to 5 U/sensor of glucose dehydrogenase, 10 to 200 mM of potassium ferricyanide, 1 to 50 mM of maltitol, and 20 to 200 mM of taurine is dropped on a round slit portion 40 and then is dried. By providing this slit portion 40, it becomes possible to suppress the spreading of the droplet of the aqueous solution, thereby allowing the first reagent layer 43 to be provided at a desired position more accurately. In this manner, the first reagent layer 43 is formed on the first working electrode 33 and the first counter electrode 35. The drying may be natural drying or forced drying using warm air, for example. However, if the temperature of the warm air is too high, there is a possibility that the enzyme contained in the solution might be deactivated. Thus, the temperature of the warm air preferably is around 50° C.
  • The third reagent layer 42 is formed in the following manner. For example, an aqueous solution containing 10 to 200 mM of potassium ferricyanide and 20 to 200 mM of taurine is dropped on a round slit portion 39 and then is dried. By providing this slit portion 39, it becomes possible to suppress the spreading of the droplet of the aqueous solution, thereby allowing the third reagent layer 42 to be provided at a desired position more accurately. In this manner, the third reagent layer 42 is formed on the third working electrode 32 and the third counter electrode 36.
  • Measurement of a blood glucose level using this sensor can be carried out in the following manner, for example. First, a fingertip or the like is punctured with a dedicated lancet to cause bleeding. On the other hand, the sensor is set in a dedicated measuring device (a meter). The blood supply port of the sensor set in the measuring device is brought into contact with the blood that has come out, so that the blood is led inside the sensor by capillary action. Then, the sensor analyzes the blood according to the following steps.
  • (Step 1: Detecting Specimen (Blood))
  • The supply of blood to the sensor is detected by applying a voltage between the first counter electrode 35 and the liquid detecting electrode 34. It is to be noted here that the combination of the electrodes used for the blood supply detection is by no means limited to the above combination. After the supply of the blood has been confirmed, the subsequent step is started. The voltage applied in Step 1 is, for example, 0.05 to 1.0 V, preferably 0.1 to 0.8 V, and more preferably 0.2 to 0.5 V.
  • (Step 2: Measuring Glucose)
  • After allowing glucose in the blood to react with an oxidoreductase for a certain period of time, a voltage is applied to the first working electrode 33. In this step, the first working electrode 33 is used as a working electrode and the first counter electrode 35 is used as a counter electrode. A reduced mediator generated on the first working electrode 33 through the enzyme reaction is oxidized, and the oxidation current caused at this time is detected. The glucose is allowed to react with the oxidoreductase for, for example, 0 to 60 seconds, preferably 1 to 30 seconds, and more preferably 2 to 10 seconds. In Step 2, the voltage applied is, for example, 0.05 to 1 V, preferably 0.1 to 0.8 V, and more preferably 0.2 to 0.5 V, and the voltage application time is, for example, 0.01 to 30 seconds, preferably 0.1 to 10 seconds, and more preferably 1 to 5 seconds.
  • (Step 3: Measuring Amount of Interfering Substance)
  • By applying a voltage to the third working electrode 32, a current caused by the electrolytic oxidation reaction of the interfering substance is detected. In this step, the third working electrode 32 is used as a working electrode and the third counter electrode 36 is used as a counter electrode. The amount of the interfering substance is determined based on the result of this detection. The amount of the interfering substance is used for the correction in the measurement of the glucose. In this correction, the amount of the interfering substance determined using a previously prepared calibration curve showing the relationship between a current and an amount of the interfering substance may be used or alternatively the detected current may be used as it is. In Step 3, the voltage applied is, for example, 0.01 to 1 V and preferably 0.01 to 0.5 V, and the voltage application time is, for example, 0.001 to 60 seconds, preferably 0.01 to 10 seconds, and more preferably 0.01 to 5 seconds.
  • (Step 4: Measuring Amount of Blood Cells)
  • By applying a voltage to the second working electrode 37, an electrolytic current depending on the amount of the blood cells can be detected. In this step, the second working electrode 37 is used as a working electrode and the third working electrode 32 is used as a counter electrode. The amount of the blood cells is determined based on the result of this detection. The amount of the blood cells is used for the correction in the measurement of the glucose. In this correction, the amount of the blood cells determined using a previously prepared calibration curve showing the relationship between an electrolytic current and an amount of the blood cells may be used or alternatively the detected electrolytic current may be used as it is. In Step 4, the voltage applied is, for example, 1 to 10 V, preferably 1 to 5 V, and more preferably 2 to 3 V, and the voltage application time is, for example, 0.001 to 60 seconds, preferably 0.01 to 10 seconds, and more preferably 0.01 to 5 seconds. Preferably, Step 4 is performed as a last step in the series of steps. Although the third working electrode 32 is used as the counter electrode in the present example, the present invention is not limited thereto. It should be noted that the first working electrode 33 alone, the first counter electrode 35 alone, the third counter electrode 36 alone, the combination of the third working electrode 32 and the third counter electrode 36, or the combination of the first working electrode 33 and the first counter electrode 35 also may be used as the counter electrode.
  • The reason why the measurement of the amount of the blood cells is performed last is as follows. When the amount of the blood cells is measured before measuring the amount of the blood component and the amount of the interfering substance, the following phenomenon occurs. That is, although the mediator that initially is in an oxidized state (e.g., potassium ferricyanide) is provided on the electrode(s) used as the counter electrode, the mediator that is in a reduced state (e.g., potassium ferrocyanide) is generated by the measurement of the amount of the blood cells. If the amount of the blood component and the amount of the interfering substance are measured thereafter, the reduced mediator thus generated causes a background noise, resulting in an error in the measured value.
  • (Step 5: Correcting Amount of Blood Component)
  • The amount of the glucose obtained in Step 2 is corrected using the amount of the interfering substance measured in Step 3 and the amount of the blood cells measured in Step 4. Preferably, the correction is carried out based on a calibration curve (including a calibration table) prepared previously. The corrected amount of the glucose is displayed on or stored in the measuring device.
  • Example 3
  • FIG. 7 shows still another example of a sensor for measuring a blood component according to the present invention. FIG. 7 is a plan view showing an electrode pattern in this sensor, which corresponds to the electrode pattern shown in FIG. 6 in which either one or the combination of the electrodes of the first electrode system is shared with the third electrode system as the counter electrode. Except for the above, this sensor has the same configuration as the sensor according to Example 2, and the components, the configuration of the reagent layers, production method, etc. of this sensor are the same as those of the sensor according to Example 2.
  • Measurement of a blood glucose level using this sensor can be carried out in the following manner, for example. First, a fingertip or the like is punctured with a dedicated lancet to cause bleeding. On the other hand, the sensor is set in a dedicated measuring device (a meter). The blood supply port of the sensor set in the measuring device is brought into contact with the blood that has come out, so that the blood is led inside the sensor by capillary action. Then, the sensor analyzes the blood according to the following steps.
  • (Step 1: Detecting Specimen (Blood))
  • The supply of blood to the sensor is detected by applying a voltage between the first counter electrode 35 and the liquid detecting electrode 34. It is to be noted here that the combination of the electrodes used for the blood supply detection is by no means limited to the above combination. After the supply of the blood has been confirmed, the subsequent step is started. The voltage applied in Step 1 is, for example, 0.05 to 1.0 V, preferably 0.1 to 0.8 V, and more preferably 0.2 to 0.5 V.
  • (Step 2: Measuring Glucose)
  • After allowing glucose in the blood to react with an oxidoreductase for a certain period of time, a voltage is applied to the first working electrode 33. In this step, the first working electrode 33 is used as a working electrode and the first counter electrode 35 is used as a counter electrode. A reduced mediator generated on the first working electrode 33 through the enzyme reaction is oxidized, and the oxidation current caused at this time is detected. The glucose is allowed to react with the oxidoreductase for, for example, 0 to 60 seconds, preferably 1 to 30 seconds, and more preferably 2 to 10 seconds. In Step 2, the voltage applied is, for example, 0.05 to 1 V, preferably 0.1 to 0.8 V, and more preferably 0.2 to 0.5 V, and the voltage application time is, for example, 0.01 to 30 seconds, preferably 0.1 to 10 seconds, and more preferably 1 to 5 seconds.
  • (Step 3: Measuring Amount of Interfering Substance)
  • By applying a voltage to the third working electrode 32, a current caused by the electrolytic oxidation reaction of the interfering substance is detected. In this step, the third working electrode 32 is used as a working electrode and the first working electrode 33 is used as a counter electrode. The amount of the interfering substance is determined based on the result of this detection. The amount of the interfering substance is used for the correction in the measurement of the glucose. In this correction, the amount of the interfering substance determined using a previously prepared calibration curve showing the relationship between a current and an amount of the interfering substance may be used or alternatively the detected current may be used as it is. In Step 3, the voltage applied is, for example, 0.01 to 1 V and preferably 0.01 to 0.5 V, and the voltage application time is, for example, 0.001 to 60 seconds, preferably 0.01 to 10 seconds, and more preferably 0.01 to 5 seconds. Although the first working electrode 33 is used as the counter electrode in the present example, the present invention is not limited thereto. It should be noted that the first counter electrode 35 alone or the combination of the first working electrode 33 and the first counter electrode 35 also may be used as the counter electrode.
  • When the first working electrode 33 or the combination of the first working electrode 33 and the first counter electrode 35 is used as the counter electrode, Step 3 preferably is performed after the amount of the blood component has been measured. The reason why the amount of the interfering substance is measured after the amount of the blood component has been measured is as follows. When the amount of the interfering substance is measured before measuring the amount of the blood component, the following phenomenon occurs. That is, although the mediator that initially is in an oxidized state (e.g., potassium ferricyanide) is provided on the electrode(s) used as the counter electrode, the mediator that is in a reduced state (e.g., potassium ferrocyanide) is generated by the measurement of the amount of the interfering substance. If the reduced mediator thus generated diffuses on the first working electrode 33 for measuring the amount of the blood component, the mediator causes a background noise during the measurement of the amount of the blood component, resulting in an error in the measured value.
  • However, when the first counter electrode 35 alone is used as the counter electrode, Step 3 may be performed before measuring the amount of the blood component. The reason for this is that the amount of the mediator in a reduced state (e.g., potassium ferrocyanide) generated on the first counter electrode 35 is not large enough to diffuse on the first working electrode 33 and thus there is little chance that it might cause a background noise.
  • (Step 4: Measuring Amount of Blood Cells)
  • By applying a voltage to the second working electrode 37, an electrolytic current depending on the amount of the blood cells can be detected. In this step, the second working electrode 37 is used as a working electrode and the third working electrode 32 is used as a counter electrode. The amount of the blood cells is determined based on the result of this detection. The amount of the blood cells is used for the correction in the measurement of the glucose. In this correction, the amount of the blood cells determined using a previously prepared calibration curve showing the relationship between an electrolytic current and an amount of the blood cells may be used or alternatively the detected electrolytic current may be used as it is. In Step 4, the voltage applied is, for example, 1 to 10 V, preferably 1 to 5 V, and more preferably 2 to 3 V, and the voltage application time is, for example, 0.001 to 60 seconds, preferably 0.01 to 10 seconds, and more preferably 0.01 to 5 seconds. Preferably, Step 4 is performed as a last step in the series of steps. Although the third working electrode 32 is used as the counter electrode in the present example, the present invention is not limited thereto. It should be noted that the first working electrode 33 alone, the first counter electrode 35 alone, or the combination of the first working electrode 33 and the first counter electrode 35 also may be used as the counter electrode.
  • The reason why the measurement of the amount of the blood cells is performed last is the same as that described in Example 2.
  • (Step 5: Correcting Amount of Blood Component)
  • The amount of the glucose obtained in Step 2 is corrected using the amount of the interfering substance measured in Step 3 and the amount of the blood cells measured in Step 4. Preferably, the correction is carried out based on a calibration curve (including a calibration table) prepared previously. The corrected amount of the glucose is displayed on or stored in the measuring device.
  • Example 4
  • FIGS. 8, 9, and 10 show still another example of a sensor for measuring a blood component according to the present invention. FIG. 8 is an exploded perspective view of the sensor, FIG. 9 is a sectional view of the sensor, and FIG. 10 is a plan view of the sensor. In these three drawings, the same components are given the same reference numerals. The sensor according to the present example corresponds to the sensor according to Example 3 from which the third reagent layer provided on the third working electrode is removed. As shown in the drawings, in this sensor, a first electrode system including a first working electrode 53 and a first counter electrode 55, a second working electrode 57, a third working electrode 52, and a liquid detecting electrode 54 are formed on an insulating substrate 501. A first reagent layer 63 is provided on the first electrode system. The first reagent layer 63 contains an oxidoreductase such as glucose dehydrogenase and a mediator such as potassium ferricyanide and optionally contains an enzyme stabilizer, a crystal homogenizing agent, and the like. A cover 503 is disposed on the insulating substrate 501 so as to cover an entire area excluding one end portion (the end portion on the right in the drawings) with a spacer 502 intervening therebetween. In this sensor, the insulating substrate 501, the spacer 502, and the cover 503 form a channel 64 for leading blood to the respective electrodes (52 to 55, and 57). The channel 64 extends to the other end portion (the end portion on the left in the drawings) of the sensor, and the tip of the channel 64 is open toward the outside of the sensor so as to serve as a blood supply port. The five electrodes (52 to 55, and 57) are connected to leads, respectively. These leads extend to the above-described one end portion (the end portion on the right in the drawings) of the sensor with the tip of each lead not being covered with the cover but being exposed. The cover 503 has an air hole 65 at a portion corresponding to the right end portion of the channel 64.
  • The first reagent layer 63 is formed in the following manner. For example, an aqueous solution containing 0.1 to 5 U/sensor of glucose dehydrogenase, 10 to 200 mM of potassium ferricyanide, 1 to 50 mM of maltitol, and 20 to 200 mM of taurine is dropped on a round slit portion 60 and then is dried. By providing this slit portion 60, it becomes possible to suppress the spreading of the droplet of the aqueous solution, thereby allowing the first reagent layer 63 to be provided at a desired position more accurately. In this manner, the first reagent layer 63 is formed on the first working electrode 53 and the first counter electrode 55. The drying may be natural drying or forced drying using warm air, for example. However, if the temperature of the warm air is too high, there is a possibility that the enzyme contained in the solution might be deactivated. Thus, the temperature of the warm air preferably is around 50° C.
  • Measurement of a blood glucose level using this sensor can be carried out in the following manner, for example. First, a fingertip or the like is punctured with a dedicated lancet to cause bleeding. On the other hand, the sensor is set in a dedicated measuring device (a meter). The blood supply port of the sensor set in the measuring device is brought into contact with the blood that has come out, so that the blood is led inside the sensor by capillary action. Then, the sensor analyzes the blood according to the following steps.
  • (Step 1: Detecting Specimen (Blood))
  • The supply of blood to the sensor is detected by applying a voltage between the first counter electrode 55 and the liquid detecting electrode 54. It is to be noted here that the combination of the electrodes used for the blood supply detection is by no means limited to the above combination. After the supply of the blood has been confirmed, the subsequent step is started. The voltage applied in Step 1 is, for example, 0.05 to 1.0 V, preferably 0.1 to 0.8 V, and more preferably 0.2 to 0.5 V.
  • (Step 2: Measuring Glucose)
  • After allowing glucose in the blood to react with an oxidoreductase for a certain period of time, a voltage is applied to the first working electrode 53. In this step, the first working electrode 53 is used as a working electrode and the first counter electrode 55 is used as a counter electrode. A reduced mediator generated on the first working electrode 53 through the enzyme reaction is oxidized, and the oxidation current caused at this time is detected. The glucose is allowed to react with the oxidoreductase for, for example, 0 to 60 seconds, preferably 1 to 30 seconds, and more preferably 2 to 10 seconds. In Step 2, the voltage applied is, for example, 0.05 to 1 V, preferably 0.1 to 0.8 V, and more preferably 0.2 to 0.5 V, and the voltage application time is, for example, 0.01 to 30 seconds, preferably 0.1 to 10 seconds, and more preferably 1 to 5 seconds.
  • (Step 3: Measuring Amount of Interfering Substance)
  • By applying a voltage to the third working electrode 52, a current caused by the electrolytic oxidation reaction of the interfering substance is detected. In this step, the third working electrode 52 is used as a working electrode and the first working electrode 53 is used as a counter electrode. The amount of the interfering substance is determined based on the result of this detection. The amount of the interfering substance is used for the correction in the measurement of the glucose. In this correction, the amount of the interfering substance determined using a previously prepared calibration curve showing the relationship between a current and an amount of the interfering substance may be used or alternatively the detected current may be used as it is. In Step 3, the voltage applied is, for example, 0.01 to 1 V and preferably 0.01 to 0.5 V, and the voltage application time is, for example, 0.001 to 60 seconds, preferably 0.01 to 10 seconds, and more preferably 0.01 to 5 seconds. Although the first working electrode 53 is used as the counter electrode in the present example, the present invention is not limited thereto. It should be noted that the first counter electrode 55 alone or the combination of the first working electrode 53 and the first counter electrode 55 also may be used as the counter electrode.
  • When the first working electrode 53 or the combination of the first working electrode 53 and the first counter electrode 55 is used as the counter electrode, Step 3 preferably is performed after the amount of the blood component has been measured. The reason why the amount of the interfering substance is measured after the amount of the blood component has been measured is the same as that described in Example 3.
  • (Step 4: Measuring Amount of Blood Cells)
  • By applying a voltage to the second working electrode 57, an electrolytic current depending on the amount of the blood cells can be detected. In this step, the second working electrode 57 is used as a working electrode and the first working electrode 53 is used as a counter electrode. The amount of the blood cells is determined based on the result of this detection. The reason why the first working electrode 53 is used as the counter electrode is as follows. After the amount of the blood component has been measured, the mediator that is in an oxidized state (e.g., potassium ferricyanide) is present dominantly on the first working electrode 53. Thus, when the first working electrode 53 is used as the counter electrode for measuring the amount of the blood cells, it is possible to suppress the electrolytic reduction reaction occurring at the counter electrode from being a rate-determining step. The amount of the blood cells is used for the correction in the measurement of the glucose. In this correction, the amount of the blood cells determined using a previously prepared calibration curve showing the relationship between an electrolytic current and an amount of the blood cells may be used or alternatively the detected electrolytic current may be used as it is. In Step 4, the voltage applied is, for example, 1 to 10 V, preferably 1 to 5 V, and more preferably 2 to 3 V, and the voltage application time is, for example, 0.001 to 60 seconds, preferably 0.01 to 10 seconds, and more preferably 0.01 to 5 seconds. Preferably, Step 4 is performed as a last step in the series of steps. Although the first working electrode 53 is used as the counter electrode in the present example, the present invention is not limited thereto. It should be noted that the first counter electrode 55 alone or the combination of the first working electrode 53 and the first counter electrode 55 also may be used as the counter electrode.
  • The reason why the measurement of the amount of the blood cells is performed last is the same as that described in Example 2.
  • (Step 5: Correcting Amount of Blood Component)
  • The amount of the glucose obtained in Step 2 is corrected using the amount of the interfering substance measured in Step 3 and the amount of the blood cells measured in Step 4. Preferably, the correction is carried out based on a calibration curve (including a calibration table) prepared previously. The corrected amount of the glucose is displayed on or stored in the measuring device.
  • Example 5
  • FIG. 11 shows still another example of a sensor for measuring a blood component according to the present invention. FIG. 11 is a plan view showing an electrode pattern in this sensor, which corresponds to the electrode pattern shown in FIG. 10 in which the second working electrode serves also as the third working electrode. Except for the above, this sensor has the same configuration as the sensor according to Example 4, and the components, the configuration of the reagent layers, production method, etc. of this sensor are the same as those of the sensor according to Example 4.
  • Measurement of a blood glucose level using this sensor can be carried out in the following manner, for example. First, a fingertip or the like is punctured with a dedicated lancet to cause bleeding. On the other hand, the sensor is set in a dedicated measuring device (a meter). The blood supply port of the sensor set in the measuring device is brought into contact with the blood that has come out, so that the blood is led inside the sensor by capillary action. Then, the sensor analyzes the blood according to the following steps.
  • (Step 1: Detecting Specimen (Blood))
  • The supply of blood to the sensor is detected by applying a voltage between the first counter electrode 55 and the liquid detecting electrode 54. It is to be noted here that the combination of the electrodes used for the blood supply detection is by no means limited to the above combination. After the supply of the blood has been confirmed, the subsequent step is started. The voltage applied in Step 1 is, for example, 0.05 to 1.0 V, preferably 0.1 to 0.8 V, and more preferably 0.2 to 0.5 V.
  • (Step 2: Measuring Glucose)
  • After allowing glucose in the blood to react with an oxidoreductase for a certain period of time, a voltage is applied to the first working electrode 53. In this step, the first working electrode 53 is used as a working electrode and the first counter electrode 55 is used as a counter electrode. A reduced mediator generated on the first working electrode 53 through the enzyme reaction is oxidized, and the oxidation current caused at this time is detected. The glucose is allowed to react with the oxidoreductase for, for example, 0 to 60 seconds, preferably 1 to 30 seconds, and more preferably 2 to 10 seconds. In Step 2, the voltage applied is, for example, 0.05 to 1 V, preferably 0.1 to 0.8 V, and more preferably 0.2 to 0.5 V, and the voltage application time is, for example, 0.01 to 30 seconds, preferably 0.1 to 10 seconds, and more preferably 1 to 5 seconds.
  • (Step 3: Measuring Amount of Interfering Substance)
  • By applying a voltage to the second working electrode 57, a current caused by the electrolytic oxidation reaction of the interfering substance is detected. In this step, the second working electrode 57 is used as a working electrode and the first working electrode 53 is used as a counter electrode. The amount of the interfering substance is determined based on the result of this detection. The amount of the interfering substance is used for the correction in the measurement of the glucose. In this correction, the amount of the interfering substance determined using a previously prepared calibration curve showing the relationship between a current and an amount of the interfering substance may be used or alternatively the detected current may be used as it is. In Step 3, the voltage applied is, for example, 0.01 to 1 V and preferably 0.01 to 0.5 V, and the voltage application time is, for example, 0.001 to 60 seconds, preferably 0.01 to 10 seconds, and more preferably 0.01 to 5 seconds. Although the first working electrode 53 is used as the counter electrode in the present example, the present invention is not limited thereto. It should be noted that the first counter electrode 55 alone or the combination of the first working electrode 53 and the first counter electrode 55 also may be used as the counter electrode.
  • When the first working electrode 53 or the combination of the first working electrode 53 and the first counter electrode 55 is used as the counter electrode, Step 3 preferably is performed after the amount of the blood component has been measured. The reason why the amount of the interfering substance is measured after the amount of the blood component has been measured is the same as that described in Example 3.
  • (Step 4: Measuring Amount of Blood Cells)
  • By applying a voltage to the second working electrode 57, an electrolytic current depending on the amount of the blood cells can be detected. In this step, the second working electrode 57 is used as a working electrode and the first working electrode 53 is used as a counter electrode. The amount of the blood cells is determined based on the result of this detection. The reason why the first working electrode 53 is used as the counter electrode is the same as that described in Example 4. The amount of the blood cells is used for the correction in the measurement of the glucose. In this correction, the amount of the blood cells determined using a previously prepared calibration curve showing the relationship between an electrolytic current and an amount of the blood cells may be used or alternatively the detected electrolytic current may be used as it is. In Step 4, the voltage applied is, for example, 1 to 10 V, preferably 1 to 5 V, and more preferably 2 to 3 V, and the voltage application time is, for example, 0.001 to 60 seconds, preferably 0.01 to 10 seconds, and more preferably 0.01 to 5 seconds. Preferably, Step 4 is performed as a last step in the series of steps. Although the first working electrode 53 is used as the counter electrode in the present example, the present invention is not limited thereto. It should be noted that the first counter electrode 55 alone or the combination of the first working electrode 53 and the first counter electrode 55 also may be used as the counter electrode.
  • The reason why the measurement of the amount of the blood cells is performed last is the same as that described in Example 2.
  • (Step 5: Correcting Amount of Blood Component)
  • The amount of the glucose obtained in Step 2 is corrected using the amount of the interfering substance measured in Step 3 and the amount of the blood cells measured in Step 4. Preferably, the correction is carried out based on a calibration curve (including a calibration table) prepared previously. The corrected amount of the glucose is displayed on or stored in the measuring device.
  • Example 6
  • Example 6 is directed to an example where a sensor as shown in FIG. 11 was used as in Example 5 and an electrode pretreatment further is performed.
  • Measurement of a blood glucose level using this sensor can be carried out in the following manner, for example. First, a fingertip or the like is punctured with a dedicated lancet to cause bleeding. On the other hand, the sensor is set in a dedicated measuring device (a meter). The blood supply port of the sensor set in the measuring device is brought into contact with the blood that has come out, so that the blood is led inside the sensor by capillary action. Then, the sensor analyzes the blood according to the following steps.
  • (Step 1: Detecting Specimen (Blood))
  • The supply of blood to the sensor is detected by applying a voltage between the first counter electrode 55 and the liquid detecting electrode 54. It is to be noted here that the combination of the electrodes used for the blood supply detection is by no means limited to the above combination. After the supply of the blood has been confirmed, the subsequent step is started. The voltage applied in Step 1 is, for example, 0.05 to 1.0 V, preferably 0.1 to 0.8 V, and more preferably 0.2 to 0.5 V.
  • (Step 2: Pretreating Electrode)
  • A voltage is applied to the second working electrode 57 to clean the surface of the second working electrode 57. In this step, the second working electrode 57 is used as a working electrode and the first counter electrode 55 is used as a counter electrode. In Step 2, the voltage applied preferably is in the range from 0.01 to 1 V and more preferably from 0.01 to 0.5 V, and the voltage application time is, for example, 0.001 to 30 seconds, preferably 0.01 to 10 seconds, and more preferably 0.01 to 5 seconds. By performing this pretreatment, the surface of the second working electrode 57 is cleaned, so that the amount of the interfering substance can be measured more accurately. Step 2 may be performed simultaneously with or after Step 4 (the measurement of glucose) to be described later.
  • As long as Step 2 is performed before measuring the amount of the interfering substance and the amount of the blood cells, Step 2 can be performed at the most effective timing from the viewpoint of simplicity in operation and reduction in time required for the whole measurement process.
  • (Step 3: Measuring Amount of Interfering Substance)
  • By applying a voltage to the second working electrode 57, a current caused by the electrolytic oxidation reaction of the interfering substance is detected. In this step, the second working electrode 57 is used as a working electrode and the first counter electrode 55 is used as a counter electrode. The amount of the interfering substance is determined based on the result of this detection. The amount of the interfering substance is used for the correction in the measurement of the glucose. In this correction, the amount of the interfering substance determined using a previously prepared calibration curve showing the relationship between a current and an amount of the interfering substance may be used or alternatively the detected current may be used as it is. In Step 3, the voltage applied is, for example, 0.01 to 1 V and preferably 0.01 to 0.5 V, and the voltage application time is, for example, 0.001 to 60 seconds, preferably 0.01 to 10 seconds, and more preferably 0.01 to 5 seconds. Although the first counter electrode 55 is used as the counter electrode in the present example, the present invention is not limited thereto. It should be noted that the first working electrode 53 alone or the combination of the first working electrode 53 and the first counter electrode 55 also may be used as the counter electrode.
  • When the first working electrode 53 or the combination of the first working electrode 53 and the first counter electrode 55 is used as the counter electrode, Step 3 preferably is performed after the amount of the blood component has been measured. The reason why the amount of the interfering substance is measured after the amount of the blood component has been measured is the same as that described in Example 3. However, when the first counter electrode 55 alone is used as the counter electrode as in the present Example 6, Step 3 may be performed before measuring the amount of the blood component. The reason for this is that, in this case, the amount of the mediator in a reduced state (e.g., potassium ferrocyanide) generated on the first counter electrode 55 is not large enough to diffuse on the first working electrode 33 and thus there is little chance that it might cause a background noise.
  • (Step 4: Measuring Glucose)
  • After allowing glucose in the blood to react with an oxidoreductase for a certain period of time, a voltage is applied to the first working electrode 53. In this step, the first working electrode 53 is used as a working electrode and the first counter electrode 55 is used as a counter electrode. A reduced mediator generated on the first working electrode 53 through the enzyme reaction is oxidized, and the oxidation current caused at this time is detected. The glucose is allowed to react with the oxidoreductase for, for example, 0 to 60 seconds, preferably 1 to 30 seconds, and more preferably 2 to 10 seconds. In Step 2, the voltage applied is, for example, 0.05 to 1 V, preferably 0.1 to 0.8 V, and more preferably 0.2 to 0.5 V, and the voltage application time is, for example, 0.01 to 30 seconds, preferably 0.1 to 10 seconds, and more preferably 1 to 5 seconds.
  • (Step 5: Measuring Amount of Blood Cells)
  • By applying a voltage to the second working electrode 57, an electrolytic current depending on the amount of the blood cells can be detected. In this step, the second working electrode 57 is used as a working electrode and the first working electrode 53 is used as a counter electrode. The amount of the blood cells is determined based on the result of this detection. The amount of the blood cells is used for the correction in the measurement of the glucose. In this correction, the amount of the blood cells determined using a previously prepared calibration curve showing the relationship between an electrolytic current and an amount of the blood cells may be used or alternatively the detected electrolytic current may be used as it is. In Step 4, the voltage applied is, for example, 1 to 10 V, preferably 1 to 5 V, and more preferably 2 to 3 V, and the voltage application time is, for example, 0.001 to 60 seconds, preferably 0.01 to 10 seconds, and more preferably 0.01 to 5 seconds. Preferably, Step 4 is performed as a last step in the series of steps. Although the first working electrode 53 is used as the counter electrode in the present example, the present invention is not limited thereto. It should be noted that the first counter electrode 55 alone or the combination of the first working electrode 53 and the first counter electrode 55 also may be used as the counter electrode.
  • The reason why the measurement of the amount of the blood cells is performed last is the same as that described in Example 2.
  • (Step 6: Correcting Amount of Blood Component)
  • The amount of the glucose obtained in Step 4 is corrected using the amount of the interfering substance measured in Step 3 and the amount of the blood cells measured in Step 5. Preferably, the correction is carried out based on a calibration curve (including a calibration table) prepared previously. The corrected amount of the glucose is displayed on or stored in the measuring device.
  • As an example of the blood component measurement, Examples 1 to 6 describe the case where the glucose concentration in blood is measured. However, the present invention is by no means limited thereto. As already described above, the present invention also is useful for the measurement of other blood components, such as lactic acid and cholesterol.
  • Although several electrode patterns are shown in Examples 1 to 6, the present invention is by no means limited thereto. It is to be noted here that the electrode pattern can be changed as appropriate depending on the purpose or the conditions of use of the sensor, for example.
  • Reference Example 1
  • A sensor having a configuration shown in FIGS. 1, 2, and 3 was produced. The first reagent layer 23 was formed by dissolving glucose dehydrogenase (1 to 5 U), potassium ferricyanide (60 mM), and taurine (80 mM) in a CMC aqueous solution (0.1 wt %) to prepare a reagent solution, dropping the reagent solution on the round slit portion 20, and then drying it. The second reagent layer 21 and the third reagent layer 22 were formed by dissolving potassium ferricyanide (60 mM) and taurine (80 mM) in a CMC aqueous solution (0.1 wt %) to prepare a reagent solution, dropping the reagent solution on the round slit portions 18 and 19, and then drying it.
  • Using this sensor, a response current for determining the amount of an interfering substance was measured. Ascorbic acid was used as an example of an easily oxidizable interfering substance, and blood samples respectively containing 0, 5, 10, and 20 mg/dl of ascorbic acid were provided. Using the thus-prepared four blood samples, a current flowing through the third electrode system was measured. The measurement was performed by applying a voltage of 0.5 V to the third working electrode 12 for 3 seconds.
  • Next, using the same sensor, a response current for determining the amount of blood cells was measured. Three types of blood samples in which the amounts of blood cells were adjusted to be 25%, 45%, and 65%, respectively, were provided. Using the thus-prepared three blood samples, an electrolytic current flowing through the second electrode system was measured. Using the third working electrode 32 as a counter electrode, the measurement was performed by applying a voltage of 2.5 V to the second working electrode 17 for 3 seconds.
  • Reference Example 2
  • A sensor having a configuration shown in FIGS. 4, 5, and 6 was produced. The first reagent layer 43 was formed by dissolving glucose dehydrogenase (1 to 5 U), potassium ferricyanide (60 mM), and taurine (80 mM) in a CMC aqueous solution (0.1 wt %) to prepare a reagent solution, dropping the reagent solution on the round slit portion 40, and then drying it. The third reagent layer 42 was formed by dissolving potassium ferricyanide (60 mM) and taurine (80 mM) in a CMC aqueous solution (0.1 wt %) to prepare a reagent solution, dropping the reagent solution on the round slit portion 39, and then drying it.
  • Using this sensor, a response current for determining the amount of an interfering substance was measured. Ascorbic acid was used as an example of an easily oxidizable interfering substance, and blood samples respectively containing 0, 5, 10, and 20 mg/dl of ascorbic acid were provided. Using the thus-prepared four blood samples, a current flowing through the third electrode system was measured. The measurement was performed by applying a voltage of 0.5 V to the third working electrode 32 for 3 seconds.
  • Next, using the same sensor, a response current for determining the amount of blood cells was measured. Three types of blood samples in which the amounts of blood cells were adjusted to be 25%, 45%, and 65%, respectively, were provided. Using the thus-prepared three blood samples, an electrolytic current flowing through the second electrode system was measured. The measurement was performed by applying a voltage of 2.5 V to the second working electrode 37 for 3 seconds.
  • Reference Example 3
  • A sensor having a configuration shown in FIG. 7 was produced. The first reagent layer 43 was formed by dissolving glucose dehydrogenase (1 to 5 U), potassium ferricyanide (60 mM), and taurine (80 mM) in a CMC aqueous solution (0.1 wt %) to prepare a reagent solution, dropping the reagent solution on the round slit portion 40, and then drying it. The third reagent layer 42 was formed by dissolving potassium ferricyanide (60 mM) and taurine (80 mM) in a CMC aqueous solution (0.1 wt %) to prepare a reagent solution, dropping the reagent solution on the round slit portion 39, and then drying it.
  • Using this sensor, a response current for determining the amount of an interfering substance was measured. Ascorbic acid was used as an example of an easily oxidizable interfering substance, and blood samples respectively containing 0, 5, 10, and 20 mg/dl of ascorbic acid were provided. Using the thus-prepared four blood samples, a current flowing through the third electrode system was measured. Using the first working electrode 33 as a counter electrode, the measurement was performed by applying a voltage of 0.5 V to the third working electrode 32 for 3 seconds.
  • Next, using the same sensor, a response current for determining the amount of blood cells was measured. Three types of blood samples in which the amounts of blood cells were adjusted to be 25%, 45%, and 65%, respectively, were provided. Using the thus-prepared three blood samples, an electrolytic current flowing through the second electrode system was measured. Using the third working electrode 32 as a counter electrode, the measurement was performed by applying a voltage of 2.5 V to the second working electrode 37 for 3 seconds.
  • Reference Example 4
  • A sensor having a configuration shown in FIGS. 8, 9, and 10 was produced. The first reagent layer 63 was formed by dissolving glucose dehydrogenase (1 to 5 U), potassium ferricyanide (60 mM), and taurine (80 mM) in a CMC aqueous solution (0.1 wt %) to prepare a reagent solution, dropping the reagent solution on the round slit portion 60, and then drying it. Using this sensor, a response current for determining the amount of an interfering substance was measured. Ascorbic acid was used as an example of an easily oxidizable interfering substance, and blood samples respectively containing 0, 5, 10, and 20 mg/dl of ascorbic acid were provided. Using the thus-prepared four blood samples, a current flowing through the third electrode system was measured. Using the first working electrode 53 as a counter electrode, the measurement was performed by applying a voltage of 0.5 V to the third working electrode 52 for 3 seconds.
  • Next, using the same sensor, a response current for determining the amount of blood cells was measured. Three types of blood samples in which the amounts of blood cells were adjusted to be 25%, 45%, and 65%, respectively, were provided. Using the thus-prepared three blood samples, an electrolytic current flowing through the second electrode system was measured. Using the first working electrode 53 as a counter electrode, the measurement was performed by applying a voltage of 2.5 V to the second working electrode 57 for 3 seconds.
  • Reference Example 5
  • A sensor having a configuration shown in FIG. 11 was produced. The first reagent layer 63 was formed by dissolving glucose dehydrogenase (1 to 5 U), potassium ferricyanide (60 mM), and taurine (80 mM) in a CMC aqueous solution (0.1 wt %) to prepare a reagent solution, dropping the reagent solution on the round slit portion 60, and then drying it.
  • Using this sensor, a response current for determining the amount of an interfering substance was measured. Ascorbic acid was used as an example of an easily oxidizable interfering substance, and blood samples respectively containing 0, 5, 10, and 20 mg/dl of ascorbic acid were provided. Using the thus-prepared four blood samples, a current flowing through the third electrode system was measured. Using the first working electrode 53 as a counter electrode, the measurement was performed by applying a voltage of 0.5 V to the third working electrode 52 for 3 seconds.
  • Next, using the same sensor, a response current for determining the amount of blood cells was measured. Three types of blood samples in which the amounts of blood cells were adjusted to be 25%, 45%, and 65%, respectively, were provided. Using the thus-prepared three blood samples, an electrolytic current flowing through the second electrode system was measured. Using the first working electrode 53 as a counter electrode, the measurement was performed by applying a voltage of 2.5 V to the second working electrode 57 for 3 seconds.
  • FIG. 12 is a graph showing the result of measurements of the response currents for determining the amount of the interfering substance in Reference Examples 1 to 5. As can be seen from FIG. 12, the response currents reflecting the amounts of the interfering substance could be detected.
  • FIGS. 13 to 17 show the result of measurements of the response currents for determining the amount of the blood cells in Reference Examples 1 to 5. In FIGS. 13 to 17, FIGS. 13A to 17A are graphs each showing changes in response current (μA) over time during the application of the voltage (V), and FIGS. 13B to 17B are graphs each showing changes in difference in sensitivity (%) over time during the application of the voltage (V). As can be seen from these drawings, according to the sensors of Reference Examples 1 to 5, the difference in sensitivity did not depend on the voltage application time, so that the response current reflecting the amount of the blood cells could be detected definitely.
  • INDUSTRIAL APPLICABILITY
  • The method of measuring a blood component according to the present invention measures the amounts of an interfering substance and blood cells with high accuracy and high reliability and corrects the amount of the blood component based on the amounts of the interfering substance and the blood cells. Thus, the method of the present invention can measure the blood component with high accuracy and high reliability. Accordingly, the present invention is useful for the measurement of a blood component such as glucose.

Claims (5)

1-25. (canceled)
26. A method of measuring a glucose in blood by using a biosensor,
the biosensor comprising:
an electrode system comprising an electrode on which a reagent is disposed and an electrode on which no reagent is disposed, said reagent including an oxidoreductase that acts upon the glucose and a mediator,
the method comprising:
a first step of obtaining a first current value by applying a first voltage to the electrode system, said first current value including an effect of an interfering substance and an effect of blood cells or hematocrit (Hct),
a second step of obtaining a second current value by applying a second voltage to the electrode system, said second current value determining the effect of blood cells or hematocrit (Hct),
and thereafter,
a third step of obtaining a corrected glucose value by using the first current value and the second current value.
27. The method of measuring a glucose in blood by using a biosensor according to claim 26, wherein the first voltage is applied for a time of 0.01 to 5 seconds.
28. The method of measuring a glucose in blood by using a biosensor according to claim 26, wherein the second voltage is applied for a time of 0.01 to 5 seconds.
29. The method of measuring a glucose in blood by using a biosensor according to claim 26, wherein the first step is performed before the second step.
US15/855,119 2004-04-19 2017-12-27 Method for measuring blood components and biosensor and measuring instrument for use therein Abandoned US20180120249A1 (en)

Priority Applications (1)

Application Number Priority Date Filing Date Title
US15/855,119 US20180120249A1 (en) 2004-04-19 2017-12-27 Method for measuring blood components and biosensor and measuring instrument for use therein

Applications Claiming Priority (8)

Application Number Priority Date Filing Date Title
JP2004123220 2004-04-19
JP2004-123220 2004-04-19
US10/598,001 US7955492B2 (en) 2004-04-19 2005-04-18 Method for measuring blood components and biosensor and measuring instrument for use therein
PCT/JP2005/007404 WO2005103669A1 (en) 2004-04-19 2005-04-18 Method for measuring blood components and biosensor and measuring instrument for use therein
US13/094,356 US8524055B2 (en) 2004-04-19 2011-04-26 Method for measuring blood components and biosensor and measuring instrument for use therein
US13/956,910 US9285335B2 (en) 2004-04-19 2013-08-01 Method for measuring blood components and biosensor and measuring instrument for use therein
US15/014,826 US20160178557A1 (en) 2004-04-19 2016-02-03 Method for measuring blood components and biosensor and measuring instrument for use therein
US15/855,119 US20180120249A1 (en) 2004-04-19 2017-12-27 Method for measuring blood components and biosensor and measuring instrument for use therein

Related Parent Applications (1)

Application Number Title Priority Date Filing Date
US15/014,826 Continuation US20160178557A1 (en) 2004-04-19 2016-02-03 Method for measuring blood components and biosensor and measuring instrument for use therein

Publications (1)

Publication Number Publication Date
US20180120249A1 true US20180120249A1 (en) 2018-05-03

Family

ID=35197096

Family Applications (5)

Application Number Title Priority Date Filing Date
US10/598,001 Active 2028-07-06 US7955492B2 (en) 2004-04-19 2005-04-18 Method for measuring blood components and biosensor and measuring instrument for use therein
US13/094,356 Expired - Fee Related US8524055B2 (en) 2004-04-19 2011-04-26 Method for measuring blood components and biosensor and measuring instrument for use therein
US13/956,910 Expired - Lifetime US9285335B2 (en) 2004-04-19 2013-08-01 Method for measuring blood components and biosensor and measuring instrument for use therein
US15/014,826 Abandoned US20160178557A1 (en) 2004-04-19 2016-02-03 Method for measuring blood components and biosensor and measuring instrument for use therein
US15/855,119 Abandoned US20180120249A1 (en) 2004-04-19 2017-12-27 Method for measuring blood components and biosensor and measuring instrument for use therein

Family Applications Before (4)

Application Number Title Priority Date Filing Date
US10/598,001 Active 2028-07-06 US7955492B2 (en) 2004-04-19 2005-04-18 Method for measuring blood components and biosensor and measuring instrument for use therein
US13/094,356 Expired - Fee Related US8524055B2 (en) 2004-04-19 2011-04-26 Method for measuring blood components and biosensor and measuring instrument for use therein
US13/956,910 Expired - Lifetime US9285335B2 (en) 2004-04-19 2013-08-01 Method for measuring blood components and biosensor and measuring instrument for use therein
US15/014,826 Abandoned US20160178557A1 (en) 2004-04-19 2016-02-03 Method for measuring blood components and biosensor and measuring instrument for use therein

Country Status (7)

Country Link
US (5) US7955492B2 (en)
EP (2) EP1742045B1 (en)
JP (5) JP4689601B2 (en)
KR (1) KR101108381B1 (en)
CN (1) CN1938590B (en)
CA (1) CA2559297C (en)
WO (1) WO2005103669A1 (en)

Cited By (1)

* Cited by examiner, † Cited by third party
Publication number Priority date Publication date Assignee Title
WO2022026504A1 (en) * 2020-07-28 2022-02-03 Qsm Diagnostics, Inc. Sample handling for diagnostics

Families Citing this family (98)

* Cited by examiner, † Cited by third party
Publication number Priority date Publication date Assignee Title
US8007656B2 (en) 2003-10-24 2011-08-30 Bayer Healthcare Llc Enzymatic electrochemical biosensor
JP4611208B2 (en) 2003-12-04 2011-01-12 パナソニック株式会社 Blood component measuring method, sensor and measuring apparatus used therefor
CN100432663C (en) 2003-12-04 2008-11-12 松下电器产业株式会社 Method for measuring hematocrit (Hct), and sensor and measuring device used in the method
TW200608019A (en) * 2004-05-14 2006-03-01 Bayer Healthcare Llc Methods for performing hematocrit adjustment in glucose assays and devices for same
US20060281187A1 (en) 2005-06-13 2006-12-14 Rosedale Medical, Inc. Analyte detection devices and methods with hematocrit/volume correction and feedback control
US8801631B2 (en) 2005-09-30 2014-08-12 Intuity Medical, Inc. Devices and methods for facilitating fluid transport
CA2624059C (en) 2005-09-30 2019-04-02 Intuity Medical, Inc. Multi-site body fluid sampling and analysis cartridge
CN101374458B (en) * 2006-01-31 2012-04-18 松下电器产业株式会社 Blood sensor and blood test device having same
JP2007212215A (en) * 2006-02-08 2007-08-23 Matsushita Electric Ind Co Ltd Porous carrier and method for producing porous carrier
US8529751B2 (en) 2006-03-31 2013-09-10 Lifescan, Inc. Systems and methods for discriminating control solution from a physiological sample
CN101517093B (en) 2006-09-22 2016-01-06 拜尔健康护理有限责任公司 There is the stability of enhancing and the bio-sensor system of hematocrit performance
US8052618B2 (en) * 2006-10-15 2011-11-08 Roche Diagnostics Operations, Inc. Diagnostic test element and process for its production
WO2008047843A1 (en) * 2006-10-19 2008-04-24 Panasonic Corporation Method for measuring hematocrit value of blood sample, method for measuring concentration of analyte in blood sample, sensor chip and sensor unit
CN101158676B (en) * 2006-12-31 2011-12-14 重庆大学 Analysis method and device for evaluating blood and crucifixes oxygen carrying and oxygen releasing function thereof
US7960590B2 (en) 2007-03-01 2011-06-14 Basf Se Method for producing ethyleneamines from untreated AAN
WO2008104551A1 (en) 2007-03-01 2008-09-04 Basf Se Method for producing tetraethylenepentamine
KR20090122436A (en) 2007-03-01 2009-11-30 바스프 에스이 Process for preparing ethylenediamine
JP5415287B2 (en) 2007-03-01 2014-02-12 ビーエーエスエフ ソシエタス・ヨーロピア New process for producing TETA via EDDN
DE502008001444D1 (en) 2007-03-01 2010-11-11 Basf Se METHOD OF MANUFACTURING ETHYLENE AMINO MIXTURE
KR20090122434A (en) 2007-03-01 2009-11-30 바스프 에스이 Process for preparing ethyleneamine
KR20090125263A (en) 2007-03-01 2009-12-04 바스프 에스이 Method for producing triethylenetetramine
EP2151682B1 (en) * 2007-04-25 2014-09-17 ARKRAY, Inc. Substrate concentration measurement method and substrate concentration measurement apparatus
US8465634B2 (en) * 2007-05-23 2013-06-18 Arizona Board Of Regents Systems and methods for integrated electrochemical and electrical detection
TW200914826A (en) * 2007-09-21 2009-04-01 Apex Biotechnology Corp Electrochemical quantitative analysis system and method for the same
MX2010003205A (en) 2007-09-24 2010-04-09 Bayer Healthcare Llc Multi-electrode test sensors.
US8778168B2 (en) 2007-09-28 2014-07-15 Lifescan, Inc. Systems and methods of discriminating control solution from a physiological sample
CN103760356B (en) 2007-12-10 2019-06-28 安晟信医疗科技控股公司 Slope-based compensation
BRPI0820721A2 (en) 2007-12-10 2015-06-16 Bayer Healthcare Llc Reagents and methods for detecting analytes
US8603768B2 (en) * 2008-01-17 2013-12-10 Lifescan, Inc. System and method for measuring an analyte in a sample
US20100327886A1 (en) * 2008-03-27 2010-12-30 Toshifumi Nakamura Measurement device, measurement system, and concentration measurement method
KR101103682B1 (en) * 2008-04-08 2012-01-11 주식회사 올메디쿠스 Biosensor
WO2009145920A1 (en) 2008-05-30 2009-12-03 Intuity Medical, Inc. Body fluid sampling device -- sampling site interface
DK3639744T3 (en) 2008-06-06 2022-02-21 Intuity Medical Inc BLOOD GLUCOSE METER AND METHOD OF USE
JP5642066B2 (en) 2008-06-06 2014-12-17 インテュイティ メディカル インコーポレイテッド Method and apparatus for performing an assay to determine the presence or concentration of an analyte contained in a sample of body fluid
US8551320B2 (en) 2008-06-09 2013-10-08 Lifescan, Inc. System and method for measuring an analyte in a sample
KR101346441B1 (en) * 2008-11-28 2014-01-02 파나소닉 주식회사 Sensor chip, biosensor system, method for measuring temperature of biological sample, method for measuring temperature of blood sample, and method for measuring concentration of analyte in blood sample
CN102854232B (en) 2008-12-08 2015-12-02 拜尔健康护理有限责任公司 There is the bio-sensor system of signal conditioning functions
KR101337704B1 (en) * 2009-05-29 2013-12-06 파나소닉 주식회사 Biosensor system and method for measuring concentration of analyte
US20110048972A1 (en) * 2009-08-31 2011-03-03 Lifescan Scotland Limited Multi-analyte test strip with shared counter/reference electrode and inline electrode configuration
JP5350960B2 (en) * 2009-09-30 2013-11-27 アークレイ株式会社 Method for measuring target components in erythrocyte-containing samples
US8760178B2 (en) 2009-09-30 2014-06-24 Arkray, Inc. Method for measuring target component in erythrocyte-containing specimen
WO2011065981A1 (en) 2009-11-30 2011-06-03 Intuity Medical, Inc. Calibration material delivery devices and methods
US20110186428A1 (en) * 2010-01-29 2011-08-04 Roche Diagnostics Operations, Inc. Electrode arrangements for biosensors
MX2012010860A (en) 2010-03-22 2013-03-05 Bayer Healthcare Llc Residual compensation for a biosensor.
SG186179A1 (en) 2010-06-07 2013-01-30 Bayer Healthcare Llc Slope-based compensation including secondary output signals
ES2747388T3 (en) * 2010-09-13 2020-03-10 Lifescan Scotland Ltd Procedure and measurement system for analytes with hematocrit compensation
EP2679992B1 (en) * 2011-02-23 2019-10-23 PHC Holdings Corporation Biological sample measuring system
US9782114B2 (en) 2011-08-03 2017-10-10 Intuity Medical, Inc. Devices and methods for body fluid sampling and analysis
US9012638B2 (en) 2011-08-31 2015-04-21 Basf Se Process for preparing EDDN and/or EDMN by conversion of FACH and EDA
US9096497B2 (en) 2011-08-31 2015-08-04 Basf Se Process for preparing EDDN and EDMN
US8946459B2 (en) 2011-08-31 2015-02-03 Basf Se Process for preparing EDDN and/or EDMN by reacting EDFA and/or EDMFA with HCN
US8952156B2 (en) 2011-08-31 2015-02-10 Basf Se Process for working up reaction outputs from the hydrogenation of EDDN or EDMN
ES2757909T3 (en) 2011-09-21 2020-04-30 Ascensia Diabetes Care Holdings Ag Compensation analysis including segmented signals
IN2014CN03415A (en) * 2011-11-18 2015-10-09 Murata Manufacturing Co
US9903830B2 (en) 2011-12-29 2018-02-27 Lifescan Scotland Limited Accurate analyte measurements for electrochemical test strip based on sensed physical characteristic(s) of the sample containing the analyte
US20130189769A1 (en) * 2012-01-21 2013-07-25 Rapha Bio Ltd. Biochemical sensor
CN102841117A (en) * 2012-04-18 2012-12-26 江苏学府医疗科技有限公司 Portable blood glucometer subsection statistical averaging and measuring method capable of improving detection accuracy
JP5775967B2 (en) * 2012-04-19 2015-09-09 パナソニックヘルスケアホールディングス株式会社 Biological information measuring apparatus and biological information measuring method using the same
US20150076016A1 (en) * 2012-04-19 2015-03-19 Panasonic Healthcare Co., Ltd. Sensor storage container
JP5801479B2 (en) * 2012-05-07 2015-10-28 パナソニックヘルスケアホールディングス株式会社 Biological information measuring apparatus and biological information measuring method using the same
JP2013242171A (en) * 2012-05-18 2013-12-05 Tanita Corp Concentration measuring apparatus
EP2893334A1 (en) * 2012-09-07 2015-07-15 Cilag GmbH International Electrochemical sensors and a method for their manufacture
GB2505694B (en) * 2012-09-07 2017-03-22 Lifescan Scotland Ltd Electrochemical-based analytical test strip with bare interferent electrodes
EP2919000B1 (en) * 2012-12-12 2019-05-08 PHC Holdings Corporation Blood component measuring device and method for measuring blood component
EP2951154B1 (en) 2013-01-30 2017-04-19 Basf Se 2,6-bis-(aminomethyl)piperidine- (2,6-bamp-), 2,6-bis-(isocyanomethyl)piperidine- (diisocyanate-) and 2,6-dicyanopiperidine-derivatives (2,6-dcp-derivatives) and their use in the preparation of epoxy resins, polyurethanes, polyetheroles and polyamides
US9097659B2 (en) * 2013-03-14 2015-08-04 Bayer Healthcare Llc Maintaining electrode function during manufacture with a protective layer
US10041901B2 (en) 2013-03-15 2018-08-07 Roche Diabetes Care, Inc. Electrode configuration for a biosensor
EP2781919A1 (en) 2013-03-19 2014-09-24 Roche Diagniostics GmbH Method / device for generating a corrected value of an analyte concentration in a sample of a body fluid
CN105143870B (en) * 2013-04-26 2018-03-20 松下健康医疗控股株式会社 Measuring liquid sample device, measuring liquid sample method and biology sensor
GB2514846B (en) * 2013-06-07 2015-09-30 Lifescan Scotland Ltd Electrochemical-based analytical test strip with a soluble electrochemically-active coating opposite a bare electrode
CN105378467B (en) * 2013-07-08 2018-06-19 普和希控股公司 The measurement device of blood constituent, the assay method of blood constituent
US9459231B2 (en) 2013-08-29 2016-10-04 Lifescan Scotland Limited Method and system to determine erroneous measurement signals during a test measurement sequence
US9243276B2 (en) 2013-08-29 2016-01-26 Lifescan Scotland Limited Method and system to determine hematocrit-insensitive glucose values in a fluid sample
US10066253B2 (en) 2013-11-27 2018-09-04 Phc Holdings Corporation Method of measuring blood component amount
KR101443827B1 (en) 2014-02-18 2014-09-26 현기봉 Apparatus for noninvasive blood constituent measurement
US9453812B2 (en) * 2014-06-24 2016-09-27 Lifescan Scotland Limited End-fill electrochemical-based analytical test strip with perpendicular intersecting sample-receiving chambers
CN204142671U (en) * 2014-09-22 2015-02-04 英科新创(厦门)科技有限公司 Electric pole type blood sugar examination bar
KR101647507B1 (en) 2014-10-20 2016-08-10 건국대학교 글로컬산학협력단 System and method of obtaining diagnose data for coronary artery disease using capacitance-based vessel-implantable biosensor
GB2531728A (en) * 2014-10-27 2016-05-04 Cilag Gmbh Int Method for determining diffusion
US20160187291A1 (en) * 2014-12-31 2016-06-30 Nipro Diagnostics, Inc. Glucose test strip with interference correction
CN104535631B (en) * 2015-01-20 2017-03-15 三诺生物传感股份有限公司 A kind of electrochemical measuring method
JP2017009431A (en) * 2015-06-22 2017-01-12 株式会社村田製作所 Sensor
GB201511299D0 (en) * 2015-06-26 2015-08-12 Inside Biometrics Ltd Test device and method of using a test device
EP3454056A4 (en) * 2016-02-25 2019-06-26 PHC Holdings Corporation BIOSENSOR
DK3220137T3 (en) 2016-03-14 2019-05-06 Hoffmann La Roche METHOD OF DETECTING AN INTERFERENCE CONTRIBUTION IN A BIOS SENSOR
US11255834B2 (en) 2016-03-22 2022-02-22 Conductive Technologies, Inc. Physical characteristic determination of a biological sample
DK3805755T3 (en) 2016-12-23 2024-09-23 Radiometer Medical Aps Sensor assembly for body fluids
US20180217079A1 (en) * 2017-01-31 2018-08-02 Cilag Gmbh International Determining an analyte concentration of a physiological fluid having an interferent
US11467118B2 (en) 2017-08-10 2022-10-11 Phc Holdings Corporation Method for measuring amount of blood component in blood
CN109406598A (en) * 2017-08-17 2019-03-01 爱科来株式会社 Measuring method and measurement device
CN109406591A (en) * 2017-08-17 2019-03-01 爱科来株式会社 Measuring method and measurement device
CN111868514B (en) * 2018-03-19 2023-08-08 普和希控股公司 Method for determining the amount of a blood component in blood
KR102153518B1 (en) * 2018-07-11 2020-09-08 안동대학교 산학협력단 Blood sugar bio sensor
CN109946353A (en) * 2018-11-08 2019-06-28 利多(香港)有限公司 Potential type biosensor and detection method
EP3885761B1 (en) 2020-03-27 2025-08-20 ARKRAY, Inc. Biosensor and measurement method using the same
DE112021007862T5 (en) * 2021-12-06 2024-04-18 Omron Healthcare Co., Ltd. Electrolyte analysis test strip, electrolyte analysis device and electrolyte analysis method
JP7470461B1 (en) 2023-02-22 2024-04-18 株式会社イムノセンス Method for determining normality of measurement of test substance in electrochemical method
EP4679074A1 (en) * 2024-07-10 2026-01-14 ARKRAY, Inc. Component concentration measurement method

Citations (2)

* Cited by examiner, † Cited by third party
Publication number Priority date Publication date Assignee Title
US4897162A (en) * 1986-11-14 1990-01-30 The Cleveland Clinic Foundation Pulse voltammetry
US6475372B1 (en) * 2000-02-02 2002-11-05 Lifescan, Inc. Electrochemical methods and devices for use in the determination of hematocrit corrected analyte concentrations

Family Cites Families (57)

* Cited by examiner, † Cited by third party
Publication number Priority date Publication date Assignee Title
US3922598A (en) * 1974-08-15 1975-11-25 Robert R Steuer Hematocrit measurements by electrical conductivity
DE3627814A1 (en) * 1986-08-16 1988-02-25 Fresenius Ag DEVICE FOR DETERMINING THE HAEMATOCRIT
JP2665806B2 (en) 1989-09-13 1997-10-22 株式会社豊田中央研究所 Hematocrit measuring device
US5463435A (en) * 1990-02-09 1995-10-31 Nikon Corporation Camera
JP3321734B2 (en) 1990-02-09 2002-09-09 株式会社ニコン Film patrone and device capable of loading the film patrone
US5475454A (en) * 1990-02-09 1995-12-12 Nikon Corporation Film magazine and camera
US5264103A (en) * 1991-10-18 1993-11-23 Matsushita Electric Industrial Co., Ltd. Biosensor and a method for measuring a concentration of a substrate in a sample
JP2960265B2 (en) * 1991-10-18 1999-10-06 松下電器産業株式会社 Biosensor and measurement method using the same
US5385846A (en) 1993-06-03 1995-01-31 Boehringer Mannheim Corporation Biosensor and method for hematocrit determination
US5582697A (en) 1995-03-17 1996-12-10 Matsushita Electric Industrial Co., Ltd. Biosensor, and a method and a device for quantifying a substrate in a sample liquid using the same
WO1996032883A1 (en) 1995-04-20 1996-10-24 Microcor, Inc. Method and apparatus for noninvasively determining hematocrit
US6058934A (en) 1995-11-02 2000-05-09 Chiron Diagnostics Corporation Planar hematocrit sensor incorporating a seven-electrode conductivity measurement cell
US6632349B1 (en) * 1996-11-15 2003-10-14 Lifescan, Inc. Hemoglobin sensor
JP3810534B2 (en) * 1997-10-17 2006-08-16 松下電器産業株式会社 Hematocrit value measuring element and method for measuring hematocrit value
BR9814386B1 (en) * 1997-12-22 2009-08-11 apparatus and methods for determining the concentration of a medically significant component of a biological fluid.
US7494816B2 (en) * 1997-12-22 2009-02-24 Roche Diagnostic Operations, Inc. System and method for determining a temperature during analyte measurement
JP3848993B2 (en) 1998-01-06 2006-11-22 アークレイ株式会社 Method and apparatus for measuring the amount of components in the presence of coexisting substances
JP3267933B2 (en) 1998-01-27 2002-03-25 松下電器産業株式会社 Substrate quantification method
WO1999051974A1 (en) * 1998-04-02 1999-10-14 Matsushita Electric Industrial Co., Ltd. Substrate determining method
JP2000039416A (en) * 1998-05-21 2000-02-08 Matsushita Electric Ind Co Ltd Biosensor
JP3267936B2 (en) 1998-08-26 2002-03-25 松下電器産業株式会社 Biosensor
US6471839B1 (en) 1999-05-20 2002-10-29 Matsushita Electric Industrial Co., Ltd. Biosensor
US6287451B1 (en) 1999-06-02 2001-09-11 Handani Winarta Disposable sensor and method of making
JP2001091512A (en) * 1999-07-16 2001-04-06 Matsushita Electric Ind Co Ltd Blood component analyzer
US6616819B1 (en) 1999-11-04 2003-09-09 Therasense, Inc. Small volume in vitro analyte sensor and methods
CN1220053C (en) 1999-11-15 2005-09-21 松下电器产业株式会社 Biosensor, quantitative device and quantitative method
US6541216B1 (en) 1999-12-22 2003-04-01 Roche Diagnostics Corporation Amperometric biosensor test strip
EP1126032B1 (en) * 1999-12-27 2005-04-20 Matsushita Electric Industrial Co., Ltd. Biosensor
JP2001201479A (en) * 2000-01-21 2001-07-27 Matsushita Electric Ind Co Ltd Biosensor
JP4522528B2 (en) * 2000-03-02 2010-08-11 文代 楠 Ulcerative colorectal disease measuring electrode, ulcerative colorectal disease measuring device, and ulcerative colorectal disease determining method
DE60106228T2 (en) 2000-03-22 2005-10-13 All Medicus Co., Ltd. ELECTROCHEMICAL BIOSENSOR TEST STRIP WITH DETECTION ELECTRODE AND SELECTION MEASUREMENT DEVICE USING THIS TEST STRIP
WO2001073419A1 (en) * 2000-03-29 2001-10-04 Matsushita Electric Industrial Co., Ltd. Biosensor
EP1167538A1 (en) 2000-06-30 2002-01-02 Schibli Engineering GmbH Biosensor and method for its production
JP2002057767A (en) 2000-08-08 2002-02-22 Denso Corp Telephone set
TW466344B (en) * 2000-09-01 2001-12-01 Apex Biotechnology Corp Disposable electrode for whole blood hemoglobin (HGB) and hematocrit (HCT) measurement, and preparation and application thereof
US20030082076A1 (en) * 2000-09-01 2003-05-01 Yueh-Hui Lin Disposable electrode for whole blood hemoglobin (HGB) and hematocrit (HCT) measurement, and preparation and application
JP2003156469A (en) * 2001-11-22 2003-05-30 Matsushita Electric Ind Co Ltd Biosensor, measuring device for biosensor, and method of quantifying substrate
EP2388585B1 (en) 2000-11-30 2018-05-02 Panasonic Healthcare Holdings Co., Ltd. Method of quantifying substrate
JP4183902B2 (en) * 2000-12-27 2008-11-19 松下電器産業株式会社 Biosensor
JP3971997B2 (en) 2001-01-17 2007-09-05 松下電器産業株式会社 Biosensor
WO2002097418A1 (en) * 2001-05-29 2002-12-05 Matsushita Electric Industrial Co., Ltd. Biosensor
JP4214275B2 (en) * 2001-07-18 2009-01-28 アークレイ株式会社 Analysis tool and analyzer
US7491310B2 (en) * 2001-10-12 2009-02-17 Arkray, Inc. Concentration measuring method and concentration measuring apparatus
US7018843B2 (en) * 2001-11-07 2006-03-28 Roche Diagnostics Operations, Inc. Instrument
JPWO2003076919A1 (en) * 2002-03-08 2005-07-07 松下電器産業株式会社 Substrate quantification method
US6837976B2 (en) * 2002-04-19 2005-01-04 Nova Biomedical Corporation Disposable sensor with enhanced sample port inlet
ATE510208T1 (en) * 2002-07-25 2011-06-15 Arkray Inc SAMPLE ANALYSIS METHOD AND SAMPLE ANALYSIS DEVICE
AU2003234944A1 (en) 2002-08-27 2004-03-18 Bayer Healthcare, Llc Methods of Determining Glucose Concentration in Whole Blood Samples
EP1396717A1 (en) 2002-09-03 2004-03-10 Matsushita Electric Industrial Co., Ltd. Biosensor and measuring method using the same
JP2004117342A (en) * 2002-09-03 2004-04-15 Matsushita Electric Ind Co Ltd Biosensor and measurement method using the same
US7144485B2 (en) * 2003-01-13 2006-12-05 Hmd Biomedical Inc. Strips for analyzing samples
WO2005012900A1 (en) 2003-06-20 2005-02-10 Roche Diagnostics Gmbh Biosensor with multiple electrical functionalities
JP4458802B2 (en) * 2003-10-02 2010-04-28 パナソニック株式会社 Method for measuring glucose in blood and sensor used therefor
US8007656B2 (en) * 2003-10-24 2011-08-30 Bayer Healthcare Llc Enzymatic electrochemical biosensor
JP4449431B2 (en) 2003-11-19 2010-04-14 パナソニック株式会社 Substrate concentration measurement method
CN100432663C (en) 2003-12-04 2008-11-12 松下电器产业株式会社 Method for measuring hematocrit (Hct), and sensor and measuring device used in the method
JP4611208B2 (en) * 2003-12-04 2011-01-12 パナソニック株式会社 Blood component measuring method, sensor and measuring apparatus used therefor

Patent Citations (2)

* Cited by examiner, † Cited by third party
Publication number Priority date Publication date Assignee Title
US4897162A (en) * 1986-11-14 1990-01-30 The Cleveland Clinic Foundation Pulse voltammetry
US6475372B1 (en) * 2000-02-02 2002-11-05 Lifescan, Inc. Electrochemical methods and devices for use in the determination of hematocrit corrected analyte concentrations

Cited By (3)

* Cited by examiner, † Cited by third party
Publication number Priority date Publication date Assignee Title
WO2022026504A1 (en) * 2020-07-28 2022-02-03 Qsm Diagnostics, Inc. Sample handling for diagnostics
US20230273146A1 (en) * 2020-07-28 2023-08-31 Qsm Diagnostics, Inc. Sample handling for diagnostics
EP4188201A4 (en) * 2020-07-28 2024-08-28 QSM Diagnostics, Inc. HANDLING OF SAMPLES FOR DIAGNOSTIC

Also Published As

Publication number Publication date
CA2559297C (en) 2012-05-22
US20110198223A1 (en) 2011-08-18
US20160178557A1 (en) 2016-06-23
CA2559297A1 (en) 2005-11-03
WO2005103669A1 (en) 2005-11-03
EP1742045A4 (en) 2009-08-26
JP2011033637A (en) 2011-02-17
US7955492B2 (en) 2011-06-07
JP5502015B2 (en) 2014-05-28
KR20060134101A (en) 2006-12-27
JPWO2005103669A1 (en) 2008-03-13
KR101108381B1 (en) 2012-01-30
JP2011158483A (en) 2011-08-18
EP1742045A1 (en) 2007-01-10
JP4751479B2 (en) 2011-08-17
EP3115777B1 (en) 2020-01-08
JP2011137839A (en) 2011-07-14
EP1742045B1 (en) 2016-11-02
CN1938590A (en) 2007-03-28
JP4696183B2 (en) 2011-06-08
EP3115777A1 (en) 2017-01-11
JP2011033638A (en) 2011-02-17
JP4689601B2 (en) 2011-05-25
US9285335B2 (en) 2016-03-15
US20140158552A1 (en) 2014-06-12
JP5619665B2 (en) 2014-11-05
US20070138026A1 (en) 2007-06-21
CN1938590B (en) 2010-05-05
US8524055B2 (en) 2013-09-03

Similar Documents

Publication Publication Date Title
US7955492B2 (en) Method for measuring blood components and biosensor and measuring instrument for use therein
US9719956B2 (en) Method of measuring blood component, sensor used in the method, and measuring device
EP3076167B1 (en) Method of measuring blood component amount
US20210247346A1 (en) Method for measuring components of biological sample

Legal Events

Date Code Title Description
STPP Information on status: patent application and granting procedure in general

Free format text: DOCKETED NEW CASE - READY FOR EXAMINATION

AS Assignment

Owner name: PHC HOLDINGS CORPORATION, JAPAN

Free format text: CHANGE OF NAME;ASSIGNOR:PANASONIC HEALTHCARE HOLDINGS CO., LTD.;REEL/FRAME:046724/0122

Effective date: 20180401

STPP Information on status: patent application and granting procedure in general

Free format text: NON FINAL ACTION MAILED

STPP Information on status: patent application and granting procedure in general

Free format text: RESPONSE TO NON-FINAL OFFICE ACTION ENTERED AND FORWARDED TO EXAMINER

STPP Information on status: patent application and granting procedure in general

Free format text: FINAL REJECTION MAILED

STPP Information on status: patent application and granting procedure in general

Free format text: NON FINAL ACTION MAILED

STPP Information on status: patent application and granting procedure in general

Free format text: RESPONSE TO NON-FINAL OFFICE ACTION ENTERED AND FORWARDED TO EXAMINER

STPP Information on status: patent application and granting procedure in general

Free format text: FINAL REJECTION MAILED

STCB Information on status: application discontinuation

Free format text: ABANDONED -- FAILURE TO RESPOND TO AN OFFICE ACTION