US20140180098A1 - Tissue Penetrating Catheters Having Integral Imaging Transducers and Their Methods of Use - Google Patents
Tissue Penetrating Catheters Having Integral Imaging Transducers and Their Methods of Use Download PDFInfo
- Publication number
- US20140180098A1 US20140180098A1 US14/135,357 US201314135357A US2014180098A1 US 20140180098 A1 US20140180098 A1 US 20140180098A1 US 201314135357 A US201314135357 A US 201314135357A US 2014180098 A1 US2014180098 A1 US 2014180098A1
- Authority
- US
- United States
- Prior art keywords
- catheter
- blood vessel
- lumen
- penetrator
- transducer
- Prior art date
- Legal status (The legal status is an assumption and is not a legal conclusion. Google has not performed a legal analysis and makes no representation as to the accuracy of the status listed.)
- Abandoned
Links
Images
Classifications
-
- A—HUMAN NECESSITIES
- A61—MEDICAL OR VETERINARY SCIENCE; HYGIENE
- A61B—DIAGNOSIS; SURGERY; IDENTIFICATION
- A61B17/00—Surgical instruments, devices or methods
- A61B17/34—Trocars; Puncturing needles
- A61B17/3403—Needle locating or guiding means
-
- A—HUMAN NECESSITIES
- A61—MEDICAL OR VETERINARY SCIENCE; HYGIENE
- A61B—DIAGNOSIS; SURGERY; IDENTIFICATION
- A61B1/00—Instruments for performing medical examinations of the interior of cavities or tubes of the body by visual or photographical inspection, e.g. endoscopes; Illuminating arrangements therefor
- A61B1/313—Instruments for performing medical examinations of the interior of cavities or tubes of the body by visual or photographical inspection, e.g. endoscopes; Illuminating arrangements therefor for introducing through surgical openings, e.g. laparoscopes
- A61B1/3137—Instruments for performing medical examinations of the interior of cavities or tubes of the body by visual or photographical inspection, e.g. endoscopes; Illuminating arrangements therefor for introducing through surgical openings, e.g. laparoscopes for examination of the interior of blood vessels
-
- A—HUMAN NECESSITIES
- A61—MEDICAL OR VETERINARY SCIENCE; HYGIENE
- A61B—DIAGNOSIS; SURGERY; IDENTIFICATION
- A61B17/00—Surgical instruments, devices or methods
- A61B17/11—Surgical instruments, devices or methods for performing anastomosis; Buttons for anastomosis
-
- A—HUMAN NECESSITIES
- A61—MEDICAL OR VETERINARY SCIENCE; HYGIENE
- A61B—DIAGNOSIS; SURGERY; IDENTIFICATION
- A61B17/00—Surgical instruments, devices or methods
- A61B17/12—Surgical instruments, devices or methods for ligaturing or otherwise compressing tubular parts of the body, e.g. blood vessels or umbilical cord
- A61B17/12022—Occluding by internal devices, e.g. balloons or releasable wires
- A61B17/12099—Occluding by internal devices, e.g. balloons or releasable wires characterised by the location of the occluder
- A61B17/12109—Occluding by internal devices, e.g. balloons or releasable wires characterised by the location of the occluder in a blood vessel
-
- A—HUMAN NECESSITIES
- A61—MEDICAL OR VETERINARY SCIENCE; HYGIENE
- A61B—DIAGNOSIS; SURGERY; IDENTIFICATION
- A61B17/00—Surgical instruments, devices or methods
- A61B17/12—Surgical instruments, devices or methods for ligaturing or otherwise compressing tubular parts of the body, e.g. blood vessels or umbilical cord
- A61B17/12022—Occluding by internal devices, e.g. balloons or releasable wires
- A61B17/12131—Occluding by internal devices, e.g. balloons or releasable wires characterised by the type of occluding device
- A61B17/12168—Occluding by internal devices, e.g. balloons or releasable wires characterised by the type of occluding device having a mesh structure
- A61B17/12172—Occluding by internal devices, e.g. balloons or releasable wires characterised by the type of occluding device having a mesh structure having a pre-set deployed three-dimensional shape
-
- A—HUMAN NECESSITIES
- A61—MEDICAL OR VETERINARY SCIENCE; HYGIENE
- A61B—DIAGNOSIS; SURGERY; IDENTIFICATION
- A61B17/00—Surgical instruments, devices or methods
- A61B17/32—Surgical cutting instruments
- A61B17/3205—Excision instruments
- A61B17/3207—Atherectomy devices working by cutting or abrading; Similar devices specially adapted for non-vascular obstructions
-
- A—HUMAN NECESSITIES
- A61—MEDICAL OR VETERINARY SCIENCE; HYGIENE
- A61B—DIAGNOSIS; SURGERY; IDENTIFICATION
- A61B17/00—Surgical instruments, devices or methods
- A61B17/34—Trocars; Puncturing needles
- A61B17/3417—Details of tips or shafts, e.g. grooves, expandable, bendable; Multiple coaxial sliding cannulas, e.g. for dilating
-
- A—HUMAN NECESSITIES
- A61—MEDICAL OR VETERINARY SCIENCE; HYGIENE
- A61B—DIAGNOSIS; SURGERY; IDENTIFICATION
- A61B18/00—Surgical instruments, devices or methods for transferring non-mechanical forms of energy to or from the body
- A61B18/04—Surgical instruments, devices or methods for transferring non-mechanical forms of energy to or from the body by heating
- A61B18/12—Surgical instruments, devices or methods for transferring non-mechanical forms of energy to or from the body by heating by passing a current through the tissue to be heated, e.g. high-frequency current
- A61B18/14—Probes or electrodes therefor
- A61B18/1442—Probes having pivoting end effectors, e.g. forceps
- A61B18/1445—Probes having pivoting end effectors, e.g. forceps at the distal end of a shaft, e.g. forceps or scissors at the end of a rigid rod
-
- A—HUMAN NECESSITIES
- A61—MEDICAL OR VETERINARY SCIENCE; HYGIENE
- A61B—DIAGNOSIS; SURGERY; IDENTIFICATION
- A61B8/00—Diagnosis using ultrasonic, sonic or infrasonic waves
- A61B8/12—Diagnosis using ultrasonic, sonic or infrasonic waves in body cavities or body tracts, e.g. by using catheters
-
- A—HUMAN NECESSITIES
- A61—MEDICAL OR VETERINARY SCIENCE; HYGIENE
- A61B—DIAGNOSIS; SURGERY; IDENTIFICATION
- A61B8/00—Diagnosis using ultrasonic, sonic or infrasonic waves
- A61B8/44—Constructional features of the ultrasonic, sonic or infrasonic diagnostic device
- A61B8/4444—Constructional features of the ultrasonic, sonic or infrasonic diagnostic device related to the probe
- A61B8/445—Details of catheter construction
-
- A—HUMAN NECESSITIES
- A61—MEDICAL OR VETERINARY SCIENCE; HYGIENE
- A61F—FILTERS IMPLANTABLE INTO BLOOD VESSELS; PROSTHESES; DEVICES PROVIDING PATENCY TO, OR PREVENTING COLLAPSING OF, TUBULAR STRUCTURES OF THE BODY, e.g. STENTS; ORTHOPAEDIC, NURSING OR CONTRACEPTIVE DEVICES; FOMENTATION; TREATMENT OR PROTECTION OF EYES OR EARS; BANDAGES, DRESSINGS OR ABSORBENT PADS; FIRST-AID KITS
- A61F2/00—Filters implantable into blood vessels; Prostheses, i.e. artificial substitutes or replacements for parts of the body; Appliances for connecting them with the body; Devices providing patency to, or preventing collapsing of, tubular structures of the body, e.g. stents
- A61F2/02—Prostheses implantable into the body
- A61F2/24—Heart valves ; Vascular valves, e.g. venous valves; Heart implants, e.g. passive devices for improving the function of the native valve or the heart muscle; Transmyocardial revascularisation [TMR] devices; Valves implantable in the body
- A61F2/2493—Transmyocardial revascularisation [TMR] devices
-
- A—HUMAN NECESSITIES
- A61—MEDICAL OR VETERINARY SCIENCE; HYGIENE
- A61F—FILTERS IMPLANTABLE INTO BLOOD VESSELS; PROSTHESES; DEVICES PROVIDING PATENCY TO, OR PREVENTING COLLAPSING OF, TUBULAR STRUCTURES OF THE BODY, e.g. STENTS; ORTHOPAEDIC, NURSING OR CONTRACEPTIVE DEVICES; FOMENTATION; TREATMENT OR PROTECTION OF EYES OR EARS; BANDAGES, DRESSINGS OR ABSORBENT PADS; FIRST-AID KITS
- A61F2/00—Filters implantable into blood vessels; Prostheses, i.e. artificial substitutes or replacements for parts of the body; Appliances for connecting them with the body; Devices providing patency to, or preventing collapsing of, tubular structures of the body, e.g. stents
- A61F2/95—Instruments specially adapted for placement or removal of stents or stent-grafts
-
- A—HUMAN NECESSITIES
- A61—MEDICAL OR VETERINARY SCIENCE; HYGIENE
- A61K—PREPARATIONS FOR MEDICAL, DENTAL OR TOILETRY PURPOSES
- A61K31/00—Medicinal preparations containing organic active ingredients
- A61K31/185—Acids; Anhydrides, halides or salts thereof, e.g. sulfur acids, imidic, hydrazonic or hydroximic acids
- A61K31/19—Carboxylic acids, e.g. valproic acid
- A61K31/195—Carboxylic acids, e.g. valproic acid having an amino group
-
- A—HUMAN NECESSITIES
- A61—MEDICAL OR VETERINARY SCIENCE; HYGIENE
- A61B—DIAGNOSIS; SURGERY; IDENTIFICATION
- A61B17/00—Surgical instruments, devices or methods
- A61B17/32—Surgical cutting instruments
- A61B17/3205—Excision instruments
- A61B17/3207—Atherectomy devices working by cutting or abrading; Similar devices specially adapted for non-vascular obstructions
- A61B17/320725—Atherectomy devices working by cutting or abrading; Similar devices specially adapted for non-vascular obstructions with radially expandable cutting or abrading elements
-
- A—HUMAN NECESSITIES
- A61—MEDICAL OR VETERINARY SCIENCE; HYGIENE
- A61B—DIAGNOSIS; SURGERY; IDENTIFICATION
- A61B17/00—Surgical instruments, devices or methods
- A61B17/34—Trocars; Puncturing needles
- A61B17/3494—Trocars; Puncturing needles with safety means for protection against accidental cutting or pricking, e.g. limiting insertion depth, pressure sensors
- A61B17/3496—Protecting sleeves or inner probes; Retractable tips
-
- A—HUMAN NECESSITIES
- A61—MEDICAL OR VETERINARY SCIENCE; HYGIENE
- A61B—DIAGNOSIS; SURGERY; IDENTIFICATION
- A61B18/00—Surgical instruments, devices or methods for transferring non-mechanical forms of energy to or from the body
-
- A—HUMAN NECESSITIES
- A61—MEDICAL OR VETERINARY SCIENCE; HYGIENE
- A61B—DIAGNOSIS; SURGERY; IDENTIFICATION
- A61B18/00—Surgical instruments, devices or methods for transferring non-mechanical forms of energy to or from the body
- A61B18/04—Surgical instruments, devices or methods for transferring non-mechanical forms of energy to or from the body by heating
- A61B18/12—Surgical instruments, devices or methods for transferring non-mechanical forms of energy to or from the body by heating by passing a current through the tissue to be heated, e.g. high-frequency current
- A61B18/14—Probes or electrodes therefor
- A61B18/1477—Needle-like probes
-
- A—HUMAN NECESSITIES
- A61—MEDICAL OR VETERINARY SCIENCE; HYGIENE
- A61B—DIAGNOSIS; SURGERY; IDENTIFICATION
- A61B18/00—Surgical instruments, devices or methods for transferring non-mechanical forms of energy to or from the body
- A61B18/04—Surgical instruments, devices or methods for transferring non-mechanical forms of energy to or from the body by heating
- A61B18/12—Surgical instruments, devices or methods for transferring non-mechanical forms of energy to or from the body by heating by passing a current through the tissue to be heated, e.g. high-frequency current
- A61B18/14—Probes or electrodes therefor
- A61B18/1492—Probes or electrodes therefor having a flexible, catheter-like structure, e.g. for heart ablation
-
- A—HUMAN NECESSITIES
- A61—MEDICAL OR VETERINARY SCIENCE; HYGIENE
- A61B—DIAGNOSIS; SURGERY; IDENTIFICATION
- A61B18/00—Surgical instruments, devices or methods for transferring non-mechanical forms of energy to or from the body
- A61B18/18—Surgical instruments, devices or methods for transferring non-mechanical forms of energy to or from the body by applying electromagnetic radiation, e.g. microwaves
- A61B18/20—Surgical instruments, devices or methods for transferring non-mechanical forms of energy to or from the body by applying electromagnetic radiation, e.g. microwaves using laser
- A61B18/22—Surgical instruments, devices or methods for transferring non-mechanical forms of energy to or from the body by applying electromagnetic radiation, e.g. microwaves using laser the beam being directed along or through a flexible conduit, e.g. an optical fibre; Couplings or hand-pieces therefor
- A61B18/24—Surgical instruments, devices or methods for transferring non-mechanical forms of energy to or from the body by applying electromagnetic radiation, e.g. microwaves using laser the beam being directed along or through a flexible conduit, e.g. an optical fibre; Couplings or hand-pieces therefor with a catheter
-
- A—HUMAN NECESSITIES
- A61—MEDICAL OR VETERINARY SCIENCE; HYGIENE
- A61B—DIAGNOSIS; SURGERY; IDENTIFICATION
- A61B17/00—Surgical instruments, devices or methods
- A61B17/00234—Surgical instruments, devices or methods for minimally invasive surgery
- A61B2017/00238—Type of minimally invasive operation
- A61B2017/00243—Type of minimally invasive operation cardiac
-
- A—HUMAN NECESSITIES
- A61—MEDICAL OR VETERINARY SCIENCE; HYGIENE
- A61B—DIAGNOSIS; SURGERY; IDENTIFICATION
- A61B17/00—Surgical instruments, devices or methods
- A61B17/00234—Surgical instruments, devices or methods for minimally invasive surgery
- A61B2017/00238—Type of minimally invasive operation
- A61B2017/00243—Type of minimally invasive operation cardiac
- A61B2017/00247—Making holes in the wall of the heart, e.g. laser Myocardial revascularization
-
- A—HUMAN NECESSITIES
- A61—MEDICAL OR VETERINARY SCIENCE; HYGIENE
- A61B—DIAGNOSIS; SURGERY; IDENTIFICATION
- A61B17/00—Surgical instruments, devices or methods
- A61B17/00234—Surgical instruments, devices or methods for minimally invasive surgery
- A61B2017/00238—Type of minimally invasive operation
- A61B2017/00243—Type of minimally invasive operation cardiac
- A61B2017/00247—Making holes in the wall of the heart, e.g. laser Myocardial revascularization
- A61B2017/00252—Making holes in the wall of the heart, e.g. laser Myocardial revascularization for by-pass connections, i.e. connections from heart chamber to blood vessel or from blood vessel to blood vessel
-
- A—HUMAN NECESSITIES
- A61—MEDICAL OR VETERINARY SCIENCE; HYGIENE
- A61B—DIAGNOSIS; SURGERY; IDENTIFICATION
- A61B17/00—Surgical instruments, devices or methods
- A61B17/00234—Surgical instruments, devices or methods for minimally invasive surgery
- A61B2017/00292—Surgical instruments, devices or methods for minimally invasive surgery mounted on or guided by flexible, e.g. catheter-like, means
- A61B2017/003—Steerable
-
- A—HUMAN NECESSITIES
- A61—MEDICAL OR VETERINARY SCIENCE; HYGIENE
- A61B—DIAGNOSIS; SURGERY; IDENTIFICATION
- A61B17/00—Surgical instruments, devices or methods
- A61B2017/0042—Surgical instruments, devices or methods with special provisions for gripping
- A61B2017/00455—Orientation indicators, e.g. recess on the handle
-
- A—HUMAN NECESSITIES
- A61—MEDICAL OR VETERINARY SCIENCE; HYGIENE
- A61B—DIAGNOSIS; SURGERY; IDENTIFICATION
- A61B17/00—Surgical instruments, devices or methods
- A61B17/00491—Surgical glue applicators
- A61B2017/00504—Tissue welding
-
- A—HUMAN NECESSITIES
- A61—MEDICAL OR VETERINARY SCIENCE; HYGIENE
- A61B—DIAGNOSIS; SURGERY; IDENTIFICATION
- A61B17/00—Surgical instruments, devices or methods
- A61B17/11—Surgical instruments, devices or methods for performing anastomosis; Buttons for anastomosis
- A61B2017/1107—Surgical instruments, devices or methods for performing anastomosis; Buttons for anastomosis for blood vessels
-
- A—HUMAN NECESSITIES
- A61—MEDICAL OR VETERINARY SCIENCE; HYGIENE
- A61B—DIAGNOSIS; SURGERY; IDENTIFICATION
- A61B17/00—Surgical instruments, devices or methods
- A61B17/11—Surgical instruments, devices or methods for performing anastomosis; Buttons for anastomosis
- A61B2017/1139—Side-to-side connections, e.g. shunt or X-connections
-
- A—HUMAN NECESSITIES
- A61—MEDICAL OR VETERINARY SCIENCE; HYGIENE
- A61B—DIAGNOSIS; SURGERY; IDENTIFICATION
- A61B17/00—Surgical instruments, devices or methods
- A61B17/12—Surgical instruments, devices or methods for ligaturing or otherwise compressing tubular parts of the body, e.g. blood vessels or umbilical cord
- A61B17/12022—Occluding by internal devices, e.g. balloons or releasable wires
- A61B2017/12127—Double occlusion, e.g. for creating blood-free anastomosis site
-
- A—HUMAN NECESSITIES
- A61—MEDICAL OR VETERINARY SCIENCE; HYGIENE
- A61B—DIAGNOSIS; SURGERY; IDENTIFICATION
- A61B17/00—Surgical instruments, devices or methods
- A61B17/22—Implements for squeezing-off ulcers or the like on inner organs of the body; Implements for scraping-out cavities of body organs, e.g. bones; for invasive removal or destruction of calculus using mechanical vibrations; for removing obstructions in blood vessels, not otherwise provided for
- A61B2017/22038—Implements for squeezing-off ulcers or the like on inner organs of the body; Implements for scraping-out cavities of body organs, e.g. bones; for invasive removal or destruction of calculus using mechanical vibrations; for removing obstructions in blood vessels, not otherwise provided for with a guide wire
-
- A—HUMAN NECESSITIES
- A61—MEDICAL OR VETERINARY SCIENCE; HYGIENE
- A61B—DIAGNOSIS; SURGERY; IDENTIFICATION
- A61B17/00—Surgical instruments, devices or methods
- A61B17/22—Implements for squeezing-off ulcers or the like on inner organs of the body; Implements for scraping-out cavities of body organs, e.g. bones; for invasive removal or destruction of calculus using mechanical vibrations; for removing obstructions in blood vessels, not otherwise provided for
- A61B2017/22051—Implements for squeezing-off ulcers or the like on inner organs of the body; Implements for scraping-out cavities of body organs, e.g. bones; for invasive removal or destruction of calculus using mechanical vibrations; for removing obstructions in blood vessels, not otherwise provided for with an inflatable part, e.g. balloon, for positioning, blocking, or immobilisation
- A61B2017/22065—Functions of balloons
- A61B2017/22069—Immobilising; Stabilising
-
- A—HUMAN NECESSITIES
- A61—MEDICAL OR VETERINARY SCIENCE; HYGIENE
- A61B—DIAGNOSIS; SURGERY; IDENTIFICATION
- A61B17/00—Surgical instruments, devices or methods
- A61B17/22—Implements for squeezing-off ulcers or the like on inner organs of the body; Implements for scraping-out cavities of body organs, e.g. bones; for invasive removal or destruction of calculus using mechanical vibrations; for removing obstructions in blood vessels, not otherwise provided for
- A61B2017/22072—Implements for squeezing-off ulcers or the like on inner organs of the body; Implements for scraping-out cavities of body organs, e.g. bones; for invasive removal or destruction of calculus using mechanical vibrations; for removing obstructions in blood vessels, not otherwise provided for with an instrument channel, e.g. for replacing one instrument by the other
-
- A—HUMAN NECESSITIES
- A61—MEDICAL OR VETERINARY SCIENCE; HYGIENE
- A61B—DIAGNOSIS; SURGERY; IDENTIFICATION
- A61B17/00—Surgical instruments, devices or methods
- A61B17/22—Implements for squeezing-off ulcers or the like on inner organs of the body; Implements for scraping-out cavities of body organs, e.g. bones; for invasive removal or destruction of calculus using mechanical vibrations; for removing obstructions in blood vessels, not otherwise provided for
- A61B2017/22072—Implements for squeezing-off ulcers or the like on inner organs of the body; Implements for scraping-out cavities of body organs, e.g. bones; for invasive removal or destruction of calculus using mechanical vibrations; for removing obstructions in blood vessels, not otherwise provided for with an instrument channel, e.g. for replacing one instrument by the other
- A61B2017/22074—Implements for squeezing-off ulcers or the like on inner organs of the body; Implements for scraping-out cavities of body organs, e.g. bones; for invasive removal or destruction of calculus using mechanical vibrations; for removing obstructions in blood vessels, not otherwise provided for with an instrument channel, e.g. for replacing one instrument by the other the instrument being only slidable in a channel, e.g. advancing optical fibre through a channel
- A61B2017/22077—Implements for squeezing-off ulcers or the like on inner organs of the body; Implements for scraping-out cavities of body organs, e.g. bones; for invasive removal or destruction of calculus using mechanical vibrations; for removing obstructions in blood vessels, not otherwise provided for with an instrument channel, e.g. for replacing one instrument by the other the instrument being only slidable in a channel, e.g. advancing optical fibre through a channel with a part piercing the tissue
-
- A—HUMAN NECESSITIES
- A61—MEDICAL OR VETERINARY SCIENCE; HYGIENE
- A61B—DIAGNOSIS; SURGERY; IDENTIFICATION
- A61B17/00—Surgical instruments, devices or methods
- A61B17/30—Surgical pincettes, i.e. surgical tweezers without pivotal connections
- A61B2017/306—Surgical pincettes, i.e. surgical tweezers without pivotal connections holding by means of suction
-
- A—HUMAN NECESSITIES
- A61—MEDICAL OR VETERINARY SCIENCE; HYGIENE
- A61B—DIAGNOSIS; SURGERY; IDENTIFICATION
- A61B17/00—Surgical instruments, devices or methods
- A61B17/34—Trocars; Puncturing needles
- A61B2017/347—Locking means, e.g. for locking instrument in cannula
-
- A—HUMAN NECESSITIES
- A61—MEDICAL OR VETERINARY SCIENCE; HYGIENE
- A61B—DIAGNOSIS; SURGERY; IDENTIFICATION
- A61B17/00—Surgical instruments, devices or methods
- A61B17/34—Trocars; Puncturing needles
- A61B2017/348—Means for supporting the trocar against the body or retaining the trocar inside the body
- A61B2017/3482—Means for supporting the trocar against the body or retaining the trocar inside the body inside
- A61B2017/3484—Anchoring means, e.g. spreading-out umbrella-like structure
- A61B2017/3488—Fixation to inner organ or inner body tissue
-
- A—HUMAN NECESSITIES
- A61—MEDICAL OR VETERINARY SCIENCE; HYGIENE
- A61B—DIAGNOSIS; SURGERY; IDENTIFICATION
- A61B18/00—Surgical instruments, devices or methods for transferring non-mechanical forms of energy to or from the body
- A61B2018/00315—Surgical instruments, devices or methods for transferring non-mechanical forms of energy to or from the body for treatment of particular body parts
- A61B2018/00345—Vascular system
- A61B2018/00351—Heart
- A61B2018/00392—Transmyocardial revascularisation
-
- A—HUMAN NECESSITIES
- A61—MEDICAL OR VETERINARY SCIENCE; HYGIENE
- A61B—DIAGNOSIS; SURGERY; IDENTIFICATION
- A61B18/00—Surgical instruments, devices or methods for transferring non-mechanical forms of energy to or from the body
- A61B2018/00636—Sensing and controlling the application of energy
- A61B2018/00773—Sensed parameters
- A61B2018/00869—Phase
-
- A—HUMAN NECESSITIES
- A61—MEDICAL OR VETERINARY SCIENCE; HYGIENE
- A61B—DIAGNOSIS; SURGERY; IDENTIFICATION
- A61B18/00—Surgical instruments, devices or methods for transferring non-mechanical forms of energy to or from the body
- A61B18/04—Surgical instruments, devices or methods for transferring non-mechanical forms of energy to or from the body by heating
- A61B18/12—Surgical instruments, devices or methods for transferring non-mechanical forms of energy to or from the body by heating by passing a current through the tissue to be heated, e.g. high-frequency current
- A61B18/14—Probes or electrodes therefor
- A61B2018/1405—Electrodes having a specific shape
- A61B2018/1425—Needle
-
- A—HUMAN NECESSITIES
- A61—MEDICAL OR VETERINARY SCIENCE; HYGIENE
- A61B—DIAGNOSIS; SURGERY; IDENTIFICATION
- A61B90/00—Instruments, implements or accessories specially adapted for surgery or diagnosis and not covered by any of the groups A61B1/00 - A61B50/00, e.g. for luxation treatment or for protecting wound edges
- A61B90/36—Image-producing devices or illumination devices not otherwise provided for
- A61B90/37—Surgical systems with images on a monitor during operation
- A61B2090/378—Surgical systems with images on a monitor during operation using ultrasound
-
- A—HUMAN NECESSITIES
- A61—MEDICAL OR VETERINARY SCIENCE; HYGIENE
- A61B—DIAGNOSIS; SURGERY; IDENTIFICATION
- A61B90/00—Instruments, implements or accessories specially adapted for surgery or diagnosis and not covered by any of the groups A61B1/00 - A61B50/00, e.g. for luxation treatment or for protecting wound edges
- A61B90/36—Image-producing devices or illumination devices not otherwise provided for
- A61B90/37—Surgical systems with images on a monitor during operation
- A61B2090/378—Surgical systems with images on a monitor during operation using ultrasound
- A61B2090/3782—Surgical systems with images on a monitor during operation using ultrasound transmitter or receiver in catheter or minimal invasive instrument
- A61B2090/3784—Surgical systems with images on a monitor during operation using ultrasound transmitter or receiver in catheter or minimal invasive instrument both receiver and transmitter being in the instrument or receiver being also transmitter
-
- A—HUMAN NECESSITIES
- A61—MEDICAL OR VETERINARY SCIENCE; HYGIENE
- A61B—DIAGNOSIS; SURGERY; IDENTIFICATION
- A61B90/00—Instruments, implements or accessories specially adapted for surgery or diagnosis and not covered by any of the groups A61B1/00 - A61B50/00, e.g. for luxation treatment or for protecting wound edges
- A61B90/39—Markers, e.g. radio-opaque or breast lesions markers
- A61B2090/3925—Markers, e.g. radio-opaque or breast lesions markers ultrasonic
-
- A—HUMAN NECESSITIES
- A61—MEDICAL OR VETERINARY SCIENCE; HYGIENE
- A61B—DIAGNOSIS; SURGERY; IDENTIFICATION
- A61B90/00—Instruments, implements or accessories specially adapted for surgery or diagnosis and not covered by any of the groups A61B1/00 - A61B50/00, e.g. for luxation treatment or for protecting wound edges
- A61B90/39—Markers, e.g. radio-opaque or breast lesions markers
- A61B2090/3925—Markers, e.g. radio-opaque or breast lesions markers ultrasonic
- A61B2090/3929—Active markers
-
- A—HUMAN NECESSITIES
- A61—MEDICAL OR VETERINARY SCIENCE; HYGIENE
- A61B—DIAGNOSIS; SURGERY; IDENTIFICATION
- A61B90/00—Instruments, implements or accessories specially adapted for surgery or diagnosis and not covered by any of the groups A61B1/00 - A61B50/00, e.g. for luxation treatment or for protecting wound edges
- A61B90/39—Markers, e.g. radio-opaque or breast lesions markers
- A61B2090/3954—Markers, e.g. radio-opaque or breast lesions markers magnetic, e.g. NMR or MRI
- A61B2090/3958—Markers, e.g. radio-opaque or breast lesions markers magnetic, e.g. NMR or MRI emitting a signal
-
- A—HUMAN NECESSITIES
- A61—MEDICAL OR VETERINARY SCIENCE; HYGIENE
- A61B—DIAGNOSIS; SURGERY; IDENTIFICATION
- A61B8/00—Diagnosis using ultrasonic, sonic or infrasonic waves
- A61B8/44—Constructional features of the ultrasonic, sonic or infrasonic diagnostic device
- A61B8/4483—Constructional features of the ultrasonic, sonic or infrasonic diagnostic device characterised by features of the ultrasound transducer
- A61B8/4488—Constructional features of the ultrasonic, sonic or infrasonic diagnostic device characterised by features of the ultrasound transducer the transducer being a phased array
-
- A—HUMAN NECESSITIES
- A61—MEDICAL OR VETERINARY SCIENCE; HYGIENE
- A61B—DIAGNOSIS; SURGERY; IDENTIFICATION
- A61B90/00—Instruments, implements or accessories specially adapted for surgery or diagnosis and not covered by any of the groups A61B1/00 - A61B50/00, e.g. for luxation treatment or for protecting wound edges
- A61B90/36—Image-producing devices or illumination devices not otherwise provided for
- A61B90/361—Image-producing devices, e.g. surgical cameras
-
- A—HUMAN NECESSITIES
- A61—MEDICAL OR VETERINARY SCIENCE; HYGIENE
- A61B—DIAGNOSIS; SURGERY; IDENTIFICATION
- A61B90/00—Instruments, implements or accessories specially adapted for surgery or diagnosis and not covered by any of the groups A61B1/00 - A61B50/00, e.g. for luxation treatment or for protecting wound edges
- A61B90/39—Markers, e.g. radio-opaque or breast lesions markers
-
- A—HUMAN NECESSITIES
- A61—MEDICAL OR VETERINARY SCIENCE; HYGIENE
- A61B—DIAGNOSIS; SURGERY; IDENTIFICATION
- A61B90/00—Instruments, implements or accessories specially adapted for surgery or diagnosis and not covered by any of the groups A61B1/00 - A61B50/00, e.g. for luxation treatment or for protecting wound edges
- A61B90/40—Apparatus fixed or close to patients specially adapted for providing an aseptic surgical environment
-
- A—HUMAN NECESSITIES
- A61—MEDICAL OR VETERINARY SCIENCE; HYGIENE
- A61F—FILTERS IMPLANTABLE INTO BLOOD VESSELS; PROSTHESES; DEVICES PROVIDING PATENCY TO, OR PREVENTING COLLAPSING OF, TUBULAR STRUCTURES OF THE BODY, e.g. STENTS; ORTHOPAEDIC, NURSING OR CONTRACEPTIVE DEVICES; FOMENTATION; TREATMENT OR PROTECTION OF EYES OR EARS; BANDAGES, DRESSINGS OR ABSORBENT PADS; FIRST-AID KITS
- A61F2/00—Filters implantable into blood vessels; Prostheses, i.e. artificial substitutes or replacements for parts of the body; Appliances for connecting them with the body; Devices providing patency to, or preventing collapsing of, tubular structures of the body, e.g. stents
- A61F2/02—Prostheses implantable into the body
- A61F2/04—Hollow or tubular parts of organs, e.g. bladders, tracheae, bronchi or bile ducts
- A61F2/06—Blood vessels
- A61F2/07—Stent-grafts
-
- A—HUMAN NECESSITIES
- A61—MEDICAL OR VETERINARY SCIENCE; HYGIENE
- A61F—FILTERS IMPLANTABLE INTO BLOOD VESSELS; PROSTHESES; DEVICES PROVIDING PATENCY TO, OR PREVENTING COLLAPSING OF, TUBULAR STRUCTURES OF THE BODY, e.g. STENTS; ORTHOPAEDIC, NURSING OR CONTRACEPTIVE DEVICES; FOMENTATION; TREATMENT OR PROTECTION OF EYES OR EARS; BANDAGES, DRESSINGS OR ABSORBENT PADS; FIRST-AID KITS
- A61F2/00—Filters implantable into blood vessels; Prostheses, i.e. artificial substitutes or replacements for parts of the body; Appliances for connecting them with the body; Devices providing patency to, or preventing collapsing of, tubular structures of the body, e.g. stents
- A61F2/82—Devices providing patency to, or preventing collapsing of, tubular structures of the body, e.g. stents
- A61F2/86—Stents in a form characterised by the wire-like elements; Stents in the form characterised by a net-like or mesh-like structure
- A61F2/90—Stents in a form characterised by the wire-like elements; Stents in the form characterised by a net-like or mesh-like structure characterised by a net-like or mesh-like structure
-
- A—HUMAN NECESSITIES
- A61—MEDICAL OR VETERINARY SCIENCE; HYGIENE
- A61F—FILTERS IMPLANTABLE INTO BLOOD VESSELS; PROSTHESES; DEVICES PROVIDING PATENCY TO, OR PREVENTING COLLAPSING OF, TUBULAR STRUCTURES OF THE BODY, e.g. STENTS; ORTHOPAEDIC, NURSING OR CONTRACEPTIVE DEVICES; FOMENTATION; TREATMENT OR PROTECTION OF EYES OR EARS; BANDAGES, DRESSINGS OR ABSORBENT PADS; FIRST-AID KITS
- A61F2/00—Filters implantable into blood vessels; Prostheses, i.e. artificial substitutes or replacements for parts of the body; Appliances for connecting them with the body; Devices providing patency to, or preventing collapsing of, tubular structures of the body, e.g. stents
- A61F2/02—Prostheses implantable into the body
- A61F2/30—Joints
- A61F2002/30001—Additional features of subject-matter classified in A61F2/28, A61F2/30 and subgroups thereof
- A61F2002/30003—Material related properties of the prosthesis or of a coating on the prosthesis
- A61F2002/3006—Properties of materials and coating materials
- A61F2002/30079—Properties of materials and coating materials magnetic
-
- A—HUMAN NECESSITIES
- A61—MEDICAL OR VETERINARY SCIENCE; HYGIENE
- A61F—FILTERS IMPLANTABLE INTO BLOOD VESSELS; PROSTHESES; DEVICES PROVIDING PATENCY TO, OR PREVENTING COLLAPSING OF, TUBULAR STRUCTURES OF THE BODY, e.g. STENTS; ORTHOPAEDIC, NURSING OR CONTRACEPTIVE DEVICES; FOMENTATION; TREATMENT OR PROTECTION OF EYES OR EARS; BANDAGES, DRESSINGS OR ABSORBENT PADS; FIRST-AID KITS
- A61F2/00—Filters implantable into blood vessels; Prostheses, i.e. artificial substitutes or replacements for parts of the body; Appliances for connecting them with the body; Devices providing patency to, or preventing collapsing of, tubular structures of the body, e.g. stents
- A61F2/82—Devices providing patency to, or preventing collapsing of, tubular structures of the body, e.g. stents
- A61F2/848—Devices providing patency to, or preventing collapsing of, tubular structures of the body, e.g. stents having means for fixation to the vessel wall, e.g. barbs
- A61F2002/8486—Devices providing patency to, or preventing collapsing of, tubular structures of the body, e.g. stents having means for fixation to the vessel wall, e.g. barbs provided on at least one of the ends
-
- A—HUMAN NECESSITIES
- A61—MEDICAL OR VETERINARY SCIENCE; HYGIENE
- A61F—FILTERS IMPLANTABLE INTO BLOOD VESSELS; PROSTHESES; DEVICES PROVIDING PATENCY TO, OR PREVENTING COLLAPSING OF, TUBULAR STRUCTURES OF THE BODY, e.g. STENTS; ORTHOPAEDIC, NURSING OR CONTRACEPTIVE DEVICES; FOMENTATION; TREATMENT OR PROTECTION OF EYES OR EARS; BANDAGES, DRESSINGS OR ABSORBENT PADS; FIRST-AID KITS
- A61F2210/00—Particular material properties of prostheses classified in groups A61F2/00 - A61F2/26 or A61F2/82 or A61F9/00 or A61F11/00 or subgroups thereof
- A61F2210/009—Particular material properties of prostheses classified in groups A61F2/00 - A61F2/26 or A61F2/82 or A61F9/00 or A61F11/00 or subgroups thereof magnetic
-
- A—HUMAN NECESSITIES
- A61—MEDICAL OR VETERINARY SCIENCE; HYGIENE
- A61M—DEVICES FOR INTRODUCING MEDIA INTO, OR ONTO, THE BODY; DEVICES FOR TRANSDUCING BODY MEDIA OR FOR TAKING MEDIA FROM THE BODY; DEVICES FOR PRODUCING OR ENDING SLEEP OR STUPOR
- A61M25/00—Catheters; Hollow probes
- A61M25/0067—Catheters; Hollow probes characterised by the distal end, e.g. tips
- A61M25/0074—Dynamic characteristics of the catheter tip, e.g. openable, closable, expandable or deformable
- A61M25/0075—Valve means
- A61M2025/0076—Unidirectional valves
-
- A—HUMAN NECESSITIES
- A61—MEDICAL OR VETERINARY SCIENCE; HYGIENE
- A61M—DEVICES FOR INTRODUCING MEDIA INTO, OR ONTO, THE BODY; DEVICES FOR TRANSDUCING BODY MEDIA OR FOR TAKING MEDIA FROM THE BODY; DEVICES FOR PRODUCING OR ENDING SLEEP OR STUPOR
- A61M25/00—Catheters; Hollow probes
- A61M25/01—Introducing, guiding, advancing, emplacing or holding catheters
- A61M2025/018—Catheters having a lateral opening for guiding elongated means lateral to the catheter
-
- A—HUMAN NECESSITIES
- A61—MEDICAL OR VETERINARY SCIENCE; HYGIENE
- A61M—DEVICES FOR INTRODUCING MEDIA INTO, OR ONTO, THE BODY; DEVICES FOR TRANSDUCING BODY MEDIA OR FOR TAKING MEDIA FROM THE BODY; DEVICES FOR PRODUCING OR ENDING SLEEP OR STUPOR
- A61M25/00—Catheters; Hollow probes
- A61M25/10—Balloon catheters
- A61M2025/1043—Balloon catheters with special features or adapted for special applications
- A61M2025/1052—Balloon catheters with special features or adapted for special applications for temporarily occluding a vessel for isolating a sector
-
- A—HUMAN NECESSITIES
- A61—MEDICAL OR VETERINARY SCIENCE; HYGIENE
- A61M—DEVICES FOR INTRODUCING MEDIA INTO, OR ONTO, THE BODY; DEVICES FOR TRANSDUCING BODY MEDIA OR FOR TAKING MEDIA FROM THE BODY; DEVICES FOR PRODUCING OR ENDING SLEEP OR STUPOR
- A61M25/00—Catheters; Hollow probes
- A61M25/01—Introducing, guiding, advancing, emplacing or holding catheters
- A61M25/0105—Steering means as part of the catheter or advancing means; Markers for positioning
- A61M25/0133—Tip steering devices
-
- A—HUMAN NECESSITIES
- A61—MEDICAL OR VETERINARY SCIENCE; HYGIENE
- A61M—DEVICES FOR INTRODUCING MEDIA INTO, OR ONTO, THE BODY; DEVICES FOR TRANSDUCING BODY MEDIA OR FOR TAKING MEDIA FROM THE BODY; DEVICES FOR PRODUCING OR ENDING SLEEP OR STUPOR
- A61M25/00—Catheters; Hollow probes
- A61M25/01—Introducing, guiding, advancing, emplacing or holding catheters
- A61M25/0105—Steering means as part of the catheter or advancing means; Markers for positioning
- A61M25/0133—Tip steering devices
- A61M25/0152—Tip steering devices with pre-shaped mechanisms, e.g. pre-shaped stylets or pre-shaped outer tubes
-
- A—HUMAN NECESSITIES
- A61—MEDICAL OR VETERINARY SCIENCE; HYGIENE
- A61M—DEVICES FOR INTRODUCING MEDIA INTO, OR ONTO, THE BODY; DEVICES FOR TRANSDUCING BODY MEDIA OR FOR TAKING MEDIA FROM THE BODY; DEVICES FOR PRODUCING OR ENDING SLEEP OR STUPOR
- A61M29/00—Dilators with or without means for introducing media, e.g. remedies
-
- A—HUMAN NECESSITIES
- A61—MEDICAL OR VETERINARY SCIENCE; HYGIENE
- A61M—DEVICES FOR INTRODUCING MEDIA INTO, OR ONTO, THE BODY; DEVICES FOR TRANSDUCING BODY MEDIA OR FOR TAKING MEDIA FROM THE BODY; DEVICES FOR PRODUCING OR ENDING SLEEP OR STUPOR
- A61M29/00—Dilators with or without means for introducing media, e.g. remedies
- A61M29/02—Dilators made of swellable material
Definitions
- the present invention relates generally to medical devices and methods, and more particularly to catheter devices and methods that are useable to form channels (e.g., penetration tracts) between vessels such as arteries and veins and vessels and other anatomical structures, in furtherance of a therapeutic purpose such as bypassing an arterial blockage, delivering therapeutic agents, or performing other interventional procedures.
- channels e.g., penetration tracts
- Atherosclerotic cardiovascular disease remains a major cause of premature death and morbidity, in most regions of the world.
- Various transluminal, catheter-based interventional techniques have been used, or proposed for use, to dilate or otherwise treat atherosclerotic obstructions that occur in coronary and/or peripheral arteries.
- These therapies have traditionally focused on treating the disease intraluminally, or from “within” the vessel lumen.
- these procedures may be performed by a venous approach wherein a tissue penetrating catheter is inserted into a vein and the desired passageway or puncture is initially formed by facilitating the passage of a tissue penetrator (e.g., a flow of energy or an elongate penetration member) from a catheter, through the wall of the vein in which the catheter is positioned, and into a target location such as the lumen of an adjacent vessel (e.g. the artery).
- a tissue penetrator e.g., a flow of energy or an elongate penetration member
- tissue penetrator e.g., a flow of energy or elongate penetration member
- the catheter is inserted into an artery and the desired passageway or puncture is initially formed by facilitating the passage of a tissue penetrator (e.g., a flow of energy or elongate penetration member) from the catheter, through the wall of the artery in which the catheter is positioned, and into the target location such as the lumen of an adjacent vessel (e.g. a vein).
- tissue penetrator e.g., a flow of energy or elongate penetration member
- tissue penetrator direction marker that indicates the direction in which the tissue penetrator will pass from the catheter and an imaging catheter lumen through which a separate intravascular ultrasound imaging catheter (IVUS catheter) can be advanced.
- IVUS catheter intravascular ultrasound imaging catheter
- the IVUS is used to image the target and the penetrator direction marker.
- the catheter can then be rotated within the blood vessel until the penetrator direction marker is aligned with the target, thereby indicating that subsequent advancement of the tissue penetrator from the catheter will result in the formation of the desired penetration tract between the blood vessel in which the catheter is positioned and the target.
- tissue-penetrating catheter in cases where the tissue-penetrating catheter is to be placed in a relatively small blood vessel such as branches of the coronary artery, carotid arteries, or smaller vessels located in the peripheral vasculature (e.g. vessels in the arms or legs), it is desirable for the tissue penetrating catheter to be of reduced profile while still having sufficient column strength and torque transfer properties to allow the operator to rotate and maneuver the distal end of the catheter within the patients body by twisting, pushing and pulling the proximal end of the catheter that remains outside of the patient's body.
- a relatively small blood vessel such as branches of the coronary artery, carotid arteries, or smaller vessels located in the peripheral vasculature (e.g. vessels in the arms or legs)
- tissue penetrating catheter designs that do not include an imaging catheter lumen while still maintaining the capability of imaging from a vantage point near the catheter's distal end to facilitate proper rotational orientation of the tissue penetrating catheter to facilitate aiming of the tissue penetrator.
- tissue penetrating catheters of this invention facilitates accurate and reliable orientation of a tissue penetrating catheter in a blood vessel so that an adjacently located blood vessel or other anatomical target can be accurately penetrated, while eliminating the need for formation of a separate imaging lumen within the tissue penetrating catheter.
- the tissue penetrating catheters of this invention may be of reduced profile (e.g., 5-7 French diameter).
- a tissue penetrating catheter device that comprises an elongated catheter having an instrument lumen to facilitate the passage of a tissue penetrator, a penetrator direction marker, and an integral imaging transducer (e.g., an IVUS transducer).
- an integral imaging transducer e.g., an IVUS transducer
- the imaging transducer is useable to provide an imaging signal from which an image of the target structure and other adjacent anatomical structures can be obtained.
- the imaging transducer is fixedly mounted on or within the catheter, thereby eliminating the need for a separate imaging lumen which requires sufficient clearance in the lumen to allow a separate imaging transducer to be advanced and retracted in the lumen. This in turn enables the catheter to be of smaller cross sectional area.
- the imaging transducer by fixedly mounting the imaging transducer on the catheter, its orientation relative to the catheter and certain components on the catheter can be specifically known.
- imaging transducer which includes a plurality of imaging elements fixedly mounted on the catheter to provide an imaging signal from which an image of adjacent structures can be obtained.
- the imaging elements are mounted on the catheter at known circumferential locations relative to the path that will be followed by the tissue penetrator as the tissue penetrator exits from the catheter.
- the image obtained from the imaging signal from the imaging transducer is useable by the operator to rotationally orient the catheter such that, when the tissue penetrator subsequently exits the catheter, the tissue penetrator will extend into the desired target.
- the imaging transducer is useable to image other structures to allow several diagnostic functions such as assessing calcification of a vessel, distance of the target location to the vessel in which the catheter is positioned, and the presence of other devices.
- Another advantageous approach to imaging is to provide an imaging marker on the catheter to form, on the image obtainable from the imaging signal from the imaging transducer, a penetrator path indication.
- This penetrator path indication is indicative of the path that will be followed by the tissue penetrator when the tissue penetrator exits from the catheter.
- the imaging transducer and the marker are useable in cooperation with each other to enable the operator to rotationally orient the catheter until the penetrator path indicator is aimed at the target thereby indicating that when the tissue penetrator exits from the catheter it will extend to the target as desired.
- the imaging elements fixedly mounted on the catheter at known circumferential locations can also be used to orient the catheter without any imageable markers.
- an imageable marker When used, it preferably includes a structure formed on the catheter including at least one longitudinal member disposed circumferentially about a hollow interior space. When a plurality of longitudinal members is employed, said longitudinal members are disposed at circumferentially spaced apart locations about a hollow interior space thereby forming a cage. At least one of such longitudinal members is located at a circumferential position that is axially aligned with the path or plane of the path that will be followed by the tissue penetrator as it exits from the catheter.
- the tissue penetrator may be any instrument for penetrating the target of interest.
- the tissue penetrator may be or include a laser beam, flow of energy, or an instrument which will itself puncture or penetrate the target of interest.
- One preferred form of tissue penetrator includes a needle member formed of resilient material that is biased to a preformed curved configuration with the needle member being initially disposed in a retracted position within the catheter and subsequently advanceable from the catheter to an extended position wherein the needle member assumes its preformed curved configuration.
- the imaging transducer of the current invention is preferably an ultrasound imaging transducer and more preferably a phased array transducer. Because the phased array transducer can be fixed in a permanent manner on or within the catheter body, said phased array transducer has the advantage of being useable with or with out an imageable marker to obtain reliable and accurate orientation. Moreover, the nature of the imaging elements and the fact the imaging signal can be transmitted by multiplexing numerous signals on fewer lead wires contribute to the small profile of the catheter.
- the catheter may include an elongated catheter body having a proximal end, a distal end and a peripheral wall with at least a distal region of the catheter body being flexible enough to navigate through the coronary vessels.
- the catheter body has an penetrator lumen that terminates distally at an exit location on the peripheral wall and contains or is adapted to receive an instrument or other tissue penetrator for penetrating the blood vessel in which the catheter body is received (“resident blood vessel”) to a target adjacent to the resident blood vessel.
- the phased array transducer is preferably an onboard transducer which is mounted on or within the catheter body and is inseparable or not removable from the catheter body.
- the phased array transducer is carried by the catheter body in fixed relationship to the catheter body and in some instances, in a known orientation relative to the exit location.
- the phased array transducer provides an imaging signal for use in locating the target and identifying the angular orientation of the exit location. Accordingly, with the penetrator received in the penetrator lumen the catheter body can be rotated to properly orient the exit location so that the penetrator can penetrate the resident blood vessel into which the catheter body is receivable and into the target.
- the catheter body is of sufficiently small profile so that it can be received within a coronary artery, branch or peripheral vessel if desired.
- the catheter may be considered as including an imageable marker which may include a plurality of circumferentially spaced imageable members carried by the catheter body in a known circumferential orientation relative to the exit location.
- the imageable markers can be sensed by the phased array transducer and used to locate the target and in identifying the angular orientation of the exit location.
- the phased array transducer may comprise a plurality of imaging elements arranged on the catheter body with at least one of the elements being at a known circumferential location relative to the exit location so that such at least one element is useable to identify the angular orientation of the exit location.
- the at least one element may form an image region that defines an acceptable zone of penetration for the tissue penetrator.
- the catheter body includes a major section which includes a proximal end and the exit location and a distal tip section extending from the major section to the distal end.
- the distal portion of the distal tip section has a smaller cross sectional area than the adjacent region of the major section.
- An active imaging apparatus is carried by the catheter body and includes imaging elements fixedly mounted on the distal tip section and a lead or leads extending proximally from the imaging elements along the catheter body. Accordingly, the reduced diameter portions of the catheter body are used to mount the imaging elements, to thereby minimize the profile of the catheter at this region of the catheter.
- the major section terminates distally in a distal opening and a proximal portion of the distal tip section is received in the distal opening and a distal portion of the distal tip section extends distally of the distal opening.
- the method of this invention includes inserting and transluminally advancing the catheter of this invention into a first blood vessel, actuating the imaging transducer and moving the catheter within the first blood vessel until the penetrator path indication is aimed at the target, and thereafter facilitating the exit of the tissue penetrator from the catheter through the wall of the first blood vessels and into the target. Thereafter various procedures may be performed such as the delivery of therapeutic agents or diagnostic devices.
- the method may also include advancing a first crossing guidewire through the lumen of the tissue penetrator and into the target, such as the lumen of the second blood vessel or other target and retracting the tissue penetrator into the catheter leaving the first crossing guidewire in place.
- the first crossing guidewire is removed from the lumen of the tissue penetrator and reintroduced into the main guidewire lumen of the catheter and the catheter may be readvanced over the first crossing guidewire to a position wherein the catheter extends through the lumen of the first blood vessel, and through the openings created in the walls of the first and a second blood vessel. Thereafter, the catheter can be advanced distally in the lumen of the second blood vessel.
- a different location e.g.
- the imaging transducer is actuated and the catheter is moved within the second blood vessel as required to cause the penetrator path indication to be aligned with the lumen of the first blood vessel.
- the tissue penetrator is advanced from the catheter through the wall of the second blood vessel and through the wall and into the lumen of the first blood vessel.
- a second crossing guidewire is advanced through the lumen of the tissue penetrator and into the lumen of the first blood vessel.
- the tissue penetrator is retracted into the catheter leaving the second crossing guidewire in place such that it extends from the lumen of the first blood vessel into the lumen of the second blood vessel and back into the lumen of the first blood vessel.
- a radial expandable connector can be used to provide a blood flow passageway between the blood vessels.
- a connector delivery catheter can be advanced over the second crossing guidewire and the connector implanted such that the connector extends from the lumen of the first blood vessel through the openings created in the walls of the first and second blood vessels through the lumen of the second blood vessel through the openings created in the walls of the first and second blood vessels and back into the lumen of the first blood vessel.
- FIG. 1 is schematic illustration showing the catheter of this invention in use on a human patient.
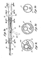
- FIG. 2 is an elevational view of one form of catheter constructed in accordance with the teachings of this invention.
- FIG. 3 a is an enlarged fragmentary elevational view partially in section showing a distal portion of the catheter.
- FIG. 3 a ′ is an enlarged, cut-away view of the wire braid formed within the distal section of the catheter body.
- FIG. 3 a ′′ is a diagram of a catheter braid illustrating the braid angle and pick count of the braid.
- FIG. 3 b is an enlarged elevational view showing the distal tip section of the catheter.
- FIGS. 3 c , 3 d and 3 e are cross sectional views taken generally along lines 3 c - 3 c , 3 d - 3 d , and 3 e - 3 e of FIG. 3 respectively.
- FIG. 3 f is a perspective view of the marker structure of the catheter embodiment shown in FIGS. 3 a - 3 b.
- FIG. 3 g is a cross sectional view through FIG. 3 g - 3 g of FIG. 3 a.
- FIG. 4 is an elevational view similar to FIG. 3 a illustrating a second embodiment of the catheter.
- FIGS. 4 a and 4 a ′ are schematic diagrams of a annular phased array transducers that may be mounted within catheters of the present invention.
- FIG. 4 b is a schematic diagram of an alternative single element transducer that is rotatable within or in conjunction with the catheter.
- FIGS. 5 a and 5 b are elevational views of the screen of the imaging apparatus showing standard quadrant-indicating hash marks on the screen, and illustrating the manner in which the fixed-transducer catheter of FIG. 4 can be rotationally oriented within the blood vessel to cause a penetrator-path-indicating element (and hence the penetrator) to become aimed at a target location to which the penetrator is intended to travel.
- FIGS. 5 c and 5 d are elevational views of the screen of an imaging apparatus whereon a line has been marked to denote the location of the particular penetrator-path-indicating element of the fixed-transducer catheter of FIG. 4 , and illustrating the manner in which the line can be used to facilitate rotational orientation of the catheter within the resident blood vessel such that the penetrator-path-indicating transducer element (and hence the penetrator) are aimed at the target location.
- FIGS. 5 e and 5 f are elevational views of the screen of an imaging apparatus displaying an image from a fixed-transducer catheter as in FIG. 4 wherein the penetrator-path-indicating element(s) of the imaging transducer is/are electronically modified to produce an image that is i) visually distinct from the images produced by the other elements of the transducer array, or ii) modified to produce multiple lines that define a path region, and illustrating the manner in which the visually distinct image of the penetrator-path-indicating transducer can be used to facilitate rotational orientation of the catheter within the resident blood vessel such that the penetrator-path-indicating transducer element (and hence the penetrator) are aimed at the target location or conversely, the path region incorporates the target location within its scope.
- FIGS. 6 a and 6 b are views similar to FIGS. 5 a and 5 b respectively illustrating how the catheter embodiment of FIG. 3 a can be rotationally oriented within the blood vessel to cause the image created by the penetrator-path-indicating member of the marker structure (i.e., the particular strut member of the marker structure that is aligned with the path that will be followed by the tissue penetrator when the penetrator is advanced from the catheter body) to be aimed at the target location to which the penetrator is intended to travel.
- the penetrator-path-indicating member of the marker structure i.e., the particular strut member of the marker structure that is aligned with the path that will be followed by the tissue penetrator when the penetrator is advanced from the catheter body
- FIGS. 7 a - 8 d illustrate the triangle of Brock-Moscheau (a name given to the formation bounded by the relationship between the arterial and venous system on the heart) and show by way of example as preferred method that can be carried out in accordance with the teachings of this invention.
- FIG. 2 shows a catheter 11 constructed in accordance with the teachings of this invention
- FIG. 1 shows the catheter 11 in use on a human patient
- the catheter 11 includes an elongated catheter body 13 having a proximal end 15 , a distal end 17 , a handle 19 and a hub 21 coupled to the proximal end of the catheter body 15 and to the handle.
- the handle 19 may also serve as a controller for use in advancing and retracting the penetrating instrument, such as a tissue penetrator 85 described more fully below.
- the Catheter Body is a member of the Catheter Body
- the catheter body 13 includes a relatively rigid proximal section 23 shown in FIGS. 2 and 3 a which may be constructed, for example, of a metal hypo tube and an elongated flexible distal section or region 25 suitably joined to the proximal section.
- a hand piece 19 is attached to the proximal end of the proximal section 23 , as shown. In the preferred embodiment the hand piece 19 and proximal section 23 are approximately 100 cm in length.
- the flexible distal section 25 may incorporate a reinforcement member such as a wire braid 400 as shown in FIGS. 3 a and 3 a ′ and, in the preferred embodiment is approximately 30 cm in length.
- the braid 400 terminates approximately 3 cm from the distal end 17 .
- FIG. 3 a ′′ illustrates the braid angle A and pick count PC of the catheter braid 400 .
- the “pick count” PC of the braid is, as is well known in the art, a function of the braid angle A (i.e., the greater the braid angle the more picks per inch). Also, the torque transmission and stiffness of the braided distal section 25 is a function of the braid angle (i.e., a braid angle of 90 degrees provides maximum torque transfer and a braid angle of 0 degrees provides minimum torque transfer).
- a braid angle of 90 degrees provides maximum torque transfer and a braid angle of 0 degrees provides minimum torque transfer.
- cardiovascular catheters used in procedures such as those described herein utilizing a venous approach have braid angles A that result in a pick count of 50-70 picks per inch.
- the catheter 11 In instances where the catheter 11 is intended for use in a coronary artery, at least the distal section 25 of the catheter 11 is sized to be received within a coronary artery, and therefore can be received within either a coronary artery or a coronary vein or other lumens of equal diameter.
- the catheter body section 13 has a penetrator lumen 27 that terminates distally at an exit location or exit port 29 ( FIG. 3 a ) on a peripheral wall 31 of the catheter body.
- the penetrator lumen 27 extends proximally from the exit port 29 to the proximal end 15 of the catheter body 13 and communicates with the interior of the handle 19 through the hub 21 .
- the penetrator lumen 27 contains or is adapted to receive an instrument, such as the tissue penetrator 85 shown in FIG. 3 a , for penetrating out of the blood vessel in which the catheter 11 resides (i.e., the “resident vessel”) and to a target location.
- the exit port 29 is preferably located a short distance proximally of the distal end 17 .
- a radiopaque marker 33 is mounted on the lumen 27 adjacent the exit port 29 .
- the catheter body 13 also has a guidewire lumen 35 ( FIG. 3 a ) which extends to the distal end 17 of the catheter body 15 .
- the guidewire lumen 35 extends proximally to an inlet port 37 at the peripheral wall 31 closely adjacent the proximal section 23 .
- the catheter body also has a lead lumen 39 ( FIG. 3 c ) for a purpose described below.
- a major section 51 of the catheter body 13 terminates distally in a distal opening 53 , and the catheter body includes a distal tip section 55 of soft, flexible, biocompatible material ( FIGS. 3 a and 3 b ).
- a proximal portion 56 of the distal tip section 55 is received in the distal opening 53 and a distal portion of the distal tip section extends distally to the distal end 17 .
- the distal portion of the distal tip section 55 i.e. the portion of the distal tip section 55 which extends beyond the distal end of the major section 51 is of smaller cross sectional area than the adjacent region of the major section to thereby define an annular shoulder 57 on the catheter body 13 .
- the exit port 29 is spaced slightly proximally of the shoulder 57 .
- An imaging transducer 81 is fixedly mounted on the catheter 11 , and in the embodiment illustrated in FIG. 3 a , the imaging transducer is mounted on the distal tip section 55 just distally of the shoulder 57 .
- the imaging transducer 81 is a phased array transducer of the type shown schematically in FIG. 4 a and is operative to image 360.degree. about the catheter 11 .
- This imaging transducer 81 comprises an annular array of individual crystals or elements 121 is coupled to a multiplex circuit 83 which is within the major section 51 of the catheter body 13 adjacent the shoulder 57 , and the multiplex circuit 83 is in turn coupled to leads 85 which extend through the lead lumen 39 and a port 87 ( FIG.
- the imaging transducer When activated, the imaging transducer emits ultrasound signals and receives back echoes or reflections which are representative of the nature of the surrounding environment.
- the imaging transducer provides an imaging signal from which an image of the surrounding structure can be created by signal processing apparatus located in the imaging console 89 and viewed on a standard display screen located near the operating table on which the patient is positioned.
- the phased array transducer and the accompanying circuitry and the imaging console 89 may be obtained from Endosonics of Collinso Cordova, Calif. or Intravascular Research Limited (United Kingdom).
- a rotatable imaging transducer 81 r of the type illustrated schematically in FIG. 4 b may be used.
- This alternative transducer 81 r comprises one (or more than one) imaging element 121 r that is mounted on a rotating shaft 82 that extends through a portion of the catheter body (e.g., and out of port 39 ) such that it can be rotated relative to the catheter body.
- this transducer 81 r may be fixedly mounted within or upon the catheter body and the entire catheter body may be rotated in order to effect rotational movement of the transducer element 121 r.
- an imageable marker structure 101 is fixedly mounted on the catheter body 13 in a known circumferential orientation relative to the exit port 29 .
- the marker structure 101 is in the form cage ( FIG. 3 f ) and the transducer 81 is within the cage.
- This marker structure 101 comprises a plurality of longitudinal members 103 and 103 pp disposed at circumferentially spaced apart locations about a hollow interior space 105 .
- the hollow space 105 receives the distal tip section 55 and the transducer 81 , and the transducer 81 is an onboard transducer in that it is inseparable from and not removable from the catheter body 13 .
- the transducer 81 is attached to or wrapped around the catheter body 13 and permanently retained by a suitable potting composition or adhesive.
- one of the longitudinal members 103 pp is designated as the penetrator path indicating member and is positioned at a circumferential position that is axially aligned with the exit port 29 or otherwise positioned to be indicative of the path that will be followed by the tissue penetrator 85 as it is advanced from the catheter body 13 through the exit port 29 .
- the imageable marker structure 101 forms on the image obtainable from the imaging signal from the imaging transducer a penetrator path indication that indicates the path that will be followed by the tissue penetrator when the tissue penetrator 85 exits from the catheter.
- the imaging transducer 81 and the marker 101 are both mounted on the distal tip section 55 which has a smaller cross sectional area than does the adjacent region of the major section 51 of the catheter body 13 . Accordingly, the cross sectional area of the catheter body 13 at the region containing the imaging transducer 81 and the marker 101 can still be relatively small.
- the exit location 29 is closely adjacent to the imaging transducer 81 and may be, for example, about 3 mm from the imaging transducer. This minimizes the likelihood of any significant torsional displacement of the exit location 29 relative to the marker 101 and imaging transducer 89 . It may also be appreciated that the imaging transducer may be mounted such that the exit port is located directly at the point at which the transducer is affixed to the catheter, eliminating any displacement.
- FIGS. 6 a and 6 b show an image of what the operator sees on the display screen of the imaging console 89 when the catheter 11 is advanced into the resident blood vessel.
- FIG. 6 a shows an image of the catheter 11 , an image 143 of the resident blood vessel into which the catheter 11 has been inserted (i.e., the blood vessel in which the catheter 11 resides) and an image of a target blood vessel 145 adjacent to the blood vessel 143 .
- the blood vessels represented by images 143 and 145 are a coronary artery and coronary vein, respectively.
- the tissue penetrator 85 were to be advanced from the catheter 11 while the catheter 11 is in the rotational orientation shown in FIG. 6 a , the tissue penetrator would not advance into the lumen of the target blood vessel 145 , as desired.
- the operator may cause the image created by the penetrator-path-indicating member 103 pp of the marker structure 101 , as represented by line or artifact 147 , to extend into the lumen of the target blood vessel 145 as illustrated in FIG. 6 b .
- the tissue penetrator 85 were to be advanced form the catheter 11 while the catheter 11 is in the rotational orientation shown in FIG. 6 b , the tissue penetrator 85 would advance into the lumen of the target blood vessel 145 , as desired.
- FIG. 4 shows a second embodiment of the catheter 11 a which is identical to the catheter 11 in all respects not shown or specified as being different herebelow. Portions of the catheter 11 a corresponding to portions of the catheter 11 are designated by corresponding reference numerals followed by the letter a.
- the catheter 11 a has no imageable marker structure 101 . Instead, its imaging transducer 81 a is mounted in a fixed position such that one particular element 121 pp (or a group of particular elements) is/are designated as the penetrator path but rather is mounted in a fixed orientation within or upon the catheter such that a selected one (or selected ones) of the individual imaging elements 121 (e.g., crystals) of the phased array is positioned in known spatial relation to the path or plane of the path that will be followed by the tissue penetrator as exits from the catheter.
- the imaging transducer 81 a is mounted in a fixed position such that one particular element 121 pp (or a group of particular elements) is/are designated as the penetrator path but rather is mounted in a fixed orientation within or upon the catheter such that a selected one (or selected ones) of the individual imaging elements 121 (e.g., crystals) of the phased array is positioned in known spatial relation to the path or plane of the path that will be followed by the
- This selected one (or ones) of the imaging elements 121 shall be referred to herein as the “penetrator-path-indicating element 121 pp .”
- the imaging elements 121 which may be adhered to the catheter body 13 a , are mounted on the catheter 11 at known circumferential locations relative to the path that will be followed by a tissue penetrator as the tissue penetrator advances from the catheter 11 through the exit port 29 a .
- the image obtained from the imaging signal from the imaging transducer 81 a is thereby useable by the operator to rotationally orient the catheter 11 such that when the tissue penetrator subsequently exits from the catheter, the tissue penetrator will extend into the target as desired.
- the imaging transducer 81 a can be used to provide an imaging signal for use in locating an adjacent blood vessel or other structure and identifying the angular orientation of the exit location. If desired, the imaging elements of the imaging transducer 81 of the catheter 11 can be oriented in the same fashion as described above for the catheter 11 a . In this event, the only difference between the catheters 11 and 11 a would be that the catheter 11 has an imaging marker 101 and the catheter 11 a does not.
- FIG. 5 a shows an image 151 of the catheter 11 a ( FIG. 4 ) in the resident blood vessel 143 in which that catheter is positioned, as well as an image of the target location 145 , shown here as another blood vessel.
- Standard serial hash marks 300 a , 300 b , 300 c and 300 d are formed on the imaging screen as shown, generally dividing the screen into four quadrants.
- the transducer 81 b is fixedly mounted within the catheter 11 a such that its penetrator path indicating transducer element 121 pp is in the 12 o'clock position and aligned with the top array of hash marks 300 a on the imaging screen.
- the top array of hash marks 300 a serve as a visual indicator of the path that will be followed by the tissue penetrator 85 as it is advanced from the catheter 11 a .
- the top hash marks 300 a do not enter the target location 145 and thus, it can be concluded from this image that the tissue penetrator 85 is not properly aimed at the target location.
- by rotating the catheter 11 a in the resident blood vessel 143 to the position shown in FIG.
- the top array of hash marks 300 a is caused to pass directly through the target location 145 , thus indicating to the operator that the tissue penetrator 85 can now be advanced from the exit port 29 a to properly penetrate from the resident vessel 143 into the target location 145 , as desired.
- FIGS. 5 c and 5 d show an image 151 a of the catheter 11 a ( FIG. 4 ) in the resident blood vessel 143 in which that catheter is positioned, as well as an image of the target location 145 , shown here as another blood vessel.
- a vertical line 146 has been created on the screen 146 in alignment with the position of a penetrator path indicating transducer element 121 pp of the phased array transducer 81 b .
- the line 146 serves as a visual indicator of the path that will be followed by the tissue penetrator 85 as it is advanced from the catheter 11 a .
- this line 146 may be created on the imaging screen 89 electronically (e.g., as an illuminated or colored line on the image) or it may be physically marked on the screen 89 (e.g., by felt tipped marker or other suitable marking material or apparatus such as a template).
- the line 146 does not enter the target location 145 and, thus, it can be concluded form this image that the tissue penetrator 85 is not properly aimed at the target location 145 .
- by rotating the catheter 11 a in the resident blood vessel 143 to the position shown in FIG.
- the line 146 is caused to pass directly through the target location 145 , thus indicating to the operator that the tissue penetrator 85 can now be advanced from the exit port 29 a to properly penetrate from the resident vessel 143 into the target location 145 , as desired.
- FIGS. 5 e and 5 f show an image 151 b of the catheter 11 a ( FIG. 4 ) in the resident blood vessel 143 in which that catheter is positioned, as well as an image of the target location 145 , shown here as another blood vessel.
- the penetrator path indicating element 121 pp of the phased array transducer 81 b has, in this case, been modified to provide an image that is enhanced or otherwise visually discernible from the images produced by the other transducer elements 121 b of the array. In this manner, a penetrator path region 148 is visible on the screen 89 in the region that is imaged by the penetrator path indicating element 121 pp .
- the penetrator path region 148 serves as a visual indicator of the path that will be followed by the tissue penetrator 85 as it is advanced from the catheter 11 a . It will be appreciated by those of skill in the art that this penetrator path region 148 may be created by causing the penetrator path transducer element 121 pp to receive more power than the other transducer elements 121 b or by otherwise modifying or processing the signal received from that penetrator path indicating transducer element 121 pp . In the showing of FIG.
- the target 145 is not encompassed by the penetrator path region 148 and, thus, it can be concluded from this image that the tissue penetrator 85 is not within acceptable range of the target location 145 .
- the target 145 is brought within an appropriate range of the penetrator path region 148 , thus indicating to the operator that the tissue penetrator 85 can now be advanced from the exit port 29 a to properly penetrate from the resident vessel 143 into the target location 145 , as desired.
- the penetrator path indicating transducer element 121 pp or the output on the imaging console may be additionally modified to allow imaging or project images of only that region within a predetermined distance (e.g., up to 3 mm) of the resident vessel 143 thereby signalling to the operator the possible target locations that are out of the intended range of the tissue penetrator 85 or subsequent systems or devices that may be employed to complete the intended procedure.
- a predetermined distance e.g., up to 3 mm
- this region 148 may be created on the imaging screen 89 electronically (e.g., as an illuminated or colored sector on the image) or it may be physically marked on the screen 89 (e.g., by felt tipped marker or other suitable marking material or apparatus such as a template).
- the penetrator path region may be defined by the enhancement (e.g. electronic illumination, marker or template) of two lines such as that depicted by line 146 , modified to define boundaries to the region 148 within which is defined an acceptable range of penetration zone.
- the electronically enhanced penetrator path indicating transducer 121 pp may be used in conjunction with the hash marks 300 a , 300 b , 300 c , and 300 d shown in FIGS. 5 a - 5 b and/or the line 146 shown in FIGS. 5 c and 5 d , thereby enabling the operator to utilize multiple indicia to determine the appropriateness of the size and distance range of the target location 145 before advancing the tissue penetrator 85 . In this way, the operator is provided with a range of acceptable accuracy depending on the desired result and taking into account what procedures may be performed subsequently (i.e. placement of a connection device or other catheter devices).
- the catheters 11 and 11 a may be used in the performance of various revascularization procedures including, as described in detail herebelow, a Percutaneous In Situ Coronary Artery Bypass (PICAB) procedure as well as a Percutaneous In Situ Coronary Venous Arterialization (PICVA) procedure.
- PICAB Percutaneous In Situ Coronary Artery Bypass
- PICVA Percutaneous In Situ Coronary Venous Arterialization
- the catheter system of the present invention may also be useable to perform various other procedures such as directed drug delivery procedures of the type described in co-pending U.S. patent application Ser. No. 09/048,147 and other revascularization procedures.
- the PICVA procedure is useable to effectively provide arterial perfusion of an ischemic region of myocardium, even in cases where a coronary artery is so extensively obstructed that no patent distal portion of the artery remains available to carry bypassed arterial; flow.
- FIG. 7 a is a diagram of a portion of the coronary vasculature known as known as the Triangle of Brouck-Moscheau.
- the Triangle of Brock-Moscheau is defined by the left anterior descending coronary artery LAD, the circumflex coronary artery CX, the anterior inter ventricular vein AIV.
- the arteries CX and LAD are both joined to and receive blood from the left main artery.
- the great coronary vein GCV forms a downwardly opening U-shaped configuration with the legs of the U being adjacent to arteries CX and LAD. Obstructions resulting from a build up of plaque may be found in either or both of the arteries CX and LAD.
- FIG. 7 a shows an obstruction 171 in the left anterior descending artery LAD.
- a coronary guide catheter 173 is advanced into the left coronary ostium and a guidewire 175 such as a 0.014 inch guidewire is advanced through the guide catheter 173 into the lumen 176 of the left anterior descending artery (LAD) to a location just proximal of the obstruction 171 as shown in FIG. 7 b.
- LAD left anterior descending artery
- the tissue penetrating catheter 11 is percutaneously inserted and transluminally advanced through the guide catheter 173 and over the guidewire 175 into the left anterior descending artery LAD to a location just proximal of the obstruction 171 ( FIG. 7 c ).
- the axial position of the guidewire 175 and of the catheter 11 within the artery LAD is known by conventional techniques which may include, for example, fluoroscopy and the radiopaque marker 33 . Although this procedure is described with reference to the catheter 11 , it should be understood that an identical procedure would be followed for the catheter 11 a . As shown in FIG.
- the leads 85 are coupled to the imaging console 89 and the imaging transducer 81 is actuated to obtain images as shown, by way of example, in FIG. 6 a .
- the catheter 11 is moved, and more specifically rotated within the artery LAD until the exit port 29 and hence a penetrator path indication or path region 148 is aimed at the lumen of the vein AIV.
- the tissue penetrator 85 is advanced through the exit opening 29 from the catheter 11 through the walls of the artery LAD and the vein AIV and into the lumen 177 of the vein AIV upstream of the obstruction 171 as shown in FIG. 7 d.
- a first crossing guidewire 179 is advanced through the lumen 851 of the tissue penetrator 85 and into the lumen 177 of the vein AIV.
- the tissue penetrator 85 is then retracted into the catheter 11 leaving the crossing guidewire 179 in place such that it extends from the lumen 176 of the artery LAD into the lumen 177 of the vein AIV.
- the catheter 11 is then removed by retracting it back over the guidewire 175 and out through the guide catheter 173 leaving the guidewires 175 and 179 in place.
- a tract modification or enlargement apparatus 190 may be advanced over the first crossing guidewire 179 to enlarge or otherwise modify the penetration tract.
- This tract modifying apparatus 190 may comprise a balloon catheter or radiofrequency tissue severing device as described in U.S. patent application Ser. No. 09/056,589, the entirety of which is expressly incorporated herein by reference.
- the tract modifying apparatus 190 and first crossing guidewire 179 are removed, leaving open the passageway PW between the artery LAD and vein GCV/AIV. Also, a catheter 191 is introduced into the coronary venous sinus CS and a guidewire 198 is advanced through the catheter 191 and into the vein GCV.
- the catheter 191 is then removed and a coronary sinus guide catheter 196 is introduced over the guidewire 198 into the coronary venous sinus.
- a subselective sheath 192 and introducer 194 are then advanced through the coronary sinus guide catheter 191 , over the guidewire 179 and into the vein GCV proximal to the passageway PW.
- This coronary sinus guide catheter 196 , subselective sheath 192 and introducer 194 may be of the type described in detail in concurrently filed U.S. patent application Ser. No. 09/282,276 entitled CATHETERS, SYSTEMS AND METHODS FOR PERCUTANEOUS IN SITU ARTERIO-VENOUS BYPASS, the entirety of which is expressly incorporated herein by reference.
- the introducer 194 is removed leaving the subselective sheath 192 and guidewire 194 in place.
- an embolic blocker 200 is advanced through the subselective sheath 192 and implanted in the vein GCV proximal to the passageway. This completes the PICVA procedure, allowing arterial blood to flow from the artery LAD, through the passageway PW and into the vein GCV/AIV where it flows in the direction opposite normal venous return so as to retro-perfuse the ischemic myocardium through the coronary vein(s).
- FIGS. 8 a - 8 d show, in step-by-step fashion, an example of the manner in which a two channel PICAB procedure may be performed, or in the alternative, how the above-described PICVA procedure ( FIGS. 7 a - 7 k ) may be converted into a two-channel PICAB procedure.
- This PICAB procedure will typically be used in cases where the obstruction 171 a does not extend into the distal LAD and thus, a patent distal LAD is available to carry blood flow to the ischemic myocardium.
- the guidewire 175 is withdrawn and the catheter 11 is advanced over the crossing guidewire 179 to the position shown in FIG. 8 a .
- the tissue penetrator is retracted over the crossing guidewire 189 to remove the first crossing guidewire from the tissue penetrator 85 and then the crossing guidewire 179 is introduced into the main guidewire lumen 35 of the catheter 11 . Consequently, the catheter 11 can be advanced over the crossing guidewire 179 to the position of FIG.
- the catheter extends through the lumen 176 of the artery LAD, through the openings created in the walls of the artery LAD and the vein AIV and into the lumen 177 of the vein AIV.
- the longitudinal or axial position of the catheter 11 in the vein AIV relative to the obstruction 171 is known using conventional techniques. With the catheter 11 in the position shown in FIG. 8 a , the imaging transducer 81 is again actuated and the catheter ills rotated within the vein AIV as required and as explained above in connection with FIGS. 6 a and 6 b to cause the penetrator path indication to be aimed at the lumen of the artery LAD at a location downstream of the obstruction 171 .
- the tissue penetrator 85 is advanced from the catheter 11 through the walls of the vein AIV and the artery LAD and into the lumen of the artery LAD as shown in FIG. 8 a . Also, as shown, a second crossing guidewire 181 is advanced through the lumen 85 L of the tissue penetrator 85 and into the lumen of the artery LAD.
- the tissue penetrator 85 is then retracted into the catheter 11 leaving the second crossing guidewire 181 in the artery LAD.
- the catheter 11 and the first crossing guidewire 179 are then removed leaving the second crossing guidewire 181 in place such that it extends from the artery LAD into the lumen 177 of the vein AIV and back into the artery LAD as shown in FIG. 8 b.
- an expandable connector 191 may be employed. As shown in FIGS. 8 c and 8 d , the connector 191 is implanted such that the connector extends from the artery LAD through the openings created in the walls of the artery LAD and the vein AIV, through the lumen 177 of the vein AIV, through the openings created in the walls of the vein and artery LAD distally of the obstruction 171 and back into the artery LAD.
- the expandable connector may be implanted, for example, by utilizing a connector delivery catheter (not shown) and advancing such connector delivery catheter over the second crossing guidewire 181 .
- the second crossing guidewire After implantation of the connector 191 , the second crossing guidewire is withdrawn and so is the guide catheter 173 . It will be appreciated that instead of deploying one expandable connector, it may be preferred to employ two shorter connectors (not shown) at each of the first and second crossing sites. In this approach, a proximal and distal embolic blocker may be required to be placed in the vein proximal to the first crossing site (in the GCV) and distal to the second crossing site (in the AIV) to complete the bypass circuit.
Landscapes
- Health & Medical Sciences (AREA)
- Life Sciences & Earth Sciences (AREA)
- Surgery (AREA)
- Engineering & Computer Science (AREA)
- Biomedical Technology (AREA)
- General Health & Medical Sciences (AREA)
- Public Health (AREA)
- Veterinary Medicine (AREA)
- Animal Behavior & Ethology (AREA)
- Heart & Thoracic Surgery (AREA)
- Nuclear Medicine, Radiotherapy & Molecular Imaging (AREA)
- Medical Informatics (AREA)
- Molecular Biology (AREA)
- Vascular Medicine (AREA)
- Pathology (AREA)
- Physics & Mathematics (AREA)
- Radiology & Medical Imaging (AREA)
- Biophysics (AREA)
- Cardiology (AREA)
- Oral & Maxillofacial Surgery (AREA)
- Transplantation (AREA)
- Reproductive Health (AREA)
- Otolaryngology (AREA)
- Optics & Photonics (AREA)
- Plasma & Fusion (AREA)
- Chemical & Material Sciences (AREA)
- Medicinal Chemistry (AREA)
- Pharmacology & Pharmacy (AREA)
- Epidemiology (AREA)
- Ultra Sonic Daignosis Equipment (AREA)
- Surgical Instruments (AREA)
Abstract
A catheter device that is useable to penetrate from a blood vessel in which the catheter device is positioned to a target location comprises a flexible catheter advanceable into the first blood vessel, a tissue penetrator lumen adapted to receive an operative tissue penetrator which is usable to penetrate from the blood vessel to the target location when properly aimed. Further said catheter including an imaging transducer fixedly mounted on or within the catheter body to provide an imaging signal from which an image of the target location can be obtained. The catheter device may include an imageable marker on the catheter to form on the image obtainable from the imaging signal a penetrator path indication that indicates the path that will be followed by the tissue penetrator when the tissue penetrator exits from the catheter. Alternatively, or addition thereto, the imaging transducer may comprise a plurality of imaging elements which are located so that the penetrator path indication can be obtained. A method of utilizing such a catheter device to bypass an arterial obstruction is also disclosed.
Description
- This application is a continuation of copending U.S. patent application Ser. No. 13/114,987 filed May 24, 2001, which is a continuation of U.S. patent application Ser. No. 12/634,916, now abandoned, which is a division of U.S. patent application Ser. No. 10/1714,155 filed Nov. 14, 2004, now U.S. Pat. No. 7,637,870, which is a continuation of U.S. patent application Ser. No. 10/033,836 filed Dec. 26, 2001, now U.S. Pat. No. 6,660,024, which is a continuation of U.S. patent application Ser. No. 09/1282,774 filed Mar. 31, 1999, now U.S. Pat. No. 6,375,615, which claims benefit of U.S. Provisional Patent Application No. 60/1080,196 filed Mar. 31, 1998 and is a continuation-in-part of U.S. patent application Ser. No. 08/837,294 filed Apr. 11, 1997, now U.S. Pat. No. 6,302,875, which itself is a continuation-in-part of two-earlier filed applications, namely; U.S. patent application Ser. No. 08/1730,327 filed Oct. 11, 1996, now U.S. Pat. No. 6,190,353 and Ser. No. 08/1730,496 filed Oct. 11, 1996, now U.S. Pat. No. 5,830,222, both of which claim priority to earlier-filed U.S. Provisional Patent Application No. 60/005,164 filed Oct. 13, 1995 and Application No. 60/010,613 filed Feb. 2, 1996, the entire disclosures of all such related applications being expressly incorporated herein by reference.
- The present invention relates generally to medical devices and methods, and more particularly to catheter devices and methods that are useable to form channels (e.g., penetration tracts) between vessels such as arteries and veins and vessels and other anatomical structures, in furtherance of a therapeutic purpose such as bypassing an arterial blockage, delivering therapeutic agents, or performing other interventional procedures.
- Atherosclerotic cardiovascular disease remains a major cause of premature death and morbidity, in most regions of the world. Various transluminal, catheter-based interventional techniques have been used, or proposed for use, to dilate or otherwise treat atherosclerotic obstructions that occur in coronary and/or peripheral arteries. These therapies have traditionally focused on treating the disease intraluminally, or from “within” the vessel lumen.
- Included among the newer interventional techniques are certain percutaneous, transluminal techniques for bypassing obstructions in coronary or peripheral arteries through the use of the adjacent vein(s) as in situ bypass conduit(s); (e.g. using catheters to perform extra luminal procedures outside the diseased vessel lumen. These procedures are described in U.S. Pat. No. 5,830,222 (Makower) and in published PCT Applications WO 98/16161 and WO 98/46119. As described therein, in some instances, these procedures may be performed by a venous approach wherein a tissue penetrating catheter is inserted into a vein and the desired passageway or puncture is initially formed by facilitating the passage of a tissue penetrator (e.g., a flow of energy or an elongate penetration member) from a catheter, through the wall of the vein in which the catheter is positioned, and into a target location such as the lumen of an adjacent vessel (e.g. the artery). Alternatively, some of these procedures may be performed by an arterial approach wherein the catheter is inserted into an artery and the desired passageway or puncture is initially formed by facilitating the passage of a tissue penetrator (e.g., a flow of energy or elongate penetration member) from the catheter, through the wall of the artery in which the catheter is positioned, and into the target location such as the lumen of an adjacent vessel (e.g. a vein). It is typically necessary for the tissue-penetrating catheter to be placed in proper rotational orientation within the blood vessel, prior to facilitating the passage of the tissue penetrator therefrom, to ensure that the tissue penetrator is aimed or positioned to enter the target. To facilitate such aiming of the tissue penetrator, some of the previously described tissue penetrating catheters have included a penetrator direction marker that indicates the direction in which the tissue penetrator will pass from the catheter and an imaging catheter lumen through which a separate intravascular ultrasound imaging catheter (IVUS catheter) can be advanced. After the separate IVUS catheter has been advanced into the imaging lumen of the tissue penetrating catheter, the IVUS is used to image the target and the penetrator direction marker. The catheter can then be rotated within the blood vessel until the penetrator direction marker is aligned with the target, thereby indicating that subsequent advancement of the tissue penetrator from the catheter will result in the formation of the desired penetration tract between the blood vessel in which the catheter is positioned and the target.
- Applicant has determined that, in cases where the tissue-penetrating catheter is to be placed in a relatively small blood vessel such as branches of the coronary artery, carotid arteries, or smaller vessels located in the peripheral vasculature (e.g. vessels in the arms or legs), it is desirable for the tissue penetrating catheter to be of reduced profile while still having sufficient column strength and torque transfer properties to allow the operator to rotate and maneuver the distal end of the catheter within the patients body by twisting, pushing and pulling the proximal end of the catheter that remains outside of the patient's body. Thus, because the provision of a separate imaging catheter lumen substantially increases the required diameter of the tissue penetrating catheter, it is desirable to devise new tissue penetrating catheter designs that do not include an imaging catheter lumen while still maintaining the capability of imaging from a vantage point near the catheter's distal end to facilitate proper rotational orientation of the tissue penetrating catheter to facilitate aiming of the tissue penetrator.
- This invention facilitates accurate and reliable orientation of a tissue penetrating catheter in a blood vessel so that an adjacently located blood vessel or other anatomical target can be accurately penetrated, while eliminating the need for formation of a separate imaging lumen within the tissue penetrating catheter. Thus, because the need for an imaging lumen has been eliminated, the tissue penetrating catheters of this invention may be of reduced profile (e.g., 5-7 French diameter).
- In accordance with the invention, there is provided a tissue penetrating catheter device that comprises an elongated catheter having an instrument lumen to facilitate the passage of a tissue penetrator, a penetrator direction marker, and an integral imaging transducer (e.g., an IVUS transducer). To facilitate orientation, the imaging transducer is useable to provide an imaging signal from which an image of the target structure and other adjacent anatomical structures can be obtained. The imaging transducer is fixedly mounted on or within the catheter, thereby eliminating the need for a separate imaging lumen which requires sufficient clearance in the lumen to allow a separate imaging transducer to be advanced and retracted in the lumen. This in turn enables the catheter to be of smaller cross sectional area. In addition, by fixedly mounting the imaging transducer on the catheter, its orientation relative to the catheter and certain components on the catheter can be specifically known.
- One advantageous approach to imaging is to employ an imaging transducer which includes a plurality of imaging elements fixedly mounted on the catheter to provide an imaging signal from which an image of adjacent structures can be obtained. The imaging elements are mounted on the catheter at known circumferential locations relative to the path that will be followed by the tissue penetrator as the tissue penetrator exits from the catheter. The image obtained from the imaging signal from the imaging transducer is useable by the operator to rotationally orient the catheter such that, when the tissue penetrator subsequently exits the catheter, the tissue penetrator will extend into the desired target. In addition, the imaging transducer is useable to image other structures to allow several diagnostic functions such as assessing calcification of a vessel, distance of the target location to the vessel in which the catheter is positioned, and the presence of other devices.
- Another advantageous approach to imaging is to provide an imaging marker on the catheter to form, on the image obtainable from the imaging signal from the imaging transducer, a penetrator path indication. This penetrator path indication is indicative of the path that will be followed by the tissue penetrator when the tissue penetrator exits from the catheter. The imaging transducer and the marker are useable in cooperation with each other to enable the operator to rotationally orient the catheter until the penetrator path indicator is aimed at the target thereby indicating that when the tissue penetrator exits from the catheter it will extend to the target as desired. The imaging elements fixedly mounted on the catheter at known circumferential locations can also be used to orient the catheter without any imageable markers.
- When an imageable marker is used, it preferably includes a structure formed on the catheter including at least one longitudinal member disposed circumferentially about a hollow interior space. When a plurality of longitudinal members is employed, said longitudinal members are disposed at circumferentially spaced apart locations about a hollow interior space thereby forming a cage. At least one of such longitudinal members is located at a circumferential position that is axially aligned with the path or plane of the path that will be followed by the tissue penetrator as it exits from the catheter.
- The tissue penetrator may be any instrument for penetrating the target of interest. For example, the tissue penetrator may be or include a laser beam, flow of energy, or an instrument which will itself puncture or penetrate the target of interest. One preferred form of tissue penetrator includes a needle member formed of resilient material that is biased to a preformed curved configuration with the needle member being initially disposed in a retracted position within the catheter and subsequently advanceable from the catheter to an extended position wherein the needle member assumes its preformed curved configuration.
- The imaging transducer of the current invention is preferably an ultrasound imaging transducer and more preferably a phased array transducer. Because the phased array transducer can be fixed in a permanent manner on or within the catheter body, said phased array transducer has the advantage of being useable with or with out an imageable marker to obtain reliable and accurate orientation. Moreover, the nature of the imaging elements and the fact the imaging signal can be transmitted by multiplexing numerous signals on fewer lead wires contribute to the small profile of the catheter.
- The catheter may include an elongated catheter body having a proximal end, a distal end and a peripheral wall with at least a distal region of the catheter body being flexible enough to navigate through the coronary vessels. The catheter body has an penetrator lumen that terminates distally at an exit location on the peripheral wall and contains or is adapted to receive an instrument or other tissue penetrator for penetrating the blood vessel in which the catheter body is received (“resident blood vessel”) to a target adjacent to the resident blood vessel. The phased array transducer is preferably an onboard transducer which is mounted on or within the catheter body and is inseparable or not removable from the catheter body. The phased array transducer is carried by the catheter body in fixed relationship to the catheter body and in some instances, in a known orientation relative to the exit location. The phased array transducer provides an imaging signal for use in locating the target and identifying the angular orientation of the exit location. Accordingly, with the penetrator received in the penetrator lumen the catheter body can be rotated to properly orient the exit location so that the penetrator can penetrate the resident blood vessel into which the catheter body is receivable and into the target. The catheter body is of sufficiently small profile so that it can be received within a coronary artery, branch or peripheral vessel if desired.
- The catheter may be considered as including an imageable marker which may include a plurality of circumferentially spaced imageable members carried by the catheter body in a known circumferential orientation relative to the exit location. The imageable markers can be sensed by the phased array transducer and used to locate the target and in identifying the angular orientation of the exit location.
- The phased array transducer may comprise a plurality of imaging elements arranged on the catheter body with at least one of the elements being at a known circumferential location relative to the exit location so that such at least one element is useable to identify the angular orientation of the exit location. Alternatively or in addition thereto, the at least one element may form an image region that defines an acceptable zone of penetration for the tissue penetrator.
- In a preferred construction, the catheter body includes a major section which includes a proximal end and the exit location and a distal tip section extending from the major section to the distal end. The distal portion of the distal tip section has a smaller cross sectional area than the adjacent region of the major section. An active imaging apparatus is carried by the catheter body and includes imaging elements fixedly mounted on the distal tip section and a lead or leads extending proximally from the imaging elements along the catheter body. Accordingly, the reduced diameter portions of the catheter body are used to mount the imaging elements, to thereby minimize the profile of the catheter at this region of the catheter. Although various constructions are possible, in one preferred form of the invention, the major section terminates distally in a distal opening and a proximal portion of the distal tip section is received in the distal opening and a distal portion of the distal tip section extends distally of the distal opening.
- The method of this invention includes inserting and transluminally advancing the catheter of this invention into a first blood vessel, actuating the imaging transducer and moving the catheter within the first blood vessel until the penetrator path indication is aimed at the target, and thereafter facilitating the exit of the tissue penetrator from the catheter through the wall of the first blood vessels and into the target. Thereafter various procedures may be performed such as the delivery of therapeutic agents or diagnostic devices.
- In procedures where it may be advantageous to perform subsequent procedures over a guidewire, such as the formation of passageways between a first blood vessel and a target, the method may also include advancing a first crossing guidewire through the lumen of the tissue penetrator and into the target, such as the lumen of the second blood vessel or other target and retracting the tissue penetrator into the catheter leaving the first crossing guidewire in place.
- In some procedures, such as those novel procedures more fully described in U.S. Pat. No. 5,830,222 and in U.S. patent application Ser. Nos. 08/730,496, 09/048,147 and 09/048,147, and other means of revascularizing oxygen starved tissues or delivering therapeutic substances to vessels, tissue and other organs, it may be advantageous to obtain a second point of access to the same vessel into which the catheter was initially introduced at some point distal of the first crossing. However, this access may be limited due to the presence of calcium or other vessel disease blocking the lumen of the vessel. To obtain catheter access to a second point, distal of a diseased section in the same blood vessel, the first crossing guidewire is removed from the lumen of the tissue penetrator and reintroduced into the main guidewire lumen of the catheter and the catheter may be readvanced over the first crossing guidewire to a position wherein the catheter extends through the lumen of the first blood vessel, and through the openings created in the walls of the first and a second blood vessel. Thereafter, the catheter can be advanced distally in the lumen of the second blood vessel. To gain access back to the first blood vessel at a different location (e.g. past the disease or obstruction), the imaging transducer is actuated and the catheter is moved within the second blood vessel as required to cause the penetrator path indication to be aligned with the lumen of the first blood vessel. The tissue penetrator is advanced from the catheter through the wall of the second blood vessel and through the wall and into the lumen of the first blood vessel. To obtain guidewire access to the first blood vessel, a second crossing guidewire is advanced through the lumen of the tissue penetrator and into the lumen of the first blood vessel. The tissue penetrator is retracted into the catheter leaving the second crossing guidewire in place such that it extends from the lumen of the first blood vessel into the lumen of the second blood vessel and back into the lumen of the first blood vessel.
- As part of the invention envisioned herein, a radial expandable connector can be used to provide a blood flow passageway between the blood vessels. For example, a connector delivery catheter can be advanced over the second crossing guidewire and the connector implanted such that the connector extends from the lumen of the first blood vessel through the openings created in the walls of the first and second blood vessels through the lumen of the second blood vessel through the openings created in the walls of the first and second blood vessels and back into the lumen of the first blood vessel.
- The invention together with additional features and advantages thereof may best be understood by reference to the following description taken in connection with the accompanying illustrated drawings.
-
FIG. 1 is schematic illustration showing the catheter of this invention in use on a human patient. -
FIG. 2 is an elevational view of one form of catheter constructed in accordance with the teachings of this invention. -
FIG. 3 a is an enlarged fragmentary elevational view partially in section showing a distal portion of the catheter. -
FIG. 3 a′ is an enlarged, cut-away view of the wire braid formed within the distal section of the catheter body. -
FIG. 3 a″ is a diagram of a catheter braid illustrating the braid angle and pick count of the braid. -
FIG. 3 b is an enlarged elevational view showing the distal tip section of the catheter. -
FIGS. 3 c, 3 d and 3 e are cross sectional views taken generally alonglines 3 c-3 c, 3 d-3 d, and 3 e-3 e ofFIG. 3 respectively. -
FIG. 3 f is a perspective view of the marker structure of the catheter embodiment shown inFIGS. 3 a-3 b. -
FIG. 3 g is a cross sectional view throughFIG. 3 g-3 g ofFIG. 3 a. -
FIG. 4 is an elevational view similar toFIG. 3 a illustrating a second embodiment of the catheter. -
FIGS. 4 a and 4 a′ are schematic diagrams of a annular phased array transducers that may be mounted within catheters of the present invention. -
FIG. 4 b is a schematic diagram of an alternative single element transducer that is rotatable within or in conjunction with the catheter. -
FIGS. 5 a and 5 b are elevational views of the screen of the imaging apparatus showing standard quadrant-indicating hash marks on the screen, and illustrating the manner in which the fixed-transducer catheter ofFIG. 4 can be rotationally oriented within the blood vessel to cause a penetrator-path-indicating element (and hence the penetrator) to become aimed at a target location to which the penetrator is intended to travel. -
FIGS. 5 c and 5 d are elevational views of the screen of an imaging apparatus whereon a line has been marked to denote the location of the particular penetrator-path-indicating element of the fixed-transducer catheter ofFIG. 4 , and illustrating the manner in which the line can be used to facilitate rotational orientation of the catheter within the resident blood vessel such that the penetrator-path-indicating transducer element (and hence the penetrator) are aimed at the target location. -
FIGS. 5 e and 5 f are elevational views of the screen of an imaging apparatus displaying an image from a fixed-transducer catheter as inFIG. 4 wherein the penetrator-path-indicating element(s) of the imaging transducer is/are electronically modified to produce an image that is i) visually distinct from the images produced by the other elements of the transducer array, or ii) modified to produce multiple lines that define a path region, and illustrating the manner in which the visually distinct image of the penetrator-path-indicating transducer can be used to facilitate rotational orientation of the catheter within the resident blood vessel such that the penetrator-path-indicating transducer element (and hence the penetrator) are aimed at the target location or conversely, the path region incorporates the target location within its scope. -
FIGS. 6 a and 6 b are views similar toFIGS. 5 a and 5 b respectively illustrating how the catheter embodiment ofFIG. 3 a can be rotationally oriented within the blood vessel to cause the image created by the penetrator-path-indicating member of the marker structure (i.e., the particular strut member of the marker structure that is aligned with the path that will be followed by the tissue penetrator when the penetrator is advanced from the catheter body) to be aimed at the target location to which the penetrator is intended to travel. -
FIGS. 7 a-8 d illustrate the triangle of Brock-Moscheau (a name given to the formation bounded by the relationship between the arterial and venous system on the heart) and show by way of example as preferred method that can be carried out in accordance with the teachings of this invention. - Set forth herebelow are detailed descriptions of certain embodiments and examples of the catheter devices and methods of the present invention.
-
FIG. 2 shows acatheter 11 constructed in accordance with the teachings of this invention, whileFIG. 1 shows thecatheter 11 in use on a human patient. In the embodiment illustrated, thecatheter 11 includes anelongated catheter body 13 having aproximal end 15, adistal end 17, ahandle 19 and ahub 21 coupled to the proximal end of thecatheter body 15 and to the handle. Thehandle 19 may also serve as a controller for use in advancing and retracting the penetrating instrument, such as atissue penetrator 85 described more fully below. - The Catheter Body:
- The
catheter body 13 includes a relatively rigidproximal section 23 shown inFIGS. 2 and 3 a which may be constructed, for example, of a metal hypo tube and an elongated flexible distal section orregion 25 suitably joined to the proximal section. Ahand piece 19 is attached to the proximal end of theproximal section 23, as shown. In the preferred embodiment thehand piece 19 andproximal section 23 are approximately 100 cm in length. The flexibledistal section 25 may incorporate a reinforcement member such as awire braid 400 as shown inFIGS. 3 a and 3 a′ and, in the preferred embodiment is approximately 30 cm in length. Thebraid 400 terminates approximately 3 cm from thedistal end 17. - It has been determined that material expansion and changes in the physical properties of certain materials may occur after the
catheter 11 is inserted into the patient's body and warmed from room temperature to body temperature. This material expansion and changes in the physical properties of certain materials can result in variation in the tolerances and sizing of the catheter 11 (e.g. elongation or shrinking) and can thus give rise to an unwanted modification of the position of thetissue penetrating member 85. This could, in at least some cases, interfere with the precise aiming and advancement of the tissue penetrating member as desired.FIG. 3 a″ illustrates the braid angle A and pick count PC of thecatheter braid 400. The “pick count” PC of the braid is, as is well known in the art, a function of the braid angle A (i.e., the greater the braid angle the more picks per inch). Also, the torque transmission and stiffness of the braideddistal section 25 is a function of the braid angle (i.e., a braid angle of 90 degrees provides maximum torque transfer and a braid angle of 0 degrees provides minimum torque transfer). Typically, cardiovascular catheters used in procedures such as those described herein utilizing a venous approach have braid angles A that result in a pick count of 50-70 picks per inch. However, applicant has determined that by decreasing the braid angle A of thebraid 400 within thedistal section 25 of thecatheter 11 to result in a lower pick count, it is possible to minimize or eliminate the unwanted longitudinal expansion of thecatheter 11 and/or its components, while retaining sufficient torque transmission and acceptable stiffness to accomplish the procedures for which thecatheter 11 is intended (examples of such procedures are illustrated inFIGS. 7 a-8 d herebelow). This variation in braid angle or picks per inch may vary depending on the material of construction of the catheter and/or the braid fiber, and the diameter of the catheter body. - In instances where the
catheter 11 is intended for use in a coronary artery, at least thedistal section 25 of thecatheter 11 is sized to be received within a coronary artery, and therefore can be received within either a coronary artery or a coronary vein or other lumens of equal diameter. Thecatheter body section 13 has apenetrator lumen 27 that terminates distally at an exit location or exit port 29 (FIG. 3 a) on a peripheral wall 31 of the catheter body. Thepenetrator lumen 27 extends proximally from theexit port 29 to theproximal end 15 of thecatheter body 13 and communicates with the interior of thehandle 19 through thehub 21. The penetrator lumen 27 contains or is adapted to receive an instrument, such as thetissue penetrator 85 shown inFIG. 3 a, for penetrating out of the blood vessel in which thecatheter 11 resides (i.e., the “resident vessel”) and to a target location. Theexit port 29 is preferably located a short distance proximally of thedistal end 17. A radiopaque marker 33 is mounted on thelumen 27 adjacent theexit port 29. - The
catheter body 13 also has a guidewire lumen 35 (FIG. 3 a) which extends to thedistal end 17 of thecatheter body 15. In this embodiment, theguidewire lumen 35 extends proximally to aninlet port 37 at the peripheral wall 31 closely adjacent theproximal section 23. The catheter body also has a lead lumen 39 (FIG. 3 c) for a purpose described below. - A major section 51 of the
catheter body 13 terminates distally in a distal opening 53, and the catheter body includes adistal tip section 55 of soft, flexible, biocompatible material (FIGS. 3 a and 3 b). A proximal portion 56 of thedistal tip section 55 is received in the distal opening 53 and a distal portion of the distal tip section extends distally to thedistal end 17. The distal portion of thedistal tip section 55, i.e. the portion of thedistal tip section 55 which extends beyond the distal end of the major section 51 is of smaller cross sectional area than the adjacent region of the major section to thereby define anannular shoulder 57 on thecatheter body 13. Theexit port 29 is spaced slightly proximally of theshoulder 57. - Phased Array Transducer:
- An
imaging transducer 81 is fixedly mounted on thecatheter 11, and in the embodiment illustrated inFIG. 3 a, the imaging transducer is mounted on thedistal tip section 55 just distally of theshoulder 57. In this embodiment, theimaging transducer 81 is a phased array transducer of the type shown schematically inFIG. 4 a and is operative to image 360.degree. about thecatheter 11. Thisimaging transducer 81 comprises an annular array of individual crystals orelements 121 is coupled to a multiplex circuit 83 which is within the major section 51 of thecatheter body 13 adjacent theshoulder 57, and the multiplex circuit 83 is in turn coupled to leads 85 which extend through thelead lumen 39 and a port 87 (FIG. 2 ) of thehub 21 to animaging console 89. When activated, the imaging transducer emits ultrasound signals and receives back echoes or reflections which are representative of the nature of the surrounding environment. The imaging transducer provides an imaging signal from which an image of the surrounding structure can be created by signal processing apparatus located in theimaging console 89 and viewed on a standard display screen located near the operating table on which the patient is positioned. In a preferred practice of this invention, the phased array transducer and the accompanying circuitry and theimaging console 89 may be obtained from Endosonics of Rancho Cordova, Calif. or Intravascular Research Limited (United Kingdom). - Alternative Rotatable Transducer
- In an alternate embodiment of this invention, a rotatable imaging transducer 81 r of the type illustrated schematically in
FIG. 4 b may be used. This alternative transducer 81 r comprises one (or more than one) imaging element 121 r that is mounted on arotating shaft 82 that extends through a portion of the catheter body (e.g., and out of port 39) such that it can be rotated relative to the catheter body. Alternatively, it will be appreciated that this transducer 81 r may be fixedly mounted within or upon the catheter body and the entire catheter body may be rotated in order to effect rotational movement of the transducer element 121 r. - Marker Structure:
- In this first embodiment (
FIGS. 3 a-3 e), animageable marker structure 101 is fixedly mounted on thecatheter body 13 in a known circumferential orientation relative to theexit port 29. In the embodiment ofFIG. 3 a, themarker structure 101 is in the form cage (FIG. 3 f) and thetransducer 81 is within the cage. Thismarker structure 101 comprises a plurality of 103 and 103 pp disposed at circumferentially spaced apart locations about a hollowlongitudinal members interior space 105. Thehollow space 105 receives thedistal tip section 55 and thetransducer 81, and thetransducer 81 is an onboard transducer in that it is inseparable from and not removable from thecatheter body 13. In this embodiment thetransducer 81 is attached to or wrapped around thecatheter body 13 and permanently retained by a suitable potting composition or adhesive. As shown inFIG. 3 g, one of thelongitudinal members 103 pp is designated as the penetrator path indicating member and is positioned at a circumferential position that is axially aligned with theexit port 29 or otherwise positioned to be indicative of the path that will be followed by thetissue penetrator 85 as it is advanced from thecatheter body 13 through theexit port 29. Thus, theimageable marker structure 101 forms on the image obtainable from the imaging signal from the imaging transducer a penetrator path indication that indicates the path that will be followed by the tissue penetrator when thetissue penetrator 85 exits from the catheter. - With the construction described above, the
imaging transducer 81 and themarker 101 are both mounted on thedistal tip section 55 which has a smaller cross sectional area than does the adjacent region of the major section 51 of thecatheter body 13. Accordingly, the cross sectional area of thecatheter body 13 at the region containing theimaging transducer 81 and themarker 101 can still be relatively small. Also, theexit location 29 is closely adjacent to theimaging transducer 81 and may be, for example, about 3 mm from the imaging transducer. This minimizes the likelihood of any significant torsional displacement of theexit location 29 relative to themarker 101 andimaging transducer 89. It may also be appreciated that the imaging transducer may be mounted such that the exit port is located directly at the point at which the transducer is affixed to the catheter, eliminating any displacement. -
FIGS. 6 a and 6 b show an image of what the operator sees on the display screen of theimaging console 89 when thecatheter 11 is advanced into the resident blood vessel. Specifically,FIG. 6 a shows an image of thecatheter 11, animage 143 of the resident blood vessel into which thecatheter 11 has been inserted (i.e., the blood vessel in which thecatheter 11 resides) and an image of atarget blood vessel 145 adjacent to theblood vessel 143. In this particular illustration, the blood vessels represented by 143 and 145 are a coronary artery and coronary vein, respectively. Inimages FIG. 6 a, the image created by the penetrator-path-indicatingmember 103 pp of themarker structure 101, as represented by line orartifact 147, does not extend into the lumen of thetarget blood vessel 145. Thus, if thetissue penetrator 85 were to be advanced from thecatheter 11 while thecatheter 11 is in the rotational orientation shown inFIG. 6 a, the tissue penetrator would not advance into the lumen of thetarget blood vessel 145, as desired. However, by rotating thecatheter 11 within theresident blood vessel 143, the operator may cause the image created by the penetrator-path-indicatingmember 103 pp of themarker structure 101, as represented by line orartifact 147, to extend into the lumen of thetarget blood vessel 145 as illustrated inFIG. 6 b. Thus, if thetissue penetrator 85 were to be advanced form thecatheter 11 while thecatheter 11 is in the rotational orientation shown inFIG. 6 b, thetissue penetrator 85 would advance into the lumen of thetarget blood vessel 145, as desired. -
FIG. 4 shows a second embodiment of the catheter 11 a which is identical to thecatheter 11 in all respects not shown or specified as being different herebelow. Portions of the catheter 11 a corresponding to portions of thecatheter 11 are designated by corresponding reference numerals followed by the letter a. - The primary difference between the
catheters 11 and 11 a is that the catheter 11 a has noimageable marker structure 101. Instead, itsimaging transducer 81 a is mounted in a fixed position such that oneparticular element 121 pp (or a group of particular elements) is/are designated as the penetrator path but rather is mounted in a fixed orientation within or upon the catheter such that a selected one (or selected ones) of the individual imaging elements 121 (e.g., crystals) of the phased array is positioned in known spatial relation to the path or plane of the path that will be followed by the tissue penetrator as exits from the catheter. This selected one (or ones) of theimaging elements 121 shall be referred to herein as the “penetrator-path-indicatingelement 121 pp.” Theimaging elements 121, which may be adhered to the catheter body 13 a, are mounted on thecatheter 11 at known circumferential locations relative to the path that will be followed by a tissue penetrator as the tissue penetrator advances from thecatheter 11 through theexit port 29 a. The image obtained from the imaging signal from theimaging transducer 81 a is thereby useable by the operator to rotationally orient thecatheter 11 such that when the tissue penetrator subsequently exits from the catheter, the tissue penetrator will extend into the target as desired. Thus, because the imaging elements 121 a are mounted on thecatheter body 13 in fixed relationship to the catheter body and in a known circumferential orientation relative to theexit location 29 a, theimaging transducer 81 a can be used to provide an imaging signal for use in locating an adjacent blood vessel or other structure and identifying the angular orientation of the exit location. If desired, the imaging elements of theimaging transducer 81 of thecatheter 11 can be oriented in the same fashion as described above for the catheter 11 a. In this event, the only difference between thecatheters 11 and 11 a would be that thecatheter 11 has animaging marker 101 and the catheter 11 a does not. -
FIG. 5 a shows animage 151 of the catheter 11 a (FIG. 4 ) in theresident blood vessel 143 in which that catheter is positioned, as well as an image of thetarget location 145, shown here as another blood vessel. Standard serial hash marks 300 a, 300 b, 300 c and 300 d are formed on the imaging screen as shown, generally dividing the screen into four quadrants. In this instance, the transducer 81 b is fixedly mounted within the catheter 11 a such that its penetrator path indicatingtransducer element 121 pp is in the 12 o'clock position and aligned with the top array of hash marks 300 a on the imaging screen. Thus, the top array of hash marks 300 a serve as a visual indicator of the path that will be followed by thetissue penetrator 85 as it is advanced from the catheter 11 a. In the showing ofFIG. 5 a, one can see that the top hash marks 300 a do not enter thetarget location 145 and thus, it can be concluded from this image that thetissue penetrator 85 is not properly aimed at the target location. However, by rotating the catheter 11 a in theresident blood vessel 143, to the position shown inFIG. 5 b, the top array of hash marks 300 a is caused to pass directly through thetarget location 145, thus indicating to the operator that thetissue penetrator 85 can now be advanced from theexit port 29 a to properly penetrate from theresident vessel 143 into thetarget location 145, as desired. -
FIGS. 5 c and 5 d show animage 151 a of the catheter 11 a (FIG. 4 ) in theresident blood vessel 143 in which that catheter is positioned, as well as an image of thetarget location 145, shown here as another blood vessel. Avertical line 146 has been created on thescreen 146 in alignment with the position of a penetrator path indicatingtransducer element 121 pp of the phased array transducer 81 b. Thus, theline 146 serves as a visual indicator of the path that will be followed by thetissue penetrator 85 as it is advanced from the catheter 11 a. It will be appreciated by those of skill in the art that thisline 146 may be created on theimaging screen 89 electronically (e.g., as an illuminated or colored line on the image) or it may be physically marked on the screen 89 (e.g., by felt tipped marker or other suitable marking material or apparatus such as a template). In the showing ofFIG. 5 c, one can see that theline 146 does not enter thetarget location 145 and, thus, it can be concluded form this image that thetissue penetrator 85 is not properly aimed at thetarget location 145. However, by rotating the catheter 11 a in theresident blood vessel 143, to the position shown inFIG. 5 d, theline 146 is caused to pass directly through thetarget location 145, thus indicating to the operator that thetissue penetrator 85 can now be advanced from theexit port 29 a to properly penetrate from theresident vessel 143 into thetarget location 145, as desired. -
FIGS. 5 e and 5 f show animage 151 b of the catheter 11 a (FIG. 4 ) in theresident blood vessel 143 in which that catheter is positioned, as well as an image of thetarget location 145, shown here as another blood vessel. The penetratorpath indicating element 121 pp of the phased array transducer 81 b has, in this case, been modified to provide an image that is enhanced or otherwise visually discernible from the images produced by theother transducer elements 121 b of the array. In this manner, apenetrator path region 148 is visible on thescreen 89 in the region that is imaged by the penetratorpath indicating element 121 pp. Thus, thepenetrator path region 148 serves as a visual indicator of the path that will be followed by thetissue penetrator 85 as it is advanced from the catheter 11 a. It will be appreciated by those of skill in the art that thispenetrator path region 148 may be created by causing the penetratorpath transducer element 121 pp to receive more power than theother transducer elements 121 b or by otherwise modifying or processing the signal received from that penetrator path indicatingtransducer element 121 pp. In the showing ofFIG. 5 e, one can see that thetarget 145 is not encompassed by thepenetrator path region 148 and, thus, it can be concluded from this image that thetissue penetrator 85 is not within acceptable range of thetarget location 145. However, by rotating the catheter 11 a in theresident blood vessel 143, to the position shown inFIG. 5 f, thetarget 145 is brought within an appropriate range of thepenetrator path region 148, thus indicating to the operator that thetissue penetrator 85 can now be advanced from theexit port 29 a to properly penetrate from theresident vessel 143 into thetarget location 145, as desired. Additionally, it is to be understood that the penetrator path indicatingtransducer element 121 pp or the output on the imaging console may be additionally modified to allow imaging or project images of only that region within a predetermined distance (e.g., up to 3 mm) of theresident vessel 143 thereby signalling to the operator the possible target locations that are out of the intended range of thetissue penetrator 85 or subsequent systems or devices that may be employed to complete the intended procedure. - As an alternative to creating a penetrator path region by increasing the power transmitted to the penetrator path element transducer(s), it will be appreciated that this
region 148 may be created on theimaging screen 89 electronically (e.g., as an illuminated or colored sector on the image) or it may be physically marked on the screen 89 (e.g., by felt tipped marker or other suitable marking material or apparatus such as a template). In addition, the penetrator path region may be defined by the enhancement (e.g. electronic illumination, marker or template) of two lines such as that depicted byline 146, modified to define boundaries to theregion 148 within which is defined an acceptable range of penetration zone. - It will be appreciated that the electronically enhanced penetrator
path indicating transducer 121 pp may be used in conjunction with the hash marks 300 a, 300 b, 300 c, and 300 d shown inFIGS. 5 a-5 b and/or theline 146 shown inFIGS. 5 c and 5 d, thereby enabling the operator to utilize multiple indicia to determine the appropriateness of the size and distance range of thetarget location 145 before advancing thetissue penetrator 85. In this way, the operator is provided with a range of acceptable accuracy depending on the desired result and taking into account what procedures may be performed subsequently (i.e. placement of a connection device or other catheter devices). - The
catheters 11 and 11 a may be used in the performance of various revascularization procedures including, as described in detail herebelow, a Percutaneous In Situ Coronary Artery Bypass (PICAB) procedure as well as a Percutaneous In Situ Coronary Venous Arterialization (PICVA) procedure. It will be appreciated that, in addition to the particular PICAB and PICVA examples described in detail herebelow, the catheter system of the present invention may also be useable to perform various other procedures such as directed drug delivery procedures of the type described in co-pending U.S. patent application Ser. No. 09/048,147 and other revascularization procedures. - i. A Preferred Method for Performing the PICVA Procedure:
- The PICVA procedure is useable to effectively provide arterial perfusion of an ischemic region of myocardium, even in cases where a coronary artery is so extensively obstructed that no patent distal portion of the artery remains available to carry bypassed arterial; flow.
-
FIG. 7 a is a diagram of a portion of the coronary vasculature known as known as the Triangle of Brouck-Moscheau. The Triangle of Brock-Moscheau is defined by the left anterior descending coronary artery LAD, the circumflex coronary artery CX, the anterior inter ventricular vein AIV. The arteries CX and LAD are both joined to and receive blood from the left main artery. The great coronary vein GCV forms a downwardly opening U-shaped configuration with the legs of the U being adjacent to arteries CX and LAD. Obstructions resulting from a build up of plaque may be found in either or both of the arteries CX and LAD. For example and for purposes of illustrating a preferred embodiment of the method of this invention,FIG. 7 a shows anobstruction 171 in the left anterior descending artery LAD. - In the first step of the procedure, shown in
FIG. 7 b, acoronary guide catheter 173 is advanced into the left coronary ostium and aguidewire 175 such as a 0.014 inch guidewire is advanced through theguide catheter 173 into the lumen 176 of the left anterior descending artery (LAD) to a location just proximal of theobstruction 171 as shown inFIG. 7 b. - Next, as shown in
FIG. 7 c, thetissue penetrating catheter 11 is percutaneously inserted and transluminally advanced through theguide catheter 173 and over theguidewire 175 into the left anterior descending artery LAD to a location just proximal of the obstruction 171 (FIG. 7 c). The axial position of theguidewire 175 and of thecatheter 11 within the artery LAD is known by conventional techniques which may include, for example, fluoroscopy and the radiopaque marker 33. Although this procedure is described with reference to thecatheter 11, it should be understood that an identical procedure would be followed for the catheter 11 a. As shown inFIG. 7 d, with thecatheter 11 in position within the LAD, theleads 85 are coupled to theimaging console 89 and theimaging transducer 81 is actuated to obtain images as shown, by way of example, inFIG. 6 a. Thecatheter 11 is moved, and more specifically rotated within the artery LAD until theexit port 29 and hence a penetrator path indication orpath region 148 is aimed at the lumen of the vein AIV. At this point, thetissue penetrator 85 is advanced through the exit opening 29 from thecatheter 11 through the walls of the artery LAD and the vein AIV and into thelumen 177 of the vein AIV upstream of theobstruction 171 as shown inFIG. 7 d. - As shown in
FIG. 7 e, with thecatheter 11 and thetissue penetrator 85 in the position shown inFIG. 7 d, afirst crossing guidewire 179 is advanced through the lumen 851 of thetissue penetrator 85 and into thelumen 177 of the vein AIV. Thetissue penetrator 85 is then retracted into thecatheter 11 leaving the crossingguidewire 179 in place such that it extends from the lumen 176 of the artery LAD into thelumen 177 of the vein AIV. - As shown in
FIG. 7 f, thecatheter 11 is then removed by retracting it back over theguidewire 175 and out through theguide catheter 173 leaving the 175 and 179 in place.guidewires - Thereafter, as shown in
FIG. 7 g, if it is necessary to enlarge or modify the penetration tract created by thepenetrator 85, a tract modification orenlargement apparatus 190 may be advanced over the first crossing guidewire 179 to enlarge or otherwise modify the penetration tract. Thistract modifying apparatus 190 may comprise a balloon catheter or radiofrequency tissue severing device as described in U.S. patent application Ser. No. 09/056,589, the entirety of which is expressly incorporated herein by reference. - As shown in
FIG. 7 h, after any necessary enlargement or modification of the penetration tract has been complete, thetract modifying apparatus 190 andfirst crossing guidewire 179 are removed, leaving open the passageway PW between the artery LAD and vein GCV/AIV. Also, acatheter 191 is introduced into the coronary venous sinus CS and aguidewire 198 is advanced through thecatheter 191 and into the vein GCV. - As shown in
FIG. 7 i, thecatheter 191 is then removed and a coronarysinus guide catheter 196 is introduced over theguidewire 198 into the coronary venous sinus. Asubselective sheath 192 andintroducer 194 are then advanced through the coronarysinus guide catheter 191, over theguidewire 179 and into the vein GCV proximal to the passageway PW. This coronarysinus guide catheter 196,subselective sheath 192 andintroducer 194 may be of the type described in detail in concurrently filed U.S. patent application Ser. No. 09/282,276 entitled CATHETERS, SYSTEMS AND METHODS FOR PERCUTANEOUS IN SITU ARTERIO-VENOUS BYPASS, the entirety of which is expressly incorporated herein by reference. - Thereafter, as shown in
FIG. 7 j, theintroducer 194 is removed leaving thesubselective sheath 192 and guidewire 194 in place. - Thereafter, as shown in
FIG. 7 k, anembolic blocker 200 is advanced through thesubselective sheath 192 and implanted in the vein GCV proximal to the passageway. This completes the PICVA procedure, allowing arterial blood to flow from the artery LAD, through the passageway PW and into the vein GCV/AIV where it flows in the direction opposite normal venous return so as to retro-perfuse the ischemic myocardium through the coronary vein(s). - ii. A Preferred Method for Performing the PICAB Procedure:
-
FIGS. 8 a-8 d show, in step-by-step fashion, an example of the manner in which a two channel PICAB procedure may be performed, or in the alternative, how the above-described PICVA procedure (FIGS. 7 a-7 k) may be converted into a two-channel PICAB procedure. This PICAB procedure will typically be used in cases where theobstruction 171 a does not extend into the distal LAD and thus, a patent distal LAD is available to carry blood flow to the ischemic myocardium. - As shown in
FIG. 8 a, if the two channel PICAB technique is to be employed then in lieu of the placement of theembolic blocker 200 being placed (starting from the step referenced inFIG. 7 g) theguidewire 175 is withdrawn and thecatheter 11 is advanced over the crossingguidewire 179 to the position shown inFIG. 8 a. To accomplish this, the tissue penetrator is retracted over the crossing guidewire 189 to remove the first crossing guidewire from thetissue penetrator 85 and then the crossingguidewire 179 is introduced into themain guidewire lumen 35 of thecatheter 11. Consequently, thecatheter 11 can be advanced over the crossingguidewire 179 to the position ofFIG. 8 a wherein the catheter extends through the lumen 176 of the artery LAD, through the openings created in the walls of the artery LAD and the vein AIV and into thelumen 177 of the vein AIV. The longitudinal or axial position of thecatheter 11 in the vein AIV relative to theobstruction 171 is known using conventional techniques. With thecatheter 11 in the position shown inFIG. 8 a, theimaging transducer 81 is again actuated and the catheter ills rotated within the vein AIV as required and as explained above in connection withFIGS. 6 a and 6 b to cause the penetrator path indication to be aimed at the lumen of the artery LAD at a location downstream of theobstruction 171. With the penetrator path indication and theexit port 29 properly aimed at theartery 171, thetissue penetrator 85 is advanced from thecatheter 11 through the walls of the vein AIV and the artery LAD and into the lumen of the artery LAD as shown inFIG. 8 a. Also, as shown, asecond crossing guidewire 181 is advanced through the lumen 85L of thetissue penetrator 85 and into the lumen of the artery LAD. - As shown in
FIG. 8 b, thetissue penetrator 85 is then retracted into thecatheter 11 leaving the second crossing guidewire 181 in the artery LAD. Thecatheter 11 and thefirst crossing guidewire 179 are then removed leaving the second crossing guidewire 181 in place such that it extends from the artery LAD into thelumen 177 of the vein AIV and back into the artery LAD as shown inFIG. 8 b. - To create a blood flow channel around the
obstruction 171, anexpandable connector 191 may be employed. As shown inFIGS. 8 c and 8 d, theconnector 191 is implanted such that the connector extends from the artery LAD through the openings created in the walls of the artery LAD and the vein AIV, through thelumen 177 of the vein AIV, through the openings created in the walls of the vein and artery LAD distally of theobstruction 171 and back into the artery LAD. The expandable connector may be implanted, for example, by utilizing a connector delivery catheter (not shown) and advancing such connector delivery catheter over thesecond crossing guidewire 181. After implantation of theconnector 191, the second crossing guidewire is withdrawn and so is theguide catheter 173. It will be appreciated that instead of deploying one expandable connector, it may be preferred to employ two shorter connectors (not shown) at each of the first and second crossing sites. In this approach, a proximal and distal embolic blocker may be required to be placed in the vein proximal to the first crossing site (in the GCV) and distal to the second crossing site (in the AIV) to complete the bypass circuit. - Although exemplary embodiments of the invention have been shown and described, many changes, modifications and substitutions may be made by those having ordinary skill in the art without necessarily departing from the spirit and scope of this invention. For example, where this patent application has listed the steps of a method or procedure in a specific order, it may be possible (or even expedient in certain circumstances) to change the order in which some steps are performed, and it is intended that the particular steps of the method or procedure claims set forth herebelow not be construed as being order-specific unless such order specificity is expressly stated in the claim. Another example is that, although the specific procedures described in detail in this application may involve penetrating through an “acceptable penetration zone,” such acceptable penetration zone need not be occupied by tissue but rather such acceptable penetration zone may fully or partially comprise an open space such as a body cavity or void. Accordingly, it is intended that all such additions, deletions, modifications and variations be included within the scope of the following claims.
Claims (14)
1. A percutaneous, transluminal method for creating a flow channel between a first blood vessel that has a wall and a lumen and a second blood vessel that has a wall and a lumen, said method comprising the steps of:
A) providing a catheter device that comprises:
i. a catheter having a proximal end and a distal end, said catheter being advanceable into the lumen of the first blood vessel;
ii. a tissue penetrator that is advanceable in a lateral direction from the catheter, said tissue penetrator being operative to penetrate from the lumen of a first blood vessel, through the walls of the first and second blood vessels and into the lumen of a second blood vessel when the catheter is positioned and rotationally oriented within the first blood vessel such that the tissue penetrator is aimed at the second blood vessel;
iii. an imaging transducer fixedly mounted on the catheter to provide an imaging signal from which an image of the second blood vessel and other anatomical structures located adjacent the first blood vessel can be obtained, said imaging transducer comprising a plurality of transducer elements at radially spaced-apart locations, one of said transducer elements being a penetrator path indicating element which creates an image that is enhanced or otherwise visually discernible from the images produced by the other transducer elements, thereby providing a penetrator path indication which indicates the lateral direction in which the penetrator will subsequently advance from the catheter body;
B) percutaneously inserting and transluminally advancing the catheter into the first blood vessel;
C) actuating the imaging transducer and moving the catheter within the first blood vessel until the penetrator path indication is aimed at the lumen of the second blood vessel; and,
D) advancing the tissue penetrator from the catheter, through the walls of the first and second blood vessels and into the lumen of the second blood vessel.
2. A method according to claim 1 wherein the tissue penetrator is an elongate member that has a lumen extending longitudinally therethrough and wherein said method further comprises the step of:
E) advancing a first crossing guidewire through the lumen of the tissue penetrator and into the lumen of the second blood vessel.
3. A method according to claim 2 wherein the method further comprises:
F) retracting the tissue penetrator into the catheter leaving the first crossing guidewire in place such that it extends from the lumen of the first blood vessel into the lumen of the second blood vessel.
4. A method according to claim 3 wherein the catheter device provided in Step A has a main guidewire lumen that extends longitudinally through at least a portion of the catheter and wherein the method further comprises the steps of:
G) moving the first crossing guidewire from the lumen of the tissue penetrator, and reintroducing a crossing guidewire into the main guidewire lumen of the catheter; and,
H) re-advancing the catheter over the first crossing guidewire to a position wherein the catheter extends through the lumen of the first blood vessel, through the openings created in the walls of the first and second blood vessels by advancement of the tissue penetrator in Step D, and into the lumen of the second blood vessel.
5. A method according to claim 4 wherein the method further comprises the steps of:
I) actuating the imaging transducer and moving the catheter within the second blood vessel as required to cause the penetrator path indication to be aligned with the lumen of the first blood vessel; and
J) advancing the tissue penetrator from the catheter, through the walls of the first and second blood vessels and into the lumen of the first blood vessel.
6. The method of claim 5 further comprising the step of:
K) advancing a second crossing guidewire through the lumen of the tissue penetrator and into the lumen of the first blood vessel.
7. A method according to claim 6 wherein the method further comprises:
L) retracting the tissue penetrator into the catheter leaving the second crossing guidewire in place such that it extends from the lumen of the first blood vessel into the lumen of the second blood vessel and back into the lumen of the first blood vessel.
8. A method according to claim 7 wherein the method further comprises the steps of:
M) providing a connector delivery catheter accompanying a radially expandable connector; and
N) advancing the connector delivery catheter over the second crossing guidewire and implanting the radially expandable connector such that the connector extends from the lumen of the first blood vessel, through the openings created in the walls of the first and second blood vessels in Step D, through the lumen of the second blood vessel, through the openings created in the walls of the first and second blood vessels in Step J and back into the lumen of the first blood vessel.
9. A method according to claim 5 wherein the method is carried out to bypass an obstruction in the first blood vessel and wherein the openings created in the walls of the first and second blood vessels in Step D are proximal to the obstruction and the openings created in the walls of the first and second blood vessels in Step J are distal to the obstruction.
10. A catheter device comprising:
a catheter having a proximal end and a distal end, said catheter being advanceable into the lumen of the first blood vessel;
a tissue penetrator that is advanceable in a lateral direction from the catheter, said tissue penetrator being operative to penetrate from the lumen of a first blood vessel, through the walls of the first and second blood vessels and into the lumen of a second blood vessel when the catheter is positioned and rotationally oriented within the first blood vessel such that the tissue penetrator is aimed at the second blood vessel; and
an imaging transducer fixedly mounted on the catheter to provide an imaging signal from which an image of a target location located can be obtained, said imaging transducer comprising a plurality of transducer elements at radially spaced-apart locations, one of said transducer elements being a penetrator path indicating element which creates an image that is enhanced or otherwise visually discernible from the images produced by the other transducer elements, thereby providing a penetrator path indication which indicates the lateral direction in which the penetrator will subsequently advance from the catheter body.
11. A catheter device according to claim 10 wherein the imaging transducer comprises a radial phased array ultrasound transducer.
12. A system comprising a catheter device according to claim 10 in combination with a display having a screen on which there is displayed the image of the target location and the penetrator path indicator received from the imaging transducer.
13. A system according to claim 12 wherein hash marks appear on the display screen to divide the display screen into quadrants and the imaging transducer is fixedly mounted within the catheter such that its penetrator path indicating transducer element is in the 12 o'clock position and aligned with a top vertical hash mark on the display screen such that the top vertical hash mark thereby functions as the penetrator path indicator.
14. A system according to claim 13 wherein the catheter is rotatable within a blood vessel in which it is positioned so that, if the top vertical hash mark is not initially aimed at the target location, the catheter may be rotated to an orientation within the blood vessel that causes the top vertical hash to be aimed at the target location, thereby indicating that subsequent advancement of the penetrator will cause the penetrator to advance toward the target location.
Applications Claiming Priority (11)
| Application Number | Priority Date | Filing Date | Title |
|---|---|---|---|
| US516495P | 1995-10-13 | 1995-10-13 | |
| US1061396P | 1996-02-02 | 1996-02-02 | |
| US08/730,327 US6190353B1 (en) | 1995-10-13 | 1996-10-11 | Methods and apparatus for bypassing arterial obstructions and/or performing other transvascular procedures |
| US08/730,496 US5830222A (en) | 1995-10-13 | 1996-10-11 | Device, system and method for intersititial transvascular intervention |
| US08/837,294 US6302875B1 (en) | 1996-10-11 | 1997-04-11 | Catheters and related devices for forming passageways between blood vessels or other anatomical structures |
| US8019698P | 1998-03-31 | 1998-03-31 | |
| US09/282,774 US6375615B1 (en) | 1995-10-13 | 1999-03-31 | Tissue penetrating catheters having integral imaging transducers and their methods of use |
| US10/033,836 US6660024B1 (en) | 1995-10-13 | 2001-12-26 | Tissue penetrating catheters having integral imaging transducers and their methods of use |
| US10/714,155 US7637870B2 (en) | 1995-10-13 | 2003-11-14 | Tissue penetrating catheters having integral imaging transducers and their methods of use |
| US12/634,916 US20100121357A1 (en) | 1995-10-13 | 2009-12-10 | Tissue Penetrating Catheters having Integral Imaging Transducers and Their Methods of Use |
| US13/114,987 US8727988B2 (en) | 1995-10-13 | 2011-05-24 | Tissue penetrating catheters having integral imaging transducers and their methods of use |
Related Parent Applications (1)
| Application Number | Title | Priority Date | Filing Date |
|---|---|---|---|
| US13/114,987 Continuation US8727988B2 (en) | 1995-10-13 | 2011-05-24 | Tissue penetrating catheters having integral imaging transducers and their methods of use |
Publications (1)
| Publication Number | Publication Date |
|---|---|
| US20140180098A1 true US20140180098A1 (en) | 2014-06-26 |
Family
ID=27555502
Family Applications (6)
| Application Number | Title | Priority Date | Filing Date |
|---|---|---|---|
| US09/282,774 Expired - Lifetime US6375615B1 (en) | 1995-10-13 | 1999-03-31 | Tissue penetrating catheters having integral imaging transducers and their methods of use |
| US10/033,836 Expired - Lifetime US6660024B1 (en) | 1995-10-13 | 2001-12-26 | Tissue penetrating catheters having integral imaging transducers and their methods of use |
| US10/714,155 Expired - Fee Related US7637870B2 (en) | 1995-10-13 | 2003-11-14 | Tissue penetrating catheters having integral imaging transducers and their methods of use |
| US12/634,916 Abandoned US20100121357A1 (en) | 1995-10-13 | 2009-12-10 | Tissue Penetrating Catheters having Integral Imaging Transducers and Their Methods of Use |
| US13/114,987 Expired - Fee Related US8727988B2 (en) | 1995-10-13 | 2011-05-24 | Tissue penetrating catheters having integral imaging transducers and their methods of use |
| US14/135,357 Abandoned US20140180098A1 (en) | 1995-10-13 | 2013-12-19 | Tissue Penetrating Catheters Having Integral Imaging Transducers and Their Methods of Use |
Family Applications Before (5)
| Application Number | Title | Priority Date | Filing Date |
|---|---|---|---|
| US09/282,774 Expired - Lifetime US6375615B1 (en) | 1995-10-13 | 1999-03-31 | Tissue penetrating catheters having integral imaging transducers and their methods of use |
| US10/033,836 Expired - Lifetime US6660024B1 (en) | 1995-10-13 | 2001-12-26 | Tissue penetrating catheters having integral imaging transducers and their methods of use |
| US10/714,155 Expired - Fee Related US7637870B2 (en) | 1995-10-13 | 2003-11-14 | Tissue penetrating catheters having integral imaging transducers and their methods of use |
| US12/634,916 Abandoned US20100121357A1 (en) | 1995-10-13 | 2009-12-10 | Tissue Penetrating Catheters having Integral Imaging Transducers and Their Methods of Use |
| US13/114,987 Expired - Fee Related US8727988B2 (en) | 1995-10-13 | 2011-05-24 | Tissue penetrating catheters having integral imaging transducers and their methods of use |
Country Status (1)
| Country | Link |
|---|---|
| US (6) | US6375615B1 (en) |
Cited By (38)
| Publication number | Priority date | Publication date | Assignee | Title |
|---|---|---|---|---|
| US9199067B2 (en) | 2009-01-29 | 2015-12-01 | Tufts Medical Center, Inc. | Endovascular cerebrospinal fluid shunt |
| US9387311B1 (en) | 2014-10-31 | 2016-07-12 | Cerevasc, Llc | Methods and systems for treating hydrocephalus |
| US9737696B2 (en) | 2014-01-15 | 2017-08-22 | Tufts Medical Center, Inc. | Endovascular cerebrospinal fluid shunt |
| US10272230B2 (en) | 2015-10-30 | 2019-04-30 | Cerevasc, Llc | Systems and methods for treating hydrocephalus |
| US11013900B2 (en) | 2018-03-08 | 2021-05-25 | CereVasc, Inc. | Systems and methods for minimally invasive drug delivery to a subarachnoid space |
| US11020563B2 (en) | 2016-07-14 | 2021-06-01 | C. R. Bard, Inc. | Automated catheter-to-vessel size comparison tool and related methods |
| US11123099B2 (en) | 2007-11-26 | 2021-09-21 | C. R. Bard, Inc. | Apparatus for use with needle insertion guidance system |
| US11134915B2 (en) | 2007-11-26 | 2021-10-05 | C. R. Bard, Inc. | System for placement of a catheter including a signal-generating stylet |
| US11278708B2 (en) | 2014-01-15 | 2022-03-22 | Tufts Medical Center, Inc. | Endovascular cerebrospinal fluid shunt |
| US11419517B2 (en) | 2009-06-12 | 2022-08-23 | Bard Access Systems, Inc. | Apparatus and method for catheter navigation using endovascular energy mapping |
| US11529070B2 (en) | 2007-11-26 | 2022-12-20 | C. R. Bard, Inc. | System and methods for guiding a medical instrument |
| US11621518B2 (en) | 2018-10-16 | 2023-04-04 | Bard Access Systems, Inc. | Safety-equipped connection systems and methods thereof for establishing electrical connections |
| US11707205B2 (en) | 2007-11-26 | 2023-07-25 | C. R. Bard, Inc. | Integrated system for intravascular placement of a catheter |
| US11759166B2 (en) | 2019-09-20 | 2023-09-19 | Bard Access Systems, Inc. | Automatic vessel detection tools and methods |
| US11877810B2 (en) | 2020-07-21 | 2024-01-23 | Bard Access Systems, Inc. | System, method and apparatus for magnetic tracking of ultrasound probe and generation of 3D visualization thereof |
| US11890139B2 (en) | 2020-09-03 | 2024-02-06 | Bard Access Systems, Inc. | Portable ultrasound systems |
| US11925505B2 (en) | 2020-09-25 | 2024-03-12 | Bard Access Systems, Inc. | Minimum catheter length tool |
| US11992363B2 (en) | 2020-09-08 | 2024-05-28 | Bard Access Systems, Inc. | Dynamically adjusting ultrasound-imaging systems and methods thereof |
| US12036375B2 (en) | 2016-10-11 | 2024-07-16 | CereVasc, Inc. | Methods and systems for treating hydrocephalus |
| US12048491B2 (en) | 2020-12-01 | 2024-07-30 | Bard Access Systems, Inc. | Ultrasound probe with target tracking capability |
| US12102481B2 (en) | 2022-06-03 | 2024-10-01 | Bard Access Systems, Inc. | Ultrasound probe with smart accessory |
| US12137989B2 (en) | 2022-07-08 | 2024-11-12 | Bard Access Systems, Inc. | Systems and methods for intelligent ultrasound probe guidance |
| US12137987B2 (en) | 2020-10-02 | 2024-11-12 | Bard Access Systems, Inc. | Ultrasound systems and methods for sustained spatial attention |
| US12150812B2 (en) | 2020-08-10 | 2024-11-26 | Bard Access Systems, Inc. | System and method for generating virtual blood vessel representations in mixed reality |
| US12165315B2 (en) | 2020-12-01 | 2024-12-10 | Bard Access Systems, Inc. | Ultrasound system with pressure and flow determination capability |
| US12186070B2 (en) | 2020-08-04 | 2025-01-07 | Bard Access Systems, Inc. | Systemized and method for optimized medical component insertion monitoring and imaging enhancement |
| US12213835B2 (en) | 2020-10-15 | 2025-02-04 | Bard Access Systems, Inc. | Ultrasound imaging system for generation of a three-dimensional ultrasound image |
| US12213746B2 (en) | 2020-11-24 | 2025-02-04 | Bard Access Systems, Inc. | Ultrasound system with target and medical instrument awareness |
| US12232910B2 (en) | 2020-09-10 | 2025-02-25 | Bard Access Systems, Inc. | Ultrasound probe with pressure measurement capability |
| US12287403B2 (en) | 2021-04-15 | 2025-04-29 | Bard Access Systems, Inc. | Ultrasound imaging system having near-infrared/infrared detection |
| US12324704B2 (en) | 2020-12-14 | 2025-06-10 | Bard Access Systems, Inc. | Securement of hands-free ultrasound probe |
| US12376817B2 (en) | 2021-11-03 | 2025-08-05 | Bard Access Systems, Inc. | Optimized functionality through interoperation of doppler and image based vessel differentiation |
| US12433567B2 (en) | 2022-03-16 | 2025-10-07 | Bard Access Systems, Inc. | Ultrasound imaging system |
| US12492953B2 (en) | 2020-09-18 | 2025-12-09 | Bard Access Systems, Inc. | Ultrasound probe with pointer remote control capability |
| US12514532B2 (en) | 2022-03-01 | 2026-01-06 | Bard Access Systems, Inc. | Ultrasound imaging system |
| US12514533B2 (en) | 2022-03-01 | 2026-01-06 | Bard Access Systems, Inc. | Ultrasound imaging system |
| US12544101B2 (en) | 2019-01-30 | 2026-02-10 | Bard Access Systems, Inc. | Systems and methods for tracking medical devices |
| US12564373B2 (en) | 2022-08-15 | 2026-03-03 | Bard Access Systems, Inc. | Spatially aware medical device configured for performance of insertion pathway approximation |
Families Citing this family (413)
| Publication number | Priority date | Publication date | Assignee | Title |
|---|---|---|---|---|
| US6375615B1 (en) * | 1995-10-13 | 2002-04-23 | Transvascular, Inc. | Tissue penetrating catheters having integral imaging transducers and their methods of use |
| US5662124A (en) * | 1996-06-19 | 1997-09-02 | Wilk Patent Development Corp. | Coronary artery by-pass method |
| US5755682A (en) * | 1996-08-13 | 1998-05-26 | Heartstent Corporation | Method and apparatus for performing coronary artery bypass surgery |
| US6231546B1 (en) | 1998-01-13 | 2001-05-15 | Lumend, Inc. | Methods and apparatus for crossing total occlusions in blood vessels |
| US20050171478A1 (en) * | 1998-01-13 | 2005-08-04 | Selmon Matthew R. | Catheter system for crossing total occlusions in vasculature |
| JP4448614B2 (en) * | 1998-03-31 | 2010-04-14 | メドトロニック バスキュラー インコーポレイテッド | Tissue penetrating catheter system with built-in image transducer |
| US6406488B1 (en) * | 1998-08-27 | 2002-06-18 | Heartstent Corporation | Healing transmyocardial implant |
| US6196230B1 (en) * | 1998-09-10 | 2001-03-06 | Percardia, Inc. | Stent delivery system and method of use |
| US6641610B2 (en) * | 1998-09-10 | 2003-11-04 | Percardia, Inc. | Valve designs for left ventricular conduits |
| US6254564B1 (en) | 1998-09-10 | 2001-07-03 | Percardia, Inc. | Left ventricular conduit with blood vessel graft |
| US6290728B1 (en) | 1998-09-10 | 2001-09-18 | Percardia, Inc. | Designs for left ventricular conduit |
| EP1112041A1 (en) | 1998-09-10 | 2001-07-04 | Percardia, Inc. | Tmr shunt |
| US6261304B1 (en) | 1998-09-10 | 2001-07-17 | Percardia, Inc. | Delivery methods for left ventricular conduit |
| EP1669042A3 (en) | 1998-09-10 | 2006-06-28 | Percardia, Inc. | TMR shunt |
| US6409697B2 (en) | 1999-05-04 | 2002-06-25 | Heartstent Corporation | Transmyocardial implant with forward flow bias |
| US7892246B2 (en) * | 1999-07-28 | 2011-02-22 | Bioconnect Systems, Inc. | Devices and methods for interconnecting conduits and closing openings in tissue |
| US7033372B1 (en) | 1999-08-04 | 2006-04-25 | Percardia, Inc. | Corkscrew reinforced left ventricle to coronary artery channel |
| US6638237B1 (en) | 1999-08-04 | 2003-10-28 | Percardia, Inc. | Left ventricular conduits and methods for delivery |
| US6302892B1 (en) | 1999-08-04 | 2001-10-16 | Percardia, Inc. | Blood flow conduit delivery system and method of use |
| US6253768B1 (en) | 1999-08-04 | 2001-07-03 | Percardia, Inc. | Vascular graft bypass |
| US6638233B2 (en) * | 1999-08-19 | 2003-10-28 | Fox Hollow Technologies, Inc. | Apparatus and methods for material capture and removal |
| US8328829B2 (en) | 1999-08-19 | 2012-12-11 | Covidien Lp | High capacity debulking catheter with razor edge cutting window |
| US20030125757A1 (en) * | 2000-12-20 | 2003-07-03 | Fox Hollow Technologies, Inc. | Debulking catheters and methods |
| US6299622B1 (en) | 1999-08-19 | 2001-10-09 | Fox Hollow Technologies, Inc. | Atherectomy catheter with aligned imager |
| US20030120295A1 (en) * | 2000-12-20 | 2003-06-26 | Fox Hollow Technologies, Inc. | Debulking catheters and methods |
| US7708749B2 (en) | 2000-12-20 | 2010-05-04 | Fox Hollow Technologies, Inc. | Debulking catheters and methods |
| US7713279B2 (en) | 2000-12-20 | 2010-05-11 | Fox Hollow Technologies, Inc. | Method and devices for cutting tissue |
| US7887556B2 (en) * | 2000-12-20 | 2011-02-15 | Fox Hollow Technologies, Inc. | Debulking catheters and methods |
| WO2001015759A1 (en) * | 1999-09-01 | 2001-03-08 | Bacchus Vascular, Inc. | Methods and apparatus for accessing and treating body lumens |
| US6605053B1 (en) | 1999-09-10 | 2003-08-12 | Percardia, Inc. | Conduit designs and related methods for optimal flow control |
| US6854467B2 (en) * | 2000-05-04 | 2005-02-15 | Percardia, Inc. | Methods and devices for delivering a ventricular stent |
| US6554801B1 (en) * | 2000-10-26 | 2003-04-29 | Advanced Cardiovascular Systems, Inc. | Directional needle injection drug delivery device and method of use |
| AU2002235159A1 (en) | 2000-12-05 | 2002-06-18 | Lumend, Inc. | Catheter system for vascular re-entry from a sub-intimal space |
| ATE499054T1 (en) | 2000-12-20 | 2011-03-15 | Fox Hollow Technologies Inc | REDUCTION CATHETER |
| US20100121360A9 (en) * | 2000-12-20 | 2010-05-13 | Fox Hollow Technologies, Inc | Testing a patient population having a cardiovascular condition for drug efficacy |
| US7927784B2 (en) * | 2000-12-20 | 2011-04-19 | Ev3 | Vascular lumen debulking catheters and methods |
| US20060235366A1 (en) * | 2000-12-20 | 2006-10-19 | Fox Hollow Technologies, Inc. | Method of evaluating a treatment for vascular disease |
| US20050154407A1 (en) * | 2000-12-20 | 2005-07-14 | Fox Hollow Technologies, Inc. | Method of evaluating drug efficacy for treating atherosclerosis |
| US7699790B2 (en) * | 2000-12-20 | 2010-04-20 | Ev3, Inc. | Debulking catheters and methods |
| US20040167554A1 (en) * | 2000-12-20 | 2004-08-26 | Fox Hollow Technologies, Inc. | Methods and devices for reentering a true lumen from a subintimal space |
| US7357794B2 (en) * | 2002-01-17 | 2008-04-15 | Medtronic Vascular, Inc. | Devices, systems and methods for acute or chronic delivery of substances or apparatus to extravascular treatment sites |
| US8979801B2 (en) * | 2001-01-17 | 2015-03-17 | Medtronic Vascular, Inc. | Microcatheter devices and methods for targeted substance delivery |
| US6602241B2 (en) * | 2001-01-17 | 2003-08-05 | Transvascular, Inc. | Methods and apparatus for acute or chronic delivery of substances or apparatus to extravascular treatment sites |
| US6976990B2 (en) * | 2001-01-25 | 2005-12-20 | Percardia, Inc. | Intravascular ventriculocoronary bypass via a septal passageway |
| US8214015B2 (en) * | 2001-02-06 | 2012-07-03 | Medtronic Vascular, Inc. | In vivo localization and tracking of tissue penetrating catheters using magnetic resonance imaging |
| DE10105592A1 (en) | 2001-02-06 | 2002-08-08 | Achim Goepferich | Placeholder for drug release in the frontal sinus |
| US20030036698A1 (en) * | 2001-08-16 | 2003-02-20 | Robert Kohler | Interventional diagnostic catheter and a method for using a catheter to access artificial cardiac shunts |
| US7892247B2 (en) * | 2001-10-03 | 2011-02-22 | Bioconnect Systems, Inc. | Devices and methods for interconnecting vessels |
| US6949118B2 (en) * | 2002-01-16 | 2005-09-27 | Percardia, Inc. | Encased implant and methods |
| US7008397B2 (en) * | 2002-02-13 | 2006-03-07 | Percardia, Inc. | Cardiac implant and methods |
| JP4229621B2 (en) * | 2002-03-05 | 2009-02-25 | 修 加藤 | Chemical injection catheter |
| DE60336643D1 (en) * | 2002-04-11 | 2011-05-19 | Medtronic Vascular Inc | Devices for transluminal or transthoracic interstitial electrode placement |
| US7351247B2 (en) | 2002-09-04 | 2008-04-01 | Bioconnect Systems, Inc. | Devices and methods for interconnecting body conduits |
| US7326219B2 (en) * | 2002-09-09 | 2008-02-05 | Wilk Patent Development | Device for placing transmyocardial implant |
| US20040054403A1 (en) * | 2002-09-18 | 2004-03-18 | Israel Henry M | Angular orientation of a stent |
| US8317816B2 (en) | 2002-09-30 | 2012-11-27 | Acclarent, Inc. | Balloon catheters and methods for treating paranasal sinuses |
| FR2846520B1 (en) * | 2002-11-06 | 2006-09-29 | Roquette Freres | USE OF MALTODEXTRINS BRANCHED AS BLEACHES OF GRANULATION |
| US20040133109A1 (en) * | 2003-01-07 | 2004-07-08 | Scimed Life Systems, Inc. | Systems and methods for acoustic thermal imaging |
| US20040147868A1 (en) * | 2003-01-27 | 2004-07-29 | Earl Bardsley | Myocardial implant with collar |
| US8021359B2 (en) * | 2003-02-13 | 2011-09-20 | Coaptus Medical Corporation | Transseptal closure of a patent foramen ovale and other cardiac defects |
| US7257450B2 (en) * | 2003-02-13 | 2007-08-14 | Coaptus Medical Corporation | Systems and methods for securing cardiovascular tissue |
| JP4272905B2 (en) * | 2003-03-06 | 2009-06-03 | 修 加藤 | Chemical injection device |
| DE602004011910T2 (en) * | 2003-03-13 | 2009-02-19 | Medtronic Vascular, Inc., Santa Rosa | OPTICALLY GUIDED PENETRATION CATHETER AND ITS USE METHOD |
| CA2518960C (en) | 2003-03-14 | 2013-08-27 | Sinexus, Inc. | Sinus delivery of sustained release therapeutics |
| US7715896B2 (en) * | 2003-03-21 | 2010-05-11 | Boston Scientific Scimed, Inc. | Systems and methods for internal tissue penetration |
| US8246640B2 (en) | 2003-04-22 | 2012-08-21 | Tyco Healthcare Group Lp | Methods and devices for cutting tissue at a vascular location |
| US20040215220A1 (en) * | 2003-04-24 | 2004-10-28 | Dolan Mark J. | Anastomotic stent, apparatus and methods of use thereof |
| JP4289919B2 (en) * | 2003-05-06 | 2009-07-01 | 朝日インテック株式会社 | Chemical injection device |
| IES20030531A2 (en) * | 2003-07-17 | 2005-09-21 | Medtronic Vascular Connaught | Methods and devices for placing a fistula device in fluid communication with a target vessel |
| US20050070874A1 (en) * | 2003-09-30 | 2005-03-31 | Hikaru Matsuda | System and method for injecting liquid drug containing biological material |
| US8014849B2 (en) * | 2003-11-21 | 2011-09-06 | Stryker Corporation | Rotational markers |
| US7720521B2 (en) * | 2004-04-21 | 2010-05-18 | Acclarent, Inc. | Methods and devices for performing procedures within the ear, nose, throat and paranasal sinuses |
| US9101384B2 (en) | 2004-04-21 | 2015-08-11 | Acclarent, Inc. | Devices, systems and methods for diagnosing and treating sinusitis and other disorders of the ears, Nose and/or throat |
| US9399121B2 (en) | 2004-04-21 | 2016-07-26 | Acclarent, Inc. | Systems and methods for transnasal dilation of passageways in the ear, nose or throat |
| US20190314620A1 (en) | 2004-04-21 | 2019-10-17 | Acclarent, Inc. | Apparatus and methods for dilating and modifying ostia of paranasal sinuses and other intranasal or paranasal structures |
| US20060004323A1 (en) | 2004-04-21 | 2006-01-05 | Exploramed Nc1, Inc. | Apparatus and methods for dilating and modifying ostia of paranasal sinuses and other intranasal or paranasal structures |
| US7803150B2 (en) | 2004-04-21 | 2010-09-28 | Acclarent, Inc. | Devices, systems and methods useable for treating sinusitis |
| US7462175B2 (en) | 2004-04-21 | 2008-12-09 | Acclarent, Inc. | Devices, systems and methods for treating disorders of the ear, nose and throat |
| US20070167682A1 (en) | 2004-04-21 | 2007-07-19 | Acclarent, Inc. | Endoscopic methods and devices for transnasal procedures |
| US7654997B2 (en) | 2004-04-21 | 2010-02-02 | Acclarent, Inc. | Devices, systems and methods for diagnosing and treating sinusitus and other disorders of the ears, nose and/or throat |
| US7419497B2 (en) | 2004-04-21 | 2008-09-02 | Acclarent, Inc. | Methods for treating ethmoid disease |
| US9554691B2 (en) | 2004-04-21 | 2017-01-31 | Acclarent, Inc. | Endoscopic methods and devices for transnasal procedures |
| US8864787B2 (en) | 2004-04-21 | 2014-10-21 | Acclarent, Inc. | Ethmoidotomy system and implantable spacer devices having therapeutic substance delivery capability for treatment of paranasal sinusitis |
| US8894614B2 (en) | 2004-04-21 | 2014-11-25 | Acclarent, Inc. | Devices, systems and methods useable for treating frontal sinusitis |
| US8932276B1 (en) | 2004-04-21 | 2015-01-13 | Acclarent, Inc. | Shapeable guide catheters and related methods |
| US7559925B2 (en) | 2006-09-15 | 2009-07-14 | Acclarent Inc. | Methods and devices for facilitating visualization in a surgical environment |
| US10188413B1 (en) | 2004-04-21 | 2019-01-29 | Acclarent, Inc. | Deflectable guide catheters and related methods |
| US7410480B2 (en) | 2004-04-21 | 2008-08-12 | Acclarent, Inc. | Devices and methods for delivering therapeutic substances for the treatment of sinusitis and other disorders |
| US7361168B2 (en) | 2004-04-21 | 2008-04-22 | Acclarent, Inc. | Implantable device and methods for delivering drugs and other substances to treat sinusitis and other disorders |
| US9351750B2 (en) | 2004-04-21 | 2016-05-31 | Acclarent, Inc. | Devices and methods for treating maxillary sinus disease |
| US20070208252A1 (en) | 2004-04-21 | 2007-09-06 | Acclarent, Inc. | Systems and methods for performing image guided procedures within the ear, nose, throat and paranasal sinuses |
| US20060063973A1 (en) | 2004-04-21 | 2006-03-23 | Acclarent, Inc. | Methods and apparatus for treating disorders of the ear, nose and throat |
| US8764729B2 (en) | 2004-04-21 | 2014-07-01 | Acclarent, Inc. | Frontal sinus spacer |
| US8747389B2 (en) | 2004-04-21 | 2014-06-10 | Acclarent, Inc. | Systems for treating disorders of the ear, nose and throat |
| US9089258B2 (en) | 2004-04-21 | 2015-07-28 | Acclarent, Inc. | Endoscopic methods and devices for transnasal procedures |
| US8146400B2 (en) | 2004-04-21 | 2012-04-03 | Acclarent, Inc. | Endoscopic methods and devices for transnasal procedures |
| US8702626B1 (en) | 2004-04-21 | 2014-04-22 | Acclarent, Inc. | Guidewires for performing image guided procedures |
| US8267985B2 (en) | 2005-05-25 | 2012-09-18 | Tyco Healthcare Group Lp | System and method for delivering and deploying an occluding device within a vessel |
| US8623067B2 (en) | 2004-05-25 | 2014-01-07 | Covidien Lp | Methods and apparatus for luminal stenting |
| AU2010236494B2 (en) | 2004-05-25 | 2013-05-30 | Covidien Lp | Vascular stenting for aneurysms |
| US8617234B2 (en) | 2004-05-25 | 2013-12-31 | Covidien Lp | Flexible vascular occluding device |
| WO2005115118A2 (en) * | 2004-05-25 | 2005-12-08 | Chestnut Medical Technologies, Inc. | Flexible vascular occluding device |
| US20060206200A1 (en) | 2004-05-25 | 2006-09-14 | Chestnut Medical Technologies, Inc. | Flexible vascular occluding device |
| US20050278013A1 (en) * | 2004-05-26 | 2005-12-15 | Matthew Rust | Method for endovascular bypass stent graft delivery |
| GB0419954D0 (en) | 2004-09-08 | 2004-10-13 | Advotek Medical Devices Ltd | System for directing therapy |
| US7473252B2 (en) * | 2004-10-07 | 2009-01-06 | Coaptus Medical Corporation | Systems and methods for shrinking and/or securing cardiovascular tissue |
| JP4821947B2 (en) * | 2004-10-19 | 2011-11-24 | 朝日インテック株式会社 | Chemical injection device |
| WO2006046244A2 (en) * | 2004-10-26 | 2006-05-04 | Yoav Turgeman | Method and apparatus for diverting a guidewire through a bifurcated passageway |
| US20060111704A1 (en) * | 2004-11-22 | 2006-05-25 | Rox Medical, Inc. | Devices, systems, and methods for energy assisted arterio-venous fistula creation |
| DE102005003632A1 (en) | 2005-01-20 | 2006-08-17 | Fraunhofer-Gesellschaft zur Förderung der angewandten Forschung e.V. | Catheter for the transvascular implantation of heart valve prostheses |
| KR100675379B1 (en) * | 2005-01-25 | 2007-01-29 | 삼성전자주식회사 | Printing system and printing method |
| US7918795B2 (en) * | 2005-02-02 | 2011-04-05 | Gynesonics, Inc. | Method and device for uterine fibroid treatment |
| US20060224118A1 (en) * | 2005-03-31 | 2006-10-05 | Morris Mary M | Medical fluid delivery system |
| KR20080005939A (en) * | 2005-04-04 | 2008-01-15 | 시네수스 인코포레이티드 | Sinus abnormalities treatment device and method |
| US7794413B2 (en) * | 2005-04-19 | 2010-09-14 | Ev3, Inc. | Libraries and data structures of materials removed by debulking catheters |
| CN101180006B (en) * | 2005-05-25 | 2010-09-22 | 切斯纳特医药技术公司 | System for delivering and deploying an occluding device within a vessel |
| US8273101B2 (en) | 2005-05-25 | 2012-09-25 | Tyco Healthcare Group Lp | System and method for delivering and deploying an occluding device within a vessel |
| US8951225B2 (en) | 2005-06-10 | 2015-02-10 | Acclarent, Inc. | Catheters with non-removable guide members useable for treatment of sinusitis |
| US20070038173A1 (en) * | 2005-07-27 | 2007-02-15 | Fox Hollow Technologies, Inc. | Methods affecting markers in patients having vascular disease |
| US8784336B2 (en) | 2005-08-24 | 2014-07-22 | C. R. Bard, Inc. | Stylet apparatuses and methods of manufacture |
| US8025655B2 (en) * | 2005-09-12 | 2011-09-27 | Bridgepoint Medical, Inc. | Endovascular devices and methods |
| US11020141B2 (en) | 2005-09-12 | 2021-06-01 | Bridgepoint Medical, Inc. | Endovascular devices and methods |
| US7918870B2 (en) | 2005-09-12 | 2011-04-05 | Bridgepoint Medical, Inc. | Endovascular devices and methods |
| US8083727B2 (en) | 2005-09-12 | 2011-12-27 | Bridgepoint Medical, Inc. | Endovascular devices and methods for exploiting intramural space |
| EP1924315B1 (en) | 2005-09-12 | 2019-12-04 | Bridgepoint Medical, Inc. | Endovascular devices |
| JP4868387B2 (en) * | 2005-09-21 | 2012-02-01 | 朝日インテック株式会社 | Chemical injection device |
| US8114113B2 (en) | 2005-09-23 | 2012-02-14 | Acclarent, Inc. | Multi-conduit balloon catheter |
| US20070093804A1 (en) * | 2005-10-17 | 2007-04-26 | Coaptus Medical Corporation | Control systems for patient devices, including devices for securing cardiovascular tissue, and associated methods |
| US7867169B2 (en) * | 2005-12-02 | 2011-01-11 | Abbott Cardiovascular Systems Inc. | Echogenic needle catheter configured to produce an improved ultrasound image |
| JP4800030B2 (en) * | 2005-12-27 | 2011-10-26 | 本田技研工業株式会社 | Window glass lifting device |
| US10058342B2 (en) | 2006-01-12 | 2018-08-28 | Gynesonics, Inc. | Devices and methods for treatment of tissue |
| US7815571B2 (en) | 2006-04-20 | 2010-10-19 | Gynesonics, Inc. | Rigid delivery systems having inclined ultrasound and needle |
| US11259825B2 (en) | 2006-01-12 | 2022-03-01 | Gynesonics, Inc. | Devices and methods for treatment of tissue |
| US7874986B2 (en) | 2006-04-20 | 2011-01-25 | Gynesonics, Inc. | Methods and devices for visualization and ablation of tissue |
| US9357977B2 (en) | 2006-01-12 | 2016-06-07 | Gynesonics, Inc. | Interventional deployment and imaging system |
| US7989207B2 (en) * | 2006-02-17 | 2011-08-02 | Tyco Healthcare Group Lp | Testing lumenectomy samples for markers of non-vascular diseases |
| WO2007100556A1 (en) | 2006-02-22 | 2007-09-07 | Ev3 Inc. | Embolic protection systems having radiopaque filter mesh |
| CA2644319C (en) * | 2006-03-01 | 2016-01-05 | The Brigham And Women's Hospital, Inc. | Artery imaging system |
| US20070239010A1 (en) * | 2006-04-11 | 2007-10-11 | Medtronic Vascular, Inc. | Catheters with Laterally Deployable Elements and Linear Ultrasound Arrays |
| US20130190676A1 (en) | 2006-04-20 | 2013-07-25 | Limflow Gmbh | Devices and methods for fluid flow through body passages |
| US10595819B2 (en) | 2006-04-20 | 2020-03-24 | Gynesonics, Inc. | Ablation device with articulated imaging transducer |
| US8206300B2 (en) | 2008-08-26 | 2012-06-26 | Gynesonics, Inc. | Ablation device with articulated imaging transducer |
| US7794402B2 (en) * | 2006-05-15 | 2010-09-14 | Advanced Cardiovascular Systems, Inc. | Echogenic needle catheter configured to produce an improved ultrasound image |
| US8190389B2 (en) | 2006-05-17 | 2012-05-29 | Acclarent, Inc. | Adapter for attaching electromagnetic image guidance components to a medical device |
| US20070276419A1 (en) | 2006-05-26 | 2007-11-29 | Fox Hollow Technologies, Inc. | Methods and devices for rotating an active element and an energy emitter on a catheter |
| US8535707B2 (en) * | 2006-07-10 | 2013-09-17 | Intersect Ent, Inc. | Devices and methods for delivering active agents to the osteomeatal complex |
| US9867530B2 (en) | 2006-08-14 | 2018-01-16 | Volcano Corporation | Telescopic side port catheter device with imaging system and method for accessing side branch occlusions |
| US8036757B2 (en) | 2006-09-10 | 2011-10-11 | Seth Worley | Pacing lead and method for pacing in the pericardial space |
| US9820688B2 (en) | 2006-09-15 | 2017-11-21 | Acclarent, Inc. | Sinus illumination lightwire device |
| US8636715B2 (en) * | 2006-09-25 | 2014-01-28 | Medtronic Vascular, Inc. | High torque, low profile catheters and methods for transluminal interventions |
| US8388546B2 (en) | 2006-10-23 | 2013-03-05 | Bard Access Systems, Inc. | Method of locating the tip of a central venous catheter |
| US7794407B2 (en) | 2006-10-23 | 2010-09-14 | Bard Access Systems, Inc. | Method of locating the tip of a central venous catheter |
| US9060802B2 (en) | 2006-11-21 | 2015-06-23 | Bridgepoint Medical, Inc. | Endovascular devices and methods for exploiting intramural space |
| US11298511B2 (en) | 2006-11-21 | 2022-04-12 | Bridgepoint Medical, Inc. | Endovascular devices and methods for exploiting intramural space |
| US10888354B2 (en) | 2006-11-21 | 2021-01-12 | Bridgepoint Medical, Inc. | Endovascular devices and methods for exploiting intramural space |
| US20080147040A1 (en) * | 2006-12-13 | 2008-06-19 | Medtronic Vascular, Inc. A Delaware Corporation | Catheters Having Linear Electrode Arrays and Their Methods of Use |
| US20080154172A1 (en) | 2006-12-20 | 2008-06-26 | Medtronic Vascular, Inc. | Low Profile Catheters and Methods for Treatment of Chronic Total Occlusions and Other Disorders |
| US8439687B1 (en) | 2006-12-29 | 2013-05-14 | Acclarent, Inc. | Apparatus and method for simulated insertion and positioning of guidewares and other interventional devices |
| US8257382B2 (en) * | 2007-03-29 | 2012-09-04 | Boston Scientific Limited | Lumen reentry devices and methods |
| US7896915B2 (en) | 2007-04-13 | 2011-03-01 | Jenavalve Technology, Inc. | Medical device for treating a heart valve insufficiency |
| US8118757B2 (en) | 2007-04-30 | 2012-02-21 | Acclarent, Inc. | Methods and devices for ostium measurement |
| US8485199B2 (en) | 2007-05-08 | 2013-07-16 | Acclarent, Inc. | Methods and devices for protecting nasal turbinate during surgery |
| US8852112B2 (en) | 2007-06-28 | 2014-10-07 | W. L. Gore & Associates, Inc. | Catheter with deflectable imaging device and bendable electrical conductor |
| US8864675B2 (en) * | 2007-06-28 | 2014-10-21 | W. L. Gore & Associates, Inc. | Catheter |
| US8285362B2 (en) * | 2007-06-28 | 2012-10-09 | W. L. Gore & Associates, Inc. | Catheter with deflectable imaging device |
| US10219780B2 (en) * | 2007-07-12 | 2019-03-05 | Volcano Corporation | OCT-IVUS catheter for concurrent luminal imaging |
| US9596993B2 (en) | 2007-07-12 | 2017-03-21 | Volcano Corporation | Automatic calibration systems and methods of use |
| WO2009009799A1 (en) | 2007-07-12 | 2009-01-15 | Volcano Corporation | Catheter for in vivo imaging |
| JP2010535072A (en) | 2007-08-02 | 2010-11-18 | バイオコネクト システムズ | Embedded flow connector |
| US20130197546A1 (en) | 2007-08-02 | 2013-08-01 | Bioconnect Systems, Inc. | Implantable flow connector |
| US8088072B2 (en) | 2007-10-12 | 2012-01-03 | Gynesonics, Inc. | Methods and systems for controlled deployment of needles in tissue |
| WO2009054943A1 (en) | 2007-10-22 | 2009-04-30 | Bridgepoint Medical, Inc. | Methods and devices for crossing chronic total occlusions |
| US10449330B2 (en) | 2007-11-26 | 2019-10-22 | C. R. Bard, Inc. | Magnetic element-equipped needle assemblies |
| US9636031B2 (en) | 2007-11-26 | 2017-05-02 | C.R. Bard, Inc. | Stylets for use with apparatus for intravascular placement of a catheter |
| US8849382B2 (en) | 2007-11-26 | 2014-09-30 | C. R. Bard, Inc. | Apparatus and display methods relating to intravascular placement of a catheter |
| US10524691B2 (en) | 2007-11-26 | 2020-01-07 | C. R. Bard, Inc. | Needle assembly including an aligned magnetic element |
| US10751509B2 (en) | 2007-11-26 | 2020-08-25 | C. R. Bard, Inc. | Iconic representations for guidance of an indwelling medical device |
| US9649048B2 (en) | 2007-11-26 | 2017-05-16 | C. R. Bard, Inc. | Systems and methods for breaching a sterile field for intravascular placement of a catheter |
| US8968382B2 (en) | 2007-12-11 | 2015-03-03 | Cornell University | Method and apparatus for restricting flow through an opening in the side wall |
| BRPI0819404B8 (en) * | 2007-12-11 | 2021-06-22 | Univ Cornell | expandable spherical structure, sealing system for openings in the side wall of a blood vessel or other body lumen, endoluminal device and device for positioning in a blood vessel adjacent to an aneurysm |
| PT2231065T (en) * | 2007-12-18 | 2020-12-07 | Intersect Ent Inc | Self-expanding devices and methods therefor |
| US10206821B2 (en) | 2007-12-20 | 2019-02-19 | Acclarent, Inc. | Eustachian tube dilation balloon with ventilation path |
| CA2711990A1 (en) * | 2008-01-31 | 2009-08-06 | F. Nicholas Franano | Medical device |
| US11992238B2 (en) | 2008-02-05 | 2024-05-28 | Boston Scientific Scimed, Inc. | Endovascular device with a tissue piercing distal probe and associated methods |
| US8337425B2 (en) | 2008-02-05 | 2012-12-25 | Bridgepoint Medical, Inc. | Endovascular device with a tissue piercing distal probe and associated methods |
| EP3251719B1 (en) | 2008-02-05 | 2020-10-21 | Bridgepoint Medical, Inc. | Crossing occlusions in blood vessels |
| WO2009100198A2 (en) * | 2008-02-08 | 2009-08-13 | Mayo Foundation For Medical Education And Research | Transapical heart port |
| US8784440B2 (en) | 2008-02-25 | 2014-07-22 | Covidien Lp | Methods and devices for cutting tissue |
| US9044318B2 (en) | 2008-02-26 | 2015-06-02 | Jenavalve Technology Gmbh | Stent for the positioning and anchoring of a valvular prosthesis |
| ES2903231T3 (en) | 2008-02-26 | 2022-03-31 | Jenavalve Tech Inc | Stent for positioning and anchoring a valve prosthesis at an implantation site in a patient's heart |
| US8182432B2 (en) | 2008-03-10 | 2012-05-22 | Acclarent, Inc. | Corewire design and construction for medical devices |
| US8016814B2 (en) * | 2008-03-10 | 2011-09-13 | Medtronic Vascular, Inc. | Guidewires and delivery catheters having fiber optic sensing components and related systems and methods |
| US8016842B2 (en) * | 2008-03-25 | 2011-09-13 | Medtronic Vascular, Inc. | Methods for treating vulnerable plaque |
| US20090254105A1 (en) * | 2008-04-04 | 2009-10-08 | Medtronic Vascular, Inc. | Anastomotic connectors |
| US20090259174A1 (en) * | 2008-04-15 | 2009-10-15 | Medtronic Vascular, Inc. | Methods and devices for treating vulnerable atherosclerotic plaque |
| US8374680B2 (en) * | 2008-04-21 | 2013-02-12 | Medtronic Vascular, Inc. | Needleless catheters and methods for true lumen re-entry in treatment of chronic total occlusions and other disorders |
| US8644913B2 (en) | 2011-03-28 | 2014-02-04 | Avinger, Inc. | Occlusion-crossing devices, imaging, and atherectomy devices |
| US9125562B2 (en) | 2009-07-01 | 2015-09-08 | Avinger, Inc. | Catheter-based off-axis optical coherence tomography imaging system |
| US9498600B2 (en) | 2009-07-01 | 2016-11-22 | Avinger, Inc. | Atherectomy catheter with laterally-displaceable tip |
| US8062316B2 (en) | 2008-04-23 | 2011-11-22 | Avinger, Inc. | Catheter system and method for boring through blocked vascular passages |
| EP4011305B1 (en) | 2008-04-28 | 2024-12-25 | Boston Scientific Scimed, Inc. | Apparatus for crossing occlusions in blood vessels |
| WO2009140437A1 (en) | 2008-05-13 | 2009-11-19 | Nfocus Neuromedical, Inc. | Braid implant delivery systems |
| AU2009251259B2 (en) * | 2008-05-30 | 2013-11-14 | W.L. Gore & Associates, Inc. | Real time ultrasound catheter probe |
| US20100022940A1 (en) * | 2008-07-25 | 2010-01-28 | Medtronic Vascular, Inc. | Percutaneously Introduceable Shunt Devices and Methods |
| KR101653180B1 (en) | 2008-07-30 | 2016-09-01 | 아클라런트, 인코포레이션 | Paranasal ostium finder devices and methods |
| CA2732355A1 (en) | 2008-08-01 | 2010-02-04 | Intersect Ent, Inc. | Methods and devices for crimping self-expanding devices |
| EP2313143B1 (en) | 2008-08-22 | 2014-09-24 | C.R. Bard, Inc. | Catheter assembly including ecg sensor and magnetic assemblies |
| US20100047210A1 (en) * | 2008-08-25 | 2010-02-25 | Medtronic Vascular, Inc. | Systems and Methods for Positioning of Needles and Other Devices Within Body Tissue |
| KR101643907B1 (en) | 2008-09-18 | 2016-07-29 | 아클라런트, 인코포레이션 | Methods and apparatus for treating disorders of the ear nose and throat |
| US20100130835A1 (en) * | 2008-09-30 | 2010-05-27 | Rox Medical, Inc. | Methods for screening and treating patients with compromised cardiopulmonary function |
| US8437833B2 (en) | 2008-10-07 | 2013-05-07 | Bard Access Systems, Inc. | Percutaneous magnetic gastrostomy |
| WO2010045226A2 (en) | 2008-10-13 | 2010-04-22 | Fox Hollow Technologies, Inc. | Devices and methods for manipulating a catheter shaft |
| JP5750051B2 (en) | 2009-01-22 | 2015-07-15 | コーネル ユニヴァーシティー | Method and apparatus for restricting flow through a lumen wall |
| US8632468B2 (en) * | 2009-02-25 | 2014-01-21 | Koninklijke Philips N.V. | Method, system and devices for transjugular intrahepatic portosystemic shunt (TIPS) procedures |
| US8262574B2 (en) | 2009-02-27 | 2012-09-11 | Gynesonics, Inc. | Needle and tine deployment mechanism |
| US20100241155A1 (en) | 2009-03-20 | 2010-09-23 | Acclarent, Inc. | Guide system with suction |
| US7978742B1 (en) | 2010-03-24 | 2011-07-12 | Corning Incorporated | Methods for operating diode lasers |
| US8435290B2 (en) | 2009-03-31 | 2013-05-07 | Acclarent, Inc. | System and method for treatment of non-ventilating middle ear by providing a gas pathway through the nasopharynx |
| EP2424608B1 (en) | 2009-04-28 | 2014-03-19 | Avinger, Inc. | Guidewire support catheter |
| JP5579830B2 (en) | 2009-04-29 | 2014-08-27 | コヴィディエン リミテッド パートナーシップ | Method and apparatus for cutting and polishing tissue |
| JP5281195B2 (en) | 2009-05-14 | 2013-09-04 | コヴィディエン リミテッド パートナーシップ | Atherotomy catheter that can be easily cleaned and method of use |
| AU2010248992B2 (en) | 2009-05-15 | 2014-11-27 | Intersect Ent, Inc. | Expandable devices and methods therefor |
| CA2763324C (en) | 2009-05-28 | 2018-10-23 | Avinger, Inc. | Optical coherence tomography for biological imaging |
| JP5795576B2 (en) | 2009-06-12 | 2015-10-14 | バード・アクセス・システムズ,インコーポレーテッド | Method of operating a computer-based medical device that uses an electrocardiogram (ECG) signal to position an intravascular device in or near the heart |
| US8876722B2 (en) | 2009-07-23 | 2014-11-04 | Acist Medical Systems, Inc. | Endoventricular injection catheter system with integrated echocardiographic capabilities |
| EP2464407A4 (en) | 2009-08-10 | 2014-04-02 | Bard Access Systems Inc | Devices and methods for endovascular electrography |
| EP2470248B1 (en) | 2009-08-28 | 2014-10-22 | Boston Scientific Limited | Inverted balloon neck on catheter |
| JP5499180B2 (en) | 2009-12-02 | 2014-05-21 | コヴィディエン リミテッド パートナーシップ | Method and apparatus for cutting tissue |
| WO2011072149A1 (en) | 2009-12-11 | 2011-06-16 | Fox Hollow Technologies, Inc. | Material removal device having improved material capture efficiency and methods of use |
| US20110184504A1 (en) * | 2010-01-22 | 2011-07-28 | Medtronic Vascular, Inc. | Methods and Apparatus for Providing an Arteriovenous Fistula |
| EP2531098B1 (en) | 2010-02-02 | 2020-07-15 | C.R. Bard, Inc. | Apparatus and method for catheter navigation and tip location |
| US10856978B2 (en) | 2010-05-20 | 2020-12-08 | Jenavalve Technology, Inc. | Catheter system |
| CA2799459A1 (en) | 2010-05-25 | 2011-12-01 | Jenavalve Technology Inc. | Prosthetic heart valve and transcatheter delivered endoprosthesis comprising a prosthetic heart valve and a stent |
| EP3662827B1 (en) | 2010-05-28 | 2021-03-03 | C.R. Bard, Inc. | Apparatus for use with needle insertion guidance system |
| KR101493138B1 (en) | 2010-06-14 | 2015-02-12 | 코비디엔 엘피 | Material removal device |
| AU2011268346B2 (en) | 2010-06-15 | 2014-07-17 | Avenu Medical, Inc. | Intravascular arterial to venous anastomosis and tissue welding catheter |
| AU2011268411B2 (en) | 2010-06-15 | 2014-11-27 | Avenu Medical, Inc. | Systems and methods for creating arteriovenous (AV) fistulas |
| US11382653B2 (en) | 2010-07-01 | 2022-07-12 | Avinger, Inc. | Atherectomy catheter |
| CN103442632A (en) | 2010-08-20 | 2013-12-11 | C·R·巴德股份有限公司 | Reconfirmation of ECG-assisted catheter tip placement |
| US9155492B2 (en) | 2010-09-24 | 2015-10-13 | Acclarent, Inc. | Sinus illumination lightwire device |
| US8932315B2 (en) | 2010-10-18 | 2015-01-13 | W. L. Gore & Associates, Inc. | Systems and methods for percutaneous occlusion crossing |
| CA2815186C (en) | 2010-10-28 | 2015-12-29 | Covidien Lp | Material removal device and method of use |
| US8801693B2 (en) | 2010-10-29 | 2014-08-12 | C. R. Bard, Inc. | Bioimpedance-assisted placement of a medical device |
| JP5972272B2 (en) | 2010-10-29 | 2016-08-17 | シーブイアールエックス, インコーポレイテッドCvrx, Inc. | Implant tools and improved electrode design for minimally invasive procedures |
| AU2011326420B2 (en) | 2010-11-11 | 2014-11-27 | Covidien Lp | Flexible debulking catheters with imaging and methods of use and manufacture |
| US11141063B2 (en) | 2010-12-23 | 2021-10-12 | Philips Image Guided Therapy Corporation | Integrated system architectures and methods of use |
| US11040140B2 (en) | 2010-12-31 | 2021-06-22 | Philips Image Guided Therapy Corporation | Deep vein thrombosis therapeutic methods |
| US9949754B2 (en) | 2011-03-28 | 2018-04-24 | Avinger, Inc. | Occlusion-crossing devices |
| EP2693981A4 (en) | 2011-04-01 | 2015-07-01 | Univ Cornell | METHOD AND APPARATUS FOR RESTRICTING FLOW THROUGH OPENING IN THE LATERAL WALL OF A BODY LIGHT, AND / OR FOR STRENGTHENING WEAKNESS IN THE LATERAL WALL OF A BODY LIGHT, AND / OR FOR STRENGTHENING WEAKNESS IN THE SIDE WALL BODY LIGHT, WHILE STILL PRESENTING A SUBSTANTIALLY NORMAL FLOW THROUGH BODILY LIGHT |
| US9138230B1 (en) | 2011-04-29 | 2015-09-22 | Avenu Medical, Inc. | Systems and methods for creating arteriovenous (AV) fistulas |
| JP6008960B2 (en) | 2011-07-06 | 2016-10-19 | シー・アール・バード・インコーポレーテッドC R Bard Incorporated | Needle length determination and calibration for insertion guidance systems |
| WO2013033489A1 (en) | 2011-08-31 | 2013-03-07 | Volcano Corporation | Optical rotary joint and methods of use |
| JP5806407B2 (en) | 2011-09-01 | 2015-11-10 | コヴィディエン リミテッド パートナーシップ | Catheter with helical drive shaft and manufacturing method |
| AU2012324006B2 (en) | 2011-11-04 | 2015-07-16 | Avenu Medical, Inc. | Systems and methods for percutaneous intravascular access and guidewire placement |
| US9345406B2 (en) | 2011-11-11 | 2016-05-24 | Avinger, Inc. | Occlusion-crossing devices, atherectomy devices, and imaging |
| US10213187B1 (en) | 2012-01-25 | 2019-02-26 | Mubin I. Syed | Method and apparatus for percutaneous superficial temporal artery access for carotid artery stenting |
| EP2812063B1 (en) | 2012-02-08 | 2020-03-25 | Avenu Medical, Inc. | Intravascular arterial to venous anastomosis and tissue welding catheter |
| US10434293B2 (en) | 2012-04-15 | 2019-10-08 | Tva Medical, Inc. | Implantable flow connector |
| US9314600B2 (en) | 2012-04-15 | 2016-04-19 | Bioconnect Systems, Inc. | Delivery system for implantable flow connector |
| EP2849636B1 (en) | 2012-05-14 | 2020-04-22 | Avinger, Inc. | Optical coherence tomography with graded index fiber for biological imaging |
| US9345398B2 (en) | 2012-05-14 | 2016-05-24 | Avinger, Inc. | Atherectomy catheter drive assemblies |
| EP2849661B1 (en) | 2012-05-14 | 2020-12-09 | Avinger, Inc. | Atherectomy catheters with imaging |
| US9955946B2 (en) * | 2014-03-12 | 2018-05-01 | Cibiem, Inc. | Carotid body ablation with a transvenous ultrasound imaging and ablation catheter |
| US9155647B2 (en) | 2012-07-18 | 2015-10-13 | Covidien Lp | Methods and apparatus for luminal stenting |
| US9033917B2 (en) | 2012-08-15 | 2015-05-19 | Abbott Cardiovascular Systems Inc. | Needle catheter for delivery of agents directly into vessel wall |
| US11284916B2 (en) | 2012-09-06 | 2022-03-29 | Avinger, Inc. | Atherectomy catheters and occlusion crossing devices |
| US9532844B2 (en) | 2012-09-13 | 2017-01-03 | Covidien Lp | Cleaning device for medical instrument and method of use |
| EP2901912B1 (en) * | 2012-09-27 | 2019-02-20 | Olympus Corporation | Rotation unit, insertion device, insertion body, insertion device wherein insertion body is positioned, and insertion system having insertion body and insertion device |
| US9292918B2 (en) | 2012-10-05 | 2016-03-22 | Volcano Corporation | Methods and systems for transforming luminal images |
| US11272845B2 (en) | 2012-10-05 | 2022-03-15 | Philips Image Guided Therapy Corporation | System and method for instant and automatic border detection |
| US9858668B2 (en) | 2012-10-05 | 2018-01-02 | Volcano Corporation | Guidewire artifact removal in images |
| US9324141B2 (en) | 2012-10-05 | 2016-04-26 | Volcano Corporation | Removal of A-scan streaking artifact |
| US9307926B2 (en) | 2012-10-05 | 2016-04-12 | Volcano Corporation | Automatic stent detection |
| US20140100454A1 (en) | 2012-10-05 | 2014-04-10 | Volcano Corporation | Methods and systems for establishing parameters for three-dimensional imaging |
| US10568586B2 (en) | 2012-10-05 | 2020-02-25 | Volcano Corporation | Systems for indicating parameters in an imaging data set and methods of use |
| US9367965B2 (en) | 2012-10-05 | 2016-06-14 | Volcano Corporation | Systems and methods for generating images of tissue |
| US9286673B2 (en) | 2012-10-05 | 2016-03-15 | Volcano Corporation | Systems for correcting distortions in a medical image and methods of use thereof |
| US10070827B2 (en) | 2012-10-05 | 2018-09-11 | Volcano Corporation | Automatic image playback |
| JP2015532536A (en) | 2012-10-05 | 2015-11-09 | デイビッド ウェルフォード, | System and method for amplifying light |
| US9840734B2 (en) | 2012-10-22 | 2017-12-12 | Raindance Technologies, Inc. | Methods for analyzing DNA |
| US9301831B2 (en) | 2012-10-30 | 2016-04-05 | Covidien Lp | Methods for attaining a predetermined porosity of a vascular device |
| US9452070B2 (en) | 2012-10-31 | 2016-09-27 | Covidien Lp | Methods and systems for increasing a density of a region of a vascular device |
| US9675456B2 (en) | 2012-11-02 | 2017-06-13 | Medtronic, Inc. | Transcatheter valve prosthesis delivery system with recapturing feature and method |
| US9943427B2 (en) | 2012-11-06 | 2018-04-17 | Covidien Lp | Shaped occluding devices and methods of using the same |
| US9943329B2 (en) | 2012-11-08 | 2018-04-17 | Covidien Lp | Tissue-removing catheter with rotatable cutter |
| AU2013344595B2 (en) | 2012-11-14 | 2017-09-28 | Avenu Medical, Inc. | Intravascular arterial to venous anastomosis and tissue welding catheter |
| US10639179B2 (en) | 2012-11-21 | 2020-05-05 | Ram Medical Innovations, Llc | System for the intravascular placement of a medical device |
| WO2014093374A1 (en) | 2012-12-13 | 2014-06-19 | Volcano Corporation | Devices, systems, and methods for targeted cannulation |
| US11406498B2 (en) | 2012-12-20 | 2022-08-09 | Philips Image Guided Therapy Corporation | Implant delivery system and implants |
| CA2895770A1 (en) | 2012-12-20 | 2014-07-24 | Jeremy Stigall | Locating intravascular images |
| US10939826B2 (en) | 2012-12-20 | 2021-03-09 | Philips Image Guided Therapy Corporation | Aspirating and removing biological material |
| WO2014099899A1 (en) | 2012-12-20 | 2014-06-26 | Jeremy Stigall | Smooth transition catheters |
| US10942022B2 (en) | 2012-12-20 | 2021-03-09 | Philips Image Guided Therapy Corporation | Manual calibration of imaging system |
| CA2895989A1 (en) | 2012-12-20 | 2014-07-10 | Nathaniel J. Kemp | Optical coherence tomography system that is reconfigurable between different imaging modes |
| EP2936426B1 (en) | 2012-12-21 | 2021-10-13 | Jason Spencer | System and method for graphical processing of medical data |
| JP2016501625A (en) | 2012-12-21 | 2016-01-21 | ジェローム マイ, | Ultrasound imaging with variable line density |
| EP2936626A4 (en) | 2012-12-21 | 2016-08-17 | David Welford | SYSTEMS AND METHODS FOR REDUCING LIGHT WAVE LENGTH TRANSMISSION |
| US10413317B2 (en) | 2012-12-21 | 2019-09-17 | Volcano Corporation | System and method for catheter steering and operation |
| WO2014099672A1 (en) | 2012-12-21 | 2014-06-26 | Andrew Hancock | System and method for multipath processing of image signals |
| EP2934653B1 (en) | 2012-12-21 | 2018-09-19 | Douglas Meyer | Rotational ultrasound imaging catheter with extended catheter body telescope |
| US10191220B2 (en) | 2012-12-21 | 2019-01-29 | Volcano Corporation | Power-efficient optical circuit |
| US10058284B2 (en) | 2012-12-21 | 2018-08-28 | Volcano Corporation | Simultaneous imaging, monitoring, and therapy |
| US9612105B2 (en) | 2012-12-21 | 2017-04-04 | Volcano Corporation | Polarization sensitive optical coherence tomography system |
| US9486143B2 (en) | 2012-12-21 | 2016-11-08 | Volcano Corporation | Intravascular forward imaging device |
| US10555720B2 (en) * | 2012-12-28 | 2020-02-11 | Volcano Corporation | Intravascular ultrasound imaging apparatus, interface, architecture, and method of manufacturing |
| US9157174B2 (en) | 2013-02-05 | 2015-10-13 | Covidien Lp | Vascular device for aneurysm treatment and providing blood flow into a perforator vessel |
| US9278192B2 (en) | 2013-02-12 | 2016-03-08 | Invatec S.P.A. | Re-entry catheters and related methods |
| WO2014138555A1 (en) | 2013-03-07 | 2014-09-12 | Bernhard Sturm | Multimodal segmentation in intravascular images |
| US10226597B2 (en) | 2013-03-07 | 2019-03-12 | Volcano Corporation | Guidewire with centering mechanism |
| AU2014226234B2 (en) | 2013-03-08 | 2017-12-07 | Limflow Gmbh | Methods and systems for providing or maintaining fluid flow through body passages |
| US10835367B2 (en) | 2013-03-08 | 2020-11-17 | Limflow Gmbh | Devices for fluid flow through body passages |
| CN105228518B (en) | 2013-03-12 | 2018-10-09 | 火山公司 | System and method for diagnosing coronal microvascular diseases |
| US11154313B2 (en) | 2013-03-12 | 2021-10-26 | The Volcano Corporation | Vibrating guidewire torquer and methods of use |
| US11026591B2 (en) | 2013-03-13 | 2021-06-08 | Philips Image Guided Therapy Corporation | Intravascular pressure sensor calibration |
| US9272121B2 (en) | 2013-03-13 | 2016-03-01 | Invatec S.P.A. | Side lumen reentry catheters and related methods |
| US9301687B2 (en) | 2013-03-13 | 2016-04-05 | Volcano Corporation | System and method for OCT depth calibration |
| JP6339170B2 (en) | 2013-03-13 | 2018-06-06 | ジンヒョン パーク | System and method for generating images from a rotating intravascular ultrasound device |
| US10292677B2 (en) | 2013-03-14 | 2019-05-21 | Volcano Corporation | Endoluminal filter having enhanced echogenic properties |
| US12343198B2 (en) | 2013-03-14 | 2025-07-01 | Philips Image Guided Therapy Corporation | Delivery catheter having imaging capabilities |
| SG11201507476TA (en) | 2013-03-14 | 2015-10-29 | Intersect Ent Inc | Systems, devices, and method for treating a sinus condition |
| JP6342984B2 (en) | 2013-03-14 | 2018-06-13 | ボルケーノ コーポレイション | Filter with echogenic properties |
| US10219887B2 (en) | 2013-03-14 | 2019-03-05 | Volcano Corporation | Filters with echogenic characteristics |
| US9854979B2 (en) | 2013-03-15 | 2018-01-02 | Avinger, Inc. | Chronic total occlusion crossing devices with imaging |
| WO2014142954A1 (en) | 2013-03-15 | 2014-09-18 | Avinger, Inc. | Tissue collection device for catheter |
| US9629684B2 (en) | 2013-03-15 | 2017-04-25 | Acclarent, Inc. | Apparatus and method for treatment of ethmoid sinusitis |
| US10231701B2 (en) * | 2013-03-15 | 2019-03-19 | Provisio Medical, Inc. | Distance, diameter and area determining device |
| CN105228514B (en) | 2013-03-15 | 2019-01-22 | 阿维格公司 | Optical Pressure Sensor Assembly |
| US9433437B2 (en) | 2013-03-15 | 2016-09-06 | Acclarent, Inc. | Apparatus and method for treatment of ethmoid sinusitis |
| US10130386B2 (en) | 2013-07-08 | 2018-11-20 | Avinger, Inc. | Identification of elastic lamina to guide interventional therapy |
| US9301777B2 (en) | 2013-07-29 | 2016-04-05 | Invatec S.P.A. | Occlusion bypassing apparatuses and methods for bypassing an occlusion in a blood vessel |
| US9308356B2 (en) | 2013-07-29 | 2016-04-12 | Invatec S.P.A. | Occlusion bypassing apparatuses and methods for bypassing an occlusion in a blood vessel |
| US10070866B1 (en) | 2013-08-01 | 2018-09-11 | Avenu Medical, Inc. | Percutaneous arterial to venous anastomosis clip application catheter system and methods |
| US9364642B2 (en) | 2013-08-14 | 2016-06-14 | Invatec S.P.A. | Balloon catheter systems and methods for bypassing an occlusion in a blood vessel |
| US9320874B2 (en) | 2013-08-15 | 2016-04-26 | Invatec S.P.A. | Catheter systems with a blocking mechanism and methods for bypassing an occlusion in a blood vessel |
| CN105473098B (en) * | 2013-08-15 | 2019-03-26 | 直观外科手术操作公司 | System and method for medical procedure validation |
| EP4098226A1 (en) | 2013-08-30 | 2022-12-07 | JenaValve Technology, Inc. | Endoprosthesis comprising a radially collapsible frame and a prosthetic valve |
| US20150174371A1 (en) * | 2013-12-23 | 2015-06-25 | Cook Medical Technologies Llc | System for bypassing vascular occlusion having puncturing mechanism and method |
| JP2017509366A (en) * | 2014-01-14 | 2017-04-06 | ボルケーノ コーポレイション | Catheter assembly for vascular access site creation |
| WO2015108973A1 (en) | 2014-01-14 | 2015-07-23 | Volcano Corporation | Methods and systems for clearing thrombus from a vascular access site |
| WO2015108957A1 (en) | 2014-01-14 | 2015-07-23 | Volcano Corporation | Systems for improving an av access site |
| EP3094241B1 (en) | 2014-01-14 | 2018-07-04 | Volcano Corporation | Systems and methods for evaluating hemodialysis arteriovenous fistula maturation |
| US10238816B2 (en) * | 2014-01-14 | 2019-03-26 | Volcano Corporation | Devices and methods for forming vascular access |
| EP3073910B1 (en) | 2014-02-06 | 2020-07-15 | C.R. Bard, Inc. | Systems for guidance and placement of an intravascular device |
| US9446222B2 (en) | 2014-03-05 | 2016-09-20 | Invatec S.P.A. | Catheter assemblies and methods for stabilizing a catheter assembly within a subintimal space |
| US10772672B2 (en) | 2014-03-06 | 2020-09-15 | Avenu Medical, Inc. | Systems and methods for percutaneous access and formation of arteriovenous fistulas |
| US9545263B2 (en) | 2014-06-19 | 2017-01-17 | Limflow Gmbh | Devices and methods for treating lower extremity vasculature |
| WO2015200702A1 (en) | 2014-06-27 | 2015-12-30 | Covidien Lp | Cleaning device for catheter and catheter including the same |
| CN107106190B (en) | 2014-07-08 | 2020-02-28 | 阿维格公司 | High-speed chronic full-closure crossing device |
| US10456557B2 (en) | 2014-08-14 | 2019-10-29 | Invatec S.P.A. | Occlusion bypassing apparatus with varying flexibility and methods for bypassing an occlusion in a blood vessel |
| US10869650B2 (en) | 2014-11-06 | 2020-12-22 | Covidien Lp | System for tracking and imaging a treatment probe |
| US10973584B2 (en) | 2015-01-19 | 2021-04-13 | Bard Access Systems, Inc. | Device and method for vascular access |
| CA2974376A1 (en) | 2015-01-22 | 2016-07-28 | Intersect Ent, Inc. | Drug-coated balloon |
| US12121461B2 (en) | 2015-03-20 | 2024-10-22 | Jenavalve Technology, Inc. | Heart valve prosthesis delivery system and method for delivery of heart valve prosthesis with introducer sheath |
| US10314667B2 (en) | 2015-03-25 | 2019-06-11 | Covidien Lp | Cleaning device for cleaning medical instrument |
| US9636244B2 (en) | 2015-04-09 | 2017-05-02 | Mubin I. Syed | Apparatus and method for proximal to distal stent deployment |
| JP6767388B2 (en) | 2015-05-01 | 2020-10-14 | イェーナヴァルヴ テクノロジー インコーポレイテッド | Devices and methods to reduce the proportion of pacemakers in heart valve replacement |
| US10349890B2 (en) | 2015-06-26 | 2019-07-16 | C. R. Bard, Inc. | Connector interface for ECG-based catheter positioning system |
| EP3322338B1 (en) | 2015-07-13 | 2025-02-12 | Avinger, Inc. | Micro-molded anamorphic reflector lens for image guided therapeutic/diagnostic catheters |
| US10292721B2 (en) | 2015-07-20 | 2019-05-21 | Covidien Lp | Tissue-removing catheter including movable distal tip |
| AU2016313523B2 (en) | 2015-08-21 | 2020-10-15 | Avenu Medical, Inc. | Systems and methods for percutaneous access and formation of arteriovenous fistulas |
| US10172632B2 (en) | 2015-09-22 | 2019-01-08 | Medtronic Vascular, Inc. | Occlusion bypassing apparatus with a re-entry needle and a stabilization tube |
| US10327791B2 (en) | 2015-10-07 | 2019-06-25 | Medtronic Vascular, Inc. | Occlusion bypassing apparatus with a re-entry needle and a distal stabilization balloon |
| US10314664B2 (en) | 2015-10-07 | 2019-06-11 | Covidien Lp | Tissue-removing catheter and tissue-removing element with depth stop |
| US10492936B2 (en) | 2015-10-30 | 2019-12-03 | Ram Medical Innovations, Llc | Apparatus and method for improved access of procedural catheter in tortuous vessels |
| US9980838B2 (en) | 2015-10-30 | 2018-05-29 | Ram Medical Innovations Llc | Apparatus and method for a bifurcated catheter for use in hostile aortic arches |
| US10327929B2 (en) | 2015-10-30 | 2019-06-25 | Ram Medical Innovations, Llc | Apparatus and method for stabilization of procedural catheter in tortuous vessels |
| US11020256B2 (en) | 2015-10-30 | 2021-06-01 | Ram Medical Innovations, Inc. | Bifurcated “Y” anchor support for coronary interventions |
| US10779976B2 (en) | 2015-10-30 | 2020-09-22 | Ram Medical Innovations, Llc | Apparatus and method for stabilization of procedural catheter in tortuous vessels |
| US11278248B2 (en) | 2016-01-25 | 2022-03-22 | Avinger, Inc. | OCT imaging catheter with lag correction |
| US11000207B2 (en) | 2016-01-29 | 2021-05-11 | C. R. Bard, Inc. | Multiple coil system for tracking a medical device |
| CN108882948A (en) | 2016-04-01 | 2018-11-23 | 阿维格公司 | Atherectomy catheter with serrated cutter |
| EP4183371A1 (en) | 2016-05-13 | 2023-05-24 | JenaValve Technology, Inc. | Heart valve prosthesis delivery system and method for delivery of heart valve prosthesis with introducer sheath and loading system |
| CN109475368A (en) | 2016-06-03 | 2019-03-15 | 阿维格公司 | Catheter device with detachable distal end |
| US10173031B2 (en) | 2016-06-20 | 2019-01-08 | Mubin I. Syed | Interchangeable flush/selective catheter |
| US10952702B2 (en) | 2016-06-21 | 2021-03-23 | Canon U.S.A., Inc. | Non-uniform rotational distortion detection catheter system |
| CN109414273B (en) | 2016-06-30 | 2023-02-17 | 阿维格公司 | Atherectomy Catheter with Shapeable Distal Tip |
| US10602989B2 (en) | 2016-09-02 | 2020-03-31 | Canon U.S.A., Inc. | Capacitive sensing and encoding for imaging probes |
| AU2017359338B2 (en) | 2016-11-11 | 2022-09-08 | Gynesonics, Inc. | Controlled treatment of tissue and dynamic interaction with, and comparison of, tissue and/or treatment data |
| JP2019533539A (en) | 2016-11-11 | 2019-11-21 | アベニュ メディカル インコーポレイテッド | System and method for percutaneous endovascular access and wire placement |
| EP3573579B1 (en) | 2017-01-27 | 2023-12-20 | JenaValve Technology, Inc. | Heart valve mimicry |
| CN108882975B (en) * | 2017-03-06 | 2022-03-15 | 拉姆医学创新股份有限公司 | Apparatus and method for improving access to surgical catheters in tortuous vessels |
| EP3609415B1 (en) | 2017-04-10 | 2023-08-23 | LimFlow GmbH | Devices for treating lower extremity vasculature |
| US20210244371A1 (en) * | 2017-09-04 | 2021-08-12 | Beijing Chest Hospital, Capital Medical University | Coronary vein guiding system and accompanying vein guiding method and system |
| US11065136B2 (en) | 2018-02-08 | 2021-07-20 | Covidien Lp | Vascular expandable devices |
| US11065009B2 (en) | 2018-02-08 | 2021-07-20 | Covidien Lp | Vascular expandable devices |
| US10857014B2 (en) | 2018-02-18 | 2020-12-08 | Ram Medical Innovations, Llc | Modified fixed flat wire bifurcated catheter and its application in lower extremity interventions |
| CN212631328U (en) | 2018-03-14 | 2021-03-02 | 墨卡托医疗系统公司 | Medical device for local drug delivery |
| US11166625B2 (en) * | 2018-03-26 | 2021-11-09 | Spiration, Inc. | Sheath with detectable leader |
| EP3781021B1 (en) | 2018-04-19 | 2023-03-22 | Avinger, Inc. | Occlusion-crossing devices |
| US10470797B1 (en) | 2018-07-17 | 2019-11-12 | SlipStream, LLC | Systems and methods for vascular access |
| US12239322B2 (en) | 2018-08-17 | 2025-03-04 | Empress Medical, Inc. | Device and method for passing tension member around tissue mass |
| US11419610B2 (en) | 2018-08-17 | 2022-08-23 | Empress Medical, Inc. | Device and method for passing tension member around tissue mass |
| JP2021533849A (en) | 2018-08-17 | 2021-12-09 | エンプレス メディカル,インク. | Devices and methods for compressing tumors |
| CA3112353A1 (en) | 2018-10-09 | 2020-04-16 | Limflow Gmbh | Devices and methods for catheter alignment |
| EP3917417A1 (en) | 2019-01-31 | 2021-12-08 | Merit Medical Systems, Inc. | Thrombosis macerating devices for blood vessels |
| USD902390S1 (en) | 2019-03-13 | 2020-11-17 | Mercator Medsystems, Inc. | Catheter with protected needle and balloon |
| USD903102S1 (en) | 2019-03-13 | 2020-11-24 | Mercator Medsystems, Inc. | Catheter with protected needle and balloon |
| USD902388S1 (en) | 2019-03-13 | 2020-11-17 | Mercator Medsystems, Inc. | Catheter with protected needle and balloon |
| USD903104S1 (en) | 2019-03-13 | 2020-11-24 | Mercator Medsystems, Inc. | Catheter with protected needle and balloon |
| USD903103S1 (en) | 2019-03-13 | 2020-11-24 | Mercator Medsystems, Inc. | Catheter with protected needle and balloon |
| USD902389S1 (en) | 2019-03-13 | 2020-11-17 | Mercator Medsystems, Inc. | Catheter with protected needle and balloon |
| WO2021007346A1 (en) | 2019-07-09 | 2021-01-14 | Juad Nextgen Neuroend, Llc | Apparatus, systems and methods for transvascular access to the brain |
| CN114568015A (en) | 2019-08-22 | 2022-05-31 | 爱德华兹生命科学公司 | Puncture needle |
| US12403291B2 (en) | 2019-08-30 | 2025-09-02 | Intersect Ent, Inc. | Submucosal bioresorbable drug eluting platform |
| US11986194B2 (en) * | 2019-09-18 | 2024-05-21 | Merit Medical Systems, Inc. | Torque cable |
| WO2021076356A1 (en) | 2019-10-18 | 2021-04-22 | Avinger, Inc. | Occlusion-crossing devices |
| EP4051174A4 (en) | 2019-11-01 | 2023-11-22 | LimFlow GmbH | Devices and methods for increasing blood perfusion to a distal extremity |
| CR20220218A (en) | 2019-11-14 | 2022-08-22 | Edwards Lifesciences Corp | Transcatheter medical implant delivery |
| WO2021202256A1 (en) * | 2020-03-30 | 2021-10-07 | Empress Medical, Inc. | Predicting curved penetration path of a surgical device |
| US11806523B2 (en) | 2020-06-30 | 2023-11-07 | Vonova Inc. | Transcatheter electrode array and use thereof |
| US12527942B2 (en) | 2021-02-01 | 2026-01-20 | Edwards Lifesciences Corporation | Pulmonary vein shunting |
| WO2022204447A1 (en) * | 2021-03-24 | 2022-09-29 | Simpson Interventions, Inc. | Chronic total occlusion treatment system using low refractive index materials |
| WO2024102411A1 (en) | 2022-11-09 | 2024-05-16 | Jenavalve Technology, Inc. | Catheter system for sequential deployment of an expandable implant |
Citations (4)
| Publication number | Priority date | Publication date | Assignee | Title |
|---|---|---|---|---|
| US8374680B2 (en) * | 2008-04-21 | 2013-02-12 | Medtronic Vascular, Inc. | Needleless catheters and methods for true lumen re-entry in treatment of chronic total occlusions and other disorders |
| US8672920B2 (en) * | 2002-01-17 | 2014-03-18 | Medtronic Vascular, Inc. | Devices, systems and methods for acute or chronic delivery of substances or apparatus to extravascular treatment sites |
| US8727988B2 (en) * | 1995-10-13 | 2014-05-20 | Medtronic Vascular, Inc. | Tissue penetrating catheters having integral imaging transducers and their methods of use |
| US8753366B2 (en) * | 1995-10-13 | 2014-06-17 | Medtronic Vascular, Inc. | Catheters and related devices for forming passageways between blood vessels or other anatomical structures |
Family Cites Families (101)
| Publication number | Priority date | Publication date | Assignee | Title |
|---|---|---|---|---|
| SU891076A1 (en) | 1979-03-19 | 1981-12-23 | Казахский Институт Клинической И Экспериментальной Хирургии | Method of shunting coronary arteriae |
| US4578061A (en) * | 1980-10-28 | 1986-03-25 | Lemelson Jerome H | Injection catheter and method |
| US4445892A (en) * | 1982-05-06 | 1984-05-01 | Laserscope, Inc. | Dual balloon catheter device |
| US4582067A (en) * | 1983-02-14 | 1986-04-15 | Washington Research Foundation | Method for endoscopic blood flow detection by the use of ultrasonic energy |
| US4774949A (en) * | 1983-06-14 | 1988-10-04 | Fogarty Thomas J | Deflector guiding catheter |
| US5190546A (en) * | 1983-10-14 | 1993-03-02 | Raychem Corporation | Medical devices incorporating SIM alloy elements |
| US5423878A (en) * | 1984-03-06 | 1995-06-13 | Ep Technologies, Inc. | Catheter and associated system for pacing the heart |
| US4552554A (en) | 1984-06-25 | 1985-11-12 | Medi-Tech Incorporated | Introducing catheter |
| US5000185A (en) * | 1986-02-28 | 1991-03-19 | Cardiovascular Imaging Systems, Inc. | Method for intravascular two-dimensional ultrasonography and recanalization |
| US4794931A (en) * | 1986-02-28 | 1989-01-03 | Cardiovascular Imaging Systems, Inc. | Catheter apparatus, system and method for intravascular two-dimensional ultrasonography |
| US4739768B2 (en) * | 1986-06-02 | 1995-10-24 | Target Therapeutics Inc | Catheter for guide-wire tracking |
| US4808153A (en) * | 1986-11-17 | 1989-02-28 | Ultramed Corporation | Device for removing plaque from arteries |
| NL8700632A (en) | 1987-03-17 | 1988-10-17 | Stichting Biomedical Engineeri | Medical spark erosion catheter - removes blockages in blood vessels using ultrasonic transducer to aid accurate placement |
| DE3710913A1 (en) | 1987-04-01 | 1988-10-13 | Manfred Wolfgang Dr Helzel | PUNCTURE CATHETER |
| US4817613A (en) * | 1987-07-13 | 1989-04-04 | Devices For Vascular Intervention, Inc. | Guiding catheter |
| US4769005A (en) * | 1987-08-06 | 1988-09-06 | Robert Ginsburg | Selective catheter guide |
| US4917097A (en) * | 1987-10-27 | 1990-04-17 | Endosonics Corporation | Apparatus and method for imaging small cavities |
| JPH01139081A (en) | 1987-11-27 | 1989-05-31 | Olympus Optical Co Ltd | Apparatus for radiating laser beam |
| US5588432A (en) * | 1988-03-21 | 1996-12-31 | Boston Scientific Corporation | Catheters for imaging, sensing electrical potentials, and ablating tissue |
| US5372138A (en) * | 1988-03-21 | 1994-12-13 | Boston Scientific Corporation | Acousting imaging catheters and the like |
| US4924863A (en) * | 1988-05-04 | 1990-05-15 | Mmtc, Inc. | Angioplastic method for removing plaque from a vas |
| EP0347098B1 (en) | 1988-06-13 | 1996-02-28 | Samuel Shiber | Atherectomy system with a guide-wire |
| GB8907101D0 (en) * | 1989-03-29 | 1989-05-10 | Nat Res Dev | Blood flow determination |
| US4936281A (en) * | 1989-04-13 | 1990-06-26 | Everest Medical Corporation | Ultrasonically enhanced RF ablation catheter |
| US4997431A (en) * | 1989-08-30 | 1991-03-05 | Angeion Corporation | Catheter |
| US5220924A (en) * | 1989-09-28 | 1993-06-22 | Frazin Leon J | Doppler-guided retrograde catheterization using transducer equipped guide wire |
| US5055109A (en) * | 1989-10-05 | 1991-10-08 | Advanced Cardiovascular Systems, Inc. | Torque transmitting assembly for intravascular devices |
| US5061245A (en) * | 1990-01-19 | 1991-10-29 | Waldvogel Chester W | Arterial bypass tool |
| US5035702A (en) * | 1990-06-18 | 1991-07-30 | Taheri Syde A | Method and apparatus for providing an anastomosis |
| US5190528A (en) * | 1990-10-19 | 1993-03-02 | Boston University | Percutaneous transseptal left atrial cannulation system |
| US5389096A (en) | 1990-12-18 | 1995-02-14 | Advanced Cardiovascular Systems | System and method for percutaneous myocardial revascularization |
| US5054492A (en) * | 1990-12-17 | 1991-10-08 | Cardiovascular Imaging Systems, Inc. | Ultrasonic imaging catheter having rotational image correlation |
| US5827315A (en) * | 1994-01-04 | 1998-10-27 | Yoon; Inbae | Safety penetrating instrument with penetrating member protected after penetration to predetermined depth |
| US5380316A (en) | 1990-12-18 | 1995-01-10 | Advanced Cardiovascular Systems, Inc. | Method for intra-operative myocardial device revascularization |
| US5409453A (en) * | 1992-08-12 | 1995-04-25 | Vidamed, Inc. | Steerable medical probe with stylets |
| US5445155A (en) * | 1991-03-13 | 1995-08-29 | Scimed Life Systems Incorporated | Intravascular imaging apparatus and methods for use and manufacture |
| US5438997A (en) | 1991-03-13 | 1995-08-08 | Sieben; Wayne | Intravascular imaging apparatus and methods for use and manufacture |
| US5330496A (en) | 1991-05-06 | 1994-07-19 | Alferness Clifton A | Vascular catheter assembly for tissue penetration and for cardiac stimulation and methods thereof |
| US5193546A (en) * | 1991-05-15 | 1993-03-16 | Alexander Shaknovich | Coronary intravascular ultrasound imaging method and apparatus |
| CA2112474A1 (en) * | 1991-07-04 | 1993-01-21 | Earl Ronald Owen | Tubular surgical implant |
| US5452733A (en) * | 1993-02-22 | 1995-09-26 | Stanford Surgical Technologies, Inc. | Methods for performing thoracoscopic coronary artery bypass |
| US5370649A (en) | 1991-08-16 | 1994-12-06 | Myriadlase, Inc. | Laterally reflecting tip for laser transmitting fiber |
| US5713363A (en) * | 1991-11-08 | 1998-02-03 | Mayo Foundation For Medical Education And Research | Ultrasound catheter and method for imaging and hemodynamic monitoring |
| US5325860A (en) * | 1991-11-08 | 1994-07-05 | Mayo Foundation For Medical Education And Research | Ultrasonic and interventional catheter and method |
| US5704361A (en) * | 1991-11-08 | 1998-01-06 | Mayo Foundation For Medical Education And Research | Volumetric image ultrasound transducer underfluid catheter system |
| WO1993015676A1 (en) * | 1992-02-05 | 1993-08-19 | Angelase, Inc. | Laser catheter with movable integral fixation wire |
| US5599300A (en) * | 1992-05-11 | 1997-02-04 | Arrow Precision Products, Inc. | Method for electrosurgically obtaining access to the biliary tree with an adjustably positionable needle-knife |
| US5538504A (en) * | 1992-07-14 | 1996-07-23 | Scimed Life Systems, Inc. | Intra-extravascular drug delivery catheter and method |
| US5556377A (en) * | 1992-08-12 | 1996-09-17 | Vidamed, Inc. | Medical probe apparatus with laser and/or microwave monolithic integrated circuit probe |
| US5486161A (en) * | 1993-02-02 | 1996-01-23 | Zomed International | Medical probe device and method |
| US5312341A (en) | 1992-08-14 | 1994-05-17 | Wayne State University | Retaining apparatus and procedure for transseptal catheterization |
| US5383460A (en) * | 1992-10-05 | 1995-01-24 | Cardiovascular Imaging Systems, Inc. | Method and apparatus for ultrasound imaging and atherectomy |
| DE4235506A1 (en) | 1992-10-21 | 1994-04-28 | Bavaria Med Tech | Drug injection catheter |
| US5409019A (en) * | 1992-10-30 | 1995-04-25 | Wilk; Peter J. | Coronary artery by-pass method |
| US5287861A (en) * | 1992-10-30 | 1994-02-22 | Wilk Peter J | Coronary artery by-pass method and associated catheter |
| US5429144A (en) * | 1992-10-30 | 1995-07-04 | Wilk; Peter J. | Coronary artery by-pass method |
| US5373849A (en) | 1993-01-19 | 1994-12-20 | Cardiovascular Imaging Systems, Inc. | Forward viewing imaging catheter |
| JPH06217988A (en) * | 1993-01-26 | 1994-08-09 | Terumo Corp | Blood vessel sticking instrument |
| EP0617308A1 (en) * | 1993-03-22 | 1994-09-28 | NCR International, Inc. | Liquid crystal display with integrated electronics |
| US5527325A (en) * | 1993-07-09 | 1996-06-18 | Device For Vascular Intervention, Inc. | Atherectomy catheter and method |
| US5562619A (en) | 1993-08-19 | 1996-10-08 | Boston Scientific Corporation | Deflectable catheter |
| US5496307A (en) * | 1993-09-10 | 1996-03-05 | S.L.T. Japan Co., Ltd. | Laser light irradiation apparatus for medical treatment |
| US5437282A (en) | 1993-10-29 | 1995-08-01 | Boston Scientific Corporation | Drive shaft for acoustic imaging catheters and flexible catheters |
| US5599346A (en) * | 1993-11-08 | 1997-02-04 | Zomed International, Inc. | RF treatment system |
| JP2833456B2 (en) * | 1993-11-22 | 1998-12-09 | 株式会社東芝 | Insertable ultrasound system |
| US5443497A (en) * | 1993-11-22 | 1995-08-22 | The Johns Hopkins University | Percutaneous prosthetic by-pass graft and method of use |
| US5485840A (en) * | 1994-03-15 | 1996-01-23 | Bauman; Robert P. | Method of precise guidance for directional atherectomy using ultrasound |
| US5464395A (en) * | 1994-04-05 | 1995-11-07 | Faxon; David P. | Catheter for delivering therapeutic and/or diagnostic agents to the tissue surrounding a bodily passageway |
| US5496309A (en) * | 1994-05-06 | 1996-03-05 | Trimedyne, Inc. | Catheter device utilizing a laser beam laterally directed by a high index prism in a liquid medium |
| US5456694A (en) * | 1994-05-13 | 1995-10-10 | Stentco, Inc. | Device for delivering and deploying intraluminal devices |
| US5540236A (en) * | 1994-08-05 | 1996-07-30 | Cardiovascular Imaging Systems, Incorporated | Guide wire exit port |
| GB2293240B (en) * | 1994-09-15 | 1998-05-20 | Intravascular Res Ltd | Ultrasonic visualisation method and apparatus |
| US5571093A (en) * | 1994-09-21 | 1996-11-05 | Cruz; Cosme | Multiple-lumen catheter |
| JP3614943B2 (en) * | 1994-09-29 | 2005-01-26 | オリンパス株式会社 | Endoscopic puncture needle |
| US5558673A (en) * | 1994-09-30 | 1996-09-24 | Vidamed, Inc. | Medical probe device and method having a flexible resilient tape stylet |
| US5549601A (en) * | 1994-10-11 | 1996-08-27 | Devices For Vascular Intervention, Inc. | Delivery of intracorporeal probes |
| US5588960A (en) * | 1994-12-01 | 1996-12-31 | Vidamed, Inc. | Transurethral needle delivery device with cystoscope and method for treatment of urinary incontinence |
| US5665062A (en) * | 1995-01-23 | 1997-09-09 | Houser; Russell A. | Atherectomy catheter and RF cutting method |
| US5636644A (en) * | 1995-03-17 | 1997-06-10 | Applied Medical Resources Corporation | Method and apparatus for endoconduit targeting |
| US5596990A (en) * | 1995-06-06 | 1997-01-28 | Yock; Paul | Rotational correlation of intravascular ultrasound image with guide catheter position |
| US5735847A (en) * | 1995-08-15 | 1998-04-07 | Zomed International, Inc. | Multiple antenna ablation apparatus and method with cooling element |
| DE29513195U1 (en) | 1995-08-17 | 1996-12-19 | Schreiber, Hans, Dr. Dr., 69469 Weinheim | Arteriovenous shunt |
| US6726677B1 (en) * | 1995-10-13 | 2004-04-27 | Transvascular, Inc. | Stabilized tissue penetrating catheters |
| ATE275880T1 (en) * | 1995-10-13 | 2004-10-15 | Transvascular Inc | DEVICE FOR BYPASSING ARTERIAL Narrowings AND/OR FOR PERFORMING OTHER TRANSVASCULAR PROCEDURES |
| EP1317908B1 (en) | 1995-10-13 | 2011-07-06 | Medtronic Vascular, Inc. | A device and system for interstitial transvascular intervention |
| US5803083A (en) * | 1995-11-09 | 1998-09-08 | Cordis Corporation | Guiding catheter with ultrasound imaging capability |
| US6191353B1 (en) * | 1996-01-10 | 2001-02-20 | Canon Kabushiki Kaisha | Solar cell module having a specific surface side cover excelling in moisture resistance and transparency |
| US6709444B1 (en) * | 1996-02-02 | 2004-03-23 | Transvascular, Inc. | Methods for bypassing total or near-total obstructions in arteries or other anatomical conduits |
| US5733296A (en) * | 1996-02-06 | 1998-03-31 | Devices For Vascular Intervention | Composite atherectomy cutter |
| US5771895A (en) * | 1996-02-12 | 1998-06-30 | Slager; Cornelis J. | Catheter for obtaining three-dimensional reconstruction of a vascular lumen and wall |
| US5830224A (en) * | 1996-03-15 | 1998-11-03 | Beth Israel Deaconess Medical Center | Catheter apparatus and methodology for generating a fistula on-demand between closely associated blood vessels at a pre-chosen anatomic site in-vivo |
| US5824042A (en) * | 1996-04-05 | 1998-10-20 | Medtronic, Inc. | Endoluminal prostheses having position indicating markers |
| US5699805A (en) * | 1996-06-20 | 1997-12-23 | Mayo Foundation For Medical Education And Research | Longitudinal multiplane ultrasound transducer underfluid catheter system |
| US5699806A (en) | 1996-10-01 | 1997-12-23 | Hewlett-Packard Company | Ultrasound system with nonuniform rotation corrector |
| US5752518A (en) * | 1996-10-28 | 1998-05-19 | Ep Technologies, Inc. | Systems and methods for visualizing interior regions of the body |
| US5724975A (en) * | 1996-12-12 | 1998-03-10 | Plc Medical Systems, Inc. | Ultrasonic detection system for transmyocardial revascularization |
| JP4448614B2 (en) * | 1998-03-31 | 2010-04-14 | メドトロニック バスキュラー インコーポレイテッド | Tissue penetrating catheter system with built-in image transducer |
| US6589164B1 (en) * | 2000-02-15 | 2003-07-08 | Transvascular, Inc. | Sterility barriers for insertion of non-sterile apparatus into catheters or other medical devices |
| US6602241B2 (en) * | 2001-01-17 | 2003-08-05 | Transvascular, Inc. | Methods and apparatus for acute or chronic delivery of substances or apparatus to extravascular treatment sites |
| US7966057B2 (en) * | 2001-02-06 | 2011-06-21 | Medtronic Vascular, Inc. | Methods and apparatus for guided transluminal interventions using vessel wall penetrating catheters and other apparatus |
| DE602004011910T2 (en) * | 2003-03-13 | 2009-02-19 | Medtronic Vascular, Inc., Santa Rosa | OPTICALLY GUIDED PENETRATION CATHETER AND ITS USE METHOD |
-
1999
- 1999-03-31 US US09/282,774 patent/US6375615B1/en not_active Expired - Lifetime
-
2001
- 2001-12-26 US US10/033,836 patent/US6660024B1/en not_active Expired - Lifetime
-
2003
- 2003-11-14 US US10/714,155 patent/US7637870B2/en not_active Expired - Fee Related
-
2009
- 2009-12-10 US US12/634,916 patent/US20100121357A1/en not_active Abandoned
-
2011
- 2011-05-24 US US13/114,987 patent/US8727988B2/en not_active Expired - Fee Related
-
2013
- 2013-12-19 US US14/135,357 patent/US20140180098A1/en not_active Abandoned
Patent Citations (5)
| Publication number | Priority date | Publication date | Assignee | Title |
|---|---|---|---|---|
| US8727988B2 (en) * | 1995-10-13 | 2014-05-20 | Medtronic Vascular, Inc. | Tissue penetrating catheters having integral imaging transducers and their methods of use |
| US8753366B2 (en) * | 1995-10-13 | 2014-06-17 | Medtronic Vascular, Inc. | Catheters and related devices for forming passageways between blood vessels or other anatomical structures |
| US20140288414A1 (en) * | 2001-01-17 | 2014-09-25 | Medtronic Vascular, Inc. | Devices, systems and methods for acute or chronic delivery of substances or apparatus to extravascular treatment sites |
| US8672920B2 (en) * | 2002-01-17 | 2014-03-18 | Medtronic Vascular, Inc. | Devices, systems and methods for acute or chronic delivery of substances or apparatus to extravascular treatment sites |
| US8374680B2 (en) * | 2008-04-21 | 2013-02-12 | Medtronic Vascular, Inc. | Needleless catheters and methods for true lumen re-entry in treatment of chronic total occlusions and other disorders |
Cited By (61)
| Publication number | Priority date | Publication date | Assignee | Title |
|---|---|---|---|---|
| US11123099B2 (en) | 2007-11-26 | 2021-09-21 | C. R. Bard, Inc. | Apparatus for use with needle insertion guidance system |
| US11779240B2 (en) | 2007-11-26 | 2023-10-10 | C. R. Bard, Inc. | Systems and methods for breaching a sterile field for intravascular placement of a catheter |
| US11707205B2 (en) | 2007-11-26 | 2023-07-25 | C. R. Bard, Inc. | Integrated system for intravascular placement of a catheter |
| US11529070B2 (en) | 2007-11-26 | 2022-12-20 | C. R. Bard, Inc. | System and methods for guiding a medical instrument |
| US11134915B2 (en) | 2007-11-26 | 2021-10-05 | C. R. Bard, Inc. | System for placement of a catheter including a signal-generating stylet |
| US10112036B2 (en) | 2009-01-29 | 2018-10-30 | Tufts Medical Center, Inc. | Endovascular cerebrospinal fluid shunt |
| US9737697B2 (en) | 2009-01-29 | 2017-08-22 | Tufts Medical Center, Inc. | Endovascular cerebrospinal fluid shunt |
| US9199067B2 (en) | 2009-01-29 | 2015-12-01 | Tufts Medical Center, Inc. | Endovascular cerebrospinal fluid shunt |
| US11419517B2 (en) | 2009-06-12 | 2022-08-23 | Bard Access Systems, Inc. | Apparatus and method for catheter navigation using endovascular energy mapping |
| US10596357B2 (en) | 2014-01-15 | 2020-03-24 | Tufts Medical Center, Inc. | Endovascular cerebrospinal fluid shunt |
| US12090291B2 (en) | 2014-01-15 | 2024-09-17 | Tufts Medical Center, Inc. | Endovascular cerebrospinal fluid shunt |
| US9737696B2 (en) | 2014-01-15 | 2017-08-22 | Tufts Medical Center, Inc. | Endovascular cerebrospinal fluid shunt |
| US11278708B2 (en) | 2014-01-15 | 2022-03-22 | Tufts Medical Center, Inc. | Endovascular cerebrospinal fluid shunt |
| US9662479B2 (en) | 2014-10-31 | 2017-05-30 | Cerevasc, Llc | Methods and systems for treating hydrocephalus |
| US9669195B2 (en) | 2014-10-31 | 2017-06-06 | Cerevasc, Llc | Methods and systems for treating hydrocephalus |
| US9387311B1 (en) | 2014-10-31 | 2016-07-12 | Cerevasc, Llc | Methods and systems for treating hydrocephalus |
| US10765846B2 (en) | 2014-10-31 | 2020-09-08 | CereVasc, Inc. | Methods and systems for draining cerebrospinal fluid into the venous system |
| US9545505B2 (en) | 2014-10-31 | 2017-01-17 | Cerevasc, Llc | Methods and systems for treating hydrocephalus |
| US10307576B2 (en) | 2014-10-31 | 2019-06-04 | Cerevasc, Llc | Systems and methods for deploying an implant in the vasculature |
| US9724501B2 (en) | 2014-10-31 | 2017-08-08 | Cerevasc, Llc | Methods and systems for treating hydrocephalus |
| US12011557B2 (en) | 2014-10-31 | 2024-06-18 | CereVasc, Inc. | Methods and systems for draining cerebrospinal fluid into the venous system |
| US10279154B2 (en) | 2014-10-31 | 2019-05-07 | Cerevasc, Llc | Methods and systems for treating hydrocephalus |
| US10058686B2 (en) | 2014-10-31 | 2018-08-28 | Cerevasc, Llc | Methods and systems for treating hydrocephalus |
| US10272230B2 (en) | 2015-10-30 | 2019-04-30 | Cerevasc, Llc | Systems and methods for treating hydrocephalus |
| US10307577B2 (en) | 2015-10-30 | 2019-06-04 | Cerevasc, Llc | Systems and methods for deploying an implant in the vasculature |
| US12485256B2 (en) | 2015-10-30 | 2025-12-02 | CereVasc, Inc. | Systems and methods for endovascularly accessing a subarachnoid space |
| US11951270B2 (en) | 2015-10-30 | 2024-04-09 | Cerevasc, Llc | Systems and methods for endovascularly accessing a subarachnoid space |
| US10758718B2 (en) | 2015-10-30 | 2020-09-01 | CereVasc, Inc. | Systems and methods for endovascularly accessing a subarachnoid space |
| US11020563B2 (en) | 2016-07-14 | 2021-06-01 | C. R. Bard, Inc. | Automated catheter-to-vessel size comparison tool and related methods |
| US12036375B2 (en) | 2016-10-11 | 2024-07-16 | CereVasc, Inc. | Methods and systems for treating hydrocephalus |
| US11013900B2 (en) | 2018-03-08 | 2021-05-25 | CereVasc, Inc. | Systems and methods for minimally invasive drug delivery to a subarachnoid space |
| US11850390B2 (en) | 2018-03-08 | 2023-12-26 | CereVasc, Inc. | Systems and methods for minimally invasive drug delivery to a subarachnoid space |
| US11621518B2 (en) | 2018-10-16 | 2023-04-04 | Bard Access Systems, Inc. | Safety-equipped connection systems and methods thereof for establishing electrical connections |
| US12544101B2 (en) | 2019-01-30 | 2026-02-10 | Bard Access Systems, Inc. | Systems and methods for tracking medical devices |
| US11759166B2 (en) | 2019-09-20 | 2023-09-19 | Bard Access Systems, Inc. | Automatic vessel detection tools and methods |
| US12138108B2 (en) | 2019-09-20 | 2024-11-12 | Bard Access Systems, Inc. | Automatic vessel detection tools and methods |
| US11877810B2 (en) | 2020-07-21 | 2024-01-23 | Bard Access Systems, Inc. | System, method and apparatus for magnetic tracking of ultrasound probe and generation of 3D visualization thereof |
| US12201382B2 (en) | 2020-07-21 | 2025-01-21 | Bard Access Systems, Inc. | System, method and apparatus for magnetic tracking of ultrasound probe and generation of 3D visualization thereof |
| US12186070B2 (en) | 2020-08-04 | 2025-01-07 | Bard Access Systems, Inc. | Systemized and method for optimized medical component insertion monitoring and imaging enhancement |
| US12150812B2 (en) | 2020-08-10 | 2024-11-26 | Bard Access Systems, Inc. | System and method for generating virtual blood vessel representations in mixed reality |
| US11890139B2 (en) | 2020-09-03 | 2024-02-06 | Bard Access Systems, Inc. | Portable ultrasound systems |
| US12232909B2 (en) | 2020-09-03 | 2025-02-25 | Bard Access Systems, Inc. | Methods of performing an ultrasound procedure |
| US12369882B2 (en) | 2020-09-08 | 2025-07-29 | Bard Access Systems, Inc. | Dynamically adjusting ultrasound-imaging systems and methods thereof |
| US11992363B2 (en) | 2020-09-08 | 2024-05-28 | Bard Access Systems, Inc. | Dynamically adjusting ultrasound-imaging systems and methods thereof |
| US12232910B2 (en) | 2020-09-10 | 2025-02-25 | Bard Access Systems, Inc. | Ultrasound probe with pressure measurement capability |
| US12492953B2 (en) | 2020-09-18 | 2025-12-09 | Bard Access Systems, Inc. | Ultrasound probe with pointer remote control capability |
| US11925505B2 (en) | 2020-09-25 | 2024-03-12 | Bard Access Systems, Inc. | Minimum catheter length tool |
| US12137987B2 (en) | 2020-10-02 | 2024-11-12 | Bard Access Systems, Inc. | Ultrasound systems and methods for sustained spatial attention |
| US12213835B2 (en) | 2020-10-15 | 2025-02-04 | Bard Access Systems, Inc. | Ultrasound imaging system for generation of a three-dimensional ultrasound image |
| US12213746B2 (en) | 2020-11-24 | 2025-02-04 | Bard Access Systems, Inc. | Ultrasound system with target and medical instrument awareness |
| US12048491B2 (en) | 2020-12-01 | 2024-07-30 | Bard Access Systems, Inc. | Ultrasound probe with target tracking capability |
| US12165315B2 (en) | 2020-12-01 | 2024-12-10 | Bard Access Systems, Inc. | Ultrasound system with pressure and flow determination capability |
| US12324704B2 (en) | 2020-12-14 | 2025-06-10 | Bard Access Systems, Inc. | Securement of hands-free ultrasound probe |
| US12287403B2 (en) | 2021-04-15 | 2025-04-29 | Bard Access Systems, Inc. | Ultrasound imaging system having near-infrared/infrared detection |
| US12376817B2 (en) | 2021-11-03 | 2025-08-05 | Bard Access Systems, Inc. | Optimized functionality through interoperation of doppler and image based vessel differentiation |
| US12514532B2 (en) | 2022-03-01 | 2026-01-06 | Bard Access Systems, Inc. | Ultrasound imaging system |
| US12514533B2 (en) | 2022-03-01 | 2026-01-06 | Bard Access Systems, Inc. | Ultrasound imaging system |
| US12433567B2 (en) | 2022-03-16 | 2025-10-07 | Bard Access Systems, Inc. | Ultrasound imaging system |
| US12102481B2 (en) | 2022-06-03 | 2024-10-01 | Bard Access Systems, Inc. | Ultrasound probe with smart accessory |
| US12137989B2 (en) | 2022-07-08 | 2024-11-12 | Bard Access Systems, Inc. | Systems and methods for intelligent ultrasound probe guidance |
| US12564373B2 (en) | 2022-08-15 | 2026-03-03 | Bard Access Systems, Inc. | Spatially aware medical device configured for performance of insertion pathway approximation |
Also Published As
| Publication number | Publication date |
|---|---|
| US6660024B1 (en) | 2003-12-09 |
| US20040122318A1 (en) | 2004-06-24 |
| US20100121357A1 (en) | 2010-05-13 |
| US7637870B2 (en) | 2009-12-29 |
| US6375615B1 (en) | 2002-04-23 |
| US8727988B2 (en) | 2014-05-20 |
| US20110224596A1 (en) | 2011-09-15 |
Similar Documents
| Publication | Publication Date | Title |
|---|---|---|
| US8727988B2 (en) | Tissue penetrating catheters having integral imaging transducers and their methods of use | |
| AU768005B2 (en) | Tissue penetrating catheters having integral imaging transducers | |
| US6709444B1 (en) | Methods for bypassing total or near-total obstructions in arteries or other anatomical conduits | |
| US7179270B2 (en) | Methods for bypassing total or near-total obstructions in arteries or other anatomical conduits | |
| US20260069239A1 (en) | Intravascular ultrasound needle guide | |
| US6508824B1 (en) | Catheter-based methods for enlarging blood vessels to facilitate the formation of penetration tracts, fistulas and/or blood flow channels | |
| US9713483B2 (en) | Catheters and related devices for forming passageways between blood vessels or other anatomical structures | |
| US8374680B2 (en) | Needleless catheters and methods for true lumen re-entry in treatment of chronic total occlusions and other disorders | |
| WO2003030744A1 (en) | Coronary bypass apparatus and method | |
| MXPA00009497A (en) | Tissue penetrating cathethers having integral imaging transducers and their methods of use |
Legal Events
| Date | Code | Title | Description |
|---|---|---|---|
| STCB | Information on status: application discontinuation |
Free format text: ABANDONED -- FAILURE TO RESPOND TO AN OFFICE ACTION |