RU2503522C2 - Композитная вставка с поликристаллическими алмазами - Google Patents
Композитная вставка с поликристаллическими алмазами Download PDFInfo
- Publication number
- RU2503522C2 RU2503522C2 RU2012114004/02A RU2012114004A RU2503522C2 RU 2503522 C2 RU2503522 C2 RU 2503522C2 RU 2012114004/02 A RU2012114004/02 A RU 2012114004/02A RU 2012114004 A RU2012114004 A RU 2012114004A RU 2503522 C2 RU2503522 C2 RU 2503522C2
- Authority
- RU
- Russia
- Prior art keywords
- pcd
- carbide
- diamond
- substrate
- metal
- Prior art date
Links
- 239000010432 diamond Substances 0.000 title claims abstract description 94
- 239000002131 composite material Substances 0.000 title claims abstract description 47
- 239000000758 substrate Substances 0.000 claims abstract description 92
- 229910003460 diamond Inorganic materials 0.000 claims abstract description 86
- 239000003054 catalyst Substances 0.000 claims abstract description 39
- 239000002245 particle Substances 0.000 claims abstract description 38
- 239000002904 solvent Substances 0.000 claims abstract description 33
- 238000005520 cutting process Methods 0.000 claims abstract description 27
- 238000005553 drilling Methods 0.000 claims abstract description 24
- 230000002093 peripheral effect Effects 0.000 claims abstract description 24
- 238000000227 grinding Methods 0.000 claims abstract description 4
- 239000000463 material Substances 0.000 claims description 131
- 239000011230 binding agent Substances 0.000 claims description 88
- 229910052751 metal Inorganic materials 0.000 claims description 74
- 239000002184 metal Substances 0.000 claims description 74
- 229910017052 cobalt Inorganic materials 0.000 claims description 44
- 239000010941 cobalt Substances 0.000 claims description 44
- GUTLYIVDDKVIGB-UHFFFAOYSA-N cobalt atom Chemical compound [Co] GUTLYIVDDKVIGB-UHFFFAOYSA-N 0.000 claims description 44
- 238000000034 method Methods 0.000 claims description 25
- 238000005245 sintering Methods 0.000 claims description 22
- 229910052721 tungsten Inorganic materials 0.000 claims description 17
- UONOETXJSWQNOL-UHFFFAOYSA-N tungsten carbide Chemical group [W+]#[C-] UONOETXJSWQNOL-UHFFFAOYSA-N 0.000 claims description 16
- 229910052799 carbon Inorganic materials 0.000 claims description 15
- 239000011651 chromium Substances 0.000 claims description 15
- PXHVJJICTQNCMI-UHFFFAOYSA-N Nickel Chemical compound [Ni] PXHVJJICTQNCMI-UHFFFAOYSA-N 0.000 claims description 12
- 239000010937 tungsten Substances 0.000 claims description 12
- WFKWXMTUELFFGS-UHFFFAOYSA-N tungsten Chemical compound [W] WFKWXMTUELFFGS-UHFFFAOYSA-N 0.000 claims description 11
- 239000002105 nanoparticle Substances 0.000 claims description 10
- OKTJSMMVPCPJKN-UHFFFAOYSA-N Carbon Chemical compound [C] OKTJSMMVPCPJKN-UHFFFAOYSA-N 0.000 claims description 9
- INZDTEICWPZYJM-UHFFFAOYSA-N 1-(chloromethyl)-4-[4-(chloromethyl)phenyl]benzene Chemical compound C1=CC(CCl)=CC=C1C1=CC=C(CCl)C=C1 INZDTEICWPZYJM-UHFFFAOYSA-N 0.000 claims description 7
- 229910052759 nickel Inorganic materials 0.000 claims description 7
- 238000000151 deposition Methods 0.000 claims description 6
- 238000002156 mixing Methods 0.000 claims description 6
- 239000000843 powder Substances 0.000 claims description 6
- 239000003870 refractory metal Substances 0.000 claims description 6
- 239000011435 rock Substances 0.000 claims description 6
- 238000003801 milling Methods 0.000 claims description 4
- UFGZSIPAQKLCGR-UHFFFAOYSA-N chromium carbide Chemical compound [Cr]#C[Cr]C#[Cr] UFGZSIPAQKLCGR-UHFFFAOYSA-N 0.000 claims description 2
- 239000006104 solid solution Substances 0.000 claims description 2
- 229910003470 tongbaite Inorganic materials 0.000 claims description 2
- 238000001764 infiltration Methods 0.000 claims 1
- 230000008595 infiltration Effects 0.000 claims 1
- 230000003628 erosive effect Effects 0.000 abstract description 17
- 230000000694 effects Effects 0.000 abstract description 4
- 238000004519 manufacturing process Methods 0.000 abstract description 4
- 239000000126 substance Substances 0.000 abstract description 3
- 238000010327 methods by industry Methods 0.000 abstract 1
- 238000004663 powder metallurgy Methods 0.000 abstract 1
- 229910009043 WC-Co Inorganic materials 0.000 description 36
- 239000012071 phase Substances 0.000 description 17
- 239000010410 layer Substances 0.000 description 10
- 229910052804 chromium Inorganic materials 0.000 description 8
- 238000009826 distribution Methods 0.000 description 7
- 239000011159 matrix material Substances 0.000 description 6
- 239000010936 titanium Substances 0.000 description 6
- XEEYBQQBJWHFJM-UHFFFAOYSA-N Iron Chemical compound [Fe] XEEYBQQBJWHFJM-UHFFFAOYSA-N 0.000 description 5
- 239000002775 capsule Substances 0.000 description 5
- 238000006243 chemical reaction Methods 0.000 description 5
- 238000002149 energy-dispersive X-ray emission spectroscopy Methods 0.000 description 5
- 239000002243 precursor Substances 0.000 description 5
- 229910000679 solder Inorganic materials 0.000 description 5
- 229910052715 tantalum Inorganic materials 0.000 description 5
- 229910052719 titanium Inorganic materials 0.000 description 5
- 230000015572 biosynthetic process Effects 0.000 description 4
- 239000011162 core material Substances 0.000 description 4
- 239000000203 mixture Substances 0.000 description 4
- 238000004627 transmission electron microscopy Methods 0.000 description 4
- 239000003795 chemical substances by application Substances 0.000 description 3
- 229910021446 cobalt carbonate Inorganic materials 0.000 description 3
- ZOTKGJBKKKVBJZ-UHFFFAOYSA-L cobalt(2+);carbonate Chemical compound [Co+2].[O-]C([O-])=O ZOTKGJBKKKVBJZ-UHFFFAOYSA-L 0.000 description 3
- 239000012530 fluid Substances 0.000 description 3
- 239000007789 gas Substances 0.000 description 3
- 238000002173 high-resolution transmission electron microscopy Methods 0.000 description 3
- 229910052742 iron Inorganic materials 0.000 description 3
- 238000001000 micrograph Methods 0.000 description 3
- 239000011343 solid material Substances 0.000 description 3
- 101100518501 Mus musculus Spp1 gene Proteins 0.000 description 2
- 238000005299 abrasion Methods 0.000 description 2
- 239000003082 abrasive agent Substances 0.000 description 2
- 229910045601 alloy Inorganic materials 0.000 description 2
- 239000000956 alloy Substances 0.000 description 2
- 238000000231 atomic layer deposition Methods 0.000 description 2
- 230000009286 beneficial effect Effects 0.000 description 2
- 238000005229 chemical vapour deposition Methods 0.000 description 2
- 239000011248 coating agent Substances 0.000 description 2
- 238000000576 coating method Methods 0.000 description 2
- 239000013078 crystal Substances 0.000 description 2
- 230000008021 deposition Effects 0.000 description 2
- 238000002003 electron diffraction Methods 0.000 description 2
- 239000000945 filler Substances 0.000 description 2
- 239000011888 foil Substances 0.000 description 2
- 238000010438 heat treatment Methods 0.000 description 2
- 230000006698 induction Effects 0.000 description 2
- 230000007246 mechanism Effects 0.000 description 2
- NFFIWVVINABMKP-UHFFFAOYSA-N methylidynetantalum Chemical compound [Ta]#C NFFIWVVINABMKP-UHFFFAOYSA-N 0.000 description 2
- 238000001556 precipitation Methods 0.000 description 2
- 239000013557 residual solvent Substances 0.000 description 2
- 239000007787 solid Substances 0.000 description 2
- 229910003468 tantalcarbide Inorganic materials 0.000 description 2
- 239000010409 thin film Substances 0.000 description 2
- MTPVUVINMAGMJL-UHFFFAOYSA-N trimethyl(1,1,2,2,2-pentafluoroethyl)silane Chemical compound C[Si](C)(C)C(F)(F)C(F)(F)F MTPVUVINMAGMJL-UHFFFAOYSA-N 0.000 description 2
- -1 tungsten carbides Chemical class 0.000 description 2
- 238000003466 welding Methods 0.000 description 2
- BCCGKQFZUUQSEX-WBPXWQEISA-N (2r,3r)-2,3-dihydroxybutanedioic acid;3,4-dimethyl-2-phenylmorpholine Chemical compound OC(=O)[C@H](O)[C@@H](O)C(O)=O.OC(=O)[C@H](O)[C@@H](O)C(O)=O.O1CCN(C)C(C)C1C1=CC=CC=C1 BCCGKQFZUUQSEX-WBPXWQEISA-N 0.000 description 1
- BVKZGUZCCUSVTD-UHFFFAOYSA-L Carbonate Chemical compound [O-]C([O-])=O BVKZGUZCCUSVTD-UHFFFAOYSA-L 0.000 description 1
- PWHULOQIROXLJO-UHFFFAOYSA-N Manganese Chemical compound [Mn] PWHULOQIROXLJO-UHFFFAOYSA-N 0.000 description 1
- 229910000831 Steel Inorganic materials 0.000 description 1
- 238000000441 X-ray spectroscopy Methods 0.000 description 1
- 239000002253 acid Substances 0.000 description 1
- 230000002411 adverse Effects 0.000 description 1
- 238000004458 analytical method Methods 0.000 description 1
- QVGXLLKOCUKJST-UHFFFAOYSA-N atomic oxygen Chemical compound [O] QVGXLLKOCUKJST-UHFFFAOYSA-N 0.000 description 1
- 230000015556 catabolic process Effects 0.000 description 1
- 239000012018 catalyst precursor Substances 0.000 description 1
- 239000000919 ceramic Substances 0.000 description 1
- 238000005234 chemical deposition Methods 0.000 description 1
- 238000004581 coalescence Methods 0.000 description 1
- COLZOALRRSURNK-UHFFFAOYSA-N cobalt;methane;tungsten Chemical compound C.[Co].[W] COLZOALRRSURNK-UHFFFAOYSA-N 0.000 description 1
- 150000001875 compounds Chemical class 0.000 description 1
- 238000010276 construction Methods 0.000 description 1
- 230000007423 decrease Effects 0.000 description 1
- 238000006731 degradation reaction Methods 0.000 description 1
- 230000006866 deterioration Effects 0.000 description 1
- 238000010586 diagram Methods 0.000 description 1
- 238000004090 dissolution Methods 0.000 description 1
- 238000002848 electrochemical method Methods 0.000 description 1
- 238000002524 electron diffraction data Methods 0.000 description 1
- 238000011049 filling Methods 0.000 description 1
- 229910052735 hafnium Inorganic materials 0.000 description 1
- 239000012535 impurity Substances 0.000 description 1
- 229910052738 indium Inorganic materials 0.000 description 1
- 238000009434 installation Methods 0.000 description 1
- 239000011229 interlayer Substances 0.000 description 1
- 239000007791 liquid phase Substances 0.000 description 1
- 238000003754 machining Methods 0.000 description 1
- 229910052748 manganese Inorganic materials 0.000 description 1
- 239000011572 manganese Substances 0.000 description 1
- 238000005259 measurement Methods 0.000 description 1
- 150000001247 metal acetylides Chemical class 0.000 description 1
- 229910001092 metal group alloy Inorganic materials 0.000 description 1
- 238000005272 metallurgy Methods 0.000 description 1
- 150000002739 metals Chemical class 0.000 description 1
- 229910052750 molybdenum Inorganic materials 0.000 description 1
- 229910052758 niobium Inorganic materials 0.000 description 1
- 230000006911 nucleation Effects 0.000 description 1
- 238000010899 nucleation Methods 0.000 description 1
- 230000003287 optical effect Effects 0.000 description 1
- 238000000879 optical micrograph Methods 0.000 description 1
- 229910052760 oxygen Inorganic materials 0.000 description 1
- 239000001301 oxygen Substances 0.000 description 1
- 239000003208 petroleum Substances 0.000 description 1
- 238000005240 physical vapour deposition Methods 0.000 description 1
- 239000011148 porous material Substances 0.000 description 1
- 238000009700 powder processing Methods 0.000 description 1
- 238000012545 processing Methods 0.000 description 1
- 230000001737 promoting effect Effects 0.000 description 1
- 238000000197 pyrolysis Methods 0.000 description 1
- 230000005855 radiation Effects 0.000 description 1
- 238000001226 reprecipitation Methods 0.000 description 1
- 238000001878 scanning electron micrograph Methods 0.000 description 1
- 238000010008 shearing Methods 0.000 description 1
- 238000005476 soldering Methods 0.000 description 1
- 238000001228 spectrum Methods 0.000 description 1
- 238000004544 sputter deposition Methods 0.000 description 1
- 239000010959 steel Substances 0.000 description 1
- 238000005728 strengthening Methods 0.000 description 1
- 229910052720 vanadium Inorganic materials 0.000 description 1
- 238000007740 vapor deposition Methods 0.000 description 1
- XLYOFNOQVPJJNP-UHFFFAOYSA-N water Substances O XLYOFNOQVPJJNP-UHFFFAOYSA-N 0.000 description 1
- 239000002023 wood Substances 0.000 description 1
- 229910052726 zirconium Inorganic materials 0.000 description 1
Images
Classifications
-
- B—PERFORMING OPERATIONS; TRANSPORTING
- B22—CASTING; POWDER METALLURGY
- B22F—WORKING METALLIC POWDER; MANUFACTURE OF ARTICLES FROM METALLIC POWDER; MAKING METALLIC POWDER; APPARATUS OR DEVICES SPECIALLY ADAPTED FOR METALLIC POWDER
- B22F7/00—Manufacture of composite layers, workpieces, or articles, comprising metallic powder, by sintering the powder, with or without compacting wherein at least one part is obtained by sintering or compression
- B22F7/06—Manufacture of composite layers, workpieces, or articles, comprising metallic powder, by sintering the powder, with or without compacting wherein at least one part is obtained by sintering or compression of composite workpieces or articles from parts, e.g. to form tipped tools
-
- C—CHEMISTRY; METALLURGY
- C22—METALLURGY; FERROUS OR NON-FERROUS ALLOYS; TREATMENT OF ALLOYS OR NON-FERROUS METALS
- C22C—ALLOYS
- C22C26/00—Alloys containing diamond or cubic or wurtzitic boron nitride, fullerenes or carbon nanotubes
-
- C—CHEMISTRY; METALLURGY
- C22—METALLURGY; FERROUS OR NON-FERROUS ALLOYS; TREATMENT OF ALLOYS OR NON-FERROUS METALS
- C22C—ALLOYS
- C22C29/00—Alloys based on carbides, oxides, nitrides, borides, or silicides, e.g. cermets, or other metal compounds, e.g. oxynitrides, sulfides
- C22C29/02—Alloys based on carbides, oxides, nitrides, borides, or silicides, e.g. cermets, or other metal compounds, e.g. oxynitrides, sulfides based on carbides or carbonitrides
- C22C29/06—Alloys based on carbides, oxides, nitrides, borides, or silicides, e.g. cermets, or other metal compounds, e.g. oxynitrides, sulfides based on carbides or carbonitrides based on carbides, but not containing other metal compounds
- C22C29/08—Alloys based on carbides, oxides, nitrides, borides, or silicides, e.g. cermets, or other metal compounds, e.g. oxynitrides, sulfides based on carbides or carbonitrides based on carbides, but not containing other metal compounds based on tungsten carbide
Landscapes
- Chemical & Material Sciences (AREA)
- Engineering & Computer Science (AREA)
- Materials Engineering (AREA)
- Mechanical Engineering (AREA)
- Organic Chemistry (AREA)
- Metallurgy (AREA)
- Composite Materials (AREA)
- Manufacturing & Machinery (AREA)
- Powder Metallurgy (AREA)
- Inorganic Chemistry (AREA)
- Cutting Tools, Boring Holders, And Turrets (AREA)
- Earth Drilling (AREA)
- Drilling Tools (AREA)
- Milling, Broaching, Filing, Reaming, And Others (AREA)
Abstract
Изобретение относится к порошковой металлургии, в частности к изготовлению инструментов, содержащих вставки с поликристаллическими алмазами. Может использоваться для резания, сверления, фрезеровки, размола, бурения и других абразивных работ. Композитная вставка с поликристаллическими алмазами (PCD) содержит структуру PCD, связанную с подложкой из цементированного карбида. По меньшей мере, периферийная область подложки включает материал цементированного карбида, имеющий характеристику средней длины свободного пробега (MFP), по меньшей мере, 0,1 мкм и не больше, чем 0,7 мкм, и предел упругости, по меньшей мере, 1,9 ГПа. Для получения композитной вставки обеспечивают соединенную массу алмазных частиц, введение в нее растворителя/катализатора для алмаза и спекание массы в контакте с подложкой при давлении и температуре, при которых алмаз термодинамически устойчив. Инструмент обладает высокой эрозионной стойкостью при сохранении стойкости к разрушению. 3 н. и 17 з.п. ф-лы, 6 ил., 3 пр.
Description
Область техники, к которой относится изобретение
Изобретение относится к вставкам с поликристаллическими алмазами, инструментальным средствам, включающим их, способам их изготовления и их применению.
Уровень техники
Поликристаллическим алмазом (PCD) является сверхтвердый, также известный как сверхабразивный, материал, включающий массу ерошенных алмазных зерен и промежутков между алмазными зернами. PCD может быть получен действием сверхвысокого давления и температуры на соединенную массу алмазных зерен. Материал полностью или частично заполняющий промежутки может упоминаться как наполнитель. PCD можно формировать в присутствии спекающей добавки, такой как кобальт, которая способствует срастанию алмазных зерен. Спекающая добавка может упоминаться как материал растворитель/катализатор для алмаза, вследствие его функции растворения алмаза до некоторой степени и катализатора его переосаждения. Как понимают, растворитель/катализатор для алмаза является материалом, который способен поддерживать рост алмаза или прямое сращивание алмаз-алмаз между алмазными зернами в условиях давления и температуры, при которых алмаз термодинамически устойчив. Следовательно, промежутки в спеченном продукте PCD могут быть полностью или частично заполнены остаточным материалом растворителя/катализатора. PCD можно формировать на подложке из карбида вольфрама, цементированной кобальтом, которая может обеспечить источник кобальтового растворителя/катализатора для PCD.
PCD может использоваться в разнообразных инструментальных средствах для резки, обработки, бурения или разрушения твердых или абразивных материалов, таких как горные породы, металлы, керамика, композиты и материалы, содержащие древесину. Например, элементы PCD могут использоваться в качестве режущих элементов на буровых коронках, используемых для бурения земли в нефтяной и газовой буровой промышленности. Во многих из этих применений температура материала PCD может стать повышенной, поскольку он контактирует с горной породой, обрабатываемой деталью или деталью с высокой энергией. К сожалению, механические свойства PCD, такие как твердость и прочность, имеют тенденцию ухудшаться при высоких температурах, в значительной степени в результате остаточного материала растворителя/катализатора, диспергированного в нем.
Патент US 3745623 раскрывает элемент PCD, включающий поликристаллический алмазный слой, связанный с телом из цементированного карбида, включающим 94 вес.% карбида вольфрама и 6 вес.% кобальта. Патент US 4380471 раскрывает, что различные марки цементированного карбида вольфрама могут использоваться в качестве подложек для элементов PCD, включая следующие марки серии Carboloy®: 44A, 90, 883 и 999, которые содержат 6, 10, 6 и 3 вес.% кобальта, соответственно. Патент US 5304342 обсуждает, что для данного применения желательно обеспечить самую жесткую подложку из цементированного карбида WC-Co, таким образом, минимизируя отклонение слоев PCD и снижая вероятность повреждения PCD. Однако, если модуль упругости слишком высок, вставки склонны разрушаться во время бурения.
Патент US 5667028 обсуждает, что, по мере того, как буровое долото вращается, край режущего слоя PDC шарошки с PCD вступает в контакт и "врезается" в формирование, подлежащее бурению. В то же самое время незащищенные участки корпуса долота также вступают в контакт с поверхностью формирования. Этот контакт разрушает корпус долота. Патент раскрывает улучшенное шарошечное буровое долото с композитными поликристаллическими алмазами (PDC), включающую множество режущих поверхностей, по меньшей мере, две из которых являются несмежными, что приводит к увеличенному сроку службы. Эрозия долота с PDC под действием флюида (текущей среды) может также иметь место.
Патент US 5431239 раскрывает структуру композитной вставки, имеющую различные характеристики материала в структуре поперечного сечения, чтобы обеспечить сопротивление истиранию твердых материалов, комбинированное с устойчивостью на излом, называемое вязкостью разрушения. В одном варианте осуществления вставка состоит из внутреннего материала сердцевины, имеющего более высокую или увеличенную вязкость разрушения, такого как карбид вольфрама большой зернистости или карбид вольфрама с высоким содержанием кобальта, окруженный наружным слоем твердого, износоустойчивого материала. Типичным материалом является низкокобальтовый, цементированный карбид вольфрама. Хотя присутствие 6% кобальта возможно, но приблизительно 9-12% кобальта является предпочтительным. Содержание кобальта обычно изменяется от 6 до 20% в цементированных карбидах вольфрама. Высоким содержанием кобальта считается количество больше, чем приблизительно 15%. Размер зерен карбида и содержание кобальта могут оба изменяться, чтобы проектировать прочность или высокую вязкость разрушения. Режущую поверхность обычно производят из сверхтвердого материала, такого как поликристаллический алмаз.
Патент US 6216805 раскрывает режущий элемент, который включает основу, включающую эрозионностойкий и износостойкий материал. Режущий край режущего элемента формируют так, чтобы иметь сверхабразивный стол установки для резки, покрытый для этого. В варианте осуществления конструкции основу изготавливают из эрозионностойкого и износостойкого материала. Например, основа может включать карбид (например, карбид вольфрама) и материал связующего компонента (например, кобальт). Когда относительно больше связующего компонента используют, чтобы изготовить основу, эрозионностойкость и износостойкость основы уменьшается. Структуры цементированного карбида, которые имеют малые зерна карбида, являются также обычно более эрозионностойкими и износостойкими, но менее жесткими, пластичными и ударопрочными, чем структуры цементированного карбида, которые сформированы с большими зернами карбида.
Патент US 6258139 раскрывает PDC (вставку (для долот) с поликристаллическими алмазами) с внутренней алмазной сердцевиной в подложке, что позволят обнажить дополнительный алмаз, когда подложка достаточно разрушена. Также раскрыт PDC с внутренней карбидной сердцевиной, которая полностью окружена алмазной областью шарошки с PDC, чтобы избежать высоких напряжений при растяжении в алмазной области.
Френкель раскрывает, что размер зерен WC в диапазоне от 1,6 мкм до 2,2 мкм приводит к оптимальной эрозионной стойкости цементированного WC в статье «Механизмы потери энергии при эрозии цементированного WC» (Freinkel, Energy loss mechanisms in the erosion of cemented WC, Scripta Metallurgies, 23, 1989, pp.659-664).
Патент US 7017677 обсуждает, что существующие подложки для шарошки сдвигового типа обычно формируют из частиц карбида вольфрама с размером зерен в диапазоне от приблизительно 1 до 3 мкм и содержанием кобальта в диапазоне от приблизительно 9 до 16 вес.%, и имеют твердость в диапазоне от приблизительно 86 Ra до 89 Ra.
Патент US 7556668 раскрывает вариант осуществления уплотненного твердого материала, изготовленного из приблизительно 75 вес.% твердых частиц, таких как WC, и приблизительно 25 вес.% связующего материала, такого как Со. Также раскрыта вставка (PDC) с поликристаллическими алмазами для шарошек сдвигового типа, в которых твердые материалы, раскрытые в патенте, могут использоваться, чтобы формировать подложку шарошки сдвигового типа, которую используют, чтобы нести слой или "стол" поликристаллических алмазов, который формируют на нем при сверхвысоких температурах и давлениях.
Имеется потребность в режущих элементах со вставками (PDC) с поликристаллическими алмазами, имеющими улучшенную общую эрозионную стойкость, по существу, не ставя под угрозу стойкость к разрушению.
Раскрытие изобретения
Изобретение предлагает композитную вставку с поликристаллическими алмазами (PCD), включающую структуру PCD, связанную с подложкой; в которой, по меньшей мере, периферийная область подложки включает материал цементированного карбида, имеющий характеристику средней длины свободного пробега (MFP), по меньшей мере, приблизительно ОД мкм и не больше, чем приблизительно 0,7 мкм, или не больше, чем приблизительно 0,35 мкм; и предел упругости, по меньшей мере, приблизительно 1,9 ГПа. В одном варианте осуществления изобретения периферийная область подложки может быть смежной с, по меньшей мере, областью незащищенной периферийной поверхности подложки.
В некоторых вариантах осуществления изобретения материал цементированного карбида может включать частицы карбида металла и металлический связующий материал; причем содержание металлического связующего материала в пределах, по меньшей мере, периферийной области подложки, или, по существу, по всей подложке, может быть, по меньшей мере, приблизительно 1 вес.%, по меньшей мере, приблизительно 3 вес.%, по меньшей мере, приблизительно 5 вес.% или, по меньшей мере, приблизительно 6 вес.%; и не больше, чем приблизительно 12 вес.%, не больше, чем приблизительно 11 вес.% или не больше, чем приблизительно 10 вес.% от материала цементированного карбида. В некоторых вариантах осуществления содержание металлического связующего материала может быть меньше, чем 9 вес.%. В одном варианте осуществления изобретения материал цементированного карбида может включать металлический связующий компонент в диапазоне от приблизительно 8 вес.% до приблизительно 13 вес.% от материала цементированного карбида.
В некоторых вариантах осуществления изобретения частицы карбида металла в пределах, по меньшей мере, периферийной области могут иметь средний размер, по меньшей мере, приблизительно 0,1 мкм, по меньшей мере, приблизительно 0,5 мкм, по меньшей мере, приблизительно 1 мкм, по меньшей мере, приблизительно 3 мкм или, по меньшей мере, приблизительно 5 мкм; и не больше, чем приблизительно 20 мкм, не больше, чем приблизительно 10 мкм, не больше, чем приблизительно 2 мкм или не больше, чем приблизительно 1 мкм. В одном варианте осуществления изобретения материал цементированного карбида может включать частицы карбида металла, имеющие средний размер в диапазоне от приблизительно 1,5 мкм до приблизительно 3 мкм.
В некоторых вариантах осуществления изобретения материал карбида металла может включать карбид титана (TiC), карбид вольфрама (WC), карбид тантала (ТаС) или другой карбид тугоплавкого металла. В одном варианте осуществления изобретения металлический связующий материал может включить кобальт (Со), никель (Ni) или железо (Fe), или сплав, содержащий Со, Fe или Ni. В некоторых вариантах осуществления металлический связующий материал может включать Со, по существу, в гранецентрированной кубической (fee) форме или, по существу, в гексагональной плотноупакованной (hep) кристаллографической форме.
В одном варианте осуществления изобретения металлический связующий материал может содержать низкий уровень углерода и высокий уровень W. В одном варианте осуществления зерна карбида металла могут быть по существу округлыми зернами WC, по существу без острых граней или краев. В одном варианте осуществления изобретения металлический связующий материал может содержать твердый раствор вольфрама (W) или углерода (С), или обоих W и С в Со.
В некоторых вариантах осуществления изобретения металлический связующий материал может содержать частицы карбида хрома (Cr3C2) или карбида ванадия (VC), или частицы Cr3C2 и VC, диспергированные в нем, и в некоторых вариантах осуществления объединенное содержание частиц Cr3C2 и VC в металлическом связующем материале может быть меньше, чем приблизительно 1 вес.%. В одном варианте осуществления металлический связующий материал может включать Со, Ni и Cr3C2, и в одном варианте осуществления, металлический связующий материал может включать Со и Cr3C2, и может, по существу, не содержать Ni.
В некоторых вариантах осуществления изобретения металлический связующий материал может иметь концентрацию тугоплавкого металла, такого как W, Ti, Та и Cr, в диапазоне от приблизительно 5 атом. % до приблизительно 30 атом. % от связующего материала. В одном варианте осуществления металлический связующий материал может включать Со, содержащий высокую концентрацию W, в диапазоне от приблизительно 5 атом. % до приблизительно 30 атом. %, или в диапазоне от приблизительно 10 атом. % до приблизительно 30 атом. %. В одном варианте осуществления постоянная решетки Со в связующем материале может быть на от приблизительно 1% до приблизительно 5% больше, чем постоянная решетки чистого Со (0,3545 нм).
В некоторых вариантах осуществления изобретения карбид металла или металсодержащие наночастицы, имеющие средний размер в диапазоне от приблизительно 0,1 нм до приблизительно 500 нм, или в диапазоне от приблизительно 0,1 нм до приблизительно 200 нм, могут быть диспергированы в металлическом связующем материале. Наночастицы, диспергированные в металлическом связующем материале, могут значительно укрепить или усилить связующий компонент. В некоторых вариантах осуществления содержание наночастиц в металлическом связующем материале может составлять, по меньшей мере, 5 об.% от металлического связующего материала. В некоторых вариантах осуществления, по меньшей мере, периферийная область подложки цементированного карбида, по существу, не содержит эта-фазы.
В некоторых вариантах осуществления изобретения, по меньшей мере, периферийная область подложки цементированного карбида, или, по существу, вся подложка может иметь магнитную коэрцитивность, Не, не больше, чем приблизительно 700 Э (эрстед), или эквивалентно приблизительно 55,7 кА/м, и по меньшей мере, приблизительно 100 Э, или эквивалентно приблизительно 7,96 кА/м, или, по меньшей мере, приблизительно 200 Э, или эквивалентно приблизительно 15,9 кА/м.
В одном варианте осуществления изобретения материал карбида металла может быть WC, а содержание металлического связующего компонента находится в диапазоне от приблизительно 1 до приблизительно 12 вес.%, или в диапазоне от приблизительно 5 до приблизительно 11 вес.%; причем металлический связующий материал включает Со; цементированный карбид имеет магнитную коэрцитивность до 17,0 кА/м, до 9,5 кА/м, до 8 кА/м, или в диапазоне от 1,6 до 6,4 кА/м; магнитный момент, а, в единицах микротесла кубический метр на килограмм, соответственно, как функция пропорции Со (X) в вес.% цементированного карбида в диапазоне от σ=0,11X до σ=0,137Х.
В некоторых вариантах осуществления изобретения, структура PCD может включать взаимосвязанные алмазные зерна, имеющие средний размер, по меньшей мере, приблизительно 0,5 мкм, по меньшей мере, приблизительно 2 мкм, или, по меньшей мере, приблизительно 4 мкм, и, в некоторых вариантах осуществления, структура PCD может включать взаимосвязанные алмазные зерна, имеющие средний размер не больше, чем приблизительно 20 мкм, не больше, чем приблизительно 15 мкм или не больше, чем приблизительно 10 мкм. В одном варианте осуществления структура PCD может включать термически устойчивый материал PCD, и может включать, по меньшей мере, область, по существу, не содержащую материал металлического растворителя/ катализатора. В некоторых вариантах осуществления структура PCD может быть спаяна с подложкой, и, в одном варианте осуществления, PCD может быть интегрально сформирован и связан с подложкой.
Предложен способ изготовления композитной вставки с поликристаллическими алмазами (PCD), который включает предоставление подложки из цементированного карбида, включающей частицы карбида металла и металлического связующего материала; в которой содержание металлического связующего компонента может составлять, по меньшей мере, приблизительно 1 вес.%, по меньшей мере, приблизительно 3 вес.%, по меньшей мере, приблизительно 5 вес.% или, по меньшей мере, приблизительно 6 вес.%; и не больше, чем приблизительно 12 вес.%, не больше, чем приблизительно 11 вес.% или не больше, чем приблизительно 10 вес.%; предоставление соединенной массы алмазных частиц, которая включает материал растворитель/катализатор для алмаза; контактирование соединенной массы с поверхностью подложки, чтобы получить несвязанный ансамбль, и спекание несвязанного ансамбля при давлении и температуре, при которых алмаз термодинамически устойчив, с получением структуры PCD, связанной с подложкой из цементированного карбида. Температура может составлять, по меньшей мере, 1400°C, и давление может составлять, по меньшей мере, 5,5 ГПа. Этот способ является одним из аспектов настоящего изобретения. В некоторых вариантах осуществления изобретения предварительно спеченный ансамбль может быть подвергнут давлению, по меньшей мере, приблизительно 6 ГПа, по меньшей мере, приблизительно 6,5 ГПа, по меньшей мере, приблизительно 7 ГПа или даже, по меньшей мере, приблизительно 7,5 ГПа.
В одном варианте способа, по меньшей мере, периферийная область подложки может включать материал цементированного карбида, имеющий характеристику средней длины свободного пробега (MFP), по меньшей мере, приблизительно 0,1 мкм и не больше, чем приблизительно 0,7 мкм, или не больше, чем приблизительно 0,35 мкм; и предел упругости, по меньшей мере, приблизительно 1,9 ГПа. В одном варианте периферийная область подложки может быть смежной с, по меньшей мере, областью незащищенной периферийной поверхности подложки.
Предложен способ изготовления композитной вставки с поликристаллическимим алмазами (PCD), который включает предоставление подложки из цементированного карбида, в которой, по меньшей мере, периферийная область включает материал цементированного карбида, имеющий характеристику средней длины свободного пробега (MFP), по меньшей мере, приблизительно 0,1 мкм и не больше, чем приблизительно 0,7 мкм, и предел упругости, по меньшей мере, приблизительно 1,9 ГПа; причем периферийная область включает частицы карбида металла и металлического связующего материала, а содержание металлического связующего компонента составляет, по меньшей мере, приблизительно 1 вес.% и не больше, чем приблизительно 12 вес.%; предоставление соединенной массы частиц алмаза; введение материала растворителя/катализатора для алмаза в соединенную массу; и спекание соединенной массы в контакте с подложкой при давлении и температуре, при которых алмаз термодинамически устойчив, с получением структуры PCD, связанной с подложкой из цементированного карбида. Способ является одним из аспектов настоящего изобретения.
В некоторых вариантах осуществления металлический связующий компонент может включать растворитель/ катализатор для алмаза.
В некоторых вариантах осуществления способа растворитель/катализатор для алмаза может быть введен в соединенную массу алмазных зерен смешиванием материала растворителя/катализатора в порошковой форме с алмазными зернами, осаждением материала растворителя/катализатора на поверхность алмазных зерен, или инфильтрацией материала растворителя/катализатора в соединенную массу из источника материала, отличного от подложки, либо до стадии спекания, либо как часть стадии спекания.
В одном варианте осуществления изобретения способ может включать удаление материала растворителя/катализатор из, по меньшей мере, части структуры PCD, в частности из части структуры PCD, смежной с рабочей поверхностью композитной вставки с PCD.
Варианты осуществления композитной вставки с PCD по изобретению могут быть пригодны для буровой головки, такой как роторное режуще-скалывающее буровое долото для использования в нефтяной и газовой буровой промышленности. Композитная вставка с PCD может быть пригодна для неподвижного бурового долота режущего типа, конической шарошки, инструмента открытия скважины, раздвижного бурового инструмента, расширителя или других буровых инструментов.
Один из аспектов настощего изобретения предусматривает инструмент, включающий вариант осуществления композитной вставки с PCD по изобретению, причем инструмент пригоден для резки, фрезеровки, размола, бурения, сверления, бурения по породе, или других абразивных приложений, таких как резка и машинная обработка металла.
В одном варианте осуществления инструмент может включать буровую головку для бурения или сверления породы. В одном варианте осуществления инструмент может включать роторное режуще-скалывающее буровое долото для использования в нефтяной и газовой буровой промышленности. В некоторых вариантах осуществления инструмент может быть конической шарошкой, инструментом открытия скважины, раздвижным буровым инструментом, расширителем или другим буровым инструментом.
Краткое описание чертежей
Неограничивающие варианты осуществления изобретения будут описаны с отсылкой к сопутствующим чертежам, из которых:
Фигура 1 показывает схематическую диаграмму микроструктуры цементированного карбида.
Фигура 2 показывает схематический перспективный вид варианта осуществления композитной вставки с PCD.
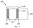
Фигура 3 показывает схематическое продольное сечение варианта осуществления композитной вставки с PCD.
Фигура 4А показывает схематический перспективный вид варианта осуществления композитной вставки с PCD.
Фигура 4В показывает схематическое продольное сечение варианта осуществления композитной вставки с PCD, показанной на Фиг.4А.
Фигура 5А показывает схематический перспективный вид варианта осуществления композитной вставки с PCD.
Фигура 5В показывает схематическое продольное сечение варианта осуществления композитной вставки с PCD, показанной на Фиг.5В.
Фигура 6 показывает перспективный вид инструмента в форме роторной буровой коронки, несущей элементы PCD в качестве режущих элементов.
Ссылки относятся к тем же самым соответствующим признакам во всех чертежах.
Осуществление изобретения
Используемый в описании термин "материал катализатора для алмаза", также называемый "растворитель/катализатор для алмаза", является материалом, который способен промотировать зародышеобразование, рост или взаимосвязь алмазных зерен при давлении и температуре, при которых алмаз термодинамически устойчив. Материалы катализатора для алмаза могут быть металлическими, такими как кобальт, железо, никель, марганец и их сплавы, или неметаллическими.
Используемый в описании термин "поликристаллические алмазы" (PCD) включает массу алмазных зерен, существенная часть которых прямо взаимосвязаны друг с другом и в котором содержание алмаза составляет, по меньшей мере, приблизительно 80 об.% материала. В одном варианте осуществления материала PCD промежутки между алмазными зернами могут быть, по меньшей мере, частично заполнены связующим материалом, включающим катализатор для алмаза. Используемые в описании термины "промежутки" или "промежуточные области" являются областями между алмазными зернами материала PCD. В вариантах осуществления материала PCD промежутки или промежуточные области могут быть, по существу или частично, наполнены материалом, отличным от алмаза, или они могут быть, по существу, пустыми. Используемый в описании термин материал "наполнителя" обозначает материал, который полностью или частично наполняет поры, промежутки или промежуточные области в пределах структуры, такой как поликристаллическая структура. Термически устойчивые варианты осуществления материала PCD могут включать, по меньшей мере, область, из которой материал катализатора был удален из промежутков, оставляя промежуточные пустоты между алмазными зернами. Используемый в описании термин "термически устойчивый PCD" является структурой PCD, по меньшей мере, часть которой по существу не демонстрирует разрушения структуры или ухудшения твердости или сопротивления истиранию после подвергания при температуре выше приблизительно 400°C.
Ипользуемый в описании термин "предел упругости" материала означает напряжение, при котором деформация материала достигает значения 0,02% при сжимающей нагрузке.
Используемый в описании термин "средняя длина свободного пробега" (MFP) композиционного материала, такого как цементированный карбид является мерой среднего интервала между агрегированными зернами карбида, цементированными в материале связующего. Характеристика средней длины свободного пробега материала цементированного карбида может быть измерена, используя микроснимок полированного шлифа (аншлифа) материала. Например, микроснимок может иметь увеличение приблизительно 1500х. Со ссылкой на Фиг.1 MFP может быть определен, измеряя интервал между каждым пересечением линии с границей зерна на однородной сетке. Линейные сегменты матрицы, Lm, суммируют, и линейные сегменты зерна, Lg, суммируют.Средняя длина сегмента матрицы, когда используют обе оси, является "средней длиной свободного пробега". Смеси множества распределений размеров частиц карбида вольфрама могут приводить к широкому распределению величин MFP для того же самого содержания матрицы.
Со ссылкой на Фиг.2 и Фиг.3, варианты осуществления композитных вставок 100 с PCD, включают структуры 110 PCD, связанные с подложкой 120 из цементированного карбида, включающей частицы карбида металла и металлический связующий материал; причем, по меньшей мере, периферийная область 121 подложки 120 включает материал цементированного карбида, имеющий характеристику средней длины свободного пробега (MFP), по меньшей мере, приблизительно 0,1 мкм и не больше, чем приблизительно 0,7 мкм, или не больше, чем приблизительно 0,35 мкм; и предел упругости, по меньшей мере, приблизительно 1,9 ГПа. В некоторых вариантах осуществления содержание металлического связующего материала в пределах указанной области 121 подложки 120 находятся в диапазоне от приблизительно 1 вес.% до приблизительно 12 вес.%, и частицы карбида металла в пределах указанной области имеют средний размер в диапазоне от приблизительно ОД мкм до приблизительно 20 мкм.
Со ссылкой на Фиг.4А и Фиг.4В, варианты осуществления композитной вставки 100 с PCD могут включать структуру ПО PCD, связанную с подложкой 120 из цементированного карбида, включающей частицы карбида металла и металлический связующий материал; причем, по существу, вся подложка 120 включает материал цементированного карбида, имеющий характеристику средней длины свободного пробега (MFP), по меньшей мере, приблизительно 0,1 мкм и не больше, чем приблизительно 0,7 мкм, или не больше, чем приблизительно 0,35 мкм; и предел упругости, по меньшей мере, приблизительно 1,9 ГПа.
Со ссылкой на Фиг.5А и Фиг.5В, вариант осуществления композитной вставки 100 с PCD может включать структуру ПО PCD, связанную с подложкой 120 из цементированного карбида, включающей частицы карбида металла и металлический связующий материал; причем, по меньшей мере, периферийная область подложки 120 включает материал цементированного карбида, имеющий характеристику средней длины свободного пробега (MFP), по меньшей мере, приблизительно 0,1 мкм и не больше, чем приблизительно 0,7 мкм, или не больше, чем приблизительно 0,35 мкм; и предел упругости, по меньшей мере, приблизительно 1,9 ГПа; и структура 110 PCD связана с подложкой 120 посредством слоя 140 припоя.
Требуемая характеристика MFP может быть достигнута несколькими путями, известными в уровне техники. Например, более низкое значение MFP может быть достигнуто при использовании более низкого содержания металлического связующего компонента. Практический нижний предел приблизительно 3 вес.% кобальта применяют для цементированного карбида и обычного жидкофазного спекания. В варианте осуществления, где подложку из цементированного карбида подвергают сверхвысокому давлению, например, давлению, больше, чем приблизительно 5 ГПа, и высокой температуре (например, больше, чем приблизительно 1400°С,), может быть достигнуто более низкое содержание металлического связующего компонента, такого как кобальт. Например, когда содержание кобальта составляет приблизительно 3 вес.%, и средний размер зерен WC составляет приблизительно 0,5 мкм, MFP была бы приблизительно 0,1 мкм, и когда средний размер зерен WC составляет приблизительно 2 мкм, MFP будет приблизительно 0,35 мкм, а когда средний размер зерен WC составляет приблизительно 3 мкм, MFP будет приблизительно 0,7 мкм. Эти средние размеры зерен соответствуют отдельным классам порошка, полученным естественными процессами измельчения, которые генерируют логарифмически нормальное распределение частиц. Более высокое содержание матрицы (связующего компонента) приводит к более высоким величинам MFP.
Изменяя размер зерен смешиванием различных классов порошков и изменяя распределение можно достигнуть всего спектра значений MFP в зависимости от особенностей обработки порошка и смешивания. Точные значения должны быть определены эмпирически.
Магнитные свойства материала цементированного карбида могут быть связаны с важными структурными и композиционными характеристиками. Самой общей методикой измерения содержания углерода в цементированных карбидах является непрямое измерение концентрации вольфрама, растворенного в связующем компоненте, которому она косвенно пропорциональна: чем выше содержание углерода, растворенного в связующем компоненте, тем ниже, концентрация вольфрама, растворенного в связующем компоненте. Содержание вольфрама в связующем компоненте может быть определено из измерения магнитного момента, а, или магнитного насыщения, Ms=4πσ, причем эти значения имеют обратную зависимость от содержания вольфрама, см. "Измерение магнитного момента (насыщение) на материалах цементированного карбида" (Roebuck (1996) Magnetic moment (saturation) measurements on cemented carbide materials, Int. J. Refractory Met., Vol.14, pp.419-424). Следующая формула может использоваться, чтобы связать магнитное насыщение, Ms, с концентрацией W и С в связующем компоненте:
Ms∝[C]/[W]×вес.%Со×201,9 в единицах µT.m3/kg
Содержание связующего кобальта в материале цементированного карбида может быть измерено различными методами, известными из уровня техники, включая непрямые методы, такие как магнитные свойства материала цементированного карбида или, более прямо, посредством энергорассеивающей рентгеновской спектроскопии (EDX), или самым точным методом, основанным на химическом выщелачивании Со.
Средний размер зерен карбида, таких как зерна WC, может быть определен экспертизой микроснимков, полученных с использованием сканирующей электроннойый микроскопии (SEM) или изображения световой микроскопии металлургически полученных поперечных сечений материала цементированного карбида, например, применяя метод среднего линейного отрезка прямой. Альтернативно, средний размер зерен WC может быть измерен косвенно, измеряя магнитную коэрцитивность материала цементированного карбида, которая указывает среднюю длину свободного пробега Со, находящегося между зерен, из которой размер зерен WC может быть вычислен, используя простую формулу, известную из уровня техники. Эта формула определяет обратную зависимость между магнитной коэрцитивностью Co-цементированного материала цементированного карбида WC и средней длиной свободного пробега Со, и, следовательно, средним размером зерен WC. Магнитная коэрцитивность имеет обратную зависимость от MFP.
Состав эта-фазы, как понимают в настоящем описании, означает соединение карбида, имеющее общую формулу МхМ′yCz, где М представляет собой, по меньшей мере, один элемент, выбранный из группы, состоящей из W, Mo, Ti, Cr, V, Та, Hf, Zr и Nb; М1 представляет собой, по меньшей мере, один элемент, выбранный из группы, состоящей из Fe, Co, Ni, а С представляет собой углерод. Когда М представляет собой вольфрам (W) и М' представляет собой кобальт (Со), как самая типичная комбинация, тогда эта-фаза, как понимают в описании, означает Co3W3C (эта-1) или CoeWeC (эта-2), так же как их дробные суб- и сверхстехиометрические изменения. Есть также некоторые другие фазы в системе W-Co-C, такие как тета-фазы Co3W6C2, Co4W4C и Co2W4C, а так же каппа-фазы Co3W9C4 и CoW3C (эти фазы иногда группируют в литературе в пределах более широкого обозначения эта-фазы).
В некоторых вариантах осуществления подложка из цементированного карбида, по существу, не содержит эта-фазы. Отсутствие эта-фазы может быть выгодным для прочности и вязкости разрушения подложки.
Публикация патента США 2006/0093859 раскрывает детали материала цементированного карбида, включающего карбид вольфрама (WC), в котором содержание металлического связующего компонента находится в диапазоне от 5 до 25 вес.%, причем металлическое связующее включает Со; в котором цементированный карбид в, по меньшей мере, области имеет напряженность магнитного коэрцитивного поля до 17,0 кА/м, до 9,5 кА/м, до 8 кА/м, или в диапазоне от 1,6 до 6,4 кА/м; магнитный момент, а, в единицах микротесла кубический метр на килограмм, соответственно, как функция пропорции Со (X) в вес.% от цементированного карбида в диапазоне от σ=0,11 X до σ=0,137 X. Примером материала цементированного карбида, имеющего эти свойства, является материал, доступный от Element Six Hard Materials GmbH, Германия, под названием Master Grade™.
Концентрация W в связующем Со зависит от содержания С.Например, концентрация W при низком содержании С значительно более высока. Концентрация W и содержание С в связующем Со материала Co-цементированного WC (WC-Co) могут быть определены из значения магнитного насыщения. Магнитное насыщение твердого металла, примером которого является цементированный карбид вольфрама, определяют как магнитный момент на единицу веса, а, так же как индукция насыщения на единицу веса, 4πσ. Магнитный момент, σ, чистого Со составляет 16,1 микротесла кубический метр на килограмм (µT.m3/kg), и индукция насыщения, также называемая как магнитное насыщение, 4яа, чистого Со составляет 201,9 µT.m3/kg.
В некоторых вариантах осуществления изобретения наночастицы, имеющие средний размер в диапазоне от приблизительно 0,1 нм до приблизительно 1 нм и содержащие кобальт, вольфрам и углерод, могут быть диспергированы в связующем компоненте. В одном варианте осуществления, частицы типа эта-1 фазы, Co3W3C, типа эта-2 фазы, Co6W6C, и тета-фазы, Co2W4C, в кристаллографической структуре fee диспергируют в связующем компоненте, причем каждая имеет соответствующий средний размер приблизительно 0,213 нм, 0,209 нм и 0,215 нм. Присутствие этих наночастиц может быть обнаружено посредством электронограмм, используя электронную микроскопию пропускания высокого разрешения (HRTEM). Используя темнопольную HRTEM, наночастицы могут быть видны как темные пятна. Присутствие наночастиц в связующем компоненте может приводить к укреплению связующего компонента.
Практическое использование марок цементированного карбида с, по существу, более низким содержанием кобальта, таких как подложки для вставок с PCD, ограничивают тем фактом, что часть Со должна мигрировать из подложки в слой PCD во время процесса спекания, чтобы катализировать формирование PCD. Поэтому, более трудно сделать PCD на материалах подложки, включающих более низкое содержание Со, даже при том, что это может быть желательно.
Вариант осуществления композитной вставки с PCD может быть получен способом, включающим предоставление подложки из цементированного карбида, контактирование соединенной, по существу несвязанной массы алмазных частиц с поверхностью подложки с получением предварительно спеченного ансамбля, инкапсулирование предварительно спеченного ансамбля в капсулу для печи сверхвысокого давления и подвергание предварительно спеченного ансамбля воздействию давления, по меньшей мере, приблизительно 5,5 ГПа, и температуры, по меньшей мере, приблизительно 1250°C, и спекание алмазных частиц с получением композитной вставки с PCD, включающей структуру PCD, которая интегрально сформирована на и соединена с подложкой из цементированного карбида. В некоторых вариантах осуществления изобретения предварительно спеченный ансамбль может быть подвергнут давлению, по меньшей мере, приблизительно 6 ГПа, по меньшей мере, приблизительно 6,5 ГПа, по меньшей мере, приблизительно 7 ГПа. или даже, по меньшей мере, приблизительно 7,5 ГПа.
Твердость подложки из цементированного карбида вольфрама может быть увеличена подверганием подложки сверхвысокому давлению и высокой температуре, в частности при давлении и температуре, при которых алмаз термодинамически устойчив. Величина повышения твердости может зависеть от условий давления и температуры. В частности повышение твердости может увеличиваться при более высоком давлении.
В одном варианте осуществления подложка может включать материал цементированного карбида, который может включать частицы цементированного карбида WC, имеющие средний размер в диапазоне от приблизительно 1,5 мкм до приблизительно 3 мкм и материал связующего Со, причем содержание частиц WC находится в диапазоне от приблизительно 90 вес.% до приблизительно 92 вес.%, и содержание Со находится в диапазоне от приблизительно 8 вес.% до приблизительно 10 вес.% от материала цементированного карбида. Материал цементированного карбида может дополнительно включать частицы Cr3C2, диспергированные в связующем компоненте. Содержание Cr3C2 может быть в диапазоне от приблизительно 0,1 вес.% до 0,5 вес.% материала цементированного карбида.
В вариантах осуществления, где подложка из цементированного карбида не содержит достаточно растворителя/катализатора для алмаза, и где структуру PCD интегрально формируют на подложке во время спекания при сверхвысоком давлении, материал растворителя/катализатора может быть включен или введен в соединенную массу алмазных зерен из источника материала, отличного от подложки цементированного карбида. Материал растворителя/катализатора может включать кобальт, который инфильтруют из подложки в соединенную массу алмазных зерен до и во время стадии спекания при сверхвысоком давлении. Однако в вариантах осуществления, где содержание кобальта или другого материала растворителя/катализатора в подложке является низким, особенно когда оно меньше, чем приблизительно 11 вес.% материала цементированного карбида, то, чтобы гарантировать хорошее спекание соединенной массы с получением PCD может понадобиться альтернативный источник.
Растворитель/катализатор для алмаза может быть введен в соединенную массу алмазных зерен различными методами, включая смешивание материала растворителя/катализатора в порошковой форме с алмазными зернами, осаждение материала растворителя/катализатора на поверхности алмазных зерен, или инфильтрация материала растворителя/катализатора в соединенную массу из источника материала, отличного от подложки, либо до стадии спекания, либо как часть стадии спекания. Способы осаждения растворителя/катализатора для алмаза, такого как кобальт, на поверхности алмазных зерен известны из уровня техники, и включают химическое осаждение из паровой фазы (CVD), нанесение покрытия осаждением из паровой фазы (PVD), осаждение распылением, электрохимические методы, осаждение методом химического осаждения и осаждение атомных слоев (ALD). Следует понимать, что преимущества и недостатки каждого метода зависят от природы материала спекающей добавки и покрывающей структуры, которая должна быть осаждена, а также от характеристик зерна.
В одном варианте осуществления способа по изобретению кобальт может быть осажден на поверхности алмазных зерен сначала осаждением материала предшественника и затем преобразованием материала предшественника в материал, который включает элементарный металлический кобальт. Например, на первой стадии карбонат кобальта может быть осажден на поверхностях алмазных зерен, используя следующую реакцию:
Co(NO3)2+Na2CO3→СоСО3+2NaNO3
Осаждение карбоната или другого предшественника кобальта или другого растворителя/катализатора для алмаза может быть достигнуто посредством способа, описанного в патенте РСТ WO/2006/032982. Карбонат кобальта может затем быть преобразован в кобальт и воду, например, посредством реакций пиролиза, таких как следующие:
СоСО3→СоО+СО2
СоО+Н2→Со+Н2О
В другом варианте осуществления способа по изобретению порошок кобальта или предшественника кобальта, такого как карбонат кобальта, могут быть смешаны с алмазными зернами. Когда используют предшественник растворителя/катализатора, такого как кобальт, может быть необходима обрабатка нагреванием материала, чтобы вызвать реакцию с получением материала растворителя/катализатора в элементарной форме до спекания соединенной массы.
В одном варианте осуществления подложка из цементированного карбида может включать частицы WC, имеющие средний размер приблизительно 1,4 мкм, и 13 вес.% металлического связующего компонента на основе Со, причем металлический связующий компонент включает Со, Ni и Cr3C2, в качестве неограничивающего примера в весовом соотношении приблизительно 9,79:2,95:0,30.
В одном варианте осуществления подложка из цементированного карбида может включать частицы WC, имеющие средний размер приблизительно 2,5 мкм, и содержит 9 вес.% металлического связующего компонента Со.
В одном варианте осуществления подложка из цементированного карбида может включать частицы WC, имеющие средний размер приблизительно 2,5 мкм, и содержит 9 вес.% металлического связующего компонента Со и 0,3 вес.% Cr3C2.
В одном варианте осуществления подложка из цементированного карбида может включать частицы WC, имеющие средний размер приблизительно 0,8 мкм, и содержит 13 вес.% металлического связующего компонента Со, 0,4 вес.% VC и 0,5 вес.% Cr3C2.
В одном варианте осуществления подложка из цементированного карбида может включать частицы WC, имеющие средний размер приблизительно 0,8 мкм, и содержит 10 вес.% металлического связующего компонента Со, 0,2 вес.% VC и 0,3 вес.% Cr3C2.
В одном варианте осуществления подложка из цементированного карбида может включать карбид WC-Co, полученный спеканием под воздействием микроволнового излчения.
С отсылкой к Фиг.6 вариант осуществления конструкции роторного бурового долота 800 по настоящему изобретению включает, например, множество режущих элементов 600, как ранее описано здесь с отсылкой к Фиг.2, Фиг.3, Фиг.4А, Фиг.4В, Фиг.5А или Фиг.5В. Роторное буровое долото 800 включает корпус 802 долота, который прикреплен к хвостовику 804, имеющему участок 806 резьбового соединения (например, участок 806 резьбового соединения, соответствующий промышленным стандартам, таким как стандарты, провозглашенные Американским нефтяным институтом (API)) для того, чтобы соединить буровое долото 800 с бурильной колонной (не показана). Корпус 802 долота может включать композитный материал, состоящий из частиц и матрицы, или металлический сплав, такой как сталь. Корпус 802 долота может быть прикреплен к хвостовику 804 одним или больше резьбовым соединением, сваркой, и сваркой с припоем на границе между ними. В некоторых вариантах осуществления конструкции корпус 802 долота может быть прикреплен к хвостовику 804 косвенно посредством металлической болванки или удлинителя между ними, как известно из уровня техники.
Корпус 802 долота может включать внутренние проходы (не показаны) для флюида, которые распространяются между поверхности 803 корпуса 802 долота, и продольным отверстием (не показано), которое распространяется через хвостовик 804, удлинитель 808 и частично через корпус 802 долота. Вставка 824 форсунки также может быть предусмотрена в поверхности 803 корпуса 802 долота в пределах внутренних проходов для флюида. Корпус 802 долота может дополнительно включать множество лопастей 816, которые отделены канавками 818 для выноса бурового шлама. В некоторых вариантах осуществления конструкции корпус 802 долота может включать пробки 822 датчиков износа и узлов 828 износа. Множество PCD режущих элементов одного или больше вариантов 100, 200, 300 и 400 осуществления, как ранее раскрыто в описании изобретения, которые в общем обозначены ссылочным номером 600 на Фиг.6, могут быть смонтированы на поверхности 803 корпуса 802 долота в карманах 812 режущих элементов, которые расположены вдоль каждой из лопастей 816. В других вариантах осуществления конструкции PCD режущие элементы 700, как ранее описано с отсылкой к Фиг.2, Фиг.3, Фиг.4А, Фиг.4В, Фиг.5А или Фиг.5В, или любого другого варианта осуществления конструкции PCD режущего элемента по настоящему изобретению могут быть предусмотрены в карманах 812 режущего элемента.
Режущие элементы 600 устанавливают так, чтобы резать подземное формирование, подлежащее бурению, в то время как буровое долото 800 вращается под нагрузкой на долото (WOB) в буровой скважине вокруг осевой линии L800.
Варианты осуществления режущих элементов в виде вставки (PDC) с поликристаллическими алмазами по настоящему изобретению также могут быть использованы в качестве триммеров измерительного прибора, и могут использоваться на других типах бурового инструмента. Например, варианты осуществления режущих элементов по настоящему изобретению также могут использоваться на шарошках шарошечных буровых долот, на расширителях, на фрезерах, на буровых долотах со смещенным центром, эксцентричных долотах, колонковых буровых долотах, и так называемых гибридных долотах, которые включают и фиксированные резательные машины и шарошки.
Варианты осуществления изобретения показывают увеличенную эрозионную стойкость и достаточное сопротивление разрушению и повышенный срок службы.
Варианты осуществления, включающие подложку, имеющую магнитные свойства согласно изобретению, имеют повышенное сопротивление разрушению и высокую износостойкость. Не желая быть связанными специальной теорией, микроструктурные детали, лежащие в основе этих магнитных свойств, могут включать количества вольфрама и углерода, растворенные в металлическом связующем компоненте, и зерна наночастиц, диспергированные в связующем компоненте, причем частицы включают W, С и Со (так называемые эта- или тета-фазы).
Варианты осуществления изобретения имеют то преимущество, что на основные свойства цементированного карбида, такие как эрозионная стойкость или сопротивление разрушению, вредно не влияет подвергание его сверхвысокому давлению и температуре, при которой алмаз термодинамически устойчив.
Варианты осуществления изобретения имеют то преимущество, что отсутствие эта-фазы может быть выгодным для прочности и вязкости разрушения подложки.
Варианты осуществления изобретения имеют то преимущество, что включают связующий материал, имеющий повышенную прочность. Не желая быть связанными определенной теорией, высокие уровни растворенного W или другого тугоплавкого металла, такого как Ti или Та в связующем компоненте, могут упрочнять связующий компонент. Растворенный W или даже другой тугоплавкий металл, такой как Ti или Та в связующем компоненте могут иметь эффект увеличения параметра кристаллической решетки связующего компонента. Варианты осуществления изобретения имеют то преимущество, что они включают материал связующего компонента кобальта, усиливающий эрозионную стойкость и прочность.
Не желая быть связанным определенной теорией, растворенный W или даже другой тугоплавкий металл, такой как Ti или Та в металлическом связующем компоненте кобальте может стабилизировать fcc форму кобальта от конверсии в hcp форму, что может иметь эффект улучшения прочности и эрозионной стойкости связующего кобальта.
Не желая быть связанным определенной теорией, частицы Cr3C2, диспергированного в металлическом связующем компоненте, могут увеличить предел текучести и предел упругости цементированного карбида и ингибировать превращение fcc формы Со в hcp форму, что может улучшить эрозионную стойкость.
Варианты осуществления изобретения имеют то преимущество, что включают подложку с повышенной эрозионной стойкостью, связанную с хорошо спеченной структурой PCD с высоким контактом алмазных зерен.
Варианты осуществления изобретения показывают повышенную эрозионную стойкость подложек в комбинации с достаточным сопротивлением разрушению.
Варианты осуществления изобретения описаны более подробно с отсылкой к примерам, представленным ниже, которые не предназначены ограничивать объем изобретения.
Пример 1
Предложена подлока из WC-Co, включающая зерна WC, имеющие средний размер приблизительно 2,5 мкм и имеющая содержание связующего компонента приблизительно 9,3 вес.%, причем это значение состоит из приблизительно 9 вес.% Со и приблизительно 0,3 вес.% СГ2С3. Подложка, в целом, имела цилиндрическую форму и имела диаметр приблизительно 16 мм и высоту приблизительно 13 мм. Слой, включающий соединенную массу несвязанных алмазных зерен, осаждали на торцовую поверхность подложки с получением несвязанного ансамбля. Алмазные зерна имели мультимодальное распределение по размерам и средний размер приблизительно 7 мкм. Несвязанный ансамбль собирали в пределах капсулы для печи сверхвысокого давления, и капсулу подвергали воздействию сверхвысокого давления в диапазоне от приблизительно 5,5 ГПа до приблизительно 6 ГПа и температуры приблизительно 1400°C в течение приблизительно 5 минут с получением композитной вставки с PCD. После спекания композитную вставку с PCD обрабатывали, чтобы получить вставку, имеющую диаметр приблизительно 15,9 мм и структуру PCD толщиной в диапазоне от приблизительно 1,7 до 2,1 мм.
Оценивали, что характеристика подложки средней длины свободного пробега после спекания при сверхвысоком давлении была в диапазоне от приблизительно 0,3 мкм до приблизительно 0,6 мкм, и предел упругости, как оценивалось, был в диапазоне от приблизительно 2,0 ГПа до приблизительно 2,4 ГПа. Магнитная коэрцитивность, Не, как оценивалось, была в диапазоне от приблизительно 110 Э до приблизительно 150 Э, или эквивалентно, от приблизительно 8,7 кА/м до приблизительно 11,9 кА/м.
Пример 2
Износостойкая подложка из WC-Co, имеющая содержание Со приблизительно 6,5 вес.% и низкое содержание углерода, может быть произведена согласно изложенному в публикации US2006-0093859. Подложка может быть, в целом, цилиндрической по форме и иметь диаметр приблизительно 16 мм. Напряженность коэрцитивного поля материала подложки может быть приблизительно 7,0 кА/м, момент магнитного насыщения, с, может быть приблизительно 0,8 µT.m3/kg (Ms, 4πσ, может быть 10,0 µT.m3/kg), твердость по Виккерсу, HV30, может быть приблизительно 1100, и поперечный предел прочности при растяжении может быть приблизительно 2400 МПа. Средний размер зерен WC может быть приблизительно 10 мкм. В оптическом микроскопе зерна WC могут иметь скруглый вид. Материал подложки может, по существу, не содержать эта-фазы. Тонкопленочный образец может быть получен для исследования ЭМП (электронная микроскопия пропускания). Параметр кристаллической решетки Со может быть определен ЭМП и рентгеновской спектроскопией.
Концентрация W в связующем компоненте образца может быть в диапазоне от приблизительно 18 до приблизительно 19 атом.%, как определено посредством энергорассеивающего рентгеновского анализа (EDX, energy-dispersive X-ray analysis). Анализ ЭМП тонкопленочного образца материала подложки выявил присутствие наноразмерных частиц, диспергированных в связующем компоненте. Электронографический анализ выявил, что связующий компонент включает вольфрамсодержащую кубическую матрицу кобальта, имеющую гранецентрированную кубическую (fcc) структуру, параметр кристаллической решетки которой составляет приблизительно 0,366 нм. Электронографический анализ также показал, что наноразмерные частицы имеют средний размер в диапазоне от приблизительно 3 нм до приблизительно 10 нм.
Может быть изготовлен термически устойчивый диск PCD, имеющий диаметр приблизительно 16 мм и толщину приблизительно 2,2 мм. Сырье алмазная крошка может быть получена смешиванием алмазных зерен из четырех источников, имеющих суммарный средний размер зерен приблизительно 7 мкм. Смесь можно сформировать в соединенную массу и спечь на подложке из цементированного карбида вольфрама (WC-Со), цементированной кобальтом, при давлении приблизительно 6,8 ГПа и температуре приблизительно 1500°C посредством печи сверхвысокого давления с получением спеченной композитной вставки с PCD.
Композитная вставка включает слой PCD, интегрально связанный с подложкой. Материал PCD, изготовленный как описано выше, содержит алмаз в количестве приблизительно 92 об.% (±1%), причем баланс составляют кобальт и неосновные осажденные фазы, причем кобальт инфильтруется из подложки в соединенную алмазную массу во время стадии спекания. Алмазные зерна в режущей структуре PCD имеют мультимодальное распределение по размерам со средним размером приблизительно 11 мкм (±5,5%), выраженных в единицах эквивалентного диаметра круга. Срастание зерен и контакт могут быть выражены в терминах срастания алмазных зерен, и среднее срастание PCD составляет 62,0% (±1,9%). Интерстициальная длина среднего свободного пробега PCD составляет приблизительно 0,7 (±0,6) мкм.
Подложка из цементированного карбида может затем быть удалена из композитной вставки размалыванием, оставляя бесподложечный, свободностоящий (автономный) диск PCD. Диск PCD может быть измельчен до толщины приблизительно 2,2 мкм и затем обрабатан (выщелачиванием) в кислоте, чтобы удалить, по существу, весь кобальтовый материал растворителя/катализатора по всей режущей структуре PCD.
Фольга материала активного припоя, имеющая толщину приблизительно 80 мкм и диаметр приблизительно 16 мм, может прослаивать каждый сегмент PCD и торцевую поверхность износостойкой подложки. Материал припоя включает 63,00 вес.% Ag, 32,25 вес.% Cu и 1,75 вес.% Ti, и доступен под торговой маркой Cusil AB™. До пайки сегменты PCD могут быть очищены ультразвуком, и как подложка из карбида вольфрама, так и фольга припоя должны быть немного измельчены и затем очищены ультразвуком. Ансамбль предшественника вставки может быть подвергнут термической обработке в вакууме. Температура может быть увеличена до 920°C за 15 минут, поддержана на этом уровне 5 минут и затем снижена до температуры окружающей среды за приблизительно 8-9 часов. Вакуум, по меньшей мере, 10-5 миллибар может быть поддержан во время термической обработки. Должны быть приняты меры, чтобы избежать или минимизировать количество кислорода и других примесей в печной окружающей среде.
Пример 3
Предложена износостойкая подложка WC-Co, имеющая содержание Со приблизительно 6,5 вес.% и включающая зерна WC, имеющие средний размер приблизительно 8 мкм. Подложка может быть, в целом, цилиндрической формы и иметь диаметр приблизительно 16 мм. Напряженность коэрцитивного поля может быть приблизительно 6,4 кА/м, момент магнитного насыщения, а, может быть приблизительно 0,95 µT.m3/kg (Ms, 4πσ, может быть приблизительно 11,9 µT.m3/kg), твердость по Викерсу HV30 может быть приблизительно 1140, и поперечный предел прочности при растяжении может быть приблизительно 1950 МПа.
Множество алмазных зерен, имеющих мультимодальное распределение по размерам и средний размер приблизительно 7 мкм, могут быть смешаны с 5 вес.% порошка кобальта. Смесь может быть сформирована в несвязанную соединенную массу в форме слоя на верхней поверхности подложки с получением несвязанного анамбля, который может затем быть собран в пределах капсулы для печи сверхвысокого давления. Капсула может быть подвергнута воздействию давления приблизительно 5,5 ГПа и температуры приблизительно 1400°C в течение приблизительно 5 минут. После спекания первые и вторые элементы подложки могут быть спечены вместе, и композитная вставка с PCD может быть обработана, чтобы сформировать вставку, имеющую диаметр приблизительно 15,9 мм и структуру PCD толщиной в диапазоне от приблизительно 1,7 до 2,1 мм.
Claims (20)
1. Композитная вставка с поликристаллическими алмазами (PCD), включающая структуру PCD, связанную с подложкой из цементированного карбида, в которой, по меньшей мере, периферийная область подложки включает материал цементированного карбида, имеющий характеристику средней длины свободного пробега (MFP), по меньшей мере, 0,1 мкм и не больше, чем 0,7 мкм, и предел упругости, по меньшей мере, 1,9 ГПа.
2. Композитная вставка с PCD по п.1, в которой материал цементированного карбида периферийной области включает частицы карбида металла и материал металлического связующего, причем содержание материала металлического связующего периферийной области составляет, по меньшей мере, 1 вес.% и не больше, чем 12 вес.%.
3. Композитная вставка с PCD по п.2, в которой частицы карбида металла в периферийной области имеют средний размер, по меньшей мере, 0,1 мкм и не больше, чем 20 мкм.
4. Композитная вставка с PCD по п.1, в которой периферийная область имеет магнитную коэрцитивность, по меньшей мере, 100 Э и не больше, чем 700 Э.
5. Композитная вставка с PCD по п.2, в которой материал металлического связующего включает кобальт, а карбид металла представляет собой карбид вольфрама.
6. Композитная вставка с PCD по п.2, в которой материал металлического связующего содержит твердый раствор, по меньшей мере, одного из вольфрама и углерода в кобальте.
7. Композитная вставка с PCD по п.2, в которой зерна, по меньшей мере, одного из карбида хрома и карбида ванадия, диспергированы в материале металлического связующего.
8. Композитная вставка с PCD по п.2, в которой материал металлического связующего включает кобальт, никель и Cr3C2.
9. Композитная вставка с PCD по п.2, в которой карбид металла представляет собой TiC, WC, ТаС или карбид другого тугоплавкого металла.
10. Композитная вставка с PCD по п.2, в которой карбид металла представляет собой карбид вольфрама (WC), а цементированный карбид периферийной области имеет напряженность магнитного коэрцитивного поля до 17,0 кА/м, магнитный момент, σ, в единицах микротесла кубический метр на килограмм соответственно, как функция пропорции Со(Х) в вес.% от цементированного карбида в диапазоне от σ=0,11 X до σ=0,137 X.
11. Композитная вставка с PCD по п.1, в которой цементированный карбид периферийной области, по существу, не содержит эта-фазы.
12. Композитная вставка с PCD по п.2, в которой карбид металла или металлсодержащие наночастицы, имеющие средний размер в диапазоне от 0,1 нм до 500 нм, диспергированы в материале металлического связующего.
13. Композитная вставка с PCD по п.2, в которой материал металлического связующего включает вольфрам в концентрации от 5 атом.% до 30 атом.% от материала связующего.
14. Способ получения композитной вставки с PCD по любому из пп.1-13, который включает предоставление подложки из цементированного карбида, в которой, по меньшей мере, периферийная область включает материал цементированного карбида, имеющий характеристику средней длины свободного пробега (MFP), по меньшей мере, 0,1 мкм и не больше, чем 0,7 мкм, и предел упругости, по меньшей мере, 1,9 ГПа, причем периферийная область включает частицы карбида металла и материал металлического связующего, причем содержание металлического связующего компонента составляет, по меньшей мере, 1 вес.% и не больше, чем 12 вес.%, предоставление соединенной массы алмазных частиц, введение материала растворителя/катализатора для алмаза в соединенную массу и спекание соединенной массы в контакте с подложкой при давлении и температуре, при которых алмаз термодинамически устойчив, с получением структуры PCD, связанной с подложкой из цементированного карбида.
15. Способ по п.14, в котором подложка содержит материал растворителя/катализатора для алмаза.
16. Способ по п.14, включающий введение материала растворителя/катализатора для алмаза в соединенную массу алмазных зерен, путем, по меньшей мере, одного из смешивания материала растворителя/катализатора в порошковой форме с алмазными зернами, осаждения материала растворителя/катализатора на поверхности алмазных зерен, и инфильтрации материала растворителя/катализатора в соединенную массу из источника материала, отличного от подложки.
17. Инструмент, включающий композитную вставку с PCD по любому из пп.1-13, который предназначен для резки, фрезеровки, размола, сверления, бурения, бурения по породе или других абразивных применений.
18. Инструмент по п.17, который представляет собой буровое долото для бурения или бурения по породе.
19. Инструмент по п.18, который представляет собой роторное долото с фиксированными резцами для использования в нефтяной и газовой буровой промышленности.
20. Инструмент по п.17, который представляет собой шарошечное долото, инструмент открытия скважины, раздвижной буровой инструмент, расширитель или другие буровые инструменты.
Applications Claiming Priority (3)
| Application Number | Priority Date | Filing Date | Title |
|---|---|---|---|
| GB0915971A GB0915971D0 (en) | 2009-09-11 | 2009-09-11 | Polycrysalline diamond composite compact elements, tools incorporating same, method for making same and method for using same |
| GB0915971.6 | 2009-09-11 | ||
| PCT/EP2010/062913 WO2011029773A1 (en) | 2009-09-11 | 2010-09-02 | Polycrystalline diamond composite compact |
Publications (2)
| Publication Number | Publication Date |
|---|---|
| RU2012114004A RU2012114004A (ru) | 2013-10-20 |
| RU2503522C2 true RU2503522C2 (ru) | 2014-01-10 |
Family
ID=41277575
Family Applications (1)
| Application Number | Title | Priority Date | Filing Date |
|---|---|---|---|
| RU2012114004/02A RU2503522C2 (ru) | 2009-09-11 | 2010-09-02 | Композитная вставка с поликристаллическими алмазами |
Country Status (8)
| Country | Link |
|---|---|
| EP (1) | EP2475482A1 (ru) |
| JP (1) | JP2013504688A (ru) |
| KR (1) | KR20120097492A (ru) |
| CN (1) | CN102596454A (ru) |
| CA (1) | CA2773609A1 (ru) |
| GB (1) | GB0915971D0 (ru) |
| RU (1) | RU2503522C2 (ru) |
| WO (1) | WO2011029773A1 (ru) |
Cited By (3)
| Publication number | Priority date | Publication date | Assignee | Title |
|---|---|---|---|---|
| RU2634098C2 (ru) * | 2015-12-09 | 2017-10-23 | федеральное государственное бюджетное образовательное учреждение высшего образования "Пермский национальный исследовательский политехнический университет" | Способ получения алмазной плёнки на твердосплавных изделиях из карбида вольфрама |
| RU185481U1 (ru) * | 2017-08-15 | 2018-12-06 | Акционерное общество "Тульское научно-исследовательское геологическое предприятие" (АО "Тульское НИГП") | Породоразрушающая вставка |
| RU2799380C2 (ru) * | 2018-11-14 | 2023-07-05 | Сандвик Майнинг Энд Констракшн Тулз Аб | Перераспределение связующего во вставке из цементированного карбида для бурового наконечника |
Families Citing this family (23)
| Publication number | Priority date | Publication date | Assignee | Title |
|---|---|---|---|---|
| GB201113391D0 (en) * | 2011-08-03 | 2011-09-21 | Element Six Abrasives Sa | Super-hard construction and method for making same |
| GB201121673D0 (en) * | 2011-12-16 | 2012-01-25 | Element Six Gmbh | Polycrystalline diamond composite compact elements and methods of making and using same |
| SG11201504017WA (en) | 2012-11-21 | 2015-06-29 | Nat Oilwell Dht Lp | Fixed cutter drill bit cutter elements including hard cutting tables made from cvd synthetic diamonds |
| KR101421651B1 (ko) * | 2013-01-31 | 2014-07-22 | 일진다이아몬드(주) | 내충격성 및 열안정성이 향상된 다결정 다이아몬드 소결체 및 그 제조방법 |
| JP6020967B2 (ja) * | 2013-03-22 | 2016-11-02 | 三菱マテリアル株式会社 | 多層傾斜機能性ダイヤモンド複合焼結体 |
| GB201305871D0 (en) * | 2013-03-31 | 2013-05-15 | Element Six Abrasives Sa | Superhard constructions & methods of making same |
| CN103334040B (zh) * | 2013-07-17 | 2015-02-25 | 中南钻石有限公司 | 一种纳米结合剂及利用该结合剂制成的刀具用金刚石聚晶复合片 |
| KR101690516B1 (ko) * | 2014-02-04 | 2016-12-28 | 일진다이아몬드(주) | 다중 다결정 다이아몬드 소결체를 구비하는 다결정 다이아몬드 컴팩트 및 그 제조방법 |
| KR101575035B1 (ko) * | 2014-02-11 | 2015-12-08 | 일진다이아몬드(주) | 다결정 다이아몬드 컴팩트 |
| CN104084590B (zh) * | 2014-06-26 | 2016-06-08 | 中南钻石有限公司 | 一种使用纳米金属结合剂制成的石油钻探用金刚石复合片及其制备方法 |
| CA2965343C (en) * | 2014-11-24 | 2019-05-28 | Halliburton Energy Services, Inc. | Determining the leaching profile of a cutter on a drilling tool |
| BR112018010015B1 (pt) | 2015-11-19 | 2022-02-08 | Mitsubishi Materials Corporation | Ferramenta de material sinterizado de diamante policristalino excelente na força de ligação interfacial e método de produzir a mesma |
| CN105945292B (zh) * | 2016-07-04 | 2019-04-02 | 株洲肯特硬质合金有限公司 | 一种金刚石复合片及其制备方法 |
| GB201622474D0 (en) * | 2016-12-31 | 2017-02-15 | Element Six (Uk) Ltd | Superhard constructions & methods of making same |
| GB201713532D0 (en) * | 2017-08-23 | 2017-10-04 | Element Six Gmbh | Cemented carbide material |
| KR20190083756A (ko) | 2018-01-05 | 2019-07-15 | 신승도 | 기상합성 다이아몬드 코팅을 갖는 시추비트용 절삭 팁의 제조 방법 및 그로부터 제조된 절삭 팁을 포함하는 오일 시추비트 |
| PL4072781T3 (pl) * | 2019-12-11 | 2025-01-27 | Diamond Innovations, Inc. | Gradient żelaza w polikrystalicznych diamentowych wypraskach; półfabrykaty, frezy i narzędzia skrawające zawierające je; i sposoby wytwarzania |
| GB201919479D0 (en) * | 2019-12-31 | 2020-02-12 | Element Six Uk Ltd | Polycrystalline diamond constructions & methods of making same |
| GB201919480D0 (en) * | 2019-12-31 | 2020-02-12 | Element Six Uk Ltd | Polycrystalline diamond constructions & methods of making same |
| CN111893366B (zh) * | 2020-08-29 | 2021-07-09 | 贵州师范学院 | 一种TiC钢结硬质合金及其制备方法 |
| JP7470622B2 (ja) * | 2020-11-17 | 2024-04-18 | Mmcリョウテック株式会社 | 削孔工具 |
| JP2023160117A (ja) * | 2022-04-21 | 2023-11-02 | 日進工具株式会社 | 工具 |
| CN116748658A (zh) * | 2023-06-13 | 2023-09-15 | 四川大学 | 通过高压焊接技术制备纯相聚晶金刚石钻齿的方法 |
Citations (5)
| Publication number | Priority date | Publication date | Assignee | Title |
|---|---|---|---|---|
| RU2098388C1 (ru) * | 1994-09-30 | 1997-12-10 | Акционерное общество закрытого типа "Темп+" | Способ получения изделий из сверхтвердых композиционных материалов |
| RU2184644C2 (ru) * | 1997-07-16 | 2002-07-10 | Дзе Исизука Рисерч Инститьют, Лтд. | Алмазосодержащий слоистый композит и способ его получения |
| US20040016557A1 (en) * | 2002-07-24 | 2004-01-29 | Keshavan Madapusi K. | Coarse carbide substrate cutting elements and method of forming the same |
| US20060093859A1 (en) * | 2002-07-10 | 2006-05-04 | Igor Konyashin | Hard metal, in particular for cutting stone, concrete, and asphalt |
| RU2303688C2 (ru) * | 2002-01-30 | 2007-07-27 | Элемент Сикс (Пти) Лтд. | Композитный материал с плотным слоем абразивного материала |
Family Cites Families (17)
| Publication number | Priority date | Publication date | Assignee | Title |
|---|---|---|---|---|
| US3745623A (en) | 1971-12-27 | 1973-07-17 | Gen Electric | Diamond tools for machining |
| US4380471A (en) | 1981-01-05 | 1983-04-19 | General Electric Company | Polycrystalline diamond and cemented carbide substrate and synthesizing process therefor |
| JPS63109139A (ja) * | 1986-10-23 | 1988-05-13 | Toshiba Tungaloy Co Ltd | 切削工具部品用炭化チタン系焼結合金 |
| US5304342A (en) | 1992-06-11 | 1994-04-19 | Hall Jr H Tracy | Carbide/metal composite material and a process therefor |
| US5431239A (en) | 1993-04-08 | 1995-07-11 | Tibbitts; Gordon A. | Stud design for drill bit cutting element |
| US5762843A (en) * | 1994-12-23 | 1998-06-09 | Kennametal Inc. | Method of making composite cermet articles |
| US5667028A (en) | 1995-08-22 | 1997-09-16 | Smith International, Inc. | Multiple diamond layer polycrystalline diamond composite cutters |
| JP3339570B2 (ja) * | 1999-06-09 | 2002-10-28 | 住友電気工業株式会社 | 超硬合金の熱処理法 |
| US6216805B1 (en) | 1999-07-12 | 2001-04-17 | Baker Hughes Incorporated | Dual grade carbide substrate for earth-boring drill bit cutting elements, drill bits so equipped, and methods |
| US6258139B1 (en) | 1999-12-20 | 2001-07-10 | U S Synthetic Corporation | Polycrystalline diamond cutter with an integral alternative material core |
| EP1178179A3 (en) * | 2000-08-04 | 2002-06-12 | Halliburton Energy Services, Inc. | Carbide components for drilling tools |
| WO2003049889A2 (en) | 2001-12-05 | 2003-06-19 | Baker Hughes Incorporated | Consolidated hard materials, methods of manufacture, and applications |
| US20030217869A1 (en) * | 2002-05-21 | 2003-11-27 | Snyder Shelly Rosemarie | Polycrystalline diamond cutters with enhanced impact resistance |
| JP4903134B2 (ja) * | 2004-05-12 | 2012-03-28 | エレメント シックス (プロプライエタリイ)リミテッド | 切断工具インサート |
| ZA200609062B (en) | 2004-09-23 | 2008-08-27 | Element Six Pty Ltd | Coated abrasive materials and method of manufacture |
| US7694757B2 (en) * | 2005-02-23 | 2010-04-13 | Smith International, Inc. | Thermally stable polycrystalline diamond materials, cutting elements incorporating the same and bits incorporating such cutting elements |
| CA2618687C (en) * | 2005-08-16 | 2014-02-25 | Element Six (Production) (Pty) Ltd | Fine grained polycrystalline abrasive material |
-
2009
- 2009-09-11 GB GB0915971A patent/GB0915971D0/en not_active Ceased
-
2010
- 2010-09-02 EP EP10752332A patent/EP2475482A1/en not_active Withdrawn
- 2010-09-02 CA CA2773609A patent/CA2773609A1/en not_active Abandoned
- 2010-09-02 CN CN2010800426485A patent/CN102596454A/zh active Pending
- 2010-09-02 WO PCT/EP2010/062913 patent/WO2011029773A1/en not_active Ceased
- 2010-09-02 JP JP2012528324A patent/JP2013504688A/ja active Pending
- 2010-09-02 RU RU2012114004/02A patent/RU2503522C2/ru not_active IP Right Cessation
- 2010-09-02 KR KR1020127009252A patent/KR20120097492A/ko not_active Ceased
Patent Citations (5)
| Publication number | Priority date | Publication date | Assignee | Title |
|---|---|---|---|---|
| RU2098388C1 (ru) * | 1994-09-30 | 1997-12-10 | Акционерное общество закрытого типа "Темп+" | Способ получения изделий из сверхтвердых композиционных материалов |
| RU2184644C2 (ru) * | 1997-07-16 | 2002-07-10 | Дзе Исизука Рисерч Инститьют, Лтд. | Алмазосодержащий слоистый композит и способ его получения |
| RU2303688C2 (ru) * | 2002-01-30 | 2007-07-27 | Элемент Сикс (Пти) Лтд. | Композитный материал с плотным слоем абразивного материала |
| US20060093859A1 (en) * | 2002-07-10 | 2006-05-04 | Igor Konyashin | Hard metal, in particular for cutting stone, concrete, and asphalt |
| US20040016557A1 (en) * | 2002-07-24 | 2004-01-29 | Keshavan Madapusi K. | Coarse carbide substrate cutting elements and method of forming the same |
Cited By (3)
| Publication number | Priority date | Publication date | Assignee | Title |
|---|---|---|---|---|
| RU2634098C2 (ru) * | 2015-12-09 | 2017-10-23 | федеральное государственное бюджетное образовательное учреждение высшего образования "Пермский национальный исследовательский политехнический университет" | Способ получения алмазной плёнки на твердосплавных изделиях из карбида вольфрама |
| RU185481U1 (ru) * | 2017-08-15 | 2018-12-06 | Акционерное общество "Тульское научно-исследовательское геологическое предприятие" (АО "Тульское НИГП") | Породоразрушающая вставка |
| RU2799380C2 (ru) * | 2018-11-14 | 2023-07-05 | Сандвик Майнинг Энд Констракшн Тулз Аб | Перераспределение связующего во вставке из цементированного карбида для бурового наконечника |
Also Published As
| Publication number | Publication date |
|---|---|
| KR20120097492A (ko) | 2012-09-04 |
| CA2773609A1 (en) | 2011-03-17 |
| EP2475482A1 (en) | 2012-07-18 |
| CN102596454A (zh) | 2012-07-18 |
| JP2013504688A (ja) | 2013-02-07 |
| RU2012114004A (ru) | 2013-10-20 |
| GB0915971D0 (en) | 2009-10-28 |
| WO2011029773A1 (en) | 2011-03-17 |
Similar Documents
| Publication | Publication Date | Title |
|---|---|---|
| RU2503522C2 (ru) | Композитная вставка с поликристаллическими алмазами | |
| US9970240B2 (en) | Polycrystalline diamond composite compact | |
| US9895789B2 (en) | Polycrystalline diamond composite compact elements and methods of making and using same | |
| US9004199B2 (en) | Drill bits and methods of manufacturing such drill bits | |
| US20100104874A1 (en) | High pressure sintering with carbon additives | |
| US8074750B2 (en) | Earth-boring tools comprising silicon carbide composite materials, and methods of forming same | |
| US12054992B1 (en) | Polycrystalline diamond compacts including a cemented carbide substrate | |
| US20070151769A1 (en) | Microwave sintering | |
| EP3515636B1 (en) | Cemented carbide material and manufacturing method thereof | |
| CN103003011A (zh) | 形成钻地工具的至少一部分的方法 | |
| US11746601B1 (en) | Polycrystalline diamond compacts including a cemented carbide substrate and applications therefor | |
| US20100236834A1 (en) | Hardfacing compositions, methods of applying the hardfacing compositions, and tools using such hardfacing compositions | |
| US20120067651A1 (en) | Hardfacing compositions, methods of applying the hardfacing compositions, and tools using such hardfacing compositions | |
| EP3347164A1 (en) | Polycrystalline diamond, methods of forming same, cutting elements, and earth-boring tools | |
| US10953468B2 (en) | Polycrystalline diamond composite compact elements and methods of making and using same | |
| EP1935537A2 (en) | Multiple processes of high pressures and temperatures for sintered bodies |
Legal Events
| Date | Code | Title | Description |
|---|---|---|---|
| MM4A | The patent is invalid due to non-payment of fees |
Effective date: 20140903 |