RU2478503C1 - Cargo-and-passenger suspended way - Google Patents

Cargo-and-passenger suspended way Download PDF

Info

Publication number
RU2478503C1
RU2478503C1 RU2011137148/11A RU2011137148A RU2478503C1 RU 2478503 C1 RU2478503 C1 RU 2478503C1 RU 2011137148/11 A RU2011137148/11 A RU 2011137148/11A RU 2011137148 A RU2011137148 A RU 2011137148A RU 2478503 C1 RU2478503 C1 RU 2478503C1
Authority
RU
Russia
Prior art keywords
cars
ropes
passenger
platforms
suspension
Prior art date
Application number
RU2011137148/11A
Other languages
Russian (ru)
Inventor
Анатолий Аркадьевич Короткий
Александр Вячеславович Трембицкий
Борис Давидович Попиашвили
Виталий Владимирович Дубровин
Геннадий Владимирович Кустарев
Дмитрий Анатольевич Короткий
Алексей Викторович Панфилов
Original Assignee
Общество с ограниченной ответственностью Инженерно-консультационный центр "МЫСЛЬ" Новочеркасского государственного технического университета (ООО ИКЦ "МЫСЛЬ" НГТУ)
Priority date (The priority date is an assumption and is not a legal conclusion. Google has not performed a legal analysis and makes no representation as to the accuracy of the date listed.)
Filing date
Publication date
Application filed by Общество с ограниченной ответственностью Инженерно-консультационный центр "МЫСЛЬ" Новочеркасского государственного технического университета (ООО ИКЦ "МЫСЛЬ" НГТУ) filed Critical Общество с ограниченной ответственностью Инженерно-консультационный центр "МЫСЛЬ" Новочеркасского государственного технического университета (ООО ИКЦ "МЫСЛЬ" НГТУ)
Priority to RU2011137148/11A priority Critical patent/RU2478503C1/en
Application granted granted Critical
Publication of RU2478503C1 publication Critical patent/RU2478503C1/en

Links

Images

Landscapes

  • Ship Loading And Unloading (AREA)

Abstract

FIELD: transport.
SUBSTANCE: invention relates to suspended way. Cargo-and-passenger suspended way comprises two building of end stations located at opposite banks of water barrier. Building of said end stations are interconnected by two and more load bearing ropes and two and more hauling ropes with suspended supports. Every said building has accumulating parking with suspended platforms secured at carriages with support wheels, in quantity corresponding to that of bearing ropes, and splittable clamp arranged at said carried, their number and size corresponding to hauling ropes. Parking has two and more levels for car entry-exit connected with highway. Aforesaid buildings are equipped with extra intermittent-action loader to transfer platforms with cars and passenger cars with passengers on to bearing ropes.
EFFECT: expanded operating performances.
5 dwg

Description

Изобретение относится к многофункциональному транспортному комплексу для перевозки пассажиров и транспортирования автомобилей с использованием канатного транспорта по преодолению водной преграды, в частности, он может быть использован в Керченском проливе.The invention relates to a multifunctional transport complex for transporting passengers and transporting cars using cable cars to overcome water barriers, in particular, it can be used in the Kerch Strait.

Известна Рейнская канатная дорога, построенная в 1957 году. Длина пути - 930 метров, время в пути - 6 минут, производительность - 1600 чел./час (www.svk-pooh.ru/travel/eurotour07/cologne.html).The Rhine cable car, built in 1957, is famous. The route is going over a distance of 930 meters, travel time is 6 minutes, and productivity is 1600 people / hour (www.svk-pooh.ru/travel/eurotour07/cologne.html).

Канатная дорога в большей степени является аттракционом для туристических целей и предназначена только для перевозки пассажиров.The cable car is more of an attraction for tourist purposes and is intended only for the transport of passengers.

Известна городская кольцевая канатная дорога типа 3S (два несущих и один тяговый канаты) в городе Кобленце, работающая на федеральной сельскохозяйственной выставке под названием «Bundesgartenschau-2011» (www.buga2011.de/web/de/gartenschau/gelaende/gelaende_neu.php).There is a well-known 3S type city cable car (two load-bearing and one traction ropes) in the city of Koblenz, working at the federal agricultural exhibition called “Bundesgartenschau-2011” (www.buga2011.de/web/de/gartenschau/gelaende/gelaende_neu.php) .

Канатная дорога предназначена только для перевозки пассажиров, в ней отсутствуют опоры, установленные в устье водной преграды.The cable car is intended only for the transport of passengers, it does not have supports installed at the mouth of the water barrier.

Известна промышленная грузовая канатная дорога типа фунитель (два несуще-тяговых каната) для перевозки автомобилей (Funitel Volkswagen Doppelmayr Bratislava - www.youtube.com/watch?v=TrtvcY-eEeO). Загрузка-выгрузка автомобилей на платформы осуществляется специально обученными водителями-операторами. Автомобили, управляемые квалифицированными водителями-операторами, заезжают на открытые платформы, колеса которых фиксируются с помощью специальных зажимов. Затем оператор покидает автомобиль и вручную дает команду на загрузку платформ на пути канатной дороги. Аналогично происходит и разгрузка автомобилей с платформ на другой концевой станции. Недостатком канатной дороги является ее промышленное назначение по перевозке легковых автомобилей.Known industrial freight cableway type funnel (two load-bearing ropes) for transporting cars (Funitel Volkswagen Doppelmayr Bratislava - www.youtube.com/watch?v=TrtvcY-eEeO). Loading and unloading cars on platforms is carried out by specially trained driver operators. Cars driven by qualified driver-operators call on open platforms, the wheels of which are fixed with the help of special clamps. Then the operator leaves the car and manually gives the command to load the platforms along the cableway. Similarly, unloading of cars from platforms at another terminal station occurs. The disadvantage of the cable car is its industrial purpose for the transportation of cars.

Описанную выше грузовую канатную дорогу невозможно применить в качестве переправочного комплекса для массового обслуживания автотранспорта, движущегося по автомагистрали.The freight cableway described above cannot be used as a crossing complex for mass servicing of vehicles moving along the highway.

Известна многоярусная механизированная автостоянка с хранением автомобилей на поддонах (RU №2278932, Е04Н 6/18 С2, 27.06.2006).Known multi-tier mechanized parking with cars on pallets (RU No. 2278932, ЕНН 6/18 С2, 06/27/2006).

Многоярусная механизированная автостоянка с хранением автомобилей на поддонах содержит размещенные в прямоугольном каркасе из несущих и боковых рам площадку для въезда автомобиля на поддон, ячейки со съемными поддонами для хранения автомобилей, расположенные на несущих рамах оппозитно друг другу в несколько ярусов, центральную шахту для грузоподъемной клети с вертикальными направляющими на боковых рамах каркаса, грузоподъемную клеть с направляющими роликами вертикального перемещения, размещенными в верхней и нижней частях грузоподъемной клети, и приводным горизонтальным манипулятором с захватами для установки на них поддона с автомобилем, и также привод вертикального перемещения грузоподъемной клети. Площадка для въезда автомобиля на поддон оборудована сбоку от центральной шахты под ярусами хранения автомобилей и в ней, ниже уровня площадки, выполнены проемы для размещения захватов горизонтального манипулятора грузоподъемной клети при постановке или снятии поддона с упомянутой площадки, а обе вертикальные направляющие для грузоподъемной клети выполнены непрерывными и продлены ниже роликов, размещенных в нижней части грузоподъемной клети при ее крайнем нижнем положении. Проемы для размещения захватов горизонтального манипулятора выполнены с поворотными щитами, смонтированными с возможностью перекрытия проемов при въезде автомобиля на поддон, установленный на площадке, или его выезде с поддона.The multi-tier mechanized parking lot with cars on pallets contains a platform for car entry onto a pallet placed in a rectangular frame of bearing and side frames, cells with removable pallets for car storage, located on bearing frames opposite each other in several tiers, a central shaft for a load cage with vertical guides on the side frames of the frame, a lifting stand with vertical guide rollers located in the upper and lower parts of the cargo Removable stand, and driving the horizontal manipulator with grippers for installation of the pallet with the vehicle and also drive the vertical movement of the lifting stand. The platform for the car to enter the pallet is equipped on the side of the central shaft under the tiers of car storage and in it, below the level of the platform, openings are made to accommodate the grips of the horizontal manipulator of the lifting stand when setting or removing the pallet from the said platform, and both vertical guides for the lifting stand are made continuous and extended below the rollers located in the lower part of the lifting stand at its extreme lower position. The apertures for accommodating the grips of the horizontal manipulator are made with rotary shields mounted with the possibility of overlapping apertures when the car enters a pallet installed on the site, or leaves the pallet.

У конструкции поддона, на котором расположен автомобиль, отсутствует подвесная часть, что не дает возможности одновременно хранить и загружать поддон на пути канатной дороги.The design of the pallet on which the car is located does not have a suspension part, which makes it impossible to simultaneously store and load the pallet in the way of the cableway.

Наиболее близким техническим решением к заявляемому изобретению является пассажирский канатно-переправочный комплекс, содержащий два здания концевых станций, установленных на противоположных берегах водной преграды. Комплекс связывает курортную зону Бамбукового острова с материком. Длина между станцией на берегу в районе порта Нячанга и станцией в парке развлечений Vinpearl Land составляет 3320 м. Станции соединены между собой кольцевым несуще-тяговым канатом с закрепленными на нем 65 пассажирскими вагонами, вместимостью по 8 человек. Время в пути чуть более 9 минут. Семь промежуточных опор установлены в море (в устье водной преграды) на глубине 40 м, расстояние между которыми 450 метров, что шире габаритов прохода судов. Несуще-тяговый канат опирается на промежуточные опоры и проходит на высоте 60 м над уровнем моря, что выше транспортного габарита судов. В здании концевых станций имеются площадки посадки-высадки пассажиров, конвейеры разгона-торможения и накопительные зоны для пассажирских вагонов (tourbina.ru/guide/104267/photo/43525).The closest technical solution to the claimed invention is a passenger cable-crossing complex containing two buildings of terminal stations installed on opposite sides of the water barrier. The complex connects the resort area of Bamboo Island with the mainland. The length between the station on the shore in the vicinity of the port of Nha Trang and the station in the amusement park Vinpearl Land is 3320 m. The stations are interconnected by a ring non-traction rope with 65 passenger cars fixed on it, with a capacity of 8 people. Travel time is just over 9 minutes. Seven intermediate supports are installed in the sea (at the mouth of a water barrier) at a depth of 40 m, the distance between which is 450 meters, which is wider than the dimensions of the passage of ships. The towing rope is supported by intermediate supports and extends 60 m above sea level, which is higher than the transport dimension of the vessels. In the building of the terminal stations there are platforms for boarding and disembarking passengers, acceleration-braking conveyors and storage areas for passenger cars (tourbina.ru/guide/104267/photo/43525).

К недостаткам прототипа можно отнести невозможность использования комплекса для перевозки автомобилей через водные преграды.The disadvantages of the prototype include the inability to use the complex for transporting cars through water barriers.

Задачей изобретения является расширение функциональных возможностей канатно-переправочного комплекса с использованием канатного транспорта для транспортировки автомобилей.The objective of the invention is to expand the functionality of the cable crossing complex using cable transport for transporting cars.

Поставленная задача достигается за счет того, что грузопассажирский канатно-переправочный комплекс содержит два здания концевых станций, установленных на противоположных берегах водной преграды, соединенных между собой двумя и более несущими и двумя и более тяговыми канатами с промежуточными подвесными опорами и закрепленными на них посредством каретки пассажирскими вагонами. Подвесные опоры, установленные с определенным шагом в пролетах, жестко соединяют между собой несущие канаты и имеют поддерживающие блоки, по их количеству и размеру соответствующие тяговым канатам. Многоканатная система из несущих и тяговых канатов опирается на промежуточные опоры на высоте выше транспортного габарита судов. Шаг установки промежуточных опор, расположенных в устье водной преграды, шире габаритов прохода судов. В каждом здании концевых станций имеются площадки посадки-высадки пассажиров, конвейеры разгона-торможения, накопительные зоны для пассажирских вагонов и вертикальные механизированные накопительные парковки для автомобилей с подвесными платформами. Подвесные платформы закреплены на каретках с опорными колесами, по их количеству и размеру соответствующими несущим канатам, а отцепляемые зажимы, установленные на каретке, по их количеству и размеру соответствуют тяговым канатам. Парковка по вертикали имеет один и более уровней для заезда-выезда автомобилей, соединенных с магистральной дорогой. Здания концевых станций оснащены устройством загрузки циклического действия, автоматически подающим поочередно с парковки и накопительной зоны на несущие канаты загруженные платформы с автомобилями и пассажирские вагоны с людьми.The task is achieved due to the fact that the cargo-passenger cable-crossing complex contains two terminal buildings installed on opposite sides of the water barrier, interconnected by two or more load-bearing and two or more traction ropes with intermediate suspension supports and passenger ones fixed to them by carriage wagons. Suspension supports installed with a certain step in the spans rigidly connect the supporting ropes to each other and have supporting blocks, in their number and size, corresponding to the traction ropes. A multi-rope system of load-bearing and traction ropes relies on intermediate supports at a height above the transport dimension of the vessels. The step of installing intermediate supports located at the mouth of the water barrier is wider than the dimensions of the passage of the vessels. In each terminal building there are passenger boarding and disembarking platforms, acceleration-braking conveyors, storage areas for passenger cars and vertical mechanized storage parking for cars with hanging platforms. Suspended platforms are mounted on carriages with support wheels, in terms of their number and size corresponding to the supporting ropes, and uncoupled clamps mounted on the carriage, in terms of their number and size, correspond to traction ropes. Vertical parking has one or more levels for check-in / out of cars connected to the main road. The terminal station buildings are equipped with a cyclic loading device, which automatically feeds loaded platforms with cars and passenger cars with people from the parking lot and the storage zone to the carrying ropes.

Особенностью грузопассажирского канатно-переправочного комплекса является то, что промежуточные опоры установлены в устье Керченского пролива, а подвесные платформы имеют колпаки, закрывающие автомобили от повреждения при их перевозке.A feature of the cargo-passenger cable-crossing complex is that the intermediate supports are installed at the mouth of the Kerch Strait, and the suspension platforms have caps that cover cars from damage during their transportation.

Соединение между собой двух зданий концевых станций, установленных на противоположных берегах водной преграды, двумя и более несущими и двумя и более тяговыми канатами позволяет увеличить грузоподъемность подвесных платформ, тем самым снять ограничения по массе перевозимых автомобилей. Такое конструктивное решение дает возможность проектировать канатные системы с практически неограниченной нагрузкой на несущие канаты и создавать тяговыми канатами практически неограниченную тяговую способность.The interconnection of two buildings of terminal stations, installed on opposite sides of the water barrier, with two or more load-bearing and two or more traction ropes, allows to increase the carrying capacity of suspension platforms, thereby removing restrictions on the mass of transported cars. Such a constructive solution makes it possible to design rope systems with almost unlimited load on the bearing ropes and create traction ropes with almost unlimited traction ability.

Применение в конструкции комплекса подвесных опор, установленных с определенным шагом в пролетах, соединяющих жестко между собой несущие канаты, имеющих поддерживающие блоки, по их количеству и размеру соответствующие тяговым канатам, позволяет создавать многоканатные системы, предотвращая их перехлестывание и спутывание в процессе эксплуатации.The use in the design of a complex of suspension supports installed with a certain step in the spans connecting rigidly to each other the bearing ropes having supporting blocks corresponding to the traction ropes in their number and size, allows you to create multi-rope systems, preventing them from overlapping and tangling during operation.

Для экономии места при строительстве (очень важно с точки зрения экологии для песчаной косы в районе Керченского пролива), механизации процесса загрузки-выгрузки на многоканатную систему, повышения производительности предусмотрена вертикальная механизированная накопительная парковка для автомобилей с подвесными платформами.To save space during construction (it is very important from an environmental point of view for a sand spit in the Kerch Strait region), to mechanize the loading and unloading process on a multi-rope system, and to increase productivity, a vertical mechanized storage park for cars with hanging platforms is provided.

Подвесные платформы оснащены каретками, имеющими аналогичную конструкцию с пассажирскими вагонами, что позволяет унифицировать подвесную систему при хранении и транспортировке.Suspended platforms are equipped with carriages having a similar design with passenger cars, which allows to unify the suspension system during storage and transportation.

Повышение производительности комплекса решается путем создания многоуровневого заезда-выезда автомобилей на вертикальную механизированную накопительную парковку с подъездной дороги.Increasing the productivity of the complex is accomplished by creating a multi-level check-in / check-out of cars on a vertical mechanized cumulative parking from the access road.

Использование в качестве накопительной системы вертикальной механизированной накопительной парковки позволяет отказаться от специально обученных операторов по установке автомобилей на подвесные платформы, т.к. водитель выполняет эту функцию самостоятельно.The use of vertical mechanized cumulative parking as a storage system allows you to abandon specially trained operators on installing cars on suspension platforms, as the driver performs this function on his own.

Вышеперечисленные отличительные признаки, каждый в отдельности и все совместно, направлены на решение поставленной задачи, являются существенными и позволяют расширить функциональные возможностей канатно-переправочного комплекса с использованием канатного транспорта для транспортировки автомобилей.The above distinguishing features, each individually and all together, are aimed at solving the problem, are significant and allow you to expand the functionality of the cable-crossing complex using cable transport for transporting cars.

Использование существенных отличительных признаков в известном уровне техники не обнаружено, следовательно, предлагаемое техническое решение соответствует критерию патентоспособности «новизна». Единая совокупность новых существенных признаков с общими известными обеспечивает решение поставленной задачи, является не очевидной для специалистов в данной области техники и свидетельствует о соответствии заявляемого технического решения критерию патентоспособности «изобретательский уровень».The use of significant distinguishing features in the prior art is not found, therefore, the proposed technical solution meets the patentability criterion of "novelty." A single set of new essential features with common known provides a solution to the problem, is not obvious to specialists in this field of technology and indicates the conformity of the claimed technical solution to the patentability criterion of "inventive step".

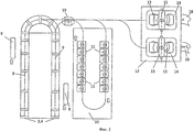
Фиг.1. Трасса грузопассажирского канатно-переправочного комплекса в плане, привязанная к Керченскому проливу.Figure 1. The route of the passenger-and-freight cable-crossing complex in the plan, tied to the Kerch Strait.

Фиг.2. Вид А. Подвесная и промежуточная опоры (пример: путь из четырех несущих и двух тяговых канатов).Figure 2. View A. Suspension and intermediate supports (example: a path of four load-bearing and two traction ropes).

Фиг.3. Вид Б-Б. Промежуточная опора (пример: путь из четырех несущих и двух тяговых канатов).Figure 3. Type BB. Intermediate support (example: a path of four load-bearing and two traction ropes).

Фиг.4. Вид Д-Д. Подвесная опора (пример: путь из четырех несущих и двух тяговых канатов).Figure 4. View DD. Suspension support (example: a path of four load-bearing and two traction ropes).

Фиг.5. План здания концевой станции канатно-переправочного комплекса.Figure 5. Floor plan of the terminal station of the cable crossing complex.

Грузопассажирский канатно-переправочный комплекс содержит два здания концевых станций 1, 2, установленных на противоположных берегах водной преграды, соединенных между собой двумя и более несущими 3 и двумя и более тяговыми канатами 4 с подвесными опорами 5, опирающимися на промежуточные опоры 6, на высоте выше транспортного габарита судов, и с шагом установки промежуточных опор 6, расположенных в устье водной преграды 7 (например, Керченский пролив), шире габаритов прохода судов, при этом в здании концевых станций 1, 2 имеются площадки посадки-высадки пассажиров 8, конвейер разгона-торможения 9, накопительная зона 10 для пассажирских вагонов 11, вертикальная механизированная накопительная парковка 12 для автомобилей 13 с подвесными платформами 14, закрепленными на каретках 15 с опорными колесами 16, по их количеству и размеру соответствующими несущим канатам 3, а отцепляемые зажимы 17, установленные на каретке 15, по их количеству и размеру соответствуют тяговым канатам 4, при этом парковка 12 по вертикали имеет два и более уровней 18 для заезда-выезда автомобилей 13, соединенных с подъездной дорогой (на фиг. не показано), а здание комплекса оснащено устройство загрузки 19 циклического действия, автоматически подающего поочередно с парковки 12 и накопительной зоны 10 на конвейер разгона-торможения 9 и далее на несущие 3 и тяговые 4 канаты загруженные подвесные платформы 14 с автомобилями 13 и пассажирские вагоны 11 с людьми (не показано).The passenger-and-freight cable-crossing complex contains two terminal station buildings 1, 2, installed on opposite sides of the water barrier, interconnected by two or more load-bearing 3 and two or more traction ropes 4 with suspension supports 5, supported on intermediate supports 6, at a height above the transport dimension of the vessels, and with the step of installing intermediate supports 6 located at the mouth of the water barrier 7 (for example, the Kerch Strait), wider than the dimensions of the passage of the vessels, while in the building of terminal stations 1, 2 there are landing sites - disembarkation of passengers 8, acceleration and braking conveyor 9, storage area 10 for passenger cars 11, vertical mechanized storage parking 12 for cars 13 with suspension platforms 14, mounted on carriages 15 with support wheels 16, according to their number and size corresponding to the supporting ropes 3 and the detachable clamps 17 mounted on the carriage 15, by their number and size, correspond to the traction ropes 4, while the parking 12 vertically has two or more levels 18 for check-in / out of cars 13 connected to the driveway dear (in FIG. not shown), and the complex’s building is equipped with a cyclic loading device 19, which automatically delivers alternately from parking 12 and storage zone 10 to the acceleration-braking conveyor 9 and further to loaded 3 and traction 4 ropes loaded suspension platforms 14 with cars 13 and passenger cars 11 with people (not shown).

Особенностью грузопассажирского канатно-переправочного комплекса является то, что промежуточные опоры 6 установлены в устье водной преграды 7, являющейся Керченским проливом, а подвесные платформы 14 имеют колпаки 20, закрывающие автомобили 13 при их перевозке.A feature of the cargo-passenger cable-crossing complex is that the intermediate supports 6 are installed at the mouth of the water barrier 7, which is the Kerch Strait, and the suspension platforms 14 have caps 20 that cover cars 13 during their transportation.

Подвесные опоры 5, установленные с определенным шагом в пролетах, соединяющие жестко между собой несущие канаты 3, имеют поддерживающие блоки 21, по их количеству и размеру соответствующие тяговым канатам 4.Suspension supports 5, installed with a certain step in the spans, connecting carrier ropes 3 rigidly interconnected, have supporting blocks 21, corresponding in number and size to traction ropes 4.

Работу комплекса рассмотрим на примере грузопассажирского транспортирования через Керченский пролив.We will consider the operation of the complex using freight and passenger transportation through the Kerch Strait as an example.

Люди (туристы) прибывают на грузопассажирский канатно-переправочный комплекс к Керченскому проливу на автомобилях 13 по подъездной дороге (не показано). У здания концевых станций 1, 2, установленных на противоположных берегах водной преграды 7, автомобили 13 останавливаются и высаживают пассажиров. Люди двигаются в здание станции 1 (2) на площадку посадки-высадки пассажиров 8 и садятся в пассажирские вагоны 11, которые подаются устройством загрузки 19 циклического действия из накопительной зоны 10.People (tourists) arrive at the passenger-and-freight cable-crossing complex to the Kerch Strait in cars 13 on the access road (not shown). At the building of terminal stations 1, 2, installed on opposite sides of the water barrier 7, cars 13 stop and disembark passengers. People move to the building of station 1 (2) on the landing-disembarkation platform for passengers 8 and board passenger cars 11, which are fed by the loading device 19 of cyclic action from storage zone 10.

Водитель автомобиля 13, высадив пассажиров, продолжает движение по указанному маршруту на один из свободных уровней 18 и заезжает на подвесную платформу 14 вертикальной механизированной накопительной парковки 12. Уровни 18 соединены с подъездной дорогой (не показано) уклонами. Водитель выходит из автомобиля 13 и направляется на площадку посадки-высадки 8, где также садится в пассажирский вагон 11. Автомобиль 13 фиксируется на подвесной платформе 14 и закрывается колпаком 20.The driver of the car 13, having disembarked the passengers, continues to move along the indicated route to one of the free levels 18 and calls on the suspension platform 14 of the vertical mechanized accumulative parking 12. Levels 18 are connected to the access road (not shown) by gradients. The driver gets out of the car 13 and goes to the landing-landing platform 8, where he also gets into the passenger car 11. The car 13 is fixed on the suspension platform 14 and is closed by a cap 20.

Здания концевых станций 1 и 2 соединены между собой многоканатной системой из двух и более несущих 3, из двух и более тяговых канатов 4, которые опираются на промежуточные опоры 6, на высоте выше транспортного габарита судов, с шагом установки промежуточных опор 6, расположенных в устье водной преграды 7, шире габаритов прохода судов. Подвесные опоры 5, установленные с определенным шагом в пролетах, соединяющие жестко между собой несущие канаты 3, имеют поддерживающие блоки 21, по их количеству и размеру соответствующие тяговым канатам 4. Подвесные опоры 5 не препятствуют свободному прохождению каретки 15, на которой подвешены пассажирские вагоны 11 или подвесные платформы 14.Buildings of terminal stations 1 and 2 are interconnected by a multi-rope system of two or more load-bearing 3, of two or more traction ropes 4, which are supported on intermediate supports 6, at a height above the transport dimension of the vessels, with the installation of intermediate supports 6 located at the mouth water barrier 7, wider than the dimensions of the passage of ships. Suspension supports 5, installed with a certain step in the spans, connecting the supporting ropes 3 rigidly to each other, have supporting blocks 21, corresponding in number and size to the traction ropes 4. Suspended supports 5 do not interfere with the free passage of the carriage 15, on which the passenger cars 11 are suspended or overhead platforms 14.

Платформа 14, подвешенная на каретках 15 с опорными колесами 16, по их количеству и размеру соответствующими несущим канатам 3, и с отцепляемыми зажимами 17, по их количеству и размеру соответствующими тяговым канатам 4, с автомобилем 13 перемещается внутри вертикальной механизированной накопительной парковки 12 в зону установки устройства загрузки 19 циклического действия.The platform 14, suspended on carriages 15 with support wheels 16, by their number and size corresponding to the supporting ropes 3, and with uncoupled clamps 17, by their number and size corresponding to the traction ropes 4, with the car 13 moves inside the vertical mechanized storage park 12 in the area install the boot device 19 cyclic action.

Устройство загрузки 19 циклического действия, при получении сигнала о загрузке пассажирских вагонов 11 или подходе подвесной платформы 14 с автомобилем 13, автоматически подает их поочередно с парковки 12 и с зоны посадки-высадки пассажиров 8 на несущие канаты 3. При этом происходит опирание колес 16 на несущие канаты 3 и пассажирские вагоны 11 (подвесные платформы 14) переходят в подвешенное положение. В этот момент пассажирские вагоны 11 (или подвесные платформы 14) подхватываются конвейером разгона-торможения 9 и разгоняются до скорости движения тяговых канатов 4. В момент, когда скорость пассажирских вагонов 11 (или подвесных платформ 14) равна скорости тяговых канатов 4, происходит срабатывание отцепляемых зажимов 17, установленных на каретке 15. Отцепляемые зажимы 17, установленные на каретке 15, жестко соединяются с тяговыми канатами 4, при этом тяговые канаты 4 передают тяговое усилие каретке 15, на которой подвешены пассажирские вагоны 11 (или подвесные платформы 14). В последующий момент пассажирские вагоны 11 (или подвесные платформы 14), разогнавшись на конвейере 9, продолжают транспортироваться тяговыми канатами 4, опираясь через опорные колеса 16 на несущие канаты 3, на противоположный берег водной преграды 7.The loading device 19 of cyclic action, upon receipt of a signal about loading passenger cars 11 or the approach of the suspension platform 14 with the car 13, automatically feeds them alternately from the parking 12 and from the boarding and disembarking area of passengers 8 to the carrier ropes 3. In this case, the wheels 16 are supported on the bearing ropes 3 and passenger cars 11 (suspension platforms 14) go into a suspended position. At this moment, passenger cars 11 (or suspension platforms 14) are picked up by the acceleration and braking conveyor 9 and accelerated to the speed of the traction ropes 4. At the moment when the speed of passenger cars 11 (or suspension platforms 14) is equal to the speed of the traction ropes 4, the uncoupling clamps 17 mounted on the carriage 15. The detachable clamps 17 mounted on the carriage 15 are rigidly connected to the traction ropes 4, while the traction ropes 4 transmit traction to the carriage 15, on which the passenger cars 11 are suspended and overhead platforms 14). At a subsequent moment, passenger cars 11 (or suspension platforms 14), dispersed on the conveyor 9, continue to be transported by traction ropes 4, relying through the support wheels 16 on the supporting ropes 3, on the opposite bank of the water barrier 7.

При подходе к зданию концевой станции 1 (2), расположенной на противоположном берегу водной преграды 7, пассажирские вагоны 11 (или подвесные платформы 14) попадают на конвейер разгона-торможения 9, при этом отцепляемые зажимы 17, установленные на каретке 15, отсоединяются от тяговых канатов 4. Пассажирские вагоны 11 (или подвесные платформы 14), находясь на конвейере разгона-торможения 9, замедляют свой ход и, соответственно, попадают в зону посадки-высадки пассажиров 8, затем в зону циклического действия устройства загрузки 19. Устройство загрузки 19 по программе направляет пассажирские вагоны 11 в накопительную зону 10, а подвесные платформы 14 с автомобилями 13 на вертикальную механизированную накопительную парковку 12. Люди (туристы) выходят из пассажирских вагонов 11. Водитель также прибывает на пассажирском вагоне 11, высаживается и переходит на один из указанных уровней 18, где на подвесной платформе 14 внутри вертикальной механизированной накопительной парковки 12 находится его автомобиль 13. Водитель садится в свой автомобиль 13 и с уровня 18 выезжает на подъездную дорогу (не показано), где происходит посадка ждущих его людей (пассажиров, туристов).When approaching the building of the terminal station 1 (2), located on the opposite side of the water barrier 7, passenger cars 11 (or suspension platforms 14) fall on the acceleration-braking conveyor 9, while the detachable clamps 17 mounted on the carriage 15 are disconnected from the traction ropes 4. Passenger cars 11 (or suspension platforms 14), being on the acceleration-braking conveyor 9, slow down and, accordingly, fall into the passenger boarding and disembarking zone 8, then into the cyclic zone of the loading device 19. Loading device 19 about the program sends passenger cars 11 to the accumulation zone 10, and hanging platforms 14 with cars 13 to the vertical mechanized accumulated parking 12. People (tourists) leave the passenger cars 11. The driver also arrives on the passenger car 11, gets off and transfers to one of the indicated levels 18, where on the suspension platform 14 inside the vertical mechanized accumulative parking 12 there is his car 13. The driver gets into his car 13 and leaves level 18 on the driveway (not shown), where Planting occurs waiting for his people (passengers, tourists).

Claims (4)

1. Грузопассажирский канатно-переправочный комплекс, содержащий два здания концевых станций, установленных на противоположных берегах водной преграды, соединенные между собой канатом с закрепленными на нем посредством каретки пассажирскими вагонами, опирающимся на промежуточные опоры, на высоте выше транспортного габарита судов, шаг установки промежуточных опор, расположенных в устье водной преграды, шире габаритов прохода судов, при этом в зданиях концевых станций имеются площадки посадки-высадки пассажиров, конвейера разгона-торможения и накопительные зоны для пассажирских вагонов, отличающийся тем, что здания концевых станций соединены между собой двумя и более несущими и двумя и более тяговыми канатами с подвесными опорами, а в каждом из зданий концевой станции оборудована вертикальная механизированная накопительная парковка для автомобилей с подвесными платформами, закрепленными на каретках с опорными колесами, по их количеству и размеру соответствующими несущим канатам, а отцепляемые зажимы, установленные на каретке, по их количеству и размеру соответствуют тяговым канатам, при этом парковка по вертикали имеет два и более уровней для заезда-выезда автомобилей, соединенных с магистральной дорогой, а здания концевых станций оснащены дополнительным устройством загрузки циклического действия, автоматически подающего поочередно с парковки и накопительной зоны на несущие канаты загруженные платформы с автомобилями и пассажирские вагоны с людьми.1. A passenger-and-freight cable-crossing complex containing two terminal buildings installed on opposite sides of a water barrier, interconnected by a rope with passenger cars fixed on it by a carriage, supported by intermediate supports, at a height higher than the transport dimension of the vessels, the step of installing intermediate supports located at the mouth of the water barrier is wider than the dimensions of the passage of ships, while in the buildings of the terminal stations there are platforms for boarding and disembarking passengers, an acceleration-brake conveyor lines and storage areas for passenger cars, characterized in that the terminal station buildings are interconnected by two or more load-bearing and two or more traction ropes with suspension supports, and each of the terminal station buildings is equipped with a vertical mechanized storage parking for cars with suspension platforms, fixed on carriages with support wheels, according to their number and size corresponding to the supporting ropes, and uncoupling clamps mounted on the carriage, according to their number and size, correspond to t towing ropes, while the vertical parking has two or more levels for check-in / out of cars connected to the main road, and the terminal station buildings are equipped with an additional cyclic loading device that automatically feeds the loaded platforms from the parking and storage zones to the supporting ropes cars and passenger cars with people. 2. Грузопассажирский канатно-переправочный комплекс по п.1, отличающийся тем, что подвесные платформы имеют колпак, закрывающий автомобиль при перевозке.2. The passenger-and-freight cable crossing complex according to claim 1, characterized in that the suspension platforms have a hood that covers the car during transportation. 3. Транспортная система по п.1, отличающаяся тем, что подвесная опора жестко соединяет между собой несущие канаты и имеет поддерживающие блоки, по их количеству и размеру соответствующие тяговым канатам.3. The transport system according to claim 1, characterized in that the suspension support rigidly connects the supporting ropes to each other and has supporting blocks, corresponding in number and size to the traction ropes. 4. Грузопассажирский канатно-переправочный комплекс по п.1, отличающийся тем, что промежуточные опоры установлены в Керченском проливе. 4. The passenger-and-freight cable crossing complex according to claim 1, characterized in that the intermediate supports are installed in the Kerch Strait.
RU2011137148/11A 2011-09-08 2011-09-08 Cargo-and-passenger suspended way RU2478503C1 (en)

Priority Applications (1)

Application Number Priority Date Filing Date Title
RU2011137148/11A RU2478503C1 (en) 2011-09-08 2011-09-08 Cargo-and-passenger suspended way

Applications Claiming Priority (1)

Application Number Priority Date Filing Date Title
RU2011137148/11A RU2478503C1 (en) 2011-09-08 2011-09-08 Cargo-and-passenger suspended way

Publications (1)

Publication Number Publication Date
RU2478503C1 true RU2478503C1 (en) 2013-04-10

Family

ID=49152258

Family Applications (1)

Application Number Title Priority Date Filing Date
RU2011137148/11A RU2478503C1 (en) 2011-09-08 2011-09-08 Cargo-and-passenger suspended way

Country Status (1)

Country Link
RU (1) RU2478503C1 (en)

Citations (2)

* Cited by examiner, † Cited by third party
Publication number Priority date Publication date Assignee Title
RU2325293C2 (en) * 2006-07-27 2008-05-27 Анатолий Эдуардович Юницкий Stringed transportation system of yunitsky and methods of stringed transportation system build-up
RU102337U1 (en) * 2010-06-02 2011-02-27 Леонид Демидович Белов VEHICLE

Patent Citations (2)

* Cited by examiner, † Cited by third party
Publication number Priority date Publication date Assignee Title
RU2325293C2 (en) * 2006-07-27 2008-05-27 Анатолий Эдуардович Юницкий Stringed transportation system of yunitsky and methods of stringed transportation system build-up
RU102337U1 (en) * 2010-06-02 2011-02-27 Леонид Демидович Белов VEHICLE

Similar Documents

Publication Publication Date Title
CN103661408B (en) Station for a cable railway system
US3608750A (en) Storage means and load-handling equipment therefor
CN103770790B (en) Overhead system rail transport plateform system
US6925941B2 (en) Elevated train
JP2014507358A (en) Unloading and loading crane structures, container terminals, and methods for unloading and loading on ships
CN102424277A (en) Port container handling system and process thereof
US4059194A (en) Container overhead transfer and storage system
CN205857855U (en) Road high efficiency smart garage parking
US3956994A (en) Container overhead transfer and storage system
US4082042A (en) Overhead container transfer system
KR102534898B1 (en) cable transport facility
EP2488398B1 (en) An urban commuter/material carrying facility with non linear aerial ropeway
CN102602398B (en) Quick-transporting method and quick-transport device for foldable temporary cableways
CN112744706B (en) Rope supporting system for traversing type shore bridge
US20130032452A1 (en) Conveying installation for transporting bulk materials
RU2478503C1 (en) Cargo-and-passenger suspended way
CN202743237U (en) Rail transit train system
CN102826094A (en) Rail transit train system
RU141932U1 (en) TRANSPORT SYSTEM (ROPE METRO)
CN201646717U (en) Cableway transporting system comprising rescue tools
CS159291A3 (en) Conveyance for transport of persons and/or goods
CN210798428U (en) Automobile carrier
RU2205761C1 (en) Modular transportation system and method of its operation
CN207498762U (en) A kind of grade separation bus or train route conversion equipment for having function of parking concurrently
RU2721809C1 (en) Universal automated loading and unloading module of the shumovsky

Legal Events

Date Code Title Description
MM4A The patent is invalid due to non-payment of fees

Effective date: 20150909