RU2469503C2 - Система прерывистой связи, устройство базовой станции и устройство мобильной станции - Google Patents
Система прерывистой связи, устройство базовой станции и устройство мобильной станции Download PDFInfo
- Publication number
- RU2469503C2 RU2469503C2 RU2011110879/07A RU2011110879A RU2469503C2 RU 2469503 C2 RU2469503 C2 RU 2469503C2 RU 2011110879/07 A RU2011110879/07 A RU 2011110879/07A RU 2011110879 A RU2011110879 A RU 2011110879A RU 2469503 C2 RU2469503 C2 RU 2469503C2
- Authority
- RU
- Russia
- Prior art keywords
- state
- handover
- base station
- mobile station
- request
- Prior art date
Links
Images
Classifications
-
- H—ELECTRICITY
- H04—ELECTRIC COMMUNICATION TECHNIQUE
- H04W—WIRELESS COMMUNICATION NETWORKS
- H04W76/00—Connection management
- H04W76/20—Manipulation of established connections
- H04W76/27—Transitions between radio resource control [RRC] states
-
- H—ELECTRICITY
- H04—ELECTRIC COMMUNICATION TECHNIQUE
- H04W—WIRELESS COMMUNICATION NETWORKS
- H04W76/00—Connection management
- H04W76/20—Manipulation of established connections
- H04W76/28—Discontinuous transmission [DTX]; Discontinuous reception [DRX]
-
- H—ELECTRICITY
- H04—ELECTRIC COMMUNICATION TECHNIQUE
- H04W—WIRELESS COMMUNICATION NETWORKS
- H04W24/00—Supervisory, monitoring or testing arrangements
- H04W24/08—Testing, supervising or monitoring using real traffic
-
- H—ELECTRICITY
- H04—ELECTRIC COMMUNICATION TECHNIQUE
- H04W—WIRELESS COMMUNICATION NETWORKS
- H04W36/00—Hand-off or reselection arrangements
- H04W36/08—Reselecting an access point
-
- H—ELECTRICITY
- H04—ELECTRIC COMMUNICATION TECHNIQUE
- H04W—WIRELESS COMMUNICATION NETWORKS
- H04W52/00—Power management, e.g. Transmission Power Control [TPC] or power classes
- H04W52/02—Power saving arrangements
- H04W52/0209—Power saving arrangements in terminal devices
- H04W52/0212—Power saving arrangements in terminal devices managed by the network, e.g. network or access point is leader and terminal is follower
- H04W52/0216—Power saving arrangements in terminal devices managed by the network, e.g. network or access point is leader and terminal is follower using a pre-established activity schedule, e.g. traffic indication frame
-
- H—ELECTRICITY
- H04—ELECTRIC COMMUNICATION TECHNIQUE
- H04W—WIRELESS COMMUNICATION NETWORKS
- H04W74/00—Wireless channel access
- H04W74/08—Non-scheduled access, e.g. ALOHA
- H04W74/0833—Random access procedures, e.g. with 4-step access
-
- H—ELECTRICITY
- H04—ELECTRIC COMMUNICATION TECHNIQUE
- H04W—WIRELESS COMMUNICATION NETWORKS
- H04W36/00—Hand-off or reselection arrangements
-
- H—ELECTRICITY
- H04—ELECTRIC COMMUNICATION TECHNIQUE
- H04W—WIRELESS COMMUNICATION NETWORKS
- H04W52/00—Power management, e.g. Transmission Power Control [TPC] or power classes
- H04W52/02—Power saving arrangements
- H04W52/0209—Power saving arrangements in terminal devices
-
- Y—GENERAL TAGGING OF NEW TECHNOLOGICAL DEVELOPMENTS; GENERAL TAGGING OF CROSS-SECTIONAL TECHNOLOGIES SPANNING OVER SEVERAL SECTIONS OF THE IPC; TECHNICAL SUBJECTS COVERED BY FORMER USPC CROSS-REFERENCE ART COLLECTIONS [XRACs] AND DIGESTS
- Y02—TECHNOLOGIES OR APPLICATIONS FOR MITIGATION OR ADAPTATION AGAINST CLIMATE CHANGE
- Y02D—CLIMATE CHANGE MITIGATION TECHNOLOGIES IN INFORMATION AND COMMUNICATION TECHNOLOGIES [ICT], I.E. INFORMATION AND COMMUNICATION TECHNOLOGIES AIMING AT THE REDUCTION OF THEIR OWN ENERGY USE
- Y02D30/00—Reducing energy consumption in communication networks
- Y02D30/70—Reducing energy consumption in communication networks in wireless communication networks
Landscapes
- Engineering & Computer Science (AREA)
- Computer Networks & Wireless Communication (AREA)
- Signal Processing (AREA)
- Mobile Radio Communication Systems (AREA)
- Transceivers (AREA)
Abstract
Изобретение относится к беспроводной связи. В системе прерывистой связи, в которой прерывистая связь выполняется между базовой станцией и мобильной станцией, передающий блок мобильной станции передает запрос на запуск нормальной связи после останова прерывистой связи в интервале времени, отличном от прерывистой связи, если определено, что требуется передача обслуживания. Блок перехода выполняет переход с прерывистой связи на нормальную связь, после того как передающий блок передаст запрос. Блок выполнения передачи обслуживания выполняет передачу обслуживания при завершении перехода в нормальную связь посредством блока перехода. Технический результат заключается в уменьшении времени, необходимого для завершения передачи обслуживания. 18 ил.
Description
Область техники, к которой относится изобретение
Настоящее изобретение относится к методу передачи обслуживания в системе мобильной связи, где может выполняться прерывистая связь.
Уровень техники
В системах мобильной связи, таких как сотовый телефон и т.д., системы многостанционного доступа с кодовым разделением каналов (CDMA) третьего поколения в настоящее время предоставляют различные виды услуг. В настоящее время разрабатываются системы мобильной связи следующего поколения или более поздние, которые позволяют выполнять более быструю связь. LTE (долгосрочная эволюция) в настоящее время разрабатывается в Проекте партнерства по созданию системы третьего поколения (3GPP). Например, в LTE способ, посредством которого мобильная станция применяет прерывистый прием (DRX: прием в режиме с перерывами) не только во время состояния ожидания, но также в состоянии связи. Это направлено на снижение мощности, потребляемой мобильной станцией, так как потребляемая мощность увеличивается с увеличением скорости связи.
Фиг.1 представляет собой схематическую диаграмму, иллюстрирующую интервалы времени прерывистой передачи и приема мобильной станции. Верхняя часть иллюстрирует интервал времени передачи с базовой станции на мобильную станцию, тогда как нижняя часть иллюстрирует интервал времени передачи с мобильной станции на базовую станцию. Как показано на фиг.1, мобильная станция периодически проверяет, выполняется ли или нет передача данных на саму мобильную станцию при применении прерывистого приема. Также для восходящей передачи мобильная станция периодически выполняет прерывистую передачу (DTX: передача в режиме с перерывами), чтобы поддерживать синхронизацию прерывистой связи.
Между тем, в обычной технологии, если становится необходимым переключить базовую станцию в точке назначения соединения посредством выполнения передачи обслуживания из-за перемещения мобильной станции во время прерывистой связи, мобильная станция первоначально меняет состояние связи с состояния прерывистой связи на активное состояние перед выполнением процесса передачи обслуживания. Если мобильная станция определяет, что требуется передача обслуживания, она передает запрос на переход из состояния в состояние для изменения состояния связи на активное состояние на базовую станцию в следующем интервале времени прерывистой передачи.
Фиг.2 иллюстрирует интервалы времени передачи/приема данных на стороне мобильной станции, когда выполняется передача обслуживания во время прерывистой связи в обычной технологии. Если мобильная станция определяет необходимость передачи обслуживания на основе результатов измерения посредством периодического измерения приемного уровня, такого как интенсивность сигнала приема, и т.д., она передает запрос на переход из состояния в состояние на базовую станцию в следующем интервале времени передачи. Базовая станция, которая принимает запрос на переход из состояния в состояние, изменяет состояние связи устройства, а именно самой базовой станции, с состояния прерывистой связи на активное состояние и передает сообщение, инструктирующее мобильную станцию на изменение с состояния прерывистой связи на активное состояние в интервале времени передачи базовой станции. При завершении перехода из состояния прерывистой связи в активное состояние как базовой станции, так и мобильной станции, после этого выполняется передача обслуживания.
Фиг.3 представляет собой последовательность работы, когда выполняется передача обслуживания во время прерывистой связи в обычной технологии. При обычной технологии запрос на переход из состояния в состояние для изменения на активное состояние необходимо передавать в интервале времени прерывистой связи. Также инструкцию перехода из состояния в состояние от базовой станции, которая принимает запрос на переход из состояния в состояние, необходимо передавать на мобильную станцию в интервале времени прерывистой передачи. Следовательно, передача обслуживания во время периода прерывистой передачи/приема имеет проблему более продолжительного времени задержки, чем время состояния нормальной связи (активного состояния), как показано на фиг.3. Кроме того, существует проблема в том, что передача обслуживания не выполняется правильно, потому что она не завершается в течение предварительно определенной длительности из-за длительного времени, необходимого до передачи запроса на переход из состояния в состояние.
Другие методы передачи обслуживания включают в себя метод (например, патентный документ 1) изменения состояния установления беспроводной связи на основе запроса соединения управления радиоресурсами (RRC), если становится необходимым выполнение передачи обслуживания во время прерывистой связи, метод (например, патентный документ 2), посредством которого терминал, выполняющий прерывистую связь, формирует поисковую группу, и учитывается мягкая передача обслуживания в серии последовательности, метод (например, патентный документ 3) выполнения передачи обслуживания посредством использования поискового канала в асинхронной системе и метод (например, патентный документ 4) выполнения передачи обслуживания под инициативой базовой станции.
Задачей настоящего изобретения является обеспечение метода более раннего изменения с состояния прерывистой связи на состояние нормальной связи в мобильной станции и базовой станции, которым необходимо выполнить передачу обслуживания, и т.д.
Патентный документ 1: публикация выложенной патентной заявки Японии № 2005-286807.
Патентный документ 2: публикация выложенной патентной заявки Японии № 2004-194015.
Патентный документ 3: публикация выложенной патентной заявки Японии № 2004-504783.
Патентный документ 4: публикация выложенной патентной заявки Японии № 2000-69523.
Сущность изобретения
Чтобы преодолеть вышеописанные проблемы, предлагается способ для системы прерывистой связи, в которой прерывистая связь может выполняться между устройством базовой станции и устройством мобильной станции, причем способ содержит этапы, на которых:
устройство мобильной станции передает запрос на запуск нормальной связи после останова прерывистой связи в интервале времени, отличном от прерывистой связи, если определяется, что требуется передача обслуживания, и выполняет передачу обслуживания, при завершении перехода к нормальной связи.
Кроме того, предлагается система прерывистой связи согласно настоящему изобретению, представляющая собой систему прерывистой связи, где прерывистая связь может выполняться между устройством базовой станции и устройством мобильной станции. Устройство мобильной станции включает в себя передающий блок, выполненный с возможностью передачи запроса на запуск нормальной связи после останова прерывистой связи в интервале времени, отличном от прерывистой связи, если определяется, что требуется передача обслуживания, блок перехода, выполненный с возможностью перехода с прерывистой связи на нормальную связь, после того как передающий блок передаст запрос, и блок выполнения передачи обслуживания, выполненный с возможностью выполнения передачи обслуживания при завершении перехода на нормальную связь блоком перехода.
Устройство мобильной станции в состоянии прерывистой связи немедленно передает на устройство базовой станции запрос на изменение связи в состояние нормальной связи без ожидания следующего интервала времени прерывистой передачи, если определяется, что требуется передача обслуживания. Кроме того, устройство мобильной станции передает запрос, и одновременно оно переходит с прерывистой связи на нормальную связь. При завершении перехода на нормальную связь запускается передача обслуживания. Так как запрос передается на устройство базовой станции независимо от интервала времени прерывистой передачи, может быть уменьшено количество времени, необходимое для процесса передачи обслуживания.
Запрос может конфигурироваться с запросом на передачу обслуживания, включающим в себя информацию идентификации устройства базовой станции для идентификации устройства базовой станции в точке назначения передачи обслуживания, и блок перехода может запускать переход с прерывистой связи на нормальную связь, когда распознается запрос на передачу обслуживания. Состояние связи переходит на основе запроса на передачу обслуживания, принятого во время прерывистой связи, и процесс передачи обслуживания выполняется при завершении изменения состояния, посредством чего процесс передачи обслуживания может быть запущен раньше.
Запрос передается с устройства мобильной станции на устройство базовой станции посредством использования общего канала. Кроме того, запрос может генерироваться в виде информации L1 (уровень 1: физический уровень) и передаваться посредством передающего блока, если период выполнения прерывистой связи больше, чем предварительно определенное пороговое значение, или запрос может генерироваться в виде информации L3 (уровень 3: сетевой уровень) и передаваться в интервале времени передачи прерывистой связи, если период равен или меньше предварительно определенного порогового значения.
Настоящее изобретение не ограничивается вышеописанной системой прерывистой связи. Настоящее изобретение также охватывает устройство базовой станции и устройство мобильной станции, которые применяют вышеописанный способ прерывистой связи, программу, вызывающую исполнение компьютером этого способа, и т.п.
Согласно настоящему изобретению запрос для устройства базовой станции для перехода из состояния в состояние независимо от интервала времени прерывистой передачи передается посредством использования общего канала, даже если передача обслуживания становится необходимой во время прерывистой связи. Так как запрос передается без ожидания следующего интервала времени прерывистой передачи, уменьшается количество времени, необходимое для перехода из состояния прерывистой передачи в состояние нормальной связи. В результате, может быть уменьшено количество времени, необходимое до завершения передачи обслуживания. Следовательно, могут быть исправлены проблемы, такие как снижение качества связи, неудачный процесс передачи обслуживания и т.д., которые имеют место с удлиненным процессом передачи обслуживания.
Краткое описание чертежей
Фиг.1 иллюстрирует интервалы времени прерывистой передачи и приема мобильной станции;
фиг.2 иллюстрирует интервалы времени передачи/приема данных на стороне мобильной станции, когда передача обслуживания выполняется во время прерывистой связи в обычной технологии;
фиг.3 представляет собой последовательность работы, когда передача обслуживания выполняется во время прерывистой связи в обычной технологии;
фиг.4 иллюстрирует конфигурацию мобильной станции согласно первому варианту осуществления;
фиг.5 иллюстрирует конфигурацию базовой станции согласно первому варианту осуществления;
фиг.6 представляет собой пояснительный вид интервалов времени передачи/приема данных в мобильной станции согласно первому варианту осуществления;
фиг.7 представляет собой последовательность операций процесса выполнения передачи обслуживания во время прерывистой связи в системе беспроводной связи согласно первому варианту осуществления;
фиг.8 представляет собой примерный формат запроса на переход из состояния в состояние в первом варианте осуществления;
фиг.9 представляет собой блок-схему последовательности операций, иллюстрирующую процесс, выполняемый на стороне мобильной станции согласно первому варианту осуществления;
фиг.10 представляет собой блок-схему последовательности операций, иллюстрирующую процесс, выполняемый на стороне базовой станции согласно первому варианту осуществления;
фиг.11 иллюстрирует конфигурацию мобильной станции согласно второму варианту осуществления;
фиг.12 иллюстрирует конфигурацию базовой станции согласно второму варианту осуществления;
фиг.13 представляет собой последовательность операций процесса выполнения передачи обслуживания во время прерывистой связи в системе беспроводной связи согласно второму варианту осуществления;
фиг.14 представляет собой примерный формат запроса на передачу обслуживания во втором варианте осуществления;
фиг.15 представляет собой блок-схему последовательности операций, иллюстрирующую процесс, выполняемый на стороне мобильной станции согласно второму варианту осуществления;
фиг.16 представляет собой блок-схему последовательности операций, иллюстрирующую процесс, выполняемый на стороне базовой станции согласно второму варианту осуществления;
фиг.17 иллюстрирует конфигурацию мобильной станции согласно третьему варианту осуществления; и
фиг.18 представляет собой блок-схему последовательности операций, иллюстрирующую процесс, выполняемый на стороне мобильной станции согласно третьему варианту осуществления.
Лучший вариант осуществления изобретения
Ниже подробно описываются варианты осуществления согласно настоящему изобретению со ссылкой на чертежи. Система 1 беспроводной связи, описанная ниже, выполнена включающей в себя мобильную станцию 2 и базовую станцию 3. Множество базовых станций 3 находится на периферии мобильной станции 2. Мобильная станция 2 измеряет приемный уровень, такой как интенсивность сигнала приема и т.д., от каждой базовой станции и выполняет выбор базовой станции 3 в месте назначения соединения из числа множества базовых станций 3 на основе измеренных приемных уровней.
В системе 1 беспроводной связи следующего поколения или более позднего, такой как долгосрочная эволюция (LTE) и т.д., как мобильная станция 2, так и базовая станция 3 выполняют прерывистую передачу/прием (DTX, DRX) даже во время связи для экономии энергии. Однако если определяется, что требуется передача обслуживания на основе измеренного приемного уровня, состояние связи переходит в состояние нормальной связи для выполнения передачи обслуживания.
<Первый вариант осуществления>
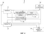
Фиг.4 иллюстрирует конфигурацию мобильной станции 2 согласно первому варианту осуществления. Мобильная станция 2 включает в себя антенну 20, приемник 21, блок 22 измерения периферийного уровня, блок 23 определения передачи обслуживания (обозначенный как блок определения HO на фиг.4), блок 24 управления, блок 25 установки периода прерывистой передачи/приема (блок установки периода DTX/DRX на фиг.4: ниже упоминаемый как блок установки периода), блок 26 обработки данных и передатчик 27.
Антенна 20 используется для передачи сигнала на базовую станцию 3 или для приема сигнала, передаваемого с базовой станции 3. На фиг.4 передающая антенна и приемная антенна вместе представлены как одна антенна.
Приемник 21 выполняет процессы усиления и демодуляции для сигнала, принимаемого при помощи антенны 20. Приемный уровень демодулированного сигнала подается на блок 22 измерения периферийного уровня.
Блок 22 измерения периферийного уровня измеряет соответственно приемные уровни базовых станций 3, расположенных на периферии мобильной станции 2.
Блок 23 определения передачи обслуживания определяет, выполнять или нет передачу обслуживания на основе результатов измерения, выполненных блоком 22 измерения периферийного уровня. Если блок 23 определения передачи обслуживания определяет выполнение передачи обслуживания, он предоставляет блоку 25 установки периода информацию о выполнении передачи обслуживания.
При приеме информации о выполнении передачи обслуживания от блока 23 определения передачи обслуживания блок 25 установки периода сбрасывает период прерывистой передачи/приема. Например, посредством установки значения периода прерывистой передачи/приема в 0 или посредством установки периода в ничто, мобильная станция 2 выполняет процесс перехода из состояния в состояние связи из состояния прерывистой связи в состояние нормальной связи, а именно активное состояние. «Активное состояние» представляет состояние связи в противоположность состоянию ожидания в системах связи текущего поколения. Однако в системах следующего поколения, таких как LTE и т.д., прерывистая связь может выполняться даже во время связи. Поэтому состояние связи, в противоположность состоянию прерывистой связи, а именно состояние, когда выполняется непрерывистая связь, определяется как «активное состояние».
Блок 26 обработки данных обрабатывает информацию, полученную посредством демодуляции сигнала в приемнике 21, и подает на передатчик 27 данные, подлежащие передаче на базовую станцию 3. Данные, которые блок 26 обработки данных подает на передатчик 27, включают в себя запрос на переход из состояния в состояние для запроса базовой станции 30 на изменение состояния связи с состояния прерывистой связи на активное состояние. Передатчик 27 выполняет процесс модуляции данных. Сигнал, модулированный передатчиком 27, передается в беспроводное пространство посредством антенны 20.
Блок 24 управления выполняет различные виды управления на основе входной информации. Если определяется, что требуется передача обслуживания в состоянии прерывистой связи, блок 24 управления выполняет управление, например инструктирует блок 25 установки периода на сброс периода прерывистой передачи/приема, или вызывает выполнение передатчиком 27 процесса модуляции для передачи запроса на переход из состояния в состояние на базовую станцию 3 в виде информации L1. В данном варианте осуществления блок 24 управления передает вышеописанный запрос на переход из состояния в состояние на базовую станцию 3 независимо от интервала времени прерывистой передачи даже в состоянии прерывистой связи.
Фиг.5 иллюстрирует конфигурацию базовой станции 3 согласно данному варианту осуществления. Базовая станция 3 включает в себя антенну 30, приемник 31, блок 32 определения запроса на переход из состояния в состояние, блок 33 управления состоянием, планировщик 34 и передатчик 35.
Антенна 30 принимает сигнал от мобильной станции 2 и передает сигнал на мобильную станцию 2. Передающая антенна и приемная антенна вместе изображены в виде одной антенны на фиг.5, аналогично антенне 20 мобильной станции 2, изображенной на фиг.4.
Приемник 31 выполняет процессы усиления и демодуляции для сигнала, принимаемого посредством антенны 30. Управляющая информация и данные информации, полученные посредством процесса демодуляции, подаются на верхний уровень, и информация, принятая посредством L1, подается на блок 32 определения запроса на переход из состояния в состояние.
Информация (запрос на переход из состояния в состояние) L1 в информации, переданной с мобильной станции 2, подается на блок 32 определения запроса на переход из состояния в состояние, который затем определяет содержимое информации. Запрос на переход из состояния в состояние представляет собой сигнал запроса, вызывающий изменение базовой станцией 3 в состояние, способное выполнять передачу обслуживания посредством переключения состояния связи базовой станции 3 из состояния прерывистой связи в активное состояние, как указано ранее со ссылкой на фиг.4.
Блок 33 управления состоянием управляет состоянием связи на стороне базовой станции 3 на основе результатов определения, выполненного блоком 32 определения запроса на переход из состояния в состояние. Конкретно, блок 33 управления состоянием управляет, в каком из состояния прерывистой связи и активного состояния выполняется связь с каждой мобильной станцией 2, подчиненной базовой станции 3.
Планировщик 34 управляет интервалом времени передачи данных в соответствии с состоянием управления состояния связи каждой мобильной станции 2, подчиненной базовой станции 3, в блоке 33 управления состоянием. Данные, интервал времени передачи которых управляется планировщиком 34, включают в себя инструкцию перехода из состояния в состояние для инструктирования мобильной станции 2 на изменение состояния связи с состояния прерывистой связи на активное состояние. Сигнал инструкции перехода из состояния в состояние передается на мобильную станцию 2 в соответствии с запросом на переход из состояния в состояние, принятым от мобильной станции 2.
Передатчик 35 выполняет процесс модуляции для данных или различных типов управляющей информации. Сигнал, полученный посредством процесса модуляции, передается в беспроводное пространство при помощи антенны 30. Вышеописанная инструкция перехода из состояния в состояние передается независимо от интервала времени прерывистой передачи даже во время прерывистой связи.
Фиг.6 представляет собой пояснительный вид интервалов времени передачи/приема данных в мобильной станции 2 согласно данному варианту осуществления. Верхняя часть фиг.6 иллюстрирует интервал времени приема данных от базовой станции 3, тогда как нижняя часть фиг.6 иллюстрирует интервал времени передачи данных на базовую станцию 3. Горизонтальная ось представляет время t, тогда как вертикальная ось представляет длительность, в течение которой уровень не равен нулю, в качестве длительности, способной передавать/принимать данные.
Когда мобильная станция 2 обнаруживает, что приемный уровень уменьшается в результате измерения во время прерывистой связи, она определяет, что необходима передача обслуживания. Затем мобильная станция 2 передает запрос на переход из состояния в состояние на базовую станцию 3, чтобы запросить базовую станцию 3 изменить с состояния прерывистой связи на активное состояние, чтобы выполнить передачу обслуживания.
Мобильная станция 2 согласно данному варианту осуществления передает запрос на переход из состояния в состояние в интервале времени, которое отлично от интервала времени прерывистой передачи прерывистой связи. А именно, если мобильная станция 2 определяет, что требуется передача обслуживания, она немедленно передает запрос на переход из состояния в состояние на базовую станцию 3 в точке назначения соединения без ожидания следующего интервала времени прерывистой передачи. Передача в этот момент времени выполняется посредством использования не занятого канала, назначенного для интервала времени нормальной прерывистой передачи, а общего канала, такого как канал случайного доступа и т.д. Такой канал не подходит для передачи информации L3, такой как отчет об измерении, подобно нормальному каналу, но может передавать информацию, такую как запрос на переход из состояния в состояние, в качестве информации L1 из-за ее малого количества данных. Следовательно, канал случайного доступа является подходящим.
Базовая станция 3 принимает общий канал, такой как канал случайного доступа, и т.д., независимо от интервала времени прерывистой передачи/приема, даже когда мобильная станция 2 находится в состоянии прерывистой передачи/приема, и может принимать от мобильной станции 2 запрос на переход из состояния в состояние, который передается в интервале времени, отличном от интервала времени прерывистой передачи.
Мобильная станция 2 запрашивает базовую станцию 3 на изменение состояния связи посредством передачи запроса на переход из состояния в состояние на базовую станцию 3 и переключает состояние связи самой мобильной станции 2 из состояния прерывистой связи в активное состояние.
Чтобы переключить в активное состояние в мобильной станции 2, интервал времени приема первоначально изменяется с прерывистого приема в активное состояние. Посредством предварительного изменения состояния приема в активное состояние мобильная станция 2 может принимать инструкцию перехода из состояния в состояние, т.е. информацию L3 от базовой станции 3.
При приеме запроса на переход из состояния в состояние от мобильной станции 2 базовая станция 3 передает инструкцию перехода из состояния в состояние на мобильную станцию 2 после изменения состояния связи самой базовой станции 3 с состояния прерывистой связи в активное состояние. Мобильная станция 2, которая изменила свое состояние с состояния прерывистого приема на активное состояние, принимает инструкцию перехода из состояния в состояние от базовой станции 3. Затем мобильная станция 2 переходит из состояния прерывистой передачи в активное состояние и запускает процесс передачи обслуживания при завершении перехода из состояния прерывистой связи в активное состояние. Перед приемом инструкции перехода из состояния в состояние от базовой станции 3 (например, в интервале времени передачи сигнала запроса на переход из состояния в состояние), не только состояние приема, но также состояние передачи может быть сделано активным (состояние передачи/приема может быть изменено на состояние непрерывистой передачи/приема).
Когда передача обслуживания становится необходимой из-за уменьшения приемного уровня мобильной станции 2, как изображено на фиг.6, мобильная станция 2 передает запрос на переход из состояния в состояние на базовую станцию 3 посредством L1 без ожидания следующего интервала времени прерывистой передачи. Следовательно, процесс перехода из состояния в состояние может выполняться раньше, чем в случае передачи запроса на переход из состояния в состояние в следующем интервале времени прерывистой передачи, приводя к снижению количества времени, необходимого для перехода из состояния в состояние. Уменьшается количество времени, необходимое для выполнения процесса перехода из состояния в состояние, посредством чего может раньше запускаться процесс передачи обслуживания. В результате, может быть уменьшено количество времени, необходимое до завершения процесса передачи обслуживания.
Ниже конкретно описывается способ передачи запроса на переход из состояния в состояние в интервале времени, отличном от интервала времени прерывистой передачи.
Фиг.7 представляет собой последовательность операций процесса выполнения передачи обслуживания во время прерывистой связи в системе 1 беспроводной связи согласно данному варианту осуществления. Предположим, что базовая станция 3, подключенная перед передачей обслуживания, и базовая станция 3 в точке назначения соединения после передачи обслуживания представляют собой базовые станции 3А и 3В соответственно.
Если мобильная станция 2 определяет необходимость передачи обслуживания в результате измерения приемных уровней периферийных базовых станций 3, она передает запрос на переход из состояния в состояние на базовую станцию 3А. Обычный запрос на переход из состояния в состояние передается в виде информации L3 посредством использования индивидуального канала. В противоположность этому, запрос на переход из состояния в состояние передается в виде информации L1 посредством использования общего канала, такого как канал случайного доступа, и т.д. в данном варианте осуществления.
Базовая станция 3А, которая принимает запрос на переход из состояния в состояние, изменяет состояние связи самой базовой станции на активное состояние и предоставляет мобильной станции 2 информацию планирования и т.д. посредством передачи инструкции перехода из состояния в состояние на мобильную станцию 2. Мобильная станция 2 передает отчет об измерениях на базовую станцию 3А после приема инструкции перехода из состояния в состояние. В ответ на отчет об измерениях от мобильной станции 2 базовая станция 3А передает инструкцию передачи обслуживания на мобильную станцию 2 после согласования с базовой станцией 3В в точке назначения передачи обслуживания. При завершении изменения в активное состояние как мобильной станции 2, так и базовой станции 3А, запускается процесс передачи обслуживания. Последующий процесс, а именно процесс, при помощи которого устанавливается синхронизация, и мобильная станция 2 передает уведомление о завершении передачи обслуживания на базовую станцию 3В при завершении передачи обслуживания, подобен обычному процессу и известному методу.
Фиг.8 иллюстрирует примерный формат запроса на переход из состояния в состояние в данном варианте осуществления. Запрос на переход из состояния в состояние конфигурируется посредством выключения информации идентификации пользователя (идентификатор (ИД) пользователя на фиг.8) и бита запроса на переход из состояния в состояние.
Информация идентификации пользователя представляет собой информацию для идентификации мобильной станции 2. В системе 1 беспроводной связи, включающей в себя базовую станцию 3, мобильная станция 2 однозначно принимает решение на основе информации идентификации пользователя. Если бит запроса на переход из состояния в состояние установлен, например, в 1, то он представляет запрос на переход из состояния в состояние. Если бит запроса на переход из состояния в состояние установлен в 0, то он представляет, что запрос на переход из состояния в состояние не выполнен. В данном варианте осуществления только уведомление для запроса того, чтобы сторона базовой станции перешла из состояния в состояние, приведено в качестве примера в виде информации, передаваемой на базовую станцию 3. Однако информация, передаваемая на базовую станцию 3, не ограничивается этой информацией. Посредством соответствующей предварительной установки значений для различных типов запросов в соответствии с различными типами спецификаций, ниже сформулированных в LTE, могут предоставляться различные виды информации для базовой станции 3 посредством использования канала случайного доступа.
В данном случае, канал случайного доступа эквивалентен, например, каналу синхронизированного случайного доступа в LTE. Канал синхронизированного случайного доступа используется тогда, когда восходящая линия связи между базовой станцией 3 и мобильной станцией 2, т.е. терминалом, временно синхронизируется базовой станцией 3. Мобильная станция 2 гарантирует ресурсы для восходящей пересылки данных посредством использования данного канала. С процедурами для синхронизированного случайного доступа задержка может быть уменьшена в целом.
Мобильная станция 2 согласно данному варианту осуществления передает запрос на переход из состояния в состояние в формате, изображенном на фиг.8, на базовую станцию 3 в виде информации L1 посредством использования канала случайного доступа и т.д. В результате, может предоставляться необходимая информация от мобильной станции 2 на базовую станцию 3 без ожидания интервала времени прерывистой передачи, в то же время уменьшая количество данных в сравнении с информацией L3.
Способ выполнения вышеописанного процесса передачи обслуживания на каждой стороне мобильной станции 2 и базовой станции 3 описывается со ссылкой на блок-схемы последовательности операций.
Фиг.9 представляет собой блок-схему последовательности операций, иллюстрирующую процесс, выполняемый на стороне мобильной станции 2 согласно данному варианту осуществления. Процесс, изображенный на фиг.9, выполняется в соответствии с периодом измерения приемного уровня от базовой станции 3, запросом от базовой станции 3 и т.д.
Первоначально, на этапе S1, 1 устанавливается в качестве исходного значения информации i идентификации для соответствующей идентификации множества базовых станций 3, расположенных на периферии от мобильной станции 2. Затем, на этапе S2, измеряется приемный уровень i-й базовой станции. На этапе S3 определяется, является ли или нет значение i меньше, чем количество измеряемых базовых станций (равных, как предполагается, N). Если i меньше, чем количество измеряемых базовых станций N, процесс переходит на этап S4, на котором i увеличивается на 1. Затем процесс возвращается обратно на этап S2. Если значение i, т.е. информация идентификации периферийной базовой станции, становится равным количеству измеряемых базовых станций N, то определяется, что приемные уровни всех базовых станций 3 были измерены. Тогда процесс переходит на этап S5.
На этапе S5 определяется, требуется или нет передача обслуживания, на основе приемных уровней, измеренных для N базовых станций 3. Если определяется, что передача обслуживания не требуется, процесс завершается. Если определяется, что требуется передача обслуживания, процесс переходит на этап S6.
Мобильная станция 2 немедленно передает запрос на переход из состояния в состояние на базовую станцию 3, независимо от интервала времени прерывистой передачи на этапе S6, изменяет состояние связи с состояния прерывистой связи на активное состояние на этапе S7 и завершает процесс. Как указано ранее, после того как будет завершен процесс, изображенный на фиг.9, мобильная станция 2 принимает информацию планирования, включенную в инструкцию перехода из состояния в состояние, от базовой станции 3 и запускает процесс передачи обслуживания в соответствии с инструкцией передачи обслуживания от базовой станции 3.
Фиг.10 представляет собой блок-схему последовательности операций, иллюстрирующую процесс, выполняемый на стороне базовой станции 3 согласно данному варианту осуществления. Процесс, изображенный на фиг.10, выполняется соответственно для всех мобильных станций 2, которые находятся в состоянии прерывистой связи в зоне базовой станции 3.
Первоначально, на этапе S11, определяется, принимается ли или нет запрос на переход из состояния в состояние от мобильной станции 2. Если не принимается запрос на переход из состояния в состояние, процесс переходит на этап S12, на котором продолжается состояние прерывистой связи без выполнения процесса, и процесс завершается. Если запрос на переход из состояния в состояние принимается от мобильной станции 2, процесс переходит на этап S13, на котором состояние связи базовой станции 3 меняется с состояния прерывистой связи на активное состояние. В этот момент процесс завершается.
После перехода в активное состояние базовая станция 3 предоставляет мобильной станции 2 информацию планирования посредством передачи инструкции перехода из состояния в состояние на мобильную станцию 2, которая передает запрос на переход из состояния в состояние, и выдает инструкцию передачи обслуживания на мобильную станцию 2 в соответствии с отчетом об измерениях, дополнительно переданным с мобильной станции 2. Мобильная станция 2, которая принимает инструкцию передачи обслуживания, запускает передачу обслуживания.
Как описано выше, с системой 1 беспроводной связи согласно данному варианту осуществления запрос на переход из состояния в состояние передается в виде информации L1 посредством использования общего канала, так как количество данных в информации L1 меньше, чем количество данных в информации L3. Общий канал используется для передачи запроса на переход из состояния в состояние, посредством чего запрос на переход из состояния в состояние может передаваться на базовую станцию 3 в интервале времени, отличном от интервала времени прерывистой передачи, когда он становится необходимым для выполнения передачи обслуживания в мобильной станции 2, которая выполняет прерывистую связь. Следовательно, мобильная станция 2 может немедленно передавать запрос на переход из состояния в состояние, когда определяет, что требуется передача обслуживания, и базовая станция 3 может раньше выполнять процесс перехода состояния связи в активное состояние. Посредством уменьшения количества времени, необходимого для перехода из состояния в состояние, передача обслуживания может запускаться раньше, и может быть сокращена длительность, необходимая до завершения процесса передачи обслуживания. Это способствует решению проблем, таких как снижение качества связи, неудачный процесс передачи обслуживания и т.д., которые имеют место с продолжительным временем, необходимым для передачи обслуживания.
<Второй вариант осуществления>
Система 1 беспроводной связи согласно второму варианту осуществления характеризуется изменением состояния прерывистой связи на активное состояние на основе информации, когда информация о периферийных базовых станциях предоставляется в виде информации L1 от мобильной станции 2 на базовую станцию 3.
Фиг.11 иллюстрирует конфигурацию мобильной станции 2 согласно второму варианту осуществления. Мобильная станция 2 согласно данному варианту осуществления отличается от мобильной станции согласно вышеописанному первому варианту осуществления в том, что дополнительно включает в себя блок 29 управления информацией о периферийных базовых станциях. Другие составляющие элементы подобны элементам на фиг.4.
Блок 28 управления информацией о периферийных базовых станциях хранит информацию о периферийных базовых станциях, которая принимается от базовой станции 3 в точке назначения соединения. В этот момент информация о периферийных базовых станциях представляет собой информацию идентификации для соответствующей идентификации периферийных базовых станций в мобильной станции 2.
Фиг.12 иллюстрирует конфигурацию базовой станции 3 согласно данному варианту осуществления. Базовая станция 3 согласно данному варианту осуществления отличается от базовой станции согласно вышеописанному первому варианту осуществления тем, что дополнительно включает в себя блок 36 управления информацией о периферийных базовых станциях. Другие составляющие элементы аналогичны элементам фиг.5.
Блок 36 управления информацией о периферийных базовых станциях предоставляет блоку 33 управления состоянием информацию о базовой станции в точке назначения передачи обслуживания, если определяется, что требуется передача обслуживания на основе информации, указывающей требуется или нет передача обслуживания, которая вводится от блока 32 определения передачи обслуживания, и предоставляет верхнему уровню информацию в виде управляющей информации. Блок 33 управления состоянием распознает, что требуется передача обслуживания на основе информации о базовой станции в точке назначения передачи обслуживания, которая принимается от блока 36 управления информацией о периферийных базовых станциях, и управляет состоянием связи на стороне базовой станции.
Фиг.13 представляет собой последовательность операций процесса выполнения передачи обслуживания во время прерывистой связи в системе 1 беспроводной связи согласно второму варианту осуществления. Аналогично первому варианту осуществления базовая станция 3, к которой подключена мобильная станция 2 перед передачей обслуживания, и базовая станция 3 в точке назначения передачи обслуживания обозначаются как базовые станции 3А и 3В соответственно. Описываются, главным образом, отличия от последовательности операций системы беспроводной связи согласно вышеописанному первому варианту осуществления, изображенному на фиг.7.
Первоначально, базовая станция 3А передает инструкцию перехода из состояния в состояние на мобильную станцию 2, чтобы сменить состояние связи с активного состояния на состояние прерывистой связи. Инструкция перехода из состояния в состояние, передаваемая в данном случае, включает в себя информацию для идентификации периферийных базовых станций, которая хранится в базовой станции 3А. Мобильная станция 2, которая принимает инструкцию перехода из состояния в состояние от базовой станции 3А, выполняет переход состояния связи в состояние прерывистой связи в соответствии с инструкцией и сохраняет принятую информацию в блоке 28 управления информацией о периферийных базовых станциях.
Мобильная станция 2, которая выполняет прерывистую связь, передает запрос на передачу обслуживания (запрос HO на фиг.13) на базовую станцию 3А в виде информации L1 посредством использования канала случайного доступа и т.д., если она определяет, что требуется передача обслуживания из-за снижения приемного уровня. Так как запрос на передачу обслуживания передается в виде информации L1 в данном варианте осуществления, она может передаваться в интервале времени, отличном от интервала времени прерывистой передачи.
Запрос на передачу обслуживания включает в себя информацию идентификации базовой станции для указания базовой станции в точке назначения передачи обслуживания. Мобильная станция 2 первоначально выполняет переход своего состояния связи с состояния прерывистой связи в активное состояние после передачи запроса на передачу обслуживания и остается в состоянии, при котором может принимать информацию L3 от базовой станции 3А. Базовая станция 3А определяет, что запрос на передачу обслуживания был принят на основе информации L1, и передает инструкцию передачи обслуживания на мобильную станцию 2 после согласования с базовой станцией 3В в точке назначения передачи обслуживания.
При приеме инструкции передачи обслуживания от базовой станции 3А мобильная станция 2 изменяет свое состояние связи с состояния прерывистой передачи на активное состояние. В вышеописанном первом варианте осуществления интервалы времени изменения с состояния прерывистого приема/передачи на активное состояние в мобильной станции 2 представляют собой интервалы после того, как будет передан запрос на переход из состояния в состояние, и после того, как будет принята инструкция перехода из состояния в состояние, как изображено на фиг.6. В противоположность этому, этими интервалами времени являются интервалы после того, как будет передан запрос на передачу обслуживания, и после того, как будет принята инструкция передачи обслуживания в данном варианте осуществления.
После этого устанавливается синхронизация аналогично последовательности операций в вышеописанном первом варианте осуществления, изображенном на фиг.7, и выполняется передача обслуживания. При завершении процесса передачи обслуживания уведомление о завершении передачи обслуживания передается на базовую станцию 3В в точке назначения передачи обслуживания, и процесс завершается.
Инструкция перехода из состояния в состояние, предоставляемая мобильной станции 2 заранее, конфигурируется посредством включения информации идентификации базовой станции (обозначенной как ИД базовой станции на фиг.13). Информация идентификации базовой станции может представлять собой значение, просто назначенное базовой станцией 3А. Базовая станция 3А и мобильная станция 2 сохраняют одинаковое значение. Мобильная станция 2 уведомляет базовую станцию 3А на исходной точке передачи обслуживания посредством включения информации идентификации базовой станции в информацию L1, как описано выше. Поэтому желательно уменьшить количество данных информации. Например, если количество периферийных базовых станций равно 10, то достаточно гарантировать 4 бита в качестве количества данных.
Фиг.14 представляет собой примерный формат запроса на передачу обслуживания в данном варианте осуществления. Запрос на передачу обслуживания конфигурируется посредством включения информации идентификации пользователя (ИД пользователя на фиг.14) и информации идентификации базовой станции (ИД базовой станции на фиг.14).
Информация, предоставляемая базовой станции 3 посредством запроса на передачу обслуживания, состоит из информации идентификации пользователя для идентификации мобильной станции 2 и информации идентификации базовой станции, указывающей периферийную базовую станцию в точке назначения передачи обслуживания. В данном случае, прерывистая связь выполняется даже во время, например, связи, отличной от состояния ожидания в LTE. Поэтому базовая станция 3, которая принимает запрос на передачу обслуживания, изображенный на фиг.14, распознает, что требуется переход состояния связи на основе приема запроса на передачу обслуживания, и выполняет процесс перехода из состояния в состояние для состояния связи.
В отличие от вышеописанного первого варианта осуществления, данный вариант осуществления устраняет необходимость процесса передачи/приема информации о базовой станции 3 в точке назначения передачи обслуживания после изменения состояния связи на стороне базовой станции в активное состояние на основе запроса на переход из состояния в состояние. В результате, может быть дополнительно уменьшено количество времени, необходимого для процесса передачи обслуживания.
Фиг.15 представляет собой блок-схему последовательности операций, иллюстрирующую процесс, выполняемый на стороне мобильной станции 2 согласно второму варианту осуществления. Описываются, главным образом, отличия от процесса согласно первому варианту осуществления, изображенному на фиг.9.
Этапы S21-S24 соответствуют соответственно этапам S1-S4, изображенным на фиг.9, и выполняются подобные процессы. Если на этапе S23 определяется, что были измерены все периферийные базовые станции 3, подлежащие измерению, процесс переходит на этап S25.
На этапе S25 определяется, имеется ли или нет базовая станция BSi, приемный уровень которой больше, чем приемный уровень базовой станции на исходной точке BS0 передачи обслуживания, на основе результатов измерения. Если нет базовой станции, приемный уровень которой больше приемного уровня базовой станции в исходной точке передачи обслуживания, процесс завершается. Если есть базовая станция, приемный уровень которой больше, чем приемный уровень базовой станции в исходной точке передачи обслуживания, процесс переходит на этап S26.
После того как на этапе S26 будет выбрана базовая станция BSi, приемный уровень которой является самым большим, значение i информации идентификации базовой станции выбранной базовой станции BSi сохраняется в запросе на передачу обслуживания, который затем передается на базовую станцию в исходной точке передачи обслуживания. Затем состояние связи переходит в активное состояние на этапе S28, и процесс завершается. Последующие процессы аналогичны процессам вышеописанного варианта осуществления.
Фиг.16 представляет собой блок-схему последовательности операций, иллюстрирующую процесс, выполняемый на стороне базовой станции 3 согласно второму варианту осуществления. Аналогично базовой станции согласно первому варианту осуществления, данный процесс выполняется соответственно для всех мобильных станций 2, которые находятся в состоянии прерывистой связи в зоне базовой станции 3.
Процессы на этапах S31-S32, а именно процессы, выполняемые тогда, когда запрос на передачу обслуживания не принимается от базовой станции 2, из числа процессов, изображенных на фиг.16, подобны процессам этапов S11-S12, изображенным на фиг.10.
Если определяется на этапе S31, что запрос на передачу обслуживания принят от мобильной станции 2, процесс переходит на этап S33. После изменения в активное состояние на этапе S33 инструкция передачи обслуживания передается на мобильную станцию 2 на этапе S34.
В системе 1 беспроводной связи согласно данному варианту осуществления информация идентификации базовой станции, указывающая базовую станцию в точке назначения передачи обслуживания, включается в запрос на передачу обслуживания, который передается в виде информации L1. В результате, базовая станция 3 может изменить свое состояние связи на активное состояние в соответствии с информацией идентификации о базовой станции в точке назначения передачи обслуживания, которая включается в запрос передачи обслуживания, и может передавать инструкцию передачи обслуживания на мобильную станцию 2. В вышеописанном первом варианте осуществления выполняются различные типы процессов для перехода состояния связи в активное состояние после первоначального распознавания приема запроса на переход из состояния в состояние для перехода состояния связи и для запуска процесса передачи обслуживания при распознавании приема запроса на передачу обслуживания. В противоположность этому, количество времени, необходимое для процесса передачи обслуживания, может быть уменьшено во втором варианте осуществления.
Как описано выше, с системой 1 беспроводной связи согласно второму варианту осуществления мобильная станция 2 передает запрос на передачу обслуживания на базовую станцию 3 посредством использования общего канала, такого как канал случайного доступа, и т.д., если передача обслуживания становится необходимой во время прерывистой связи. При приеме запроса на передачу обслуживания во время прерывистой связи базовая станция 3 в исходной точке передачи обслуживания изменяет состояние связи самой базовой станции 3 на активное состояние, чтобы вызвать выполнение передачи обслуживания мобильной станцией 2, которая представляет собой исходную точку передачи запроса на передачу обслуживания. После того как состояние связи базовой станции 3 изменится на активное состояние, передается инструкция передачи обслуживания на основе информации идентификации базовой станции, указывающей базовую станцию в точке назначения передачи обслуживания, которая включается в запрос на передачу обслуживания.
Запрос на передачу обслуживания немедленно передается с мобильной станции 2, которой требуется передача обслуживания, на базовую станцию 3, и информация о базовой станции в точке назначения передачи обслуживания включается в запрос на передачу обслуживания и уведомляется, посредством чего могут меняться состояния связи как мобильной станции 2, так и базовой станции 3. В результате, количество времени, необходимое для процесса передачи обслуживания, может быть дополнительно уменьшено по сравнению со способом передачи запроса на переход состояния связи и запроса на передачу обслуживания отдельно с мобильной станции 2 на базовую станцию 3. Это способствует решению проблем, таких как снижение качества связи, неудачный процесс передачи обслуживания и т.д., которые имеют место с продолжительным временем, необходимым для процесса передачи обслуживания.
<Третий вариант осуществления>
Система 1 беспроводной связи согласно третьему варианту осуществления отличается тем, что содержит выполнение передачи обслуживания посредством установки способа передачи на базовую станцию 3 запроса на переход состояния связи в активное состояние в соответствии с периодом прерывистой передачи/приема.
Фиг.17 иллюстрирует конфигурацию мобильной станции 2 согласно данному варианту осуществления. Мобильная станция 2 согласно данному варианту осуществления отличается от мобильной станции согласно вышеописанному первому варианту осуществления тем, что блок 25 установки периода предоставляет блоку 23 определения передачи обслуживания информацию о периоде прерывистой передачи/приема. Другие составляющие элементы аналогичны элементам на фиг.4.
Блок 23 определения передачи обслуживания определяет способ выполнения передачи обслуживания, конкретно способ передачи запроса на переход состояния связи на базовую станцию 3 на основе информации о периоде прерывистой передачи/приема, которая предоставляется от блока 25 установки периода. Содержимое, определенное блоком 23 определения передачи обслуживания, подается на блок 25 установки периода, который затем определяет интервал времени передачи запроса на базовую станцию 3 на основе введенной информации и подает на передатчик 27 интервал времени, и сбрасывает период прерывистой передачи/приема мобильной станции 2 на переход в активное состояние.
Конфигурация базовой станции 3 согласно данному варианту осуществления аналогична конфигурации базовой станции 3 согласно первому варианту осуществления, изображенному на фиг.5. Поэтому ее описание здесь опускается.
Фиг.18 представляет собой блок-схему последовательности операций, иллюстрирующую процесс, выполняемый на стороне мобильной станции 2 согласно третьему варианту осуществления. Процесс, выполняемый на стороне базовой станции 3, подобен процессу базовой станции 3 согласно первому варианту осуществления, изображенному на фиг.10. В данном случае описываются, главным образом, процессы, отличные от процесса мобильной станции 2 согласно первому варианту осуществления, изображенному на фиг.9.
Процессы с процесса инициализации на этапе S41 до определения, требуется или нет передача обслуживания на этапе S45, соответствуют соответственно этапам S1-S5 на фиг.9, и выполняются подобные процессы. Если определяется, что передача обслуживания не требуется на этапе S45, то процесс завершается. Если определяется, что требуется передача обслуживания на этапе S45, процесс переходит на этап S46.
На этапе S46 определяется, является ли или нет период прерывистой передачи/приема равным или меньше, чем предварительно определенное пороговое значение. Если период прерывистой передачи/приема больше, чем предварительно определенное пороговое значение, процесс переходит на этап S47, на котором мобильная станция 2 немедленно передает запрос на переход из состояния в состояние на базовую станцию 3 без ожидания следующего интервала времени прерывистой передачи. Если период прерывистой передачи/приема равен или меньше, чем предварительно определенное пороговое значение на этапе S46, процесс переходит на этап S48, на котором запрос на переход из состояния в состояние передается на базовую станцию 3 в следующем интервале времени прерывистой передачи. После передачи запроса на переход из состояния в состояние процесс переходит на этап S49, на котором состояние связи мобильной станции 2 переходит в активное состояние. В этот момент процесс завершается.
Если период прерывистой передачи/приема относительно длинный, увеличивается задержка в процессе передачи обслуживания, когда передача запроса на переход из состояния в состояние ожидается до следующего интервала времени прерывистой передачи/приема. Поэтому является эффективным передача запроса на переход из состояния в состояние независимо от интервала времени прерывистой передачи/приема посредством использования общего канала, такого как канал случайного доступа, и т.д. Однако использование канала случайного доступа может, возможно, вызвать конфликт между запросами на переход из состояния в состояние, если множество мобильных станций 2 передают запросы на переход из состояния в состояние на одну базовую станцию 3.
Рассматривая вышеописанный вопрос, в данном варианте осуществления эффект снижения задержки в процессе передачи обслуживания оценивается высоким, и передача обслуживания выполняется посредством передачи запроса на переход из состояния в состояние независимо от интервала времени прерывистой передачи посредством использования общего канала, такого как канал случайного доступа, и т.д., если период прерывистой передачи/приема больше, чем предварительно определенное пороговое значение, или эффект снижения задержки в процессе передачи обслуживания оценивается не таким высоким, и передача обслуживания выполняется с приоритетом, предоставленным предотвращению конфликта, посредством передачи запроса на переход из состояния в состояние в интервале времени прерывистой передачи, если период прерывистой передачи/приема равен или меньше, чем предварительно определенное пороговое значение.
На этапах S47 и S48 на фиг.18 запрос на переход из состояния в состояние передается с мобильной станции 2 на базовую станцию 3. Однако данный процесс не ограничивается данной реализацией. Например, может передаваться запрос на передачу обслуживания во втором варианте осуществления. Чтобы реализовать такой способ обработки передачи обслуживания, конфигурация мобильной станции 2, изображенная на фиг.11, реализуется в виде конфигурации для подачи информации о периоде прерывистой передачи/приема с блока 25 установки периода на блок 23 определения передачи обслуживания. С такой конфигурацией блок 23 определения передачи обслуживания определяет, на основе информации о периоде прерывистой передачи/приема, передается ли запрос на передачу обслуживания или в виде информации L1, или в виде информации L3, как при обычной технологии, посредством чего может создаваться подобный эффект.
Как описано выше, в состоянии, когда передача и прием между устройством базовой станции и устройством мобильной станции выполняются с предварительно определенным прерывистом периодом, устройство базовой станции выполняет процесс приема сигнала также в интервале времени, отличном от предварительно определенного интервала времени периодической передачи устройства мобильной станции, и предоставляет возможность передачи второго сигнала на устройство мобильной станции в периоде, отличном от предварительно определенного периода в случае приема первого сигнала от устройства мобильной станции при помощи процесса приема в интервале времени, отличном от интервала времени передачи, тогда как устройство мобильной станции принимает второй сигнал посредством выполнения процесса приема сигнала также в интервале времени, отличном от предварительно определенного интервала времени периодического приема в случае передачи первого сигнала в интервале времени, отличном от интервала времени передачи.
Claims (1)
- Способ для системы прерывистой связи, в которой прерывистая связь может выполняться между устройством базовой станции и устройством мобильной станции, причем способ содержит этапы, на которых:
устройство мобильной станции передает запрос на запуск нормальной связи после останова прерывистой связи в интервале времени, отличном от прерывистой связи, если определяется, что требуется передача обслуживания, и выполняет передачу обслуживания, при завершении перехода к нормальной связи.
Applications Claiming Priority (2)
| Application Number | Priority Date | Filing Date | Title |
|---|---|---|---|
| PCT/JP2007/050878 WO2008090592A1 (ja) | 2007-01-22 | 2007-01-22 | 間欠通信システム、基地局装置及び移動局装置 |
| JPPCT/JP2007/050878 | 2007-01-22 |
Related Parent Applications (1)
| Application Number | Title | Priority Date | Filing Date |
|---|---|---|---|
| RU2009126368/09A Division RU2420035C2 (ru) | 2007-01-22 | 2007-01-22 | Система прерывистой связи, устройство базовой станции и устройство мобильной станции |
Related Child Applications (3)
| Application Number | Title | Priority Date | Filing Date |
|---|---|---|---|
| RU2012142018/07A Division RU2012142018A (ru) | 2007-01-22 | 2012-10-02 | Система прерывистой связи, устройство базовой станции и устройство мобильной станции |
| RU2012141987/07A Division RU2521601C2 (ru) | 2007-01-22 | 2012-10-02 | Система прерывистой связи, устройство базовой станции и устройство мобильной станции |
| RU2012142021/07A Division RU2521603C2 (ru) | 2007-01-22 | 2012-10-02 | Система прерывистой связи, устройство базовой станции и устройство мобильной станции |
Publications (2)
| Publication Number | Publication Date |
|---|---|
| RU2011110879A RU2011110879A (ru) | 2012-09-27 |
| RU2469503C2 true RU2469503C2 (ru) | 2012-12-10 |
Family
ID=39644174
Family Applications (6)
| Application Number | Title | Priority Date | Filing Date |
|---|---|---|---|
| RU2011110835/07A RU2482627C2 (ru) | 2007-01-22 | 2011-03-22 | Система прерывистой связи, устройство базовой станции и устройство мобильной станции |
| RU2011110879/07A RU2469503C2 (ru) | 2007-01-22 | 2011-03-22 | Система прерывистой связи, устройство базовой станции и устройство мобильной станции |
| RU2011110832/07A RU2482626C2 (ru) | 2007-01-22 | 2011-03-22 | Система прерывистой связи, устройство базовой станции и устройство мобильной станции |
| RU2012141987/07A RU2521601C2 (ru) | 2007-01-22 | 2012-10-02 | Система прерывистой связи, устройство базовой станции и устройство мобильной станции |
| RU2012142021/07A RU2521603C2 (ru) | 2007-01-22 | 2012-10-02 | Система прерывистой связи, устройство базовой станции и устройство мобильной станции |
| RU2012142018/07A RU2012142018A (ru) | 2007-01-22 | 2012-10-02 | Система прерывистой связи, устройство базовой станции и устройство мобильной станции |
Family Applications Before (1)
| Application Number | Title | Priority Date | Filing Date |
|---|---|---|---|
| RU2011110835/07A RU2482627C2 (ru) | 2007-01-22 | 2011-03-22 | Система прерывистой связи, устройство базовой станции и устройство мобильной станции |
Family Applications After (4)
| Application Number | Title | Priority Date | Filing Date |
|---|---|---|---|
| RU2011110832/07A RU2482626C2 (ru) | 2007-01-22 | 2011-03-22 | Система прерывистой связи, устройство базовой станции и устройство мобильной станции |
| RU2012141987/07A RU2521601C2 (ru) | 2007-01-22 | 2012-10-02 | Система прерывистой связи, устройство базовой станции и устройство мобильной станции |
| RU2012142021/07A RU2521603C2 (ru) | 2007-01-22 | 2012-10-02 | Система прерывистой связи, устройство базовой станции и устройство мобильной станции |
| RU2012142018/07A RU2012142018A (ru) | 2007-01-22 | 2012-10-02 | Система прерывистой связи, устройство базовой станции и устройство мобильной станции |
Country Status (10)
| Country | Link |
|---|---|
| US (2) | US8170029B2 (ru) |
| EP (4) | EP2542014A3 (ru) |
| JP (1) | JP4690467B2 (ru) |
| KR (3) | KR101098143B1 (ru) |
| CN (1) | CN101589643B (ru) |
| AU (1) | AU2007344826B2 (ru) |
| CA (2) | CA2938591A1 (ru) |
| ES (2) | ES2573307T3 (ru) |
| RU (6) | RU2482627C2 (ru) |
| WO (1) | WO2008090592A1 (ru) |
Cited By (2)
| Publication number | Priority date | Publication date | Assignee | Title |
|---|---|---|---|---|
| RU2710665C1 (ru) * | 2015-12-31 | 2019-12-30 | Хуавэй Текнолоджиз Ко., Лтд. | Способ управления мобильностью, пользовательское оборудование и базовая станция |
| US10708971B2 (en) | 2015-12-31 | 2020-07-07 | Huawei Technologies Co., Ltd. | Mobility management method, user equipment, storage node, and base station |
Families Citing this family (7)
| Publication number | Priority date | Publication date | Assignee | Title |
|---|---|---|---|---|
| US8023467B2 (en) * | 2007-04-27 | 2011-09-20 | Research In Motion Limited | Method and system for efficient DRX operation during handover in LTE |
| JP5135117B2 (ja) | 2008-08-08 | 2013-01-30 | 株式会社エヌ・ティ・ティ・ドコモ | 移動局、無線基地局及び移動通信方法 |
| US8520632B2 (en) * | 2008-12-29 | 2013-08-27 | Qualcomm Incorporated | Method and apparatus for synchronization during a handover failure in a wireless communication system |
| JP5313119B2 (ja) * | 2009-12-02 | 2013-10-09 | シャープ株式会社 | 通信装置、通信装置の制御方法、通信装置制御プログラム、及び該プログラムを記録したコンピュータ読み取り可能な記録媒体 |
| JP5782925B2 (ja) * | 2011-08-31 | 2015-09-24 | 富士通株式会社 | 情報処理装置、プログラム、および制御方法 |
| EP3387860B1 (en) * | 2015-12-07 | 2021-02-03 | Telefonaktiebolaget LM Ericsson (publ) | Methods and devices for triggering mobility reference signaling |
| US11678245B2 (en) * | 2019-12-23 | 2023-06-13 | Qualcomm Incorporated | User equipment (UE) requested enablement for L1/L2 inter-cell mobility |
Citations (3)
| Publication number | Priority date | Publication date | Assignee | Title |
|---|---|---|---|---|
| RU2210867C2 (ru) * | 1998-07-28 | 2003-08-20 | Самсунг Электроникс Ко., Лтд. | Стробированная передача в состоянии поддержки управления в системе связи множественного доступа с кодовым разделением каналов |
| US20040043798A1 (en) * | 2002-08-27 | 2004-03-04 | Messay Amerga | Idle mode cell reacquisition and reselection |
| US20050221827A1 (en) * | 2004-03-30 | 2005-10-06 | Nec Corporation | Mobile station, radio communication establishing method and its radio communication system |
Family Cites Families (36)
| Publication number | Priority date | Publication date | Assignee | Title |
|---|---|---|---|---|
| JPH06101698B2 (ja) * | 1986-04-25 | 1994-12-12 | 日本電気株式会社 | 無線電話装置 |
| JPH06216833A (ja) * | 1993-01-14 | 1994-08-05 | N T T Idou Tsuushinmou Kk | 移動通信方式 |
| JP3267059B2 (ja) * | 1994-08-09 | 2002-03-18 | 松下電器産業株式会社 | ディジタル無線電話装置 |
| CA2325421A1 (en) * | 1998-03-26 | 1999-09-30 | Mitsubishi Denki Kabushiki Kaisha | Spread spectrum communication device and spread spectrum communication method |
| KR100362248B1 (ko) * | 1998-07-24 | 2002-11-23 | 가부시끼가이샤 도시바 | Cdma 이동 단말 장치 |
| JP3349127B2 (ja) | 1998-07-24 | 2002-11-20 | 株式会社東芝 | Cdma移動端末装置 |
| JP4177924B2 (ja) | 1998-08-17 | 2008-11-05 | 富士通株式会社 | 無線通信システム並びに無線通信システムに使用される移動局及び無線通信システムに使用される基地局並びに無線通信システムにおけるパケット送信方法 |
| US6522873B1 (en) * | 1999-12-30 | 2003-02-18 | Samsung Electronics Co., Ltd. | System and method for changing a wireless mobile station between slotted mode operation and non-slotted mode operation |
| US6625467B2 (en) | 2000-07-13 | 2003-09-23 | Qualcomm, Incorporated | Method and apparatus for performing idle mode reacquisition and handoff in an asynchronous communication system |
| KR100338661B1 (ko) * | 2000-08-18 | 2002-07-13 | 윤종용 | 무선 패킷 데이터시스템의 도먼트상태 관리장치 및 방법 |
| KR100375541B1 (ko) * | 2000-11-11 | 2003-03-10 | 엘지전자 주식회사 | 이동통신 시스템의 패킷 도먼트 핸드오프 방법 |
| JP2002199428A (ja) | 2000-12-27 | 2002-07-12 | Toshiba Corp | 移動通信端末装置とそのハンドオーバ制御方法及び制御プログラム |
| US7136845B2 (en) * | 2001-07-12 | 2006-11-14 | Microsoft Corporation | System and method for query refinement to enable improved searching based on identifying and utilizing popular concepts related to users' queries |
| US7327704B2 (en) * | 2001-10-03 | 2008-02-05 | Motorola, Inc. | Method and apparatus for facilitating dormant mode, packet data mobile handoffs |
| US7558226B2 (en) * | 2001-11-16 | 2009-07-07 | Qualcomm Incorporated | Performing an idle mode handoff in a wireless communication device |
| JP3886795B2 (ja) * | 2001-12-10 | 2007-02-28 | 株式会社エヌ・ティ・ティ・ドコモ | 移動通信システム、移動通信方法、移動端末及び通信基地局 |
| KR100594140B1 (ko) * | 2002-04-13 | 2006-06-28 | 삼성전자주식회사 | 무선통신시스템의 패킷 데이터 서비스 방법 |
| US7551613B2 (en) * | 2002-09-06 | 2009-06-23 | Motorola, Inc. | Method of supporting reactivation of a dormant session using stored service configurations |
| US7110377B2 (en) * | 2002-10-10 | 2006-09-19 | Qualcomm Incorporated | Dormant handoff in a packet data network |
| JP4206742B2 (ja) * | 2002-12-12 | 2009-01-14 | 日本電気株式会社 | 無線制御装置及びそれを用いた移動通信システム並びにその動作制御方法 |
| KR100483007B1 (ko) * | 2002-12-24 | 2005-04-18 | 한국전자통신연구원 | 차세대 이동통신 시스템에서의 핸드오버 방법 |
| KR20050024125A (ko) * | 2003-09-04 | 2005-03-10 | 삼성전자주식회사 | 광대역 무선 접속 통신 시스템에서 핸드오버를 고려한모드 천이 방법 |
| KR100567211B1 (ko) * | 2003-12-11 | 2006-04-03 | 한국전자통신연구원 | 직교주파수분할 다중접속에서의 임의 접속용 데이터 전송시스템 및 그 방법 |
| BRPI0506473A (pt) * | 2004-01-08 | 2007-02-06 | Sk Telecom Co Ltd | sistema para serviço de pacote de dados em rede mista de rede de comunicação assìncrona e de rede de comunicação sìncrona e método de transmissão do mesmo |
| CA2557267C (en) * | 2004-03-01 | 2013-04-23 | Kraft Foods Holdings, Inc. | Multi-purpose food preparation kit |
| US7359353B2 (en) * | 2004-04-21 | 2008-04-15 | Motorola, Inc. | Access network and method for improved inter-PDSN dormant mode handoff |
| JP4396379B2 (ja) * | 2004-04-23 | 2010-01-13 | 日本電気株式会社 | 受信ダイバーシティシステムおよびその制御方法 |
| US7558222B2 (en) * | 2004-05-27 | 2009-07-07 | Samsung Electronics Co., Ltd. | System and method for sending IP packets to a mobile station transitioning from dormant state to active state |
| KR100893860B1 (ko) * | 2004-06-10 | 2009-04-20 | 엘지전자 주식회사 | 광대역 무선 접속 시스템에 적용되는 핸드오버 수행 방법및 핸드오버 실패시 통신 재개 방법 |
| JP4735145B2 (ja) * | 2004-10-18 | 2011-07-27 | ソニー株式会社 | 無線通信システム,無線通信装置,およびコンピュータプログラム |
| JP4181107B2 (ja) * | 2004-11-25 | 2008-11-12 | 株式会社カシオ日立モバイルコミュニケーションズ | ハンドオフ制御方法及び移動通信端末 |
| WO2006122495A1 (en) * | 2005-05-16 | 2006-11-23 | Huawei Technologies Co., Ltd. | A method for switch between the activation status ans in hrpd network and the system thereof |
| US7647078B2 (en) * | 2006-03-07 | 2010-01-12 | Samsung Electronics Co., Ltd. | Power-saving method for wireless sensor network |
| US8064401B2 (en) * | 2006-07-14 | 2011-11-22 | Qualcomm Incorporated | Expedited handoff |
| US7869837B2 (en) * | 2006-12-13 | 2011-01-11 | Nokia Corporation | System and method for implementing mobile IP node lossless transition from an idle state to an awake state |
| US7710987B2 (en) * | 2006-12-14 | 2010-05-04 | Motorola, Inc. | Efficient transitions between operating states in a communication network |
-
2007
- 2007-01-22 CA CA2938591A patent/CA2938591A1/en not_active Abandoned
- 2007-01-22 EP EP12184272.8A patent/EP2542014A3/en not_active Withdrawn
- 2007-01-22 EP EP13155887.6A patent/EP2597928B1/en active Active
- 2007-01-22 ES ES13155887.6T patent/ES2573307T3/es active Active
- 2007-01-22 KR KR1020117006516A patent/KR101098143B1/ko active Active
- 2007-01-22 EP EP07707141.3A patent/EP2129138B1/en active Active
- 2007-01-22 WO PCT/JP2007/050878 patent/WO2008090592A1/ja not_active Ceased
- 2007-01-22 KR KR1020117006517A patent/KR101098089B1/ko active Active
- 2007-01-22 EP EP12184271.0A patent/EP2542013A3/en not_active Withdrawn
- 2007-01-22 JP JP2008554918A patent/JP4690467B2/ja active Active
- 2007-01-22 CN CN2007800499963A patent/CN101589643B/zh active Active
- 2007-01-22 CA CA002674748A patent/CA2674748A1/en not_active Abandoned
- 2007-01-22 KR KR1020097015680A patent/KR101042502B1/ko active Active
- 2007-01-22 AU AU2007344826A patent/AU2007344826B2/en not_active Ceased
- 2007-01-22 ES ES07707141.3T patent/ES2535834T3/es active Active
-
2009
- 2009-06-29 US US12/493,817 patent/US8170029B2/en active Active
-
2011
- 2011-03-22 RU RU2011110835/07A patent/RU2482627C2/ru active
- 2011-03-22 RU RU2011110879/07A patent/RU2469503C2/ru active
- 2011-03-22 RU RU2011110832/07A patent/RU2482626C2/ru active
-
2012
- 2012-01-30 US US13/361,281 patent/US20120129455A1/en not_active Abandoned
- 2012-10-02 RU RU2012141987/07A patent/RU2521601C2/ru active
- 2012-10-02 RU RU2012142021/07A patent/RU2521603C2/ru active
- 2012-10-02 RU RU2012142018/07A patent/RU2012142018A/ru not_active Application Discontinuation
Patent Citations (3)
| Publication number | Priority date | Publication date | Assignee | Title |
|---|---|---|---|---|
| RU2210867C2 (ru) * | 1998-07-28 | 2003-08-20 | Самсунг Электроникс Ко., Лтд. | Стробированная передача в состоянии поддержки управления в системе связи множественного доступа с кодовым разделением каналов |
| US20040043798A1 (en) * | 2002-08-27 | 2004-03-04 | Messay Amerga | Idle mode cell reacquisition and reselection |
| US20050221827A1 (en) * | 2004-03-30 | 2005-10-06 | Nec Corporation | Mobile station, radio communication establishing method and its radio communication system |
Non-Patent Citations (1)
| Title |
|---|
| PANASONIC (EMAIL RAPPORTEUR), R2-070099, Summary of email discussion on DRX in LTE_ACTIVE, 3GPP TSG WG2#5 6bis, 19.01.2007, (найдено 25.06.2012), найдено в Интернет http://www.3gpp.org/ ftp/tsg_ran/WG2_RL2/TSGR2_56bis/Documents/. * |
Cited By (7)
| Publication number | Priority date | Publication date | Assignee | Title |
|---|---|---|---|---|
| RU2710665C1 (ru) * | 2015-12-31 | 2019-12-30 | Хуавэй Текнолоджиз Ко., Лтд. | Способ управления мобильностью, пользовательское оборудование и базовая станция |
| RU2721232C2 (ru) * | 2015-12-31 | 2020-05-18 | Хуавэй Текнолоджиз Ко., Лтд. | Способ управления мобильностью, пользовательское оборудование и базовая станция |
| US10708971B2 (en) | 2015-12-31 | 2020-07-07 | Huawei Technologies Co., Ltd. | Mobility management method, user equipment, storage node, and base station |
| US11178583B2 (en) | 2015-12-31 | 2021-11-16 | Huawei Technologies Co., Ltd. | Mobility management method for low overhead state |
| US11589272B2 (en) | 2015-12-31 | 2023-02-21 | Huawei Technologies Co., Ltd. | Mobility management method, terminal, and base station |
| US12192833B2 (en) | 2015-12-31 | 2025-01-07 | Huawei Technologies Co., Ltd. | Mobility management method for low overhead state |
| US12335793B2 (en) | 2015-12-31 | 2025-06-17 | Huawei Technologies Co., Ltd. | Mobility management method, terminal, and base station |
Also Published As
Similar Documents
| Publication | Publication Date | Title |
|---|---|---|
| RU2521603C2 (ru) | Система прерывистой связи, устройство базовой станции и устройство мобильной станции | |
| RU2390938C2 (ru) | Способ и устройство для выполнения процедуры временной синхронизации восходящей линии связи при передаче обслуживания в системе мобильной связи | |
| KR101821264B1 (ko) | 이동통신시스템에서 복수개의 캐리어가 집적된 단말기의 라디오링크 실패 탐지 및 복구 방법 | |
| JP4479307B2 (ja) | 無線通信端末及びその無線通信早期確立方法 | |
| US8917642B2 (en) | Station, station control method, and station control program | |
| CN105657861A (zh) | 一种ue的管理方法、ue及基站 | |
| JPWO2008123206A1 (ja) | 無線基地局及び無線通信方法 | |
| US20250081099A1 (en) | Power saving for mobile devices in wireless communication systems | |
| EP4344114B1 (en) | Pdcch monitoring method and apparatus, and device and storage medium | |
| US20100054166A1 (en) | Apparatus and method for controlling idle mode of mobile station in a wireless communication system | |
| US20240284323A1 (en) | Ue mobility handling in the presence of nes cells | |
| RU2420035C2 (ru) | Система прерывистой связи, устройство базовой станции и устройство мобильной станции | |
| CN109474941B (zh) | 配置及获取中断时延的方法、基站、用户设备及可读介质 | |
| CN102685925B (zh) | 间歇通信系统的方法、通信系统和移动站装置 | |
| CN120201522A (zh) | 通信方法及装置、计算机可读存储介质 | |
| KR101878308B1 (ko) | 이동통신시스템에서 복수개의 캐리어가 집적된 단말기의 라디오링크 실패 탐지 및 복구 방법 | |
| CN102497676A (zh) | 间歇通信系统的方法 |