RU2461503C2 - Клапанное удерживающее кольцевое устройство - Google Patents
Клапанное удерживающее кольцевое устройство Download PDFInfo
- Publication number
- RU2461503C2 RU2461503C2 RU2009131458/12A RU2009131458A RU2461503C2 RU 2461503 C2 RU2461503 C2 RU 2461503C2 RU 2009131458/12 A RU2009131458/12 A RU 2009131458/12A RU 2009131458 A RU2009131458 A RU 2009131458A RU 2461503 C2 RU2461503 C2 RU 2461503C2
- Authority
- RU
- Russia
- Prior art keywords
- holding
- retaining
- valve
- ring
- wall
- Prior art date
Links
- 238000007789 sealing Methods 0.000 claims description 47
- 238000013461 design Methods 0.000 claims description 7
- 230000003993 interaction Effects 0.000 claims description 4
- 238000004891 communication Methods 0.000 claims description 3
- 230000014759 maintenance of location Effects 0.000 claims description 2
- 238000010276 construction Methods 0.000 claims 1
- 239000000126 substance Substances 0.000 abstract description 7
- 239000000463 material Substances 0.000 description 8
- 238000000034 method Methods 0.000 description 4
- 229920002379 silicone rubber Polymers 0.000 description 4
- 239000004945 silicone rubber Substances 0.000 description 4
- 229910052623 talc Inorganic materials 0.000 description 4
- 235000012222 talc Nutrition 0.000 description 4
- 239000000454 talc Substances 0.000 description 4
- 230000008901 benefit Effects 0.000 description 3
- 239000007788 liquid Substances 0.000 description 3
- 230000004048 modification Effects 0.000 description 3
- 238000012986 modification Methods 0.000 description 3
- 238000000465 moulding Methods 0.000 description 3
- 230000002093 peripheral effect Effects 0.000 description 3
- PPBRXRYQALVLMV-UHFFFAOYSA-N Styrene Chemical compound C=CC1=CC=CC=C1 PPBRXRYQALVLMV-UHFFFAOYSA-N 0.000 description 2
- 229920004482 WACKER® Polymers 0.000 description 2
- 238000004519 manufacturing process Methods 0.000 description 2
- 230000007246 mechanism Effects 0.000 description 2
- 230000008569 process Effects 0.000 description 2
- -1 such as a synthetic Polymers 0.000 description 2
- 229920001169 thermoplastic Polymers 0.000 description 2
- 239000012815 thermoplastic material Substances 0.000 description 2
- 229920001187 thermosetting polymer Polymers 0.000 description 2
- 238000004140 cleaning Methods 0.000 description 1
- 230000000295 complement effect Effects 0.000 description 1
- FPAFDBFIGPHWGO-UHFFFAOYSA-N dioxosilane;oxomagnesium;hydrate Chemical compound O.[Mg]=O.[Mg]=O.[Mg]=O.O=[Si]=O.O=[Si]=O.O=[Si]=O.O=[Si]=O FPAFDBFIGPHWGO-UHFFFAOYSA-N 0.000 description 1
- 229920001971 elastomer Polymers 0.000 description 1
- 239000000806 elastomer Substances 0.000 description 1
- 238000005516 engineering process Methods 0.000 description 1
- 239000012530 fluid Substances 0.000 description 1
- 239000000499 gel Substances 0.000 description 1
- 229910052736 halogen Inorganic materials 0.000 description 1
- 150000002367 halogens Chemical class 0.000 description 1
- 238000003780 insertion Methods 0.000 description 1
- 230000037431 insertion Effects 0.000 description 1
- 238000009434 installation Methods 0.000 description 1
- 230000013011 mating Effects 0.000 description 1
- 239000012528 membrane Substances 0.000 description 1
- 229920001296 polysiloxane Polymers 0.000 description 1
- 238000012545 processing Methods 0.000 description 1
- 230000004044 response Effects 0.000 description 1
- 239000000725 suspension Substances 0.000 description 1
- 229920002725 thermoplastic elastomer Polymers 0.000 description 1
- 239000004634 thermosetting polymer Substances 0.000 description 1
- 239000004416 thermosoftening plastic Substances 0.000 description 1
Images
Classifications
-
- B—PERFORMING OPERATIONS; TRANSPORTING
- B65—CONVEYING; PACKING; STORING; HANDLING THIN OR FILAMENTARY MATERIAL
- B65D—CONTAINERS FOR STORAGE OR TRANSPORT OF ARTICLES OR MATERIALS, e.g. BAGS, BARRELS, BOTTLES, BOXES, CANS, CARTONS, CRATES, DRUMS, JARS, TANKS, HOPPERS, FORWARDING CONTAINERS; ACCESSORIES, CLOSURES, OR FITTINGS THEREFOR; PACKAGING ELEMENTS; PACKAGES
- B65D47/00—Closures with filling and discharging, or with discharging, devices
- B65D47/04—Closures with discharging devices other than pumps
- B65D47/20—Closures with discharging devices other than pumps comprising hand-operated members for controlling discharge
- B65D47/2018—Closures with discharging devices other than pumps comprising hand-operated members for controlling discharge comprising a valve or like element which is opened or closed by deformation of the container or closure
- B65D47/2031—Closures with discharging devices other than pumps comprising hand-operated members for controlling discharge comprising a valve or like element which is opened or closed by deformation of the container or closure the element being formed by a slit, narrow opening or constrictable spout, the size of the outlet passage being able to be varied by increasing or decreasing the pressure
-
- B—PERFORMING OPERATIONS; TRANSPORTING
- B65—CONVEYING; PACKING; STORING; HANDLING THIN OR FILAMENTARY MATERIAL
- B65D—CONTAINERS FOR STORAGE OR TRANSPORT OF ARTICLES OR MATERIALS, e.g. BAGS, BARRELS, BOTTLES, BOXES, CANS, CARTONS, CRATES, DRUMS, JARS, TANKS, HOPPERS, FORWARDING CONTAINERS; ACCESSORIES, CLOSURES, OR FITTINGS THEREFOR; PACKAGING ELEMENTS; PACKAGES
- B65D47/00—Closures with filling and discharging, or with discharging, devices
- B65D47/04—Closures with discharging devices other than pumps
- B65D47/06—Closures with discharging devices other than pumps with pouring spouts or tubes; with discharge nozzles or passages
- B65D47/08—Closures with discharging devices other than pumps with pouring spouts or tubes; with discharge nozzles or passages having articulated or hinged closures
- B65D47/0804—Closures with discharging devices other than pumps with pouring spouts or tubes; with discharge nozzles or passages having articulated or hinged closures integrally formed with the base element provided with the spout or discharge passage
- B65D47/0809—Closures with discharging devices other than pumps with pouring spouts or tubes; with discharge nozzles or passages having articulated or hinged closures integrally formed with the base element provided with the spout or discharge passage and elastically biased towards both the open and the closed positions
Landscapes
- Engineering & Computer Science (AREA)
- Mechanical Engineering (AREA)
- Closures For Containers (AREA)
- Devices For Dispensing Beverages (AREA)
- Check Valves (AREA)
- Containers And Packaging Bodies Having A Special Means To Remove Contents (AREA)
Abstract
Клапанное кольцевое удерживающее устройство для использования с укупорочным средством контейнера содержит удерживающее кольцо с дозирующим каналом, множество отдельных удерживающих кромок и множество удерживающих полостей. Дозирующий канал образован стенкой, имеющей верхний участок. Каждая из множества удерживающих кромок расположена смежно с верхним участком стенки. Каждая из множества удерживающих полостей образована, по меньшей мере частично, верхним участком стенки и одной из множества удерживающих кромок. Удерживающее кольцо является единой конструкцией. Клапанное кольцевое удерживающее устройство содержит также клапан, расположенный, по меньшей мере частично, в пределах удерживающего кольца и имеющий дозирующий участок и участок удерживания. По меньшей мере часть участка удерживания расположена по существу в пределах множества удерживающих полостей. Предусмотрен вариант выполнения такого устройства и укупорочное средство для отверстия контейнера. Изобретение направлено на обеспечение скоростной сборки устройства без привлечения дополнительного оборудования. 4 н. и 4 з.п. ф-лы, 30 ил.
Description
ОБЛАСТЬ ТЕХНИКИ
Данное изобретение относится к компонентам укупорочного средства для контейнера. Точнее изобретение относится к клапану и удерживающему кольцу, которые выполнены с возможностью вставки в корпус укупорочного средства.
ПРЕДПОСЫЛКИ СОЗДАНИЯ ИЗОБРЕТЕНИЯ И ТЕХНИЧЕСКИЕ ПРОБЛЕМЫ, ВОЗНИКШИЕ В ПРЕДШЕСТВУЮЩЕМ УРОВНЕ ТЕХНИКИ
Контейнеры и укупорочные средства могут быть использованы для дозирования широкого разнообразия веществ, таких как жидкости, гели, суспензии и т.п., из контейнера, которые известны специалистам в данной области техники. Было известно использование укупорочных средств с приводимыми в действие давлением упругими клапанами щелевого типа для дозирования содержавшегося вещества, в то время, когда к контейнеру приложено давление. Также известно использование удерживающих колец, таким образом, что клапан может быть вставлен в удерживающее кольцо, чтобы образовать предварительно собранное кольцевое удерживающее устройство, которое может быть затем вставлено в укупорочное средство (например, см. патент US №5531363). Такая предварительно собранная конструкция может быть предпочтительной для производственных процессов, поскольку кольцевое удерживающее устройство может быть собрано в месте, отличном от места завершающей сборки укупорочного средства на контейнере.
Однако известные кольцевые удерживающие устройства имеют недостатки. В частности, для кольцевых удерживающих устройств в общем необходимы дополнительные вещества, такие как тальк, чтобы облегчить вставку клапана в кольцевое удерживающее устройство. Тальк используется потому, что клапан должен быть сжат в определенной ориентации в удерживающем кольце таким образом, что клапан удержан в пределах удерживающего кольца. Эти вещества могут создавать неудобства для механизмов, используемых в сборочном процессе, так как часто требуется разборка, очистка и/или замена механизмов из-за веществ, подобных тальку.
Альтернативно, клапаны могут быть вставлены в удерживающие кольца с использованием меньшего количества талька, но при этом требуется дополнительная технологическая операция, посредством которой участок удерживающего кольца обжимается над верхней частью клапана, чтобы удерживать клапан в удерживающем кольце. Эти дополнительные технологические операции также замедляют производственный процесс и требуют дополнительного оборудования.
СУЩНОСТЬ ИЗОБРЕТЕНИЯ
Выгода и преимущества, описанные выше, осуществлены посредством настоящего изобретения, которое обеспечивает клапанное кольцевое удерживающее устройство для использования с укупорочным средством контейнера. Клапанное кольцевое удерживающее устройство содержит удерживающее кольцо и клапан. Удерживающее кольцо представляет собой единую конструкцию и содержит дозирующий канал, множество отдельных удерживающих кромок и множество удерживающих полостей. Дозирующий канал образован стенкой, имеющей верхний участок. Каждая из множества удерживающих кромок расположена смежно с верхним участком стенки. Каждая из множества удерживающих полостей образована, по меньшей мере частично, верхним участком стенки и одной из множества удерживающих кромок. Клапан расположен, по меньшей мере частично, в пределах удерживающего кольца и содержит дозирующий участок и участок удерживания. По меньшей мере часть удерживающего участка расположен по существу в пределах множества удерживающих полостей.
В одном варианте осуществления обеспечено укупорочное средство для отверстия контейнера. Укупорочное средство содержит полый корпус и клапанное кольцевое удерживающее устройство. Полый корпус может входить в зацепление по окружности отверстия с контейнером и имеет дозирующее отверстие для сообщения с отверстием контейнера. Клапанное кольцевое удерживающее устройство расположено в пределах корпуса смежно с дозирующим отверстием и имеет удерживающее кольцо и клапан. Удерживающее кольцо представляет собой единую конструкцию и содержит дозирующий канал, множество раздельных удерживающих кромок и множество удерживающих полостей. Дозирующий канал образован стенкой, имеющей верхний участок. Каждая из множества удерживающих кромок расположена смежно с верхним участком стенки. Каждая удерживающая полость образована, по меньшей мере частично, верхним участком стенки и одной из множества удерживающих кромок. Клапан расположен, по меньшей мере частично, в пределах удерживающего кольца и содержит дозирующий участок и участок удерживания. По меньшей мере часть удерживающего участка расположена по существу в пределах множества удерживающих полостей.
В другом варианте осуществления обеспечено клапанное кольцевое удерживающее устройство для использования с укупорочным средством контейнера. Клапанное кольцевое удерживающее устройство содержит удерживающее кольцо и клапан. Удерживающее кольцо представляет собой единую конструкцию и содержит дозирующий канал, по меньшей мере одну удерживающую кромку и по меньшей мере одну удерживающую полость. Дозирующий канал образован стенкой, имеющей верхний участок. По меньшей мере одна удерживающая кромка расположена смежно с верхним участком стенки. По меньшей мере одна удерживающая полость образована, по меньшей мере частично, верхним участком стенки и по меньшей мере одной удерживающей кромкой. Клапан расположен, по меньшей мере частично, в пределах удерживающего кольца и содержит дозирующий участок и участок удерживания. Участок удерживания имеет уплотняющую поверхность укупорочного средства и уплотняющую поверхность удерживающего кольца. По меньшей мере часть удерживающего участка расположена в пределах по меньшей мере одной удерживающей полости.
Согласно еще одному варианту осуществления обеспечено укупорочное средство для отверстия контейнера. Укупорочное средство содержит полый корпус и клапанное кольцевое удерживающее устройство. Полый корпус входит в зацепление с контейнером по окружности отверстия и имеет дозирующее отверстие для сообщения с отверстием контейнера. Клапанное кольцевое удерживающее устройство расположено в пределах корпуса смежно с дозирующим отверстием и имеет удерживающее кольцо и клапан. Удерживающее кольцо представляет собой единую конструкцию и содержит дозирующий канал, по меньшей мере одну удерживающую кромку и по меньшей мере одну удерживающую полость. Дозирующий канал образован стенкой, имеющей верхний участок. По меньшей мере одна удерживающая кромка расположена смежно с верхним участком стенки. По меньшей мере одна удерживающая полость образована, по меньшей мере частично, верхним участком стенки и по меньшей мере одной удерживающей кромкой. Клапан расположен, по меньшей мере частично, в пределах удерживающего кольца и содержит дозирующий участок и участок удерживания. Участок удерживания имеет уплотняющую поверхность укупорочного средства, уплотняющую поверхность удерживающего кольца и выступающий участок, расположенный между уплотняющей поверхностью укупорочного средства и уплотняющей поверхностью удерживающего кольца. По меньшей мере часть удерживающего участка расположена в пределах по меньшей мере одной удерживающей полости.
В соответствии с одним вариантом осуществления удерживающее кольцо содержит две раздельные удерживающие кромки.
В одном варианте осуществления удерживающие кромки расположены противоположно на удерживающем кольце.
В соответствии с одним вариантом осуществления верхний участок стенки удерживающего кольца косвенно соединен со множеством удерживающих кромок посредством перемычки.
В одном варианте осуществления верхний участок стенки в общем является усеченно-коническим.
Согласно одному варианту осуществления участок удерживания клапана является эластичным для облегчения сборки.
Согласно одному варианту осуществления клапан свободно удерживается в удерживающих полостях.
В одном варианте осуществления по меньшей мере часть удерживающего участка содержит наружный выступающий участок с углублением.
Согласно одному варианту осуществления уплотняющая поверхность укупорочного средства является обращенной вверх усеченно-конической поверхностью для взаимодействия с укупорочным средством, и уплотняющая поверхность удерживающего кольца является обращенной вниз усеченно-конической поверхностью для взаимодействия с удерживающим кольцом.
В соответствии с одним вариантом осуществления укупорочное средство дополнительно содержит по меньшей мере одну удерживающую кромку укупорочного средства, расположенную на полом корпусе, чтобы удержать клапанное кольцевое удерживающее устройство, смежное с полым корпусом.
В одном варианте осуществления укупорочное средство дополнительно содержит уплотняющую поверхность выпускного отверстия, где клапан зажат между уплотняющей поверхностью выпускного отверстия и верхним участком стенки.
Другие многочисленные преимущества и признаки настоящего изобретения станут наиболее очевидными из последующего подробного описания изобретения, из пунктов формулы изобретения и сопровождающих чертежей.
КРАТКОЕ ОПИСАНИЕ ЧЕРТЕЖЕЙ
Сопроводительные чертежи образуют часть описания, и одинаковые ссылочные позиции используются для обозначения одинаковых деталей по всему описанию.
В сопроводительных чертежах, которые являются частью описания, одинаковые ссылочные позиции используются для обозначения одинаковых деталей по всему описанию.
Фиг.1 - вид сбоку укупорочного средства и первый вариант осуществления удерживающего кольцевого устройства настоящего изобретения с участком, вырезанным, чтобы показать внутренние детали;
Фиг.2 - вид сверху в перспективе удерживающего кольца до сборки с другими компонентами, изображенными на Фиг.1;
Фиг.3 - вид сверху удерживающего кольца согласно Фиг.2;
Фиг.4 - вид с сечением по линии 4-4 удерживающего кольца согласно Фиг.3;
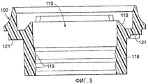
Фиг.5 - вид с сечением по линии 5-5 удерживающего кольца согласно Фиг.3;
Фиг.6 - вид сверху в перспективе клапана для использования с удерживающим кольцом, как показано на Фиг.1;
Фиг.7 - вид сбоку клапана согласно Фиг.6;
Фиг.8 - вид сверху в перспективе собранного кольцевого удерживающего устройства, которое содержит удерживающее кольцо согласно Фиг.2-5 и клапан согласно Фиг.6-7;
Фиг.9 - вид сверху собранного кольцевого удерживающего устройства согласно Фиг.8;
Фиг.10 - вид с сечением по линии 10-10 собранного кольцевого удерживающего устройства согласно Фиг.9;
Фиг.11 - вид с сечением по линии 11-11 собранного кольцевого удерживающего устройства согласно Фиг.9;
Фиг.12 - вид сбоку укупорочного средства и второй вариант осуществления удерживающего кольцевого устройства настоящего изобретения с участком, вырезанным, чтобы показать внутренние детали;
Фиг.13 - вид сверху в перспективе второго варианта осуществления удерживающего кольца до сборки с другими компонентами, изображенными на Фиг.12;
Фиг.14 - вид сверху удерживающего кольца согласно Фиг.13;
Фиг.15 - вид с сечением по линии 15-15 удерживающего кольца согласно Фиг.14;
Фиг.16 - вид с сечением по линии 16-16 удерживающего кольца согласно Фиг.14;
Фиг.17 - вид сверху в перспективе второго варианта осуществления клапана для использования со вторым вариантом осуществления удерживающего кольца, изображенного на Фиг.12;
Фиг.18 - боковой вид клапана согласно Фиг.17;
Фиг.19 - вид сверху в перспективе собранного кольцевого удерживающего устройства, которое содержит удерживающее кольцо согласно Фиг.13-16 и клапан согласно Фиг.17-18;
Фиг.20 - вид сверху собранного кольцевого удерживающего устройства согласно Фиг.19;
Фиг.21 - вид с сечением по линии 21-21 собранного кольцевого удерживающего устройства согласно Фиг.20;
Фиг.22 - вид с сечением по линии 22-22 собранного кольцевого удерживающего устройства согласно Фиг.20;
Фиг.23 - вид в перспективе сверху третьего варианта осуществления удерживающего кольца до сборки с другими компонентами;
Фиг.24 - вид сверху удерживающего кольца согласно Фиг.23;
Фиг.25 - вид с сечением по линии 26-26 удерживающего кольца согласно Фиг.24;
Фиг.26 - вид с сечением по линии 26-26 удерживающего кольца согласно Фиг.24;
Фиг.27 - вид в перспективе сверху собранного кольцевого удерживающего устройства, которое содержит удерживающее кольцо согласно Фиг.23-26 и клапан согласно Фиг.17-18;
Фиг.28 - вид сверху собранного кольцевого удерживающего устройства согласно Фиг.27;
Фиг.29 - вид с сечением по линии 29-29 собранного кольцевого удерживающего устройства согласно Фиг.28; и
Фиг.30 - вид с сечением по линии 30-30 собранного кольцевого удерживающего устройства согласно Фиг.28.
ПОДРОБНОЕ ОПИСАНИЕ ПРЕДПОЧТИТЕЛЬНЫХ ВАРИАНТОВ ОСУЩЕСТВЛЕНИЯ
В то время, как данное изобретение допускает множество различных вариантов осуществления, это описание и сопроводительные чертежи раскрывают только некоторые определенные варианты осуществления в качестве примеров изобретения. Однако изобретение не ограничено описанными здесь вариантами осуществления. Объем изобретения определен в прилагаемых пунктах формулы изобретения.
Должно быть очевидным, что конструкция, описанная ниже, может быть выполнена так, чтобы иметь возможность применения с контейнером для выдачи большого разнообразия веществ. Однако настоящее описание и соответствующие чертежи не показывают такой контейнер, так как контейнеры, известные специалистам в данной области техники, могут быть легко приспосабливаемы к конструкции, описанной ниже.
Укупорочное средство 36 приспособлено, чтобы быть установленным на контейнере (не показан) с резьбовой системой зацепления. Для этого контейнер обычно содержит обычную резьбу, чтобы осуществить сцепление резьбового соединения с укупорочным средством 36.
Как показано на Фиг.1, укупорочное средство 36 содержит корпус укупорочного средства или основание 46 и крышку 70, шарнирно соединенную с корпусом 46. Корпус 46 имеет периферийную юбку 48, свисающую вниз от панели 50. Центр панели 50 соединен с выступающей вверх горловиной 52, которая образует дозирующее отверстие 54. Горловина 52 образована кольцевой стенкой 55 горловины, которая проходит вниз от панели 50 и имеет уплотняющую поверхность 56 горловины в виде усеченного конуса.
Укупорочное средство 36 имеет внутреннюю поверхность, на которой может быть обеспечена резьба (не показана) для резьбового сцепления с резьбой контейнера. Укупорочное средство 36 может быть установлено на контейнере с другими системами прикрепления, такими как взаимодействующие, разъемные кромки или кромки и углубления, так, чтобы удержать укупорочное средство 36 и контейнер вместе в герметичном состоянии.
Как показано на Фиг.1, укупорочное средство 36 содержит приводимый в действие давлением эластичный клапан 60 щелевого типа в удерживающем кольце 100. Вместе с клапаном 60 и удерживающим кольцом 100 оно содержит кольцевое удерживающее устройство 102, которое удерживается в корпусе 46 укупорочного средства посредством защелкивающейся системы, подробно описанной в дальнейшем.
Клапан 60 может быть известного типа, продаваемый в США компанией Liquid Molding Systems, Inc, 2202 Ridgewood Dr., Midland, Michigan 48642, USA, при этом периферия клапана 60 образована в соответствии с раскрытием настоящего изобретения, чтобы обеспечить установку клапана, как подробно описано в дальнейшем.
Изображенная особая форма клапана 60 сформована как единая конструкция из материала, который является гибким, упругим и эластичным. Он может содержать эластомеры, такие как синтетический, термореактивный полимер, включая силиконовый каучук, такой как силиконовый каучук, продаваемый в США Dow Corning Corp. под торговым названием D.С.99-595-НС. Другой подходящий силиконовый каучуковый материал продается в США Wacker Silicone Company под названием Wacker 3003-40. Оба эти материала имеют степень твердости 40 ед. по Шору А. Клапан 60 мог бы также быть сформован из других термореактивных материалов или из других эластомерных материалов, или из термопластичных полимеров или термопластичных эластомеров, включая материалы на основе термопластичного пропилена, этилена, уретана и стирола, включая их галогенпроизводные.
За исключением наиболее удаленного периферийного участка клапана 60, разработанная конфигурация клапана 60 и его рабочие характеристики по существу подобны конфигурации и рабочим характеристикам клапана, обозначенного ссылочной позицией 3b в патенте US №5409144. Описание этого патента во всей полноте включено в данное описание посредством ссылки и не противоречит ему.
Клапан 60 содержит дозирующий участок с углублением или центральную головку 120 (Фиг.6-11), которая является гибкой и вогнута наружу (если смотреть снаружи клапана 60, когда клапан 60 установлен в горловине 52). Головка 120 образует две взаимно перпендикулярных пересекающихся щели 121 (Фиг.6) равной длины, проходящих через головку 120, чтобы образовать обычно самогерметизирующееся закрытое отверстие. Пересекающиеся щели образуют в головке четыре, в общем имеющих форму секторов, створки или лепестка. Створки открываются наружу от точки перегиба щелей в ответ на увеличивающуюся разницу давлений достаточной величины известным способом, описанным в вышеупомянутом патенте US №5409144.
Клапан 60 имеет внутреннюю сторону для того, чтобы быть обращенным в общем к горловине 52, и внешнюю сторону для того, чтобы быть обращенным от горловины 52. Внутренняя сторона клапана 60 приспособлена, чтобы взаимодействовать с текучим продуктом в контейнере, и внешняя сторона клапана 60 взаимодействует с окружающей внешней атмосферой, когда крышка 70 открыта.
Клапан 60 содержит тонкую юбку, которая проходит аксиально и радиально наружу от центральной головки 120 клапана с углублением. Внешний концевой участок юбки завершается увеличенным, намного более толстым, периферическим выступом или участком 104 удерживания (Фиг.6, 7, 10 и 11), который имеет ступенчатое поперечное сечение и который вмещен удерживающим кольцом 100 (описано подробно в дальнейшем).
Когда клапан 60 должным образом расположен в удерживающем кольце 100 в горловине 52 с головкой 120 клапана в закрытом состоянии, головка 120 клапана углублена относительно конца горловины 52. Однако, когда головка 120 клапана выдавлена наружу из ее углубленного положения посредством достаточно большой разницы давления через клапан, клапан 60 открывается. Точнее после того, как крышка 70 укупорочного средства (описано подробно в дальнейшем) была открыта, и когда давление на внутреннюю сторону клапана 60 превышает внешнее давление окружающей среды на заданное значение, головка клапана выдавливается наружу из углубленного или вогнутого положения в выпуклое открытое положение (не показано).
Во время процесса открытия клапана головка 120 клапана первоначально перемещена наружу, при этом все еще сохраняя свое, в общем, вогнутое закрытое положение. Начальное направленное наружу перемещение вогнутой головки 120 вмещается относительно тонкой гибкой полой юбкой. Полая юбка перемещается от углубленного исходного положения к положению под давлением, в котором юбка проходит наружу к открытому концу горловины 52. Однако клапан 60 не открывается (т.е. щели не открываются), пока головка 120 клапана не переместится по существу полностью в полностью выдвинутое положение. Действительно, так как головка 120 клапана перемещается наружу, головка 120 клапана подвергнута внутри радиально направленным силам сжатия, которые имеют тенденцию далее сопротивляться открытию щелей. Далее головка 120 клапана в общем сохраняет свою наружно вогнутую конфигурацию, в то время как она перемещается вперед и даже после того, как мембрана достигает полностью выдвинутого положения. Однако, когда внутреннее давление становится достаточно большим по сравнению с внешним давлением, тогда щели в выдвинутой головке 120 клапана быстро открываются для выдачи продукта.
Как показано на Фиг.1, в предпочтительном варианте осуществления крышка 70 шарнирно соединена с корпусом 46 укупорочного средства с помощью самозапирающегося шарнира 72. Один вариант осуществления такого самозапирающегося шарнира 72 описан в патенте US 6321923.
Могут быть использованы другие типы замков. В некоторых применениях замок может быть опущен, и крышка 70 вообще не должна быть соединена с корпусом 46.
Как показано на Фиг.1, крышка 70 содержит по периферии юбку 74, которая свисает от верхней стенки 76. Выступающая часть внутри верхней стенки 76 представляет собой закупоривающий штырек 78, который имеет усеченно-коническую поверхность 80 с фаской. Внутренняя часть горловины 52 может быть охарактеризована как образующая первую уплотняющую кромку или поверхность 82 взаимодействия (Фиг.1). Штырек 78 крышки может быть охарактеризован как закрывающий элемент для закрывания горловины 52 и взаимодействия с первой уплотняющей кромкой горловины или поверхностью 82 взаимодействия.
Когда крышка 70 закрыта, удаленный конец штырька 78 располагается сразу над центральной головкой 120 клапана 60. Если упаковка будет подвергнута избыточному давлению, когда крышка 70 закрыта (такому, когда контейнер ударили или сжали), то восходящее, направленное наружу перемещение головки 120 клапана 60, вызванное таким внутренним избыточным давлением, будет ограничено сцеплением со штырьком 78 крышки так, чтобы предотвратить открытие клапана 60 внутри закрытой крышки 70.
Один вариант выполнения кольцевого удерживающего устройства 102 будет теперь описан ниже более подробно со ссылкой на Фиг.1-11. Кольцевое удерживающее устройство содержит удерживающее кольцо 100 и клапан 60. Удерживающее кольцо 100 содержит дозирующий канал 110, по меньшей мере одну удерживающую кромку 112 и по меньшей мере одну удерживающую полость 114. Как лучше видно на Фиг.2-5, изображенный вариант выполнения предпочтительно содержит две удерживающих кромки 112 и две удерживающих полости 114. Однако необходимо понимать, что число удерживающих кромок 112 и удерживающих полостей 114 может быть отрегулировано по требованию. Кроме того, удерживающие кромки 112 расположены по существу друг напротив друга на удерживающем кольце 100.
Дозирующий канал 110 образован стенкой 116, имеющей верхний участок 118. В варианте осуществления, изображенном на Фиг.4-5, верхний участок 118 стенки 116 является усеченно-коническим. Кроме того, нужно отметить, что стенка 116 может также содержать кромки 119, которые облегчают удержание кольца 100 на центральном элементе формовочного устройства, когда оно открыто после введения и достаточного охлаждения термопластичного материала. По меньшей мере одна удерживающая кромка 112 расположена смежно с верхним участком 118 стенки 116. По меньшей мере одна удерживающая полость 114 (Фиг.4) образована, по меньшей мере частично, верхним участком 118 стенки 116 и по меньшей мере одной удерживающей кромкой 112. Кроме того, как должно быть очевидно из Фиг.3-5, вариант выполнения удерживающего кольца 100, как показано, является единой конструкцией. В частности, в то время когда при поверхностном взгляде на Фиг.4 может показаться, что удерживающие кромки 112 отделены от стенки 116, из Фиг.5 должно быть очевидно, что удерживающие кромки 112, фактически, косвенно прикреплены к стенке 116 посредством перемычки 121 как единая конструкция.
Клапанное кольцевое удерживающее устройство 102 первоначально собрано посредством установки клапана 60 в удерживающее кольцо 100. Как можно видеть на Фиг.1, 7, 10 и 11, участок 104 удерживания клапана 60 имеет уплотняющую поверхность 124 укупорочного средства и уплотняющую поверхность 126 удерживающего кольца. Функция каждой из этих поверхностей 124 и 126 ниже будет обсуждена более подробно в части функционирования кольцевого удерживающего устройства 102 и укупорочного средства 36. Участок 104 удерживания клапана 60 может также содержать наружный углубленный выступающий участок 130 (Фиг.7, 10 и 11), который расположен между уплотняющей поверхностью 124 укупорочного средства и уплотняющей поверхностью 126 удерживающего кольца. Фактически функционирование клапана по выдаче содержимого контейнера было описано выше, и поэтому здесь обсуждено не будет.
Клапан 60 вставлен в удерживающее кольцо 100 таким образом, что уплотняющая поверхность 126 удерживающего кольца должна пройти мимо удерживающих кромок 112. Может потребоваться небольшая деформация удерживающего участка 104, чтобы позволить уплотняющей поверхности 126 удерживающего кольца пройти мимо удерживающих кромок 112. Это может быть легко осуществлено, если клапан 60 выполнен из силиконового каучука или другого деформируемого материала. После того как по меньшей мере часть удерживающего участка 104 минует удерживающие кромки 112, она будет расположена в пределах удерживающей полости 114, в то время как уплотняющая поверхность 126 удерживающего кольца будет расположена смежно с верхним участком 118 стенки 116 (Фиг.10 и 11). Уплотняющая поверхность 126 удерживающего кольца клапана 60 может контактировать с верхним участком 118, хотя в этом нет необходимости на этом этапе сборки. Выступающий участок 130 клапана будет расположен смежно с удерживающими кромками 112 удерживающего кольца, в то время как по меньшей мере часть уплотняющей поверхности 124 укупорочного средства клапана 60 останется выдвинутой относительно удерживающего кольца 100 и сопутствующих конструкций (Фиг.10 и 11). В то время как удерживающие кромки 112 изображены друг напротив друга, необходимо подразумевать, что клапан 60 не должен иметь определенной ориентации вокруг своей вертикальной оси в пределах удерживающего кольца 100, но, по требованию, он может быть ориентирован.
В одном варианте осуществления изобретения клапан 60 достаточно свободно вставлен в пределах удерживающего кольца 100, таким образом, что удерживающий участок 104 клапана не сжат удерживающими кромками 112. Как лучше всего видно из Фиг.10, имеется небольшой промежуток, расположенный между кромками 112 удерживающего кольца 100 и клапаном 60. Свободная вставка клапана 60 может быть использована для того, чтобы позволить более легкую сборку клапана 60 в пределах удерживающего кольца 100, и, таким образом, минимизировать, если не устранить, использование уменьшающих трение материалов, таких как тальк. Дополнительно не требуется, чтобы между клапаном 60 и удерживающим кольцом 100 находилось влагонепроницаемое уплотнение до вставки кольцевого удерживающего устройства 102 в корпус 46 укупорочного средства, поскольку никакая жидкость не будет дозироваться до завершения сборки элементов укупорочного средства.
На Фиг.1 также показано, что кольцевое удерживающее устройство 102 вставлено в укупорочное средство 36. Снаружи кольцевого удерживающего устройства 102 имеется кольцевой выступ 140 (Фиг.1, 10 и 11). Поскольку устройство 102 вставлено в корпус 46 укупорочного средства (со стороны нижнего края корпуса 46 укупорочного средства), выступ 140 контактирует с самозащелкивающейся кромкой 142 на конструкции зацепления или кольцевом выступе 144, расположенном на внутренней части корпуса 46 укупорочного средства. Поскольку кольцевое удерживающее устройство 102 проталкивается за кромку 142 корпуса укупорочного средства, выступ 140 контактирует с кромкой 142, таким образом, удерживая кольцевое удерживающее устройство 102 в пределах корпуса 46 укупорочного средства.
Как можно видеть на Фиг.1, как только кольцевое удерживающее устройство 102 полностью вставлено и удержано в пределах укупорочного средства 36, уплотняющая поверхность 56 горловины корпуса 46 укупорочного средства взаимодействует с уплотняющей поверхностью 124 укупорочного средства удерживающего участка 104 клапана, поскольку участок 104 удерживания клапана сжат. Дополнительно, удерживающее кольцо 100, через верхний участок 118 стенки 116, взаимодействует с уплотняющей поверхностью 126 удерживающего кольца удерживающего участка 104 клапана. Кроме того, должно быть очевидно, что поверхности 56, 124, 126, так же, как верхний участок 118 стенки 116, предпочтительно выполнены так, чтобы быть комплементарными. Точнее в одном предпочтительном варианте осуществления поверхности 56, 124, 126, так же, как и верхний участок 118 стенки 116, являются усеченно-коническими поверхностями, причем уплотняющая поверхность 124 укупорочного средства клапана 60 обращена наверх и уплотняющая поверхность 126 удерживающего кольца клапана 60 обращена вниз. Эти взаимодействия или зацепления между сопряженными поверхностями укупорочного средства 36, клапана 60 и удерживающего кольца 100 обеспечивают по существу влагонепроницаемое соединение, препятствующее утечке содержимого контейнера из соединения между укупорочным средством 36, клапаном 60 и удерживающим кольцом 100. В результате получившаяся собранная конструкция имеет участок 104 удерживания клапана 60, сжатый между уплотняющей поверхностью 56 горловины и верхним участком 118 стенки 116.
Другой вариант осуществления изображен на Фиг.12-22. Многие из конструкций, приведенных в этом варианте осуществления, подобны конструкциям, обсужденным ранее, и поэтому имеют те же самые ссылочные позиции. Однако некоторые из конструкций отличны и поэтому эти ссылочные позиции были изменены.
Кольцевое удерживающее устройство 202, содержащее клапан 260 и удерживающее кольцо 200, изображено вставленным в укупорочное средство 36 на Фиг.12. В этом варианте выполнения конструкции как клапана 260, так и удерживающего кольца 200 отличаются по сравнению с вышеописанным первым вариантом выполнения клапана 60 и удерживающего кольца 100, соответственно. Точнее участок 204 удерживания клапана 260 и удерживающие кромки 212 кольца 200 были изменены. Участок 204 удерживания лучше всего виден на Фиг.17, 18, 21 и 22. В этом варианте осуществления участок 204 удерживания клапана 260 имеет выступ 230, расположенный снаружи как уплотняющей поверхности 224 укупорочного средства, так и уплотняющей поверхности 226 удерживающего кольца, причем никакой участок клапана 260 не проходит над выступом 230. Дополнительно, как лучше всего видно на Фиг.14-15, удерживающие кромки 212 расположены вертикально выше на удерживающем кольце 200, чем удерживающие кромки 112 на удерживающем кольце 100 первого варианта осуществления (Фиг.4, 5).
Клапан 260 вставлен вниз в удерживающее кольцо 200 способом, подобным способу, объясненному выше относительно первого варианта осуществления, изображенного на Фиг.1-11, и это создает кольцевое удерживающее устройство 202 (Фиг.21 и 22). Выступ клапана 230 перемещен мимо удерживающих кромок 212, посредством чего удерживающие кромки 212 будут удерживать клапан 260 в пределах удерживающего кольца 200. Однако, как было выше объяснено для первого варианта осуществления, выступ 230 не должен взаимодействовать или быть сжат удерживающими кромками 212.
Кольцевое удерживающее устройство 202 вставлено в укупорочное средство 36 способом, подобным объясненному выше со ссылкой на первый вариант осуществления. Кольцевое удерживающее устройство 202 удерживается в пределах укупорочного средства 36 самозащелкивающимся зацеплением выступа 140 удерживающего кольца с кромкой 142 корпуса укупорочного средства (Фиг.12). Уплотняющая поверхность 224 укупорочного средства клапана 260 взаимодействует с уплотняющей поверхностью 256 горловины укупорочного средства 36, и уплотняющая поверхность 226 удерживающего кольца клапана 260 взаимодействует с верхним участком 118 стенки 116 удерживающего кольца 200.
Должно быть очевидно, что, в то время как варианты осуществления, описанные выше, раскрывают кромки 112 и 212, расположенные около верхней части соответствующих кольцевых удерживающих устройств 102 и 202, кромки 112 и 212 могут быть расположены ниже в кольцевых удерживающих устройствах 102 и 202, и внешняя периферия клапана 260 тогда должна иметь кольцевое углубление или выемку, или выступ, расположенные ниже, чтобы вместить расположенные ниже кромки.
Фиг.23 изображает третий вариант осуществления удерживающего кольца, которое может быть использовано, чтобы содержать в себе или удерживать клапан, такой как клапан 60, описанный выше со ссылкой на Фиг.17 и 18, в укупорочном средстве, таком как укупорочное средство 36, описанное выше со ссылкой на Фиг.12. Удерживающее кольцо, в общем, обозначено ссылочной позицией 200А на Фиг.23 и может быть рассмотрено как модификация второго варианта осуществления удерживающего кольца 200, описанного выше со ссылкой на Фиг.13. Модификация в третьем варианте осуществления удерживающего кольца 200А может быть, в общем, описана как использование четырех, расположенных по одной окружности, удерживающих кромок 212А вместо только двух удерживающих кромок 212, используемых во втором варианте осуществления удерживающего кольца 200, изображенного на Фиг.13.
Удерживающие кромки 212А расположены вокруг дозирующего канала 110 (Фиг.24). Как можно видеть на Фиг.25, под каждой удерживающей кромкой 212А имеется удерживающая полость 114.
Как видно на Фиг.25 и 26, дозирующий канал 110 образован стенкой 116, имеющей верхний участок 118. Стенка 116 также содержит кромки 119, которые облегчают удержание кольца 200А на центральном элементе формовочного устройства, когда форма открыта после того, как термопластический материал был введен и достаточно охлажден.
Верхний участок 118 стенки 116 является усеченно-коническим. Кромки 212А расположены смежно верхнему участку 118 стенки 116. Каждая удерживающая полость 114 образован, по меньшей мере частично, верхним участком 118 стенки 116 и одной удерживающей кромкой 212А. Кроме того, как очевидно из Фиг.23 и 26, удерживающее кольцо 200А является предпочтительно единой конструкцией. Точнее в то время как может показаться при поверхностном взгляде на Фиг.25, что удерживающие кромки 212А отделены от стенки 116, из Фиг.26 должно быть очевидно, что удерживающие кромки 212А, фактически, косвенно прикреплены к стенке 116 посредством перемычек 121 как единая конструкция.
Снаружи удерживающее кольцо 202А имеет проходящий наружу кольцевой выступ 140 (Фиг.23 и 26).
Клапан 260 вставлен в удерживающее кольцо 200А способом, подобным способу, объясненному выше со ссылкой на второй вариант осуществления, изображенный на Фиг.12-22, и это создает кольцевое удерживающее устройство 202А (Фиг.27-30). Выступ 230 (Фиг.29) клапана перемещен мимо удерживающих кромок 212А, посредством чего удерживающие кромки 212А будут удерживать клапан 260 в пределах удерживающего кольца 200А. Однако выступ 230 клапана не должен взаимодействовать или быть сжат удерживающими кромками 212А.
Кольцевое удерживающее устройство 202А может затем быть вставлено в укупорочное средство, такое как укупорочное средство 36, описанное выше со ссылкой на первый и второй варианты осуществления, изображенные на Фиг.1-22. В частности, устройство 202А вставлено в корпус 46 укупорочного средства (с нижнего конца корпуса 46 укупорочного средства).
Выступ 140 удерживающего кольца взаимодействует с самозащелкивающейся кромкой 142 на конструкции зацепления или кольцевом выступе 144, расположенном на внутренней части корпуса 46 укупорочного средства (как объяснено выше для второго варианта осуществления со ссылкой на Фиг.12). Поскольку кольцевое удерживающее устройство 202А проталкивается за кромку 142 корпуса укупорочного средства, выступ 140 удерживающего кольца взаимодействует с кромкой 142, таким образом удерживая кольцевое удерживающее устройство 202А в пределах корпуса 46 укупорочного средства.
Кольцевое удерживающее устройство 202А удерживается в пределах укупорочного средства 36 самозащелкивающимся зацеплением выступа 140 удерживающего кольца с кромкой 142 корпуса укупорочного средства. Как можно видеть на Фиг.29, уплотняющая поверхность 224 укупорочного средства клапана 260 (Фиг.29) может взаимодействовать с уплотняющей поверхностью 256 горловины укупорочного средства 36, и уплотняющая поверхность 226 удерживающего кольца клапана 260 (Фиг.29) взаимодействует с верхним участком 118 стенки 116 удерживающего кольца 200А.
Из предшествующего подробного описания изобретения и его чертежей должно быть очевидно, что могут быть осуществлены многочисленные изменения и модификации, при этом не отступая от сущности и объема новых понятий и принципов этого изобретения.
Claims (8)
1. Клапанное кольцевое удерживающее устройство (102, 202, 202А) для использования с укупорочным средством (36) контейнера, причем клапанное кольцевое удерживающее устройство (102, 202, 202А) содержит:
удерживающее кольцо (100, 200, 200А), содержащее дозирующий канал (110), множество отдельных удерживающих кромок (112, 212, 212А) и множество удерживающих полостей (114), причем дозирующий канал (110) образован стенкой (116), имеющей верхний участок (118), каждая из множества удерживающих кромок (112, 212, 212А) расположена смежно с верхним участком стенки, причем каждая из множества удерживающих полостей (114) образована, по меньшей мере частично, верхним участком (118) стенки (116) и одной из множества удерживающих кромок (112, 212, 212А), при этом удерживающее кольцо (100, 200, 200А) является единой конструкцией; и
клапан (60, 260), расположенный, по меньшей мере частично, в пределах удерживающего кольца (100, 200, 200А) и содержащий дозирующий участок (120) и участок (104, 204) удерживания, причем по меньшей мере часть участка (104, 204) удерживания расположена, по существу, в пределах множества удерживающих полостей (114).
удерживающее кольцо (100, 200, 200А), содержащее дозирующий канал (110), множество отдельных удерживающих кромок (112, 212, 212А) и множество удерживающих полостей (114), причем дозирующий канал (110) образован стенкой (116), имеющей верхний участок (118), каждая из множества удерживающих кромок (112, 212, 212А) расположена смежно с верхним участком стенки, причем каждая из множества удерживающих полостей (114) образована, по меньшей мере частично, верхним участком (118) стенки (116) и одной из множества удерживающих кромок (112, 212, 212А), при этом удерживающее кольцо (100, 200, 200А) является единой конструкцией; и
клапан (60, 260), расположенный, по меньшей мере частично, в пределах удерживающего кольца (100, 200, 200А) и содержащий дозирующий участок (120) и участок (104, 204) удерживания, причем по меньшей мере часть участка (104, 204) удерживания расположена, по существу, в пределах множества удерживающих полостей (114).
2. Устройство (102, 202, 202А) по п.1, в котором удерживающее кольцо (100, 200, 200А) содержит по меньшей мере две отдельные удерживающие кромки (112, 212, 212А);
верхний участок (118) стенки (116) косвенно соединен с множеством удерживающих кромок (112, 212, 212А) посредством перемычки (121);
участок (104, 204) удерживания клапана является эластичным для облегчения сборки;
верхний участок (118) стенки (116) является в общем усеченно-коническим;
клапан (60, 260) свободно удерживается в удерживающих полостях (114); и
по меньшей мере часть участка (104, 204) удерживания содержит выступающий участок (130, 230).
верхний участок (118) стенки (116) косвенно соединен с множеством удерживающих кромок (112, 212, 212А) посредством перемычки (121);
участок (104, 204) удерживания клапана является эластичным для облегчения сборки;
верхний участок (118) стенки (116) является в общем усеченно-коническим;
клапан (60, 260) свободно удерживается в удерживающих полостях (114); и
по меньшей мере часть участка (104, 204) удерживания содержит выступающий участок (130, 230).
3. Укупорочное средство (36) для отверстия контейнера, причем укупорочное средство (36) содержит:
полый корпус (46) для сцепления с контейнером по окружности отверстия, и имеющий дозирующее отверстие (54) для сообщения с отверстием контейнера; и
клапанное кольцевое удерживающее устройство (102, 202, 202А), расположенное в пределах корпуса (46) смежно с дозирующим отверстием (54) и имеющее удерживающее кольцо (100, 200, 200А) и клапан (60, 260), причем удерживающее кольцо (100, 200, 200А) содержит дозирующий канал (110), множество отдельных удерживающих кромок (112, 212, 212А) и множество удерживающих полостей (114), дозирующий канал (110) образован стенкой (116), имеющей верхний участок (118), и каждая из множества удерживающих кромок (112, 212, 212А) расположена смежно с верхним участком (118) стенки (116), причем каждая удерживающая полость (114) образована, по меньшей мере частично, верхним участком (118) стенки (116) и одной из множества удерживающих кромок (112, 212, 212А), а клапан (60, 260) расположен, по меньшей мере частично, в пределах удерживающего кольца (100, 200, 200А) и содержит дозирующий участок (120) и участок (104, 204) удерживания, при этом по меньшей мере часть участка (104, 204) удерживания расположена, по существу, в пределах множества удерживающих полостей (114), причем удерживающее кольцо (100, 200, 200А) является единой конструкцией.
полый корпус (46) для сцепления с контейнером по окружности отверстия, и имеющий дозирующее отверстие (54) для сообщения с отверстием контейнера; и
клапанное кольцевое удерживающее устройство (102, 202, 202А), расположенное в пределах корпуса (46) смежно с дозирующим отверстием (54) и имеющее удерживающее кольцо (100, 200, 200А) и клапан (60, 260), причем удерживающее кольцо (100, 200, 200А) содержит дозирующий канал (110), множество отдельных удерживающих кромок (112, 212, 212А) и множество удерживающих полостей (114), дозирующий канал (110) образован стенкой (116), имеющей верхний участок (118), и каждая из множества удерживающих кромок (112, 212, 212А) расположена смежно с верхним участком (118) стенки (116), причем каждая удерживающая полость (114) образована, по меньшей мере частично, верхним участком (118) стенки (116) и одной из множества удерживающих кромок (112, 212, 212А), а клапан (60, 260) расположен, по меньшей мере частично, в пределах удерживающего кольца (100, 200, 200А) и содержит дозирующий участок (120) и участок (104, 204) удерживания, при этом по меньшей мере часть участка (104, 204) удерживания расположена, по существу, в пределах множества удерживающих полостей (114), причем удерживающее кольцо (100, 200, 200А) является единой конструкцией.
4. Укупорочное средство (36) по п.3, в котором удерживающее кольцо (100, 200, 200А) содержит по меньшей мере две отдельные удерживающие кромки (112, 212, 212А), расположенные с интервалами по окружности на удерживающем кольце (100, 200, 200А);
верхний участок (118) стенки (116) косвенно соединен с множеством удерживающих кромок (112, 212, 212А) посредством перемычки (121);
участок (104, 204) удерживания клапана является эластичным для облегчения сборки;
верхний участок (118) стенки (116) является в общем усеченно-коническим;
клапан (60, 260) свободно удерживается в удерживающих полостях (114) по меньшей мере до установки клапанного кольцевого удерживающего устройства (102, 202, 202А) в полый корпус (46) укупорочного средства; и
по меньшей мере часть участка (104, 204) удерживания содержит выступающий участок (130, 230); и
контактная поверхность (56) клапана образована полым корпусом (46) укупорочного средства,
при этом участок (104, 204) удерживания клапана сжат между контактной поверхностью (56) клапана и верхним участком (118) стенки (116).
верхний участок (118) стенки (116) косвенно соединен с множеством удерживающих кромок (112, 212, 212А) посредством перемычки (121);
участок (104, 204) удерживания клапана является эластичным для облегчения сборки;
верхний участок (118) стенки (116) является в общем усеченно-коническим;
клапан (60, 260) свободно удерживается в удерживающих полостях (114) по меньшей мере до установки клапанного кольцевого удерживающего устройства (102, 202, 202А) в полый корпус (46) укупорочного средства; и
по меньшей мере часть участка (104, 204) удерживания содержит выступающий участок (130, 230); и
контактная поверхность (56) клапана образована полым корпусом (46) укупорочного средства,
при этом участок (104, 204) удерживания клапана сжат между контактной поверхностью (56) клапана и верхним участком (118) стенки (116).
5. Клапанное кольцевое удерживающее устройство (102, 202, 202А) для использования с укупорочным средством (36) контейнера, причем клапанное кольцевое удерживающее устройство (102, 202, 202А) содержит:
удерживающее кольцо (100, 200, 200А), содержащее дозирующий канал (110), по меньшей мере одну удерживающую кромку (112, 212, 212А) и по меньшей мере одну удерживающую полость (114), причем дозирующий канал (110) образован стенкой (116), имеющей верхний участок (118), при этом по меньшей мере одна удерживающая кромка (112, 212, 212А) расположена смежно с верхним участком (118) стенки (116), и по меньшей мере одна удерживающая полость (114) образована, по меньшей мере частично, верхним участком (118) стенки (116) и по меньшей мере одной удерживающей кромкой (112, 212, 212А), причем удерживающее кольцо (100, 200, 200А) является единой конструкцией; и клапан (60, 260), расположенный, по меньшей мере частично, в пределах удерживающего кольца (100, 200, 200А) и содержащий дозирующий участок (120) и участок (104, 204) удерживания, имеющий уплотняющую поверхность (124, 224) укупорочного средства и уплотняющую поверхность (126, 226) удерживающего кольца, причем по меньшей мере часть участка (104, 204) удерживания расположена в пределах по меньшей мере одной удерживающей полости (114).
удерживающее кольцо (100, 200, 200А), содержащее дозирующий канал (110), по меньшей мере одну удерживающую кромку (112, 212, 212А) и по меньшей мере одну удерживающую полость (114), причем дозирующий канал (110) образован стенкой (116), имеющей верхний участок (118), при этом по меньшей мере одна удерживающая кромка (112, 212, 212А) расположена смежно с верхним участком (118) стенки (116), и по меньшей мере одна удерживающая полость (114) образована, по меньшей мере частично, верхним участком (118) стенки (116) и по меньшей мере одной удерживающей кромкой (112, 212, 212А), причем удерживающее кольцо (100, 200, 200А) является единой конструкцией; и клапан (60, 260), расположенный, по меньшей мере частично, в пределах удерживающего кольца (100, 200, 200А) и содержащий дозирующий участок (120) и участок (104, 204) удерживания, имеющий уплотняющую поверхность (124, 224) укупорочного средства и уплотняющую поверхность (126, 226) удерживающего кольца, причем по меньшей мере часть участка (104, 204) удерживания расположена в пределах по меньшей мере одной удерживающей полости (114).
6. Устройство (102, 202, 202А) по п.5,
в котором удерживающее кольцо (100, 200, 200А) содержит по меньшей мере две отдельные удерживающие кромки (112, 212, 212А);
верхний участок (118) стенки (116) косвенно соединен с множеством удерживающих кромок (112, 212, 212А) посредством перемычки (121);
участок (104, 204) удерживания клапана является эластичным для облегчения сборки;
верхний участок (118) стенки (116) является в общем усеченно-коническим;
клапан (60, 260) свободно удерживается в удерживающих полостях; и по меньшей мере часть участка (104 204) удерживания содержит выступающий участок (130, 230), и
уплотняющая поверхность (124, 224) укупорочного средства является обращенной вверх усеченно-конической поверхностью (124, 224) для взаимодействия с укупорочным средством (36), и уплотняющая поверхность (126, 226) удерживающего кольца является обращенной вниз усеченно-конической поверхностью (126, 226) для взаимодействия с удерживающим кольцом (100, 200, 200А).
в котором удерживающее кольцо (100, 200, 200А) содержит по меньшей мере две отдельные удерживающие кромки (112, 212, 212А);
верхний участок (118) стенки (116) косвенно соединен с множеством удерживающих кромок (112, 212, 212А) посредством перемычки (121);
участок (104, 204) удерживания клапана является эластичным для облегчения сборки;
верхний участок (118) стенки (116) является в общем усеченно-коническим;
клапан (60, 260) свободно удерживается в удерживающих полостях; и по меньшей мере часть участка (104 204) удерживания содержит выступающий участок (130, 230), и
уплотняющая поверхность (124, 224) укупорочного средства является обращенной вверх усеченно-конической поверхностью (124, 224) для взаимодействия с укупорочным средством (36), и уплотняющая поверхность (126, 226) удерживающего кольца является обращенной вниз усеченно-конической поверхностью (126, 226) для взаимодействия с удерживающим кольцом (100, 200, 200А).
7. Укупорочное средство (36) для отверстия контейнера, причем укупорочное средство (36) содержит:
полый корпус (46) для сцепления с контейнером по окружности отверстия (54), имеющий дозирующее отверстие (54) для сообщения с отверстием контейнера; и
клапанное кольцевое удерживающее устройство (102, 202, 202А), расположенное в пределах корпуса (46) смежно с дозирующим отверстием (54) и имеющее удерживающее кольцо (100, 200, 200А) и клапан (60, 260), причем удерживающее кольцо (100, 200, 200А) содержит дозирующий канал (110), по меньшей мере одну удерживающую кромку (112, 212, 212А) и по меньшей мере одну удерживающую полость (114), при этом дозирующий канал (110) образован стенкой (116), имеющей верхний участок (118), и по меньшей мере одна удерживающая кромка (112, 212, 212А) расположена смежно с верхним участком (118) стенки (116), причем по меньшей мере одна удерживающая полость (114) образована, по меньшей мере частично, верхним участком (118) стенки (116) и по меньшей мере одной удерживающей кромкой (112, 212, 212А), при этом клапан (60, 260) расположен, по меньшей мере частично, в пределах удерживающего кольца (100, 200, 200А) и содержит дозирующий участок (120) и участок (104, 204) удерживания, причем участок (104, 204) удерживания имеет уплотняющую поверхность (124, 224) укупорочного средства, уплотняющую поверхность (126, 226) удерживающего кольца и выступающий участок (130, 230), расположенный между уплотняющей поверхностью (124, 224) укупорочного средства и уплотняющей поверхностью (126, 226) удерживающего кольца, при этом по меньшей мере часть участка (104, 204) удерживания расположена в пределах по меньшей мере одной удерживающей полости (114), причем удерживающее кольцо (100, 200, 200А) является единой конструкцией.
полый корпус (46) для сцепления с контейнером по окружности отверстия (54), имеющий дозирующее отверстие (54) для сообщения с отверстием контейнера; и
клапанное кольцевое удерживающее устройство (102, 202, 202А), расположенное в пределах корпуса (46) смежно с дозирующим отверстием (54) и имеющее удерживающее кольцо (100, 200, 200А) и клапан (60, 260), причем удерживающее кольцо (100, 200, 200А) содержит дозирующий канал (110), по меньшей мере одну удерживающую кромку (112, 212, 212А) и по меньшей мере одну удерживающую полость (114), при этом дозирующий канал (110) образован стенкой (116), имеющей верхний участок (118), и по меньшей мере одна удерживающая кромка (112, 212, 212А) расположена смежно с верхним участком (118) стенки (116), причем по меньшей мере одна удерживающая полость (114) образована, по меньшей мере частично, верхним участком (118) стенки (116) и по меньшей мере одной удерживающей кромкой (112, 212, 212А), при этом клапан (60, 260) расположен, по меньшей мере частично, в пределах удерживающего кольца (100, 200, 200А) и содержит дозирующий участок (120) и участок (104, 204) удерживания, причем участок (104, 204) удерживания имеет уплотняющую поверхность (124, 224) укупорочного средства, уплотняющую поверхность (126, 226) удерживающего кольца и выступающий участок (130, 230), расположенный между уплотняющей поверхностью (124, 224) укупорочного средства и уплотняющей поверхностью (126, 226) удерживающего кольца, при этом по меньшей мере часть участка (104, 204) удерживания расположена в пределах по меньшей мере одной удерживающей полости (114), причем удерживающее кольцо (100, 200, 200А) является единой конструкцией.
8. Укупорочное средство (36) по п.7, в котором
удерживающее кольцо (100, 200, 200А) содержит по меньшей мере две отдельных удерживающих кромки (112, 212, 212А);
верхний участок (118) стенки (116) косвенно соединен с множеством удерживающих кромок (112, 212, 212А) посредством перемычки (121);
участок (104, 204) удерживания клапана является эластичным для облегчения сборки;
верхний участок (118) стенки (116) является в общем усеченно-коническим;
клапан (60, 260) свободно удерживается в удерживающих полостях (114) по меньшей мере до установки клапанного кольцевого удерживающего устройства (102, 202, 202А) в полый корпус (46) укупорочного средства; и по меньшей мере часть участка (104, 204) удерживания содержит выступающий участок (130, 230);
при этом уплотняющая поверхность (124, 224) является обращенной вверх усеченно-конической поверхностью (124, 224) для взаимодействия с укупорочным средством (36), а уплотняющая поверхность (126, 226) удерживающего кольца является обращенной вниз усеченно-конической поверхностью (126, 226) для взаимодействия с удерживающим кольцом (100, 200, 200А);
причем корпус (46) укупорочного средства имеет контактную поверхность (56) клапана, и клапан (60, 260) сжат между контактной поверхностью (56) клапана и верхним участком (118) стенки (116).
удерживающее кольцо (100, 200, 200А) содержит по меньшей мере две отдельных удерживающих кромки (112, 212, 212А);
верхний участок (118) стенки (116) косвенно соединен с множеством удерживающих кромок (112, 212, 212А) посредством перемычки (121);
участок (104, 204) удерживания клапана является эластичным для облегчения сборки;
верхний участок (118) стенки (116) является в общем усеченно-коническим;
клапан (60, 260) свободно удерживается в удерживающих полостях (114) по меньшей мере до установки клапанного кольцевого удерживающего устройства (102, 202, 202А) в полый корпус (46) укупорочного средства; и по меньшей мере часть участка (104, 204) удерживания содержит выступающий участок (130, 230);
при этом уплотняющая поверхность (124, 224) является обращенной вверх усеченно-конической поверхностью (124, 224) для взаимодействия с укупорочным средством (36), а уплотняющая поверхность (126, 226) удерживающего кольца является обращенной вниз усеченно-конической поверхностью (126, 226) для взаимодействия с удерживающим кольцом (100, 200, 200А);
причем корпус (46) укупорочного средства имеет контактную поверхность (56) клапана, и клапан (60, 260) сжат между контактной поверхностью (56) клапана и верхним участком (118) стенки (116).
Applications Claiming Priority (2)
| Application Number | Priority Date | Filing Date | Title |
|---|---|---|---|
| US11/655,522 US7980430B2 (en) | 2007-01-19 | 2007-01-19 | Valve carrier ring assembly |
| US11/655,522 | 2007-01-19 |
Publications (2)
| Publication Number | Publication Date |
|---|---|
| RU2009131458A RU2009131458A (ru) | 2011-02-27 |
| RU2461503C2 true RU2461503C2 (ru) | 2012-09-20 |
Family
ID=39640253
Family Applications (1)
| Application Number | Title | Priority Date | Filing Date |
|---|---|---|---|
| RU2009131458/12A RU2461503C2 (ru) | 2007-01-19 | 2008-01-07 | Клапанное удерживающее кольцевое устройство |
Country Status (13)
| Country | Link |
|---|---|
| US (1) | US7980430B2 (ru) |
| EP (3) | EP2639177B1 (ru) |
| CN (1) | CN101636327B (ru) |
| AR (1) | AR064972A1 (ru) |
| AT (1) | ATE530461T1 (ru) |
| AU (1) | AU2008209653B2 (ru) |
| BR (2) | BR122018013659B1 (ru) |
| CA (1) | CA2661691C (ru) |
| ES (3) | ES2533191T3 (ru) |
| MX (1) | MX2009002437A (ru) |
| PL (3) | PL2639177T3 (ru) |
| RU (1) | RU2461503C2 (ru) |
| WO (1) | WO2008091490A2 (ru) |
Families Citing this family (10)
| Publication number | Priority date | Publication date | Assignee | Title |
|---|---|---|---|---|
| ES2388101B1 (es) * | 2010-07-27 | 2013-08-13 | Trebolin Plásticos S.L. | Ensamble de tapón y válvula para recipientes y procedimiento de fabricación del mismo. |
| US8397958B2 (en) | 2010-08-05 | 2013-03-19 | Ds Smith Plastics Limited | Closure valve assembly for a container |
| US10518943B2 (en) * | 2013-03-15 | 2019-12-31 | Tc Heartland Llc | Container with valve |
| USD728378S1 (en) | 2013-03-15 | 2015-05-05 | Tc Heartland Llc | Container |
| US20150335467A1 (en) | 2014-05-23 | 2015-11-26 | Carefusion 2200, Inc. | Patient warming system connection device |
| NL2014225B1 (en) * | 2015-02-03 | 2016-10-12 | Plasticum Netherlands B V | Dispensing closure with self-closing valve. |
| US10494164B2 (en) | 2016-03-09 | 2019-12-03 | Fifth Third Bank, an Ohio Banking | Dispensable containment vessel and dispensing system |
| US10392239B2 (en) * | 2016-07-29 | 2019-08-27 | Berry Plastics Corporation | Liquid dispenser |
| US10836541B2 (en) | 2017-11-27 | 2020-11-17 | Gateway Plastics, Inc. | Valve for a dispensing container |
| NL2022396B1 (en) | 2019-01-14 | 2020-08-14 | Weener Plastics Group B V | Valve carrier ring for self-closing dispensing valve |
Citations (5)
| Publication number | Priority date | Publication date | Assignee | Title |
|---|---|---|---|---|
| GB1474620A (en) * | 1974-09-18 | 1977-05-25 | Blendax Werke Schneider Co | Tube closure |
| US5439143A (en) * | 1991-12-06 | 1995-08-08 | Liquid Molding Systems, Inc. | Dispensing valve for packaging |
| US5680969A (en) * | 1995-12-18 | 1997-10-28 | Aptargroup, Inc. | Closure with dispensing valve and separate releasable internal shipping seal |
| RU2271322C2 (ru) * | 2001-07-11 | 2006-03-10 | Дзе Проктер Энд Гэмбл Компани | Многокамерный однородно распределяющий тюбик |
| RU2271323C2 (ru) * | 2000-08-17 | 2006-03-10 | Сиквист Клоужерз Форин, Инк. | Выливное устройство для отверстия мешка |
Family Cites Families (11)
| Publication number | Priority date | Publication date | Assignee | Title |
|---|---|---|---|---|
| NL7909294A (nl) * | 1979-12-21 | 1981-07-16 | Wavin Bv | Werkwijze voor het verenigen van een fixatiedeel en een afdichtlichaam voor een buisverbinding. |
| US5409144A (en) * | 1991-12-06 | 1995-04-25 | Liquid Molding Systems Inc. | Dispensing valve for packaging |
| DE4417569A1 (de) * | 1994-05-19 | 1995-11-23 | Zeller Plastik Koehn Graebner | Verschluß mit selbstschließendem Ventil |
| US5531363A (en) * | 1994-06-10 | 1996-07-02 | Aptargroup, Inc. | Dispensing closure cartridge valve system |
| US5680909A (en) * | 1995-06-06 | 1997-10-28 | Trw Technar Inc. | Crush sensor for use in a vehicle |
| GB9717595D0 (en) * | 1997-08-21 | 1997-10-22 | Metal Box Plc | Valves for packaging containers |
| GB9825121D0 (en) | 1998-11-17 | 1999-01-13 | Crown Cork & Seal Tech Corp | Dispensing closures |
| US6321923B1 (en) | 2000-04-26 | 2001-11-27 | Seaquist Closures Foreign, Inc. | Bistable hinge with reduced stress regions |
| US6446844B1 (en) * | 2001-12-18 | 2002-09-10 | Seaquist Closures Foreign, Inc. | Closure with internal flow control for a pressure openable valve in an extendable/retractable nozzle |
| US6672487B1 (en) * | 2002-06-07 | 2004-01-06 | Owens-Illinois Closure Inc. | Fluid dispensing closure, package and method of manufacture |
| EP1531130A1 (en) | 2004-08-26 | 2005-05-18 | CROWN Packaging Technology, Inc | Valve retaining device |
-
2007
- 2007-01-19 US US11/655,522 patent/US7980430B2/en active Active
-
2008
- 2008-01-07 BR BR122018013659-6A patent/BR122018013659B1/pt not_active IP Right Cessation
- 2008-01-07 AT AT08724425T patent/ATE530461T1/de not_active IP Right Cessation
- 2008-01-07 PL PL13171957T patent/PL2639177T3/pl unknown
- 2008-01-07 WO PCT/US2008/000199 patent/WO2008091490A2/en not_active Ceased
- 2008-01-07 AU AU2008209653A patent/AU2008209653B2/en not_active Ceased
- 2008-01-07 ES ES13171957.7T patent/ES2533191T3/es active Active
- 2008-01-07 EP EP13171957.7A patent/EP2639177B1/en active Active
- 2008-01-07 RU RU2009131458/12A patent/RU2461503C2/ru not_active IP Right Cessation
- 2008-01-07 BR BRPI0806287-0A patent/BRPI0806287B1/pt not_active IP Right Cessation
- 2008-01-07 CA CA2661691A patent/CA2661691C/en not_active Expired - Fee Related
- 2008-01-07 EP EP08724425A patent/EP2106369B1/en active Active
- 2008-01-07 EP EP11180711.1A patent/EP2394925B1/en active Active
- 2008-01-07 ES ES08724425T patent/ES2373490T3/es active Active
- 2008-01-07 PL PL08724425T patent/PL2106369T3/pl unknown
- 2008-01-07 PL PL11180711T patent/PL2394925T3/pl unknown
- 2008-01-07 ES ES11180711.1T patent/ES2437135T3/es active Active
- 2008-01-07 CN CN2008800024117A patent/CN101636327B/zh active Active
- 2008-01-07 MX MX2009002437A patent/MX2009002437A/es active IP Right Grant
- 2008-01-18 AR ARP080100245A patent/AR064972A1/es unknown
Patent Citations (5)
| Publication number | Priority date | Publication date | Assignee | Title |
|---|---|---|---|---|
| GB1474620A (en) * | 1974-09-18 | 1977-05-25 | Blendax Werke Schneider Co | Tube closure |
| US5439143A (en) * | 1991-12-06 | 1995-08-08 | Liquid Molding Systems, Inc. | Dispensing valve for packaging |
| US5680969A (en) * | 1995-12-18 | 1997-10-28 | Aptargroup, Inc. | Closure with dispensing valve and separate releasable internal shipping seal |
| RU2271323C2 (ru) * | 2000-08-17 | 2006-03-10 | Сиквист Клоужерз Форин, Инк. | Выливное устройство для отверстия мешка |
| RU2271322C2 (ru) * | 2001-07-11 | 2006-03-10 | Дзе Проктер Энд Гэмбл Компани | Многокамерный однородно распределяющий тюбик |
Also Published As
| Publication number | Publication date |
|---|---|
| BR122018013659B1 (pt) | 2019-06-11 |
| US7980430B2 (en) | 2011-07-19 |
| EP2394925B1 (en) | 2013-10-16 |
| EP2106369A2 (en) | 2009-10-07 |
| ES2533191T3 (es) | 2015-04-08 |
| AR064972A1 (es) | 2009-05-06 |
| EP2394925A2 (en) | 2011-12-14 |
| EP2639177A1 (en) | 2013-09-18 |
| WO2008091490A2 (en) | 2008-07-31 |
| BRPI0806287A2 (pt) | 2011-09-06 |
| AU2008209653B2 (en) | 2012-12-06 |
| ES2373490T3 (es) | 2012-02-06 |
| CN101636327A (zh) | 2010-01-27 |
| WO2008091490A3 (en) | 2008-10-23 |
| PL2639177T3 (pl) | 2015-08-31 |
| PL2106369T3 (pl) | 2012-03-30 |
| RU2009131458A (ru) | 2011-02-27 |
| EP2106369B1 (en) | 2011-10-26 |
| ATE530461T1 (de) | 2011-11-15 |
| ES2437135T3 (es) | 2014-01-09 |
| CN101636327B (zh) | 2012-12-26 |
| CA2661691C (en) | 2014-07-15 |
| CA2661691A1 (en) | 2008-07-31 |
| EP2106369A4 (en) | 2010-12-29 |
| AU2008209653A1 (en) | 2008-07-31 |
| EP2639177B1 (en) | 2014-12-31 |
| US20080173677A1 (en) | 2008-07-24 |
| MX2009002437A (es) | 2009-05-11 |
| PL2394925T3 (pl) | 2014-04-30 |
| EP2394925A3 (en) | 2012-02-15 |
| BRPI0806287B1 (pt) | 2018-08-14 |
Similar Documents
| Publication | Publication Date | Title |
|---|---|---|
| RU2461503C2 (ru) | Клапанное удерживающее кольцевое устройство | |
| RU2295482C2 (ru) | Крышка с внутренним регулированием потока для клапана, открывающегося под давлением, в выдвигающейся/задвигающейся насадке (варианты) | |
| RU2290356C2 (ru) | Открываемое посредством вращения дозирующее укупорочное средство, содержащее вспомогательное средство для прокалывания прокладки | |
| US8608034B2 (en) | Dispensing valve | |
| US20170253392A1 (en) | Drinking containers and related methods | |
| PL195805B1 (pl) | Zespół zaworu otwieralnego ciśnieniowo mocowanegoza pomocą składanych elementów | |
| PL193965B1 (pl) | Zawór samozamykający do pojemnika oraz zespół zaworu samozamykającego do pojemnika i pojemnika | |
| CN103635398B (zh) | 具有适于折叠的防拆封环的封盖 | |
| RU2272765C2 (ru) | Выливное устройство с усовершенствованной блокировкой и укупорочный колпачок, снабженный таким выливным устройством | |
| KR102189640B1 (ko) | 화장품 용기의 밀폐 캡 조립체 | |
| JP7453031B2 (ja) | 複合蓋 | |
| EP4082932B1 (en) | Application container | |
| JP7612469B2 (ja) | 合成樹脂製容器蓋 | |
| JP7300964B2 (ja) | キャップ | |
| TWI767037B (zh) | 鉸鏈式蓋及容器 | |
| KR20070005748A (ko) | 밀폐용기 | |
| JP7422624B2 (ja) | キャップ | |
| EP1600395A1 (en) | Drinking caps for beverage containers | |
| KR20070047941A (ko) | 디스펜싱 밸브 클로우져 | |
| JP2024156405A (ja) | スポイト容器 | |
| RU2388671C1 (ru) | Крышка контейнера | |
| WO2024135776A1 (ja) | スポイト容器 | |
| JP2024051723A (ja) | 注出キャップ | |
| JP5422294B2 (ja) | 容器 | |
| JP2019011068A (ja) | 吐出容器 |
Legal Events
| Date | Code | Title | Description |
|---|---|---|---|
| MM4A | The patent is invalid due to non-payment of fees |
Effective date: 20210108 |