RU2431925C2 - Система и способ для распределения параметров доступа беспроводной сети - Google Patents
Система и способ для распределения параметров доступа беспроводной сети Download PDFInfo
- Publication number
- RU2431925C2 RU2431925C2 RU2008116625/09A RU2008116625A RU2431925C2 RU 2431925 C2 RU2431925 C2 RU 2431925C2 RU 2008116625/09 A RU2008116625/09 A RU 2008116625/09A RU 2008116625 A RU2008116625 A RU 2008116625A RU 2431925 C2 RU2431925 C2 RU 2431925C2
- Authority
- RU
- Russia
- Prior art keywords
- network
- communication network
- subsystem
- access parameters
- parameters
- Prior art date
Links
- 238000000034 method Methods 0.000 title claims abstract description 35
- 238000004891 communication Methods 0.000 claims abstract description 132
- 230000001413 cellular effect Effects 0.000 claims abstract description 55
- 230000005540 biological transmission Effects 0.000 claims abstract description 4
- 238000005457 optimization Methods 0.000 claims description 6
- 230000004044 response Effects 0.000 claims description 6
- 238000012544 monitoring process Methods 0.000 claims description 4
- 238000012790 confirmation Methods 0.000 claims description 3
- 238000009434 installation Methods 0.000 claims description 3
- 230000000694 effects Effects 0.000 abstract 1
- 238000005516 engineering process Methods 0.000 abstract 1
- 239000000126 substance Substances 0.000 abstract 1
- 238000010586 diagram Methods 0.000 description 7
- 238000012545 processing Methods 0.000 description 3
- 238000012546 transfer Methods 0.000 description 3
- 238000010295 mobile communication Methods 0.000 description 2
- 230000001010 compromised effect Effects 0.000 description 1
- 230000006870 function Effects 0.000 description 1
- 230000036316 preload Effects 0.000 description 1
Images
Classifications
-
- H—ELECTRICITY
- H04—ELECTRIC COMMUNICATION TECHNIQUE
- H04W—WIRELESS COMMUNICATION NETWORKS
- H04W12/00—Security arrangements; Authentication; Protecting privacy or anonymity
- H04W12/08—Access security
-
- H—ELECTRICITY
- H04—ELECTRIC COMMUNICATION TECHNIQUE
- H04L—TRANSMISSION OF DIGITAL INFORMATION, e.g. TELEGRAPHIC COMMUNICATION
- H04L63/00—Network architectures or network communication protocols for network security
- H04L63/10—Network architectures or network communication protocols for network security for controlling access to devices or network resources
- H04L63/102—Entity profiles
-
- H—ELECTRICITY
- H04—ELECTRIC COMMUNICATION TECHNIQUE
- H04W—WIRELESS COMMUNICATION NETWORKS
- H04W12/00—Security arrangements; Authentication; Protecting privacy or anonymity
- H04W12/04—Key management, e.g. using generic bootstrapping architecture [GBA]
-
- H—ELECTRICITY
- H04—ELECTRIC COMMUNICATION TECHNIQUE
- H04W—WIRELESS COMMUNICATION NETWORKS
- H04W12/00—Security arrangements; Authentication; Protecting privacy or anonymity
- H04W12/50—Secure pairing of devices
-
- H—ELECTRICITY
- H04—ELECTRIC COMMUNICATION TECHNIQUE
- H04W—WIRELESS COMMUNICATION NETWORKS
- H04W28/00—Network traffic management; Network resource management
- H04W28/16—Central resource management; Negotiation of resources or communication parameters, e.g. negotiating bandwidth or QoS [Quality of Service]
- H04W28/18—Negotiating wireless communication parameters
-
- H—ELECTRICITY
- H04—ELECTRIC COMMUNICATION TECHNIQUE
- H04W—WIRELESS COMMUNICATION NETWORKS
- H04W48/00—Access restriction; Network selection; Access point selection
- H04W48/08—Access restriction or access information delivery, e.g. discovery data delivery
- H04W48/14—Access restriction or access information delivery, e.g. discovery data delivery using user query or user detection
-
- H—ELECTRICITY
- H04—ELECTRIC COMMUNICATION TECHNIQUE
- H04W—WIRELESS COMMUNICATION NETWORKS
- H04W76/00—Connection management
- H04W76/10—Connection setup
-
- H—ELECTRICITY
- H04—ELECTRIC COMMUNICATION TECHNIQUE
- H04W—WIRELESS COMMUNICATION NETWORKS
- H04W8/00—Network data management
- H04W8/26—Network addressing or numbering for mobility support
-
- H—ELECTRICITY
- H04—ELECTRIC COMMUNICATION TECHNIQUE
- H04W—WIRELESS COMMUNICATION NETWORKS
- H04W84/00—Network topologies
- H04W84/02—Hierarchically pre-organised networks, e.g. paging networks, cellular networks, WLAN [Wireless Local Area Network] or WLL [Wireless Local Loop]
- H04W84/10—Small scale networks; Flat hierarchical networks
- H04W84/12—WLAN [Wireless Local Area Networks]
-
- H—ELECTRICITY
- H04—ELECTRIC COMMUNICATION TECHNIQUE
- H04W—WIRELESS COMMUNICATION NETWORKS
- H04W88/00—Devices specially adapted for wireless communication networks, e.g. terminals, base stations or access point devices
- H04W88/02—Terminal devices
- H04W88/06—Terminal devices adapted for operation in multiple networks or having at least two operational modes, e.g. multi-mode terminals
-
- H—ELECTRICITY
- H04—ELECTRIC COMMUNICATION TECHNIQUE
- H04L—TRANSMISSION OF DIGITAL INFORMATION, e.g. TELEGRAPHIC COMMUNICATION
- H04L63/00—Network architectures or network communication protocols for network security
- H04L63/18—Network architectures or network communication protocols for network security using different networks or channels, e.g. using out of band channels
-
- H—ELECTRICITY
- H04—ELECTRIC COMMUNICATION TECHNIQUE
- H04W—WIRELESS COMMUNICATION NETWORKS
- H04W28/00—Network traffic management; Network resource management
- H04W28/02—Traffic management, e.g. flow control or congestion control
- H04W28/06—Optimizing the usage of the radio link, e.g. header compression, information sizing, discarding information
-
- H—ELECTRICITY
- H04—ELECTRIC COMMUNICATION TECHNIQUE
- H04W—WIRELESS COMMUNICATION NETWORKS
- H04W48/00—Access restriction; Network selection; Access point selection
- H04W48/18—Selecting a network or a communication service
-
- H—ELECTRICITY
- H04—ELECTRIC COMMUNICATION TECHNIQUE
- H04W—WIRELESS COMMUNICATION NETWORKS
- H04W52/00—Power management, e.g. Transmission Power Control [TPC] or power classes
- H04W52/04—Transmission power control [TPC]
- H04W52/38—TPC being performed in particular situations
-
- H—ELECTRICITY
- H04—ELECTRIC COMMUNICATION TECHNIQUE
- H04W—WIRELESS COMMUNICATION NETWORKS
- H04W52/00—Power management, e.g. Transmission Power Control [TPC] or power classes
- H04W52/04—Transmission power control [TPC]
- H04W52/38—TPC being performed in particular situations
- H04W52/50—TPC being performed in particular situations at the moment of starting communication in a multiple access environment
Landscapes
- Engineering & Computer Science (AREA)
- Computer Networks & Wireless Communication (AREA)
- Signal Processing (AREA)
- Computer Security & Cryptography (AREA)
- Computer Hardware Design (AREA)
- Computing Systems (AREA)
- General Engineering & Computer Science (AREA)
- Databases & Information Systems (AREA)
- Quality & Reliability (AREA)
- Mobile Radio Communication Systems (AREA)
- Small-Scale Networks (AREA)
Abstract
Изобретение относится к сетям доступа. Предоставлены система и способ для распределения параметров доступа беспроводной сети в терминал пользователя (ТП) многорежимной связи. Технический результат заключается в усовершенствовании механизма доступа. Способ содержит этапы, на которых: устанавливают линию связи между ТП и первой сетью связи (например, сотовой сетью); выполняют доступ к серверу параметров через первую сеть; загружают параметры доступа для второй беспроводной сети связи (например, беспроводной локальной сети); и используют загруженные параметры доступа для установки беспроводной линии связи между ТП и второй сетью связи. Загруженные параметры доступа могут включать в себя такую информацию, как криптографический ключ, идентификатор комплекта услуг (Service Set Identifier (SSID)), назначение канала потока обмена и параметры оптимизации, включающие в себя мощность передачи, настройки качества обслуживания (Quality of Service, QoS) и рабочий режим. Альтернативно, база данных может задавать перекрестные ссылки ID ТП к таким параметрам, как QoS, IP-адрес, информация шлюза, маска подсети, информация сервера доменных имен (DNS) или географическое местоположение. 3 н. и 20 з.п. ф-лы, 5 ил.
Description
Область техники, к которой относится изобретение
Настоящее изобретение относится к беспроводной связи, и в частности к системе и способу для предоставления параметров доступа для беспроводной сети связи, которые получают для терминала пользователя через другую сеть связи.
Уровень техники
Обычная беспроводная локальная сеть (беспроводная ЛС), как правило, включает в себя точку доступа (ТД), которая соединена посредством проводного соединения с сетью, основанной на протоколе Интернета (IP-сетью). Мобильные терминалы пользователя (ТП), такие как ноутбук, персональный цифровой секретарь (Personal Digital Assistant, PDA) или многорежимный сотовый телефон, осуществляют беспроводную связь с ТД. ТД действует как мост между проводной ЛС (IP-сетью) и беспроводной ЛС, предоставляя возможность ТП осуществлять связь через Интернет. Беспроводные ЛС, в целом соответствующие стандарту IEEE 802.15 и Bluetooth, предоставляют возможность ТП осуществлять связь с ТД на расстоянии примерно до 100 футов. Беспроводные ЛС, в целом соответствующие стандарту IEEE 802.11, предоставляют возможность ТП осуществлять связь с ТД на расстоянии примерно до 150 метров.
Следовательно, для сохранения связи во время движения ТП может получить доступ к новой беспроводной ЛС или другой ТД в той же беспроводной ЛС. Для этого ТП требуется изменение информации доступа беспроводной ЛС, которая, как правило, основана на зонах обслуживания и их ТД. На практике способность ТП оперативно получать доступ к беспроводной ЛС ограничивает обслуживаемую зону беспроводной ЛС и гарантирует предоставление служб.
Одно из традиционных решений для проблемы доступа заключалось в том, что пользователи беспроводной ЛС вручную вносили в свои ТП информацию доступа беспроводной ЛС, связанную с часто используемыми зонами обслуживания, такими как их дом, офис и местное кафе. Эта информация доступа беспроводной ЛС может включать в себя информацию настройки ТД, относящуюся к беспроводной ЛС, и информацию, относящуюся к TCP/IP. Когда пользователь перемещается из одной зоны в другую, он может вручную выбрать эту предварительно загруженную регистрационную информацию из памяти ТП и использовать ее для регистрации в близлежащей ТД.
Например, в ТП может быть предварительно загружена регистрационная региональная информация для различных беспроводных ЛС, к которым потенциально может быть получен доступ. Региональная информация, зарегистрированная в ТП, включает в себя информацию настройки для использования в региональных ТД, а также информацию настройки сети любого ТП, приспособленного для доступа к ТД. В действии регистрационная информация доступа беспроводной ЛС может быть отображена на дисплее ТП, или образ этой информации может быть отображен как иконка. Интерфейс пользователя предоставляет возможность пользователю выбрать определенный набор информации доступа беспроводной ЛС, относящейся к области, в которой пользователь находится в текущее время.
Несмотря на то что этот способ предварительной загрузки регистрационной информации устраняет необходимость ручного ввода регистрационной информации с нуля, он неудобен тем, что пользователь должен пройти этап предварительной загрузки данных и что пользователь должен выполнить этап выбора регистрационной информации вручную. Кроме того, этот способ бесполезен, если пользователь должен получить доступ к ТД или беспроводной ЛС, для которой регистрационная информация предварительно не была загружена. В добавление, даже если пользователь решает предварительно загрузить регистрационную информацию, этот способ использует ресурсы памяти, которые часто ограничены в портативных устройствах.
Было бы полезным, если бы ТП мог получить доступ к беспроводной сети автоматически, без необходимости ручного ввода регистрационной информации или сохранения регистрационной информации в постоянной памяти в ТП.
Сущность изобретения
Для хот-спота (ТД) беспроводной ЛС пользователь должен иметь соответствующую регистрационную информацию, такую как пароль установки. Вместо ручного ввода регистрационной информации или предварительной загрузки регистрационной информации в ТП, настоящее изобретение описывает базу данных информации доступа, к которой может быть выполнен доступ из альтернативной сети связи, чтобы предоставить необходимую регистрационную информацию.
Когда ТП находится близко к ТД, он может детектировать адрес контроллера доступа к среде (Media Access Controller) (далее - MAC-адрес) и идентификатор (ID) сети, связанной с этой ТД. ТП тогда выполняет запрос в базу данных параметров доступа (сервер параметров), чтобы получить регистрационную информацию, необходимую ТП для доступа к ТД. Регистрационная информация может включать в себя криптографический ключ. Информацию криптографического ключа относительно легко сохранять и обновлять, если она содержится в центральном хранилище. ТП не обременяется задачей постоянного хранения регистрационной информации. Сверх того, защищенность доступа поддерживается через линию связи, используемую для осуществления связи с базой данных параметров доступа. Например, процедуры безопасности сотовой сети эффективны и общеприняты. Если ТП осуществляет связь с базой данных параметров доступа через сотовую сеть, то маловероятно, что криптографические ключи беспроводной ЛС будут скомпрометированы.
Соответственно предоставлен способ для распределения параметров доступа беспроводной сети в ТП многорежимной связи. Способ содержит этапы, на которых: устанавливают линию связи между ТП и первой сетью связи (например, сотовой сетью); выполняют доступ к серверу параметров через первую сеть; загружают параметры доступа для второй беспроводной сети связи (например, беспроводной ЛС); и используют загруженные параметры доступа для установки беспроводной линии связи между ТП и второй сетью связи.
Загруженные параметры доступа могут включать в себя информацию, связанную с ТД беспроводной ЛС, такую как криптографический ключ, идентификатор комплекта услуг (Service Set Identifier (SSID)), назначение канала потока обмена, параметры оптимизации, включающие в себя мощность передачи, настройки качества обслуживания (Quality of Service, QoS) и рабочий режим. Альтернативно, выполнение доступа к серверу параметров через первую сеть связи может включать в себя: предоставление ID, связанного с ТП, и выполнение доступа к базе данных, задающей перекрестные ссылки ID ТП к таким параметрам, как QoS, IP-адрес, информация шлюза, маска подсети, информация сервера доменных имен (Domain Name Server, DNS) или географическое местоположение.
Дополнительные аспекты вышеописанного способа и системы для распределения параметров доступа беспроводной сети предоставлены более подробно ниже.
Краткое описание чертежей
Фиг.1 - структурная схема системы для распределения параметров доступа беспроводной сети;
фиг.2 - структурная схема, иллюстрирующая пример сервера параметров;
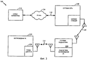
фиг.3 - структурная схема, иллюстрирующая конкретный вариант осуществления системы с фиг.1;
фиг.4 - схема последовательности операций способа для распределения параметров доступа беспроводной сети в ТП многорежимной связи;
фиг.5 - схема последовательности операций способа для распределения параметров доступа сети IEEE 802.11 в ТП многорежимной связи.
Подробное описание
Фиг.1 представляет собой структурную схему системы для распределения параметров доступа беспроводной сети. Система 100 содержит многорежимный ТП 102. ТП 102 содержит первую подсистему 104 для установки линии 106 связи между ТП 102 и первой сетью 108 связи, а также для загрузки параметров доступа для второй сети 110 связи. Специалистам в области связи будет очевидно, что первая подсистема 104 содержит схемы приемопередатчика, модуляции/демодуляции и обработки (не показаны). Вторая подсистема 112 устанавливает беспроводную линию 114 связи между ТП 102 и второй сетью 110 связи, используя параметры доступа, которые были загружены в первую подсистему 104. Аналогично, вторая подсистема 112 включает в себя такие компоненты, как схемы приемопередатчика, модуляции/демодуляции и обработки (не показаны). В добавление, первая и вторая подсистемы 104 и 112 могут иметь общую логическую схему обработки и память (не показаны).
Сервер 116 параметров имеет интерфейс, соединенный с первой сетью 108 по линии 118 для предоставления параметров доступа второй сети. В одном аспекте первая подсистема 104 загружает параметры доступа для второй сети 110 связи, связанные с беспроводным терминалом 120 второй сети. Например, первая подсистема 104 может выполнить доступ к серверу 116 параметров, предоставляя MAC-адрес или ID сети, связанные с базовым терминалом 120 второй сети связи. Эта информация MAC-адреса представляет собой информацию, которая получается в обычном процессе, где вторая подсистема 112 выполняет мониторинг диапазона радиосвязи для вещаемых сигналов и ретранслирует информацию, полученную при мониторинге, во вторую подсистему 104. Тогда первая подсистема 104 выполняет доступ к серверу 116 параметров, задающему перекрестные ссылки MAC-адреса к параметрам, требуемым для доступа к базовому терминалу 120. Альтернативно, первая подсистема 104 может принять IP-адрес, связанный с базовым терминалом 120, и IP-информация используется для перекрестной ссылки параметров доступа для базового терминала 120.
Фиг.2 представляет собой структурную схему, иллюстрирующую пример сервера параметров. Некоторые примеры типов информации, которая может быть загружена, включают в себя криптографический ключ, идентификатор комплекта услуг (Service Set Identifier (SSID)), назначения канала потока обмена, данные настройки протокола WEP (Wired Equivalent Privacy) и параметры оптимизации, такие как мощность передачи, мощность приема, скорость передачи, настройки качества обслуживания (Quality of Service, QoS) и рабочий режим. Этот перечень не предназначен для полного охвата всех возможных типов регистрационной информации, которая может быть потенциально использована при быстрой установке линии связи между второй сетью связи и ТП.
В еще одном аспекте первая подсистема выполняет доступ к серверу параметров путем предоставления ID, связанного с ТП. Сервер параметров включает в себя файл, который задает перекрестные ссылки ID ТП к параметрам, связанным с ТП, таким как QoS, IP-адрес, информация шлюза, маска подсети, информация сервера доменных имен (Domain Name Server, DNS) и географическое местоположение.
Ссылаясь на фиг.1, первая сеть 108 связи может представлять собой сеть Ethernet, IEEE 802.11, IEEE 802.15, Bluetooth, WiMax, сеть множественного доступа с кодовым разделением (Code Division Multiple Access, CDMA), сотовую телефонную сеть Глобальной системы мобильной связи (Global System for Mobile Communications, GSM) или Универсальной системы мобильной связи (Universal Mobile Telecommunications System, UMTS). Несмотря на то что настоящее изобретение не ограничено только упомянутыми тремя типами сетей, эти типы представляют собой сети, которые могут использоваться многорежимным ТП для получения доступа к серверу 116 параметров через IP-сеть 124. Следует отметить, что необязательно, чтобы первая сеть 108 осуществляла связь с ТП 102 через беспроводную среду. То есть линия 106 связи может представлять собой проводную линию связи. Вторая сеть 110 связи может представлять собой сеть IEEE 802.11, Bluetooth, WiMax, IEEE 802.15 или сотовую телефонную сеть. И снова, этот перечень не является полным перечнем всех возможных сетей, скорее, это перечень примеров сетей, которые не могут использоваться ТП до того, как параметры доступа будут предоставлены этим ТП.
Фиг.3 представляет собой структурную схему, иллюстрирующую конкретный вариант осуществления системы с фиг.1. В этом примере первая подсистема 104 представляет собой сотовую подсистему, которая устанавливает линию 106 связи с сотовой телефонной сетью 108. Эта линия связи используется для загрузки криптографического ключа для второй сети 110 связи, которая может быть сетью IEEE 802.11, Bluetooth, WiMax или IEEE 802.15, на которую в данном документе ссылаются как на беспроводную ЛС. Криптографический ключ беспроводной ЛС может представлять собой 64- или 128-битный код, например. Функциональные возможности защиты сотовой сети общеприняты и достаточно надежны. Следовательно, можно предположить, что доступ к серверу 116 параметров и распределение криптографических ключей беспроводной ЛС контролируются. Это предположение может быть недействительно, если доступ к серверу 116 параметров разрешается другим, менее защищенным, сетям.
Например, если вторая сеть 110 представляет собой сеть IEEE 802.11, то загруженный криптографический ключ может использоваться для установки линии связи с ТД 120 стандарта 802.11. Система 112 беспроводной ЛС выполняет мониторинг сети 110 IEEE 802.11 и детектирует MAC-адрес или ID сети (или оба из них), связанные с ТД 120. Сотовая подсистема 112 предоставляет MAC-адрес ТД и ID сети в сервер 116 параметров через сотовую сеть 108 и загружает криптографический ключ, связанный с контролируемой ТД 120.
Ссылаясь на фиг.1, в еще одном непоказанном аспекте вторая сеть 108 связи может быть сотовой сетью. В этом аспекте первая сеть 108 (то есть сеть Ethernet или беспроводная ЛС) может использоваться для загрузки информации идентификации (например, модуля идентификации абонента (Subscriber Identification Module, SIM)) для сотовой подсистемы 112. Альтернативно, электронный серийный номер (Electronic Serial Number, ESN) представляет собой номер, который используется, чтобы идентифицировать отдельное устройство или компонент аппаратного обеспечения. ID мобильного оборудования (Mobile Equipment ID, MEID) также является идентификатором устройства. Международный идентификатор мобильного абонента (International Mobile Subscriber Identity, IMSI) является номером, который используется для идентификации абонента (телефонного номера) в сотовой сети. Мобильный идентификационный номер (Mobile Identity Number, MIN) представляет собой десятизначный номер, который раньше использовался в сетях Северной Америки и после этого был заменен на IMSI. Потенциально могут использоваться другие типы идентификаторов, при условии, чтобы они были известны как ТП, так и сотовой сети. Эта методология будет полезной для инициализации сотовых телефонов, которые отгружаются с завода без идентификаторов, так что этот процесс может быть выполнен пользователем дома или автоматически, в сервисной службе телефонного оператора.
В еще одном аспекте системы доверие, установленное между ТП и первой сетью, может быть применено для подтверждения идентичности абонента ТП. Если первая сеть является сотовой телефонной сетью, то может быть установлен высокий уровень доверия, поскольку процедуры безопасности сотовой сети хорошо проработаны. Параметры доступа для второй сети могут быть загружены на основании подтверждения идентификации абонента ТП в сотовой сети.
Например, абоненту назначается номер мобильного телефона в результате открытия счета у оператора сотовой сети. Службы стандарта 802.11 могут быть предоставлены поставщиком беспроводной ЛС в различных местах города. Когда абонент подписывается на услугу у поставщика беспроводной ЛС, он может передать поставщику беспроводной ЛС мобильный номер ТП, по которому поставщик беспроводной ЛС строит перекрестную ссылку на идентификатор абонента в беспроводной ЛС. Так, если абонент должен получить новую ТД в беспроводной ЛС, то мобильный номер может использоваться как функция безопасности при получении параметров для новой ТД.
Тот же сервер беспроводной ЛС, который предоставляет информацию доступа, может использовать сотовую сеть для подтверждения идентичности абонента ТП. То есть сервер беспроводной локальной сети может использовать мобильный телефонный номер, который связан с подпиской телефонной сети, в качестве дополнительной аттестации лица, запрашивающего информацию доступа. Чтобы доставить эту информацию, сервер беспроводной ЛС может использовать службы, которые индексируются, используя телефонный номер.
Например, сервер беспроводной ЛС может выполнить вызов мобильного телефонного номера и удостовериться, что ответивший на звонок пользователь является действительным абонентом. Эта проверка подлинности может быть выполнена через канал данных (канал пакетной передачи данных), который уже используется в голосовом вызове, запрашивая параметры доступа. Еще одной опцией является использование канала службы коротких сообщений (Short Message Service, SMS). Сервер беспроводной ЛС может передать параметры доступа в SMS на мобильный номер абонента. Третьей опцией может быть использование служб передачи данных сотовой сети, чтобы выполнить входящий мобильный информационный вызов на ТП.
Функциональное описание
Фиг.4 представляет собой схему последовательности операций способа для распределения параметров доступа беспроводной сети в ТП многорежимной связи. Несмотря на то что для ясности способ показан как последовательность пронумерованных этапов, эта нумерация не определяет порядок этапов. Следует понимать, что некоторые из этих этапов могут быть пропущены, выполнены параллельно или выполнены без необходимости сохранения строгого порядка последовательности. Способ начинается на этапе 400.
На этапе 402 устанавливают линию связи между ТП и первой сетью связи. На этапе 404 выполняют доступ к серверу параметров через первую сеть. На этапе 406 загружают параметры доступа для беспроводной второй сети связи. На этапе 408 используют загруженные параметры доступа, чтобы установить беспроводную линию связи между ТП и второй сетью связи.
В одном аспекте загрузка параметров доступа для второй сети связи на этапе 406 включает в себя загрузку такой информации, как криптографический ключ, SSID, назначение канала потока обмена, информация настройки WEP и параметры оптимизации. Параметры оптимизации могут включать в себя мощность передачи, мощность приема, скорость передачи, настройки QoS или рабочий режим.
В еще одном аспекте установка линии связи между ТП и первой сетью связи на этапе 402 включает в себя установку линии связи с первой сетью связи, такой как сеть Ethernet, IEEE 802.11, IEEE 802.15, Bluetooth, WiMax или сотовая телефонная сеть. В еще одном другом аспекте установка линии связи между ТП и второй сетью связи на этапе 408 включает в себя установку линии связи со второй сетью связи, такой как сеть IEEE 802.11, Bluetooth, WiMax, IEEE 802.15 или сотовая телефонная сеть.
В одном аспекте выполнение доступа к серверу параметров через первую сеть связи на этапе 404 включает в себя подэтапы. На этапе 404а предоставляют MAC-адрес, связанный с базовым терминалом второй сети. На этапе 404b выполняют доступ к базе данных, которая задает перекрестные ссылки MAC-адреса к параметрам, необходимым для доступа к базовому терминалу.
В еще одном аспекте выполнение доступа к серверу параметров через первую сеть связи на этапе 404 включает в себя альтернативные подэтапы. На этапе 404c предоставляют идентификатор (ID), связанный с ТП. На этапе 404d выполняют доступ к базе данных, задающей перекрестные ссылки ID ТП к таким параметрам, как QoS, IP-адрес, информация шлюза, маска подсети, информация DNS и географическое местоположение.
В одном примере на этапе 402 устанавливают линию связи с сотовой телефонной сетью и на этапе 406 загружают криптографический ключ для второй сети, которая может быть сетью IEEE 802.11, Bluetooth, WiMax или IEEE 802.15. Далее, на этапе 408 используют криптографический ключ, чтобы установить линию связи между ТП и второй сетью.
В одном аспекте установка линии связи между ТП и первой сетью связи на этапе 402 включает в себя установку линии связи с сотовой телефонной сетью, и способ содержит дополнительный этап. На этапе 403 подтверждают идентичность абонента ТП в ответ на установку линии связи между ТП и сотовой сетью. Так, загрузка параметров доступа для второй сети связи на этапе 406 включает в себя загрузку параметров доступа в ответ на подтверждение идентичности абонента ТП. Например, на этапе 406 могут загрузить параметры доступа через такой канал, как канал пакетной передачи данных сотовой сети, канал SMS сотовой сети или входящий информационный вызов ТП сотовой сети. Все эти процессы загрузки автоматически подтверждают идентичность абонента ТП на основании доверия, установленного между ТП и сотовой сетью.
Фиг.5 представляет собой схему последовательности операций способа для распределения параметров доступа IEEE 802.11 в ТП многорежимной связи. В этом примере на этапе 401а выполняют мониторинг сети IEEE 802.11. На этапе 401b детектируют MAC-адрес и ID сети, связанные с ТД. На этапе 402 устанавливают линию связи между ТП и сотовой телефонной сетью. На этапе 404 предоставляют параметры MAC-адреса ТП и ID сети в сервер параметров через сотовую сеть. На этапе 406 загружают криптографический ключ для контролируемой ТД в сети IEEE 802.11 и на этапе 408 используют криптографический ключ, чтобы установить линию связи между ТП и точкой доступа (ТД) IEEE 802.11.
Предоставлены система и способ для распределения параметров доступа беспроводной сети в контексте многорежимного ТП. Детали конкретных сетевых параметров, идентификаторов и протоколов защиты представлены выше для облегчения разъяснения настоящего изобретения. Тем не менее настоящее изобретение не ограничено только этими деталями. Специалистам в данной области техники будут очевидны другие вариации и варианты осуществления настоящего изобретения.
Claims (23)
1. Способ для распределения параметров доступа беспроводной сети, используемый в многорежимном терминале пользователя (ТП), содержащий этапы, на которых:
контролируют диапазон радиосвязи для второй беспроводной сети связи;
обнаруживают в контролируемом диапазоне радиосвязи по меньшей мере один идентификатор, соответствующий второй беспроводной сети связи, при этом ТП не содержит параметров доступа для доступа во вторую беспроводную сеть связи;
устанавливают линию связи между ТП и первой сетью связи, доступной для ТП;
выполняют доступ к серверу параметров через первую сеть связи;
предоставляют по меньшей мере один обнаруженный идентификатор в сервер параметров;
автоматически загружают параметры доступа из сервера параметров для второй беспроводной сети связи, основываясь на обнаруженном по меньшей мере одном идентификаторе; и
используют загруженные параметры доступа для установления беспроводной линии связи между ТП и второй беспроводной сетью связи.
контролируют диапазон радиосвязи для второй беспроводной сети связи;
обнаруживают в контролируемом диапазоне радиосвязи по меньшей мере один идентификатор, соответствующий второй беспроводной сети связи, при этом ТП не содержит параметров доступа для доступа во вторую беспроводную сеть связи;
устанавливают линию связи между ТП и первой сетью связи, доступной для ТП;
выполняют доступ к серверу параметров через первую сеть связи;
предоставляют по меньшей мере один обнаруженный идентификатор в сервер параметров;
автоматически загружают параметры доступа из сервера параметров для второй беспроводной сети связи, основываясь на обнаруженном по меньшей мере одном идентификаторе; и
используют загруженные параметры доступа для установления беспроводной линии связи между ТП и второй беспроводной сетью связи.
2. Способ по п.1, в котором на этапе загрузки параметров доступа для второй сети связи загружают информацию, выбранную из группы, в которую входят криптографический ключ, Идентификатор Комплекта Услуг (Service Set Identifier (SSID)), назначение канала потока обмена, данные настройки протокола WEP (Wired Equivalent Privacy) и параметры оптимизации, включающие в себя мощность передачи, мощность приема, скорость передачи, настройки качества обслуживания (Quality of Service, QoS) и рабочий режим.
3. Способ по п.1, в котором на этапе установки линии связи между ТП и первой сетью связи устанавливают линию связи с первой сетью связи, выбранной из группы, в которую входят сеть Ethernet, IEEE 802.11, IEEE 802.15, Bluetooth, WiMax и сотовая телефонная сеть.
4. Способ по п.1, в котором на этапе установки линии связи между ТП и второй сетью связи устанавливают линию связи со второй сетью связи, выбранной из группы, в которую входят сеть IEEE 802.11, Bluetooth, WiMax, IEEE 802.15 и сотовая телефонная сеть.
5. Способ по п.1, в котором на этапе доступа к серверу параметров через первую сеть связи:
предоставляют МАС-адрес, связанный с базовым терминалом второй сети; и
выполняют доступ к базе данных, которая задает перекрестные ссылки МАС-адреса к параметрам, необходимым для доступа к базовому терминалу.
предоставляют МАС-адрес, связанный с базовым терминалом второй сети; и
выполняют доступ к базе данных, которая задает перекрестные ссылки МАС-адреса к параметрам, необходимым для доступа к базовому терминалу.
6. Способ по п.1, в котором на этапе доступа к серверу параметров через первую сеть связи:
предоставляют идентификатор (ID), связанный с ТП; и выполняют доступ к базе данных, задающей перекрестные ссылки ID ТП к параметрам, выбранным из группы, в которую входят QoS, IP-адрес, информация шлюза, маска подсети, информация сервера доменных имен (DNS) и географическое местоположение.
предоставляют идентификатор (ID), связанный с ТП; и выполняют доступ к базе данных, задающей перекрестные ссылки ID ТП к параметрам, выбранным из группы, в которую входят QoS, IP-адрес, информация шлюза, маска подсети, информация сервера доменных имен (DNS) и географическое местоположение.
7. Способ по п.1, в котором на этапе установки линии связи между ТП и первой сетью связи устанавливают линию связи с сотовой телефонной сетью;
причем на этапе загрузки параметров доступа для второй сети связи загружают криптографический ключ для второй сети, выбранной из группы, в которую входят сеть IEEE 802.11, Bluetooth, WiMax и IEEE 802.15; и
на этапе использования загруженных параметров доступа для установки беспроводной линии связи между ТП и второй сетью связи используют криптографический ключ, чтобы установить линию связи между ТП и второй сетью связи.
причем на этапе загрузки параметров доступа для второй сети связи загружают криптографический ключ для второй сети, выбранной из группы, в которую входят сеть IEEE 802.11, Bluetooth, WiMax и IEEE 802.15; и
на этапе использования загруженных параметров доступа для установки беспроводной линии связи между ТП и второй сетью связи используют криптографический ключ, чтобы установить линию связи между ТП и второй сетью связи.
8. Способ по п.1, в котором на этапе установки линии связи между ТП и первой сетью связи устанавливают линию связи с сотовой телефонной сетью;
причем на этапе загрузки параметров доступа для второй сети связи загружают криптографический ключ для сети IEEE 802.11; и на этапе использования загруженных параметров доступа для установки беспроводной линии связи между ТП и второй сетью связи используют криптографический ключ, чтобы установить линию связи между ТП и точкой доступа (ТД) IEEE 802.11.
причем на этапе загрузки параметров доступа для второй сети связи загружают криптографический ключ для сети IEEE 802.11; и на этапе использования загруженных параметров доступа для установки беспроводной линии связи между ТП и второй сетью связи используют криптографический ключ, чтобы установить линию связи между ТП и точкой доступа (ТД) IEEE 802.11.
9. Способ по п.8, содержащий также этапы, на которых:
выполняют мониторинг сети IEEE 802.11;
детектируют МАС-адрес и ID сети, связанные с ТД;
причем на этапе доступа к серверу параметров через сотовую телефонную сеть предоставляют МАС-адрес ТД и ID сети в сервер параметров; и на этапе загрузки криптографического ключа для сети IEEE 802.11 загружают криптографический ключ, связанный с контролируемой ТД.
выполняют мониторинг сети IEEE 802.11;
детектируют МАС-адрес и ID сети, связанные с ТД;
причем на этапе доступа к серверу параметров через сотовую телефонную сеть предоставляют МАС-адрес ТД и ID сети в сервер параметров; и на этапе загрузки криптографического ключа для сети IEEE 802.11 загружают криптографический ключ, связанный с контролируемой ТД.
10. Способ по п.1, в котором на этапе установки линии связи между ТП и первой сетью связи устанавливают линию связи с сотовой телефонной сетью;
и способ также содержит этапы, на которых:
подтверждают идентичность абонента ТП в ответ на установку линии связи между ТП и сотовой сетью; и
на этапе загрузки параметров доступа для второй сети загружают параметры доступа в ответ на подтверждение идентичности абонента ТП.
и способ также содержит этапы, на которых:
подтверждают идентичность абонента ТП в ответ на установку линии связи между ТП и сотовой сетью; и
на этапе загрузки параметров доступа для второй сети загружают параметры доступа в ответ на подтверждение идентичности абонента ТП.
11. Способ по п.10, в котором на этапе загрузки параметров доступа в ответ на подтверждение идентичности абонента ТП загружают параметры доступа через канал, выбранный из группы, в которую входят канал пакетной передачи данных сотовой сети, канал Службы Коротких Сообщений (Short Message Service, SMS) сотовой сети и входящий информационный вызов ТП сотовой сети.
12. Система для распределения параметров доступа беспроводной сети, используемая в многорежимном терминале пользователя (ТП), содержащая:
вторую подсистему для контроля диапазона радиосвязи для второй беспроводной сети связи и обнаружения в контролируемом диапазоне радиосвязи по меньшей мере одного идентификатора, соответствующего второй беспроводной сети связи, при этом ТП не содержит параметров доступа для доступа во вторую беспроводную сеть связи;
первую подсистему для установления линии связи между ТП и первой сетью связи, доступной для ТП, для выполнения доступа к серверу параметров через первую сеть, предоставления обнаруженного по меньшей мере одного идентификатора в сервер параметров и автоматической загрузки параметров доступа из сервера параметров для второй беспроводной сети связи, основываясь на обнаруженном по меньшей мере одном идентификаторе; и
при этом вторая подсистема также обеспечивает установление беспроводной линии связи между ТП и второй сетью связи, используя параметры доступа, которые были загружены в первую подсистему.
вторую подсистему для контроля диапазона радиосвязи для второй беспроводной сети связи и обнаружения в контролируемом диапазоне радиосвязи по меньшей мере одного идентификатора, соответствующего второй беспроводной сети связи, при этом ТП не содержит параметров доступа для доступа во вторую беспроводную сеть связи;
первую подсистему для установления линии связи между ТП и первой сетью связи, доступной для ТП, для выполнения доступа к серверу параметров через первую сеть, предоставления обнаруженного по меньшей мере одного идентификатора в сервер параметров и автоматической загрузки параметров доступа из сервера параметров для второй беспроводной сети связи, основываясь на обнаруженном по меньшей мере одном идентификаторе; и
при этом вторая подсистема также обеспечивает установление беспроводной линии связи между ТП и второй сетью связи, используя параметры доступа, которые были загружены в первую подсистему.
13. Система по п.12, в которой первая подсистема загружает параметры доступа для второй сети связи, причем эти параметры выбираются из группы, в которую входят криптографический ключ, Идентификатор Комплекта Услуг (Service Set Identifier (SSID)), назначение канала потока обмена и параметры оптимизации, включающие в себя мощность передачи, мощность приема, скорость передачи, настройки качества обслуживания (Quality of Service, QoS), данные настройки протокола WEP (Wired Equivalent Privacy) и рабочий режим.
14. Система по п.12, в которой первая подсистема устанавливает линию связи с первой сетью связи, выбранной из группы, в которую входят сеть Ethernet, IEEE 802.11, IEEE 802.15, Bluetooth, WiMax и сотовая телефонная сеть.
15. Система по п.12, в которой вторая подсистема устанавливает линию связи со второй сетью связи, выбранной из группы, в которую входят сеть IEEE 802.11, Bluetooth, WiMax, IEEE 802.15 и сотовая телефонная сеть.
16. Система по п.12, в которой первая подсистема выполняет доступ к серверу параметров путем предоставления МАС-адреса, связанного с базовым терминалом второй сети связи, и выполняет доступ к базе данных, задающей перекрестные ссылки МАС-адреса к параметрам, требуемым для доступа к базовому терминалу.
17. Система по п.12, в которой первая подсистема выполняет доступ к серверу параметров путем предоставления ID, связанного с ТП, и выполняет доступ к базе данных, задающей перекрестные ссылки ID ТП к параметрам, выбранным из группы, в которую входят QoS, IP-адрес, информация шлюза, маска подсети, информация сервера доменных имен (DNS) и географическое местоположение.
18. Система по п.12, в которой первая подсистема представляет собой сотовую подсистему для установки линии связи с сотовой телефонной сетью, причем эта подсистема загружает криптографический ключ для второй сети связи; и
вторая подсистема использует криптографический ключ, чтобы установить линию связи между ТП и второй сетью связи, выбранной из группы, в которую входят сети IEEE 802.11, Bluetooth, WiMax и IEEE 802.15.
вторая подсистема использует криптографический ключ, чтобы установить линию связи между ТП и второй сетью связи, выбранной из группы, в которую входят сети IEEE 802.11, Bluetooth, WiMax и IEEE 802.15.
19. Система по п.12, в которой первая подсистема представляет собой сотовую подсистему для установки линии связи с сотовой телефонной сетью,
причем эта подсистема загружает криптографический ключ для сети IEEE 802.11; и
вторая подсистема представляет собой подсистему беспроводной локальной сети (ЛС), которая использует упомянутый криптографический ключ, чтобы установить линию связи с точкой доступа (ТД) IEEE 802.11.
причем эта подсистема загружает криптографический ключ для сети IEEE 802.11; и
вторая подсистема представляет собой подсистему беспроводной локальной сети (ЛС), которая использует упомянутый криптографический ключ, чтобы установить линию связи с точкой доступа (ТД) IEEE 802.11.
20. Система по п.19, в которой подсистема беспроводной ЛС выполняет мониторинг сети IEEE 802.11 и детектирует МАС-адрес и ID сети, связанные с ТД; и
сотовая подсистема предоставляет МАС-адрес ТД и ID сети в сервер параметров через сотовую сеть и загружает криптографический ключ, связанный с контролируемой ТД.
сотовая подсистема предоставляет МАС-адрес ТД и ID сети в сервер параметров через сотовую сеть и загружает криптографический ключ, связанный с контролируемой ТД.
21. Система по п.12, в которой первая подсистема представляет собой беспроводную сотовую телефонную сеть, и эта сотовая подсистема загружает параметры доступа для второй сети связи в ответ на подтверждение идентичности абонента ТП.
22. Система по п.21, в которой сотовая подсистема загружает параметры доступа для абонента ТП с подтвержденной идентичностью через канал, выбранный из группы, в которую входят канал пакетной передачи данных сотовой сети, канал Службы Коротких Сообщений (Short Message Service, SMS) сотовой сети и входящий информационный вызов ТП сотовой сети.
23. Система для распределения параметров доступа беспроводной сети, содержащая:
многорежимный терминал пользователя (ТП), содержащий: вторую подсистему для контроля диапазона радиосвязи для второй беспроводной сети связи и обнаружения в контролируемом диапазоне радиосвязи по меньшей мере одного идентификатора, соответствующего второй беспроводной сети связи, при этом ТП не содержит параметров доступа для доступа во вторую беспроводную сеть связи;
первую подсистему для установления линии связи между ТП и первой сетью связи, доступной для ТП, для выполнения доступа к серверу параметров через первую сеть, предоставления обнаруженного по меньшей мере одного идентификатора в сервер параметров и автоматической загрузки параметров доступа из сервера параметров для второй беспроводной сети связи, основываясь на обнаруженном по меньшей мере одном идентификаторе; и
при этом вторая подсистема также обеспечивает установление беспроводной линии связи между ТП и второй сетью связи, используя параметры доступа, которые были загружены в первую подсистему; и сервер параметров, имеющий интерфейс, который соединен с первой сетью для предоставления параметров доступа второй сети.
многорежимный терминал пользователя (ТП), содержащий: вторую подсистему для контроля диапазона радиосвязи для второй беспроводной сети связи и обнаружения в контролируемом диапазоне радиосвязи по меньшей мере одного идентификатора, соответствующего второй беспроводной сети связи, при этом ТП не содержит параметров доступа для доступа во вторую беспроводную сеть связи;
первую подсистему для установления линии связи между ТП и первой сетью связи, доступной для ТП, для выполнения доступа к серверу параметров через первую сеть, предоставления обнаруженного по меньшей мере одного идентификатора в сервер параметров и автоматической загрузки параметров доступа из сервера параметров для второй беспроводной сети связи, основываясь на обнаруженном по меньшей мере одном идентификаторе; и
при этом вторая подсистема также обеспечивает установление беспроводной линии связи между ТП и второй сетью связи, используя параметры доступа, которые были загружены в первую подсистему; и сервер параметров, имеющий интерфейс, который соединен с первой сетью для предоставления параметров доступа второй сети.
Applications Claiming Priority (2)
| Application Number | Priority Date | Filing Date | Title |
|---|---|---|---|
| US11/238,811 | 2005-09-28 | ||
| US11/238,811 US7653037B2 (en) | 2005-09-28 | 2005-09-28 | System and method for distributing wireless network access parameters |
Publications (2)
| Publication Number | Publication Date |
|---|---|
| RU2008116625A RU2008116625A (ru) | 2009-11-10 |
| RU2431925C2 true RU2431925C2 (ru) | 2011-10-20 |
Family
ID=37640645
Family Applications (1)
| Application Number | Title | Priority Date | Filing Date |
|---|---|---|---|
| RU2008116625/09A RU2431925C2 (ru) | 2005-09-28 | 2006-09-28 | Система и способ для распределения параметров доступа беспроводной сети |
Country Status (11)
| Country | Link |
|---|---|
| US (2) | US7653037B2 (ru) |
| EP (2) | EP1929810A1 (ru) |
| JP (4) | JP4944118B2 (ru) |
| KR (2) | KR101012987B1 (ru) |
| CN (2) | CN102932878B (ru) |
| BR (1) | BRPI0616762A2 (ru) |
| CA (1) | CA2623944C (ru) |
| RU (1) | RU2431925C2 (ru) |
| SG (1) | SG166795A1 (ru) |
| TW (1) | TWI332333B (ru) |
| WO (1) | WO2007038781A1 (ru) |
Cited By (3)
| Publication number | Priority date | Publication date | Assignee | Title |
|---|---|---|---|---|
| RU2679345C1 (ru) * | 2015-04-07 | 2019-02-07 | Хуавэй Текнолоджиз Ко., Лтд. | Способ и устройство для автоматического сетевого взаимодействия устройства шлюза |
| RU2739435C2 (ru) * | 2015-12-31 | 2020-12-24 | Конинклейке Филипс Н.В. | Система беспроводной связи с несколькими уровнями безопасности |
| RU2751673C1 (ru) * | 2018-06-15 | 2021-07-15 | Гуандун Оппо Мобайл Телекоммьюникейшнз Корп., Лтд. | Способ отправки данных по порядку, сетевое устройство и терминальное устройство |
Families Citing this family (98)
| Publication number | Priority date | Publication date | Assignee | Title |
|---|---|---|---|---|
| JP4006452B2 (ja) * | 2005-06-13 | 2007-11-14 | キヤノン株式会社 | 通信装置、通信方法及びその通信方法をコンピュータに実行させるためのコンピュータプログラム |
| US7653037B2 (en) * | 2005-09-28 | 2010-01-26 | Qualcomm Incorporated | System and method for distributing wireless network access parameters |
| JP4843419B2 (ja) * | 2005-10-13 | 2011-12-21 | ポリマテック株式会社 | キーシート |
| US20070266422A1 (en) * | 2005-11-01 | 2007-11-15 | Germano Vernon P | Centralized Dynamic Security Control for a Mobile Device Network |
| US20070109982A1 (en) * | 2005-11-11 | 2007-05-17 | Computer Associates Think, Inc. | Method and system for managing ad-hoc connections in a wireless network |
| US8040858B2 (en) * | 2005-12-20 | 2011-10-18 | At&T Intellectual Property I, Lp | Method for enabling communications between a communication device and a wireless access point |
| US7813325B2 (en) * | 2006-03-03 | 2010-10-12 | Sony Ericsson Mobile Communications Ab | Location information communication |
| JP5013728B2 (ja) * | 2006-03-20 | 2012-08-29 | キヤノン株式会社 | システム及びその処理方法、並びに通信装置及び処理方法 |
| US8359062B2 (en) * | 2006-12-29 | 2013-01-22 | Hewlett-Packard Development Company, L.P. | Network access across wireless technologies |
| US8522019B2 (en) * | 2007-02-23 | 2013-08-27 | Qualcomm Incorporated | Method and apparatus to create trust domains based on proximity |
| GB2449923B (en) * | 2007-06-09 | 2011-09-28 | King S College London | Inter-working of networks |
| US10496799B1 (en) * | 2007-07-24 | 2019-12-03 | United Services Automobile Association (Usaa) | Automated registration and licensing tool |
| JP2009033632A (ja) | 2007-07-30 | 2009-02-12 | Nec Corp | WiMAXシステム、無線端末及び無線基地局 |
| JP5538680B2 (ja) * | 2008-01-15 | 2014-07-02 | キヤノン株式会社 | 通信装置、制御方法、プログラム、記憶媒体 |
| JP4891268B2 (ja) * | 2008-01-15 | 2012-03-07 | キヤノン株式会社 | 通信装置、制御方法、プログラム、記憶媒体 |
| ES2391993T3 (es) * | 2008-01-17 | 2012-12-03 | Nokia Siemens Networks Oy | Asignación de un identificador de flujo de servicio a un anfitrión detrás de una pasarela MS |
| US8116735B2 (en) * | 2008-02-28 | 2012-02-14 | Simo Holdings Inc. | System and method for mobile telephone roaming |
| CN101616454B (zh) * | 2008-06-23 | 2012-12-12 | 华为技术有限公司 | 数据传输方法、装置及通信系统 |
| US9020505B2 (en) | 2008-09-17 | 2015-04-28 | Qualcomm Incorporated | Quick system selection and acquisition for multi-mode mobile devices |
| JP5168042B2 (ja) * | 2008-09-17 | 2013-03-21 | 株式会社リコー | 近距離無線通信の遠隔通信設定方法、接続支援サーバ装置およびプログラム、画像形成装置およびプログラム |
| JP5236414B2 (ja) * | 2008-09-29 | 2013-07-17 | 京セラ株式会社 | 無線通信端末 |
| US20100087164A1 (en) * | 2008-10-05 | 2010-04-08 | Sony Ericsson Mobile Communications Ab | Wlan set up using phone number identification apparatus and method |
| WO2010071958A1 (en) | 2008-12-24 | 2010-07-01 | Bce Inc. | System for end user premise event notification |
| US8189567B2 (en) * | 2009-01-29 | 2012-05-29 | Telefonaktiebolaget L M Ericsson (Publ) | Method and nodes for registering a terminal |
| KR101102663B1 (ko) * | 2009-02-13 | 2012-01-04 | 삼성전자주식회사 | 휴대단말기와 디지털 기기간 자동 무선 연결을 위한 시스템 및 방법 |
| KR101015665B1 (ko) | 2009-03-16 | 2011-02-22 | 삼성전자주식회사 | 이동 통신 단말과 액세스 포인트 간에 연결 방법 및 시스템 |
| KR101085629B1 (ko) * | 2009-03-16 | 2011-11-22 | 삼성전자주식회사 | 이동통신 단말에서 ⅰp 통신의 네트워크 설정 방법 및 장치 |
| JP5159678B2 (ja) * | 2009-03-23 | 2013-03-06 | 株式会社日立製作所 | 通信端末、プログラム及び通信システム |
| KR101637584B1 (ko) | 2009-04-21 | 2016-07-07 | 엘지전자 주식회사 | 무선 통신 시스템상에서 서비스의 품질(QoS)을 보장하는 방법 |
| US8943552B2 (en) | 2009-04-24 | 2015-01-27 | Blackberry Limited | Methods and apparatus to discover authentication information in a wireless networking environment |
| US8532618B2 (en) | 2009-07-03 | 2013-09-10 | Futurewei Technologies, Inc. | System and method for communications device and network component operation |
| US8385549B2 (en) * | 2009-08-21 | 2013-02-26 | Industrial Technology Research Institute | Fast authentication between heterogeneous wireless networks |
| WO2011039572A1 (en) * | 2009-09-30 | 2011-04-07 | Nokia Corporation | Apparatus and method for providing access to a local area network |
| CN102484844B (zh) * | 2009-09-30 | 2015-07-15 | 诺基亚公司 | 用于提供对局域网的接入的装置和方法 |
| JP5628822B2 (ja) * | 2009-11-06 | 2014-11-19 | 株式会社Nttドコモ | 移動通信システム、無線制御装置、移動通信端末、移動通信方法 |
| KR101647147B1 (ko) | 2009-11-19 | 2016-08-10 | 삼성전자주식회사 | 듀얼 모뎀을 가지는 이동통신 장치 및 그를 이용한 통신 방법 |
| GB201000448D0 (en) * | 2010-01-12 | 2010-02-24 | Cambridge Silicon Radio Ltd | Indirect pairing |
| US20110222523A1 (en) * | 2010-03-12 | 2011-09-15 | Mediatek Inc | Method of multi-radio interworking in heterogeneous wireless communication networks |
| GB201007012D0 (en) * | 2010-04-27 | 2010-06-09 | Vodafone Ip Licensing Ltd | Improving data rate in mobile communication network |
| US8644276B2 (en) | 2010-05-13 | 2014-02-04 | Research In Motion Limited | Methods and apparatus to provide network capabilities for connecting to an access network |
| US8467359B2 (en) * | 2010-05-13 | 2013-06-18 | Research In Motion Limited | Methods and apparatus to authenticate requests for network capabilities for connecting to an access network |
| US8665842B2 (en) | 2010-05-13 | 2014-03-04 | Blackberry Limited | Methods and apparatus to discover network capabilities for connecting to an access network |
| CA2931739A1 (en) * | 2010-09-28 | 2012-04-05 | Fujitsu Limited | Method and base station, user equipment and system for activating coexistence work mode |
| US8555067B2 (en) * | 2010-10-28 | 2013-10-08 | Apple Inc. | Methods and apparatus for delivering electronic identification components over a wireless network |
| ES2534046T3 (es) * | 2010-11-12 | 2015-04-16 | Deutsche Telekom Ag | Método y dispositivos para acceder a una red de área local inalámbrica |
| US8489072B1 (en) | 2010-11-16 | 2013-07-16 | Cellco Partnership | Authentication of mobile communication device communicating through Wi-Fi connection |
| EP2469903A1 (en) * | 2010-12-22 | 2012-06-27 | British Telecommunications public limited company | Wireless configuration |
| US20120170559A1 (en) * | 2011-01-05 | 2012-07-05 | Feinberg Eugene M | Method and system for out-of-band delivery of wireless network credentials |
| US9450759B2 (en) | 2011-04-05 | 2016-09-20 | Apple Inc. | Apparatus and methods for controlling distribution of electronic access clients |
| US20140057598A1 (en) * | 2011-05-13 | 2014-02-27 | Research In Motion Limited | Automatic access to network nodes |
| GB201110560D0 (en) * | 2011-06-22 | 2011-08-03 | Sonitor Technologies As | Radio communication system |
| US9137735B2 (en) * | 2011-08-02 | 2015-09-15 | Motorola Solutions, Inc. | Method and apparatus for distributing wireless local area network access information |
| CN102299804A (zh) * | 2011-09-21 | 2011-12-28 | 宇龙计算机通信科技(深圳)有限公司 | 应用服务器和私密数据控制方法 |
| GB2494920B8 (en) * | 2011-09-26 | 2014-02-19 | Validsoft Uk Ltd | Network connection method |
| EP2575379A1 (en) * | 2011-09-29 | 2013-04-03 | Alcatel Lucent | Apparatuses and computer program products for discovering and accessing local services via WiFi hotspots |
| US9276810B2 (en) * | 2011-12-16 | 2016-03-01 | Futurewei Technologies, Inc. | System and method of radio bearer management for multiple point transmission |
| CN103188753B (zh) * | 2011-12-27 | 2016-05-25 | 中国移动通信集团山东有限公司 | 基于异构网络之间不同链路进行数据传输的方法及装置 |
| BR102012003114B1 (pt) * | 2012-02-10 | 2021-06-22 | Mls Wirelles S/A. | método para ativar usuário e método para autenticar usuário em uma rede wi-fi de desvio de tráfego 3g |
| US9485235B2 (en) * | 2012-03-02 | 2016-11-01 | Qualcomm Incorporated | Systems and methods for inter-network service selection |
| US9253589B2 (en) * | 2012-03-12 | 2016-02-02 | Blackberry Limited | Wireless local area network hotspot registration using near field communications |
| EP2642777B1 (en) * | 2012-03-20 | 2015-03-11 | Giesecke & Devrient GmbH | Methods and devices for OTA management of mobile stations |
| CN103582071A (zh) * | 2012-07-30 | 2014-02-12 | 中兴通讯股份有限公司 | 实现未知接入密钥终端接入网络的方法、系统以及终端 |
| WO2014019629A1 (en) * | 2012-08-03 | 2014-02-06 | Telefonaktiebolaget L M Ericsson (Publ) | A node and method for determining a packet data network connection anchor point |
| KR101967682B1 (ko) | 2012-08-06 | 2019-08-19 | 삼성전자주식회사 | 사용자 단말 장치 및 이를 이용한 통신 방법 |
| US9137740B2 (en) * | 2012-09-10 | 2015-09-15 | Spectrum Bridge, Inc. | System and method for providing network access to electronic devices using bandwidth provisioning |
| CN103781154B (zh) * | 2012-10-19 | 2017-08-29 | 华为技术有限公司 | 一种在非蜂窝网中指示查询蜂窝网信息的方法及设备 |
| EP2728802B1 (en) * | 2012-11-02 | 2020-08-12 | Deutsche Telekom AG | Method and system for network and service controlled hybrid access |
| EP2929721B1 (en) * | 2012-11-23 | 2018-01-10 | Telefonaktiebolaget LM Ericsson (publ) | Network offloading |
| EP2747339A1 (en) * | 2012-12-20 | 2014-06-25 | Alcatel Lucent | Method for supporting data-communication, a related system and related devices |
| JP2014143524A (ja) * | 2013-01-23 | 2014-08-07 | Nec Access Technica Ltd | 通信システム、通信方法及び無線通信装置 |
| US10129716B1 (en) * | 2014-03-17 | 2018-11-13 | Andrew Ronnau | Methods and systems for social networking with autonomous mobile agents |
| CN103200617B (zh) * | 2013-04-12 | 2015-12-02 | 哈尔滨海能达科技有限公司 | 一种业务数据分流的方法、终端、基站和系统 |
| US9479923B2 (en) | 2013-04-17 | 2016-10-25 | Nokia Technologies Oy | Provisioning wireless subscriptions using software-based subscriber identity modules |
| US9326309B2 (en) * | 2013-04-30 | 2016-04-26 | Intellectual Discovery Co., Ltd. | Method and apparatus for supporting communication of multi-mode terminal |
| JP6099496B2 (ja) * | 2013-06-24 | 2017-03-22 | Kddi株式会社 | 管理装置及びプログラム |
| EP3008965A4 (en) * | 2013-07-12 | 2016-11-16 | Mediatek Singapore Pte Ltd | Method for channel access control in wireless local networks |
| US9191817B1 (en) * | 2013-09-09 | 2015-11-17 | Sprint Communications Company L.P. | Security key based authorization of voice call identification numbers in wireless communication devices |
| US20150127436A1 (en) * | 2013-11-04 | 2015-05-07 | David Neil MacDonald | Community wi-fi network |
| CN104684090A (zh) * | 2013-12-02 | 2015-06-03 | 中兴通讯股份有限公司 | 无线网络的通信处理方法及装置 |
| US9942762B2 (en) * | 2014-03-28 | 2018-04-10 | Qualcomm Incorporated | Provisioning credentials in wireless communications |
| WO2015157942A1 (zh) * | 2014-04-16 | 2015-10-22 | 华为终端有限公司 | 接入无线网络的装置及方法 |
| US10080166B2 (en) * | 2014-04-29 | 2018-09-18 | Hewlett Packard Enterprise Development Lp | Software defined wireless device management |
| FR3022665B1 (fr) * | 2014-06-23 | 2016-07-15 | Sigfox | Procede de recuperation d'un code d'authentification requis par une borne de controle et systeme correspondant |
| JP6053187B2 (ja) * | 2014-07-09 | 2016-12-27 | 日本電信電話株式会社 | 無線通信システム、無線基地局装置、無線端末装置及びデータ配信装置 |
| CN111556497B (zh) | 2014-08-21 | 2022-06-10 | 华为技术有限公司 | 无线网络接入控制方法及设备、系统 |
| US10149147B2 (en) * | 2014-11-28 | 2018-12-04 | Icom Incorporated | Terminal device, terminal configuration system, and terminal configuration method |
| KR102264992B1 (ko) | 2014-12-31 | 2021-06-15 | 삼성전자 주식회사 | 무선 통신 시스템에서 서버 할당 방법 및 장치 |
| WO2016117211A1 (ja) * | 2015-01-19 | 2016-07-28 | ソニー株式会社 | 無線通信装置、無線通信方法及びプログラム |
| WO2016163032A1 (ja) | 2015-04-10 | 2016-10-13 | 富士通株式会社 | 無線通信システム、基地局、移動局および処理方法 |
| EP3295690B1 (en) | 2015-05-08 | 2025-01-29 | SIMO Holdings Inc. | Virtual subscriber identity module for mobile communication device |
| RU2608559C2 (ru) * | 2015-05-12 | 2017-01-23 | Фудзицу Лимитед | Способ и базовая станция, пользовательское устройство и система для активации режима совместной работы |
| WO2017069413A1 (ko) * | 2015-10-19 | 2017-04-27 | ㈜와이스퀘어 | 보안키 관리장치 및 그 방법 |
| DE102015224837A1 (de) * | 2015-12-10 | 2017-06-14 | Volkswagen Aktiengesellschaft | Vorrichtungen, Verfahren und Computerprogramm zum Herstellen einer Kommunikationsverbindung zwischen einem Informationssystem und einem Mobilgerät |
| US10547694B2 (en) * | 2016-02-16 | 2020-01-28 | Qualcomm Incorporated | Out-of-band service discovery indication |
| EP3211864A1 (en) * | 2016-02-23 | 2017-08-30 | ABB Schweiz AG | Field communication interface with improved autoconfiguration |
| RU2748160C1 (ru) | 2018-01-15 | 2021-05-20 | Телефонактиеболагет Лм Эрикссон (Пабл) | Выбор экземпляра сетевой функции |
| KR102368019B1 (ko) * | 2021-08-31 | 2022-02-24 | 임형국 | 드릴 비트 |
| EP4463967A4 (en) * | 2022-01-12 | 2025-10-29 | Qualcomm Inc | FRAMEWORK FOR DEFINING ACCESS LAYER PARAMETERS BASED ON A DEVICE INPUT |
Citations (3)
| Publication number | Priority date | Publication date | Assignee | Title |
|---|---|---|---|---|
| RU2237381C2 (ru) * | 2001-03-30 | 2004-09-27 | Нокиа Корпорейшн | Способ поддержки передачи обслуживания между сетями радиодоступа |
| EP1492302A2 (en) * | 2003-06-25 | 2004-12-29 | Nokia Corporation | Method and system for establishing short-range service sessions |
| RU2260253C2 (ru) * | 2000-03-16 | 2005-09-10 | Нокиа Корпорейшн | Способ и система активизации контекста пакетных данных абонента для пакетных данных |
Family Cites Families (34)
| Publication number | Priority date | Publication date | Assignee | Title |
|---|---|---|---|---|
| US6484029B2 (en) | 1998-10-13 | 2002-11-19 | Symbol Technologies, Inc. | Apparatus and methods for adapting mobile unit to wireless LAN |
| FI110558B (fi) * | 2000-05-24 | 2003-02-14 | Nokia Corp | Menetelmä matkaviestinverkon kautta pakettidataverkkoon kytketyn päätelaitteen paikkatiedon käsittelemiseksi |
| US20020136226A1 (en) * | 2001-03-26 | 2002-09-26 | Bluesocket, Inc. | Methods and systems for enabling seamless roaming of mobile devices among wireless networks |
| WO2003029916A2 (en) * | 2001-09-28 | 2003-04-10 | Bluesocket, Inc. | Method and system for managing data traffic in wireless networks |
| JP2003124866A (ja) * | 2001-10-11 | 2003-04-25 | Nec Commun Syst Ltd | 移動端末故障探索システム |
| EP1311136A1 (en) | 2001-11-12 | 2003-05-14 | Lucent Technologies Inc. | Authentication in telecommunications networks |
| US8817757B2 (en) * | 2001-12-12 | 2014-08-26 | At&T Intellectual Property Ii, L.P. | Zero-configuration secure mobility networking technique with web-based authentication interface for large WLAN networks |
| US20030133421A1 (en) * | 2002-01-17 | 2003-07-17 | Rangamani Sundar | Method, system and apparatus for providing WWAN services to a mobile station serviced by a WLAN |
| JP2003224569A (ja) * | 2002-01-29 | 2003-08-08 | Sharp Corp | 無線通信システム |
| JP4024052B2 (ja) | 2002-02-07 | 2007-12-19 | シャープ株式会社 | 端末、通信システムおよび端末の通信方法を実現するためのプログラム |
| US7072657B2 (en) * | 2002-04-11 | 2006-07-04 | Ntt Docomo, Inc. | Method and associated apparatus for pre-authentication, preestablished virtual private network in heterogeneous access networks |
| CN1663168B (zh) * | 2002-04-26 | 2010-06-16 | 汤姆森许可公司 | 接入网之间互配中可传递的认证、授权和记帐 |
| WO2003101025A2 (en) * | 2002-05-28 | 2003-12-04 | Zte San Diego, Inc. | Interworking mechanism between cdma2000 and wlan |
| FR2842055B1 (fr) | 2002-07-05 | 2004-12-24 | Nortel Networks Ltd | Procede pour controler l'acces a un systeme cellulaire de radiocommunication a travers un reseau local sans fil, et organe de controle pour la mise en oeuvre du procede |
| US7606242B2 (en) * | 2002-08-02 | 2009-10-20 | Wavelink Corporation | Managed roaming for WLANS |
| JP2004072546A (ja) | 2002-08-08 | 2004-03-04 | Hitachi Ltd | 無線通信システム |
| JP2004088148A (ja) * | 2002-08-22 | 2004-03-18 | Matsushita Electric Ind Co Ltd | 無線lanシステム、移動体通信システム及び無線端末、並びに、端末認証方法 |
| JP2004112132A (ja) | 2002-09-17 | 2004-04-08 | Ricoh Co Ltd | 撮像方法及び撮像装置 |
| JP2004112135A (ja) * | 2002-09-17 | 2004-04-08 | Vodafone Kk | 通信サービス方法、並びに同方法に用いる通信サービス支援装置及び移動通信端末 |
| JP2004140563A (ja) * | 2002-10-17 | 2004-05-13 | Mitsubishi Electric Corp | 通信システムおよび通信端末装置 |
| JP4475377B2 (ja) | 2002-12-27 | 2010-06-09 | 日本電気株式会社 | 無線通信システム、共通鍵管理サーバ、および無線端末装置 |
| JP4120607B2 (ja) * | 2003-04-03 | 2008-07-16 | 松下電器産業株式会社 | ルータ装置および通信方法 |
| EP1492364A1 (en) | 2003-06-26 | 2004-12-29 | Alcatel | Method and registration server for over-the-air activation of an additional radio interface provided in a multi-mode radio user terminal |
| JP2005086471A (ja) * | 2003-09-09 | 2005-03-31 | Japan Telecom Co Ltd | 通信制御方法、および、端末装置 |
| US7206301B2 (en) | 2003-12-03 | 2007-04-17 | Institute For Information Industry | System and method for data communication handoff across heterogenous wireless networks |
| KR100735242B1 (ko) | 2003-12-16 | 2007-07-03 | 삼성전자주식회사 | 이동통신 네트워크와 무선 근거리 네트워크의 연동 정보를전달하고 통지하는 방법 및 시스템 |
| JP2005192163A (ja) * | 2003-12-26 | 2005-07-14 | Alps Electric Co Ltd | 通信方法及び携帯電話機 |
| JP4531549B2 (ja) * | 2004-01-29 | 2010-08-25 | 株式会社エヌ・ティ・ティ・ドコモ | 通信システム、通信端末および通信プログラム |
| FI20040392A0 (fi) * | 2004-03-12 | 2004-03-12 | Nokia Corp | Terminaalijärjestelmä ja radioresurssikontrolli langattomassa viestinjärjestelmässä |
| JP4206954B2 (ja) | 2004-04-02 | 2009-01-14 | 株式会社デンソー | 通信システム、移動無線端末、情報管理サーバ、および無線アクセスポイント装置。 |
| US7349695B2 (en) * | 2004-06-02 | 2008-03-25 | Nokia Corporation | Multimode roaming mobile devices |
| US20060092890A1 (en) * | 2004-11-01 | 2006-05-04 | Gupta Vivek G | Global network neighborhood: scheme for providing information about available networks in a geographical location |
| US8260257B2 (en) | 2005-02-07 | 2012-09-04 | Cisco Technology, Inc. | Key distribution for wireless devices |
| US7653037B2 (en) * | 2005-09-28 | 2010-01-26 | Qualcomm Incorporated | System and method for distributing wireless network access parameters |
-
2005
- 2005-09-28 US US11/238,811 patent/US7653037B2/en active Active
-
2006
- 2006-09-15 TW TW095134156A patent/TWI332333B/zh active
- 2006-09-28 KR KR1020107017947A patent/KR101012987B1/ko not_active Expired - Fee Related
- 2006-09-28 EP EP06816069A patent/EP1929810A1/en not_active Withdrawn
- 2006-09-28 RU RU2008116625/09A patent/RU2431925C2/ru active
- 2006-09-28 KR KR1020087010137A patent/KR101012899B1/ko not_active Expired - Fee Related
- 2006-09-28 WO PCT/US2006/038533 patent/WO2007038781A1/en not_active Ceased
- 2006-09-28 EP EP12167269.5A patent/EP2487865A3/en not_active Withdrawn
- 2006-09-28 SG SG201007951-5A patent/SG166795A1/en unknown
- 2006-09-28 CN CN201210405563.XA patent/CN102932878B/zh active Active
- 2006-09-28 CA CA2623944A patent/CA2623944C/en active Active
- 2006-09-28 CN CN2006800440912A patent/CN101317477B/zh active Active
- 2006-09-28 BR BRPI0616762-4A patent/BRPI0616762A2/pt not_active Application Discontinuation
- 2006-09-28 JP JP2008533758A patent/JP4944118B2/ja not_active Expired - Fee Related
-
2010
- 2010-01-25 US US12/693,355 patent/US8638765B2/en not_active Expired - Lifetime
-
2011
- 2011-07-11 JP JP2011153027A patent/JP5738695B2/ja not_active Expired - Fee Related
- 2011-12-09 JP JP2011270588A patent/JP2012100296A/ja not_active Withdrawn
-
2013
- 2013-11-25 JP JP2013243389A patent/JP6092083B2/ja not_active Expired - Fee Related
Patent Citations (3)
| Publication number | Priority date | Publication date | Assignee | Title |
|---|---|---|---|---|
| RU2260253C2 (ru) * | 2000-03-16 | 2005-09-10 | Нокиа Корпорейшн | Способ и система активизации контекста пакетных данных абонента для пакетных данных |
| RU2237381C2 (ru) * | 2001-03-30 | 2004-09-27 | Нокиа Корпорейшн | Способ поддержки передачи обслуживания между сетями радиодоступа |
| EP1492302A2 (en) * | 2003-06-25 | 2004-12-29 | Nokia Corporation | Method and system for establishing short-range service sessions |
Cited By (5)
| Publication number | Priority date | Publication date | Assignee | Title |
|---|---|---|---|---|
| RU2679345C1 (ru) * | 2015-04-07 | 2019-02-07 | Хуавэй Текнолоджиз Ко., Лтд. | Способ и устройство для автоматического сетевого взаимодействия устройства шлюза |
| US10630551B2 (en) | 2015-04-07 | 2020-04-21 | Huawei Technologies Co., Ltd. | Method and apparatus for automatic networking of gateway device |
| RU2739435C2 (ru) * | 2015-12-31 | 2020-12-24 | Конинклейке Филипс Н.В. | Система беспроводной связи с несколькими уровнями безопасности |
| RU2751673C1 (ru) * | 2018-06-15 | 2021-07-15 | Гуандун Оппо Мобайл Телекоммьюникейшнз Корп., Лтд. | Способ отправки данных по порядку, сетевое устройство и терминальное устройство |
| US11689334B2 (en) | 2018-06-15 | 2023-06-27 | Guangdong Oppo Mobile Telecommunications Corp., Ltd. | Method for submitting data in sequence, network device and terminal device |
Also Published As
| Publication number | Publication date |
|---|---|
| EP2487865A2 (en) | 2012-08-15 |
| JP5738695B2 (ja) | 2015-06-24 |
| US7653037B2 (en) | 2010-01-26 |
| CA2623944C (en) | 2013-02-19 |
| EP1929810A1 (en) | 2008-06-11 |
| KR20080054420A (ko) | 2008-06-17 |
| CA2623944A1 (en) | 2007-04-05 |
| CN101317477A (zh) | 2008-12-03 |
| US20100124193A1 (en) | 2010-05-20 |
| TW200729832A (en) | 2007-08-01 |
| JP2012016021A (ja) | 2012-01-19 |
| RU2008116625A (ru) | 2009-11-10 |
| US8638765B2 (en) | 2014-01-28 |
| JP2012100296A (ja) | 2012-05-24 |
| CN102932878B (zh) | 2016-11-09 |
| KR101012987B1 (ko) | 2011-02-10 |
| BRPI0616762A2 (pt) | 2011-06-28 |
| US20070070935A1 (en) | 2007-03-29 |
| WO2007038781A1 (en) | 2007-04-05 |
| EP2487865A3 (en) | 2017-09-13 |
| CN101317477B (zh) | 2012-12-05 |
| SG166795A1 (en) | 2010-12-29 |
| JP2009510947A (ja) | 2009-03-12 |
| JP6092083B2 (ja) | 2017-03-08 |
| KR101012899B1 (ko) | 2011-02-08 |
| CN102932878A (zh) | 2013-02-13 |
| KR20100105771A (ko) | 2010-09-29 |
| JP4944118B2 (ja) | 2012-05-30 |
| TWI332333B (en) | 2010-10-21 |
| JP2014096801A (ja) | 2014-05-22 |
Similar Documents
| Publication | Publication Date | Title |
|---|---|---|
| RU2431925C2 (ru) | Система и способ для распределения параметров доступа беспроводной сети | |
| US11089480B2 (en) | Provisioning electronic subscriber identity modules to mobile wireless devices | |
| US9717042B2 (en) | Network discovery and selection | |
| US20140004854A1 (en) | Method for steering a handset's user on preferred networks while roaming | |
| US11706591B2 (en) | Methods to enable Wi-Fi onboarding of user equipment by utilizing an eSIM | |
| US12356502B2 (en) | On-device physical SIM to eSIM conversion | |
| CN108353284A (zh) | 通信系统中的网关节点的选择 | |
| JP2011523236A (ja) | 限定された目的のためのネットワークへのアクセス | |
| US20230413036A1 (en) | Cellular wireless service plan transfer between non-linked wireless devices | |
| JP6266064B2 (ja) | ユーザ所有のアクセスポイントに第三者の無線端末を接続させる認証方法、アクセスポイント及びプログラム | |
| JP2025021808A (ja) | 無線ネットワークシステムおよび無線ネットワークシステムの制御方法 | |
| JP6266062B2 (ja) | ユーザ所有のアクセスポイントに第三者の無線端末を接続させる認証方法、アクセスポイント及びプログラム | |
| JP2022515904A (ja) | セキュアエレメントを移動体ネットワークオペレータのネットワークに接続する方法及び対応するセキュアエレメント |