KR930006159B1 - 자동차의 루우프개폐체 제어장치 - Google Patents
자동차의 루우프개폐체 제어장치 Download PDFInfo
- Publication number
- KR930006159B1 KR930006159B1 KR1019900003999A KR900003999A KR930006159B1 KR 930006159 B1 KR930006159 B1 KR 930006159B1 KR 1019900003999 A KR1019900003999 A KR 1019900003999A KR 900003999 A KR900003999 A KR 900003999A KR 930006159 B1 KR930006159 B1 KR 930006159B1
- Authority
- KR
- South Korea
- Prior art keywords
- opening
- vehicle
- loop
- lock
- rail
- Prior art date
- Legal status (The legal status is an assumption and is not a legal conclusion. Google has not performed a legal analysis and makes no representation as to the accuracy of the status listed.)
- Expired - Fee Related
Links
Images
Classifications
-
- B—PERFORMING OPERATIONS; TRANSPORTING
- B60—VEHICLES IN GENERAL
- B60J—WINDOWS, WINDSCREENS, NON-FIXED ROOFS, DOORS, OR SIMILAR DEVICES FOR VEHICLES; REMOVABLE EXTERNAL PROTECTIVE COVERINGS SPECIALLY ADAPTED FOR VEHICLES
- B60J7/00—Non-fixed roofs; Roofs with movable panels, e.g. rotary sunroofs
- B60J7/02—Non-fixed roofs; Roofs with movable panels, e.g. rotary sunroofs of sliding type, e.g. comprising guide shoes
- B60J7/06—Non-fixed roofs; Roofs with movable panels, e.g. rotary sunroofs of sliding type, e.g. comprising guide shoes with non-rigid element or elements
- B60J7/061—Non-fixed roofs; Roofs with movable panels, e.g. rotary sunroofs of sliding type, e.g. comprising guide shoes with non-rigid element or elements sliding and folding
-
- B—PERFORMING OPERATIONS; TRANSPORTING
- B60—VEHICLES IN GENERAL
- B60J—WINDOWS, WINDSCREENS, NON-FIXED ROOFS, DOORS, OR SIMILAR DEVICES FOR VEHICLES; REMOVABLE EXTERNAL PROTECTIVE COVERINGS SPECIALLY ADAPTED FOR VEHICLES
- B60J7/00—Non-fixed roofs; Roofs with movable panels, e.g. rotary sunroofs
- B60J7/08—Non-fixed roofs; Roofs with movable panels, e.g. rotary sunroofs of non-sliding type, i.e. movable or removable roofs or panels, e.g. let-down tops or roofs capable of being easily detached or of assuming a collapsed or inoperative position
Landscapes
- Engineering & Computer Science (AREA)
- Mechanical Engineering (AREA)
- Power-Operated Mechanisms For Wings (AREA)
- Body Structure For Vehicles (AREA)
Applications Claiming Priority (2)
| Application Number | Priority Date | Filing Date | Title |
|---|---|---|---|
| JP1-72779 | 1989-03-24 | ||
| JP1072779A JPH02249722A (ja) | 1989-03-24 | 1989-03-24 | 自動車のルーフ開閉体制御装置 |
Publications (2)
| Publication Number | Publication Date |
|---|---|
| KR900014167A KR900014167A (ko) | 1990-10-23 |
| KR930006159B1 true KR930006159B1 (ko) | 1993-07-08 |
Family
ID=13499214
Family Applications (1)
| Application Number | Title | Priority Date | Filing Date |
|---|---|---|---|
| KR1019900003999A Expired - Fee Related KR930006159B1 (ko) | 1989-03-24 | 1990-03-24 | 자동차의 루우프개폐체 제어장치 |
Country Status (3)
| Country | Link |
|---|---|
| JP (1) | JPH02249722A (enExample) |
| KR (1) | KR930006159B1 (enExample) |
| DE (1) | DE4009470A1 (enExample) |
Families Citing this family (7)
| Publication number | Priority date | Publication date | Assignee | Title |
|---|---|---|---|---|
| DE19731330C2 (de) * | 1997-07-22 | 2000-10-12 | Micro Compact Car Smart Gmbh | Verdeck für ein Fahrzeug |
| DE19927237C1 (de) * | 1999-06-15 | 2000-09-28 | Webasto Vehicle Sys Int Gmbh | Fahrzeugdach |
| DE19942426C2 (de) * | 1999-09-06 | 2001-10-04 | Webasto Vehicle Sys Int Gmbh | Verdeckmechanik eines Faltdaches für ein Cabriolet |
| DE102006007815B3 (de) * | 2006-02-17 | 2007-10-25 | Webasto Ag | Fahrzeugdach |
| FR2904793B1 (fr) * | 2006-08-08 | 2011-03-18 | Peugeot Citroen Automobiles Sa | Dispositif de deplacement d'elements de couverture d'un habitacle d'un vehicule automobile et vehicule automobile comportant un tel dispositif |
| FR2904794B1 (fr) * | 2006-08-08 | 2011-03-18 | Peugeot Citroen Automobiles Sa | Agencement d'elements de couverture d'un habitacle d'un vehicule automobile et vehicule automobile comportant un tel agencement |
| JPWO2013031441A1 (ja) * | 2011-08-26 | 2015-03-23 | エイディシーテクノロジー株式会社 | 天井高変更装置 |
Family Cites Families (6)
| Publication number | Priority date | Publication date | Assignee | Title |
|---|---|---|---|---|
| FR1181440A (fr) * | 1957-05-14 | 1959-06-16 | Hans Traugott Golde & Co G M B | Toit coulissant à commande électrique, notamment pour véhicules automobiles |
| US3357738A (en) * | 1965-10-11 | 1967-12-12 | Bourlier Jean | Automobile top |
| FR2053488A5 (enExample) * | 1969-07-07 | 1971-04-16 | Peugeot & Renault | |
| IT942774B (it) * | 1971-11-03 | 1973-04-02 | Pininfarina Spa Carrozzeria | Carrozzeria per autoveicoli con tetto rigido apribile |
| IT8353471U1 (it) * | 1983-06-16 | 1984-12-16 | Pininfarina Ind Spa | Copertura flessibile per autoveicoli a tetto apribile |
| JPH06104420B2 (ja) * | 1988-12-23 | 1994-12-21 | マツダ株式会社 | 自動車のキャンバストップ制御装置 |
-
1989
- 1989-03-24 JP JP1072779A patent/JPH02249722A/ja active Pending
-
1990
- 1990-03-23 DE DE4009470A patent/DE4009470A1/de active Granted
- 1990-03-24 KR KR1019900003999A patent/KR930006159B1/ko not_active Expired - Fee Related
Also Published As
| Publication number | Publication date |
|---|---|
| KR900014167A (ko) | 1990-10-23 |
| DE4009470A1 (de) | 1990-11-15 |
| JPH02249722A (ja) | 1990-10-05 |
| DE4009470C2 (enExample) | 1993-02-18 |
Similar Documents
| Publication | Publication Date | Title |
|---|---|---|
| KR930000748B1 (ko) | 자동차의 캔버스톱 제어장치 | |
| KR930000747B1 (ko) | 자동차의 캔버스톱 | |
| US5267769A (en) | Manually operable folding top for vehicles using automatic-ejection snap-action closures | |
| US5769483A (en) | Convertible motor vehicle roof | |
| US5620226A (en) | Simplified automated top operator | |
| US6193300B1 (en) | Opening and closing device for a truck lid of a vehicle | |
| US6454343B1 (en) | Multi-part cover for vehicles | |
| US6666490B1 (en) | Pickup bed cover | |
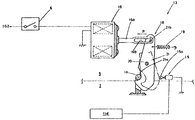
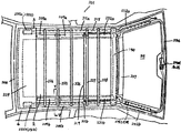
| KR930006159B1 (ko) | 자동차의 루우프개폐체 제어장치 | |
| JPH03136919A (ja) | 車両のキャンバストップ構造 | |
| US7004529B2 (en) | Device for opening and closing the hood of a folding-top convertible motor vehicle | |
| US5242210A (en) | Control apparatus for opening or closing roof of a vehicle | |
| KR100963699B1 (ko) | 자동차용 접이식 루프 | |
| JPH06183263A (ja) | キャンバストップの開閉装置 | |
| JPH02175426A (ja) | 幌式サンルーフ装置 | |
| EP2006137B1 (en) | Opening/closing device for roof panel | |
| JPH02171322A (ja) | 自動車のキャンバストップ制御装置 | |
| JPH02246827A (ja) | 自動車のルーフ開閉体制御装置 | |
| KR200146029Y1 (ko) | 양방향 개폐형 콘솔 박스 | |
| JPH02171325A (ja) | 自動車のキャンバストップ制御装置 | |
| JP2736551B2 (ja) | 自動車におけるルーフの開閉方法及び装置 | |
| US12005768B2 (en) | Deflector mechanism of sunroof device | |
| JPH0351206Y2 (enExample) | ||
| JPH01257627A (ja) | 幌式サンルーフ装置 | |
| JPH02246826A (ja) | 自動車のルーフ開閉体制御装置 |
Legal Events
| Date | Code | Title | Description |
|---|---|---|---|
| A201 | Request for examination | ||
| PA0109 | Patent application |
St.27 status event code: A-0-1-A10-A12-nap-PA0109 |
|
| PA0201 | Request for examination |
St.27 status event code: A-1-2-D10-D11-exm-PA0201 |
|
| R17-X000 | Change to representative recorded |
St.27 status event code: A-3-3-R10-R17-oth-X000 |
|
| PG1501 | Laying open of application |
St.27 status event code: A-1-1-Q10-Q12-nap-PG1501 |
|
| E902 | Notification of reason for refusal | ||
| PE0902 | Notice of grounds for rejection |
St.27 status event code: A-1-2-D10-D21-exm-PE0902 |
|
| T11-X000 | Administrative time limit extension requested |
St.27 status event code: U-3-3-T10-T11-oth-X000 |
|
| T11-X000 | Administrative time limit extension requested |
St.27 status event code: U-3-3-T10-T11-oth-X000 |
|
| T11-X000 | Administrative time limit extension requested |
St.27 status event code: U-3-3-T10-T11-oth-X000 |
|
| T11-X000 | Administrative time limit extension requested |
St.27 status event code: U-3-3-T10-T11-oth-X000 |
|
| T11-X000 | Administrative time limit extension requested |
St.27 status event code: U-3-3-T10-T11-oth-X000 |
|
| P11-X000 | Amendment of application requested |
St.27 status event code: A-2-2-P10-P11-nap-X000 |
|
| P13-X000 | Application amended |
St.27 status event code: A-2-2-P10-P13-nap-X000 |
|
| G160 | Decision to publish patent application | ||
| PG1605 | Publication of application before grant of patent |
St.27 status event code: A-2-2-Q10-Q13-nap-PG1605 |
|
| E701 | Decision to grant or registration of patent right | ||
| PE0701 | Decision of registration |
St.27 status event code: A-1-2-D10-D22-exm-PE0701 |
|
| GRNT | Written decision to grant | ||
| PR0701 | Registration of establishment |
St.27 status event code: A-2-4-F10-F11-exm-PR0701 |
|
| PR1002 | Payment of registration fee |
St.27 status event code: A-2-2-U10-U11-oth-PR1002 Fee payment year number: 1 |
|
| LAPS | Lapse due to unpaid annual fee | ||
| PC1903 | Unpaid annual fee |
St.27 status event code: A-4-4-U10-U13-oth-PC1903 Not in force date: 19960709 Payment event data comment text: Termination Category : DEFAULT_OF_REGISTRATION_FEE |
|
| PC1903 | Unpaid annual fee |
St.27 status event code: N-4-6-H10-H13-oth-PC1903 Ip right cessation event data comment text: Termination Category : DEFAULT_OF_REGISTRATION_FEE Not in force date: 19960709 |
|
| R18-X000 | Changes to party contact information recorded |
St.27 status event code: A-5-5-R10-R18-oth-X000 |
|
| P22-X000 | Classification modified |
St.27 status event code: A-4-4-P10-P22-nap-X000 |