KR890000552B1 - 원격조작에 의한 케이블 등의 굴곡장치 - Google Patents

원격조작에 의한 케이블 등의 굴곡장치 Download PDF

Info

Publication number
KR890000552B1
KR890000552B1 KR1019830006154A KR830006154A KR890000552B1 KR 890000552 B1 KR890000552 B1 KR 890000552B1 KR 1019830006154 A KR1019830006154 A KR 1019830006154A KR 830006154 A KR830006154 A KR 830006154A KR 890000552 B1 KR890000552 B1 KR 890000552B1
Authority
KR
South Korea
Prior art keywords
connecting shaft
cylinder
holder
main connecting
piston rod
Prior art date
Legal status (The legal status is an assumption and is not a legal conclusion. Google has not performed a legal analysis and makes no representation as to the accuracy of the status listed.)
Expired
Application number
KR1019830006154A
Other languages
English (en)
Other versions
KR840009007A (ko
Inventor
고오이찌 쯔노
Original Assignee
스미도모덴기고오교오 가부시기가이샤
나까하라 쯔네오
Priority date (The priority date is an assumption and is not a legal conclusion. Google has not performed a legal analysis and makes no representation as to the accuracy of the date listed.)
Filing date
Publication date
Application filed by 스미도모덴기고오교오 가부시기가이샤, 나까하라 쯔네오 filed Critical 스미도모덴기고오교오 가부시기가이샤
Publication of KR840009007A publication Critical patent/KR840009007A/ko
Application granted granted Critical
Publication of KR890000552B1 publication Critical patent/KR890000552B1/ko
Expired legal-status Critical Current

Links

Images

Classifications

    • AHUMAN NECESSITIES
    • A61MEDICAL OR VETERINARY SCIENCE; HYGIENE
    • A61BDIAGNOSIS; SURGERY; IDENTIFICATION
    • A61B1/00Instruments for performing medical examinations of the interior of cavities or tubes of the body by visual or photographical inspection, e.g. endoscopes; Illuminating arrangements therefor
    • AHUMAN NECESSITIES
    • A61MEDICAL OR VETERINARY SCIENCE; HYGIENE
    • A61BDIAGNOSIS; SURGERY; IDENTIFICATION
    • A61B1/00Instruments for performing medical examinations of the interior of cavities or tubes of the body by visual or photographical inspection, e.g. endoscopes; Illuminating arrangements therefor
    • A61B1/005Flexible endoscopes
    • A61B1/0051Flexible endoscopes with controlled bending of insertion part
    • A61B1/0055Constructional details of insertion parts, e.g. vertebral elements
    • BPERFORMING OPERATIONS; TRANSPORTING
    • B25HAND TOOLS; PORTABLE POWER-DRIVEN TOOLS; MANIPULATORS
    • B25JMANIPULATORS; CHAMBERS PROVIDED WITH MANIPULATION DEVICES
    • B25J9/00Programme-controlled manipulators
    • B25J9/06Programme-controlled manipulators characterised by multi-articulated arms
    • GPHYSICS
    • G02OPTICS
    • G02BOPTICAL ELEMENTS, SYSTEMS OR APPARATUS
    • G02B23/00Telescopes, e.g. binoculars; Periscopes; Instruments for viewing the inside of hollow bodies; Viewfinders; Optical aiming or sighting devices

Landscapes

  • Health & Medical Sciences (AREA)
  • Life Sciences & Earth Sciences (AREA)
  • Physics & Mathematics (AREA)
  • Engineering & Computer Science (AREA)
  • Surgery (AREA)
  • Optics & Photonics (AREA)
  • Animal Behavior & Ethology (AREA)
  • Veterinary Medicine (AREA)
  • Pathology (AREA)
  • Nuclear Medicine, Radiotherapy & Molecular Imaging (AREA)
  • Biomedical Technology (AREA)
  • Heart & Thoracic Surgery (AREA)
  • Medical Informatics (AREA)
  • Molecular Biology (AREA)
  • Biophysics (AREA)
  • General Health & Medical Sciences (AREA)
  • Public Health (AREA)
  • Radiology & Medical Imaging (AREA)
  • Robotics (AREA)
  • Mechanical Engineering (AREA)
  • Astronomy & Astrophysics (AREA)
  • General Physics & Mathematics (AREA)
  • Instruments For Viewing The Inside Of Hollow Bodies (AREA)
  • Endoscopes (AREA)
  • Investigating Strength Of Materials By Application Of Mechanical Stress (AREA)
  • Actuator (AREA)
  • Rigid Pipes And Flexible Pipes (AREA)
  • Mechanical Control Devices (AREA)

Abstract

내용 없음.

Description

원격조작에 의한 케이블 등의 굴곡장치
제1도는 종래의 굴곡장치의 일부 생략사시도.
제2도는 본 발명의 굴곡장치를 이용한 파이버스코오프의 사시도.
제3도는 본 발명의 굴곡장치 단면도
제4도는 제3도의 Ⅳ-Ⅳ선의 단면도.
제5도 및 제6도는 작용설명을 위한 개략단면도.
* 도면의 주요부분에 대한 부호의 설명
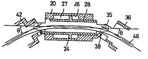
20 : 실린더 24 : 피스톤
26 : 제1압력실 27 : 제2압력실
28 : 피스톤로드 34 : 돌출부
35 : 제1주연결축 36 : 제1호울더
37 : 돌출부 38 : 제1보조연결축
39 : 긴구멍 40 : 돌출부
41 : 제2주연결축 42 : 제2호울더
43 : 돌출부 44 : 제2보조연결축
45 : 긴구멍
본 발명은, 전기케이블, 광파이버케이블, 와이어 등의 장척물을 삽통 또는 연결한 기기 일반에 사용되며, 기기의 일부를 원격조작에 의해서 굴곡시키기 위하여 사용되는 굴곡장치에 관한 것이다.
종래 파이버스코오프의 촬상부에 굴곡장치를 개재하여, 그 굴곡장치를 수상부에서의 조작으로 작동해서 촬상부의 방향을 바꾸는 것은, 예를 들면 위 카메라 등에서 잘 볼수 있는 구조이다. 제1도는 그 구체적인 구조이며, 촬상부(1)에 소요수의 마디고리(2)를 핀(3)으로 굴곡자재하게 연결함과 동시에, 촬상부(1)에 고정한 2본의 와이어(4)를 상기 핀(3)으로부터 90도 떨어진 위치에서 각 마디고리(2)에 삽통하고, 그 타단을 수상부에 착설된 풀리(5)에 감아서, 그 풀리(5)를 핸들(6)로 회전하므로서, 촬상부(1)의 방향을 바꾸도록 한 것이다.
상기의 같은 마디고리(2)를 이용한 종래의 굴곡장치는, 와이어(4) 자체의 늘어짐이나 마찰 등으로 굴곡각도를 크게할 수가 없으며, 특히 조작부로부터의 거리가 멀어지면 와이어(4)의 움직임이 선단까지 전달되기가 어렵고, 그 때문에 굴곡각도가 작아지는 문제가 있다.
본 발명은, 상기한 바와 같은 문제점을 해결한 원격조작에 의해서 작동되는 굴곡장치를 제공하는 것을 목적으로 하고 있다. 그 목적을 달성하기 위해서, 본 발명은 북동식 유채압실린더의 피스톤로드 일단에 제1주연결축에 의해서 제1호울더를 회동자재하게 연결하고, 그 제1주연결축에 대한 피스톤로드의 힘의 작용선에서 소요의 간격을 둔 위치에서 실린더의 일단과 상기 제1호울더를 제1주연결축과 평행인 제1보조연결축에 의해서 소요의 여유가 있게 회동 자재하게 연결하고, 상기 실린더의 타단에 제2주 연결축에 의해서 제2호울더를 회동 자재하게 연결하며, 그 제2주 연결축에 대한 실린더의 힘의 작용선에서 소요의 간격을 둔 위치에서 상기 피스톤로드의 타단과 상기 제2호울더를 제2주 연결축과 평행인 제2보조 연결축에 의해서 소용의 여유를 가지고 회동 자재하게 연결한 구성으로 한 것이다.
이와 같이 구성하면, 실린더에 액압을 작용시켰을 때, 실린더와 피스톤로드가 상대적으로 이동하여, 제1호울더는 피스톤로드의 진출로 인하여 제1주 연결축을 중심으로 해서 소요각도 회전하며, 동시에 제2호울더는 실린더의 진출로 제2주 연결축을 중심으로 해서 소요각도 회전하므로, 한쪽의 호울더의 축선을 기준으로 해서 보았을때, 다른쪽의 호울더 축선은 양 호울더의 회전각을 합한 각도만큼 굴곡한 것이 된다. 또, 보다 큰 굴곡각을 얻기 위해서 이 기구를 하나의 유니트로 해서 복수개의 유니트를 연결해서 사용하는 것도 가능하다.
다음에, 본 발명의 실시예에 대하여 제2도에서 제4도에 의해서 설명한다. 제2도는 본 발명에 관한 굴곡장치(10)가 파이버스코오프(11)의 전송부(12)와 촬상부(13)사이에 개재된 구성을 나타내고 있다. 전송부(12)의 타단에는 수상부(14)가 접속되고, 또 그 수상부(14)에 광파이버케이블(15)을 개재해서 조명플러그(16)가 연결되고, 그 조명플러그(16)로부터 공급된 빛을 광파이버케이블(15) 및 파이버스코오프(11)내의 라이트 가이드를 통해서 촬상부(13)로 유도하도록 되어 있다.
또, 밸브유니트(17)는 콘트롤밸브(18)를 갖추고, 호오스(19)로부터 광파이버케이블(15) 및 파이버스코오프(11)의 내부를 통해서 액압 또는 공기압 등의 유체압을 굴곡장치(10)에 작용시키도록 되어 있다.
제3도 및 제4도는 굴곡장치(10)의 상세한 것을 표시한 것이다. 이 굴곡장치는 상기 유체압으로 작용되는 실린더(20)를 갖추고 있다. 실린더(20)는 2개의 실린더부재(21)(22)의 결합에 의해서 구성되며, 양 부재(21)(22)에 의해서 형성된 요소 (23)에 피스톤(24)을 삽입하므로서 그 요소(23)를 피스톤(24)의 시일부재(25)를 개재해서 제1압력실(26)과 제2압력실(27)로 구획하고 있다.
피스톤(24)과 일체인 피스톤로드(28)는 원통형이며, 각 실린더부재(21)(22)에 끼운 시일부재(29)(30)에 접접해서 도면의 좌우방향으로 슬라이드할 수 있도록 되어 있다. 이 피스톤로도(28)는, 압력유체의 입력포오트(31)(32)(제4도 참조)를 가지며, 내부에 형성된 독립의 통로(33)에 의해서, 각각 제1 및 제2압력실(26)(27)에 유체압을 작용시킨다.
상기의 피스톤로드(28)의 일단에 연결용의 돌출부(34)를 형성하고, 이 돌출부(34)에 제1주 연결축(35)으로 제1호울더(36)를 회전자재하게 연결하고 있다. 또, 상기 돌출부(34)와 같은 방향으로 돌출된 실린더(20)의 돌출부(37)와 제1호울더(36)를 제1보조연결축(38)에 의해서 회동자재하게 연결하고 있다. 이 제1보조연결축(38)은, 제1주 연결축(35)과 평행이며, 또 피스톤로드(28)의 제1주 연결축(35)에 대한 힘의 작용선(1)으로부터 소요거리(d)만큼 떨어져 있으며, 더우기 제1호울더(36)에 형성된 긴 구멍(39)에 감합하므로서 소요의 여유를 가지고 실린더(20)와 제1호울더(36)를 연결하고 있다.
한편, 실린더(20)의 타단(제1도에 있어서 좌단)에도 연결용 돌출부(40)가 형성되어 있으며, 이 돌출부(40)에 제2주 연결축(41)에 의해서 제2호울더(42)를 회동 자재하게 연결하고 있다. 또, 그 돌출부(40)와 같은 방향으로 돌출된 피스톤(28)의 돌출부(43)와 제2보조연결축(44)에 의해서 회동자재하게 연결되어 있다. 이 제2보조 연결축(44)은, 제2주 연결축(41)과 평행이며, 상기한 제1보조 연결축(44)의 경우와 마찬가지로, 실린더(20)의 제2주 연결축(41)에 대한 힘의 작용선으로부터 소요거리만큼 떨어져 있으며, 더우기 제2호울더(42)에 형성된 긴 구멍(45)에 감합하므로서, 소요로 하는 여유분을 가지고 피스톤(28)과 제2호울더(42)를 연결하고 있다.
상기의 제1호울더(36)에는 제2도에 표시한 전송부(12)가 연결되고, 또 제2호울더(42)에는 촬상부(13)가 연결된다. 또, 이들 호울더(36)(42) 및 피스톤로드(28)의 내부를 통해서, 제5도, 제6도에 표시한 바와같이, 이미지파이버(혹은 라이트 가이드, 또는 그 양쪽)가 삽통된다.
제5도 및 제6도는 상기 굴곡장치의 개략도이며, 작용설명의 편의상 첨부한 것이다.
여기서, 실린더(20)의 제1 및 제2압력실(26)(27)에 같은 압력의 유체압이 작용하고 있다고 가정한다면, 실린더(20)와 피스톤(24)(피스톤로드 28)과의 상대적인 이동은 생기지 않으므로, 실린더(20)와 제1 및 제2호울더(36)(42)는 제5도에 표시한 바와같이 일직선에 있다.
다음에, 밸브 유니트(17)의 콘트롤밸브(18)의 조작에 의해서, 제1압력실(26)의 압력을 내리고, 제2압력실(27)의 압력을 올리면, 제6도에 표시한 바와같이, 실린더(20)와 피스톤(24)(피스톤로드 28)과의 상대적인 이동이 생긴다. 피스톤로드(28)가 돌출하는 쪽에 있어서는, 제1주연결축(35)과 제1보조연결축(38)에 각각 작용하는 평행역 방향의 힘과, 양축간의 거리, 및 보조 연결축(38)의 주위의 여유분에 의해서, 제1호울더(36)가 주연결축(36)의 주위에 있어서 일정각도(θ)만큼 회전한다.
또, 반대축에 있어서도 마찬가지 작용으로 제2호울더(42)가 일정각도(θ)만큼 회전한다. 따라서, 제1호울더(36)를 기준으로 하면, 제2호울더(44)는 (2θ)만큼 굴곡한 것이 되어, 제2도에 있어서는, 전송부(12)에 대해서 촬상부(13)를 (2θ)를 구부릴 수 있다.
실험결과에 의하면, 50미터 떨어진 거리로부터의 조작으로, 2θ=60
Figure kpo00001
의 굴곡각을 얻을 수 있었다.
또한, 본 발명에 있어서 호울더(36)(42)는, 피스톤돌출부(34) 또는 실린더 돌출부(40)에 연결되고, 실린더(20)와 피스톤로드(28)와의 상대운동에 의해서 회전작용을 받는 부재를 말하는 것으로서, 상기 실시예와 같이 굴곡장치의 구성부재인 경우와, 굴곡장치에 접속되는 것(예를 들면, 전송부(12) 및 촬상부(13)등)의 구성 부재인 경우가 있다.
이상 설명한 바와같이, 본 발명은 굴곡작용을 유체압의 콘트롤에 의해서 행할 수 있는 동시에, 실린더의 양쪽에 있어서 같은 각도만큼 굴곡시킬 수 있으므로, 케이블 등의 장척물을 삽통 또는 연결한 기기(예를 들면, 관로내면, 기계내부 등의 검사용 파이버스코오프, 로보트의 팔, 배관내 케이블 부설시의 가이드 장치 등)의 일부에 사용하므로서, 그 기기 자체 또는 기기와 그것에 삽통한 자척물을, 원격조작에 의해서 크게 굴곡시킬 수 있다.
또, 피스톤의 작동은, 실린더의 두개의 압력실의 압력차에 의해서 콘트롤 되기 때문에 주위의 온도변화에 의해서도 압력차의 크기는 변하지 않으므로, 안정된 콘트롤을 행할 수 있는 효과도 있다.
또한, 실시예와 같이, 피스톤로드를 원통형으로 형성하면, 그 내부에 케이블 등을 삽통할 수 있으므로 편리한 것이다.

Claims (2)

  1. 북동식 유체압실린더의 피스톤로드 일단에 제1주연결축에 의해서 제1호울더를 회동 자재하게 연결하고, 그 제1주연결축에 대한 피스톤로드의 힘의 작용선으로부터 소요의 간격을 둔 위치에서, 실린더의 일단과 상기 제1호울더를 제1주연결축과 평행인 제1보조연결축에 의해서 소요의 여유분을 가지고 회동자재하게 연결하며, 상기 실린더의 타단에 제2주연결축에 의해서 제2호울더를 회전 자재하게 연결하고, 그 제2주연결축에 대한 실린더의 힘의 작용선으로부터 소요의 간격을 둔 위치에서 상기 피스톤로드의 타단과 상기 제2호울더를 제2주연결축과 평행인 제2보조연결축에 의해서 소요의 여유분을 가지고 회동 자재하게 연결한 것을 특징으로 하는 원격조작에 의한 케이블 등의 굴곡장치.
  2. 제1항에 있어서, 상기 피스톤로드를 통형으로 형성한 것을 특징으로 하는 원격조작에 의한 케이블 등의 굴곡장치.
KR1019830006154A 1983-02-12 1983-12-23 원격조작에 의한 케이블 등의 굴곡장치 Expired KR890000552B1 (ko)

Applications Claiming Priority (3)

Application Number Priority Date Filing Date Title
JP58-22481 1983-02-12
JP58022481A JPS59146636A (ja) 1983-02-12 1983-02-12 遠隔操作によるケ−ブルなどの屈曲装置
JP22481 1984-02-21

Publications (2)

Publication Number Publication Date
KR840009007A KR840009007A (ko) 1984-12-20
KR890000552B1 true KR890000552B1 (ko) 1989-03-21

Family

ID=12083904

Family Applications (1)

Application Number Title Priority Date Filing Date
KR1019830006154A Expired KR890000552B1 (ko) 1983-02-12 1983-12-23 원격조작에 의한 케이블 등의 굴곡장치

Country Status (7)

Country Link
US (1) US4522113A (ko)
EP (1) EP0116897B1 (ko)
JP (1) JPS59146636A (ko)
KR (1) KR890000552B1 (ko)
AU (1) AU563128B2 (ko)
CA (1) CA1233388A (ko)
DE (1) DE3460582D1 (ko)

Families Citing this family (7)

* Cited by examiner, † Cited by third party
Publication number Priority date Publication date Assignee Title
US4832473A (en) * 1987-02-06 1989-05-23 Olympus Optical Co., Ltd. Endoscope with elastic actuator comprising a synthetic rubber tube with only radial expansion controlled by a mesh-like tube
JPH0740088B2 (ja) * 1987-02-06 1995-05-01 オリンパス光学工業株式会社 内視鏡
DE3914889A1 (de) * 1989-05-05 1990-11-08 Knorr Bremse Ag Kolbenstangenloser arbeitszylinder
DE4303311A1 (de) * 1993-02-05 1994-08-11 Kernforschungsz Karlsruhe Modularer, in einer Ebene symmetrisch schwenkbarer, miniaturisierter Gelenkmechanismus für die Anwendung in der Medizin
US6610007B2 (en) * 2000-04-03 2003-08-26 Neoguide Systems, Inc. Steerable segmented endoscope and method of insertion
US7905472B2 (en) * 2004-06-25 2011-03-15 Kabushiki Kaisha Yaskawa Denki Positioner and composite curl cord
US11027323B2 (en) 2016-06-10 2021-06-08 Advanced Orthodontic Solutions Method and apparatus for auto-calibration of a wire bending machine

Family Cites Families (8)

* Cited by examiner, † Cited by third party
Publication number Priority date Publication date Assignee Title
US1818679A (en) * 1930-06-25 1931-08-11 A E Feragen Inc Axle press
US3580099A (en) * 1969-09-24 1971-05-25 Gen Electric Articulating mechanism
JPS5219171B2 (ko) * 1972-05-17 1977-05-26
US3934450A (en) * 1974-08-12 1976-01-27 General Steel Industries, Inc. Method and apparatus for bending elongated members
FR2352640A1 (fr) * 1976-05-24 1977-12-23 Bretagne Atel Chantiers Telemanipulateur a faible encombrement
US4141235A (en) * 1976-09-18 1979-02-27 Masamitsu Ishihara Hydraulic bending machine
DE2835331C3 (de) * 1978-08-11 1981-11-05 Siemens AG, 1000 Berlin und 8000 München Endoskop mit elektrischer Bildübertragung
US4351228A (en) * 1980-07-02 1982-09-28 General Motors Corporation Power assist rack and pinion steering gear

Also Published As

Publication number Publication date
JPS59146636A (ja) 1984-08-22
CA1233388A (en) 1988-03-01
DE3460582D1 (en) 1986-10-09
US4522113A (en) 1985-06-11
KR840009007A (ko) 1984-12-20
EP0116897B1 (en) 1986-09-03
AU2405984A (en) 1984-08-16
EP0116897A1 (en) 1984-08-29
AU563128B2 (en) 1987-06-25

Similar Documents

Publication Publication Date Title
US5203319A (en) Fluid controlled biased bending neck
EP0462908B1 (en) Fluid controlled biased bending neck
US4832473A (en) Endoscope with elastic actuator comprising a synthetic rubber tube with only radial expansion controlled by a mesh-like tube
CN102239611B (zh) 用于将缆线穿入已有的管网中的穿入装置
KR890000552B1 (ko) 원격조작에 의한 케이블 등의 굴곡장치
US4784117A (en) Endoscope insertion assisting device
CN110811493B (zh) 一种蛇骨单元、蛇骨、内窥镜及内窥镜转动的控制方法
US4989581A (en) Torsional strain relief for borescope
EP1106137A2 (en) Linear transmission member driving unit for endoscope
EP0113225A2 (en) Image observation system
EP1243384A1 (en) Wrist structure for a robot
US4753224A (en) Endoscope tip
WO1993007816A1 (en) Generic endoscopic instrument
JP2003305683A (ja) ロボットの手首における線条体の敷設構造
US20130047755A1 (en) Bending operation apparatus
JP2004299024A (ja) ロボット等の関節部のケーブルガイド
CN114828760B (zh) 手术器具
EP1602460A1 (en) Umbilical member managing system for industrial robot
CN100414335C (zh) 紧凑的微光缆驱动器
CN116098561A (zh) 医疗设备
US20240261040A1 (en) Robotic surgery device and feeding system
JPS59219503A (ja) 駆動機構
CN115137284A (zh) 一种3d内窥镜
US20220163427A1 (en) Articulated non-destructive testing device having a plurality of actuation systems and a method of articulating the device
GB2074686A (en) Multi line hose or cable connector

Legal Events

Date Code Title Description
A201 Request for examination
PA0109 Patent application

St.27 status event code: A-0-1-A10-A12-nap-PA0109

PA0201 Request for examination

St.27 status event code: A-1-2-D10-D11-exm-PA0201

R17-X000 Change to representative recorded

St.27 status event code: A-3-3-R10-R17-oth-X000

PG1501 Laying open of application

St.27 status event code: A-1-1-Q10-Q12-nap-PG1501

G160 Decision to publish patent application
PG1605 Publication of application before grant of patent

St.27 status event code: A-2-2-Q10-Q13-nap-PG1605

E701 Decision to grant or registration of patent right
PE0701 Decision of registration

St.27 status event code: A-1-2-D10-D22-exm-PE0701

GRNT Written decision to grant
PR0701 Registration of establishment

St.27 status event code: A-2-4-F10-F11-exm-PR0701

PR1002 Payment of registration fee

St.27 status event code: A-2-2-U10-U11-oth-PR1002

Fee payment year number: 1

PR1001 Payment of annual fee

St.27 status event code: A-4-4-U10-U11-oth-PR1001

Fee payment year number: 4

PR1001 Payment of annual fee

St.27 status event code: A-4-4-U10-U11-oth-PR1001

Fee payment year number: 5

PR1001 Payment of annual fee

St.27 status event code: A-4-4-U10-U11-oth-PR1001

Fee payment year number: 6

FPAY Annual fee payment

Payment date: 19950310

Year of fee payment: 7

PR1001 Payment of annual fee

St.27 status event code: A-4-4-U10-U11-oth-PR1001

Fee payment year number: 7

LAPS Lapse due to unpaid annual fee
PC1903 Unpaid annual fee

St.27 status event code: A-4-4-U10-U13-oth-PC1903

Not in force date: 19960322

Payment event data comment text: Termination Category : DEFAULT_OF_REGISTRATION_FEE

PC1903 Unpaid annual fee

St.27 status event code: N-4-6-H10-H13-oth-PC1903

Ip right cessation event data comment text: Termination Category : DEFAULT_OF_REGISTRATION_FEE

Not in force date: 19960322

PN2301 Change of applicant

St.27 status event code: A-5-5-R10-R13-asn-PN2301

St.27 status event code: A-5-5-R10-R11-asn-PN2301

R18-X000 Changes to party contact information recorded

St.27 status event code: A-5-5-R10-R18-oth-X000