KR20220129068A - 증발식 가습기와 냉각기 장치를 세정하는 방법 및 증발식 가습기와 냉각기 장치를 포함하는 시스템 - Google Patents
증발식 가습기와 냉각기 장치를 세정하는 방법 및 증발식 가습기와 냉각기 장치를 포함하는 시스템 Download PDFInfo
- Publication number
- KR20220129068A KR20220129068A KR1020227029026A KR20227029026A KR20220129068A KR 20220129068 A KR20220129068 A KR 20220129068A KR 1020227029026 A KR1020227029026 A KR 1020227029026A KR 20227029026 A KR20227029026 A KR 20227029026A KR 20220129068 A KR20220129068 A KR 20220129068A
- Authority
- KR
- South Korea
- Prior art keywords
- fluid
- cooling
- humidifying medium
- cleaning
- control device
- Prior art date
- Legal status (The legal status is an assumption and is not a legal conclusion. Google has not performed a legal analysis and makes no representation as to the accuracy of the status listed.)
- Ceased
Links
Images
Classifications
-
- F—MECHANICAL ENGINEERING; LIGHTING; HEATING; WEAPONS; BLASTING
- F24—HEATING; RANGES; VENTILATING
- F24F—AIR-CONDITIONING; AIR-HUMIDIFICATION; VENTILATION; USE OF AIR CURRENTS FOR SCREENING
- F24F6/00—Air-humidification, e.g. cooling by humidification
- F24F6/02—Air-humidification, e.g. cooling by humidification by evaporation of water in the air
- F24F6/04—Air-humidification, e.g. cooling by humidification by evaporation of water in the air using stationary unheated wet elements
-
- F—MECHANICAL ENGINEERING; LIGHTING; HEATING; WEAPONS; BLASTING
- F24—HEATING; RANGES; VENTILATING
- F24F—AIR-CONDITIONING; AIR-HUMIDIFICATION; VENTILATION; USE OF AIR CURRENTS FOR SCREENING
- F24F11/00—Control or safety arrangements
- F24F11/30—Control or safety arrangements for purposes related to the operation of the system, e.g. for safety or monitoring
-
- F—MECHANICAL ENGINEERING; LIGHTING; HEATING; WEAPONS; BLASTING
- F24—HEATING; RANGES; VENTILATING
- F24F—AIR-CONDITIONING; AIR-HUMIDIFICATION; VENTILATION; USE OF AIR CURRENTS FOR SCREENING
- F24F5/00—Air-conditioning systems or apparatus not covered by F24F1/00 or F24F3/00, e.g. using solar heat or combined with household units such as an oven or water heater
- F24F5/0007—Air-conditioning systems or apparatus not covered by F24F1/00 or F24F3/00, e.g. using solar heat or combined with household units such as an oven or water heater cooling apparatus specially adapted for use in air-conditioning
- F24F5/0035—Air-conditioning systems or apparatus not covered by F24F1/00 or F24F3/00, e.g. using solar heat or combined with household units such as an oven or water heater cooling apparatus specially adapted for use in air-conditioning using evaporation
-
- F—MECHANICAL ENGINEERING; LIGHTING; HEATING; WEAPONS; BLASTING
- F24—HEATING; RANGES; VENTILATING
- F24F—AIR-CONDITIONING; AIR-HUMIDIFICATION; VENTILATION; USE OF AIR CURRENTS FOR SCREENING
- F24F6/00—Air-humidification, e.g. cooling by humidification
- F24F6/02—Air-humidification, e.g. cooling by humidification by evaporation of water in the air
- F24F6/04—Air-humidification, e.g. cooling by humidification by evaporation of water in the air using stationary unheated wet elements
- F24F6/043—Air-humidification, e.g. cooling by humidification by evaporation of water in the air using stationary unheated wet elements with self-sucking action, e.g. wicks
-
- F—MECHANICAL ENGINEERING; LIGHTING; HEATING; WEAPONS; BLASTING
- F24—HEATING; RANGES; VENTILATING
- F24F—AIR-CONDITIONING; AIR-HUMIDIFICATION; VENTILATION; USE OF AIR CURRENTS FOR SCREENING
- F24F8/00—Treatment, e.g. purification, of air supplied to human living or working spaces otherwise than by heating, cooling, humidifying or drying
- F24F8/90—Cleaning of purification apparatus
-
- F—MECHANICAL ENGINEERING; LIGHTING; HEATING; WEAPONS; BLASTING
- F28—HEAT EXCHANGE IN GENERAL
- F28C—HEAT-EXCHANGE APPARATUS, NOT PROVIDED FOR IN ANOTHER SUBCLASS, IN WHICH THE HEAT-EXCHANGE MEDIA COME INTO DIRECT CONTACT WITHOUT CHEMICAL INTERACTION
- F28C3/00—Other direct-contact heat-exchange apparatus
- F28C3/06—Other direct-contact heat-exchange apparatus the heat-exchange media being a liquid and a gas or vapour
- F28C3/08—Other direct-contact heat-exchange apparatus the heat-exchange media being a liquid and a gas or vapour with change of state, e.g. absorption, evaporation, condensation
-
- F—MECHANICAL ENGINEERING; LIGHTING; HEATING; WEAPONS; BLASTING
- F28—HEAT EXCHANGE IN GENERAL
- F28F—DETAILS OF HEAT-EXCHANGE AND HEAT-TRANSFER APPARATUS, OF GENERAL APPLICATION
- F28F25/00—Component parts of trickle coolers
- F28F25/02—Component parts of trickle coolers for distributing, circulating, and accumulating liquid
-
- F—MECHANICAL ENGINEERING; LIGHTING; HEATING; WEAPONS; BLASTING
- F28—HEAT EXCHANGE IN GENERAL
- F28F—DETAILS OF HEAT-EXCHANGE AND HEAT-TRANSFER APPARATUS, OF GENERAL APPLICATION
- F28F9/00—Casings; Header boxes; Auxiliary supports for elements; Auxiliary members within casings
-
- F—MECHANICAL ENGINEERING; LIGHTING; HEATING; WEAPONS; BLASTING
- F28—HEAT EXCHANGE IN GENERAL
- F28G—CLEANING OF INTERNAL OR EXTERNAL SURFACES OF HEAT-EXCHANGE OR HEAT-TRANSFER CONDUITS, e.g. WATER TUBES OR BOILERS
- F28G9/00—Cleaning by flushing or washing, e.g. with chemical solvents
-
- F—MECHANICAL ENGINEERING; LIGHTING; HEATING; WEAPONS; BLASTING
- F24—HEATING; RANGES; VENTILATING
- F24F—AIR-CONDITIONING; AIR-HUMIDIFICATION; VENTILATION; USE OF AIR CURRENTS FOR SCREENING
- F24F11/00—Control or safety arrangements
- F24F11/0008—Control or safety arrangements for air-humidification
-
- F—MECHANICAL ENGINEERING; LIGHTING; HEATING; WEAPONS; BLASTING
- F24—HEATING; RANGES; VENTILATING
- F24F—AIR-CONDITIONING; AIR-HUMIDIFICATION; VENTILATION; USE OF AIR CURRENTS FOR SCREENING
- F24F6/00—Air-humidification, e.g. cooling by humidification
- F24F2006/006—Air-humidification, e.g. cooling by humidification with water treatment
-
- F—MECHANICAL ENGINEERING; LIGHTING; HEATING; WEAPONS; BLASTING
- F24—HEATING; RANGES; VENTILATING
- F24F—AIR-CONDITIONING; AIR-HUMIDIFICATION; VENTILATION; USE OF AIR CURRENTS FOR SCREENING
- F24F6/00—Air-humidification, e.g. cooling by humidification
- F24F2006/008—Air-humidifier with water reservoir
-
- F—MECHANICAL ENGINEERING; LIGHTING; HEATING; WEAPONS; BLASTING
- F24—HEATING; RANGES; VENTILATING
- F24F—AIR-CONDITIONING; AIR-HUMIDIFICATION; VENTILATION; USE OF AIR CURRENTS FOR SCREENING
- F24F6/00—Air-humidification, e.g. cooling by humidification
- F24F6/02—Air-humidification, e.g. cooling by humidification by evaporation of water in the air
- F24F6/04—Air-humidification, e.g. cooling by humidification by evaporation of water in the air using stationary unheated wet elements
- F24F2006/046—Air-humidification, e.g. cooling by humidification by evaporation of water in the air using stationary unheated wet elements with a water pump
-
- F—MECHANICAL ENGINEERING; LIGHTING; HEATING; WEAPONS; BLASTING
- F24—HEATING; RANGES; VENTILATING
- F24F—AIR-CONDITIONING; AIR-HUMIDIFICATION; VENTILATION; USE OF AIR CURRENTS FOR SCREENING
- F24F2140/00—Control inputs relating to system states
-
- F—MECHANICAL ENGINEERING; LIGHTING; HEATING; WEAPONS; BLASTING
- F24—HEATING; RANGES; VENTILATING
- F24F—AIR-CONDITIONING; AIR-HUMIDIFICATION; VENTILATION; USE OF AIR CURRENTS FOR SCREENING
- F24F2221/00—Details or features not otherwise provided for
- F24F2221/22—Cleaning ducts or apparatus
- F24F2221/225—Cleaning ducts or apparatus using a liquid
-
- F—MECHANICAL ENGINEERING; LIGHTING; HEATING; WEAPONS; BLASTING
- F28—HEAT EXCHANGE IN GENERAL
- F28F—DETAILS OF HEAT-EXCHANGE AND HEAT-TRANSFER APPARATUS, OF GENERAL APPLICATION
- F28F25/00—Component parts of trickle coolers
- F28F2025/005—Liquid collection; Liquid treatment; Liquid recirculation; Addition of make-up liquid
-
- F—MECHANICAL ENGINEERING; LIGHTING; HEATING; WEAPONS; BLASTING
- F28—HEAT EXCHANGE IN GENERAL
- F28F—DETAILS OF HEAT-EXCHANGE AND HEAT-TRANSFER APPARATUS, OF GENERAL APPLICATION
- F28F2265/00—Safety or protection arrangements; Arrangements for preventing malfunction
- F28F2265/20—Safety or protection arrangements; Arrangements for preventing malfunction for preventing development of microorganisms
-
- Y—GENERAL TAGGING OF NEW TECHNOLOGICAL DEVELOPMENTS; GENERAL TAGGING OF CROSS-SECTIONAL TECHNOLOGIES SPANNING OVER SEVERAL SECTIONS OF THE IPC; TECHNICAL SUBJECTS COVERED BY FORMER USPC CROSS-REFERENCE ART COLLECTIONS [XRACs] AND DIGESTS
- Y02—TECHNOLOGIES OR APPLICATIONS FOR MITIGATION OR ADAPTATION AGAINST CLIMATE CHANGE
- Y02B—CLIMATE CHANGE MITIGATION TECHNOLOGIES RELATED TO BUILDINGS, e.g. HOUSING, HOUSE APPLIANCES OR RELATED END-USER APPLICATIONS
- Y02B30/00—Energy efficient heating, ventilation or air conditioning [HVAC]
- Y02B30/54—Free-cooling systems
Landscapes
- Engineering & Computer Science (AREA)
- Mechanical Engineering (AREA)
- General Engineering & Computer Science (AREA)
- Chemical & Material Sciences (AREA)
- Combustion & Propulsion (AREA)
- Physics & Mathematics (AREA)
- Thermal Sciences (AREA)
- Life Sciences & Earth Sciences (AREA)
- Sustainable Development (AREA)
- Air Conditioning Control Device (AREA)
- Air Humidification (AREA)
- Heat-Exchange Devices With Radiators And Conduit Assemblies (AREA)
Abstract
본 발명은 공기의 가습 및 냉각을 위한 증발식 가습기와 냉각기 장치(1)를 세정하기 위한 제어 디바이스(100)에 의해 수행되는 방법으로서, 상기 장치(1)는, 유체(4)를 수용하고 증발시키도록 구성된 냉각 및 가습 매체(2); 상기 유체(4)를 상기 냉각 및 가습 매체(2)에 분배하도록 구성된 유체 분배 요소(6); 및 상기 냉각 및 가습 매체(2)의 하류에서 유체(4)를 수집하도록 배치된 트레이(8)를 포함하고, 상기 유체 분배 요소(6)에 의해 분배된 유체(4)는 상기 트레이(8)로부터 수집되는, 방법에 관한 것이다. 상기 방법은, 상기 냉각 및 가습 매체(2)의 하류에서 유체(4)와 유체 연통하도록 배치된 센서 디바이스(10)의 데이터에 기초하여 상기 냉각 및 가습 매체(2)의 상태를 결정하는 단계(s101); 및 상기 냉각 및 가습 매체(2)의 상태에 따라 상기 냉각 및 가습 매체(2)에 적어도 하나의 세정 유체(12; 14)를 공급하는 단계(s102)를 포함한다. 본 발명은 또한 공기의 가습 및 냉각을 위한 증발식 가습기와 냉각기 장치(1), 제어 디바이스(100), 및 상기 제어 디바이스(100)와 통신하도록 배치된 센서 디바이스(10)를 포함하는 시스템(200)에 관한 것이다.
Description
본 발명은 첨부된 청구범위에 따른 증발식 가습기와 냉각기 장치를 세정하기 위한 제어 디바이스에 의해 수행되는 방법, 및 또한 증발식 가습기와 냉각기 장치를 포함하는 시스템에 관한 것이다. 또한, 본 발명은 첨부된 청구범위에 따른 컴퓨터 프로그램 및 컴퓨터 판독 가능 매체에 관한 것이다.
증발식 가습기와 냉각기 장치는 건물의 다양한 유형의 공간을 가습하고 냉각하는 데 사용된다. 건물 내의 전기 장비는 열을 발생시켜 건물 내부의 온도를 높일 수 있다. 높은 온도는 장비의 성능을 저하시킬 수 있다. 전기 장비는 또한 정전기에 민감할 수 있다. 건물 내 공간의 습도가 특정 수준 이하로 떨어지면 정전기가 발생할 수 있다.
증발식 가습기와 냉각기 장치는 증발식 매체로도 알려진 무기 불연성 냉각 및 가습 매체를 포함한다. 물과 같은 유체는 유체 분배 요소를 통해 증발 매체의 상단으로 공급된다. 물은 주름진 표면을 가질 수 있는 증발 매체 아래로 흐른다. 따뜻하고 건조한 공기가 증발 매체를 통과함에 따라 물의 일부가 증발하여 차갑고 습한 공기가 생성된다. 나머지 물은 증발 매체를 세척하고 세정하는 것을 돕고 유체 트레이로 배출된다. 따뜻하고 건조한 공기는 팬에 의해 생성되는 강제 공기 흐름에 의해 증발 매체를 통해 전달될 수 있다.
유체를 증발시키는 데 필요한 에너지는 공기 자체에서 온 것이다. 따라서 장치를 떠나는 공기는 단열 냉각 과정으로 인한 증발을 위한 외부 에너지 공급 없이 동시에 가습 및 냉각된다.
트레이는 유체 공급원의 유체로 채워져 있다. 습도 및 냉각 요구가 있는 경우 펌프가 시작되고 유체 분배 요소를 통해 증발 매체를 통해 유체를 순환시킨다. 유체는 미리 결정된 농도의 특정 양의 미네랄과 염분을 포함할 수 있다. 증발하는 동안 유체는 공기 중으로 방출된다. 미네랄과 염분은 유체에 남아서 유체 트레이로 되돌아간다. 유체 트레이에 있는 유체의 일부는 미네랄 농도를 제어하기 위해 지속적으로 배출되고 공급원으로부터 새로운 유체로 교체된다.
유체에 남아 있는 미네랄과 염분 외에도 박테리아와 진균이 유체와 냉각 및 가습 매체에 형성될 수 있다. 유체의 미네랄, 염분, 박테리아 및/또는 진균은 또한 냉각 및 가습 매체에 침전물 및 침강물을 생성할 수 있으므로 냉각 및 가습 매체에서 스케일을 제거하는 것이 필요하다.
따라서, 장치의 냉각 및 가습 매체의 상태에 기초하여 증발식 가습기와 냉각기 장치를 세정하는 방법을 개발하는 것이 필요하다. 또한 이 방법을 실행하기 위한 컴퓨터 프로그램 및 컴퓨터 판독 가능 매체를 개발하는 것이 필요하다. 또한, 공기의 가습 및 냉각을 위한 증발식 가습기와 냉각기 장치로서, 장치의 냉각 및 가습 매체의 상태에 따라 세정되는 증발식 가습기와 냉각기 장치를 포함하는 시스템을 개발하는 것이 필요하다.
따라서 본 발명의 목적은 장치의 냉각 및 가습 매체의 상태에 기초하여 증발식 가습기와 냉각기 장치를 세정하는 방법을 개발하는 것이다.
본 발명의 또 다른 목적은 이 방법을 실행하기 위한 컴퓨터 프로그램 및 컴퓨터 판독 가능 매체를 개발하는 것이다.
본 발명의 다른 목적은 공기의 가습 및 냉각을 위한 증발식 가습기와 냉각기 장치로서, 장치의 냉각 및 가습 매체의 상태에 기초하여 세정되는 증발식 가습기와 냉각기 장치를 포함하는 시스템을 개발하는 것이다.
이러한 목적은 첨부된 청구범위에 따른 증발식 가습기와 냉각기 장치를 세정하기 위한 전술한 방법, 증발식 가습기와 냉각기 장치를 포함하는 전술한 시스템, 및 전술한 컴퓨터 프로그램 및 컴퓨터 판독 가능 매체에 의해 달성된다.
본 발명의 일 양태에 따르면, 공기의 가습 및 냉각을 위한 증발식 가습기와 냉각기 장치를 세정하기 위한 제어 디바이스에 의해 수행되는 방법이 제공된다. 장치는 유체를 수용하고 증발시키도록 구성된 냉각 및 가습 매체; 냉각 및 가습 매체에 유체를 분배하도록 구성된 유체 분배 요소; 및 냉각 및 가습 매체의 하류에서 유체를 수집하도록 배치된 트레이를 포함하고; 여기서 유체 분배 요소에 의해 분배된 유체는 트레이로부터 수집된다. 방법은, 냉각 및 가습 매체의 하류에서 유체와 유체 통신하도록 배치된 센서 디바이스로부터의 데이터에 기초하여 냉각 및 가습 매체의 상태를 결정하는 단계; 및 냉각 및 가습 매체의 상태에 따라 냉각 및 가습 매체에 적어도 하나의 세정 유체를 공급하는 단계를 포함한다.
증발식 가습기와 냉각기 장치는 냉각 및 가습 매체의 상태에 따라 세정된다. 센서 디바이스는 유체의 특성을 검출하도록 구성된다. 유체의 특성의 검출로부터 얻어진 데이터에 기초하여 냉각 및 가습 매체의 상태를 결정할 수 있다. 세정 유형은 냉각 및 가습 매체의 상태에 따라 수행된다. 냉각 및 가습 매체의 상태에 따라 적어도 하나의 세정 유체가 냉각 및 가습 매체에 공급된다. 센서 디바이스의 데이터는 제어 디바이스로 전달된다. 데이터는 제어 디바이스에서 처리되고 센서 디바이스의 데이터에 기초하여 적절한 세정 유체 또는 세정 유체의 조합이 냉각 및 가습 매체에 공급될 수 있다. 적어도 하나의 세정 유체는 냉각 및 가습 매체로 직접 공급되거나 또는 유체 분배 요소에 의해 냉각 및 가습 매체로 분배되는 유체로 공급될 수 있다. 냉각 및 가습 매체에 적어도 하나의 세정 유체를 공급할 때 증발식 가습기와 냉각기 장치가 세정된다.
장치에 사용되는 유체는 염분 및 미네랄과 같은 특정 양의 물질을 포함하며 그 농도는 장소에 따라 다르다. 냉각 및 가습 과정에서 이러한 물질이 없는 유체는 다시 공기 중으로 방출된다. 물질은 장치의 유체에 남아 있고 유체 트레이로 되돌아간다. 이 방법은 냉각 및 가습 매체의 표면을 깨끗하게 유지한다. 그 결과 냉각 및 가습 매체의 수명이 크게 연장될 수 있다.
본 발명의 일 양태에 따르면, 공기의 가습 및 냉각을 위한 증발식 가습기와 냉각기 장치, 제어 디바이스, 및 제어 디바이스와 통신하도록 배치된 센서 디바이스를 포함하는 시스템이 제공된다. 장치는, 유체를 수용하고 증발시키도록 구성된 냉각 및 가습 매체; 냉각 및 가습 매체에 유체를 분배하도록 구성된 유체 분배 요소; 및 냉각 및 가습 매체의 하류에서 유체를 수집하도록 배치된 트레이를 포함하고; 여기서 유체 분배 요소에 의해 분배된 유체는 트레이로부터 수집되고; 제어 디바이스는 냉각 및 가습 매체의 하류에서 유체와 유체 연통하도록 배치된 센서 디바이스의 데이터에 기초하여 냉각 및 가습 매체의 상태를 결정하고; 냉각 및 가습 매체의 상태에 따라 냉각 및 가습 매체에 적어도 하나의 세정 유체를 공급하도록 구성된다.
시스템의 증발식 가습기와 냉각기 장치는 적어도 하나의 세정 유체로 세정된다. 센서 디바이스는 냉각 및 가습 매체의 하류에서 유체와 유체 연통하도록 배치된다. 유체가 냉각 및 가습 매체를 통과한 후 유체가 트레이에 수집되는 순환 과정에서, 유체는 예를 들어 순환 펌프에 의해 냉각 및 가습 매체로 되돌아간다. 따라서, 센서 디바이스는 냉각 및 가습 매체를 포함하는 회로의 임의의 위치에서 유체와 유체 연통하도록 배치될 수 있는데, 이는 회로의 임의의 위치가 냉각 및 가습 매체의 하류 위치일 것이기 때문이다. 센서 디바이스의 데이터는 제어 디바이스로 전달된다. 데이터는 제어 디바이스에서 처리된다. 데이터에 기초하여, 냉각 및 가습 매체의 상태를 결정할 수 있고, 이에 따라 적합한 세정 유체 또는 세정 유체의 조합을 냉각 및 가습 매체에 공급할 수 있다. 냉각 및 가습 매체에 적어도 하나의 세정 유체를 공급할 때 증발식 가습기와 냉각기 장치가 세정된다.
시스템의 장치는 유체 증발의 물리적 원리를 사용한다. 공기는 팬에 의해 냉각 및 가습 매체를 강제로 통과한다. 공기가 습한 냉각 및 가습 매체를 통과하는 동안 유체에 열을 방출하여 자체적으로 냉각된다. 공기에 존재하는 수분의 양은 처리되는 공기의 온도 감소 수준을 결정한다.
본 발명의 추가적인 목적, 이점 및 신규한 특징은 다음의 상세한 설명으로부터 그리고 본 발명을 실시함으로써 당업자에게 명백할 것이다. 본 발명을 아래에 설명하지만, 본 발명은 구체적으로 설명된 세부 사항으로 제한되지 않을 수 있음이 명백하다. 본 명세서의 내용에 접근하는 당업자라면 본 발명의 범위 내에 있는 다른 영역에의 추가적인 적용, 수정 및 통합을 인식할 수 있을 것이다.
본 발명 및 이의 추가 목적 및 이점에 대한 보다 완전한 이해를 위해, 아래에 제시된 상세한 설명은 첨부 도면과 함께 읽어야 하며, 다양한 도면에서 동일한 참조 부호는 유사한 항목을 나타낸다.
도 1 내지 도 4는 상이한 예에 따른 시스템을 개략적으로 도시한다.
도 5는 일례에 따른 방법의 흐름도를 도시한다.
도 6은 일례에 따른 제어 디바이스 또는 컴퓨터를 개략적으로 도시한다.
도 1 내지 도 4는 상이한 예에 따른 시스템을 개략적으로 도시한다.
도 5는 일례에 따른 방법의 흐름도를 도시한다.
도 6은 일례에 따른 제어 디바이스 또는 컴퓨터를 개략적으로 도시한다.
본 발명에 따르면, 공기의 가습 및 냉각을 위한 증발식 가습기와 냉각기 장치를 세정하기 위한 제어 디바이스에 의해 수행되는 방법이 제공된다. 장치는, 유체를 수용하고 증발시키도록 구성된 냉각 및 가습 매체; 냉각 및 가습 매체에 유체를 분배하도록 구성된 유체 분배 요소; 및 냉각 및 가습 매체의 하류에서 유체를 수집하도록 배치된 트레이를 포함하고; 여기서 유체 분배 요소에 의해 분배된 유체는 트레이로부터 수집된다. 방법은, 냉각 및 가습 매체의 하류에서 유체와 유체 연통하도록 배치된 센서 디바이스의 데이터에 기초하여 냉각 및 가습 매체의 상태를 결정하는 단계; 및 냉각 및 가습 매체의 상태에 따라 냉각 및 가습 매체에 적어도 하나의 세정 유체를 공급하는 단계를 포함한다.
이러한 방법은 제어 디바이스에 의해 수행된다. 제어 디바이스는 증발식 가습기와 냉각기 장치의 구성요소이거나, 증발식 가습기와 냉각기 장치로부터 떨어져 배치된 독립적인 구성요소일 수 있다. 증발식 가습기와 냉각기 장치는 공기의 가습을 위해 구성될 수 있다. 따라서, 장치는 공기 중의 습도를 증가시키거나 공기 중의 습도를 미리 결정된 수준으로 유지할 수 있다. 장치는 또한 공기의 온도를 낮추거나 온도를 일정한 수준으로 유지할 수 있다. 냉각 및 가습 매체는 유체를 수용하고 증발시킬 수 있는 재료로 만들어진다. 냉각 및 가습 매체는 매체의 표면을 증가시키는 주름진 표면을 가질 수 있다. 냉각 및 가습 매체는 장치의 강성의 프레임에 의해 지지되는 카세트에 배치될 수 있다. 매체에 의해 수용되고 증발되는 유체는 매체에 의해 증발될 수 있는 물 또는 다른 적절한 유체일 수 있다. 유체는 바람직하게는 환경 친화적일 수 있다.
유체 분배 요소는 유체를 냉각 및 가습 매체에 분배하도록 구성된다. 유체는 중력에 의해 냉각 및 가습 매체 위를 통해 흐를 수 있다. 제1 유체 펌프가 유체 분배 요소에 연결될 수 있고, 여기서 제1 유체 펌프는 유체를 유체 분배 요소로 전달하도록 구성된다. 제1 유체 펌프는 트레이로부터 유체를 흡입하고 유체를 유체 분배 요소로 전달할 수 있다. 제1 유체 펌프는 전기 모터에 의해 구동될 수 있다. 제1 유체 펌프는 상이한 유량 및 상이한 체적 흐름으로 유체를 유체 분배 요소로 전달하기 위해 상이한 속도로 구동될 수 있다. 장치의 시동 동안, 냉각 및 가습 매체의 습윤을 증가시키기 위해 증가된 유체 흐름이 제1 유체 펌프에 의해 유체 분배 요소에 제공될 수 있다. 냉각 및 가습 매체가 유체를 흡수하여 완전히 젖었을 때, 제1 유체 펌프에 의해 제공되는 유체의 흐름은 정상적인 유체 전달 수준으로 감소될 수 있다. 장치를 종료할 때, 제1 유체 펌프가 중지되므로 유체 분배 요소로 유체가 전달되지 않는다. 유체 분배 요소는 카세트의 프레임에 연결될 수 있다. 유체 분배 요소는 매체의 상단에 배치된 세장형 스프링클러일 수 있다. 유체 분배 요소에는 상방으로 배향된 작은 보정 구멍이 있을 수 있다. 이 디자인 특징은 막힘을 방지하여 전체 냉각 및 가습 매체 위로 효율적인 물 분배를 보장한다. 전체 냉각 및 가습 매체 위로 효율적인 물 분배는 예를 들어 지면 움직임으로 인해 냉각 및 가습 매체가 완벽하게 수평으로 정렬되지 않은 경우에도 보장된다. 대안으로 또는 세장형 스프링클러와 함께, 단일 유체 노즐이 유체를 매체에 분배하도록 배치될 수 있다.
트레이는 냉각 및 가습 매체의 하류에서 유체를 수집하도록 배치된다. 냉각 및 가습 매체에 분배된 유체는 증발식 가습기와 냉각기 장치에 의해 처리될 공간의 주변 공기로 방출된다. 그러나, 매체에 분배된 모든 유체가 주변 공기로 방출되는 것은 아니므로 유체는 중력에 의해 매체를 따라 그리고 매체 하류 또는 매체 아래에 배치된 트레이로 흐를 수 있다. 위에서 언급된 바와 같이, 제1 유체 펌프는 트레이로부터 유체를 흡입하고 유체를 유체 분배 요소로 전달할 수 있다. 유체는 주변 공기로 방출되기 때문에, 유체 공급 탱크 또는 유체 파이프 네트워크로부터 유체를 지속적으로 트레이로 공급해야 한다. 유체 공급 탱크 또는 유체 파이프 네트워크로부터 유체는 제2 유체 펌프에 의해 트레이에 공급될 수 있다. 트레이에 있는 유체의 일부는 지속적으로 배출되고 유체에서 원치 않는 물질의 농도를 제어하기 위해 유체 공급 탱크로부터 새로운 유체로 교체될 수 있다.
증발식 가습기와 냉각기 장치는 냉각 및 가습 매체의 상태에 따라 세정된다. 센서 디바이스는 유체의 특성을 검출하도록 구성된다. 유체의 특성의 검출로부터 얻어진 데이터에 기초하여 냉각 및 가습 매체의 상태를 결정할 수 있다. 세정 유형은 냉각 및 가습 매체의 상태에 따라 수행된다. 냉각 및 가습 매체의 상태에 따라 적어도 하나의 세정 유체가 냉각 및 가습 매체에 공급된다. 센서 디바이스의 데이터는 제어 디바이스로 전달된다. 데이터는 제어 디바이스에서 처리되고, 센서 디바이스의 데이터에 기초하여 적절한 세정 유체 또는 세정 유체의 조합이 냉각 및 가습 매체에 공급될 수 있다. 적어도 하나의 세정 유체는 냉각 및 가습 매체로 직접 공급되거나 또는 유체 분배 요소에 의해 냉각 및 가습 매체로 분배되는 유체로 공급될 수 있다. 냉각 및 가습 매체에 적어도 하나의 세정 유체를 공급할 때 증발식 가습기와 냉각기 장치가 세정된다.
일 양태에 따르면, 냉각 및 가습 매체의 상태를 결정하는 단계는 냉각 및 가습 매체의 하류 유체에서 pH 값, 경도, 탁도, 염분 함량, 및/또는 박테리아/진균의 존재를 결정하는 단계를 포함한다.
센서 디바이스는 유체에서 pH 값, 경도, 탁도, 염분 함량, 및/또는 박테리아/진균의 존재와 관련된 유체의 특성을 검출하도록 구성된다. 유체의 이러한 검출된 특성에 기초하여, 데이터는 유체에서 pH 값, 경도, 탁도, 염분 함량 및/또는 박테리아/진균의 존재를 결정하기 위한 센서 디바이스로부터 얻어진다. 대안적으로, 센서 디바이스로부터 얻어진 데이터는 유체에서 pH-값, 경도, 탁도, 염분 함량 및/또는 박테리아/진균의 존재를 결정하기 위해 제어 디바이스에서 처리된다. 이 정보에 기초하여, 냉각 및 가습 매체의 상태를 결정할 수 있다. 센서 디바이스는 트레이에 배치되고 트레이의 유체와 접촉할 수 있다.
일 양태에 따르면, 냉각 및 가습 매체의 상태에 따라 냉각 및 가습 매체에 적어도 하나의 세정 유체를 공급하는 단계는 냉각 및 가습 매체의 상태에 기초하여 적어도 하나의 세정 유체의 투여량을 결정하는 단계를 포함한다.
센서는 유체에서 pH 값, 경도, 탁도, 염분 함량 및/또는 박테리아/진균의 존재와 관련된 유체의 특성을 검출하도록 구성된다. 유체에서 pH 값, 경도, 탁도, 염분 및/또는 박테리아/진균의 농도 또는 등급은 센서 디바이스에 의해 검출될 수 있다. 이 정보에 기초하여, 냉각 및 가습 매체의 상태를 결정할 수 있고, 이에 따라 적어도 하나의 세정 유체의 투여량을 결정할 수 있다. 적어도 하나의 세정 유체의 투여량은 또한 적어도 하나의 세정 유체의 특성에 의존할 수 있다. 적어도 하나의 세정 유체는 바람직하게는 환경 친화적일 수 있다.
일 양태에 따르면, 냉각 및 가습 매체에 적어도 하나의 세정 유체를 공급하는 단계는 트레이에 적어도 하나의 세정 유체를 공급하는 단계를 포함한다.
제1 유체 펌프는 유체 분배 요소에 연결될 수 있으며, 제1 유체 펌프는 유체를 유체 분배 요소에 전달하도록 구성된다. 유체 분배 요소는 유체를 냉각 및 가습 매체에 분배하도록 구성된다. 제1 유체 펌프는 트레이로부터 유체를 흡입하고 유체를 유체 분배 요소로 전달할 수 있다. 트레이에 적어도 하나의 세정 유체를 공급하면 세정 유체가 트레이의 유체와 혼합된다. 트레이의 혼합 유체와 세정 유체는 유체 분배 요소에 공급되며, 유체 분배 요소는 트레이의 혼합 유체와 세정 유체를 냉각 및 가습 매체를 세정하기 위한 냉각 및 가습 매체에 분배한다. 트레이의 혼합 유체와 세정 유체는 제1 유체 펌프에 의해 유체 분배 요소에 공급될 수 있다. 적어도 하나의 세정 유체는 제3 유체 펌프에 의해 트레이에 공급될 수 있다. 대안적으로, 트레이는 트레이에 세정 유체를 공급하기 전에 배출될 수 있다. 세정 유체가 트레이에 공급되면 세정 유체는 유체 분배 요소에 공급되고, 유체 분배 요소는 냉각 및 가습 매체를 세정하기 위해 냉각 및 가습 매체에 세정 유체를 분배한다. 이 경우에, 세정 유체만이 제1 유체 펌프에 의해 유체 분배 요소에 공급될 수 있다.
일 양태에 따르면, 냉각 및 가습 매체에 적어도 하나의 세정 유체를 공급하는 단계는 유체 분배 요소에 적어도 하나의 세정 유체를 공급하는 단계를 포함한다.
제1 유체 펌프는 유체 분배 요소에 연결될 수 있고, 제1 유체 펌프는 유체 분배 요소에 유체를 전달하도록 구성된다. 제1 유체 펌프는 트레이로부터 유체를 흡입하고 유체를 유체 분배 요소로 전달할 수 있다. 적어도 하나의 세정 유체는 제3 유체 펌프에 의해 유체 분배 요소에 공급될 수 있다. 유체 분배 요소에 도달하기 전에, 적어도 하나의 세정 유체는 제3 유체 펌프와 유체 분배 요소 사이에 배치된 조절기 밸브를 통과할 수 있다. 또한 제1 유체 펌프에 의해 트레이로부터 흡입된 유체는 조절기 밸브를 통과할 수 있다. 조절기 밸브를 조절함으로써 적어도 하나의 세정 유체가 트레이의 유체와 혼합될 수 있다. 트레이의 혼합 유체와 세정 유체는 제1 유체 펌프에 의해 유체 분배 요소에 공급될 수 있다. 대안적으로, 조절기 밸브는 트레이와 유체 분배 요소 사이의 연결을 닫아서 유체 분배 요소에 세정 유체만이 공급되도록 할 수 있으며, 유체 분배 요소는 냉각 및 가습 매체를 세정하기 위해 냉각 및 가습 매체에 세정 유체를 분배한다.
일 양태에 따르면, 냉각 및 가습 매체의 상태를 결정하는 단계는 트레이로부터 센서 디바이스를 포함하는 용기로 유체를 순환시키는 단계를 포함한다.
용기는 트레이와 분리될 수 있다. 용기의 유체는 트레이의 유체와 분리될 수 있다. 트레이로부터 유체는 제4 유체 펌프에 의해 용기로 순환될 수 있다. 센서 디바이스는 용기에 배치될 수 있고, 트레이로부터 순환되는 유체와 접촉할 수 있다. 용기의 유체는 제5 유체 펌프에 의해 트레이로 다시 순환될 수 있다. 센서 디바이스가 있는 이러한 용기는 냉각 및 가습 매체의 상태를 결정하기 위해 증발식 가습기와 냉각기 장치의 트레이에 연결될 수 있다.
일 양태에 따르면, 냉각 및 가습 매체에 적어도 하나의 세정 유체를 공급하는 단계는 냉각 및 가습 매체가 냉각 및 가습 매체에서 스케일의 제거가 필요한 상태에 있을 때 제1 세정 유체를 공급하는 단계를 포함한다.
유체의 미네랄, 염분, 박테리아 및/또는 진균은 냉각 및 가습 매체에 침전물 및 침강물을 생성할 수 있으며 이에 냉각 및 가습 매체에서 스케일의 제거가 필요할 수 있다. 유체에서 pH 값, 경도, 탁도, 염분 함량 및/또는 박테리아/진균의 존재와 관련된 유체의 특성을 검출함으로써, 센서 디바이스 단독 또는 제어 디바이스는 냉각 및 가습 매체가 냉각 및 가습 매체에서 스케일의 제거가 필요한 상태에 있는지 여부를 결정할 수 있다. 제1 세정 유체는 침전물로부터 냉각 및 가습 매체를 세정하여 냉각 및 가습 매체에서 스케일을 제거하는 특성을 갖는다. 냉각 및 가습 매체에서 스케일을 제거하는 것은 증발식 가습기와 냉각기 장치를 세정한 결과이다. 제1 세정 유체는 바람직하게는 환경 친화적일 수 있다.
일 양태에 따르면, 냉각 및 가습 매체에 적어도 하나의 세정 유체를 공급하는 단계는 냉각 및 가습 매체가 냉각 및 가습 매체에 소독이 필요한 상태에 있을 때 제2 세정 유체를 공급하는 단계를 포함한다.
유체의 미네랄, 염분, 박테리아 및/또는 진균으로 인해 냉각 및 가습 매체에 소독이 필요할 수 있다. 유체에서 pH 값, 경도, 탁도, 염분 함량 및/또는 박테리아/진균의 존재와 관련된 유체의 특성을 검출함으로써, 센서 디바이스 단독 또는 제어 디바이스는 냉각 및 가습 매체가 냉각 및 가습 매체에 소독이 필요한 상태에 있는지 여부를 결정할 수 있다. 제2 세정 유체는 미네랄, 염분, 박테리아 및/또는 진균으로부터 냉각 및 가습 매체를 세정하여 냉각 및 가습 매체를 소독하는 특성을 갖는다. 냉각 및 가습 매체를 소독하는 것은 증발식 가습기와 냉각기 장치를 세정한 결과이다. 제2 세정 유체는 바람직하게는 환경 친화적일 수 있다.
본 발명은 또한 컴퓨터에 의해 실행될 때 컴퓨터로 하여금 상기 개시된 방법을 수행하게 하는 명령어를 포함하는 컴퓨터 프로그램에 관한 것이다. 본 발명은 또한 컴퓨터에 의해 실행될 때 컴퓨터로 하여금 위에 개시된 방법을 수행하게 하는 명령어를 포함하는 컴퓨터 판독 가능 매체에 관한 것이다. 방법은 방법을 활용하기에 적합한 드릴링 유닛으로 구현될 수 있는 미리 프로그래밍된 소프트웨어에 포함될 수 있다. 미리 프로그램된 소프트웨어는 제어 디바이스에 저장될 수 있다. 대안적으로 또는 조합으로, 소프트웨어는 메모리에 저장되거나 또는 제어 디바이스로부터 떨어진 컴퓨터에 저장될 수 있다.
본 발명에 따르면, 공기의 가습 및 냉각을 위한 증발식 가습기와 냉각기 장치, 제어 디바이스 및 이 제어 디바이스와 통신하도록 배치된 센서 디바이스를 포함하는 시스템이 제공된다. 장치는, 유체를 수용하고 증발시키도록 구성된 냉각 및 가습 매체; 냉각 및 가습 매체에 유체를 분배하도록 구성된 유체 분배 요소; 및 냉각 및 가습 매체의 하류에서 유체를 수집하도록 배치된 트레이를 포함하고; 여기서 유체 분배 요소에 의해 분배된 유체는 트레이로부터 수집되고; 제어 디바이스는 냉각 및 가습 매체의 하류에서 유체와 유체 연통하도록 배치된 센서 디바이스의 데이터에 기초하여 냉각 및 가습 매체의 상태를 결정하고; 냉각 및 가습 매체의 상태에 따라 냉각 및 가습 매체에 적어도 하나의 세정 유체를 공급하도록 구성된다.
시스템의 증발식 가습기와 냉각기 장치는 적어도 하나의 세정 유체로 세정된다. 센서 디바이스는 냉각 및 가습 매체의 하류에서 유체와 유체 연통하도록 배치된다. 유체가 냉각 및 가습 매체를 통과한 후 유체가 트레이에 수집되는 순환 과정에서, 유체는 예를 들어 순환 펌프에 의해 냉각 및 가습 매체로 되돌아간다. 따라서, 센서 디바이스는 냉각 및 가습 매체를 포함하는 회로의 임의의 위치에서 유체와 유체 연통하도록 배치될 수 있는 데, 이는 회로의 임의의 위치가 냉각 및 가습 매체의 하류 위치일 것이기 때문이다. 센서 디바이스의 데이터는 제어 디바이스로 전달된다. 데이터는 제어 디바이스에서 처리된다. 데이터에 기초하여, 냉각 및 가습 매체의 상태를 결정할 수 있고, 이에 따라 적합한 세정 유체 또는 세정 유체의 조합이 냉각 및 가습 매체에 공급될 수 있다. 냉각 및 가습 매체에 적어도 하나의 세정 유체를 공급할 때 증발식 가습기와 냉각기 장치가 세정된다.
제어 디바이스에 의해 수행되는 본 발명의 방법 양태에서 설명된 모든 예는 본 발명의 시스템 양태에도 적용 가능한 것으로 이해된다. 즉, 시스템의 제어 디바이스는 위에서 설명된 다양한 예에 따른 방법의 단계 중 임의의 단계를 수행하도록 구성될 수 있다. 따라서, 다음 양태에 따르면, 시스템의 제어 디바이스는 대응하는 예시 및 위에서 설명된 양태에 따른 방법 단계를 수행하도록 구성될 수 있다.
양태에 따르면, 제어 디바이스는 따라서 냉각 및 가습 매체의 하류 유체에서 pH 값, 경도, 탁도, 염분 함량, 및/또는 박테리아/진균의 존재를 결정함으로써 냉각 및 가습 매체의 상태를 결정하도록 구성될 수 있다. 또 다른 양태에 따르면, 제어 디바이스는 냉각 및 가습 매체의 상태에 기초하여 적어도 하나의 세정 유체의 투여량을 결정함으로써 냉각 및 가습 매체의 상태에 따라 냉각 및 가습 매체에 적어도 하나의 세정 유체를 공급하도록 구성될 수 있다. 또 다른 양태에 따르면, 제어 디바이스는 트레이에 적어도 하나의 세정 유체를 공급함으로써 냉각 및 가습 매체에 적어도 하나의 세정 유체를 공급하도록 구성될 수 있다. 또 다른 양태에 따르면, 제어 디바이스는 유체 분배 요소에 적어도 하나의 세정 유체를 공급함으로써 냉각 및 가습 매체에 적어도 하나의 세정 유체를 공급하도록 구성될 수 있다. 또 다른 양태에 따르면, 시스템은 센서 디바이스를 포함하는 용기를 더 포함할 수 있고, 용기는 트레이와 유체 연통하도록 배치되고, 제어 디바이스는 유체를 트레이로부터 용기로 순환시키도록 구성된다. 또 다른 양태에 따르면, 제어 디바이스는 냉각 및 가습 매체가 냉각 및 가습 매체에서 스케일의 제거가 필요한 상태에 있을 때 제1 세정 유체를 공급하여 냉각 및 가습 매체에 적어도 하나의 세정 유체를 공급하도록 구성된다. 또 다른 양태에 따르면, 제어 디바이스는 냉각 및 가습 매체가 냉각 및 가습 매체에 소독이 필요한 상태에 있을 때 제2 세정 유체를 공급하는 것을 포함하여 냉각 및 가습 매체에 적어도 하나의 세정 유체를 공급하도록 구성될 수 있다.
위에서 설명한 유체 펌프는 전기 모터에 의해 구동될 수 있다.
증발식 가습기와 냉각기 장치의 세정을 위한 제어 디바이스에 의해 수행되는 방법, 증발식 가습기와 냉각기 장치를 포함하는 시스템, 컴퓨터 프로그램 및 컴퓨터 판독 가능 매체가 첨부된 도면과 함께 이제 설명될 것이다.
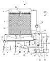
도 1은 제1 예에 따른 시스템(200)을 개략적으로 도시한다. 시스템은 공기의 가습 및 냉각을 위한 증발식 가습기와 냉각기 장치(1)를 포함한다. 센서 디바이스(10)에 연결된 제어 디바이스(100)가 제공된다. 장치(1)는 유체(4)를 수용하고 증발시키도록 구성된 냉각 및 가습 매체(2)를 포함한다. 유체 분배 요소(6)는 유체(4)를 냉각 및 가습 매체(2)에 분배하도록 구성된다. 트레이(8)는 냉각 및 가습 매체(2)의 하류에서 유체(4)를 수집하도록 배치된다. 유체 분배 요소(6)에 의해 분배된 유체(4)는 트레이(8)로부터 수집된다. 제1 유체 펌프(18)는 유체 분배 요소(6)에 연결되고, 제1 유체 펌프(18)는 유체(4)를 유체 분배 요소(6)에 전달하도록 구성된다. 제1 유체 펌프(18)는 트레이(8)와 유체 분배 요소(6) 사이에 배치된 유체 파이프에 배치된다. 제1 유체 펌프(18)는 트레이(8)로부터 유체(4)를 흡입하고 유체(4)를 유체 분배 요소(6)로 전달할 수 있다. 유체 공급 탱크(20)는 유체 파이프에 의해 트레이(8)와 유체 연결된다. 유체(4)는 유체 공급 탱크(20)로부터 트레이(8)로 공급될 수 있다. 유체 공급 탱크(20)로부터 유체(4)는 제2 유체 펌프(22)에 의해 트레이(8)로 공급된다. 수직 방향 화살표(23)는 유체 분배 요소(6), 냉각 및 가습 매체(2)를 통해 추가로 유체 트레이(8)로 유체(4)의 방향을 나타낸다. 배출 밸브(24)는 트레이(8)에 배치되고 트레이(8)의 유체(4)는 배출 밸브(24)를 통해 배출될 수 있다. 추가 센서 디바이스(26)는 제어 디바이스(100)에 연결될 수 있으며, 추가 센서 디바이스(26)는 장치(1)를 둘러싸는 공기의 온도 및 습도를 검출할 수 있다.
제어 디바이스(100)는 냉각 및 가습 매체(2)의 하류에서 유체(4)와 유체 연통하도록 배치된 센서 디바이스(10)의 데이터에 기초하여 냉각 및 가습 매체(2)의 상태를 결정하도록 구성된다. 냉각 및 가습 매체(2)의 상태는 냉각 및 가습 매체(2)의 하류에 있는 유체(4)에서 pH-값, 경도, 탁도, 염분 함량, 및/또는 박테리아/진균의 존재를 결정함으로써 결정될 수 있다. 매체(2)의 상태에 따라 제1 세정 유체(12) 및/또는 제2 세정 유체(14)가 냉각 및 가습 매체(2)에 공급된다.
유체(4)와 제1 및 제2 세정 유체(12, 14)를 포함하는 용기(16)가 제공된다. 유체(4, 12, 14)는 용기(16)에 배치된 격벽(28)에 의해 용기 내에서 서로 분리된다. 3개의 독립적인 용기가 용기(16)를 구성할 수도 있다. 제1 예에 따르면, 유체(4)를 포함하는 용기(16)의 부분은 제4 유체 펌프(30) 및 제5 유체 펌프(32) 및 제1 밸브(34)를 포함하는 파이프에 의해 트레이(8)와 유체 연통하도록 배치된다. 유체(4)를 포함하는 용기(16)의 부분은 또한 센서 디바이스(10)를 포함한다. 제어 디바이스(100)는 트레이(8)로부터 유체(4)를 포함하는 용기(16)의 부분으로 유체(4)를 순환시키도록 구성된다. 제1 및 제2 세정 유체(12, 14)를 포함하는 용기(16)의 부분은 제3 유체 펌프(36), 제2 밸브(38) 및 제3 밸브(40)를 포함하는 파이프에 의해 트레이(8)와 유체 연결되어 있다.
제어 디바이스(100)는 트레이(8)에 제1 및/또는 세정 유체(12, 14)를 공급함으로써 냉각 및 가습 매체(2)에 제1 및/또는 제2 세정 유체(12, 14)를 공급하도록 구성된다. 제어 디바이스(100)는 냉각 및 가습 매체(2)가 냉각 및 가습 매체(2)에서 스케일의 제거가 필요한 상태에 있을 때 냉각 및 가습 매체(2)에 제1 세정 유체(12)를 공급하도록 구성된다. 제어 디바이스(100)는 냉각 및 가습 매체(2)가 냉각 및 가습 매체(2)에 소독이 필요한 상태에 있을 때 냉각 및 가습 매체(2)에 제2 세정 유체(14)를 공급하도록 구성된다. 또한, 냉각 및 가습 매체(2)의 상태에 기초하여, 제어 디바이스(100)는 제1 및/또는 세정 유체(12, 14)의 투여량을 결정하도록 구성된다.
팬(42)은 냉각 및 가습 매체(2)를 통해 공기 흐름을 생성하도록 구성된다. 팬(42)은 냉각 및 가습 매체(2)를 통해 강제 공기 흐름을 생성할 수 있다. 팬(42)은 냉각 및 가습 매체(2) 뒤에 배치될 수 있고 따라서 압력에 의해 냉각 및 가습 매체(2)를 통해 공기 흐름을 강제할 수 있다. 대안적으로 또는 조합으로, 팬(42)은 냉각 및 가습 매체(2) 앞에 배치될 수 있고, 따라서 냉각 및 가습 매체(2)를 통한 공기 흐름을 흡입함으로써 냉각 및 가습 매체(2)를 통한 공기 흐름을 강제할 수 있다. 팬(42)은 제1 및 제2 냉각 및 가습 매체(2)를 통해 조절된 강제 공기 흐름을 생성할 수 있다.
도 2는 제2 예에 따른 시스템(200)을 개략적으로 도시한다. 도 2의 시스템은 도 1의 시스템에 대응하지만, 제어 디바이스(100)가 유체 분배 요소(6)에 제1 세정 유체(12) 및/또는 제2 세정 유체(14)를 공급함으로써 냉각 및 가습 매체(2)에 제1 세정 유체(12) 및/또는 제2 세정 유체(14)를 공급하도록 구성된다는 점에서 상이하다. 제1 세정 유체(12) 및/또는 제2 세정 유체(14)는 제3 유체 펌프(36)에 의해 유체 분배 요소(6)에 공급된다. 조절기 밸브(44)는 제3 유체 펌프(36)와 유체 분배 요소(6) 사이에 배치된다. 유체 분배 요소(6)에 도달하기 전에, 제1 세정 유체(12) 및/또는 제2 세정 유체(14)는 제3 유체 펌프(36)와 유체 분배 요소(6) 사이에 배치된 조절기 밸브(44)를 통과한다. 또한 제1 유체 펌프(18)에 의해 트레이(8)로부터 흡입된 유체(4)는 조절기 밸브(44)를 통과할 수 있다. 제1 세정 유체(12) 및/또는 제2 세정 유체(14)는 조절기 밸브(44)를 조절함으로써 트레이(8) 내의 유체(4)와 혼합될 수 있다. 트레이(8) 내의 유체와 제1 세정 유체(12) 및/또는 제2 세정 유체(14)는 함께 제1 유체 펌프(18)에 의해 유체 분배 요소(6)에 공급될 수 있다. 대안적으로, 조절기 밸브(44)는 트레이(8)와 유체 분배 요소 사이의 연결을 닫아서, 제1 세정 유체(12) 및/또는 제2 세정 유체(14)만이 유체 분배 요소(6)에 공급되도록 할 수 있고, 여기서 유체 분배 요소는 냉각 및 가습 매체(2)를 세정하기 위해 제1 세정 유체(12) 및/또는 제2 세정 유체(14)를 냉각 및 가습 매체(2)에 분배한다.
도 3은 제3 예에 따른 시스템(200)을 개략적으로 도시한다. 도 3의 시스템은 도 1의 시스템에 대응하지만, 센서 디바이스(10)가 트레이(8)에 배치된다는 점에서 상이하다. 센서 디바이스(10)는 트레이(8) 내의 유체(4)와 접촉하도록 구성된다. 용기(16)는 제1 세정 유체(12)용 용기 및 제2 세정 유체(14)용 용기를 포함한다. 유체 공급 탱크(20)와 제1 세정 유체(12)용 용기(16) 및 제2 세정 유체(14)용 용기는 유체 파이프에 의해 트레이(8)와 유체 연결된다. 제2 유체 펌프(22)는 유체 공급 탱크(20)로부터 그리고 또한 제1 세정 유체(12)와 제2 세정 유체(14)용 용기(16)로부터 유체(4)를 흡입하도록 구성된다. 제4 밸브(46)는 유체 공급 탱크(20)와 제2 유체 펌프(22) 사이에 배치된다.
도 4는 제4 예에 따른 시스템(200)을 개략적으로 도시한다. 도 4의 시스템은 도 3의 시스템에 대응하지만, 도 3에 도시된 냉각 및 가습 매체(2)와 유체 분배 요소(6) 상에 그리고 위에 추가 냉각 및 가습 매체(2')와 추가 유체 분배 요소(6')가 배치된다는 점에서 상이하다. 트레이(8)는 유체 파이프를 통해 냉각 및 가습 매체(2)와 유체 분배 요소(6), 및 추가 냉각 및 가습 매체(2')와 추가 유체 분배 요소(6') 모두와 유체 연통한다. 제5 밸브(48)는 제1 유체 펌프(18)와 유체 분배 요소(6) 사이에 배치된다. 제6 밸브(50)는 제1 유체 펌프(18)와 추가 유체 분배 요소(6') 사이에 배치된다. 제5 및 제6 밸브(48, 50)는 개별적으로 제어되거나 공동으로 제어될 수 있다.
유체 분배 요소(6)는 유체 분배 요소(6)를 추가 냉각 및 가습 매체(2')에 연결하기 위한 연결 수단(52)을 포함한다. 추가 유체 분배 요소(6')는 추가 유체 분배 요소(6')에 의해 분배되는 유체(4)를 추가 냉각 및 가습 매체(2') 및 추가로 냉각 및 가습 매체(2)로 전달하도록 구성된다.
도 5는 일례에 따른 방법의 흐름도를 도시한다. 방법은 공기의 가습 및 냉각을 위한 증발식 가습기와 냉각기 장치(1)를 세정하기 위한 제어 디바이스(100)에 의해 수행된다. 따라서 방법은 도 1 내지 도 4에 개시된 장치(1)를 포함하는 시스템(200)에 관한 것이다. 장치(1)는 유체(4)를 수용하고 증발시키도록 구성된 냉각 및 가습 매체(2); 냉각 및 가습 매체(2)에 유체(4)를 분배하도록 구성된 유체 분배 요소(6); 및 냉각 및 가습 매체(2)의 하류에서 유체(4)를 수집하도록 배치된 트레이(8)를 포함하고; 여기서 유체 분배 요소(6)에 의해 분배된 유체(4)는 트레이(8)로부터 수집된다.
방법은 냉각 및 가습 매체(2)의 하류에서 유체(4)와 유체 연통하도록 배치된 센서 디바이스(10)의 데이터에 기초하여 냉각 및 가습 매체(2)의 상태를 결정하는 단계(s101); 및 냉각 및 가습 매체(2)의 상태에 따라 냉각 및 가습 매체(2)에 적어도 하나의 세정 유체(12; 14)를 공급하는 단계(s102)를 포함한다.
냉각 및 가습 매체(2)의 상태를 결정하는 단계(s101)는 냉각 및 가습 매체(2)의 하류에 있는 유체(4)에서 pH 값, 경도, 탁도, 염분 함량, 및/또는 박테리아/진균의 존재를 결정하는 것을 포함한다. 냉각 및 가습 매체(2)의 상태에 따라 냉각 및 가습 매체(2)에 적어도 하나의 세정 유체(12; 14)를 공급하는 단계(s102)는 냉각 및 가습 매체(2)의 상태에 기초하여 적어도 하나의 세정 유체(12; 14)의 투여량을 결정하는 것을 포함한다. 냉각 및 가습 매체(2)에 적어도 하나의 세정 유체(12; 14)를 공급하는 단계(s102)는 트레이(8)에 적어도 하나의 세정 유체(12; 14)를 공급하는 것을 포함한다. 냉각 및 가습 매체(2)에 적어도 하나의 세정 유체(12; 14)를 공급하는 단계(s102)는 유체 분배 요소(6)에 적어도 하나의 세정 유체(12; 14)를 공급하는 것을 포함한다. 냉각 및 가습 매체(2)의 상태를 결정하는 단계(s101)는 트레이(8)로부터 센서 디바이스(10)를 포함하는 용기(16)로 유체를 순환시키는 것을 포함한다. 냉각 및 가습 매체(2)에 적어도 하나의 세정 유체(12; 14)를 공급하는 단계(s102)는 냉각 및 가습 매체(2)가 냉각 및 가습 매체(2)에서 스케일의 제거가 필요한 상태에 있을 때 제1 세정 유체(12)를 공급하는 것을 포함한다. 냉각 및 가습 매체(2)에 적어도 하나의 세정 유체(12; 14)를 공급하는 단계(s102)는 냉각 및 가습 매체(2)가 냉각 및 가습 매체(2)에 소독이 필요한 상태에 있을 때 제2 세정 유체(14)를 공급하는 것을 포함한다.
도 6은 디바이스(500)의 버전의 다이어그램을 개략적으로 예시한다. 도 1을 참조하여 설명된 제어 디바이스(25)는 디바이스(500)를 버전으로 포함할 수 있다. 디바이스(500)는 비휘발성 메모리(520), 데이터 처리 유닛(510) 및 판독/기록 메모리(550)를 포함한다. 비휘발성 메모리(520)는 디바이스(500)의 기능을 제어하기 위한 컴퓨터 프로그램(예를 들어, 운영 체제)이 저장된 제1 메모리 요소(530)를 갖는다. 디바이스(500)는 버스 제어기, 직렬 통신 포트, I/O 수단, A/D 변환기, 시간 및 날짜 입력 및 전송 유닛, 이벤트 카운터 및 인터럽트 제어기(도시되지 않음)를 더 포함한다. 비휘발성 메모리(520)는 또한 제2 메모리 요소(540)를 갖는다.
전술한 방법을 수행하기 위한 명령어를 포함하는 컴퓨터 프로그램(P)이 제공된다. 프로그램(P)은 실행 가능한 형태 또는 압축된 형태로 메모리(560) 및/또는 판독/기록 메모리(550)에 저장될 수 있다.
데이터 처리 유닛(510)이 특정 기능을 수행하는 것으로 설명되는 경우, 이는 데이터 처리 유닛(510)이 메모리(560)에 저장된 프로그램의 특정 부분 또는 판독/기록 메모리(550)에 저장된 프로그램의 특정 부분에 영향을 미친다는 것을 의미한다.
데이터 처리 디바이스(510)는 데이터 버스(515)를 통해 데이터 포트(599)와 통신할 수 있다. 비휘발성 메모리(520)는 데이터 버스(512)를 통해 데이터 처리 유닛(510)과 통신하기 위한 것이다. 별도의 메모리(560)는 데이터 버스(511)를 통해 데이터 처리 유닛(510)과 통신하기 위한 것이다. 판독/기록 메모리(550)는 데이터 버스(514)를 통해 데이터 처리 유닛(510)과 통신하도록 적응된다.
데이터 포트(599)에서 데이터가 수신되면 데이터는 제2 메모리 요소(540)에 일시적으로 저장된다. 수신된 입력 데이터가 임시로 저장된 경우, 데이터 처리 유닛(510)은 전술한 바와 같이 코드 실행을 수행하도록 준비된다.
본 명세서에 설명된 방법의 일부는 메모리(560) 또는 판독/기록 메모리(550)에 저장된 프로그램을 실행하는 데이터 처리 유닛(510)에 의해 디바이스(500)에 의해 수행될 수 있다. 디바이스(500)가 프로그램을 실행할 때, 본 명세서에 설명된 방법이 실행된다.
본 발명의 바람직한 실시형태에 대한 전술한 설명은 예시와 설명을 위한 목적으로 제공된 것이다. 전술한 설명은 모든 실시예를 전부 개시하는 것이거나 설명된 실시예로 본 발명을 제한하려고 의도된 것이 아니다. 많은 수정 및 변형이 당업자에게 명백할 것이다. 실시형태는 본 발명의 원리 및 그 실제 적용을 가장 잘 설명하기 위해 선택되고 설명된 것이므로 당업자라면 다양한 실시예와 의도한 용도에 적합한 다양한 수정을 통해 본 발명을 이해할 수 있을 것이다.
실시예에 따른 시스템(200)은 방법과 관련하여 설명된 단계 또는 동작 중 임의의 것을 수행하도록 배치될 수 있다는 점에 유의해야 한다. 또한, 실시형태에 따른 방법은 설명된 시스템(200)의 특징에 기인하는 임의의 동작을 더 포함할 수 있음을 이해해야 한다. 이는 컴퓨터 프로그램 제품 및 컴퓨터 판독 가능 매체에도 동일하게 적용된다. 임의의 유형의 공기를 처리할 수 있다. 공기는 임의의 유형의 화학 물질을 포함하는 가스 및 입자를 포함할 수 있다.
Claims (18)
- 공기의 가습 및 냉각을 위한 증발식 가습기와 냉각기 장치(1)를 세정하기 위한 제어 디바이스(100)에 의해 수행되는 방법으로서, 상기 장치(1)는,
유체(4)를 수용하고 증발시키도록 구성된 냉각 및 가습 매체(2);
상기 유체(4)를 상기 냉각 및 가습 매체(2)에 분배하도록 구성된 유체 분배 요소(6); 및
상기 냉각 및 가습 매체(2)의 하류에서 유체(4)를 수집하도록 배치된 트레이(8)
를 포함하되;
상기 유체 분배 요소(6)에 의해 분배된 유체(4)는 상기 트레이(8)로부터 수집되고;
상기 방법은,
상기 냉각 및 가습 매체(2)의 하류에서 상기 유체(4)와 유체 연통하도록 배치된 센서 디바이스(10)의 데이터에 기초하여 상기 냉각 및 가습 매체(2)의 상태를 결정하는 단계(s101); 및
상기 냉각 및 가습 매체(2)의 상태에 따라 상기 냉각 및 가습 매체(2)에 적어도 하나의 세정 유체(12; 14)를 공급하는 단계(s102)
를 포함하는, 증발식 가습기와 냉각기 장치를 세정하기 위한 제어 디바이스에 의해 수행되는 방법. - 제1항에 있어서, 상기 냉각 및 가습 매체(2)의 상태를 결정하는 단계(s101)는 상기 냉각 및 가습 매체(2)의 하류에서 상기 유체(4)에서 pH 값, 경도, 탁도, 염분 함량 및/또는 박테리아/진균의 존재를 결정하는 단계를 포함하는, 증발식 가습기와 냉각기 장치를 세정하기 위한 제어 디바이스에 의해 수행되는 방법.
- 제1항 또는 제2항에 있어서, 상기 냉각 및 가습 매체(2)의 상태에 따라 상기 냉각 및 가습 매체(2)에 적어도 하나의 세정 유체(12; 14)를 공급하는 단계(s102)는 상기 냉각 및 가습 매체(2)의 상태에 기초하여 상기 적어도 하나의 세정 유체(12; 14)의 투여량을 결정하는 단계를 포함하는, 증발식 가습기와 냉각기 장치를 세정하기 위한 제어 디바이스에 의해 수행되는 방법.
- 제1항 내지 제3항 중 어느 한 항에 있어서, 상기 냉각 및 가습 매체(2)에 상기 적어도 하나의 세정 유체(12; 14)를 공급하는 단계(s102)는 상기 트레이(8)에 상기 적어도 하나의 세정 유체(12; 14)를 공급하는 단계를 포함하는, 증발식 가습기와 냉각기 장치를 세정하기 위한 제어 디바이스에 의해 수행되는 방법.
- 제1항 내지 제4항 중 어느 한 항에 있어서, 상기 냉각 및 가습 매체(2)에 상기 적어도 하나의 세정 유체(12; 14)를 공급하는 단계(s102)는 상기 유체 분배 요소(6)에 상기 적어도 하나의 세정 유체(12; 14)를 공급하는 단계를 포함하는, 증발식 가습기와 냉각기 장치를 세정하기 위한 제어 디바이스에 의해 수행되는 방법.
- 제1항 내지 제5항 중 어느 한 항에 있어서, 상기 냉각 및 가습 매체(2)의 상태를 결정하는 단계(s101)는 상기 트레이(8)로부터 상기 센서 디바이스(10)를 포함하는 용기(16)로 유체를 순환시키는 단계를 포함하는, 증발식 가습기와 냉각기 장치를 세정하기 위한 제어 디바이스에 의해 수행되는 방법.
- 제1항 내지 제6항 중 어느 한 항에 있어서, 상기 냉각 및 가습 매체(2)에 상기 적어도 하나의 세정 유체(12; 14)를 공급하는 단계(s102)는 상기 냉각 및 가습 매체(2)가 상기 냉각 및 가습 매체(2)에서 스케일의 제거가 필요한 상태에 있을 때 제1 세정 유체(12)를 공급하는 단계를 포함하는, 증발식 가습기와 냉각기 장치를 세정하기 위한 제어 디바이스에 의해 수행되는 방법.
- 제1항 내지 제7항 중 어느 한 항에 있어서, 상기 냉각 및 가습 매체(2)에 상기 적어도 하나의 세정 유체(12; 14)를 공급하는 단계(s102)는 상기 냉각 및 가습 매체(2)가 상기 냉각 및 가습 매체(2)에 소독이 필요한 상태에 있을 때 제2 세정 유체(14)를 공급하는 단계를 포함하는, 증발식 가습기와 냉각기 장치를 세정하기 위한 제어 디바이스에 의해 수행되는 방법.
- 컴퓨터 프로그램(P)으로서,
상기 프로그램이 컴퓨터(100; 500)에 의해 실행될 때, 상기 컴퓨터(100; 500)로 하여금 제1항 내지 제8항 중 어느 한 항에 따른 방법을 수행하게 하는 명령어를 포함하는, 컴퓨터 프로그램(P). - 컴퓨터 판독 가능 매체로서,
컴퓨터(100; 500)에 의해 실행될 때 상기 컴퓨터(100; 500)로 하여금 제1항 내지 제8항 중 어느 한 항에 따른 방법을 수행하게 하는 명령어를 포함하는, 컴퓨터 판독 가능 매체. - 시스템(200)으로서,
공기의 가습 및 냉각을 위한 증발식 가습기와 냉각기 장치(1), 제어 디바이스(100), 및 상기 제어 디바이스(100)와 통신하도록 배치된 센서 디바이스(10)를 포함하고, 상기 장치(1)는,
유체(4)를 수용하고 증발시키도록 구성된 냉각 및 가습 매체(2);
상기 유체(4)를 상기 냉각 및 가습 매체(2)에 분배하도록 구성된 유체 분배 요소(6); 및
상기 냉각 및 가습 매체(2)의 하류에서 상기 유체(4)를 수집하도록 배치된 트레이(8)
를 포함하되;
상기 유체 분배 요소(6)에 의해 분배된 유체(4)는 상기 트레이(8)로부터 수집되고; 상기 제어 디바이스(100)는 상기 냉각 및 가습 매체(2)의 하류에서 상기 유체(4)와 유체 연통하도록 배치된 상기 센서 디바이스(10)의 데이터에 기초하여 상기 냉각 및 가습 매체(2)의 상태를 결정하고; 상기 냉각 및 가습 매체(2)의 상태에 따라 상기 냉각 및 가습 매체(2)에 적어도 하나의 세정 유체(12; 14)를 공급하도록 구성된, 시스템(200). - 제11항에 있어서, 상기 제어 디바이스(100)는 상기 냉각 및 가습 매체(2)의 하류에서 상기 유체(4)에서 pH 값, 경도, 탁도, 염분 함량 및/또는 박테리아/진균의 존재를 결정함으로써 상기 냉각 및 가습 매체(2)의 상태를 결정하도록 구성된, 시스템(200).
- 제11항 또는 제12항에 있어서, 상기 제어 디바이스(100)는 상기 냉각 및 가습 매체(2)의 상태에 기초하여 상기 적어도 하나의 세정 유체(12; 14)의 투여량을 결정함으로써 상기 냉각 및 가습 매체(2)의 상태에 따라 상기 냉각 및 가습 매체(2)에 상기 적어도 하나의 세정 유체(12; 14)를 공급하도록 구성된, 시스템(200).
- 제11항 내지 제13항 중 어느 한 항에 있어서, 상기 제어 디바이스(100)는 상기 트레이(8)에 상기 적어도 하나의 세정 유체(12; 14)를 공급함으로써 상기 냉각 및 가습 매체(2)에 상기 적어도 하나의 세정 유체(12; 14)를 공급하도록 구성된, 시스템(200).
- 제11항 내지 제14항 중 어느 한 항에 있어서, 상기 제어 디바이스(100)는 상기 유체 분배 요소(6)에 상기 적어도 하나의 세정 유체(12; 14)를 공급함으로써 상기 냉각 및 가습 매체(2)에 상기 적어도 하나의 세정 유체(12; 14)를 공급하도록 구성된, 시스템(200).
- 제11항 내지 제15항 중 어느 한 항에 있어서, 상기 센서 디바이스(10)를 포함하는 용기(16)를 더 포함하고, 상기 용기(16)는 상기 트레이(8)와 유체 연통하도록 배치되고, 상기 제어 디바이스(100)는 상기 트레이(8)로부터 상기 용기(16)로 유체(4)를 순환시키도록 구성된, 시스템(200).
- 제11항 내지 제16항 중 어느 한 항에 있어서, 상기 제어 디바이스(100)는 상기 냉각 및 가습 매체(2)가 상기 냉각 및 가습 매체(2)에서 스케일의 제거가 필요한 상태에 있을 때 제1 세정 유체(12)를 공급하는 것을 포함하여 상기 냉각 및 가습 매체(2)에 상기 적어도 하나의 세정 유체(12; 14)를 공급하도록 구성된, 시스템(200).
- 제11항 내지 제17항 중 어느 한 항에 있어서, 상기 제어 디바이스(100)는 상기 냉각 및 가습 매체(2)가 상기 냉각 및 가습 매체(2)에 소독이 필요한 상태에 있을 때 제2 세정 유체(14)를 공급하는 것을 포함하여 상기 냉각 및 가습 매체(2)에 상기 적어도 하나의 세정 유체(12; 14)를 공급하도록 구성된, 시스템(200).
Applications Claiming Priority (3)
| Application Number | Priority Date | Filing Date | Title |
|---|---|---|---|
| SE2050102-9 | 2020-01-31 | ||
| SE2050102A SE544847C2 (en) | 2020-01-31 | 2020-01-31 | A method for cleaning an evaporative humidifier and cooler apparatus and a system comprising an evaporative humidifier and cooler apparatus |
| PCT/SE2021/050024 WO2021154139A1 (en) | 2020-01-31 | 2021-01-18 | A method for cleaning an evaporative humidifier and cooler apparatus and a system comprising an evaporative humidifier and cooler apparatus |
Publications (1)
| Publication Number | Publication Date |
|---|---|
| KR20220129068A true KR20220129068A (ko) | 2022-09-22 |
Family
ID=77079272
Family Applications (1)
| Application Number | Title | Priority Date | Filing Date |
|---|---|---|---|
| KR1020227029026A Ceased KR20220129068A (ko) | 2020-01-31 | 2021-01-18 | 증발식 가습기와 냉각기 장치를 세정하는 방법 및 증발식 가습기와 냉각기 장치를 포함하는 시스템 |
Country Status (12)
| Country | Link |
|---|---|
| US (1) | US12449146B2 (ko) |
| EP (1) | EP4097403B1 (ko) |
| JP (1) | JP2023511820A (ko) |
| KR (1) | KR20220129068A (ko) |
| CN (1) | CN115023574A (ko) |
| AU (1) | AU2021214637A1 (ko) |
| BR (1) | BR112022012796A2 (ko) |
| CA (1) | CA3165497A1 (ko) |
| ES (1) | ES3023557T3 (ko) |
| MX (1) | MX2022008774A (ko) |
| SE (1) | SE544847C2 (ko) |
| WO (1) | WO2021154139A1 (ko) |
Families Citing this family (3)
| Publication number | Priority date | Publication date | Assignee | Title |
|---|---|---|---|---|
| GB201900024D0 (en) * | 2019-01-02 | 2019-02-13 | Dyson Technology Ltd | Air treatment apparatus |
| SE547680C2 (en) * | 2023-09-04 | 2025-11-11 | Munters Europe Ab | An evaporative cooling panel for use in an evaporative cooling pad and air treatment unit, methods of manufacture |
| US12546734B2 (en) | 2024-02-23 | 2026-02-10 | Banyan Water, Inc. | Moisture monitoring system |
Family Cites Families (25)
| Publication number | Priority date | Publication date | Assignee | Title |
|---|---|---|---|---|
| DE3144915A1 (de) * | 1981-05-15 | 1982-12-02 | Schülke & Mayr GmbH, 2000 Norderstedt | Dosieranlage und verfahren zur auffrischung von waschfluessigkeit in einer klimaanlage |
| US6378332B1 (en) | 2000-09-07 | 2002-04-30 | Praxair Technology, Inc. | Packing with low contacting crimp pattern |
| US7695692B2 (en) * | 2003-08-06 | 2010-04-13 | Sanderson William D | Apparatus and method for producing chlorine dioxide |
| US8034189B2 (en) * | 2005-05-02 | 2011-10-11 | Nalco Company | Processes for surface cleaning |
| JP4645529B2 (ja) * | 2006-05-26 | 2011-03-09 | マックス株式会社 | 空調装置及び建物 |
| JP5121955B2 (ja) * | 2011-02-10 | 2013-01-16 | 三菱電機株式会社 | 水除菌装置および加湿機 |
| AU2014218482B2 (en) | 2011-05-24 | 2016-01-21 | Saltworks Technologies Inc. | Method and system for concentrating solutions using evaporation |
| JP6076591B2 (ja) * | 2011-09-01 | 2017-02-08 | ダイダン株式会社 | 加湿および殺菌可能な空調システムと加湿および殺菌可能な空調方法 |
| JP5953882B2 (ja) * | 2012-03-30 | 2016-07-20 | 栗田工業株式会社 | 循環冷却水の水質管理方法 |
| CN104641182B (zh) * | 2012-09-20 | 2017-05-17 | 三菱电机株式会社 | 加湿器、加湿材料的亲水化处理方法 |
| DE202012011401U1 (de) * | 2012-11-29 | 2013-01-15 | Thomas Pollmeier | Vorrichtung zur adiabatischen Kühlung der Zuluft für ein Gebäude |
| GB2509309A (en) * | 2012-12-20 | 2014-07-02 | Linde Ag | Cooling process |
| US9383142B2 (en) * | 2012-12-26 | 2016-07-05 | Umm Al-Qura University | Evaporation cooler and pad |
| US20140238643A1 (en) * | 2013-02-22 | 2014-08-28 | General Electric Company | System and method for cleaning heat exchangers |
| US9945569B2 (en) * | 2014-09-10 | 2018-04-17 | Munters Corporation | Water minimizing method and apparatus for use with evaporative cooling devices |
| EP3070413A1 (en) | 2015-03-20 | 2016-09-21 | Emerson Network Power S.R.L. | Heat exchange device for air cooling for conditioning and climate control systems for server rooms and the like |
| CN204543773U (zh) * | 2015-04-10 | 2015-08-12 | 山西元森科技有限公司 | 污水过滤器 |
| WO2016190675A1 (en) | 2015-05-27 | 2016-12-01 | Samsung Electronics Co., Ltd. | Humidifying apparatus |
| KR102527647B1 (ko) * | 2015-05-27 | 2023-05-03 | 삼성전자주식회사 | 가습 장치 |
| WO2017066636A1 (en) | 2015-10-16 | 2017-04-20 | Munters Corporation | Cooling fluid application and circulation system for direct evaporative cooler |
| GB2555558B (en) * | 2016-06-17 | 2020-10-28 | Ecocooling Ltd | Water quality control for evaporative cooler |
| CN206430297U (zh) * | 2016-11-18 | 2017-08-22 | 大金工业株式会社 | 加湿装置 |
| WO2019130345A1 (en) * | 2017-12-26 | 2019-07-04 | Bajaj Electricals Ltd | Effective cleaning of an evaporative cooling unit |
| JP7015716B2 (ja) * | 2018-03-28 | 2022-02-03 | 東京瓦斯株式会社 | 薬剤供給装置 |
| CN108838128B (zh) * | 2018-07-18 | 2025-02-11 | 中铁第一勘察设计院集团有限公司 | 水膜蒸发空调冷却机组自动清洗装置 |
-
2020
- 2020-01-31 SE SE2050102A patent/SE544847C2/en unknown
-
2021
- 2021-01-18 BR BR112022012796A patent/BR112022012796A2/pt unknown
- 2021-01-18 ES ES21747763T patent/ES3023557T3/es active Active
- 2021-01-18 JP JP2022534457A patent/JP2023511820A/ja active Pending
- 2021-01-18 AU AU2021214637A patent/AU2021214637A1/en active Pending
- 2021-01-18 US US17/795,423 patent/US12449146B2/en active Active
- 2021-01-18 EP EP21747763.7A patent/EP4097403B1/en active Active
- 2021-01-18 CN CN202180011272.XA patent/CN115023574A/zh active Pending
- 2021-01-18 WO PCT/SE2021/050024 patent/WO2021154139A1/en not_active Ceased
- 2021-01-18 CA CA3165497A patent/CA3165497A1/en active Pending
- 2021-01-18 KR KR1020227029026A patent/KR20220129068A/ko not_active Ceased
- 2021-01-18 MX MX2022008774A patent/MX2022008774A/es unknown
Also Published As
| Publication number | Publication date |
|---|---|
| AU2021214637A1 (en) | 2022-06-23 |
| BR112022012796A2 (pt) | 2022-09-06 |
| SE2050102A1 (en) | 2021-08-01 |
| JP2023511820A (ja) | 2023-03-23 |
| SE544847C2 (en) | 2022-12-13 |
| ES3023557T3 (en) | 2025-06-02 |
| US12449146B2 (en) | 2025-10-21 |
| EP4097403A1 (en) | 2022-12-07 |
| CA3165497A1 (en) | 2021-08-05 |
| EP4097403B1 (en) | 2025-03-12 |
| EP4097403A4 (en) | 2024-02-14 |
| EP4097403C0 (en) | 2025-03-12 |
| CN115023574A (zh) | 2022-09-06 |
| WO2021154139A1 (en) | 2021-08-05 |
| US20230087068A1 (en) | 2023-03-23 |
| MX2022008774A (es) | 2022-10-13 |
Similar Documents
| Publication | Publication Date | Title |
|---|---|---|
| US12449146B2 (en) | Method for cleaning an evaporative humidifier and cooler apparatus and a system comprising an evaporative humidifier and cooler apparatus | |
| JP6836501B2 (ja) | 蒸発冷却装置とともに用いるための水を最小にする方法及び装置 | |
| CN102933910B (zh) | 空气净化加湿装置 | |
| KR101433289B1 (ko) | 세척기능을 갖는 천장 매립 형 기화식가습기 | |
| KR101415220B1 (ko) | 벽걸이형 기화식가습기 | |
| JP6076591B2 (ja) | 加湿および殺菌可能な空調システムと加湿および殺菌可能な空調方法 | |
| JP6061526B2 (ja) | 環境試験装置 | |
| KR102879502B1 (ko) | 열 부하에 냉각을 제공하기 위한 혼합 작동 모드 | |
| US20230079403A1 (en) | Aerosol Purifier for HVAC System | |
| HK40073834A (en) | A method for cleaning an evaporative humidifier and cooler apparatus and a system comprising an evaporative humidifier and cooler apparatus | |
| CN110296476A (zh) | 一种空调机及服务器机柜 | |
| KR20120068639A (ko) | 기화식 가습기 및 그 제어방법 | |
| KR20120078139A (ko) | 기화식 가습기 | |
| WO2022005384A1 (en) | An air handling unit for a cooling system, and a method, performed by a control device, for an air handling unit | |
| EP4151919A1 (en) | Aerosol purifier for hvac system | |
| US12595921B2 (en) | Space purification device | |
| GB2555558A (en) | Water quality control for evaporative cooler | |
| JPH10309432A (ja) | 空気中可溶性ガス除去装置 | |
| US3670809A (en) | Environment conditioning apparatus | |
| JP2022139442A (ja) | 空間浄化装置 | |
| JP7147177B2 (ja) | 間接気化式空気冷却機 | |
| US20230358421A1 (en) | System and method for portable humidifier for hard water | |
| JP2005013791A (ja) | 空気清浄機、給排水制御方法および含浸部給水制御方法 | |
| TH2201004568A (th) | วิธีการสำหรับการทำความสะอาดเครื่องทำความชื้นแบบระเหยและเครื่องทำความเย็นและระบบซึ่งประกอบรวมด้วยเครื่องทำความชื้นแบบระเหยและเครื่องทำความเย็น | |
| JP7825110B2 (ja) | 次亜塩素酸水供給装置 |
Legal Events
| Date | Code | Title | Description |
|---|---|---|---|
| PA0105 | International application |
Patent event date: 20220822 Patent event code: PA01051R01D Comment text: International Patent Application |
|
| PG1501 | Laying open of application | ||
| E902 | Notification of reason for refusal | ||
| PE0902 | Notice of grounds for rejection |
Comment text: Notification of reason for refusal Patent event date: 20250115 Patent event code: PE09021S01D |
|
| E601 | Decision to refuse application | ||
| PE0601 | Decision on rejection of patent |
Patent event date: 20250521 Comment text: Decision to Refuse Application Patent event code: PE06012S01D |