KR20200073383A - Combined seeder and ridger for soybean in paddy soil, having rotary blades for forming ridge - Google Patents
Combined seeder and ridger for soybean in paddy soil, having rotary blades for forming ridge Download PDFInfo
- Publication number
- KR20200073383A KR20200073383A KR1020180161443A KR20180161443A KR20200073383A KR 20200073383 A KR20200073383 A KR 20200073383A KR 1020180161443 A KR1020180161443 A KR 1020180161443A KR 20180161443 A KR20180161443 A KR 20180161443A KR 20200073383 A KR20200073383 A KR 20200073383A
- Authority
- KR
- South Korea
- Prior art keywords
- rotary blade
- rotary
- blade
- bone
- soybean
- Prior art date
- Legal status (The legal status is an assumption and is not a legal conclusion. Google has not performed a legal analysis and makes no representation as to the accuracy of the status listed.)
- Granted
Links
- 244000068988 Glycine max Species 0.000 title claims abstract description 41
- 235000010469 Glycine max Nutrition 0.000 title claims abstract description 37
- 239000002689 soil Substances 0.000 title claims description 21
- 210000000988 bone and bone Anatomy 0.000 claims abstract description 76
- 244000046052 Phaseolus vulgaris Species 0.000 claims abstract description 38
- 235000010627 Phaseolus vulgaris Nutrition 0.000 claims abstract description 38
- 238000009331 sowing Methods 0.000 claims abstract description 35
- 230000011164 ossification Effects 0.000 claims abstract description 6
- 239000003814 drug Substances 0.000 claims description 11
- 229940079593 drug Drugs 0.000 claims description 8
- 238000000034 method Methods 0.000 claims description 7
- 238000005507 spraying Methods 0.000 claims description 5
- 238000009941 weaving Methods 0.000 claims description 3
- 230000002265 prevention Effects 0.000 claims description 2
- 238000010899 nucleation Methods 0.000 description 22
- 239000000203 mixture Substances 0.000 description 13
- XLYOFNOQVPJJNP-UHFFFAOYSA-N water Substances O XLYOFNOQVPJJNP-UHFFFAOYSA-N 0.000 description 9
- 241000209094 Oryza Species 0.000 description 6
- 235000007164 Oryza sativa Nutrition 0.000 description 6
- 235000009566 rice Nutrition 0.000 description 6
- 239000000428 dust Substances 0.000 description 4
- 241000196324 Embryophyta Species 0.000 description 3
- 230000015572 biosynthetic process Effects 0.000 description 3
- 238000007493 shaping process Methods 0.000 description 3
- 238000005056 compaction Methods 0.000 description 2
- 230000000694 effects Effects 0.000 description 2
- 239000004009 herbicide Substances 0.000 description 2
- 230000007257 malfunction Effects 0.000 description 2
- 239000000126 substance Substances 0.000 description 2
- 240000007124 Brassica oleracea Species 0.000 description 1
- 235000003899 Brassica oleracea var acephala Nutrition 0.000 description 1
- 235000011301 Brassica oleracea var capitata Nutrition 0.000 description 1
- 235000001169 Brassica oleracea var oleracea Nutrition 0.000 description 1
- 244000088415 Raphanus sativus Species 0.000 description 1
- 235000006140 Raphanus sativus var sativus Nutrition 0.000 description 1
- 244000061456 Solanum tuberosum Species 0.000 description 1
- 235000002595 Solanum tuberosum Nutrition 0.000 description 1
- 235000013527 bean curd Nutrition 0.000 description 1
- 230000005540 biological transmission Effects 0.000 description 1
- 235000015895 biscuits Nutrition 0.000 description 1
- 238000010276 construction Methods 0.000 description 1
- 235000013305 food Nutrition 0.000 description 1
- 230000002363 herbicidal effect Effects 0.000 description 1
- 238000002347 injection Methods 0.000 description 1
- 239000007924 injection Substances 0.000 description 1
Images
Classifications
-
- A—HUMAN NECESSITIES
- A01—AGRICULTURE; FORESTRY; ANIMAL HUSBANDRY; HUNTING; TRAPPING; FISHING
- A01B—SOIL WORKING IN AGRICULTURE OR FORESTRY; PARTS, DETAILS, OR ACCESSORIES OF AGRICULTURAL MACHINES OR IMPLEMENTS, IN GENERAL
- A01B13/00—Ploughs or like machines for special purposes ; Ditch diggers, trench ploughs, forestry ploughs, ploughs for land or marsh reclamation
- A01B13/02—Ploughs or like machines for special purposes ; Ditch diggers, trench ploughs, forestry ploughs, ploughs for land or marsh reclamation for making or working ridges, e.g. with symmetrically arranged mouldboards, e.g. ridging plough
-
- A—HUMAN NECESSITIES
- A01—AGRICULTURE; FORESTRY; ANIMAL HUSBANDRY; HUNTING; TRAPPING; FISHING
- A01B—SOIL WORKING IN AGRICULTURE OR FORESTRY; PARTS, DETAILS, OR ACCESSORIES OF AGRICULTURAL MACHINES OR IMPLEMENTS, IN GENERAL
- A01B35/00—Other machines for working soil not specially adapted for working soil on which crops are growing
- A01B35/20—Tools; Details
- A01B35/28—Rotating tools; Mounting rotating tools
-
- A—HUMAN NECESSITIES
- A01—AGRICULTURE; FORESTRY; ANIMAL HUSBANDRY; HUNTING; TRAPPING; FISHING
- A01B—SOIL WORKING IN AGRICULTURE OR FORESTRY; PARTS, DETAILS, OR ACCESSORIES OF AGRICULTURAL MACHINES OR IMPLEMENTS, IN GENERAL
- A01B59/00—Devices specially adapted for connection between animals or tractors and agricultural machines or implements
- A01B59/04—Devices specially adapted for connection between animals or tractors and agricultural machines or implements for machines pulled or pushed by a tractor
- A01B59/042—Devices specially adapted for connection between animals or tractors and agricultural machines or implements for machines pulled or pushed by a tractor having pulling means arranged on the rear part of the tractor
- A01B59/043—Devices specially adapted for connection between animals or tractors and agricultural machines or implements for machines pulled or pushed by a tractor having pulling means arranged on the rear part of the tractor supported at three points, e.g. by quick-release couplings
-
- A—HUMAN NECESSITIES
- A01—AGRICULTURE; FORESTRY; ANIMAL HUSBANDRY; HUNTING; TRAPPING; FISHING
- A01C—PLANTING; SOWING; FERTILISING
- A01C7/00—Sowing
- A01C7/08—Broadcast seeders; Seeders depositing seeds in rows
- A01C7/085—Broadcast seeders
Landscapes
- Life Sciences & Earth Sciences (AREA)
- Soil Sciences (AREA)
- Environmental Sciences (AREA)
- Engineering & Computer Science (AREA)
- Mechanical Engineering (AREA)
- Zoology (AREA)
- Soil Working Implements (AREA)
Abstract
논콩의 파종을 수행하기 위한 논콩 전용 두둑 조성 및 파종 복합기는 전방에서 제공되는 트랙터에 의해 견인되도록 전방에 배치된 3점식 견인부; 하부에 횡방향으로 설치된 로터리날, 로터리날의 전면 및 측면에서 각각 로터리날을 커버하는 전면 및 측면 커버, 로터리날의 후방에서 높이 조절이 가능하게 설치되어 골을 형성하는 골 성형날, 및 로터리날의 후방에서 높이 조절이 가능하게 설치되어 두둑을 성형하는 두둑 성형판을 포함하는 로터리; 로터리의 후방에 힌지 결합되고 유압실린더에 의해 회동 가능하게 설치된 메인 프레임 및 메인 프레임의 후방에 조절핸들에 의해 높낮이가 조절 가능하게 설치된 보조 프레임을 포함하는 프레임; 및 보조 프레임에 좌우로 배치된 복수의 파종기들;을 포함하고, 로터리날은 골을 파내는 제1 로터리날 및 두둑을 파내는 제2 로터리날을 포함한다. 이에 따라, 논콩의 파종에 적합하도록 로터리 작업과 두둑 및 골 형성작업을 수행할 수 있다.A non-cone-only soybean cultivation and planting machine for performing sowing of non-beans is a three-point towing unit disposed in the front to be towed by a tractor provided from the front; A rotary blade installed in the transverse direction at the bottom, a front and side cover that respectively covers the rotary blade at the front and side surfaces of the rotary blade, a bone forming blade that is installed to form heights at the rear of the rotary blade to form a bone, and a rotary blade A rotary including a dub forming plate which is installed to be adjustable in height from the rear of the dug; A frame including a main frame hinged to the rear of the rotary and rotatably installed by a hydraulic cylinder, and an auxiliary frame adjustable in height by an adjustment handle at the rear of the main frame; And a plurality of planters arranged left and right on the auxiliary frame. The rotary blade includes a first rotary blade for digging a goal and a second rotary blade for digging a dug. Accordingly, it is possible to carry out a rotary operation, a weir, and a bone formation operation to be suitable for sowing non-beans.
Description
본 발명은 논콩 전용 두둑 조성 및 파종 복합기에 관한 것으로, 보다 상세하게는 두둑 형성 후 두둑을 성형하기 위한 회전날들을 구비하는 논콩 전용 두둑 조성 및 파종 복합기에 관한 것이다. The present invention relates to a non-bean-only bean-free composition and seeding multifunction machine, and more particularly, to a non-bean-only bean-free composition and seeding multifunction machine having rotational blades for forming the bean-shaped after-forming.
한미 FTA협정으로 그동안 식량주권으로 일컬어지던 품목인 쌀 개방으로 인해 쌀값이 하락하게 됨에 따라 정부에서 논을 활용하여 타작물을 재배할 수 있도록 각종 지원제도가 시행되고 있는데, 이에 따라 논에 콩과 같은 타작물을 재배하는 농가수가 증가하고 있는 상황이다.As the rice price declines due to the opening of rice, an item that has been referred to as food sovereignty through the Korea-US FTA agreement, various support systems are in place to allow the government to use rice paddies to grow other crops. The number of farmers who grow crops is increasing.
한편, 논에 콩을 재배하기 위해서는 밭에 콩을 재배하는 것과는 달리 논은 물빠짐이 좋지 않기 때문에 습해를 받기 쉬우며, 흙에 수분이 많아 작물이 과다하게 자라서 쓰러짐도 많이 발생하게 되므로 두둑의 배수가 원활히 이루어질 수 있도록 두둑 사이의 골을 깊게 형성해 주어야 하며, 빗물에 의해 두둑이 유실되거나 골이 얕아져 물빠짐이 불량해지는 것을 방지할 수 있도록 조치하는 것이 유리할 수 있다.On the other hand, in order to cultivate soybeans in a paddy field, unlike cultivation of soybeans in a field, paddy fields are less susceptible to moistening due to poor water drainage, and because the soil has a lot of moisture, the crops grow excessively, causing a lot of collapse, so drainage of the fillet It is necessary to deeply form the bones between the heads to make it smooth, and it may be advantageous to take measures to prevent the drains from being bad due to the loss of the heads or shallow shallows.
한편, 경지정리가 잘 된 논에 콩을 파종할 경우에는 인력에 의한 파종보다도 기계화된 파종방법을 사용하는 것이 유리할 수 있는데, 이에 관련된 종래기술로는 특허문헌 1 내지 4가 개시되어 있다.On the other hand, when sowing soybeans in a well-arranged rice field, it may be advantageous to use a mechanized sowing method rather than a sowing by manpower.
특허문헌 1의 트랙터 견인용 파종기는 파종기를 트랙터의 후측에 매달아 견인토록 하여 밭을 가는 작업과 동시에 파종작업을 수행할 수 있도록 되어 있는데, 이는 별도로 이루어진 로터리와 배토기 및 파종기를 조합하여 구성함으로써 로터리에서 밭을 가는 작업시 상당한 양의 흙먼지가 비산되게 되는 문제점이 있었으며, 배토기에서 깊은 골을 형성해주지 못하게 되어 논콩 파종용으로는 적합하지 않다. The tractor seeding machine for tractor towing in
특허문헌 2의 복토평판 직파로터리는 로터리부의 물골형성날부 및 로터리날부와 파종부로 인해 물골형성, 복토작업 및 평탄화작업과 파종작업을 동시에 할 수 있도록 되어 있는데, 이 또한 로터리의 전면과 측면이 개방되어 있어 작업시 상당한 양의 흙먼지 및 흙덩이가 외부로 비산되어 작업에 지장을 초래하는 문제점이 있었으며, 로터리날만에 의해 물골이 형성되게 되므로 두둑의 어깨부분이 쉽게 뭉그러져 물골이 얕아지게 됨으로써 물빠짐이 나빠져 논콩의 건강한 생육에 지장을 초래할 우려가 있다. The direct flat rotary of patent document 2 is designed to be able to simultaneously perform water forming, cover work, flattening work and planting work due to the water-forming part and the rotary part and the seeding part of the rotary part, which also opens the front and side surfaces of the rotary. There is a problem that a considerable amount of soil dust and dirt are scattered to the outside of the work, causing trouble in the work. Since the trough is formed only by the rotary blade, the shoulder part of the ridge is easily crushed and the water trough becomes shallow, resulting in water drainage. There is a concern that it will deteriorate and may interfere with the healthy growth of non-beans.
특허문헌 3의 다기능 생력농기계는 논과 밭에 콩, 감자, 무, 배추 등의 작물 재배에 활용할 수 있는 것으로, 배토작업을 포함하는 로터리 기능, 두둑 형성을 위한 휴립기능, 약제살포를 위한 분무기능, 파종 기능 및 멀칭 기능을 동시 작업할 수 있도록 한 것이고, 특허문헌 4의 트랙터용 파종기의 장착 프레임 연결구조에서도 트랙터에 배토와 함께 파종가능한 설비를 장착할 수 있도록 하여 일률적인 작업을 도모할 수 있도록 되어 있으나, 특허문헌 3 및 4 또한 밭을 가는 작업시 상당한 양의 흙먼지가 비산되게 되는 문제점이 있었고, 배토기에서 깊은 골을 형성해주지 못하게 되어 논콩 파종용으로는 적합하지 않다. The multi-functional viable agricultural machinery of Patent Document 3 can be used for cultivation of crops such as soybean, potato, radish, and cabbage in rice fields and fields.It has a rotary function that includes a soiling operation, a halving function for forming a weir, a spraying function for spraying drugs, The planting function and the mulching function are allowed to work simultaneously, and even in the attachment frame connection structure of the tractor planter for patent document 4, it is possible to equip the tractor with planting equipment so that it is possible to work uniformly. However, Patent Documents 3 and 4 also had a problem in that a considerable amount of soil dust was scattered during the work of plowing the field, and it was not suitable for sowing non-soybeans because it was unable to form deep bones in the soil.
따라서, 본 발명이 해결하고자 하는 과제는, 논콩의 파종에 적합하도록 로터리 작업과 두둑 및 골 형성작업을 수행할 수 있고, 두둑 형성 직후에도 두둑을 논콩 파종에 적합하게 성형할 수 있는 논콩 전용 두둑 조성 및 파종 복합기를 제공하는 것이다.Therefore, the problem to be solved by the present invention is a non-bean-only bean curd composition capable of performing a rotary operation and a pits and valleys forming operation so as to be suitable for sowing non-beans, and also capable of forming the bean biscuits suitable for sowing non-beans immediately after forming the bean. And to provide a sowing multifunction machine.
본 발명의 예시적인 일 실시예에 따른 논콩 전용 두둑 조성 및 파종 복합기는 논콩의 파종을 수행하기 위해 제공된다. 상기 논콩 전용 두둑 조성 및 파종 복합기는 전방에서 제공되는 트랙터에 의해 견인되도록 전방에 배치된 3점식 견인부; 하부에 횡방향으로 설치된 로터리날, 상기 로터리날의 전면 및 측면에서 각각 상기 로터리날을 커버하는 전면 및 측면 커버, 상기 로터리날의 후방에서 높이 조절이 가능하게 설치되어 골을 형성하는 골 성형날, 및 상기 로터리날의 후방에서 높이 조절이 가능하게 설치되어 두둑을 성형하는 두둑 성형판을 포함하는 로터리; 상기 로터리의 후방에 힌지 결합되고 유압실린더에 의해 회동 가능하게 설치된 메인 프레임 및 상기 메인 프레임의 후방에 조절핸들에 의해 높낮이가 조절 가능하게 설치된 보조 프레임을 포함하는 프레임; 및 상기 보조 프레임에 좌우로 배치된 복수의 파종기들;을 포함하고, 상기 로터리날은 골을 파내는 제1 로터리날 및 두둑을 파내는 제2 로터리날을 포함한다.The non-bean-only soybean weed composition and sowing multifunction machine according to an exemplary embodiment of the present invention is provided to perform sowing of non-soybeans. The non-condimentation and sowing multi-purpose plant for exclusive use of the non-bean is a three-point traction unit disposed in the front to be towed by a tractor provided from the front; A rotary blade installed in the transverse direction at the lower portion, a front and side cover that respectively covers the rotary blade at the front and side surfaces of the rotary blade, and a bone forming blade that is installed to be adjustable in height at the rear of the rotary blade to form a bone, And a rotary including a fillet forming plate is formed to be adjustable in height from the rear of the rotary blade to form a fillet; A frame including a main frame hinged to the rear of the rotary and rotatably installed by a hydraulic cylinder, and an auxiliary frame adjustable in height by an adjustment handle at the rear of the main frame; And a plurality of planters arranged left and right on the auxiliary frame. The rotary blade includes a first rotary blade for digging a goal and a second rotary blade for digging a dug.
일 실시예로, 상기 제1 로터리날과 상기 제2 로터리날의 직경은 서로 다르게 형성될 수 있다.In one embodiment, the diameter of the first rotary blade and the second rotary blade may be formed differently.
일 실시예로, 상기 제1 로터리날의 반경은, 골의 형성 깊이가 적어도 25cm가 되도록, 상기 제2 로터리날의 반경보다 25cm 이상 크게 형성될 수 있다.In an embodiment, the radius of the first rotary blade may be formed to be greater than or equal to 25 cm than the radius of the second rotary blade so that the bone formation depth is at least 25 cm.
일 실시예로, 상기 제2 로터리날은, 상기 제1 로터리날에 의해 골에서 파져서 좌우로 퍼져 두둑 위에 낙하한 흙을 상기 제1 로터리날에 의해 형성된 골의 깊이보다 얕은 깊이로 부수면서 갈아 엎을 수 있다.In one embodiment, the second rotary blade is ground while being crushed from the bone by the first rotary blade and spreads to the left and right, crushing the soil falling on the dug to a depth shallower than the depth of the valley formed by the first rotary blade. You can spill.
일 실시예로, 상기 제1 로터리날은 상기 골 성형날과 같은 열을 이루도록 배치될 수 있으며, 상기 제2 로터리날은 제1 로터리날들 사이에서 상기 골 성형날과 엇갈리게 배치될 수 있다.In one embodiment, the first rotary blade may be arranged to form the same row as the bone forming blade, and the second rotary blade may be disposed to be staggered with the bone forming blade between the first rotary blades.
일 실시예로, 상기 제1 로터리날은 각각 중앙, 좌측 및 우측에 설치된 중앙 제1 로터리날, 좌측 제1 로터리날 및 우측 제1 로터리날을 포함할 수 있고, 상기 골 성형날은 상기 중앙 제1 로터리날, 상기 좌측 제1 로터리날 및 상기 우측 제1 로터리날에 각각 대응하여 설치된 중앙 골 성형날, 좌측 골 성형날 및 우측 골 성형날을 포함할 수 있으며, 상기 제2 로터리날은, 상기 중앙 제1 로터리날과 상기 좌측 제1 로터리날 사이 및 상기 중앙 제1 로터리날과 상기 우측 제1 로터리날 사이에 각각 설치된 좌측 제2 로터리날 및 우측 제2 로터리날을 포함할 수 있다.In one embodiment, the first rotary blade may include a central first rotary blade, a left first rotary blade and a right first rotary blade respectively installed at the center, left and right sides, and the bone forming blade may include the central first blade. One rotary blade, the left first rotary blade and the right first rotary blade may include a central bone forming blade, a left bone forming blade and a right bone forming blade respectively installed, and the second rotary blade may include: It may include a left second rotary blade and a right second rotary blade respectively installed between the central first rotary blade and the left first rotary blade and between the central first rotary blade and the right first rotary blade blade, respectively.
일 실시예로, 상기 두둑 성형판은, 상기 좌측 제2 로터리날 및 상기 우측 제2 로터리날에 대응하여 각각 설치되며, 아치형으로 이루어진 두 개의 온판들 및 상기 좌측 및 상기 우측의 외측에 각각 형성된 두 개의 반판들을 포함할 수 있고, 상기 두 개의 온판들은, 상기 좌측 제2 로터리날 및 상기 우측 제2 로터리날에 의해 갈아엎어진 두둑의 어깨부분을, 두둑이 쉽게 무너지지 않고 골의 상태를 지속적으로 유지하도록, 원호형으로 눌러 다지며 성형할 수 있다.In one embodiment, the mold forming plate is respectively installed in correspondence with the left second rotary blade and the right second rotary blade, and has two arc-shaped hot plates and two formed on the outer sides of the left and right sides, respectively. It may include two half plates, the two on-board, the left second rotary and the right second shoulder portion of the biceps overturned by the shoulder, the biceps do not easily collapse and maintain the state of the bone continuously , It can be compacted by pressing in arc shape.
일 실시예로, 상기 논콩 전용 두둑 조성 및 파종 복합기는 상기 보조 프레임의 후방에 설치되며, 상기 약제를 살포하는 약제살포기를 더 포함할 수 있다.In one embodiment, the non-bean-only soybean weed composition and planting machine are installed at the rear of the auxiliary frame, and may further include a medicine sprayer for spraying the medicine.
본 발명의 예시적인 다른 실시예에 따른 논콩 전용 두둑 조성 및 파종 복합기는 논콩의 파종을 수행하기 위해 제공된다. 상기 논콩 전용 두둑 조성 및 파종 복합기는, 전방에서 제공되는 트랙터에 의해 견인되고 하부에 횡방향으로 설치되며; 제1 반경으로 회전하며 골을 파내는 제1 로터리날; 상기 제1 로터리날보다 작은 제2 반경으로 회전하며 두둑을 파내는 제2 로터리날; 상기 제1 로터리날 및 상기 제2 로터리날을 각각 커버하여 흙의 비산을 방지하는 비산방지커버; 상기 제1 로터리날의 후방에서 높이 조절이 가능하게 설치되어 골을 형성하는 골 성형날; 및 상기 제2로터리날의 후방에서 높이 조절이 가능하게 설치되어 골 사이에 형성되는 두둑을 성형하는 두둑 성형판;을 포함하는 로터리; 상기 로터리의 후방에 힌지 결합되고 유압실린더에 의해 회동 가능하게 설치된 메인 프레임 및 상기 메인 프레임의 후방에 조절핸들에 의해 높낮이가 조절 가능하게 설치된 보조 프레임을 포함하는 프레임; 및 상기 보조 프레임에 좌우로 배치된 복수의 파종기들을 포함한다.According to another exemplary embodiment of the present invention, a non-bean-only soybean weed composition and planting machine are provided to perform sowing of non-beans. The non-condimentation and sowing multifunction machine for exclusive use of the non-kong is towed by a tractor provided from the front and installed in the transverse direction at the bottom; A first rotary blade rotating in a first radius to dig a goal; A second rotary blade that rotates at a second radius smaller than the first rotary blade and digs a dug; A scattering prevention cover that covers the first rotary blade and the second rotary blade to prevent scattering of soil; A bone forming blade installed at a height of the rear of the first rotary blade to form a bone; And a ridged molded plate that is installed to be adjustable in height from the rear of the second rotary blade to form a ridge formed between valleys; A frame including a main frame hinged to the rear of the rotary and rotatably installed by a hydraulic cylinder, and an auxiliary frame adjustable in height by an adjustment handle at the rear of the main frame; And a plurality of planters arranged left and right on the auxiliary frame.
일 실시예로, 상기 제1 로터리날은 각각 중앙, 좌측 및 우측에 설치된 중앙 제1 로터리날, 좌측 제1 로터리날 및 우측 제1 로터리날을 포함할 수 있고, 상기 골 성형날은 상기 중앙 제1 로터리날, 상기 좌측 제1 로터리날 및 상기 우측 제1 로터리날에 각각 대응하여 설치된 중앙 골 성형날, 좌측 골 성형날 및 우측 골 성형날을 포함할 수 있으며, 상기 제2 로터리날은, 상기 중앙 제1 로터리날과 상기 좌측 제1 로터리날 사이 및 상기 중앙 제1 로터리날과 상기 우측 제1 로터리날 사이에 각각 설치된 좌측 제2 로터리날 및 우측 제2 로터리날을 포함할 수 있다.In one embodiment, the first rotary blade may include a central first rotary blade, a left first rotary blade and a right first rotary blade respectively installed at the center, left and right sides, and the bone forming blade may include the central first blade. One rotary blade, the left first rotary blade and the right first rotary blade may include a central bone forming blade, a left bone forming blade and a right bone forming blade respectively installed, and the second rotary blade may include: It may include a left second rotary blade and a right second rotary blade respectively installed between the central first rotary blade and the left first rotary blade and between the central first rotary blade and the right first rotary blade blade, respectively.
일 실시예로, 상기 두둑 성형판은, 상기 좌측 제2 로터리날 및 상기 우측 제2 로터리날에 대응하여 각각 설치되며, 아치형으로 이루어진 두 개의 온판들 및 상기 좌측 및 상기 우측의 외측에 각각 형성된 두 개의 반판들을 포함할 수 있고, 상기 두 개의 온판들은, 상기 좌측 제2 로터리날 및 상기 우측 제2 로터리날에 의해 갈아엎어진 두둑의 어깨부분을, 두둑이 쉽게 무너지지 않고 골의 상태를 지속적으로 유지하도록, 원호형으로 눌러 다지며 성형할 수 있다.In one embodiment, the mold forming plate is respectively installed in correspondence with the left second rotary blade and the right second rotary blade, and has two arc-shaped hot plates and two formed on the outer sides of the left and right sides, respectively. It may include two half plates, the two on-board, the left second rotary and the right second shoulder portion of the biceps overturned by the shoulder, the biceps do not easily collapse and maintain the state of the bone continuously , It can be compacted by pressing in arc shape.
본 발명에 의하면, 로터리날을 구비하여 골을 깊게 형성함으로써 물빠짐 효과를 향상시킬 수 있고 이에 따라 논콩의 파종에 적합한 로터리 작업과 두둑 및 골 형성작업을 수행할 수 있고, 로터리날이 제1 로터리날 및 두둑을 파내는 제2 로터리날을 포함하여 골을 파내는 두둑이 형성된 이후에도 제2 로터리날에 의해 두둑을 논콩 파종에 적합하게 성형할 수 있다. 또한, 로터리날의 전방 및 측방 전체를 비산방지 커버로 커버함으로써 로터리날의 회전시 흙이 외부로 튀지 않게 되어, 안정적인 작업을 수행할 수 있다.According to the present invention, it is possible to improve the water dripping effect by deeply forming a bone by providing a rotary blade, and accordingly, a rotary operation suitable for sowing non-beans and a dip and bone formation operation can be performed, and the rotary blade is the first rotary. Even after the formation of a dug for digging a goal, including a second rotary blade for digging a blade and a dug, the dug can be suitably formed for sowing non-beans by the second rotary blade. In addition, by covering the entire front and sides of the rotary blade with a shatterproof cover, soil does not splash out when the rotary blade is rotated, so that a stable operation can be performed.
또한, 제1 로터리날과 제2 로터리날의 직경을 서로 다르게 형성하는 경우, 적절한 깊이의 골을 형성하면서도 적절한 정도로 두둑을 성형할 수 있다.In addition, when the diameters of the first rotary blade and the second rotary blade are different from each other, it is possible to form a dug to an appropriate degree while forming a bone of an appropriate depth.
또한, 제1 로터리날의 반경을 제2 로터리날의 반경보다 크게 형성하는 경우, 혹은 제2 로터리날이 제1 로터리날에 의해 형성된 골의 깊이보다 얕은 깊이로 부수면서 갈아 엎는 경우, 제1 로터리날에 의해 형성된 골의 최소한의 깊이를 확보할 수 있으며, 제2 로터리날의 두둑 성형에도 불구하고 물빠짐이 양호한 골을 형성할 수 있다.In addition, when the radius of the first rotary blade is formed to be larger than the radius of the second rotary blade, or when the second rotary blade is broken and shattered to a depth shallower than the depth of the valley formed by the first rotary blade, the first rotary A minimum depth of the bone formed by the blade can be secured, and a bone with good water drainage can be formed despite forming the second rotary blade.
또한, 제1 로터리날들은 골 성형날들과 같은 열을 이루도록 배치되고, 제2 로터리날은 제1 로터리날들 사이에서 상기 골 성형날들과 엇갈리게 배치될 경우, 적절한 형태의 골 및 두둑을 형성할 수 있다.In addition, when the first rotary blades are arranged to form the same row as the bone forming blades, and the second rotary blades are alternately arranged with the bone forming blades between the first rotary blades, an appropriate shape of the bone and the head can be formed. .
또한, 두둑 성형판들이 제2 로터리날들에 대응하여 아치형으로 설치되는 경우, 제2 로터리날에 의해 갈아엎어진 두둑의 어깨부분을, 두둑이 쉽게 무너지지 않고 골의 상태를 지속적으로 유지하도록, 원호형으로 눌러 다지며 성형함으로써, 무너지지 않는 강건한 두둑을 성형할 수 있으며, 중간부는 온두둑을 형성하고, 좌우 외측은 반두둑을 형성하여 연속 작업시 인접하는 두둑 사이에 빈 공간이 발생하지 않도록 하여 작업 효율 및 수확량을 증가시킬 수 있다.In addition, when the molded plate is installed in an arc shape in response to the second rotary blades, the shoulder portion of the biped that is overturned by the second rotary blade is arc-shaped, so that the biped is not easily collapsed and maintains the state of the bone continuously. By pressing and shaping, it is possible to form a strong dug that does not collapse, and the middle part forms a warm dud, and the left and right sides form a half dud, so that no empty space is generated between adjacent duds during continuous work, resulting in work efficiency and yield. Can increase
도 1은 본 발명에 의한 논콩 전용 두둑 조성 및 파종 복합기의 전면부 사진,
도 2는 본 발명에 의한 논콩 전용 두둑 조성 및 파종 복합기의 배면부 사진,
도 3은 본 발명에 의한 논콩 전용 두둑 조성 및 파종 복합기의 측면부 사진,
도 4는 도 1 내지 도 3에 도시된 논콩 전용 두둑 조성 및 파종 복합기의 측면도,
도 5는 도 1 내지 도 3에 도시된 논콩 전용 두둑 조성 및 파종 복합기의 정면도,
도 6은 논콩 전용 두둑 조성 및 파종 복합기의 후방에 부착되는 두둑 성형판을 보인 배면도,
도 7은 본 발명의 논콩 전용 두둑 조성 및 파종 복합기에 설치된 로터리날의 정면도이다.1 is a photograph of the front portion of the non-bean-only dumpling composition and seeding multifunction machine according to the present invention,
Figure 2 is a photograph of the rear portion of the non-bean-only dumpling composition and sowing multifunction machine according to the present invention,
Figure 3 is a side view of a non-bean-only soybean composition and seeding multifunction machine according to the present invention,
Figure 4 is a side view of the non-bean-only soybean composition and seeding multifunction machine shown in Figures 1 to 3,
Figure 5 is a front view of the non-bean-only soybean dug composition and seeding multifunction machine shown in Figures 1 to 3,
Figure 6 is a rear view showing a mold forming plate attached to the rear of the non-bean-only soybean composition and seeding multifunction machine,
7 is a front view of a rotary blade installed in a non-bean-only soybean weaving and sowing multifunction machine of the present invention.
이하, 본 발명을 한정하지 않는 바람직한 실시예를 첨부된 도면에 의하여 상세히 설명하기로 한다.Hereinafter, preferred embodiments that do not limit the present invention will be described in detail with reference to the accompanying drawings.
도 1 네지 도 3에는 본 발명에 의한 논콩 전용 두둑 조성 및 파종 복합기의 실물사진이 도시되어 있고, 도 4 및 도 5에는 콩 파종기의 측면도와 정면도가 도시되어 있다.1, 4, and 3, a real picture of a non-bean-only soybean weed composition and a seeding multiplier according to the present invention is shown, and FIGS. 4 and 5 show a side view and a front view of the bean seeding machine.
본 발명에 예시적인 일 실시예에 의한 복합기(1)는 논콩의 파종을 수행하기 위해 제공된다.The
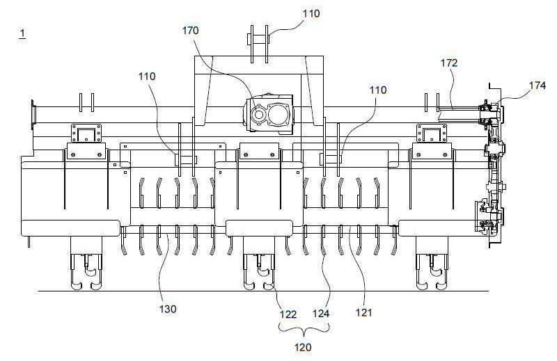
첨부된 실물사진 및 도면에 도시된 바와 같이 본 발명에 의한 복합기(1)는 전방에서 제공되는 트랙터(도시되지 않음)에 의해 견인되도록 전방에 배치된 3점식 견인부(110), 하부에 횡방향으로 설치된 로터리날(120), 상기 로터리날(120)의 전면 및 측면에서 각각 상기 로터리날(120)을 커버하는 전면 및 측면 커버(130,140), 상기 로터리날(120)의 후방에서 높이 조절이 가능하게 설치되어 골을 형성하는 골 성형날(150), 및 상기 로터리날(120)의 후방에서 높이 조절이 가능하게 설치되어 두둑을 성형하는 두둑 성형판(160)을 포함하는 로터리(100)와; The
상기 로터리(100)의 후방에 힌지 결합되고 유압실린더(210)에 의해 회동 가능하게 설치된 메인 프레임(220) 및 상기 메인 프레임(220)의 후방에 조절핸들(222)에 의해 높낮이가 조절 가능하게 설치된 보조 프레임(230)을 포함하는 프레임(200)과; The
상기 보조 프레임(230)에 좌우로 배치된 복수의 파종기들(300);을 포함한다.It includes; a plurality of
이때, 상기 로터리날(120)은 골을 파내는 제1 로터리날(122) 및 두둑을 파내는 제2 로터리날(124)을 포함한다.At this time, the rotary 120 includes a first
본 실시예에서, 상기 로터리(100)는 트랙터의 동력을 축(170)에서 전달받아 감속기를 통해 횡방향으로 설치된 구동축(172)으로 감속 및 방향전환이 되어 회전되게 되는데, 이의 회전방향은 도 3의 측면사진에서 볼 때 반시계방향으로 회전되도록 4열로 이루어진 사이드 기어(174)를 통해 로터리축(121)으로 동력전달이 이루어지도록 되어 있는바, 이는 로터리(100)의 진행방향에 대하여 역방향으로 회전이 이루어지게 됨으로써 논흙이 전방으로 튀어오르게 되며, 전면 커버(130)가 이를 받아 외부로 비산되는 것을 방지하게 되고, 좌우 양 측면으로의 비산은 측면커버(140)가 방지하도록 되어 있고, 후면 커버(142)에 의해 잔여의 흙먼지나 흙덩이가 후방 즉, 파종기(300) 쪽으로 튀는 것도 방지할 수 있도록 되어 있으므로 로터리 작업시 발생할 수 있는 흙먼지나 흙덩이의 비산으로 인한 작업성 저하 및 로터리 외부의 프레임(200)과 파종기(300) 등에 고장을 유발하거나 오작동이 되는 등의 문제가 발생하지 않게 된다. In this embodiment, the rotary 100 receives the power of the tractor from the
한편, 상기 로터리날(120)은 도 7에 도시된 바와 같이 골(고랑)을 파내는 제1 로터리날(122)과 두둑(이랑) 부분을 파내는 제2 로터리날(124)의 직경이 서로 다르게 형성되어 있는데, 골을 파내는 제1 로터리날(122)이 두둑을 파내는 제2 로터리날(124)에 비해 반경이 상대적으로 크게 형성되어 있으며, 골을 파내는 제1 로터리날(122)의 반경이 두둑을 파내는 제2 로터리날(124)의 반경보다 25cm이상 크게 형성되어 있어 골의 형성 깊이가 최소 25cm가 되도록 하여 물빠짐이 양호하게 이루어질 수 있도록 되어 있다.On the other hand, in the rotary 120, the diameter of the
또, 상기 골을 파내는 제1 로터리날(122)에 의해 골에서 파내어진 흙이 좌우로 퍼지게 되면서 두둑 위에 떨어지게 되고, 두둑 부위의 제2 로터리날(124)이 상대적으로 얕은 깊이로 두둑 위의 흙을 잘게 부수면서 갈아엎어 정지작업을 하게 됨으로써 콩의 파종이 용이한 상태가 되도록 하게 되는 것이다.In addition, as the soil dug out of the bone is spread from side to side by the
본 실시예에서 골 성형날(150)은 상기 골을 파내는 제1 로터리날(122)과 같은 열을 이루도록 배치되는데, 중간에 1개, 좌우측에 2개가 이격 형성되어 있다. 즉, 상기 제1 로터리날(122)은 각각 중앙, 좌측 및 우측에 설치된 중앙 제1 로터리날, 좌측 제1 로터리날 및 우측 제1 로터리날을 포함하고, 상기 골 성형날(150)은 상기 중앙 제1 로터리날, 상기 좌측 제1 로터리날 및 상기 우측 제1 로터리날에 각각 대응하여 설치된 중앙 골 성형날, 좌측 골 성형날 및 우측 골 성형날을 포함할 수 있다.In this embodiment, the
제2 로터리날(124)은 제1 로터리날(122)들 사이에서 상기 골 성형날(150)과 엇갈리게 배치될 수 있다. 즉, 상기 제2 로터리날(124)은, 상기 중앙 제1 로터리날과 상기 좌측 제1 로터리날 사이 및 상기 중앙 제1 로터리날과 상기 우측 제1 로터리날 사이에 각각 설치된 좌측 제2 로터리날 및 우측 제2 로터리날을 포함할 수 있다.The
두둑 성형판(160)은, 도 6에 도시된 바와 같이, 상기 중간의 골 성형날과 좌우측의 골 성형날 사이의 아치형(터널형)으로 이루어진 2개의 온판(160a)과 좌우측 골 성형날에서 좌우 외측으로 부착된 원호형으로 이루어진 2개의 반판(160b)으로 이루어져 있다. 즉, 상기 두둑 성형판(160)은, 상기 좌측 제2 로터리날 및 상기 우측 제2 로터리날에 대응하여 각각 설치되며, 아치형으로 이루어진 두 개의 온판(160a)들 및 상기 좌측 및 상기 우측의 외측에 각각 형성된 두 개의 반판들(160b)을 포함할 수 있다.As shown in Fig. 6, the
이에 의해 내측에 2개의 온전한 두둑과 좌우 양측에 반 두둑 2개가 형성되는데, 트랙터가 다음 열의 두둑을 성형할 때 외측에 형성된 반 두둑을 따라서 다시 반 두둑을 형성하는 것에 의해 작업라인 사이에 공백이 없이 동일한 간격으로 일정한 폭의 두둑을 연속으로 형성할 수 있게 된다.Thereby, two intact pits on the inside and two half pits on both sides of the left and right sides are formed, and when the tractor forms the next row of pits, there are no gaps between the work lines by forming the pits on the outside again. It is possible to continuously form a dug of constant width at the same interval.
본 실시예의 복합기에 의해 성형되는 두둑의 폭은 약 80cm이고, 골의 폭은 18cm이며, 100마력 이상의 트랙터를 사용할 때 8시간 작업기준으로 약 20,000㎡정도의 논에 파종이 가능하게 된다.The width of the weir formed by the multifunction machine of the present embodiment is about 80 cm, the width of the valley is 18 cm, and when using a tractor of 100 horsepower or more, it is possible to sow in rice fields of about 20,000 m 2 based on 8 hours of work.
상기 골 성형날(150)과 두둑 성형판(160)은 로터리(100)의 후방에 볼트와 너트에 의해 높낮이 조절이 가능하도록 설치되어 있으며, 높낮이가 조절된 상태에서로터리(100)의 구동축(172) 하우징에 일단이 고정된 턴 버클(152)에 의해 진행할 때 받게되는 저항력을 견뎌낼 수 있도록 되어 있다.The
상기 프레임(200)은 로터리(100)의 후방에 힌지 결합되고 유압실린더(210)에 의해 회동 가능하게 설치되는 메인 프레임(220)과, 상기 메인 프레임(220)의 후방에 조절핸들(222)에 의해 높낮이 조절가능하게 설치된 보조 프레임(230)으로 이루어져 있어 복수의 파종기(300)를 횡방향으로 일정 간격이 되도록 설치할 수 있으며, 이동시에는 유압실린더(210)의 피스톤을 수축시켜 파종기(300) 전부를 상부로 들어올린 상태가 되도록 한다.The
본 실시예에서, 상기 파종기(300)는 6개가 1조가 되어 보조 프레임(230)에 설치되어 있으며, 내측에 형성되는 2개의 두둑에는 각각 2줄씩의 콩이 파종되게 되며, 좌우측에 형성되는 반 두둑에는 각각 1줄씩의 콩이 파종되어 콩이 총 6줄로 파종되도록 되어 있으나, 본 발명은 이에 한정되지 않고 내측에 하나의 온두둑이 형성되고 이 온두둑의 좌우측에 각각 반두둑이 형성되도록 하여 콩이 4줄로 파종되도록 할 수도 있음은 물론이다.In this embodiment, the seeding
상기 파종기(300)는 두둑 위에 파종홈을 형성하기 위한 파종홈 형성날(310)과, 상기 파종홈 형성날(310)에 의해 형성된 파종홈에 콩종자를 공급하기 위한 호퍼(320)와, 콩이 파종된 후 파종홈을 덮어주기 위한 복토날(330) 및 다짐로울러(340)를 포함하여 이루어져 있다.The seeding
본 실시예에서, 상기 파종기(300)는 콩 파종에 사용되는 일반적인 파종기를 적용한 것으로, 이의 구체적인 구조와 동작과정에 대하여는 주지의 내용이므로 이에 대한 구체적인 도시와 설명은 생략하기로 한다.In the present embodiment, the
본 실시예에서는 콩 파종에 이어 제초제 등의 약제를 살포하는 작업이 가능하도록 약제 살포기(400)가 더 구비되어 있는데, 이는 보조 프레임(230)의 후방 가로대에 좌우 일정간격으로 배치된 노즐(410)과, 상기 노즐(410)이 부착되는 노즐대(420) 및 상기 노즐대(420)에 호스가 연결되는 호스 연결구(430)를 포함하며, 상기 호스 연결구(430)에는 도시 생략된 펌프로 호스가 연결되고, 펌프는 도시 생략된 약제탱크(로터리의 상부 측에 탑재)에 연결되어 약제를 공급받게 된다.In this embodiment, after sowing soybeans, a
본 실시예에서, 상기 약제이 분사를 위한 펌프는 전기모터 또는 트랙터의 유압에 의해 동작하는 유압모터에 의해 구동될 수 있도록 되어 있다.In this embodiment, the pump for injection of the drug is designed to be driven by an electric motor or a hydraulic motor operated by the hydraulic pressure of the tractor.
이와 같이 구성된 본 실시예의 논콩 전용 두둑 조성 및 파종 복합기는 트랙터에 견인되어 이동하면서 로터리(100)에 의해 골이 깊게 파내어짐과 동시에 골에서 파내어진 흙이 두둑 위에 올려지면서 두둑용 제2 로터리날(124)에 의해 두둑의 흙이 잘게 부서지게 되어 정지작업이 이루어지게 되고, 로터리날(120)의 후방에 설치된 골 성형날(150)에 의해 골이 깊게 형성되며, 이어서 아치형 및 원호형의 두둑 성형판(160a,160b)에 의해 두둑의 어깨부분이 원호형으로 눌려 다져지면서 성형되게 되므로 비가 오더라도 두둑이 쉽게 무너지지 않아 골이 깊은 상태를 지속적으로 유지할 수 있어 물빠짐이 항시 원활하게 이루어짐으로써 콩의 정상적인 생육이 가능하게 되고, 로터리(100) 후방에 부착된 파종기(300)에서 줄파종 방식으로 종자콩을 파종하고 복토하며 다져주게 되고, 종자콩의 파종과 동시에 약제 살포기(400)에서 제초제 등의 약제가 살포되게 되므로 잡초의 번성으로 인한 콩의 생육저하를 방지할 수 있게 되므로 논콩 재배의 기계화가 가능하고 논콩 재배에 소요되는 노동력을 최소화할 수 있으므로 농가소득 증대에 일조할 수 있게 되는 이점이 있다.The construction and sowing multiplier for the non-soaked soybeans of the present embodiment configured as described above is towed to the tractor while the bone is dug deeply by the rotary 100 and at the same time, the soil dug out of the bone is placed on the dug and the second rotary blade for the dud ( 124), the soil of the weir is crushed finely, and a stop operation is performed, and a bone is deeply formed by the
또한 본 발명에 의하면, 로터리날을 구비하여 골을 깊게 형성함으로써 물빠짐 효과를 향상시킬 수 있고 이에 따라 논콩의 파종에 적합한 로터리 작업과 두둑 및 골 형성작업을 수행할 수 있고, 로터리날이 제1 로터리날 및 두둑을 파내는 제2 로터리날을 포함하여 골을 파내는 두둑이 형성된 이후에도 제2 로터리날에 의해 두둑을 논콩 파종에 적합하게 성형할 수 있다. 또한, 로터리날의 전방 및 측방 전체를 비산방지 커버로 커버함으로써 로터리날의 회전시 흙이 외부로 튀지 않게 되어, 안정적인 작업을 수행할 수 있다.In addition, according to the present invention, by providing a rotary blade to deeply form a bone to improve the effect of falling water, and accordingly, a rotary operation suitable for sowing non-beans, and a dug and bone formation operation can be performed, and the rotary blade is the first. Even after the formation of a digging hole including a rotary and a second rotary digging dug, it is possible to form the dug suitable for sowing non-beans by the second rotary. In addition, by covering the entire front and sides of the rotary blade with a shatterproof cover, soil does not splash out when the rotary blade is rotated, so that a stable operation can be performed.
또한, 제1 로터리날과 제2 로터리날의 직경을 서로 다르게 형성하는 경우, 적절한 깊이의 골을 형성하면서도 적절한 정도로 두둑을 성형할 수 있다.In addition, when the diameters of the first rotary blade and the second rotary blade are different from each other, it is possible to form a dug to an appropriate degree while forming a bone of an appropriate depth.
또한, 제1 로터리날의 반경을 제2 로터리날의 반경보다 크게 형성하는 경우, 혹은 제2 로터리날이 제1 로터리날에 의해 형성된 골의 깊이보다 얕은 깊이로 부수면서 갈아 엎는 경우, 제1 로터리날에 의해 형성된 골의 최소한의 깊이를 확보할 수 있으며, 제2 로터리날의 두둑 성형에도 불구하고 물빠짐이 양호한 골을 형성할 수 있다.In addition, when the radius of the first rotary blade is formed to be larger than the radius of the second rotary blade, or when the second rotary blade is broken and shattered to a depth shallower than the depth of the valley formed by the first rotary blade, the first rotary A minimum depth of the bone formed by the blade can be secured, and a bone with good drainage can be formed despite forming the second rotary blade.
또한, 제1 로터리날들은 골 성형날들과 같은 열을 이루도록 배치되고, 제2 로터리날은 제1 로터리날들 사이에서 상기 골 성형날들과 엇갈리게 배치될 경우, 적절한 형태의 골 및 두둑을 형성할 수 있다.In addition, when the first rotary blades are arranged to form the same row as the bone forming blades, and the second rotary blades are alternately arranged with the bone forming blades between the first rotary blades, an appropriate shape of the bone and the head can be formed. .
또한, 두둑 성형판들이 제2 로터리날들에 대응하여 아치형으로 설치되는 경우, 제2 로터리날에 의해 갈아엎어진 두둑의 어깨부분을, 두둑이 쉽게 무너지지 않고 골의 상태를 지속적으로 유지하도록, 원호형으로 눌러 다지며 성형함으로써, 무너지지 않는 강건한 두둑을 성형할 수 있으며, 중간부는 온두둑을 형성하고, 좌우 외측은 반두둑을 형성하여 연속 작업시 인접하는 두둑 사이에 빈 공간이 발생하지 않도록 하여 작업 효율 및 수확량을 증가시킬 수 있다.In addition, when the molded plate is installed in an arc shape in response to the second rotary blades, the shoulder portion of the biped that is overturned by the second rotary blade is arc-shaped, so that the biped is not easily collapsed and maintains the state of the bone continuously. By pressing and shaping, it is possible to form a strong dug that does not collapse, and the middle part forms a warm dud, and the left and right sides form a half dud, so that no empty space is generated between adjacent duds during continuous work, resulting in work efficiency and yield. Can increase
1 : 복합기
100 : 로터리
110 : 3점식 견인부
120 : 로터리날
121 : 로터리축
122 : 제1 로터리날
124 : 제2 로터리날
130 : 전면 커버
140 : 측면 커버
142 : 후면 커버
150 : 골 성형날
152 : 턴 버클
160 : 두둑 성형판
160a : 온판
160b : 반판
170 : 축
172 : 구동축
174 : 사이드 기어
200 : 프레임
210 : 유압실린더
220 : 메인 프레임
222 : 조절핸들
230 : 보조 프레임
300 : 파종기
310 : 파종홈 형성날
320 : 호퍼
330 : 복토날
340 : 다짐로울러
400 : 약제 살포기
410 : 노즐
420 : 호스 연결구
1: Multifunction machine 100: Rotary
110: three-point traction unit 120: rotary
121: rotary axis 122: first rotary
124: second rotary 130: front cover
140: side cover 142: rear cover
150: bone forming blade 152: turn buckle
160:
160b: half plate 170: shaft
172: drive shaft 174: side gear
200: frame 210: hydraulic cylinder
220: main frame 222: adjustable handle
230: auxiliary frame 300: planter
310: seeding groove formation day 320: hopper
330: cover day 340: compaction roller
400: chemical sprayer 410: nozzle
420: hose connection
Claims (11)
전방에서 제공되는 트랙터에 의해 견인되도록 전방에 배치된 3점식 견인부, 하부에 횡방향으로 설치된 로터리날, 상기 로터리날의 전면 및 측면에서 각각 상기 로터리날을 커버하는 전면 및 측면 커버, 상기 로터리날의 후방에서 높이 조절이 가능하게 설치되어 골을 형성하는 골 성형날, 및 상기 로터리날의 후방에서 높이 조절이 가능하게 설치되어 두둑을 성형하는 두둑 성형판을 포함하는 로터리;
상기 로터리의 후방에 힌지 결합되고 유압실린더에 의해 회동 가능하게 설치된 메인 프레임 및 상기 메인 프레임의 후방에 조절핸들에 의해 높낮이가 조절 가능하게 설치된 보조 프레임을 포함하는 프레임; 및
상기 보조 프레임에 좌우로 배치된 복수의 파종기들을 포함하고,
상기 로터리날은 골을 파내는 제1 로터리날 및 두둑을 파내는 제2 로터리날을 포함하는 것을 특징으로 하는,
논콩 전용 두둑 조성 및 파종 복합기.In the non-bean-only soybean weaving and sowing multifunction machine for performing sowing of non-kong,
The three-point traction unit disposed in the front to be towed by the tractor provided from the front, the rotary blade installed in the transverse direction at the bottom, the front and side covers respectively covering the rotary blade at the front and side surfaces of the rotary blade, and the rotary blade Rotary including a bone forming blade is installed to be adjustable in height from the rear to form a bone, and a mold forming plate is installed to be adjustable in height from the rear of the rotary blade to form a dug;
A frame including a main frame hinged to the rear of the rotary and rotatably installed by a hydraulic cylinder, and an auxiliary frame adjustable in height by an adjustment handle at the rear of the main frame; And
It includes a plurality of planters arranged left and right on the auxiliary frame,
The rotary blade comprises a first rotary blade for digging a goal and a second rotary blade for digging a dug,
Establishment and planting of soybean-only dumplings.
상기 제1 로터리날과 상기 제2 로터리날의 직경은 서로 다른 것을 특징으로 하는,
논콩 전용 두둑 조성 및 파종 복합기.According to claim 1,
Characterized in that the diameter of the first rotary blade and the second rotary blade are different,
Establishment and planting of soybean-only dumplings.
상기 제1 로터리날의 반경은, 골의 형성 깊이가 적어도 25cm가 되도록, 상기 제2 로터리날의 반경보다 25cm 이상 크게 형성된 것을 특징으로 하는,
논콩 전용 두둑 조성 및 파종 복합기.According to claim 2,
The radius of the first rotary blade is characterized in that it is formed at least 25 cm larger than the radius of the second rotary blade so that the bone formation depth is at least 25 cm.
Establishment and planting of soybean-only dumplings.
상기 제2 로터리날은, 상기 제1 로터리날에 의해 골에서 파져서 좌우로 퍼져 두둑 위에 낙하한 흙을 상기 제1 로터리날에 의해 형성된 골의 깊이보다 얕은 깊이로 부수면서 갈아 엎는 것을 특징으로 하는,
논콩 전용 두둑 조성 및 파종 복합기.According to claim 1,
The second rotary blade is characterized in that it is ground by breaking the soil, which has been split from the bone by the first rotary blade and spreads from side to side to a depth shallower than the depth of the bone formed by the first rotary blade. ,
Establishment and planting of soybean-only dumplings.
상기 제1 로터리날은 상기 골 성형날과 같은 열을 이루도록 배치되며,
상기 제2 로터리날은 제1 로터리날들 사이에서 상기 골 성형날과 엇갈리게 배치된 것을 특징으로 하는,
논콩 전용 두둑 조성 및 파종 복합기.According to claim 4,
The first rotary blade is arranged to form the same row as the bone forming blade,
The second rotary blade is characterized in that disposed alternately with the bone forming blade between the first rotary blades,
Establishment and planting of soybean-only dumplings.
상기 제1 로터리날은 각각 중앙, 좌측 및 우측에 설치된 중앙 제1 로터리날, 좌측 제1 로터리날 및 우측 제1 로터리날을 포함하고,
상기 골 성형날은 상기 중앙 제1 로터리날, 상기 좌측 제1 로터리날 및 상기 우측 제1 로터리날에 각각 대응하여 설치된 중앙 골 성형날, 좌측 골 성형날 및 우측 골 성형날을 포함하며,
상기 제2 로터리날은, 상기 중앙 제1 로터리날과 상기 좌측 제1 로터리날 사이 및 상기 중앙 제1 로터리날과 상기 우측 제1 로터리날 사이에 각각 설치된 좌측 제2 로터리날 및 우측 제2 로터리날을 포함하는 것을 특징으로 하는,
논콩 전용 두둑 조성 및 파종 복합기.The method of claim 5,
The first rotary blade includes a central first rotary blade, a left first rotary blade and a right first rotary blade installed at the center, left and right sides, respectively.
The bone forming blade includes a central bone forming blade, a left bone forming blade, and a right bone forming blade respectively installed in correspondence with the center first rotary blade, the left first rotary blade, and the right first rotary blade, respectively.
The second rotary blade is provided between the central first rotary blade and the left first rotary blade, and between the central first rotary blade and the right first rotary blade, respectively, the left second rotary blade and the right second rotary blade. Characterized in that it comprises,
Establishment and planting of soybean-only dumplings.
상기 두둑 성형판은,
상기 좌측 제2 로터리날 및 상기 우측 제2 로터리날에 대응하여 각각 설치되며, 아치형으로 이루어진 두 개의 온판들; 및
상기 좌측 및 상기 우측의 외측에 각각 형성된 두 개의 반판들을 포함하고,
상기 두 개의 온판들은, 상기 좌측 제2 로터리날 및 상기 우측 제2 로터리날에 의해 갈아엎어진 두둑의 어깨부분을, 두둑이 쉽게 무너지지 않고 골의 상태를 지속적으로 유지하도록, 원호형으로 눌러 다지며 성형하는 것을 특징으로 하는,
논콩 전용 두둑 조성 및 파종 복합기.The method of claim 6,
The thick mold plate,
Two onboards respectively installed in correspondence with the left second rotary blade and the right second rotary blade; And
It includes two half plates respectively formed on the left side and the outer side of the right side,
The two warm plates are formed by pressing and compacting the shoulder portion of the dud, which has been overturned by the left second rotary and the right second rotary, in an arc-shaped shape so that the dud does not easily collapse and maintains the state of the bone. Characterized by,
Establishment and planting of soybean-only dumplings.
상기 보조 프레임의 후방에 설치되며, 상기 약제를 살포하는 약제살포기를 더 포함하는 것을 특징으로 하는,
논콩 전용 두둑 조성 및 파종 복합기.According to claim 1,
It is installed on the rear of the auxiliary frame, characterized in that it further comprises a drug sprayer for spraying the drug,
Establishment and planting of soybean-only dumplings.
전방에서 제공되는 트랙터에 의해 견인되고 하부에 횡방향으로 설치되며; 제1 반경으로 회전하며 골을 파내는 제1 로터리날; 상기 제1 로터리날보다 작은 제2 반경으로 회전하며 두둑을 파내는 제2 로터리날; 상기 제1 로터리날 및 상기 제2 로터리날을 각각 커버하여 흙의 비산을 방지하는 비산방지커버; 상기 제1 로터리날의 후방에서 높이 조절이 가능하게 설치되어 골을 형성하는 골 성형날; 및 상기 제2로터리날의 후방에서 높이 조절이 가능하게 설치되어 골 사이에 형성되는 두둑을 성형하는 두둑 성형판;을 포함하는 로터리;
상기 로터리의 후방에 힌지 결합되고 유압실린더에 의해 회동 가능하게 설치된 메인 프레임 및 상기 메인 프레임의 후방에 조절핸들에 의해 높낮이가 조절 가능하게 설치된 보조 프레임을 포함하는 프레임; 및
상기 보조 프레임에 좌우로 배치된 복수의 파종기들을 포함하는,
논콩 전용 두둑 조성 및 파종 복합기.In the non-bean-only soybean weaving and sowing multifunction machine for performing sowing of non-kong,
Towed by a tractor provided from the front and installed transversely at the bottom; A first rotary blade rotating in a first radius to dig a goal; A second rotary blade that rotates at a second radius smaller than the first rotary blade and digs a dug; A scattering prevention cover that covers the first rotary blade and the second rotary blade to prevent scattering of soil; A bone forming blade installed at a height of the rear of the first rotary blade to form a bone; And a ridged molded plate that is installed to be adjustable in height from the rear of the second rotary blade to form a ridge formed between the bones.
A frame including a main frame hinged to the rear of the rotary and rotatably installed by a hydraulic cylinder, and an auxiliary frame adjustable in height by an adjustment handle at the rear of the main frame; And
Including the plurality of planters arranged left and right on the auxiliary frame,
Establishment and planting of soybean-only dumplings.
상기 제1 로터리날은 각각 중앙, 좌측 및 우측에 설치된 중앙 제1 로터리날, 좌측 제1 로터리날 및 우측 제1 로터리날을 포함하고,
상기 골 성형날은 상기 중앙 제1 로터리날, 상기 좌측 제1 로터리날 및 상기 우측 제1 로터리날에 각각 대응하여 설치된 중앙 골 성형날, 좌측 골 성형날 및 우측 골 성형날을 포함하며,
상기 제2 로터리날은, 상기 중앙 제1 로터리날과 상기 좌측 제1 로터리날 사이 및 상기 중앙 제1 로터리날과 상기 우측 제1 로터리날 사이에 각각 설치된 좌측 제2 로터리날 및 우측 제2 로터리날을 포함하는 것을 특징으로 하는,
논콩 전용 두둑 조성 및 파종 복합기.The method of claim 9,
The first rotary blade includes a central first rotary blade, a left first rotary blade and a right first rotary blade installed at the center, left and right sides, respectively.
The bone forming blade includes a central bone forming blade, a left bone forming blade, and a right bone forming blade respectively installed in correspondence with the center first rotary blade, the left first rotary blade, and the right first rotary blade, respectively.
The second rotary blade is provided between the central first rotary blade and the left first rotary blade, and between the central first rotary blade and the right first rotary blade, respectively, the left second rotary blade and the right second rotary blade. Characterized in that it comprises,
Establishment and planting of soybean-only dumplings.
상기 두둑 성형판은,
상기 좌측 제2 로터리날 및 상기 우측 제2 로터리날에 대응하여 각각 설치되며, 아치형으로 이루어진 두 개의 온판들; 및
상기 좌측 및 상기 우측의 외측에 각각 형성된 두 개의 반판들을 포함하고,
상기 두 개의 온판들은, 상기 좌측 제2 로터리날 및 상기 우측 제2 로터리날에 의해 갈아엎어진 두둑의 어깨부분을, 두둑이 쉽게 무너지지 않고 골의 상태를 지속적으로 유지하도록, 원호형으로 눌러 다지며 성형하는 것을 특징으로 하는,
논콩 전용 두둑 조성 및 파종 복합기.
The method of claim 10,
The thick mold plate,
Two onboards respectively installed in correspondence with the left second rotary blade and the right second rotary blade; And
It includes two half plates respectively formed on the left side and the outer side of the right side,
The two warm plates are formed by pressing and compacting the shoulder portion of the dud, which has been overturned by the left second rotary and the right second rotary, in an arc-shaped shape so that the dud does not easily collapse and maintains the state of the bone. Characterized by,
Establishment and planting of soybean-only dumplings.
Priority Applications (1)
| Application Number | Priority Date | Filing Date | Title |
|---|---|---|---|
| KR1020180161443A KR102234303B1 (en) | 2018-12-14 | 2018-12-14 | Combined seeder and ridger for soybean in paddy soil, having rotary blades for forming ridge |
Applications Claiming Priority (1)
| Application Number | Priority Date | Filing Date | Title |
|---|---|---|---|
| KR1020180161443A KR102234303B1 (en) | 2018-12-14 | 2018-12-14 | Combined seeder and ridger for soybean in paddy soil, having rotary blades for forming ridge |
Publications (2)
| Publication Number | Publication Date |
|---|---|
| KR20200073383A true KR20200073383A (en) | 2020-06-24 |
| KR102234303B1 KR102234303B1 (en) | 2021-03-31 |
Family
ID=71407882
Family Applications (1)
| Application Number | Title | Priority Date | Filing Date |
|---|---|---|---|
| KR1020180161443A Active KR102234303B1 (en) | 2018-12-14 | 2018-12-14 | Combined seeder and ridger for soybean in paddy soil, having rotary blades for forming ridge |
Country Status (1)
| Country | Link |
|---|---|
| KR (1) | KR102234303B1 (en) |
Families Citing this family (2)
| Publication number | Priority date | Publication date | Assignee | Title |
|---|---|---|---|---|
| KR102479518B1 (en) | 2022-07-08 | 2022-12-19 | 이승우 | Ridge forming and seeding equipment for agricultural machinery |
| KR102724128B1 (en) * | 2024-03-18 | 2024-10-30 | 주식회사 삼원농기계 | Rotavator with double rotaries |
Citations (7)
| Publication number | Priority date | Publication date | Assignee | Title |
|---|---|---|---|---|
| KR200219524Y1 (en) | 2000-11-07 | 2001-04-02 | 주식회사장자동화 | A sowing machine for dogging a tractor |
| JP2007319094A (en) * | 2006-06-01 | 2007-12-13 | Agritecno Yazaki Co Ltd | Vertical seeding machine |
| KR20100054076A (en) * | 2008-11-13 | 2010-05-24 | 유한회사 웅진기계 | Covering soil a level direct waves rotary |
| JP2011000046A (en) * | 2009-06-18 | 2011-01-06 | Kubota Corp | Ground-working apparatus |
| KR101330833B1 (en) | 2013-02-22 | 2013-11-29 | 국립식량과학원 | Multi-function labor saving machine |
| KR101466491B1 (en) * | 2013-06-18 | 2014-12-02 | 안병수 | Mulching system capable of covering poly lister line |
| KR101545784B1 (en) | 2013-10-18 | 2015-08-19 | 한재헌 | Bracket Connecting Structure of Seeding Machine for Tractor |
-
2018
- 2018-12-14 KR KR1020180161443A patent/KR102234303B1/en active Active
Patent Citations (8)
| Publication number | Priority date | Publication date | Assignee | Title |
|---|---|---|---|---|
| KR200219524Y1 (en) | 2000-11-07 | 2001-04-02 | 주식회사장자동화 | A sowing machine for dogging a tractor |
| JP2007319094A (en) * | 2006-06-01 | 2007-12-13 | Agritecno Yazaki Co Ltd | Vertical seeding machine |
| KR20100054076A (en) * | 2008-11-13 | 2010-05-24 | 유한회사 웅진기계 | Covering soil a level direct waves rotary |
| KR101143953B1 (en) | 2008-11-13 | 2012-05-09 | 유한회사 웅진기계 | Covering soil a level direct waves rotary |
| JP2011000046A (en) * | 2009-06-18 | 2011-01-06 | Kubota Corp | Ground-working apparatus |
| KR101330833B1 (en) | 2013-02-22 | 2013-11-29 | 국립식량과학원 | Multi-function labor saving machine |
| KR101466491B1 (en) * | 2013-06-18 | 2014-12-02 | 안병수 | Mulching system capable of covering poly lister line |
| KR101545784B1 (en) | 2013-10-18 | 2015-08-19 | 한재헌 | Bracket Connecting Structure of Seeding Machine for Tractor |
Also Published As
| Publication number | Publication date |
|---|---|
| KR102234303B1 (en) | 2021-03-31 |
Similar Documents
| Publication | Publication Date | Title |
|---|---|---|
| JP4005471B2 (en) | Combined work machine | |
| US4624197A (en) | Minimum tillage toolbar and method for using same | |
| CN201403290Y (en) | Machine integrating ditching, fertilizing, rotary tillage and sowing | |
| JPH1118514A (en) | Direct seeder for well-drained paddy filed and direct seeding | |
| CN112470571B (en) | A multifunctional driven sugarcane cultivator | |
| CN105379458B (en) | A kind of general stubble-cleaning no-tillage fertilizing and seeding machine of rice and kernel | |
| KR102116184B1 (en) | Combined seeder and ridger for soybean in paddy soil | |
| CN108283035B (en) | Sugarcane horizontal planting machine | |
| CN103988611A (en) | Multifunctional sowing and fertilizing laminator | |
| CN210808145U (en) | Strip stubble-cleaning deep scarification fertilization no-tillage seeder | |
| CN217591526U (en) | Corn and soybean composite seeder | |
| CN110149825A (en) | The combine potato seeder of earthing on a kind of ridge teleblem | |
| CN112369153A (en) | Seeding earthing suppression composite operation machine | |
| KR100696246B1 (en) | Dry Wave Device | |
| KR20200044657A (en) | Cultivator with harrow | |
| KR20200073383A (en) | Combined seeder and ridger for soybean in paddy soil, having rotary blades for forming ridge | |
| JP2004298028A (en) | Fertilizing seeder | |
| CN114503815B (en) | Secondary compacting full-width precision seeder and seeding method | |
| RU2105452C1 (en) | Rotary potato planter | |
| CN215269383U (en) | Drive type sugarcane perennial root ridge breaking, fertilizing and ridging all-in-one machine | |
| CN213847509U (en) | A grass seed rotary tiller | |
| CN114642106A (en) | Corn Soybean Compound Planter | |
| KR100740044B1 (en) | Fertilizer | |
| CN109983865A (en) | A kind of novel Cultivating seed-harrow | |
| CN220457845U (en) | Soil tillage machine for agriculture |
Legal Events
| Date | Code | Title | Description |
|---|---|---|---|
| PA0109 | Patent application |
Patent event code: PA01091R01D Comment text: Patent Application Patent event date: 20181214 |
|
| PA0201 | Request for examination | ||
| PG1501 | Laying open of application | ||
| E902 | Notification of reason for refusal | ||
| PE0902 | Notice of grounds for rejection |
Comment text: Notification of reason for refusal Patent event date: 20200811 Patent event code: PE09021S01D |
|
| E701 | Decision to grant or registration of patent right | ||
| PE0701 | Decision of registration |
Patent event code: PE07011S01D Comment text: Decision to Grant Registration Patent event date: 20210219 |
|
| GRNT | Written decision to grant | ||
| PR0702 | Registration of establishment of national patent |
Patent event code: PR07021E01D Comment text: Registration of Establishment of National Patent Patent event date: 20210325 |
|
| PR1002 | Payment of registration fee |
Payment date: 20210325 End annual number: 20 Start annual number: 1 |
|
| PG1601 | Publication of registration |
