KR20170141069A - 보호캡과 조임구를 이용한 철근 체결장치 - Google Patents

보호캡과 조임구를 이용한 철근 체결장치 Download PDF

Info

Publication number
KR20170141069A
KR20170141069A KR1020160074072A KR20160074072A KR20170141069A KR 20170141069 A KR20170141069 A KR 20170141069A KR 1020160074072 A KR1020160074072 A KR 1020160074072A KR 20160074072 A KR20160074072 A KR 20160074072A KR 20170141069 A KR20170141069 A KR 20170141069A
Authority
KR
South Korea
Prior art keywords
outer diameter
present
reinforcing bar
inclined surface
circumferential surface
Prior art date
Legal status (The legal status is an assumption and is not a legal conclusion. Google has not performed a legal analysis and makes no representation as to the accuracy of the status listed.)
Granted
Application number
KR1020160074072A
Other languages
English (en)
Other versions
KR101890918B1 (ko
Inventor
심석래
Original Assignee
주식회사 동아특수건설
Priority date (The priority date is an assumption and is not a legal conclusion. Google has not performed a legal analysis and makes no representation as to the accuracy of the date listed.)
Filing date
Publication date
Application filed by 주식회사 동아특수건설 filed Critical 주식회사 동아특수건설
Priority to KR1020160074072A priority Critical patent/KR101890918B1/ko
Publication of KR20170141069A publication Critical patent/KR20170141069A/ko
Application granted granted Critical
Publication of KR101890918B1 publication Critical patent/KR101890918B1/ko
Active legal-status Critical Current
Anticipated expiration legal-status Critical

Links

Images

Classifications

    • EFIXED CONSTRUCTIONS
    • E02HYDRAULIC ENGINEERING; FOUNDATIONS; SOIL SHIFTING
    • E02DFOUNDATIONS; EXCAVATIONS; EMBANKMENTS; UNDERGROUND OR UNDERWATER STRUCTURES
    • E02D5/00Bulkheads, piles, or other structural elements specially adapted to foundation engineering
    • E02D5/74Means for anchoring structural elements or bulkheads
    • E02D5/80Ground anchors
    • EFIXED CONSTRUCTIONS
    • E02HYDRAULIC ENGINEERING; FOUNDATIONS; SOIL SHIFTING
    • E02DFOUNDATIONS; EXCAVATIONS; EMBANKMENTS; UNDERGROUND OR UNDERWATER STRUCTURES
    • E02D17/00Excavations; Bordering of excavations; Making embankments
    • E02D17/20Securing of slopes or inclines
    • EFIXED CONSTRUCTIONS
    • E02HYDRAULIC ENGINEERING; FOUNDATIONS; SOIL SHIFTING
    • E02DFOUNDATIONS; EXCAVATIONS; EMBANKMENTS; UNDERGROUND OR UNDERWATER STRUCTURES
    • E02D2200/00Geometrical or physical properties
    • E02D2200/14Geometrical or physical properties resilient or elastic
    • E02D2200/146Springs
    • EFIXED CONSTRUCTIONS
    • E02HYDRAULIC ENGINEERING; FOUNDATIONS; SOIL SHIFTING
    • E02DFOUNDATIONS; EXCAVATIONS; EMBANKMENTS; UNDERGROUND OR UNDERWATER STRUCTURES
    • E02D2600/00Miscellaneous
    • E02D2600/40Miscellaneous comprising stabilising elements

Landscapes

  • Engineering & Computer Science (AREA)
  • Structural Engineering (AREA)
  • Mining & Mineral Resources (AREA)
  • Life Sciences & Earth Sciences (AREA)
  • General Life Sciences & Earth Sciences (AREA)
  • Paleontology (AREA)
  • Civil Engineering (AREA)
  • General Engineering & Computer Science (AREA)
  • Reinforcement Elements For Buildings (AREA)

Abstract

본 발명은 비탈면(사면) 보호를 위한 보호캡과 조임구를 이용한 철근 체결장치에 관한 것이다.
본 발명은 이를 위해 철근의 외주면에 체결되며, 외주면에 외경나사돌기가 형성된 한 쌍의 풀림방지 및 보강철근지지구; 풀림방지 및 보강철근지지구의 외주면에 체결되며, 내경나사홈이 외경나사홈에 체결되도록 한 너트; 철근의 외주면에 체결되며, 상부는 좁고 하부는 넓게 외경테이퍼경사면이 형성되고, 이 경사면에 외경나사돌기가 돌출 형성된 조임구; 및 조임구의 외주면에 체결되며, 외경테이퍼경사면과 같은 경사 각도로 형성된 내경테이퍼경사면에 내경나사홈이 형성된 차단보호캡;이 포함된다.
상기와 같이 구성된 본 발명은 시공간편과 유지보수 간단 그리고 작업능률의 향상을 꾀할 수 있도록 한 것이고, 이로 인해 체결장치의 품질과 신뢰성을 대폭 향상시키므로 작업자들의 다양한 욕구(니즈)를 충족시켜 좋은 이미지를 심어줄 수 있도록 한 것이다.

Description

보호캡과 조임구를 이용한 철근 체결장치{steel reinforcement fastening device with protective cap and tighten}
본 발명의 실시예는 비탈면(사면) 보호를 위한 보호캡과 조임구를 이용한 철근 체결장치에 관한 것으로, 보다 상세하게는 시공간편과 유지보수 간단 그리고 작업능률의 향상을 꾀할 수 있도록 한 것이고, 이로 인해 체결장치의 품질과 신뢰성을 대폭 향상시키므로 작업자들의 다양한 욕구(니즈)를 충족시켜 좋은 이미지를 심어줄 수 있도록 한 것이다.
주지하다시피 암반이나 비탈진 사면의 붕괴를 방지하기 위하여 체결되는 락볼트는 돌출된 형상으로 고정되어 야외에 방치된다. 이로 인하여 체결된 락볼트와 너트는 눈, 비 등에 장시간 노출되어 쉽게 산화되며 부식됨에 따라 수명이 단축되고 암반 붕괴를 방지할 수 있는 체결력 또한 저하될 뿐만 아니라 주위 자연경관과 어울리지 못하게 된다.
아래 종래기술로서 체결된 락볼트 및 너트의 지표면상의 노출을 방지하기 위한 커버는 국내 등록특허공보(등록번호10-0466491)에서 소개된 바 있으나, 상기의 커버는 외부에 노출된 락볼트 부위와 너트를 덮어주는 고깔형상의 단순한 덮개이며, 부식현상을 일으키는 빗물이나 눈이 덮개의 틈새로 침투하여 내부로 유입되는 것을 원천적으로 방지할 수는 없는 형태이다.
종래 기술로서 볼트와 너트를 체결한 후 돌출된 부위를 보호하기 위한 착탈가능한 볼트 너트캡은 국내 공개실용신안공보(공개번호 실1998-024854)에서 소개된바 있으나, 상기의 착탈가능한 볼트 너트캡은 노출된 볼트와 너트를 수용할 수 있는 볼트너트수용부를 구비한 덮개를 단순히 체결시켜 주는 형태이다.
보다 상세히는 노출된 볼트 및 너트와의 끼움과 탈락방지를 위하여 덮개 내부의 볼트너트수용부에 직접 탈락방지돌기를 형성하여 볼트 및 너트와 덮개를 바로 체결시킬 수 있도록 구성되어 있다. 그러나, 볼트 너트캡의 덮개부를 노출된 볼트와 너트에 직접 억지맞춤시켜 체결시켜 주는 상기의 형태는 체결과정에서 노출된 볼트산과 너트가 마모될 수 있을 뿐만 아니라 체결과정의 어려움으로 인하여 고정된 볼트와 너트가 흔들릴 수 있어 체결력의 저하를 초래할 수 있으며, 상기 볼트 너트캡과 볼트 및 너트 사이의 밀폐의 한계로 인하여 볼트 너트캡과 볼트 및 너트 틈새로 빗물이나 눈이 침투되어 내부의 볼트와 너트가 부식될 수 있다.
특히 상기 종래 기술은 수지로 보호캡을 체결시 수지가 경화되기 전에 보호캡이 이탈하는 문제점이 있고, 또한 접착력이 우수하지 못하다는 문제점 아울러 유지 보수시에 수지를 제거하기 어려운 문제점이 발생되어 전체적으로 시공이 어렵고, 유지 보수하기 어렵고 특히 작업능률이 저하되는 커다란 문제점이 발생 되었다.
상기한 문제점을 해결하기 위해 종래에는 아래와 같은 선행기술문헌들이 개발되었으나, 여전히 상기한 종래 기술들의 문제점을 일거에 해결하지 못하는 커다란 문제점이 발생 되었다.
대한민국 등록특허공보 제1317332호(2013. 10. 04)가 등록된바 있다. 대한민국 등록특허공보 제0466491호(2005. 01. 06)가 등록된바 있다. 대한민국 등록특허공보 제0638645호(2006. 10. 19)가 등록된바 있다. 대한민국 등록특허공보 제0712476호(2007. 04. 23)가 등록된바 있다. 대한민국 등록특허공보 제1112052호(2012. 01. 27)가 등록된바 있다.
본 발명은 상기와 같은 종래 기술의 제반 문제점을 해소하기 위하여 안출한 것으로, 철근과 너트, 풀림방지 및 보강철근지지구 그리고 스프링과 조임구 및 차단보호캡이 구비됨을 제1목적으로 한 것이고, 상기한 기술적 구성에 의한 본 발명의 제2목적은 비탈면(사면) 보호를 위한 보호캡과 조임구를 이용하여 철근의 체결시 시공이 간편하도록 한 것이고, 제3목적은 수지를 사용하고 보호캡을 철근에 부착 고정 시키는 방법을 배제하므로 내부 외형돌기의 나사부를 형성하여 유지보수가 간단하도록 한 것이며, 제4목적은 체결장치의 작업능률의 향상을 꾀할 수 있도록 한 것이고, 제5목적은 풀림방지 및 보강철근지지구 그리고 너트 및 철근의 부식을 방지할 수 있도록 한 것이며, 제6목적은 이로 인해 체결장치의 품질과 신뢰성을 대폭 향상시키므로 작업자들의 다양한 욕구(니즈)를 충족시켜 좋은 이미지를 심어줄 수 있도록 한 보호캡과 조임구를 이용한 철근 체결장치를 제공한다.
이러한 목적 달성을 위하여 본 발명은 외주면 리브에 일정 간격으로 수평마디가 돌출 형성된 철근; 철근의 외주면에 체결되며, 외주면에 외경나사돌기가 형성된 한 쌍의 풀림방지 및 보강철근지지구; 풀림방지 및 보강철근지지구의 외주면에 체결되며, 내경나사홈이 외경나사홈에 체결되도록 한 너트; 철근의 외주면에 체결되며, 상부는 좁고 하부는 넓게 외경테이퍼경사면이 형성되고, 이 경사면에 외경나사돌기가 돌출 형성된 조임구; 및 조임구의 외주면에 체결되며, 외경테이퍼경사면과 같은 경사 각도로 형성된 내경테이퍼경사면에 내경나사홈이 형성된 차단보호캡;이 포함됨을 특징으로 하는 보호캡과 조임구를 이용한 철근 체결장치를 제공한다.
상기에서 상세히 살펴본 바와 같이 본 발명은 철근과 너트, 풀림방지 및 보강철근지지구 그리고 스프링과 조임구 및 차단보호캡이 구비되도록 한 것이다.
상기한 기술적 구성에 의한 본 발명은 비탈면(사면) 보호를 위한 보호캡과 조임구를 이용하여 철근의 체결시 시공이 간편하도록 한 것이다.
또한 본 발명은 수지를 사용하고 보호캡을 철근에 부착 고정 시키는 방법을 배제하므로 내부 외형돌기의 나사부를 형성하여 유지보수가 간단하도록 한 것이다.
아울러 본 발명은 체결장치의 작업능률의 향상을 꾀할 수 있도록 한 것이다.
더하여 본 발명은 풀림방지 및 보강철근지지구 그리고 너트 및 철근의 부식을 방지할 수 있도록 한 것이다.
본 발명은 상기한 효과로 인해 체결장치의 품질과 신뢰성을 대폭 향상시키므로 작업자들의 다양한 욕구(니즈)를 충족시켜 좋은 이미지를 심어줄 수 있도록 한 매우 유용한 발명인 것이다.
이하에서는 이러한 효과 달성을 위한 본 발명의 바람직한 실시 예를 첨부된 도면에 따라 상세히 설명하면 다음과 같다.
도 1 은 본 발명에 적용된 보호캡과 조임구를 이용한 철근 체결장치의 분해
사시도.
도 2 는 본 발명에 적용된 보호캡과 조임구를 이용한 철근 체결장치의 분해
단면도.
도 3 은 본 발명에 적용된 차단보호캡의 단면도.
도 4 는 본 발명에 적용된 조임구의 단면도.
도 5 는 본 발명에 적용된 풀림방지 및 보강철근지지구의 단면도.
도 6 은 본 발명에 적용된 보호캡과 조임구를 이용한 철근 체결장치의 결합
상태 단면도.
본 발명에 적용된 보호캡과 조임구를 이용한 철근 체결장치는 도 1 내지 도 6 에 도시된 바와 같이 구성되는 것이다.
하기에서 본 발명을 설명함에 있어, 관련된 공지 기능 또는 구성에 대한 구체적인 설명이 본 발명의 요지를 불필요하게 흐릴 수 있다고 판단되는 경우에는 그 상세한 설명은 생략할 것이다.
그리고 후술되는 용어들은 본 발명에서의 기능을 고려하여 설정된 용어들로서 이는 생산자의 의도 또는 관례에 따라 달라질 수 있으므로 그 정의는 본 명세서 전반에 걸친 내용을 토대로 내려져야 할 것이다.
또한 도면에서 나타난 각 구성의 크기 및 두께는 설명의 편의를 위해 임의로 나타내었으므로, 본 발명이 반드시 도면에 도시된 바에 한정되지 않는다.
먼저, 본 발명은 외주면 리브(11)에 일정 간격으로 수평마디(12)가 돌출 형성된 철근(10)이 구비된다.
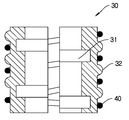
또한 본 발명은 상기 철근(10)의 외주면에 체결되며, 외주면에 외경나사돌기(32)가 형성된 한 쌍의 풀림방지 및 보강철근지지구(30)가 구비된다.
본 발명에서는 상기 풀림방지 및 보강철근지지구(30)를 2개가 분리된 것을 도시하였으나, 이는 설명의 편의상 도시한 것이고, 필요에 따라 2개 이상의 복수개로 구성하여 사용할 수 있음은 물론이다.
그리고 본 발명은 상기 풀림방지 및 보강철근지지구(30)의 외주면에 체결되며, 내경나사홈(21)이 외경나사홈(32)에 체결되도록 한 너트(20)가 구비된다.
아울러 본 발명은 상기 철근(10)의 외주면에 체결되며, 상부는 좁고 하부는 넓게 외경테이퍼경사면(53)이 형성되고, 이 경사면에 외경나사돌기(54)가 돌출 형성된 조임구(50)가 구비된다.
더하여 본 발명은 상기 조임구(50)의 외주면에 체결되며, 외경테이퍼경사면(53)과 같은 경사 각도로 형성된 내경테이퍼경사면(61)에 내경나사홈(62)이 형성된 차단보호캡(60)이 구비된 보호캡과 조임구를 이용한 철근 체결장치를 제공한다.
상기 차단보호캡(60)은 이 차단보호캡의 내부에 설치되는 다수의 부품을 보호하는 역할을 하게 된다.
한편, 본 발명에 적용된 상기 한 쌍의 풀림방지 및 보강철근지지구(30)에는 내주면에 철근(10)의 수평마디(12)가 끼워지도록 수평마디끼움홈(31)이 형성된다.
또한 본 발명에 적용된 상기 한 쌍의 풀림방지 및 보강철근지지구(30)에는 외경나사돌기(32)의 각 나사돌기 사이에 한 쌍의 풀림방지 및 보강철근지지구(30)의 이탈방지 및 유동방지를 위해 스프링(40)이 조립 설치된다.
그리고 본 발명에 적용된 상기 조임구(50)에는 내주면에 철근(10)의 리브 및 수평마디가 끼워지도록 리브끼움홈(51)과 수평마디끼움홈(52)이 형성된다.
아울러 본 발명에 적용된 상기 조임구(50)에는 플라스틱재질의 조임구가 오무려지거나 펴지도록 작동하는 일직선 또는 경사진 절개부(55)가 형성된다.
더하여 본 발명은 상기 조임구(50)를 최대한 긴밀히 조일 수 있도록 하기 위해 너트(20)와 상호 맞닿지 않도록 하고, 차단보호캡(60)은 긴밀히 조일 시 철판(70)과 상호 긴밀히 맞닿아 기밀을 유지시키도록 구성함이 바람직하다.
한편 본 발명은 상기의 구성부를 적용함에 있어 다양하게 변형될 수 있고 여러 가지 형태를 취할 수 있다.
그리고 본 발명은 상기의 상세한 설명에서 언급되는 특별한 형태로 한정되는 것이 아닌 것으로 이해되어야 하며, 오히려 첨부된 청구범위에 의해 정의되는 본 발명의 정신과 범위 내에 있는 모든 변형물과 균등물 및 대체물을 포함하는 것으로 이해되어야 한다.
상기와 같이 구성된 본 발명 보호캡과 조임구를 이용한 철근 체결장치의 작용효과를 설명하면 다음과 같다.
우선, 본 발명은 시공간편과 유지보수 간단 그리고 작업능률의 향상을 꾀할 수 있도록 한 것이다.
이를 위해 본 발명에 적용된 도 1 은 보호캡과 조임구를 이용한 철근 체결장치의 분해 사시도를 나타낸 것으로, 특히 조임구의 절개부를 나타내고, 풀림방지 및 보강철근지지구가 2개로 분리된 것을 도시한 것이다.
그리고 도 2 는 본 발명에 적용된 보호캡과 조임구를 이용한 철근 체결장치의 분해 단면도를 타나내 것으로, 특히 내부 나사홈과 끼움홈을 도시한 것이다.
또한 도 3 은 본 발명에 적용된 차단보호캡의 확대 단면도를 나타낸 것이다.
그리고 도 4 는 본 발명에 적용된 조임구의 확대 단면도를 타나낸 것이다.
또한 도 5 는 본 발명에 적용된 풀림방지 및 보강철근지지구의 확대 단면도를 나타낸 것이다.
마지막으로 도 6 은 본 발명에 적용된 보호캡과 조임구를 이용한 철근 체결장치의 결합 상태 단면도를 나타낸 것이다.
본 발명은 암반이나 경사면(사면) 공사 후 암반의 붕괴를 막고 사면을 지지하기 위하여 철근(10)이 철판(70)을 관통하여 체결된다.
이후 본 발명은 상기 철근(10)의 외주면에는 한 쌍의 풀림방지 및 보강철근지지구(30)가 조립 설치되는 것으로, 이때 상기 풀림방지 및 보강철근지지구(30)의 외주면 즉, 외경나사돌기(32)의 각 사이에는 풀림방지 및 보강철근지지구(30)의 이탈방지 및 유동방지를 위해 스프링(40)이 조립 설치되는 것이다.
이때 본 발명에 적용된 상기 스프링(40)은 자체 텐션력을 갖고 있기 때문에절토면의 지지판이 지면에서 이격 등을 방지함과 아울러 풀림방지 및 보강철근지지구(30)의 상호 약간의 유격 움직임을 돕는 동시에 풀림방지 및 보강철근지지구(30)의 이탈방지 및 유동방지 그리고 덜렁거림을 방지하게 된다.
이어서 본 발명에 적용된 상기 풀림방지 및 보강철근지지구(30)의 외주면에는 너트(20)가 체결되는 것으로, 이 너트(20)의 내경나사홈(21)은 풀림방지 및 보강철근지지구(30)의 외주면에 형성된 외경나사돌기(32)에 체결된다.
이후 본 발명에 적용된 상기 철근(10)의 외주면 선단에는 조임구(50)가 조립 설치된다.
이때 상기 조임구(50)의 내주면에 형성된 리브끼움홈(51)에는 철근(10)의 리브(11)가 끼워지고, 수평마디끼움홈(52)에는 철근(10)의 수평마디(12)가 각각 끼워지게 된다.
상기한 상태에서 본 발명은 상기 조임구(50)의 외주면에 차단보호캡(60)을 조립 설치한다.
이때 상기 차단보호캡(60)의 내주면에 형성된 내경나사홈(62)에는 조임구(50)의 외주면에 돌출된 외경나사돌기(54)가 조립 설치된다.
특히 본 발명은 조임구(50)의 외경테이퍼경사면(53)과 차단보호캡(60)의 내경테이퍼경사면(61)이 상호 상부는 좁고 하부는 넓게 형성되어 차단보호캡(60)을 조이게 되면 안쪽으로 밀려들어가게 되는 동시에 조임구(50)에 형성된 절개부(55)는 상호 좁혀지면서 조임구(50)가 철근(10)에 긴밀히 밀착되어 결과적으로 차단보호캡(60)과 조임구(50) 그리고 철근(10)이 상호 긴밀한 체결력을 유지하게 되며 탄성을 가진 소재를 사용함으로 인해 풀림을 방지하게 된다.
즉, 본 발명은 철근(10)은 그대로 있는 상태에서 차단보호캡(60)을 회전시키게 되면 내경나사홈(62)이 외경나사돌기(54)를 따라 회전하여 차단보호캡(60)이 앞으로 전진 이동하게 되고, 따라서 차단보호캡(60)의 전진 이동에 의해 조임구(50)는 좁혀지게 되는 것이고, 이 과정에서 내경테이퍼경사면(61)은 외경테이퍼경사면(53)을 따라 이동하여 결과적으로 차단보호캡(60) 및 조임구(50)가 철근(10)에 긴밀히 조여질 수 있도록 하게 된다.
아울러 본 발명은 상기 조임구(50)를 최대한 긴밀히 조일 수 있도록 하기 위해 너트(20) 또는 풀림방지 및 보강철근지지구(30)와 상호 맞닿지 않도록 하고, 차단보호캡(60)은 긴밀히 조일 시 철판(70)과 상호 긴밀히 맞닿아 기밀을 유지시키도록 함이 바람직하다.
본 발명 보호캡과 조임구를 이용한 철근 체결장치의 기술적 사상은 실제로 동일결과를 반복 실시 가능한 것으로, 특히 이와 같은 본원발명을 실시함으로써 기술발전을 촉진하여 산업발전에 이바지할 수 있어 보호할 가치가 충분히 있다.
<도면의 주요 부분에 대한 부호의 설명>
10: 철근
20: 너트
30: 풀림방지 및 보강철근지지구
40: 스프링
50: 조임구
60: 차단보호캡

Claims (6)

  1. 철근의 외주면에 체결되며, 외주면에 외경나사돌기가 형성된 한 쌍의 풀림방지 및 보강철근지지구;
    풀림방지 및 보강철근지지구의 외주면에 체결되며, 내경나사홈이 외경나사홈에 체결되도록 한 너트;
    철근의 외주면에 체결되며, 상부는 좁고 하부는 넓게 외경테이퍼경사면이 형성되고, 이 경사면에 외경나사돌기가 돌출 형성된 조임구; 및
    조임구의 외주면에 체결되며, 외경테이퍼경사면과 같은 경사 각도로 형성된 내경테이퍼경사면에 내경나사홈이 형성된 차단보호캡;이 포함됨을 특징으로 하는 보호캡과 조임구를 이용한 철근 체결장치.
  2. 청구항 1 에 있어서,
    상기 한 쌍의 풀림방지 및 보강철근지지구에는,
    내주면에 철근의 수평마디가 끼워지도록 수평마디끼움홈;이 더 포함됨을 특징으로 하는 보호캡과 조임구를 이용한 철근 체결장치.
  3. 청구항 1 또는 2 에 있어서,
    상기 한 쌍의 풀림방지 및 보강철근지지구에는,
    외경나사돌기의 각 나사돌기 사이에 한 쌍의 풀림방지 및 보강철근지지구의 이탈방지 및 유동방지를 위해 스프링;이 더 포함됨을 특징으로 하는 보호캡과 조임구를 이용한 철근 체결장치.
  4. 청구항 1 에 있어서,
    상기 조임구에는,
    내주면에 철근의 리브 및 수평마디가 끼워지도록 리브끼움홈과 수평마디끼움홈;이 더 포함됨을 특징으로 하는 보호캡과 조임구를 이용한 철근 체결장치.
  5. 청구항 1 또는 4 에 있어서,
    상기 조임구에는,
    플라스틱재질의 조임구가 오무려지거나 펴지도록 작동하는 일직선 또는 경사진 절개부;가 더 포함됨을 특징으로 하는 보호캡과 조임구를 이용한 철근 체결장치.
  6. 청구항 1 에 있어서,
    상기 조임구를 최대한 긴밀히 조일 수 있도록 하기 위해 너트와 상호 맞닿지 않도록 하고, 차단보호캡은 긴밀히 조일 시 철판과 상호 긴밀히 맞닿아 기밀을 유지시키도록 구성함을 특징으로 하는 보호캡과 조임구를 이용한 철근 체결장치.
KR1020160074072A 2016-06-14 2016-06-14 보호캡과 조임구를 이용한 철근 체결장치 Active KR101890918B1 (ko)

Priority Applications (1)

Application Number Priority Date Filing Date Title
KR1020160074072A KR101890918B1 (ko) 2016-06-14 2016-06-14 보호캡과 조임구를 이용한 철근 체결장치

Applications Claiming Priority (1)

Application Number Priority Date Filing Date Title
KR1020160074072A KR101890918B1 (ko) 2016-06-14 2016-06-14 보호캡과 조임구를 이용한 철근 체결장치

Publications (2)

Publication Number Publication Date
KR20170141069A true KR20170141069A (ko) 2017-12-22
KR101890918B1 KR101890918B1 (ko) 2018-08-22

Family

ID=60936445

Family Applications (1)

Application Number Title Priority Date Filing Date
KR1020160074072A Active KR101890918B1 (ko) 2016-06-14 2016-06-14 보호캡과 조임구를 이용한 철근 체결장치

Country Status (1)

Country Link
KR (1) KR101890918B1 (ko)

Cited By (2)

* Cited by examiner, † Cited by third party
Publication number Priority date Publication date Assignee Title
WO2023215327A1 (en) * 2022-05-03 2023-11-09 Zenobia International Investments Inc. Radiator cap safety cover
WO2023215324A1 (en) * 2022-05-03 2023-11-09 Zenobia International Investments Inc Safety radiator cap cover with valve releaser

Citations (7)

* Cited by examiner, † Cited by third party
Publication number Priority date Publication date Assignee Title
KR100466491B1 (ko) 2001-11-30 2005-01-15 심석래 암반붕괴 방지용 락볼트(네일) 연계 고정장치
KR100638645B1 (ko) 2005-11-04 2006-10-31 심석래 다단 그라우팅용 락 앵커
KR100712476B1 (ko) 2005-11-04 2007-04-27 심석래 다단 그라우팅용 락 앵커
KR101112052B1 (ko) 2009-02-24 2012-03-13 심석래 암반붕괴 방지용 락볼트 연계 보강장치
KR101317332B1 (ko) 2011-03-22 2013-10-11 심석래 체결부재 및 차단부를 구비한 락볼트 및 너트 보호캡
KR101370954B1 (ko) * 2013-04-04 2014-03-10 (주) 효창이엔지 소일네일과 연계시공되는 지표면 압박 보강 구조 및 공법
KR101378793B1 (ko) * 2013-10-22 2014-03-27 김정태 나사 조립식 마감캡을 갖는 절토부 패널옹벽

Patent Citations (7)

* Cited by examiner, † Cited by third party
Publication number Priority date Publication date Assignee Title
KR100466491B1 (ko) 2001-11-30 2005-01-15 심석래 암반붕괴 방지용 락볼트(네일) 연계 고정장치
KR100638645B1 (ko) 2005-11-04 2006-10-31 심석래 다단 그라우팅용 락 앵커
KR100712476B1 (ko) 2005-11-04 2007-04-27 심석래 다단 그라우팅용 락 앵커
KR101112052B1 (ko) 2009-02-24 2012-03-13 심석래 암반붕괴 방지용 락볼트 연계 보강장치
KR101317332B1 (ko) 2011-03-22 2013-10-11 심석래 체결부재 및 차단부를 구비한 락볼트 및 너트 보호캡
KR101370954B1 (ko) * 2013-04-04 2014-03-10 (주) 효창이엔지 소일네일과 연계시공되는 지표면 압박 보강 구조 및 공법
KR101378793B1 (ko) * 2013-10-22 2014-03-27 김정태 나사 조립식 마감캡을 갖는 절토부 패널옹벽

Cited By (2)

* Cited by examiner, † Cited by third party
Publication number Priority date Publication date Assignee Title
WO2023215327A1 (en) * 2022-05-03 2023-11-09 Zenobia International Investments Inc. Radiator cap safety cover
WO2023215324A1 (en) * 2022-05-03 2023-11-09 Zenobia International Investments Inc Safety radiator cap cover with valve releaser

Also Published As

Publication number Publication date
KR101890918B1 (ko) 2018-08-22

Similar Documents

Publication Publication Date Title
KR101890918B1 (ko) 보호캡과 조임구를 이용한 철근 체결장치
KR101317332B1 (ko) 체결부재 및 차단부를 구비한 락볼트 및 너트 보호캡
KR20180102343A (ko) 이중나사선 볼트 및 이중결합너트
KR20180043692A (ko) 풀림 방지 체결구
JP5366593B2 (ja) 水抜栓およびこの水抜栓を用いた水抜処理方法
JP7116595B2 (ja) 締付トルク管理具及び締付トルク管理具と締結具との組み合わせ
KR101395867B1 (ko) 락볼트용 고정장치
JP2000179053A (ja) 連結金具
JP4815520B2 (ja) 定着金物及びそれを用いた法面安定化構造並びに法面安定化工法
KR102089552B1 (ko) 볼트 조립체
KR20130107009A (ko) 비계파이프 결합용 클램프
KR20150001472U (ko) Frp 그레이팅에 결합이 용이한 킥 플레이트
KR200428458Y1 (ko) 앵커볼트 보호캡
KR101688187B1 (ko) 조립식 물탱크의 패널 조립용 긴 사각머리 볼트
JP7451054B2 (ja) ワンタッチ固定式ロックボルト
KR100771232B1 (ko) 거푸집 간격 유지구
JP2005351062A (ja) マンホールの蓋受枠固定用ロックボルト保護キャップ装置
KR200478182Y1 (ko) 나사못
JP5877453B2 (ja) 地下構造物用筐体
KR200345022Y1 (ko) 거푸집 고정용 볼트 커버
KR200415001Y1 (ko) 거푸집 간격 유지구
KR20160108026A (ko) 고정 너트 및 이를 포함하는 볼트 조립체
KR101741430B1 (ko) 건축물 외장재의 고정유닛
KR200381396Y1 (ko) 콘크리트 거푸집용 간격조절구조
KR200312648Y1 (ko) 록볼트용 헤드캡의 설치구조

Legal Events

Date Code Title Description
A201 Request for examination
PA0109 Patent application

Patent event code: PA01091R01D

Comment text: Patent Application

Patent event date: 20160614

PA0201 Request for examination
E902 Notification of reason for refusal
PE0902 Notice of grounds for rejection

Comment text: Notification of reason for refusal

Patent event date: 20171101

Patent event code: PE09021S01D

AMND Amendment
PG1501 Laying open of application
E601 Decision to refuse application
PE0601 Decision on rejection of patent

Patent event date: 20180530

Comment text: Decision to Refuse Application

Patent event code: PE06012S01D

Patent event date: 20171101

Comment text: Notification of reason for refusal

Patent event code: PE06011S01I

AMND Amendment
PX0901 Re-examination

Patent event code: PX09011S01I

Patent event date: 20180530

Comment text: Decision to Refuse Application

Patent event code: PX09012R01I

Patent event date: 20171212

Comment text: Amendment to Specification, etc.

PX0701 Decision of registration after re-examination

Patent event date: 20180801

Comment text: Decision to Grant Registration

Patent event code: PX07013S01D

Patent event date: 20180628

Comment text: Amendment to Specification, etc.

Patent event code: PX07012R01I

Patent event date: 20180530

Comment text: Decision to Refuse Application

Patent event code: PX07011S01I

Patent event date: 20171212

Comment text: Amendment to Specification, etc.

Patent event code: PX07012R01I

X701 Decision to grant (after re-examination)
GRNT Written decision to grant
PR0701 Registration of establishment

Comment text: Registration of Establishment

Patent event date: 20180816

Patent event code: PR07011E01D

PR1002 Payment of registration fee

Payment date: 20180817

End annual number: 3

Start annual number: 1

PG1601 Publication of registration
PR1001 Payment of annual fee

Payment date: 20210722

Start annual number: 4

End annual number: 6

PR1001 Payment of annual fee

Payment date: 20240814

Start annual number: 7

End annual number: 9