KR20160042723A - 차량용 타프 - Google Patents
차량용 타프 Download PDFInfo
- Publication number
- KR20160042723A KR20160042723A KR1020140137061A KR20140137061A KR20160042723A KR 20160042723 A KR20160042723 A KR 20160042723A KR 1020140137061 A KR1020140137061 A KR 1020140137061A KR 20140137061 A KR20140137061 A KR 20140137061A KR 20160042723 A KR20160042723 A KR 20160042723A
- Authority
- KR
- South Korea
- Prior art keywords
- vehicle
- tarp
- structural profile
- tarpaulin
- tar
- Prior art date
- Legal status (The legal status is an assumption and is not a legal conclusion. Google has not performed a legal analysis and makes no representation as to the accuracy of the status listed.)
- Withdrawn
Links
Images
Classifications
-
- E—FIXED CONSTRUCTIONS
- E04—BUILDING
- E04H—BUILDINGS OR LIKE STRUCTURES FOR PARTICULAR PURPOSES; SWIMMING OR SPLASH BATHS OR POOLS; MASTS; FENCING; TENTS OR CANOPIES, IN GENERAL
- E04H15/00—Tents or canopies, in general
- E04H15/02—Tents combined or specially associated with other devices
- E04H15/06—Tents at least partially supported by vehicles
-
- E—FIXED CONSTRUCTIONS
- E04—BUILDING
- E04H—BUILDINGS OR LIKE STRUCTURES FOR PARTICULAR PURPOSES; SWIMMING OR SPLASH BATHS OR POOLS; MASTS; FENCING; TENTS OR CANOPIES, IN GENERAL
- E04H15/00—Tents or canopies, in general
- E04H15/32—Parts, components, construction details, accessories, interior equipment, specially adapted for tents, e.g. guy-line equipment, skirts, thresholds
- E04H15/54—Covers of tents or canopies
-
- E—FIXED CONSTRUCTIONS
- E04—BUILDING
- E04H—BUILDINGS OR LIKE STRUCTURES FOR PARTICULAR PURPOSES; SWIMMING OR SPLASH BATHS OR POOLS; MASTS; FENCING; TENTS OR CANOPIES, IN GENERAL
- E04H15/00—Tents or canopies, in general
- E04H15/32—Parts, components, construction details, accessories, interior equipment, specially adapted for tents, e.g. guy-line equipment, skirts, thresholds
- E04H15/60—Poles
Landscapes
- Engineering & Computer Science (AREA)
- Architecture (AREA)
- Civil Engineering (AREA)
- Structural Engineering (AREA)
- Tents Or Canopies (AREA)
Abstract
본 발명은 차량에 밀착 설치되어 그늘을 형성하는 차량용 타프에 관한 것이다. 더욱 상세하게는, 그늘을 형성하는 타프 천막; 차량 상부에 설치된 기구물; 상기 타프 천막 모서리와 결합하는 복수개의 수직 폴대;를 포함하여 구성되며, 상기 복수개의 수직 폴대 중의 한 개는 상기 기구물에 부착되는 (차량 상부) 수직 폴대인 것;을 특징으로 한다.
Description
본 발명은 차량용 타프(Tarp)에 관한 것이다. 보다 상세하게는 오토 캠핑(Auto-camping) 시 햇볕 이나 빗물을 막기 위하여 설치하는 타프 에 관한 것이다.
오토캠핑은 이름 그대로 차량과 함께하는 캠핑을 의미하는데, 종래에는 타프(Tarp)를 차량에서 멀리 떨어진 적당한 공간에 설치하는 것이 일반적이었다.
요즈음에는, 캠핑용 테이블, 캠핑용 의자, 아이스박스 등과 같은 다양종류의 캠핑 용품들을 많이 사용하므로, 멀리 이동 시 힘들고 불편하므로, 편의를 이유로 되도록이면 차량과 생활공간인 타프와의 거리를 좁히려는 노력이 다양하게 이루어 지고 있다.
종래기술로는 출원번호 : 20-2001-0032503 과 출원번호 : 20-2007-0015392 와 같은 차량용 어닝이 있다. 차량용 어닝은, 일반적으로 ( 어닝 천막을 수납하는 ) 어닝 본체가 차량에 장착되어 있고, 수납된 어닝 천막을 풀어 당겨서 그늘을 만들 수 있으므로 편리하다. 하지만, 어닝 천막과 구조물이 세트이기 때문에 천막이나 구조물의 손상 시 유지와 교체가 용이하지 않다
또한, 어닝의 높이가 차량에 장착된 어닝 본체의 높이, 즉 차량의 높이에 연동되고, 폭 또한 장착된 어닝 본체의 길이에 연동 될 수 밖에 없음으로, 비교적 낮은 높이와 좁은 폭의 공간 밖에 제공하지 못 한다.
또한 상기 차량용 어닝은 용마루가 없는 수평형으로 설치되어 우천시 중앙에 물고임 현상 등으로 고인 물의 무게로 구조물(수직 폴대)이 파손되거나, 좁고 낮은 어닝 영역으로 출입 시 고인 물이 쏟아져 물벼락을 맞거나, 바닥에서 튀긴 물이 어닝 안쪽으로 들이치는 문제점이 있다.
오토캠핑용 (대형)타프 혹은 미니 타프를 가지고 있는 경우 이를 활용할 방법이 없어 중복투자로 경제적이지 도 않다.
발명은 종래기술의 문제점을 해결하기 위하여 도출한 것으로서, 오토캠핑 시 차량에 인접하여 편리하게 타프를 설치할 수 있고, 유지 및 교체가 용이한 차량용 타프를 제공하는 것을 목적으로 한다. 그리고, 길이 연장 파이프를 통하여 넓은 공간의 그늘을 만들 수 있고, 차량 상부 수직 폴대를 이용하여 높은 천정고를 만들 수 있는 차량용 타프를 제공하고자 한다. 또한, 타프 천막에 용마루를 형성하여 우천시 중앙에 물고임 현상이 발생하지 않는 차량용 타프를 제공하는 것을 목적으로 한다.
이를 위해, 본 발명에 따른 차량용 타프는, 그늘을 형성하는 타프 천막;차량 상부에 설치된 기구물; 상기 타프 천막 모서리와 결합하는 복수개의 수직 폴대;를 포함하여 구성되며, 상기 복수개의 수직 폴대 중의 한 개는 상기 기구물에 부착되는 (차량 상부) 수직 폴대인 것;을 특징으로한다.
또한, 차량용 타프는, 그늘을 형성하는 타프 천막; 상기 타프 천막 모서리와 결합하는 복수개의 수직 폴대; 차량 상부에 설치된 기구물;
상기 기구물에 고정되는 구조 프로파일(100); 상기 구조 프로파일에 체결되는 (구조 프로파일) 길이 연장 파이프(200); 를 포함하여 구성되며, 상기 구조 프로파일(100)과 길이 연장 파이프(200) 결합물의 양 끝단을 이용하여 타프 천막의 결합구와 결합되는 것;을 특징으로 한다.
또한, 차량용 타프는, 그늘을 형성하는 타프 천막; 상기 타프 천막 모서리와 결합하는 복수개의 수직 폴대; 차량 상부에 설치된 기구물; 상기 기구물에 고정되는 구조 프로파일(100); 상기 구조 프로파일에 체결되는 (구조 프로파일) 길이 연장 파이프(200); 를 포함하여 구성되며, 상기 복수개의 수직 폴대 중의 한 개는 상기 기구물에 부착되는 (차량 상부) 수직 폴대 이고, 상기 구조 프로파일(100)과 길이 연장 파이프(200) 결합물의 양 끝단을 이용하여 타프 천막의 결합구와 결합되는 것;을 특징으로 한다.
이때, 상기 기구물은 레일바, 가로 바, 자석식 흡착기 혹은 진공식 흡착기 기구물 인 것;이 바람직하다.
또한, 상기 구조 프로파일(100)과 상기 길이 연장 파이프(200)는 힌지 또는 슬라이드 중 어느 하나의 방식으로 연결되는 것; 이 바람직하다.
또한, 상기 구조 프로파일(100)에는 공극이 존재하고, 상기 구조 프로파일(100) 일 측면에는 볼트의 머리가 삽입될 수 있는 슬릿이 있는 것;이 바람직 하다.
이때, 상기 프로파일의 공극은 “ㅇ” 형상의 단면, “ㅁ” 형상의 단면, “C” 형상의 단면, “다각형” 형상의 단면 또는 “타원” 형상의 단면 중 어느 하나인 것;이 바람직 하다.
본 발명에 따른 차량용 타프는, 오토캠핑 시 차량에 인접하여 편리하게 타프를 설치할 수 있고, 유지 및 교체가 용이한 차량용 타프가 제공되는 효과가 있다. 그리고, 길이 연장 파이프를 통하여 넓은 공간의 그늘을 만들 수 있고, 차량 상부 수직 폴대를 이용하여 높은 천정고를 만들 수 있는 차량용 타프 가 제공되는 효과가 있다. 또한, 타프 천막에 용마루를 형성하여 우천시 중앙에 물고임 현상이 발생하지 않는 차량용 타프 가 제공되는 효과가 있다.
도 1 은 본 발명으로 기 보유하고 있는 대형 타프를 설치한 실시예이다.
도 2 는 타프천(1000)과 수직 폴대 (500)의 결합을 설명하기 위한 도면이다.
도 3 은 본 발명의 수직 폴대 결합 블록(400)의 설명을 위한 도면이다.
도 4 는 본 발명으로 기 보유하고 있는 미니 타프를 설치한 실시예이다.
도 5 는 본 발명의 부품 중 구조 프로파일(100)의 단면 구조를 설명을 위한 도면이다.
도 6 은 본 발명의 구조 프로파일(100)과 길이 연장 파이프 (200)의 구성을 설명하기 위한 상세도 이다.
도 7 은 본 발명의 부품인 구조 프로파일(100)과 길이 연장 파이프 고정구(300)의 설명을 위한 도면이다.
도 8 은 본 발명이 차량에 적절한 장착 예를 설명하기 위한 도면이다.
도 9 는 본 발명으로 기 보유하고 있는 대형 타프를 설치한 또 다른 실시예이다.
도 10 은 본 발명으로 기 보유하고 있는 대형 타프를 설치한 또 다른 실시예이다.
도 11 은 본 발명으로 기 보유하고 있는 대형 타프를 설치한 또 다른 실시예이다.
도 12 은 본 발명의 구조 프로파일(100), 길이 연장 파이프 (200)와 수직 폴대 결합 블록(400)의 구성을 설명하기 위한 상세도 이다.
도 13 는 본 발명을 접철식으로 구현한 구성의 설명 도면이다.
도 14 은 본 발명의 구조 프로파일(100)의 단면 구조를 다양하게 변형한 예시 도면이다.
도 2 는 타프천(1000)과 수직 폴대 (500)의 결합을 설명하기 위한 도면이다.
도 3 은 본 발명의 수직 폴대 결합 블록(400)의 설명을 위한 도면이다.
도 4 는 본 발명으로 기 보유하고 있는 미니 타프를 설치한 실시예이다.
도 5 는 본 발명의 부품 중 구조 프로파일(100)의 단면 구조를 설명을 위한 도면이다.
도 6 은 본 발명의 구조 프로파일(100)과 길이 연장 파이프 (200)의 구성을 설명하기 위한 상세도 이다.
도 7 은 본 발명의 부품인 구조 프로파일(100)과 길이 연장 파이프 고정구(300)의 설명을 위한 도면이다.
도 8 은 본 발명이 차량에 적절한 장착 예를 설명하기 위한 도면이다.
도 9 는 본 발명으로 기 보유하고 있는 대형 타프를 설치한 또 다른 실시예이다.
도 10 은 본 발명으로 기 보유하고 있는 대형 타프를 설치한 또 다른 실시예이다.
도 11 은 본 발명으로 기 보유하고 있는 대형 타프를 설치한 또 다른 실시예이다.
도 12 은 본 발명의 구조 프로파일(100), 길이 연장 파이프 (200)와 수직 폴대 결합 블록(400)의 구성을 설명하기 위한 상세도 이다.
도 13 는 본 발명을 접철식으로 구현한 구성의 설명 도면이다.
도 14 은 본 발명의 구조 프로파일(100)의 단면 구조를 다양하게 변형한 예시 도면이다.
이하, 첨부된 도면을 참조하여 본 발명의 바람직한 실시예 들을 상세히 설명한다. 이때 첨부된 도면에서 동일한 구성요소는 가능한 동일한 부호로 나타내고 있음에 유의하여야 한다.
또한 이하에서 설명되는 본 명세서 및 청구범위에 사용된 용어나 단어는 통상적이거나 사전적인 의미로 한정해서 해석해서는 아니되며, 본 발명의 기술적 사상에 부합하는 의미와 개념으로 해석되어야만 한다. 그리고 본 발명의 요지를 불필요하게 흐릴 수 있다고 판단되는 공기구성 및 기능에 대한 상세한 설명을 생략한다.
본 발명의 핵심 개념은, 차량상부에 설치된 수직 폴대을 사용하여 차량에 인접하게 타프 천막을 설치하는 것이다. 또한 차량상부에 수평으로 설치되는 구조 프로파일을 사용하여서 차량에 인접하게 타프 천막을 설치하는 것이다
발명의 제1 실시예는 차량상부에 설치되는 수직 폴대를 사용하여 (차량에 인접하여) 타프 를 설치한 일 실시예이다. 이하, 도1 내지 도3 을 참조하여서 본 발명의 제1 실시예를 상세히 설명한다.
먼저 도1 을 참조하여, 본 발명에 따른 차량용 타프를 살펴보면, 그늘을 형성하는 타프 천막(1000), 차량상부에 설치된 수직 폴대 결합 블록(400), 상기 타프 천막(1000) 모서리와 결합하는 수직 폴대(500a) 내지 수직 폴대(500f)를 포함하여 구성된다.
여기서, 차량상부 수직 폴대(500e) 및 수직 폴대(500f) 와 결합된 타프 천막 부위는 나머지 수직 폴대(500a 내지 500d) 와 결합된 타프 천막 부위보다 높아서 용마루(1010)를 형성한다.
용마루가 없이 수평형으로 설치된 타프 천막의 경우는, 우천시 중앙에 물고임 현상 등으로 고인 물의 무게로 구조물(수직 폴대)이 파손되거나, 낮은 타프 천막 높이로 출입 시 고인 물이 쏟아져 물벼락을 맞거나, 바닥에서 튀긴 물이 타프 천막 안쪽으로 들이치는 문제점이 있었다.
그런데, 본 발명에 의하면 용마루(1010)가 형성되어 타프 천막이 전체적으로 경사를 형성함으로써 우천시 타프 천막에 물고임 현상이 없어진다. 따라서, 타프 천막 중앙에 물고임 현상 등으로 고인 물의 무게로 구조물(수직 폴대)이 파손되거나, 낮은 타프 천막 높이로 출입 시 고인 물이 쏟아져 물벼락을 맞거나, 바닥에서 튀긴 물이 타프 천막 안쪽으로 들이치는 문제점이 해결된다.
이하 도 2를 사용하여 수직 폴대(500a) 내지 수직 폴대(500f) 와 [ 이하 일반화 하여서 “수직 폴대(500)” 이라 칭함 ] 타프 천막(1000) 결합의 일 실시예를 상세히 설명한다.
수직 폴대(500) 상부에 있는 타프 고정용핀(510)을 타프 천막(1000) 모서리에 위치한 아일렛구멍(1020)에 끼운다. 그리고, 상기 타프 고정용핀(510)에 타프 고정용 스트링(1100)을 걸고, 상기 타프 천막(1000)을 지면에 펴 놓았을 때 타프 천막(1000) 외부의 지점에 타프 고정용 펙(peg)(1200)을 고정하여서, 수직 폴대(500)가 타프 천막(1000) 무게에 의하여 안쪽으로 무너지지 않게 설치한다. 차량상부 수직 폴대(500e)의 경우는, 펙(peg)을 사용하지 않고, 차량상부 수직 폴대(500e)가 설치되지 않은 타 레일바(900)에 스트링을 고정하여 사용할 수 있음은 물론이다.
이하, 도3 을 사용하여 차량상부에 설치된 기구물(400)과 차량상부 수직 폴대(500e) 결합방식의 일 실시예를 상세히 설명한다.
먼저, 수직 폴대 결합 블럭(400)을 차량 상부에 설치된 기구물인 레일바(900)에 고정한다. 상기 고정은, 상기 레일바(900)에 수직 폴대 결합 블럭(400)의 (한 측방에 위치한) 결합홈(410)을 넣고, 결합 고정 브라켓(440)과 결합 고정 볼트(430)를 사용하여서 달성한다. 이때, 결합홈은 수직 폴대 결합 블럭(400)의 하방에 위치할 수도 있다.
따라서 본 발명에 의하면, 다양한 크기의 타프 천막을 설치 할 수 있어 융통성 있는 크기의 휴식공간의 제공되며, 용마루(1010)가 있는 구조로 우천시 빗물 고임이 없어 더욱 쾌적한 사용이 가능하다.
이상 본 발명의 제1 실시예를 상세히 설명하였다.
발명의 제2 실시예는 차량상부에 구조 프로파일 고정하여, 차량에 인접하게 타프를 설치한 일 실시예이다.
이하 도4 를 참조하여, 본 발명에 따른 차량용 타프를 살펴보면, 차량용 타프는, 그늘을 형성하는 타프 천막(1000), 차량상부에 설치된 구조 프로파일(100) 과 길이 연장 파이프(200), 상기 타프 천막(1000) 모서리와 결합하는 수직 폴대(500b) 및 수직 폴대(500c)를 포함하여 구성된다.
이때, 지면에 설치된 수직 폴대(500b) 및 수직 폴대(500c)는, 상기 타프 천막(1000)을 지면에 펴 놓았을 때 타프 천막(1000) 외부의 지점에 타프 고정용 펙(peg)(1200)을 고정하여서, 수직 폴대(500)가 타프 천막(1000) 무게에 의하여 안쪽으로 무너지지 않게 설치한다.
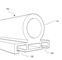
이하 도5 를 참조하여서, 본 발명에 따른 구조 프로파일(100)의 단면구조를 설명한다. 구조 프로파일(100)의 단면은, 원형 파이프 형상의 공극 레일(110)과 상기 공극 레일(110)의 외부 일측에 형성된 고정 볼트 홈(120) 두 개를 포함하여서 구성된다.
이하 도6 을 참조하여서, 본 발명에 따른 구조 프로파일(100)과 길이 연장 파이프(220)의 결합 방법에 대하여 설명한다. 구조 프로파일(100)의 공극 레일(110) 내부에 (상기 공극 레일 단면의 내부형상과 같고 외경이 작은) 길이 연장 파이프(200)를 수납할 수 있다. 그리고, 수납된 상기 길이 연장 파이프(200) 일부분을 빼내어, 길이 연장 파이프 고정구(300)로 상기 구조 프로파일(100)과 상기 길이 연장 파이프(200) 일측을 고정할 수 있다. 이상의 결과로, 구조 프로파일(100)과 길이 연장 파이프(200) 결합물의 길이는 조절될 수 있음은 당연하다.
또한 길이 연장파이프(200)의 타측 끝단에는, 길이 연장 파이프 종단 마개(210)를 구비한다. 이로써, 우천시 빗물이 길이 연장 파이프(200) 내부로 유입되는 것을 막을 수 있다. 그리고, 상기 연장 파이프 종단 마개(210)에 타프 고정용 고리(220)를 구비할 수 있다. 여기서, 타프 고정용 고리(220)는 종단마개의 어떤 위치에 존재 하여도 무방하다. 또한 상기 고리(220)는 핀 으로 구성할 수 있음은 당연하다.
이때 타프 천막은 구조 프로파일(100)과 길이 연장 파이프(200) 결합물의 종단에 있는 타프 고정용 고리(220)에 끈이나 비너를 이용하여 고정한다.
이하 도7 을 참조하여서, 길이 연장 파이프 고정구(300)에 대하여 설명한다. 상기 파이프 고정구(300)의 고정구 베이스(330) 일측이 구조 프로파일(100)에 (나사나 결합홈을 사용하여서) 결합된다. 그리고, 상기 고정구(300)는 고정쇠(310)를 구비하여서 길이 연장 파이프(200)의 외부를 넓은 면적으로 눌러서 잡는다. 또한, 고정쇠 누름나사(320)를 더 구비하여서, 상기 고정구(300)가 길이연장 파이프(200)를 고정하는 힘의 세기를 조절 한다.
이상에서 설명된, 길이 연장 파이프 고정구(300)는 길이 연장 파이프(200)를 안전하게 고정하는 한 예이다. 가장 간단한 길이 연장 파이프 고정구(300)는 [ 구조 프로파일(100)을 관통하는 ] 나사 한 개로 구성될 수 있음은 당연하다.
이하 도8 을 참조하여서, 본 발명에 따른 구조 프로파일(100)을 차량 상부에 설치된 레일바(900)에 고정하는 방법에 대하여 설명한다. 상기 구조 프로파일(100) 양끝단의 고정 볼트홈(120)에 4 개의 프로파일 고정 볼트(610) 머리를 슬라이드 시켜서 넣는다 그리고, 레일바(900)와 구조 프로파일(100)을 평행하게 위치시키고, 밀착 시킨다. 그러면, 도8 과 같이, 레일바(900)는 구조 프로파일(100) 끝단에 있는 두 개의 볼트 사이에 놓이게 된다. 그리고, 프로파일 고정용 "ㄷ"자 접철(600)을 상기 두 개의 볼트에 끼우고, 너트(620)을 이용하여 고정하여, 구조 프로파일 (100)을 차량 상부에 고정한다.
여기서, 수직 폴대(500b) 및 수직 폴대(500c)의 길이를 지면과 [ 길이연장 파이프 종단 마개(210) ] 설치된 ] 타프 고정용 고리(220) 사이의 거리 보다 작게하면, 타프 천막(1000)이 전반적으로 경사를 이루어서, 우천시 타프 전막에 빗물 고임이 개선됨은 당연하다.
본 실시예를 사용하면, 다양한 크기의 타프 천막을 설치 할 수 있어 융통성 있는 크기의 휴식공간의 제공이 가능하며, 최소한의 수직 폴대(500) 사용으로 보다 간편하고 빠르게 설치되는 차량용 타프가 개시된다.
이상 본 발명의 제2 실시예를 상세히 설명하였다
본 실시예는 앞서 상세히 설명한 제1 실시예 및 제2 실시예를 조합하여서 구성한 예이다. 이하, 도9 내지 도12 를 참조하여서 본 발명의 제3 실시예를 상세히 설명한다.
도9 는 제1 실시예에서 개시된 타프 천막의 용마루(1010)를 형성하는 차량상부 수직 폴대(500e) 와 수직 폴대(500f), 제2 실시예에서 개시된 한 개의 길이연장 파이프 일측에 결합되어 설치된 타프 고정용 고리(220) 및 수직 폴대(500a) 내지 수직 폴대(500c) 를 사용하여서 타프를 설치한 일 예이다.
도10 은 제1 실시예에서 개시된 타프천막의 용마루(1010)를 형성하는 차량상부 수직 폴대(500e) 와 수직 폴대(500f), 제2 실시예에서 개시된 두 개의 길이연장 파이프 양측에 각각 결합되어 설치된 타프 고정용 고리(220) 및 수직 폴대(500b) 내지 수직 폴대(500c) 를 사용하여서 타프를 설치한 일 예이다.
도11 은 제1 실시예에서 개시된 타프천막의 용마루(1010)를 형성하는 차량상부 수직 폴대(500e), 제2 실시예에서 개시된 한 개의 길이연장 파이프 일측에 결합되어 설치된 타프 고정용 고리(220) 및 수직 폴대(500a) 내지 수직 폴대(500c)를 사용하여 두 개의 용마루(1010a)(1010b)가 형성된다. 따라서, 우천 시 보다 배수 조건이 좋게되는 타프를 설치한 일 예이다.
이상 본 발명의 제3 실시예를 상세히 설명하였다.
본 발명을 제1 및 제3 실시예에서는 수직 폴대 결합 블록(400)이 차량의 상부에 설치된 레일바(900)에 고정되는 것으로 설명하였다. 그런데, 당업자는 (레일바와 레일바 사이를 연결하는) 가로 바에 수직 폴대 결합 블록(400)을 고정할 수 있음은 당업자에게는 당연하다. 또한, 차량상부에 자석식 흡착기 또는 진공식 흡착기를 설치하고 상기 흡착기에 수직 폴대 결합 블록(400)을 고정할 수 있음은 당업자에게는 당연하다.
또한, 차량상부에 자석식 흡착기 또는 진공식 흡착기를 설치하고 상기 흡착기에 구조 프로파일(100)을 고정할 수 있음은 당업자에게는 당연하다.
또한, 도 13과 같이 상기 구조 프로파일(100)과 상기 길이 연장 파이프(200)는 힌지로 연결할 수 있음은 당업자에게는 당연하다.
또한, 본 발명을 제1 내지 제3 실시예에서는 구조 프로파일(100)의 공극 레일(110) 단면의 내부형상이 원형인 것으로 설명하였다. 그러나, 도14 에 도시된 예처럼, 상기 공극 레일(110) 단면의 내부형상은 타원형, 다각형(삼각형, 사각형 등등)으로 변형 할 수 있음은 당업자에게는 당연하다.
이상, 본 발명에 대하여 그 바람직한 실시예를 살펴보았으나 이는 예시에 불과하며, 본 기술 분야의 통상적인 지식을 가진 자라면 이로부터 다양한 변형된 실시예가 가능함을 이해하여야 할 것이다. 그러므로 ,본 명세서와 도면에 개시된 본 발명의 실시예들은 본 발명의 기술내용을 쉽게 설명하고, 본 발명의 이해를 돕기 위해 특정 예를 제시한 것일 뿐이며, 본 발명의 범위를 한정 하는 것은 아니다.
100 : 구조 프로파일
110 : 프로파일 공극 레일
120 : 프로파일 고정 볼트 홈
200 : 길이 연장 파이프
210 : 길이 연장 파이프 종단 마개
220 : 타프 고정용 고리
300 : 길이 연장 파이프 고정구
310 : 길이 연장 파이프 고정쇠
320 : 길이 연장 파이프 고정쇠 누름 나사
330 : 길이 연장 파이프 고정구 기초
400 : 수직 폴대 결합 블록
410 : 수직 폴대 결합 블록 결합홈
420 : 수직 폴대 결합 블록 수직 폴대 결합구
430 : 수직 폴대 결합 고정 브라켓
440 : 수직 폴대 결합 고정 볼트
500 : 수직 폴대 ( 500a ~ 500f )
510 : 타프 고정용 핀
520 : 수직 폴대 결합 블록 결합부
600 : "ㄷ"자 접철
610 : 고정용 볼트
620 : 고정용 너트
900 : 차량 레일바
1000 : 타프 천막
1010 : 타프 용마루 ( 1010a ~ 1010b )
1020 : 타프 아일렛 구멍
1100: 타프 고정용 스트링
1200: 타프 고정용 펙
110 : 프로파일 공극 레일
120 : 프로파일 고정 볼트 홈
200 : 길이 연장 파이프
210 : 길이 연장 파이프 종단 마개
220 : 타프 고정용 고리
300 : 길이 연장 파이프 고정구
310 : 길이 연장 파이프 고정쇠
320 : 길이 연장 파이프 고정쇠 누름 나사
330 : 길이 연장 파이프 고정구 기초
400 : 수직 폴대 결합 블록
410 : 수직 폴대 결합 블록 결합홈
420 : 수직 폴대 결합 블록 수직 폴대 결합구
430 : 수직 폴대 결합 고정 브라켓
440 : 수직 폴대 결합 고정 볼트
500 : 수직 폴대 ( 500a ~ 500f )
510 : 타프 고정용 핀
520 : 수직 폴대 결합 블록 결합부
600 : "ㄷ"자 접철
610 : 고정용 볼트
620 : 고정용 너트
900 : 차량 레일바
1000 : 타프 천막
1010 : 타프 용마루 ( 1010a ~ 1010b )
1020 : 타프 아일렛 구멍
1100: 타프 고정용 스트링
1200: 타프 고정용 펙
Claims (7)
- 차량에 밀착 설치되어 그늘을 형성하는 차량용 타프에 있어서,
그늘을 형성하는 타프 천막;
차량 상부에 설치된 기구물;
상기 타프 천막 모서리와 결합하는 복수개의 수직 폴대;를 포함하여 구성되며,
상기 복수개의 수직 폴대 중의 한 개는 상기 기구물에 부착되는 (차량 상부) 수직 폴대인 것;을 특징으로 하는 차량용 타프
- 차량에 밀착 설치하여 그늘을 형성하는 차량용 타프에 있어서,
그늘을 형성하는 타프 천막;
상기 타프 천막 모서리와 결합하는 복수개의 수직 폴대;
차량 상부에 설치된 기구물;
상기 기구물에 고정되는 구조 프로파일;
상기 구조 프로파일에 체결되는 (구조 프로파일) 길이 연장 파이프; 를 포함하여 구성되며,
상기 구조 프로파일과 길이 연장 파이프 결합물의 양 끝단을 이용하여 타프 천막의 결합구와 결합되는 것;을 특징으로 하는 차량용 타프.
- 차량에 밀착 설치되어 그늘을 형성하는 차량용 타프에 있어서,
그늘을 형성하는 타프 천막;
상기 타프 천막 모서리와 결합하는 복수개의 수직 폴대;
차량 상부에 설치된 기구물;
상기 기구물에 고정되는 구조 프로파일;
상기 구조 프로파일에 체결되는 (구조 프로파일) 길이 연장 파이프; 를 포함하여 구성되며,
상기 복수개의 수직 폴대 중의 한 개는 상기 기구물에 부착되는 (차량 상부) 수직 폴대 이고, 상기 구조 프로파일과 길이 연장 파이프 결합물의 양 끝단을 이용하여 타프 천막의 결합구와 결합되는 것;을 특징으로 하는 차량용 타프.
- 제1 항 내지 제3 항 중 어느 한 항에 있어서,
상기 기구물은 레일바, 가로 바, 자석식 흡착기 혹은 진공식 흡착기 기구물 인 것;을 특징으로 하는 차량용 타프.
- 제1 항 내지 제3 항 중 어느 한 항에 있어서,
상기 구조 프로파일과 상기 길이 연장 파이프는 힌지 또는 슬라이드 중 어느 하나의 방식으로 연결되는 것; 특징으로 하는 차량용 타프. - 제1 항 내지 제3 항 중 어느 한 항에 있어서,
상기 구조 프로파일에는 공극이 존재하고, 상기 구조 프로파일 일 측면에는 볼트의 머리가 삽입될 수 있는 슬릿이 있는 것; 을 특징으로 차량용 타프
- 제6 항에 있어서, 상기 프로파일의 공극의 단면형상이 타원형의 단면, “C” 형상의 단면, “다각형” 형상의 단면 또는 “타원” 형상의 단면 중 어느 하나인 것;을 특징으로 하는 차량용 타프.
Priority Applications (1)
| Application Number | Priority Date | Filing Date | Title |
|---|---|---|---|
| KR1020140137061A KR20160042723A (ko) | 2014-10-11 | 2014-10-11 | 차량용 타프 |
Applications Claiming Priority (1)
| Application Number | Priority Date | Filing Date | Title |
|---|---|---|---|
| KR1020140137061A KR20160042723A (ko) | 2014-10-11 | 2014-10-11 | 차량용 타프 |
Publications (1)
| Publication Number | Publication Date |
|---|---|
| KR20160042723A true KR20160042723A (ko) | 2016-04-20 |
Family
ID=55917459
Family Applications (1)
| Application Number | Title | Priority Date | Filing Date |
|---|---|---|---|
| KR1020140137061A Withdrawn KR20160042723A (ko) | 2014-10-11 | 2014-10-11 | 차량용 타프 |
Country Status (1)
| Country | Link |
|---|---|
| KR (1) | KR20160042723A (ko) |
Cited By (9)
| Publication number | Priority date | Publication date | Assignee | Title |
|---|---|---|---|---|
| KR102299800B1 (ko) * | 2020-06-18 | 2021-09-08 | 송한수 | 차량용 어닝 장치 |
| KR200494358Y1 (ko) * | 2020-04-17 | 2021-09-27 | 송한수 | 차량용 접이식 어닝 프레임 |
| KR20220112970A (ko) | 2021-02-05 | 2022-08-12 | 박종훈 | 차량용 타프 거치대 |
| KR20220159600A (ko) | 2021-05-26 | 2022-12-05 | 박종훈 | 차량용 타프 설치구조 |
| KR102519392B1 (ko) | 2022-08-19 | 2023-04-10 | 권주현 | 차량 어닝용 코너스크린 |
| KR20240010882A (ko) * | 2022-07-18 | 2024-01-25 | 박민정 | 차량용 타프 고정장치 |
| KR20250061790A (ko) * | 2023-10-28 | 2025-05-08 | 이영운 | 설치가 간편한 탈부착형 차량용 그늘막 고정장치 |
| KR20250069062A (ko) | 2023-11-10 | 2025-05-19 | 박철웅 | 차량용 타프 |
| KR20250171951A (ko) | 2024-05-31 | 2025-12-09 | 박철웅 | 이동식 타프 및 윈드스크린 설치를 위한 프레임 구조체 |
-
2014
- 2014-10-11 KR KR1020140137061A patent/KR20160042723A/ko not_active Withdrawn
Cited By (9)
| Publication number | Priority date | Publication date | Assignee | Title |
|---|---|---|---|---|
| KR200494358Y1 (ko) * | 2020-04-17 | 2021-09-27 | 송한수 | 차량용 접이식 어닝 프레임 |
| KR102299800B1 (ko) * | 2020-06-18 | 2021-09-08 | 송한수 | 차량용 어닝 장치 |
| KR20220112970A (ko) | 2021-02-05 | 2022-08-12 | 박종훈 | 차량용 타프 거치대 |
| KR20220159600A (ko) | 2021-05-26 | 2022-12-05 | 박종훈 | 차량용 타프 설치구조 |
| KR20240010882A (ko) * | 2022-07-18 | 2024-01-25 | 박민정 | 차량용 타프 고정장치 |
| KR102519392B1 (ko) | 2022-08-19 | 2023-04-10 | 권주현 | 차량 어닝용 코너스크린 |
| KR20250061790A (ko) * | 2023-10-28 | 2025-05-08 | 이영운 | 설치가 간편한 탈부착형 차량용 그늘막 고정장치 |
| KR20250069062A (ko) | 2023-11-10 | 2025-05-19 | 박철웅 | 차량용 타프 |
| KR20250171951A (ko) | 2024-05-31 | 2025-12-09 | 박철웅 | 이동식 타프 및 윈드스크린 설치를 위한 프레임 구조체 |
Similar Documents
| Publication | Publication Date | Title |
|---|---|---|
| KR20160042723A (ko) | 차량용 타프 | |
| US9051756B1 (en) | Collapsible sunshade | |
| US20090056779A1 (en) | Auxiliary section for a canopy | |
| KR101705442B1 (ko) | 물고임 방지 하이돔 텐트 | |
| US20190112832A1 (en) | Modular canopy structures that can be fitted with a retractable roof, production methods, assembly methods and corresponding uses | |
| US20090020147A1 (en) | Support frame for tarpaulin used for sheltering boats and other objects | |
| US20110259768A1 (en) | Convertible shipping container | |
| US6454340B1 (en) | Collapsible top for child's vehicle, one-piece method of assembly and packaging design for storage and transport | |
| CN210264140U (zh) | 一种可折叠的帐篷支架及车顶帐篷 | |
| US20060180729A1 (en) | Leg support | |
| KR200471065Y1 (ko) | 가변 타프 | |
| US20020108647A1 (en) | Tent with awning | |
| KR200439508Y1 (ko) | 인삼밭용 지주대 | |
| US7866740B2 (en) | Roof frame and cover system for recreational vehicles | |
| KR20210135699A (ko) | 차량용 차양막 골조구조 | |
| KR20210002578U (ko) | 낚시용 수상좌대의 고정지지구 | |
| KR101742476B1 (ko) | 몽골텐트형 조립식 천막 | |
| CN204326694U (zh) | 便携式折叠遮篷 | |
| KR20140028486A (ko) | 다리기둥코너 십자피라미드 지붕형 캐노피 하우스의 구조 | |
| KR200314973Y1 (ko) | 텐트폴 커넥터 | |
| KR100725840B1 (ko) | 천막의 구조 | |
| US20140166062A1 (en) | Tent system and methods | |
| KR20100111450A (ko) | 휴대용 조립식 그늘막 | |
| KR20170095555A (ko) | 텐트 | |
| CN223151523U (zh) | 一种可折叠硬质雨棚单元及含该单元的雨棚装置 |
Legal Events
| Date | Code | Title | Description |
|---|---|---|---|
| PA0109 | Patent application |
Patent event code: PA01091R01D Comment text: Patent Application Patent event date: 20141011 |
|
| PG1501 | Laying open of application | ||
| PC1203 | Withdrawal of no request for examination | ||
| WITN | Application deemed withdrawn, e.g. because no request for examination was filed or no examination fee was paid |