KR20120121750A - 반도체 공정용 멀티 카트리지 타입 접합 강도 테스트 장치 - Google Patents

반도체 공정용 멀티 카트리지 타입 접합 강도 테스트 장치 Download PDF

Info

Publication number
KR20120121750A
KR20120121750A KR1020110039730A KR20110039730A KR20120121750A KR 20120121750 A KR20120121750 A KR 20120121750A KR 1020110039730 A KR1020110039730 A KR 1020110039730A KR 20110039730 A KR20110039730 A KR 20110039730A KR 20120121750 A KR20120121750 A KR 20120121750A
Authority
KR
South Korea
Prior art keywords
rod module
motor
rotation
shaft
moving
Prior art date
Legal status (The legal status is an assumption and is not a legal conclusion. Google has not performed a legal analysis and makes no representation as to the accuracy of the status listed.)
Ceased
Application number
KR1020110039730A
Other languages
English (en)
Inventor
임은재
Original Assignee
주식회사 씨이텍
Priority date (The priority date is an assumption and is not a legal conclusion. Google has not performed a legal analysis and makes no representation as to the accuracy of the date listed.)
Filing date
Publication date
Application filed by 주식회사 씨이텍 filed Critical 주식회사 씨이텍
Priority to KR1020110039730A priority Critical patent/KR20120121750A/ko
Publication of KR20120121750A publication Critical patent/KR20120121750A/ko
Ceased legal-status Critical Current

Links

Images

Classifications

    • GPHYSICS
    • G01MEASURING; TESTING
    • G01NINVESTIGATING OR ANALYSING MATERIALS BY DETERMINING THEIR CHEMICAL OR PHYSICAL PROPERTIES
    • G01N3/00Investigating strength properties of solid materials by application of mechanical stress
    • G01N3/08Investigating strength properties of solid materials by application of mechanical stress by applying steady tensile or compressive forces
    • G01N3/10Investigating strength properties of solid materials by application of mechanical stress by applying steady tensile or compressive forces generated by pneumatic or hydraulic pressure
    • GPHYSICS
    • G01MEASURING; TESTING
    • G01NINVESTIGATING OR ANALYSING MATERIALS BY DETERMINING THEIR CHEMICAL OR PHYSICAL PROPERTIES
    • G01N2203/00Investigating strength properties of solid materials by application of mechanical stress
    • G01N2203/02Details not specific for a particular testing method
    • G01N2203/026Specifications of the specimen
    • G01N2203/0262Shape of the specimen
    • G01N2203/0278Thin specimens
    • G01N2203/0282Two dimensional, e.g. tapes, webs, sheets, strips, disks or membranes

Landscapes

  • Physics & Mathematics (AREA)
  • Health & Medical Sciences (AREA)
  • Life Sciences & Earth Sciences (AREA)
  • Chemical & Material Sciences (AREA)
  • Analytical Chemistry (AREA)
  • Biochemistry (AREA)
  • General Health & Medical Sciences (AREA)
  • General Physics & Mathematics (AREA)
  • Immunology (AREA)
  • Pathology (AREA)
  • Investigating Strength Of Materials By Application Of Mechanical Stress (AREA)

Abstract

본 발명에 따른 반도체 공정용 멀티 카트리지 타입 접합 강도 테스트 장치는, 반도체 제조 공정에서 발생하는 접합 구조의 접합력을 시험하기 위한 장치로서, 몸체; 상기 몸체에 대해 회전 및 이동 가능하게 설치된 작업대; 및 상기 작업대의 상방에 배치되며, 상기 몸체에 대해 회전 가능하게 설치된 회전축에 고정되며, 그 회전축에 대해 수직인 방향으로 설치되고 서로 이격되게 배치된 복수의 로드 카트리지를 구비한 회전 로드 모듈;를 포함하며, 상기 회전 로드 모듈은, 상기 몸체에 결합되며 지면에 대해 수직인 방향으로 상기 몸체에 이동 가능하게 설치된 이동부재에 고정되며, 상기 이동부재를 이동시키기 위한 이동수단으로서, 상기 몸체에 고정된 제1모터; 및 상기 제1모터의 회전운동을 직선운동으로 변환하는 볼 스크루; 를 포함하며, 상기 이동부재를 상기 회전축에 대해 회전시키기 위한 회전수단으로서, 상기 이동부재에 고정된 제2모터; 및 상기 제2모터의 회전력을 상기 회전축에 전달하는 동력전달부재;를 포함한 것을 특징으로 한다.

Description

반도체 공정용 멀티 카트리지 타입 접합 강도 테스트 장치{A multi-cartridge type bonding test apparatus for semiconductor maufacturing process}
본 발명은 반도체 제조 공정에서 발생하는 다양한 형태의 본딩 구조의 접합 강도를 시험하기 위한 장치에 관한 것이다.
일반적으로, 반도체, 멤스(MEMS), 발광다이오드(LED) 등의 패키징 공정에서 제품의 품질은 이종 소자 간 회로를 구성하여 반도체로서의 기능을 하도록 해주는 접합(bonding) 공정이 중요하다. 반도체 패키징 공정에서 접합 공정은 일반적으로 금 와이어(gold wire) 또는 알루미늄 와이어(aluminum wire)가 접합 재료로 사용되고 있다. 반도체 패키징의 신뢰성은 반도체 칩을 인쇄회로기판(PCB) 위에 실장하고 접합하여 주는 접합 강도에 의해 좌우된다.
따라서, 모든 반도체 패키징 또는 발광다이오드 소자 패키징 공정에서는 생산 로트(lot)의 변경, 새로운 장비의 설치(setup) 또는 각종 자재 변경이 있는 경우에는 반드시 제품의 접합강도에 대한 신뢰성 시험을 수행하여야 한다.
종래의 반도체 패키징 또는 발광다이오드 소자 패키징 라인에서는 접합 강도 시험장치(bonding test apparatus)라는 장비를 통하여 접합강도를 시험하였다.
상기 접합 강도 시험장치를 사용하여 수행하는 시험은 예컨대, 본딩 와이어 당김 시험(wire pull test), 볼 전단 시험(ball shear test), 칩 전단 시험(die shear test), 외이어 벗김 테스트(wire peel test), 범프 당김 시험(bump pull test) 등이 있다.
그런데, 종래의 접합 강도 시험장치는 생산된 부품을 장비에 세팅하여 고정시킨 후 접합 강도 시험장치에 설치된 로드 카트리지(load cartridge) 또는 로드 모듈(load module)에 의해 시험하고자 하는 부위의 접합 강도를 시험하도록 구성되어 있다. 상기 로드 카트리지 또는 로드 모듈은 측정하고자 하는 접합 구조의 강도를 고려한 로드셀을 포함하고 있다. 상기 로드 모듈에 의해 측정되는 접합력의 크기는 본딩 구조에 따라 수 g 단위가 될 수도 있으며, 경우에 따라 수 kg 단위가 될 수도 있다. 그런데, 이와 같이 편차가 큰 접합력을 하나의 로드셀을 이용하여 측정하는 것은 불가능하다. 따라서, 상기 로드 카트리지는 측정하고자 하는 접합 구조에 따라 그 접합 구조에 상응하는 로드셀을 교환하여야 한다. 종래에는 수작업으로 각 로드셀을 상기 로드 카트리지나 로드 모듈에 교환작업을 수행하였다. 따라서, 접합 강도의 측정 작업이 번거롭고 로드셀을 교환한 후에는 캘리브레이션 등의 후속작업이 필요하므로 측정의 효율이 낮은 문제점이 있었다.
본 발명의 목적은 상기와 같은 문제점을 해소하기 위해 안출된 것으로서, 측정하고자 하는 접합 구조의 접합력의 차이가 크더라도 복수의 로드 카트리지를 구비한 하나의 회전 로드 모듈을 사용하여 접합 강도를 측정할 수 있도록 구조가 개선된 반도체 공정용 멀티 카트리지 타입 접합 강도 테스트 장치를 제공하는 데 있다.
상기와 같은 목적을 달성하기 위해 본 발명의 일 실시 예에 따른 반도체 공정용 멀티 카트리지 타입 접합 강도 테스트 장치는, 반도체 제조 공정에서 발생하는 접합 구조의 접합력을 시험하기 위한 장치로서,
몸체;
상기 몸체에 대해 회전 및 이동 가능하게 설치된 작업대; 및
상기 작업대의 상방에 배치되며, 상기 몸체에 대해 회전 가능하게 설치된 회전축에 고정되며, 그 회전축에 대해 수직인 방향으로 설치되고 서로 이격되게 배치된 복수의 로드 카트리지를 구비한 회전 로드 모듈;를 포함하며,
상기 회전 로드 모듈은, 상기 몸체에 결합되며 지면에 대해 수직인 방향으로 상기 몸체에 이동 가능하게 설치된 이동부재에 고정되며,
상기 이동부재를 이동시키기 위한 이동수단으로서,
상기 몸체에 고정된 제1모터; 및
상기 제1모터의 회전운동을 직선운동으로 변환하는 볼 스크루; 를 포함하며,
상기 이동부재를 상기 회전축에 대해 회전시키기 위한 회전수단으로서,
상기 이동부재에 고정된 제2모터; 및
상기 제2모터의 회전력을 상기 회전축에 전달하는 동력전달부재;를 포함한 점에 특징이 있다.
접합 강도 테스트 과정에서, 상기 회전 로드 모듈에 가해지는 외력에 대해 상기 회전축의 유동을 방지하기 위한 클램핑 수단으로서,
상기 회전축의 측방에 설치된 공압 실린더; 및
상기 공압 실린더의 신축에 의해 그 공압 실린더가 결합 또는 분리될 수 있도록 상기 회전축의 외주면으로부터 상기 회전축의 중심방향으로 오목하게 형성된 결합홈;을 구비하며,
상기 결합홈은 상기 회전 로드 모듈에 설치된 로드 카트리지 수 만큼 구비되고, 그 결합홈들은 상기 회전축 둘레를 따라 이격되도록 배치된 것이 바람직하다.
상기 회전 로드 모듈의 운동을 제어하는 조이스틱에 측정 스타트 버튼이 구비된 것이 바람직하다.
본 발명에 따른 반도체 공정용 멀티 카트리지 타입 접합 강도 테스트 장치는, 복수의 로드 카트리지를 구비하고 몸체에 대해 회전 가능하게 설치된 회전 로드 모듈에 의해 접합 강도가 서로 다른 접합 강도 시험을 매우 효율적으로 수행함으로써 작업시간을 단축하고, 작업자의 번거로움을 해소할 수 있는 효과를 제공한다.
도 1은 본 발명의 바람직한 실시 예에 따른 접합 강도 테스트 장치의 개략적 사시도이다.
도 2는 도 1에 도시된 강도 테스트 장치에서 회전 로드 모듈의 이동수단 및 회전수단을 설명하기 위한 도면이다.
도 3은 도 2에 도시된 Ⅲ-Ⅲ 선의 개략적 단면도로서 도 2에 도시된 이동부재의 이동구조를 설명하기 위한 도면이다.
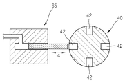
도 4는 도 2에 도시된 Ⅳ-Ⅳ 선의 개략적 단면도로서 도 2에 도시된 클램핑 수단의 작동구조를 설명하기 위한 도면이다.
이하, 본 발명에 따른 바람직한 일 실시 예를 첨부된 도면을 참조하여 상세히 설명한다.
도 1은 본 발명의 바람직한 실시 예에 따른 접합 강도 테스트 장치의 개략적 사시도이다. 도 2는 도 1에 도시된 강도 테스트 장치에서 회전 로드 모듈의 이동수단 및 회전수단을 설명하기 위한 도면이다. 도 3은 도 2에 도시된 Ⅲ-Ⅲ 선의 개략적 단면도로서 도 2에 도시된 이동부재의 이동구조를 설명하기 위한 도면이다. 도 4는 도 2에 도시된 Ⅳ-Ⅳ 선의 개략적 단면도로서 도 2에 도시된 클램핑 수단의 작동구조를 설명하기 위한 도면이다.
도 1 내지 도 4를 참조하면, 본 발명의 바람직한 실시 예에 따른 반도체 공정용 멀티 카트리지 타입 접합 강도 테스트 장치(10, 이하 "테스트 장치"라 함)는 반도체 제조 공정에서 발생하는 접합 구조의 접합력을 시험하기 위한 장치이다.
상기 테스트 장치(10)는 몸체(20)와, 작업대(30)와, 회전축(40)과, 회전 로드 모듈(50)을 포함하고 있다.
상기 몸체(20)는 상기 테스트 장치(10)의 프레임을 형성하고 있다. 상기 몸체(20)의 내부에는 여러 가지 구성요소를 수용할 수 있는 공간이 구비되어 있다.
상기 작업대(30)는 상기 몸체(20)에 대해 회전 및 이동 가능하게 설치되어 있다. 상기 작업대(30)는 시험하고자 하는 접합 구조물을 설치하는 장소이다. 상기 작업대(30)에는 예컨대, 반도체 칩의 와이어 본딩 강도를 시험하기 위해 반도체 칩을 설치할 수 있다.
상기 회전축(40)은 상기 몸체(20)에 대해 회전 가능하게 설치되어 있다. 상기 회전축(40)은 본 실시 예에서 상기 작업대(30)의 상방에 배치되어 있다. 상기 회전축(40)은 지면과 평행한 방향으로 길게 배치되어 있다. 상기 회전축(40)은 몸체(20)와 베어링과 같은 수단에 의해 회전가능하게 결합될 수 있다. 본 실시 예에서 상기 회전축(40)은 후술하는 이동부재(60)를 통하여 상기 몸체(20)에 결합되어 있다.
상기 회전 로드 모듈(50)은 상기 작업대의 상방에 배치되어 있다. 상기 회전 로드 모듈(50)은 상기 회전축(40)의 단부에 고정되어 있다. 따라서, 상기 회전 로드 모듈(50)은 상기 회전축(40)과 일체로 회전한다. 도 1에 표시된 화살표 a로 표시된 방향으로 상기 회전 로드 모듈(50)이 회전한다. 상기 회전 로드 모듈(50)은 복수의 로드 카트리지(52)를 구비하고 있다. 상기 로드 카트리지(52)들은 상기 회전축(40)에 대해 수직인 방향으로 설치되어 있다. 또한, 상기 로드 카트리지(52)들은 서로 이격되게 배치되어 있다. 본 실시 예에서는 상기 로드 카트리지(52)는 4개가 마련되어 있으며, 상기 회전축(40)의 둘레를 따라 90°간격으로 배치되어 있다.
상기 회전 로드 모듈(50)은 이동부재(60)에 회전 가능하게 결합되어 있다. 또한, 상기 이동부재(60)는 상기 몸체(20)에 대해 지면과 수직인 방향으로 이동가능하게 설치되어 있다. 상기 이동부재(60)는 이동수단에 의해 상기 몸체(20)에 대해 수직 방향으로 이동 가능하다. 상기 이동부재(60)의 이동방향은 도 2 및 도 3에 표시된 화살표 b 방향으로 이동가능하다.
상기 이동수단은 제1모터(62)와 볼 스크루(64)를 포함하고 있다.
상기 제1모터(62)는 상기 몸체(20)에 몸체(20)에 고정되어 있다. 상기 제1모터(62)의 출력축은 상기 이동부재(60)의 이동방향으로 길게 배치되어 있다.
상기 볼 스크루는 상기 이동부재(60)의 이동방향으로 길게 배치되어 있다. 상기 볼 스크루(64)는 상기 제1모터(62)의 회전운동을 상기 이동부재(60)의 직선운동으로 변환시키는 부재이다. 본 발명이 속하는 분야에서 통상의 지식을 가진 자라면 모터와 볼 스크루를 이용하여 상기 이동부재(60)를 상기 몸체(20)에 대해 상하 방향으로 이동시키는 구성은 도 2를 참조하여 용이하게 이해할 수 있을 것이다.
상기 이동부재(60)를 상기 회전축(40)에 대해 회전시키기 위한 회전수단이 마련되어 있다.
상기 회전수단은 제2모터(70)와 동력전달부재(72)를 포함하고 있다. 상기 제2모터(70)는 상기 이동부재(60)에 고정되어 있다. 상기 제2모터(70)의 출력축의 방향은 상기 회전축(40)과 평행한 방향으로 배치되어 있다. 상기 동력전달부재(72)는 상기 제2모터(70)의 회전력을 상기 회전축(40)에 전달하는 부재이다. 본 실시 예에서 상기 동력전달부재(72)는 벨트가 채용되었다. 상기 동력전달부재(72)는 벨트 이외에도 예컨대 체인이나 기어와 같은 다른 부재가 채용될 수 있음은 자명하다.
상기 테스트 장치(10)는, 접합 강도 테스트 과정에서, 상기 회전 로드 모듈(50)에 가해지는 외력에 대해 상기 회전축(40)의 유동을 방지하기 위한 클램핑 수단을 구비하고 있다.
상기 클램핑 수단은 공압 실린더(65)와, 결합홈(42)을 포함하고 있다.
상기 공압 실린더(65)는 상기 이동부재(60)에 결합되어 있다. 상기 공압 실린더(65)의 출력축은 상기 회전축(40)의 측방에 설치되어 있다. 상기 공압 실린더(65)의 출력축은 상기 회전축(40)의 폭 방향으로 출몰 가능하게 설치되어 있다. 도 2 내지 도 4에 표시된 화살표 c 방향으로 상기 공압 실린더(65)의 출력축이 신축 가능하도록 배치되어 있다.
상기 결합홈(42)은 상기 회전축(40)의 둘레 방향을 따라 서로 이격되도록 복수 배치되어 있다. 상기 결합홈(42)은 상기 회전축(40)의 외주면으로부터 상기 회전축(40)의 중심방향으로 오목하게 형성된 홈이다. 상기 결합홈(42)은 본 실시 예에서 4개가 마련되어 있으며, 상기 회전축(40)의 둘레를 따라 90°간격으로 배치되어 있다. 상기 결합홈(42)은 상기 공압 실린더(65)의 신축에 의해 그 공압 실린더(65)의 출력축과 결합 또는 분리될 수 있다. 상기 결합홈(42)은 상기 회전 로드 모듈(50)에 설치된 로드 카트리지(52) 수 만큼 구비되는 것이 바람직하다.
상기 테스트 장치(10)는 상기 회전 로드 모듈(50)의 운동을 제어하는 조이스틱에 측정 스타트 버튼(77)이 구비되어 있다.
상기 테스트 장치(10)는 상술한 구성요소 이외에도 작업대에 설치된 시험 샘플을 확대하여 관찰할 수 있는 현미경(80)을 포함하고 있다. 상기 테스트 장치(10)는 상기 작업대(30)에 설치된 시험 샘플을 조명하기 위한 조명기구(82)가 설치되어 있다. 상기 테스트 장치(10)는 상기 작업대(30)에 설치된 시험샘플을 상기 회전 로드 모듈(50)에 설치된 로드 카트리지(52)를 사용하여 시험한 측정값을 디스플레이하는 출력장치(86)를 구비하고 있다. 상기 테스트 장치(10)는 그 밖에 상기 로드 카트리지(52)를 보정하거나 측정된 값을 저장 또는 데이터 처리하기 위한 명령어를 입력하기 위한 키보드(84)를 구비하고 있다.
이하에서는, 본 발명에 따른 테스트 장치(10)의 작용효과를 상세하게 서술하도록 한다.
상기 테스트 장치(10)의 작용효과를 설명하기 위해 반도체 칩의 와이어 본딩 강도를 측정하는 경우를 예로 들기로 한다.
먼저, 측정하고자 하는 반도체 칩을 상기 작업대(30)에 고정한다. 그리고, 상기 회전 로드 모듈(50)에 설치된 로드 카트리지(52) 중 상기 반도체 칩의 와이어 본딩 강도를 측정하기에 적절한 로드 카트리지(52)가 상기 작업대(30) 방향으로 이동하도록 한다. 이 과정을 더욱 상세하게 설명한다. 먼저, 키보드(84)나 조이스틱(75)을 사용하여 상기 몸체(20) 내에 설치된 제어장치(미도시)를 통해 상기 제2모터(70)를 회전시킨다. 상기 제2모터(70)가 회전하면 상기 동력전달부재(72)인 벨트가 그 제2모터(70)의 회전력을 상기 회전축(40)에 전달한다. 따라서, 상기 회전축(40)이 회전한다. 상기 회전축(40)이 회전함에 따라 그 회전축(40)의 단부에 고정된 상기 회전 로드 모듈(50)이 회전한다. 상기 회전 로드 모듈(50)이 회전함에 따라 그 회전 로드 모듈(50)에 설치된 로드 카트리지(52)가 상기 회전축(40)의 둘레 방향으로 회전한다. 이와 같은 회전에 의해 상기 작업대(30)에 고정된 반도체 칩의 와이어 본딩 강도를 측정하기에 알맞은 로드 카트리지(52)를 효과적으로 선택할 수 있다. 측정하기에 적절한 로드 카트리지(52)가 선택한 다음에, 키보드(84)나 조이스틱(75)을 사용하여 상기 제1모터(62)를 구동한다. 상기 제1모터(62)가 구동함에 따라 상기 볼 스크루(64)를 통해 상기 이동부재(60)가 상기 몸체(20)에 대해 상하 방향으로 이동한다. 이와 같이 상기 이동부재(60)의 위치를 조정하여 상기 작업대(30)에 고정된 반도체 칩의 와이어에 상기 로드 카트리지(52)를 연결한다. 그리고, 상기 회전 로드 모듈(50)을 원하는 위치에 배치한 상태에서 상기 공압 실린더(65)에 공기를 공급함으로써 그 공압 실린더(65)의 출력축이 상기 결합홈(42)에 결합되도록 한다. 상기 공압 실린더(65)의 출력축과 상기 결합홈(42)이 결합함으로써 상기 회전축(40)을 견고하게 지지하므로 그 회전축(40)이 상기 작업대(30)에 고정된 반도체 칩의 본딩 와이어 접합 강도를 측정하는 과정에서 상기 회전축(40)의 유동을 방지하는 효과가 있다.
그리고, 상기 조이스틱(75)에 설치된 스타트 버튼(77)을 누름으로써 즉시 와이어 본딩 강도를 측정할 수 있다. 와이어 본딩 강도는 상기 작업대(30)가 승강하도록 함으로써 측정될 수도 있으며, 상기 작업대는 고정시키고 상기 이동부재를 상하로 이동함으로써 측정될 수도 있다.
이와 같이 본 발명에 따른 테스트 장치(10)는 복수의 로드 카트리지를 구비하고 몸체에 대해 회전 가능하게 설치된 회전 로드 모듈에 의해 접합 강도가 서로 다른 접합 강도 시험을 매우 효율적으로 수행함으로써 작업시간을 단축하고, 작업자의 번거로움을 해소할 수 있는 효과를 제공한다. 또한, 본 발명의 바람직한 실시 예와 같이 상기 조이스틱에 스타트 버튼이 구비되면 측정 위치를 설정한 다음 즉시 테스트를 수행할 수 있으므로 작업 효율이 더욱 향상되는 효과가 있다.
이상, 바람직한 실시 예를 들어 본 발명에 대해 설명하였으나, 본 발명이 그러한 예에 의해 한정되는 것은 아니며, 본 발명의 기술적 사상을 벗어나지 않는 범주 내에서 다양한 형태의 실시 예가 구체화될 수 있을 것이다.
10 : 반도체 공정용 멀티 카트리지 타입 접합 강도 테스트 장치
20 : 몸체 30 : 작업대
40 : 회전축 42 : 결합홈
50 : 회전 로드 모듈 52 : 로드 카트리지
60 : 이동부재 62 : 제1모터
64 : 볼 스크루 65 : 공압 실린더
70 : 제2모터 72 : 동력전달부재
75 : 조이스틱 77 : 스타트 버튼
80 : 현미경 82 : 조명기구
84 : 키보드 86 : 출력장치
a : 회전 로드 모듈의 회전방향 b : 이동부재의 이동방향
c : 공압 실린더 출력축의 이동방향

Claims (3)

  1. 반도체 제조 공정에서 발생하는 접합 구조의 접합력을 시험하기 위한 장치로서,
    몸체;
    상기 몸체에 대해 회전 및 이동 가능하게 설치된 작업대; 및
    상기 작업대의 상방에 배치되며, 상기 몸체에 대해 회전 가능하게 설치된 회전축에 고정되며, 그 회전축에 대해 수직인 방향으로 설치되고 서로 이격되게 배치된 복수의 로드 카트리지를 구비한 회전 로드 모듈;를 포함하며,
    상기 회전 로드 모듈은, 상기 몸체에 결합되며 지면에 대해 수직인 방향으로 상기 몸체에 이동 가능하게 설치된 이동부재에 고정되며,
    상기 이동부재를 이동시키기 위한 이동수단으로서,
    상기 몸체에 고정된 제1모터; 및
    상기 제1모터의 회전운동을 직선운동으로 변환하는 볼 스크루; 를 포함하며,
    상기 이동부재를 상기 회전축에 대해 회전시키기 위한 회전수단으로서,
    상기 이동부재에 고정된 제2모터; 및
    상기 제2모터의 회전력을 상기 회전축에 전달하는 동력전달부재;를 포함한 것을 특징으로 하는 반도체 공정용 멀티 카트리지 타입 접합 강도 테스트 장치.
  2. 제1항에 있어서,
    접합 강도 테스트 과정에서, 상기 회전 로드 모듈에 가해지는 외력에 대해 상기 회전축의 유동을 방지하기 위한 클램핑 수단으로서,
    상기 회전축의 측방에 설치된 공압 실린더; 및
    상기 공압 실린더의 신축에 의해 그 공압 실린더가 결합 또는 분리될 수 있도록 상기 회전축의 외주면으로부터 상기 회전축의 중심방향으로 오목하게 형성된 결합홈;을 구비하며,
    상기 결합홈은 상기 회전 로드 모듈에 설치된 로드 카트리지 수 만큼 구비되고, 그 결합홈들은 상기 회전축 둘레를 따라 이격되도록 배치된 것을 특징으로 하는 반도체 공정용 멀티 카트리지 타입 접합 강도 테스트 장치.
  3. 제1항에 있어서,
    상기 회전 로드 모듈의 운동을 제어하는 조이스틱에 측정 스타트 버튼이 구비된 것을 특징으로 하는 반도체 공정용 멀티 카트리지 타입 접합 강도 테스트 장치.
KR1020110039730A 2011-04-27 2011-04-27 반도체 공정용 멀티 카트리지 타입 접합 강도 테스트 장치 Ceased KR20120121750A (ko)

Priority Applications (1)

Application Number Priority Date Filing Date Title
KR1020110039730A KR20120121750A (ko) 2011-04-27 2011-04-27 반도체 공정용 멀티 카트리지 타입 접합 강도 테스트 장치

Applications Claiming Priority (1)

Application Number Priority Date Filing Date Title
KR1020110039730A KR20120121750A (ko) 2011-04-27 2011-04-27 반도체 공정용 멀티 카트리지 타입 접합 강도 테스트 장치

Publications (1)

Publication Number Publication Date
KR20120121750A true KR20120121750A (ko) 2012-11-06

Family

ID=47508153

Family Applications (1)

Application Number Title Priority Date Filing Date
KR1020110039730A Ceased KR20120121750A (ko) 2011-04-27 2011-04-27 반도체 공정용 멀티 카트리지 타입 접합 강도 테스트 장치

Country Status (1)

Country Link
KR (1) KR20120121750A (ko)

Cited By (3)

* Cited by examiner, † Cited by third party
Publication number Priority date Publication date Assignee Title
KR101446959B1 (ko) * 2013-06-28 2014-10-07 앰코 테크놀로지 코리아 주식회사 반도체용 패키지리드의 전단력 시험장치
CN104280336A (zh) * 2013-07-03 2015-01-14 诺信公司 结合测试机和包括多个测试工具的结合测试机的夹头
CN110631894A (zh) * 2019-10-25 2019-12-31 深圳市德瑞茵精密科技有限公司 一种多功能键合点测试装置

Cited By (4)

* Cited by examiner, † Cited by third party
Publication number Priority date Publication date Assignee Title
KR101446959B1 (ko) * 2013-06-28 2014-10-07 앰코 테크놀로지 코리아 주식회사 반도체용 패키지리드의 전단력 시험장치
CN104280336A (zh) * 2013-07-03 2015-01-14 诺信公司 结合测试机和包括多个测试工具的结合测试机的夹头
JP2015014603A (ja) * 2013-07-03 2015-01-22 ノードソン コーポレーションNordson Corporation ボンド試験機及び複数の試験ツールを含むボンド試験機のためのカートリッジ
CN110631894A (zh) * 2019-10-25 2019-12-31 深圳市德瑞茵精密科技有限公司 一种多功能键合点测试装置

Similar Documents

Publication Publication Date Title
CN1113404C (zh) 自动检测仪的装置
KR101670762B1 (ko) 휴대용 시험장치
JP6326676B2 (ja) ボンド試験機及び複数の試験ツールを含むボンド試験機のためのカートリッジ
KR100363762B1 (ko) 자동 테스트 장비용 인터페이스 장치
KR20210052529A (ko) 순응형 다이 부착 툴, 다이 부착 시스템 및 이를 사용하는 방법
KR20120121750A (ko) 반도체 공정용 멀티 카트리지 타입 접합 강도 테스트 장치
CN113253100B (zh) 一种测试装置和检测系统
JP2021009115A (ja) 内径測定装置
KR101174478B1 (ko) 로테이팅 멀티 카트리지 클램핑 수단이 구비된 반도체 공정용 접합 강도 테스트 장치
KR100311751B1 (ko) 기계식과 유압식을 복합 채용한 다수 시료용 병렬 인장시험기
CN105866027A (zh) 一种饰面砖粘结强度检测仪自动校准装置
KR100901996B1 (ko) 테스트 소켓 내구성 시험 장치
TWI729044B (zh) 移動感測器座標檢測系統
CN206020607U (zh) 一种pcba板的测试装置
JP6928565B2 (ja) 一体型照明システムを有する結合部試験装置及び結合部試験カートリッジ
KR101807628B1 (ko) 너트 검사장치
KR100952896B1 (ko) 엘이디 검사장비의 웨이퍼 스테이지의 그립퍼
CN104880371B (zh) 全自动多功能三轴卡盘
CN109186522B (zh) 一种用于配合件真圆度的检测设备及其使用方法
CN216899554U (zh) Led测试治具
KR101536425B1 (ko) 모터코어의 접착력 측정장치 및 측정방법
JP2003057151A (ja) 転がり軸受用保持器の疲労試験装置
CN208283038U (zh) 发光组件检测设备
CN108955533A (zh) 组装机用的高度检查装置及组装机
CN208155572U (zh) 织带调整器自动检测机

Legal Events

Date Code Title Description
A201 Request for examination
PA0109 Patent application

St.27 status event code: A-0-1-A10-A12-nap-PA0109

PA0201 Request for examination

St.27 status event code: A-1-2-D10-D11-exm-PA0201

E902 Notification of reason for refusal
PE0902 Notice of grounds for rejection

St.27 status event code: A-1-2-D10-D21-exm-PE0902

E601 Decision to refuse application
PE0601 Decision on rejection of patent

St.27 status event code: N-2-6-B10-B15-exm-PE0601

PN2301 Change of applicant

St.27 status event code: A-3-3-R10-R13-asn-PN2301

St.27 status event code: A-3-3-R10-R11-asn-PN2301

PG1501 Laying open of application

St.27 status event code: A-1-1-Q10-Q12-nap-PG1501

P22-X000 Classification modified

St.27 status event code: A-2-2-P10-P22-nap-X000

PN2301 Change of applicant

St.27 status event code: A-3-3-R10-R13-asn-PN2301

St.27 status event code: A-3-3-R10-R11-asn-PN2301

R18-X000 Changes to party contact information recorded

St.27 status event code: A-3-3-R10-R18-oth-X000

R18-X000 Changes to party contact information recorded

St.27 status event code: A-3-3-R10-R18-oth-X000

R18-X000 Changes to party contact information recorded

St.27 status event code: A-3-3-R10-R18-oth-X000

R18-X000 Changes to party contact information recorded

St.27 status event code: A-3-3-R10-R18-oth-X000

P22-X000 Classification modified

St.27 status event code: A-2-2-P10-P22-nap-X000