KR20120115233A - 레코드 포맷 정보의 관리 - Google Patents
레코드 포맷 정보의 관리 Download PDFInfo
- Publication number
- KR20120115233A KR20120115233A KR1020127013690A KR20127013690A KR20120115233A KR 20120115233 A KR20120115233 A KR 20120115233A KR 1020127013690 A KR1020127013690 A KR 1020127013690A KR 20127013690 A KR20127013690 A KR 20127013690A KR 20120115233 A KR20120115233 A KR 20120115233A
- Authority
- KR
- South Korea
- Prior art keywords
- data
- record format
- format
- record
- records
- Prior art date
- Legal status (The legal status is an assumption and is not a legal conclusion. Google has not performed a legal analysis and makes no representation as to the accuracy of the status listed.)
- Ceased
Links
Images
Classifications
-
- G—PHYSICS
- G06—COMPUTING OR CALCULATING; COUNTING
- G06F—ELECTRIC DIGITAL DATA PROCESSING
- G06F16/00—Information retrieval; Database structures therefor; File system structures therefor
- G06F16/20—Information retrieval; Database structures therefor; File system structures therefor of structured data, e.g. relational data
- G06F16/23—Updating
- G06F16/2365—Ensuring data consistency and integrity
Landscapes
- Engineering & Computer Science (AREA)
- Theoretical Computer Science (AREA)
- Computer Security & Cryptography (AREA)
- Data Mining & Analysis (AREA)
- Databases & Information Systems (AREA)
- Physics & Mathematics (AREA)
- General Engineering & Computer Science (AREA)
- General Physics & Mathematics (AREA)
- Information Retrieval, Db Structures And Fs Structures Therefor (AREA)
Applications Claiming Priority (2)
| Application Number | Priority Date | Filing Date | Title |
|---|---|---|---|
| US26099709P | 2009-11-13 | 2009-11-13 | |
| US61/260,997 | 2009-11-13 |
Related Child Applications (2)
| Application Number | Title | Priority Date | Filing Date |
|---|---|---|---|
| KR1020167033559A Division KR101755365B1 (ko) | 2009-11-13 | 2010-11-12 | 레코드 포맷 정보의 관리 |
| KR20157008411A Division KR20150042877A (ko) | 2009-11-13 | 2010-11-12 | 레코드 포맷 정보의 관리 |
Publications (1)
| Publication Number | Publication Date |
|---|---|
| KR20120115233A true KR20120115233A (ko) | 2012-10-17 |
Family
ID=43992063
Family Applications (3)
| Application Number | Title | Priority Date | Filing Date |
|---|---|---|---|
| KR1020127013690A Ceased KR20120115233A (ko) | 2009-11-13 | 2010-11-12 | 레코드 포맷 정보의 관리 |
| KR1020167033559A Active KR101755365B1 (ko) | 2009-11-13 | 2010-11-12 | 레코드 포맷 정보의 관리 |
| KR20157008411A Withdrawn KR20150042877A (ko) | 2009-11-13 | 2010-11-12 | 레코드 포맷 정보의 관리 |
Family Applications After (2)
| Application Number | Title | Priority Date | Filing Date |
|---|---|---|---|
| KR1020167033559A Active KR101755365B1 (ko) | 2009-11-13 | 2010-11-12 | 레코드 포맷 정보의 관리 |
| KR20157008411A Withdrawn KR20150042877A (ko) | 2009-11-13 | 2010-11-12 | 레코드 포맷 정보의 관리 |
Country Status (8)
| Country | Link |
|---|---|
| US (1) | US10445309B2 (enExample) |
| EP (1) | EP2499565B1 (enExample) |
| JP (1) | JP5690349B2 (enExample) |
| KR (3) | KR20120115233A (enExample) |
| CN (1) | CN102713834B (enExample) |
| AU (1) | AU2010319344B2 (enExample) |
| CA (1) | CA2779087C (enExample) |
| WO (1) | WO2011060257A1 (enExample) |
Families Citing this family (62)
| Publication number | Priority date | Publication date | Assignee | Title |
|---|---|---|---|---|
| US8868580B2 (en) | 2003-09-15 | 2014-10-21 | Ab Initio Technology Llc | Data profiling |
| KR101693229B1 (ko) | 2009-02-13 | 2017-01-05 | 아브 이니티오 테크놀로지 엘엘시 | 데이터 저장 시스템과의 통신 |
| KR101862235B1 (ko) | 2009-12-14 | 2018-05-29 | 아브 이니티오 테크놀로지 엘엘시 | 사용자 인터페이스 요소 지정 |
| US9031957B2 (en) | 2010-10-08 | 2015-05-12 | Salesforce.Com, Inc. | Structured data in a business networking feed |
| KR101889120B1 (ko) * | 2011-01-28 | 2018-08-16 | 아브 이니티오 테크놀로지 엘엘시 | 데이터 패턴 정보 생성 |
| JP5838871B2 (ja) * | 2012-03-14 | 2016-01-06 | 富士通株式会社 | データ解析装置、データ分割装置、データ解析方法、データ分割方法、データ解析プログラム、及びデータ分割プログラム |
| US10489360B2 (en) | 2012-10-17 | 2019-11-26 | Ab Initio Technology Llc | Specifying and applying rules to data |
| US9323748B2 (en) | 2012-10-22 | 2016-04-26 | Ab Initio Technology Llc | Profiling data with location information |
| US9892026B2 (en) | 2013-02-01 | 2018-02-13 | Ab Initio Technology Llc | Data records selection |
| US9811233B2 (en) | 2013-02-12 | 2017-11-07 | Ab Initio Technology Llc | Building applications for configuring processes |
| US9268801B2 (en) * | 2013-03-11 | 2016-02-23 | Business Objects Software Ltd. | Automatic file structure and field data type detection |
| US10803102B1 (en) * | 2013-04-30 | 2020-10-13 | Walmart Apollo, Llc | Methods and systems for comparing customer records |
| US9355136B2 (en) * | 2013-05-06 | 2016-05-31 | International Business Machines Corporation | Automating generation of messages in accordance with a standard |
| US9588956B2 (en) | 2013-07-12 | 2017-03-07 | Ab Initio Technology Llc | Parser generation |
| US11487732B2 (en) | 2014-01-16 | 2022-11-01 | Ab Initio Technology Llc | Database key identification |
| EP3114578A1 (en) | 2014-03-07 | 2017-01-11 | AB Initio Technology LLC | Managing data profiling operations related to data type |
| CN104008158A (zh) * | 2014-05-27 | 2014-08-27 | 青岛海信移动通信技术股份有限公司 | 数据校验方法、校验装置及移动终端 |
| US9501570B2 (en) * | 2014-07-14 | 2016-11-22 | Verizon Patent And Licensing Inc. | Dynamic routing system |
| EP3690637A1 (en) | 2014-07-18 | 2020-08-05 | AB Initio Technology LLC | Managing parameter sets |
| JP6511518B2 (ja) | 2014-10-20 | 2019-05-15 | アビニシオ テクノロジー エルエルシー | ルールの規定及びデータへの適用 |
| CN104408104B (zh) * | 2014-11-20 | 2017-12-29 | 许继电气股份有限公司 | 一种智能变电站网络数据通信方法 |
| CN104850590A (zh) * | 2015-04-24 | 2015-08-19 | 百度在线网络技术(北京)有限公司 | 一种生成结构化数据的元数据的方法与装置 |
| US10248720B1 (en) | 2015-07-16 | 2019-04-02 | Tableau Software, Inc. | Systems and methods for preparing raw data for use in data visualizations |
| JP6893209B2 (ja) * | 2015-10-30 | 2021-06-23 | アクシオム コーポレーション | 構造化されたマルチフィールドファイルのレイアウトの自動解釈 |
| US9372881B1 (en) * | 2015-12-29 | 2016-06-21 | International Business Machines Corporation | System for identifying a correspondence between a COBOL copybook or PL/1 include file and a VSAM or sequential dataset |
| EP3475857A1 (en) * | 2016-06-23 | 2019-05-01 | Koninklijke Philips N.V. | Facilitated structured measurement management tool progress and compliance analytics solution |
| US10484382B2 (en) | 2016-08-31 | 2019-11-19 | Oracle International Corporation | Data management for a multi-tenant identity cloud service |
| US10594684B2 (en) | 2016-09-14 | 2020-03-17 | Oracle International Corporation | Generating derived credentials for a multi-tenant identity cloud service |
| US10846390B2 (en) | 2016-09-14 | 2020-11-24 | Oracle International Corporation | Single sign-on functionality for a multi-tenant identity and data security management cloud service |
| US10511589B2 (en) | 2016-09-14 | 2019-12-17 | Oracle International Corporation | Single logout functionality for a multi-tenant identity and data security management cloud service |
| US10484243B2 (en) | 2016-09-16 | 2019-11-19 | Oracle International Corporation | Application management for a multi-tenant identity cloud service |
| US10445395B2 (en) | 2016-09-16 | 2019-10-15 | Oracle International Corporation | Cookie based state propagation for a multi-tenant identity cloud service |
| JP7018437B2 (ja) | 2016-09-16 | 2022-02-10 | オラクル・インターナショナル・コーポレイション | マルチテナントアイデンティティおよびデータセキュリティ管理クラウドサービスのためのテナントおよびサービス管理 |
| US10904074B2 (en) | 2016-09-17 | 2021-01-26 | Oracle International Corporation | Composite event handler for a multi-tenant identity cloud service |
| US20180165308A1 (en) * | 2016-12-12 | 2018-06-14 | Sap Se | Deriving a data structure for a process model software |
| US10204119B1 (en) * | 2017-07-20 | 2019-02-12 | Palantir Technologies, Inc. | Inferring a dataset schema from input files |
| US20190050384A1 (en) * | 2017-08-08 | 2019-02-14 | Ab Initio Technology Llc | Techniques for dynamically defining a data record format |
| US10831789B2 (en) | 2017-09-27 | 2020-11-10 | Oracle International Corporation | Reference attribute query processing for a multi-tenant cloud service |
| US10705823B2 (en) | 2017-09-29 | 2020-07-07 | Oracle International Corporation | Application templates and upgrade framework for a multi-tenant identity cloud service |
| US11423083B2 (en) | 2017-10-27 | 2022-08-23 | Ab Initio Technology Llc | Transforming a specification into a persistent computer program |
| US10599668B2 (en) | 2017-10-31 | 2020-03-24 | Secureworks Corp. | Adaptive parsing and normalizing of logs at MSSP |
| US11429642B2 (en) | 2017-11-01 | 2022-08-30 | Walmart Apollo, Llc | Systems and methods for dynamic hierarchical metadata storage and retrieval |
| US11055074B2 (en) * | 2017-11-13 | 2021-07-06 | Ab Initio Technology Llc | Key-based logging for processing of structured data items with executable logic |
| US11068540B2 (en) | 2018-01-25 | 2021-07-20 | Ab Initio Technology Llc | Techniques for integrating validation results in data profiling and related systems and methods |
| US10715564B2 (en) | 2018-01-29 | 2020-07-14 | Oracle International Corporation | Dynamic client registration for an identity cloud service |
| US11494454B1 (en) | 2018-05-09 | 2022-11-08 | Palantir Technologies Inc. | Systems and methods for searching a schema to identify and visualize corresponding data |
| CN116432604A (zh) * | 2018-09-06 | 2023-07-14 | 创新先进技术有限公司 | 一种数据校验方法、装置及电子设备 |
| US11321187B2 (en) | 2018-10-19 | 2022-05-03 | Oracle International Corporation | Assured lazy rollback for a multi-tenant identity cloud service |
| KR102004948B1 (ko) * | 2018-12-18 | 2019-07-29 | 이지지아이에스 주식회사 | 빅데이터 기계 학습을 활용한 위치기반 입지 예측 분석 장치 및 그 방법 |
| US11423111B2 (en) | 2019-02-25 | 2022-08-23 | Oracle International Corporation | Client API for rest based endpoints for a multi-tenant identify cloud service |
| US11792226B2 (en) | 2019-02-25 | 2023-10-17 | Oracle International Corporation | Automatic api document generation from scim metadata |
| US10769220B1 (en) * | 2019-04-09 | 2020-09-08 | Coupang Corp. | Systems, apparatuses, and methods of processing and managing web traffic data |
| US11218500B2 (en) | 2019-07-31 | 2022-01-04 | Secureworks Corp. | Methods and systems for automated parsing and identification of textual data |
| US11870770B2 (en) | 2019-09-13 | 2024-01-09 | Oracle International Corporation | Multi-tenant identity cloud service with on-premise authentication integration |
| US11687378B2 (en) | 2019-09-13 | 2023-06-27 | Oracle International Corporation | Multi-tenant identity cloud service with on-premise authentication integration and bridge high availability |
| US11836122B2 (en) * | 2019-12-19 | 2023-12-05 | Capital One Services, Llc | Schema validation with data synthesis |
| CN111765904B (zh) * | 2020-06-29 | 2023-12-15 | 北京百度网讯科技有限公司 | 自动驾驶车辆的测试方法、装置、电子设备和介质 |
| SG10202008564PA (en) * | 2020-09-03 | 2021-12-30 | Grabtaxi Holdings Pte Ltd | Data Base System and Method for Maintaining a Data Base |
| WO2022076246A1 (en) * | 2020-10-05 | 2022-04-14 | R2Dio, Inc. | Methods and systems associated with a data input platform and differential graph representations |
| US12423170B2 (en) | 2022-01-19 | 2025-09-23 | Secureworks Corp. | Systems and methods for generating a system log parser |
| CN116245108B (zh) * | 2022-11-25 | 2023-09-26 | 北京瑞风协同科技股份有限公司 | 验证匹配导向方法、验证匹配导向器、设备及存储介质 |
| CN116521063B (zh) * | 2023-03-31 | 2024-03-26 | 北京瑞风协同科技股份有限公司 | 一种hdf5的试验数据高效读写方法及装置 |
Family Cites Families (16)
| Publication number | Priority date | Publication date | Assignee | Title |
|---|---|---|---|---|
| AU631276B2 (en) | 1989-12-22 | 1992-11-19 | Bull Hn Information Systems Inc. | Name resolution in a directory database |
| AU2878399A (en) | 1998-02-26 | 1999-09-15 | Sun Microsystems, Inc. | Method and system for multi-entry and multi-template matching in a database |
| US20010056362A1 (en) * | 1998-07-29 | 2001-12-27 | Mike Hanagan | Modular, convergent customer care and billing system |
| US6549918B1 (en) * | 1998-09-21 | 2003-04-15 | Microsoft Corporation | Dynamic information format conversion |
| US7620620B1 (en) | 1999-08-05 | 2009-11-17 | Oracle International Corporation | Basing directory contents on a query that is associated with a file identifier |
| JP2001101049A (ja) | 1999-09-28 | 2001-04-13 | Mitsubishi Electric Corp | ファイル復元装置 |
| US7120636B2 (en) * | 2001-07-25 | 2006-10-10 | Pendleton William W | Method of communicating data between computers having different record formats |
| US20050192844A1 (en) * | 2004-02-27 | 2005-09-01 | Cardiac Pacemakers, Inc. | Systems and methods for automatically collecting, formatting, and storing medical device data in a database |
| US20060015511A1 (en) * | 2004-07-16 | 2006-01-19 | Juergen Sattler | Method and system for providing an interface to a computer system |
| JPWO2006046665A1 (ja) * | 2004-10-27 | 2008-05-22 | 株式会社ジャストシステム | 文書処理装置及び文書処理方法 |
| US7870221B2 (en) * | 2004-12-20 | 2011-01-11 | Adobe Systems Incorporated | Multiple bindings in web service data connection |
| US7526486B2 (en) * | 2006-05-22 | 2009-04-28 | Initiate Systems, Inc. | Method and system for indexing information about entities with respect to hierarchies |
| JP2008305348A (ja) * | 2007-06-11 | 2008-12-18 | Canon Inc | 情報処理装置、情報処理方法、コンピュータプログラム、画像形成システム |
| US7904491B2 (en) | 2007-07-18 | 2011-03-08 | Sap Ag | Data mapping and import system |
| JP5064943B2 (ja) * | 2007-09-05 | 2012-10-31 | 株式会社リコー | 情報処理装置、情報処理方法及び情報処理プログラム |
| PT2460075T (pt) * | 2009-07-29 | 2018-02-26 | Reversinglabs Corp | Reparar ficheiros executáveis portáteis |
-
2010
- 2010-11-12 CA CA2779087A patent/CA2779087C/en active Active
- 2010-11-12 KR KR1020127013690A patent/KR20120115233A/ko not_active Ceased
- 2010-11-12 AU AU2010319344A patent/AU2010319344B2/en active Active
- 2010-11-12 WO PCT/US2010/056530 patent/WO2011060257A1/en not_active Ceased
- 2010-11-12 US US12/945,094 patent/US10445309B2/en active Active
- 2010-11-12 JP JP2012539018A patent/JP5690349B2/ja active Active
- 2010-11-12 CN CN201080061493.XA patent/CN102713834B/zh active Active
- 2010-11-12 EP EP10830784.4A patent/EP2499565B1/en active Active
- 2010-11-12 KR KR1020167033559A patent/KR101755365B1/ko active Active
- 2010-11-12 KR KR20157008411A patent/KR20150042877A/ko not_active Withdrawn
Also Published As
| Publication number | Publication date |
|---|---|
| KR101755365B1 (ko) | 2017-07-10 |
| CN102713834A (zh) | 2012-10-03 |
| EP2499565A1 (en) | 2012-09-19 |
| JP2013511097A (ja) | 2013-03-28 |
| AU2010319344A1 (en) | 2012-05-24 |
| WO2011060257A1 (en) | 2011-05-19 |
| KR20150042877A (ko) | 2015-04-21 |
| CA2779087C (en) | 2019-08-20 |
| US10445309B2 (en) | 2019-10-15 |
| US20110153667A1 (en) | 2011-06-23 |
| CA2779087A1 (en) | 2011-05-19 |
| JP5690349B2 (ja) | 2015-03-25 |
| KR20160141872A (ko) | 2016-12-09 |
| EP2499565B1 (en) | 2019-01-09 |
| AU2010319344B2 (en) | 2014-10-09 |
| EP2499565A4 (en) | 2017-01-04 |
| CN102713834B (zh) | 2016-03-30 |
Similar Documents
| Publication | Publication Date | Title |
|---|---|---|
| KR101755365B1 (ko) | 레코드 포맷 정보의 관리 | |
| CN111522816B (zh) | 基于数据库引擎的数据处理方法、装置、终端及介质 | |
| US10177996B2 (en) | System and method for validating documentation of representational state transfer (REST) services | |
| US7596748B2 (en) | Method for validating a document conforming to a first schema with respect to a second schema | |
| US8386498B2 (en) | Message descriptions | |
| US8250526B2 (en) | Method for analyzing an XACML policy | |
| US9390073B2 (en) | Electronic file comparator | |
| WO2021022703A1 (zh) | 软件项目重构方法、装置、计算机装置及存储介质 | |
| Zhu et al. | A neural network architecture for program understanding inspired by human behaviors | |
| KR100762712B1 (ko) | 규칙기반의 전자문서 변환방법 및 그 시스템 | |
| US20100057704A1 (en) | Automatic Test Map Generation for System Verification Test | |
| CN113672233B (zh) | 一种基于Redfish的服务器带外管理方法、装置及设备 | |
| US9965453B2 (en) | Document transformation | |
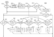
| HK1169726A (en) | Managing record format information | |
| HK1169726B (en) | Managing record format information | |
| US20250193246A1 (en) | Security rule conversion and performance evaluation | |
| WO2024192401A2 (en) | Method and apparatus for api extractor | |
| CN117539856A (zh) | 数仓表检测方法和装置、数据管理系统、设备和存储介质 | |
| CN121117082A (zh) | 一种标准化对象的机器可流转标准的实现方法及装置 | |
| CN120803950A (zh) | 基于大语言模型生成测试用例的方法、装置和设备 | |
| CN120950340A (zh) | 内核探针生成方法、装置、计算机设备及存储介质 | |
| CN120336171A (zh) | 用于跨数据库的数据处理方法、装置、计算机设备和介质 | |
| CN116362230A (zh) | 参数校验方法、装置、计算机设备可存储介质 | |
| JP2009259141A (ja) | アプリケーションプログラム作成支援装置、データベースシステム、アプリケーションプログラム作成支援方法およびそのプログラム |
Legal Events
| Date | Code | Title | Description |
|---|---|---|---|
| PA0105 | International application |
Patent event date: 20120525 Patent event code: PA01051R01D Comment text: International Patent Application |
|
| PG1501 | Laying open of application | ||
| A201 | Request for examination | ||
| PA0201 | Request for examination |
Patent event code: PA02012R01D Patent event date: 20150302 Comment text: Request for Examination of Application |
|
| A107 | Divisional application of patent | ||
| PA0104 | Divisional application for international application |
Comment text: Divisional Application for International Patent Patent event code: PA01041R01D Patent event date: 20150401 |
|
| E902 | Notification of reason for refusal | ||
| PE0902 | Notice of grounds for rejection |
Comment text: Notification of reason for refusal Patent event date: 20151021 Patent event code: PE09021S01D |
|
| E601 | Decision to refuse application | ||
| PE0601 | Decision on rejection of patent |
Patent event date: 20160831 Comment text: Decision to Refuse Application Patent event code: PE06012S01D Patent event date: 20151021 Comment text: Notification of reason for refusal Patent event code: PE06011S01I |