KR20120081663A - 패턴 형성 방법 및 박막 트랜지스터 어레이 기판의 제조 방법 - Google Patents

패턴 형성 방법 및 박막 트랜지스터 어레이 기판의 제조 방법 Download PDF

Info

Publication number
KR20120081663A
KR20120081663A KR1020100137131A KR20100137131A KR20120081663A KR 20120081663 A KR20120081663 A KR 20120081663A KR 1020100137131 A KR1020100137131 A KR 1020100137131A KR 20100137131 A KR20100137131 A KR 20100137131A KR 20120081663 A KR20120081663 A KR 20120081663A
Authority
KR
South Korea
Prior art keywords
mask
region
photosensitive
forming
pattern
Prior art date
Legal status (The legal status is an assumption and is not a legal conclusion. Google has not performed a legal analysis and makes no representation as to the accuracy of the status listed.)
Ceased
Application number
KR1020100137131A
Other languages
English (en)
Inventor
김정범
Original Assignee
엘지디스플레이 주식회사
Priority date (The priority date is an assumption and is not a legal conclusion. Google has not performed a legal analysis and makes no representation as to the accuracy of the date listed.)
Filing date
Publication date
Application filed by 엘지디스플레이 주식회사 filed Critical 엘지디스플레이 주식회사
Priority to KR1020100137131A priority Critical patent/KR20120081663A/ko
Publication of KR20120081663A publication Critical patent/KR20120081663A/ko
Ceased legal-status Critical Current

Links

Images

Classifications

    • GPHYSICS
    • G02OPTICS
    • G02FOPTICAL DEVICES OR ARRANGEMENTS FOR THE CONTROL OF LIGHT BY MODIFICATION OF THE OPTICAL PROPERTIES OF THE MEDIA OF THE ELEMENTS INVOLVED THEREIN; NON-LINEAR OPTICS; FREQUENCY-CHANGING OF LIGHT; OPTICAL LOGIC ELEMENTS; OPTICAL ANALOGUE/DIGITAL CONVERTERS
    • G02F1/00Devices or arrangements for the control of the intensity, colour, phase, polarisation or direction of light arriving from an independent light source, e.g. switching, gating or modulating; Non-linear optics
    • G02F1/01Devices or arrangements for the control of the intensity, colour, phase, polarisation or direction of light arriving from an independent light source, e.g. switching, gating or modulating; Non-linear optics for the control of the intensity, phase, polarisation or colour 
    • G02F1/13Devices or arrangements for the control of the intensity, colour, phase, polarisation or direction of light arriving from an independent light source, e.g. switching, gating or modulating; Non-linear optics for the control of the intensity, phase, polarisation or colour  based on liquid crystals, e.g. single liquid crystal display cells
    • G02F1/133Constructional arrangements; Operation of liquid crystal cells; Circuit arrangements
    • G02F1/136Liquid crystal cells structurally associated with a semi-conducting layer or substrate, e.g. cells forming part of an integrated circuit
    • GPHYSICS
    • G03PHOTOGRAPHY; CINEMATOGRAPHY; ANALOGOUS TECHNIQUES USING WAVES OTHER THAN OPTICAL WAVES; ELECTROGRAPHY; HOLOGRAPHY
    • G03FPHOTOMECHANICAL PRODUCTION OF TEXTURED OR PATTERNED SURFACES, e.g. FOR PRINTING, FOR PROCESSING OF SEMICONDUCTOR DEVICES; MATERIALS THEREFOR; ORIGINALS THEREFOR; APPARATUS SPECIALLY ADAPTED THEREFOR
    • G03F1/00Originals for photomechanical production of textured or patterned surfaces, e.g., masks, photo-masks, reticles; Mask blanks or pellicles therefor; Containers specially adapted therefor; Preparation thereof
    • G03F1/26Phase shift masks [PSM]; PSM blanks; Preparation thereof
    • G03F1/32Attenuating PSM [att-PSM], e.g. halftone PSM or PSM having semi-transparent phase shift portion; Preparation thereof
    • GPHYSICS
    • G03PHOTOGRAPHY; CINEMATOGRAPHY; ANALOGOUS TECHNIQUES USING WAVES OTHER THAN OPTICAL WAVES; ELECTROGRAPHY; HOLOGRAPHY
    • G03FPHOTOMECHANICAL PRODUCTION OF TEXTURED OR PATTERNED SURFACES, e.g. FOR PRINTING, FOR PROCESSING OF SEMICONDUCTOR DEVICES; MATERIALS THEREFOR; ORIGINALS THEREFOR; APPARATUS SPECIALLY ADAPTED THEREFOR
    • G03F7/00Photomechanical, e.g. photolithographic, production of textured or patterned surfaces, e.g. printing surfaces; Materials therefor, e.g. comprising photoresists; Apparatus specially adapted therefor
    • G03F7/004Photosensitive materials
    • GPHYSICS
    • G03PHOTOGRAPHY; CINEMATOGRAPHY; ANALOGOUS TECHNIQUES USING WAVES OTHER THAN OPTICAL WAVES; ELECTROGRAPHY; HOLOGRAPHY
    • G03FPHOTOMECHANICAL PRODUCTION OF TEXTURED OR PATTERNED SURFACES, e.g. FOR PRINTING, FOR PROCESSING OF SEMICONDUCTOR DEVICES; MATERIALS THEREFOR; ORIGINALS THEREFOR; APPARATUS SPECIALLY ADAPTED THEREFOR
    • G03F7/00Photomechanical, e.g. photolithographic, production of textured or patterned surfaces, e.g. printing surfaces; Materials therefor, e.g. comprising photoresists; Apparatus specially adapted therefor
    • G03F7/004Photosensitive materials
    • G03F7/0045Photosensitive materials with organic non-macromolecular light-sensitive compounds not otherwise provided for, e.g. dissolution inhibitors
    • GPHYSICS
    • G03PHOTOGRAPHY; CINEMATOGRAPHY; ANALOGOUS TECHNIQUES USING WAVES OTHER THAN OPTICAL WAVES; ELECTROGRAPHY; HOLOGRAPHY
    • G03FPHOTOMECHANICAL PRODUCTION OF TEXTURED OR PATTERNED SURFACES, e.g. FOR PRINTING, FOR PROCESSING OF SEMICONDUCTOR DEVICES; MATERIALS THEREFOR; ORIGINALS THEREFOR; APPARATUS SPECIALLY ADAPTED THEREFOR
    • G03F7/00Photomechanical, e.g. photolithographic, production of textured or patterned surfaces, e.g. printing surfaces; Materials therefor, e.g. comprising photoresists; Apparatus specially adapted therefor
    • G03F7/004Photosensitive materials
    • G03F7/0047Photosensitive materials characterised by additives for obtaining a metallic or ceramic pattern, e.g. by firing

Landscapes

  • Physics & Mathematics (AREA)
  • General Physics & Mathematics (AREA)
  • Chemical & Material Sciences (AREA)
  • Engineering & Computer Science (AREA)
  • Nonlinear Science (AREA)
  • Ceramic Engineering (AREA)
  • Spectroscopy & Molecular Physics (AREA)
  • Microelectronics & Electronic Packaging (AREA)
  • Mathematical Physics (AREA)
  • Crystallography & Structural Chemistry (AREA)
  • Optics & Photonics (AREA)
  • Liquid Crystal (AREA)

Abstract

박막 트랜지스터 어레이 기판의 제조 방법은, 기판 상에 게이트 라인 및 게이트 전극을 포함하는 게이트 패턴 그룹을 형성하고, 기판 상에 게이트 절연막을 형성하고, 게이트 절연막 상에 반도체층과 데이터 라인, 소스 전극 및 드레인 전극을 포함하는 데이터 패턴 그룹을 형성하고, 기판 상에 콘택홀을 포함하는 보호막을 형성하고, 보호막 상에 화소 전극을 형성하며, 게이트 라인 사이의 제1 간격, 소스 전극과 드레인 전극 사이의 제2 간격 및 화소 전극 사이의 제3 간격 중 적어도 하나 이상의 간격을 최소화하기 위해 적어도 하나 이상의 간격에 대응하는 반투과 영역을 포함하는 마스크를 이용한다.

Description

패턴 형성 방법 및 박막 트랜지스터 어레이 기판의 제조 방법{Method of forming patterns and method of fabricating a thin film transistor array substrate}
실시예는 패턴 형성 방법 및 박막 트랜지스터 어레이 기판의 제조 방법에 관한 것이다.
정보를 표시하기 위한 표시 장치가 활발히 개발되고 있다. 예컨대, 표시 장치는 액정표시장치, 플라즈마표시장치, 전계발광표시장치 또는 전계방출표시장치를 포함할 수 있다. 이러한 표시장치는 CRT에 비해 가볍고 대화면 구현이 가능하고 두께가 얇은 장점을 가진다.
이 중에서 액정표시장치는 동화상 표시가 우수하고 높은 콘트라스트비를 가지므로, 노트북, 모니터, 텔레비전 및 네비게이션에 널리 사용되고 있다.
액정표시장치는 박막 트랜지스터가 배열된 박막 트랜지스터 어레이 기판, 컬러 필터가 배열된 컬러 필터 어레이 기판 및 이들 기판들 사이에 개재된 액정층을 포함한다.
박막 트랜지스터 어레이 기판에는 포토리소그라피 공정을 이용하여 다양한 라인 패턴들이 형성될 수 있다.
라인 패턴은 예컨대, 게이트 라인, 데이터 라인, 공통 전극 또는 화소 전극를 포함할 수 있다.
개구율을 향상시키기 위해 점점 더 라인 패턴 간 거리가 좁아지고 있다.
하지만, 노광 장치의 분해 능력의 한계로 인해, 라인 패턴 간 거리를 좁히는데 한계가 있다.
도 1a 내지 도 1c는 종래의 라인 패턴 불량을 설명하는 도면이다.
도 1a에 도시한 바와 같이, 기판(1) 상에 라인 패턴을 형성하기 위한 박막(3)을 형성하고, 그 위에 감광막(5)을 형성한다.
감광막(5) 상에 노광용 마스크(7)를 정렬한 후 노광용 마스크(7)에 광을 조사하는 노광 공정을 수행한다.
노광용 마스크(7)는 쿼츠(quartz)를 포함하는 베이스 기판(7a) 상에 크롬으로 이루어진 마스크 패턴(7b)이 형성되어 있다.
라인 패턴을 좁히기 위해서는 노광용 마스크(7)의 마스크 패턴(7b) 사이 또한 좁도록 형성되어야 한다.
노광 공정을 수행하는 경우, 도 1b에 도시한 바와 같이, 마스크 패턴(7b) 사이의 간격이 노광 분해 능력을 초과하였기 때문에 마스크 패턴(7b) 사이로 광이 제대로 투과되지 않게 되어 마스크 패턴(7b) 사이에 대응하는 감광막이 노광되지 않게 된다. 따라서, 현상 공정을 수행하는 경우, 마스크 패턴(7b) 사이에 대응하는 감광막이 제거되지 않게 되어, 감광막 패턴(5a) 사이가 서로 연결된 감광막 쇼트 영역(5b)이 형성되게 된다.
도 1c에 도시한 바와 같이, 상기 감광막 패턴(5a, 5b)을 마스크로 하여 식각 공정을 수행하는 경우, 상기 감광막 패턴(5a)에 대응하는 영역에는 라인 패턴(3a)이 형성되는데 반해 상기 감광막 패턴(5a) 사이에 대응하는 박막(3)은 제거되지 않아 패턴 쇼트 영역(3b)이 형성되므로, 라인 패턴(3a) 사이가 쇼트되는 불량이 발생하게 된다.
이와 같이, 라인 패턴(3a) 사이의 쇼트 불량으로 인해 패턴 사이의 거리를 좁히지 못함에 따라 개구율을 향상시킬 수 없는 문제가 있다.
실시예는 노광 한계를 극복하여 패턴 간 거리를 최소하할 수 있는 패턴 형성 방법 및 박막 트랜지스터 어레이 기판의 제조 방법을 제공한다.
실시예는 패턴 간 쇼트 불량을 방지하는 패턴 형성 방법 및 박막 트랜지스터 어레이 기판의 제조 방법을 제공한다.
실시예는 개구율을 향상시킬 수 있는 박막 트랜지스터 어레이 기판의 제조 방법을 제공한다.
실시예에 따르면, 패턴 형성 방법은, 기판 상에 제1 및 제2 패턴을 형성하기 위한 박막을 형성하는 단계; 상기 박막 상에 감광막을 형성하는 단계; 상기 제1 및 제2 패턴 사이의 간격이 최소화되도록 상기 제1 및 제2 패턴 사이의 간격에 대응하는 반투과 영역을 포함하는 마스크를 정렬하는 단계; 상기 마스크에 광을 조사하여 상기 반투과 영역에 대응하는 상기 감광막의 상부 영역을 제거한 제1 감광 패턴을 형성하는 단계; 애싱 공정을 수행하여 상기 박막이 노출되도록 상기 반투과 영역에 대응하는 상기 제1 감광 패턴을 제거한 제2 감광 패턴을 형성하는 단계; 및 상기 제2 감광 패턴을 식각용 마스크로 하여 상기 박막을 패턴하여 상기 제1 및 제2 패턴을 형성하는 단계를 포함한다.
실시예에 따르면, 박막 트랜지스터 어레이 기판의 제조 방법은, 기판 상에 게이트 라인 및 게이트 전극을 포함하는 게이트 패턴 그룹을 형성하는 단계; 상기 기판 상에 게이트 절연막을 형성하는 단계; 상기 게이트 절연막 상에 반도체층과 데이터 라인, 소스 전극 및 드레인 전극을 포함하는 데이터 패턴 그룹을 형성하는 단계; 상기 기판 상에 콘택홀을 포함하는 보호막을 형성하는 단계; 및 상기 보호막 상에 화소 전극을 형성하는 단계를 포함하고, 상기 게이트 라인 사이의 제1 간격, 상기 소스 전극과 드레인 전극 사이의 제2 간격 및 상기 화소 전극 사이의 제3 간격 중 적어도 하나 이상의 간격을 최소화하기 위해 상기 적어도 하나 이상의 간격에 대응하는 반투과 영역을 포함하는 마스크를 이용한다.
실시예는 노광 한계를 극복하여 패턴 간 거리를 최소하할 수 있다.
실시예는 패턴 간 쇼트 불량을 방지할 수 있다.
실시예는 개구율을 향상시킬 수 있다.
도 1a 내지 도 1c는 종래의 라인 패턴 불량을 설명하는 도면이다.
도 2는 실시예에 따른 박막 트랜지스터 어레이 기판을 도시한 평면도이다.
도 3은 도 1의 박막 트랜지스터 어레이 기판을 도시한 단면도이다.
도 4a 내지 도 4d는 도 1의 박막 트랜지스터 어레이 기판의 제조 공정을 도시한 도면이다.
도 5a 내지 도 5d는 도 4a의 게이트 패턴 그룹의 제조 공정을 도시한 도면이다.
도 6a 내지 도 6e는 도 4b의 데이터 패턴 그룹의 제조 공정을 도시한 도면이다.
도 7a 내지 도 7d는 도 4d의 화소 전극의 제조 공정을 도시한 도면이다.
도 8a 내지 도 8c는 실시예에 적용되는 노광용 마스크를 도시한 도면이다.
도 9는 도 1의 박막 트랜지스터 어레이 기판에 의한 개구율 향상을 보여주는 도면이다.
이하 첨부된 도면들을 참고하여 실시예를 상세히 설명한다.
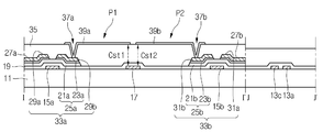
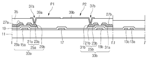
도 2는 실시예에 따른 박막 트랜지스터 어레이 기판을 도시한 평면도이고, 도 3은 도 1의 박막 트랜지스터 어레이 기판을 도시한 단면도이다.
도 2를 참고하면, 실시예에 따른 박막 트랜지스터 어레이 기판(10)은 제1 게이트 라인(13a)과 제1 및 제2 데이터 라인(27a, 27b)에 의해 제1 및 제2 화소 영역(P1, P2)이 정의되고, 제2 게이트 라인(13b)과 제2 및 제3 데이터 라인(27b, 27c)에 의해 제3 및 제4 화소 영역(P3, P4)이 정의될 수 있다.
상기 제1 데이터 라인(27a)은 상기 제1 화소 영역(P1)의 좌측 영역에 배치되고, 상기 제2 데이터 라인(27b)은 상기 제2 및 제3 화소 영역(P2, P3) 사이에 배치되며, 상기 제3 데이터 라인(27c)은 상기 제4 화소 영역(P4)의 우측 영역에 배치될 수 있다.
상기 제1 게이트 라인(13a)과 상기 제1 데이터 라인(27a)에 제1 박막 트랜지스터(33a)가 전기적으로 연결되고, 상기 제1 게이트 라인(13a)과 상기 제2 데이터 라인(27b)에 제2 박막 트랜지스터(33b)가 전기적으로 연결될 수 있다.
상기 제2 게이트 라인(13b)과 상기 제2 데이터 라인(27b)에 제3 박막 트랜지스터(33c)가 전기적으로 연결되고, 상기 제2 게이트 라인(13b)과 상기 제3 데이터 라인(27c)에 제4 박막 트랜지스터(33d)가 전기적으로 연결될 수 있다.
상기 제1 화소 영역(P1)에는 상기 제1 박막 트랜지스터(33a)에 전기적으로 연결된 제1 화소 전극(39a)이 배치되고, 상기 제2 화소 영역(P2)에는 상기 제2 박막 트랜지스터(33b)에 전기적으로 연결된 제2 화소 전극(39b)이 배치될 수 있다.
상기 제3 화소 영역(P3)에는 상기 제3 박막 트랜지스터(33c)에 전기적으로 연결된 제3 화소 전극(39c)이 배치되고, 제4 화소 영역(P4)에는 상기 제4 박막 트랜지스터(33d)에 전기적으로 연결된 제4 화소 전극(39d)이 배치될 수 있다.
따라서, 제1 게이트 라인(13a)으로 인가된 게이트 신호에 응답하여 제1 및 제2 화소 영역(P1, P2)의 제1 및 제2 박막 트랜지스터(33a, 33b)가 턴온되고, 상기 제1 데이터 라인(27a)으로 공급된 제1 데이터 전압이 상기 제1 박막 트랜지스터(33a)를 경유하여 상기 제1 화소 전극(39a)으로 인가되고 상기 제2 데이터 라인(27b)으로 공급된 제2 데이터 전압이 상기 제2 박막 트랜지스터(33b)를 경유하여 상기 제2 화소 전극(39b)으로 인가될 수 있다. 상기 제1 화소 전극(39a)으로 인가된 제1 데이터 전압에 의해 상기 제1 화소 영역(P1)이 구동되고, 상기 제2 화소 전극(39b)으로 인가된 제2 데이터 전압에 의해 상기 제2 화소 영역(P2)이 구동될 수 있다.
상기 제2 게이트 라인(13b)으로 인가된 게이트 신호에 응답하여 상기 제3 및 제4 화소 영역(P3, P4)의 제3 및 제4 박막 트랜지스터(33c, 33d)가 턴온되고, 상기 제2 데이터 라인(27b)으로 인가된 제3 데이터 전압이 상기 제3 박막 트랜지스터(33c)를 경유하여 상기 제3 화소 전극(39c)으로 인가되고 상기 제3 데이터 라인(27c)으로 공급된 제4 데이터 전압이 상기 제4 박막 트랜지스터(33d)를 경유하여 상기 제4 화소 전극(39d)으로 인가될 수 있다. 상기 제3 화소 전극(39c)으로 인가된 제3 데이터 전압에 의해 상기 제3 화소 영역(P3)이 구동되며, 상기 제4 화소 전극(39d)으로 인가된 제4 데이터 전압에 의해 상기 제4 화소 영역(P4)이 구동될 수 있다.
각 화소 영역(P1 내지 P4)에는 화소 전극(39a 내지 39d)과의 오버랩에 의해 스토리지 캐패시터(Cst1, Cst2)를 형성하기 위한 공통 전극(17)이 배치될 수 있다. 상기 공통 전극(17)은 상기 각 화소 영역(P1 내지 P4)에서 상기 화소 전극(39a 내지 39d)의 에지 영역에 오버랩될 수 있다.
가로 방향(제1 방향)을 따라 각 화소 영역(P1 내지 P4)의 공통 전극(17)은 공통 연결 전극(17a)에 의해 전기적으로 연결될 수 있다. 상기 공통 연결 전극(17a)은 상기 공통 전극(17)과 일체로 형성될 수 있다.
실시예는 제1 방향을 따라 한 쌍의 박막 트랜지스터(33a 및 33b, 33c 및 33d)가 제1 게이트 라인(13a)과 제2 게이트 라인(13b)에 교대로 연결되는 구조를 가질 수 있다. 예컨대 제1 및 제2 박막 트랜지스터(33a, 33b)는 제1 게이트 라인(13a)에 연결되고, 제3 및 제4 박막 트랜지스터(33c, 33d)는 제2 게이트 라인(13b)에 연결될 수 있다.
한편, 상기 제1 게이트 라인(13a)에 인접하여 상기 제1 게이트 라인(13a)과 평행하게 또 다른 게이트 라인(13c)이 배치될 수 있다. 따라서, 세로 방향(제2 방향)에서 화소 영역 사이에 서로 인접한 한 쌍의 게이트 라인들(13a, 13c)이 배치될 수 있다.
한 쌍의 게이트 라인(13a, 13c) 사이의 거리를 최소화할수록 화소 영역의 개구율은 향상될 수 있다.
또한, 제1 및 제2 화소 전극(39a, 39b) 사이 그리고 제3 및 제4 화소 전극(39c, 39d) 사이의 거리를 최소화할수록 화소 영역의 개구율은 향상될 수 있다.
실시예는 게이트 라인(13a, 13c) 사이의 거리 및/또는 화소 전극(39a 및 39b, 39c 및 39d) 사이의 거리를 최소화하여 개구율을 향상시키기 위해 제안되었다.
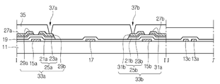
도 3에 도시한 바와 같이, 기판(11) 상에 제1 게이트 라인(미도시), 제1 및 제2 게이트 전극(15a, 15b) 및 공통 전극(17)이 형성되고, 상기 제1 및 제2 게이트 전극(15a, 15b) 상에 게이트 절연막(19)이 형성되고 그 위에 활성층(21a, 21b)과 오믹 콘택층(23a, 23b)을 포함하는 제1 및 제2 반도체층(25a, 25b)이 형성될 수 있다.
상기 제1 반도체층(25a) 상에 제1 소스 전극(29a)과 제1 드레인 전극(29b)이 형성되고, 제2 반도체층(25b) 상에 제2 소스 전극(31a)과 제2 드레인 전극(32b)이 형성될 수 있다. 이와 함께 제1 데이터 라인(27a)과 제2 데이터 라인(27b)이 형성될 수 있다.
상기 제1 게이트 전극(15a), 상기 제1 반도체층(25a), 상기 제1 소스 전극(29a) 및 상기 제1 드레인 전극(29b)에 의해 상기 제1 박막 트랜지스터(33a)가 형성되고, 상기 제2 게이트 전극(15b), 상기 제2 반도체층(25b), 상기 제2 소스 전극(31a) 및 상기 제2 드레인 전극(31b)에 의해 제2 박막 트랜지스터층(33b)이 형성될 수 있다.
상기 제1 및 제2 박막 트랜지스터(33a, 33b) 상에 보호막(35)이 형성되고, 상기 보호막(35)에 제1 콘택홀(37a)과 제2 콘택홀(37b)이 형성될 수 있다.
상기 보호막(35) 상에 제1 콘택홀(37a)을 통해 상기 제1 드레인 전극(29b)에 전기적으로 연결된 제1 화소 전극(39a)과 제2 콘택홀(27b)을 통해 상기 제2 드레인 전극(31b)에 전기적으로 연결된 제2 화소 전극(39b)이 형성될 수 있다.
따라서, 상기 제1 화소 영역(P1)에는 제1 게이트 라인(13a)과 제1 데이터 라인(27a)에 전기적으로 연결된 제1 박막 트랜지스터(33a)와 상기 제1 박막 트랜지스터(33a)에 전기적으로 연결된 제1 화소 전극(39a)이 형성되고, 상기 제2 화소 영역(P2)에는 제1 게이트 라인(13a)과 제2 데이터 라인(27b)에 전기적으로 연결된 제2 박막 트랜지스터(33b)와 상기 제2 박막 트랜지스터(33b)에 전기적으로 연결된 제2 화소 전극(39b)이 형성될 수 있다.
이상과 같이 구성된 실시예에 따른 박막 트랜지스터 어레이 기판의 제조 공정을 도 4a 내지 도 4d를 참고하여 설명한다.
도 4a를 참고하면, 기판(11) 상에 제1 마스크 공정을 이용하여 게이트 라인(13a, 13c), 게이트 전극(15a, 15b) 및 공통 전극(17)을 포함하는 게이트 패턴그룹을 형성한다.
제1 방향을 따라 배열된 화소 영역들(P1 내지 P4)이 가로 화소 영역들로 정의될 수 있다. 따라서, 다수의 가로 화소 영역들이 정의될 수 있다.
다수의 게이트 라인들(13a 내지 13c)이 제1 방향을 따라 형성될 수 있다.
이러한 경우, 제1 가로 화소 영역들의 상측과 하측에 제1 및 제2 게이트 라인들(13a, 13b)이 배치되고, 제2 가로 화소 영역들의 상측과 하측에 제3 게이트 라인(13c) 및 제4 게이트 라인이 배치될 수 수 있다. 상기 제1 및 상기 제3 게이트 라인들(13a, 13c)은 가능한 최대한 좁은 간격으로 이격되어 배치될 수 있다. 이와 같이 상기 제1 및 제3 게이트 라인들(13a,13c)의 간격을 최소화함으로써, 화소 영역의 개구율이 향상될 수 있다.
게이트 패턴 그룹의 형성을 도 5a 내지 도 5를 참고하여 더욱 상세히 설명한다.
도 5a에 도시한 바와 같이, 기판(11) 상에 제1 금속막(41)과 제1 감광막(43)을 순차적으로 형성하고, 그 위에 제1 하프톤 마스크(halftone mask, HTM)(45)를 정렬한다.
상기 제1 감광막(43)은 광에 의해 반응하여 제거되는 포지티브 감광막일 수 있다. 하지만, 실시예는 네거티브 감광막이 사용될 수도 있고, 이에 대해서는 한정하지 않는다.
제1 하프톤 마스크(45)는 투과 영역(45a), 차단 영역(45b) 및 반투과 영역(45c)을 포함할 수 있다. 투과 영역(45a)은 광이 완전하게 투과되는 영역이고, 차단 영역(45b)은 광이 전혀 투과되지 않는 영역이며, 반투과 영역(45c)은 광이 회절되어 부분적으로 투과되는 영역일 수 있다.
상기 반투과 영역(45c)은 다수의 미세한 슬릿(slit)을 포함하는 영역으로서, 매우 좁은 폭으로 설계될 수 있다.
예컨대, 상기 반투과 영역(45c)은 6㎛이하의 폭으로 설계될 수 있다.
일반 마스크의 경우, 반투과 영역 대신에 투과 영역이 형성되는데, 이러한 투과 영역의 폭이 매우 좁은 경우 광이 조사되면 투과 영역에 대응하는 감광막이 노광의 분해 능력의 한계로 인해 투과 영역을 통해 감광막으로 조사되는 광량이 부족하여 감광막이 제거되지 않게 될 수 있다. 감광막이 제거되지 않게 되어 이후 식각 공정시 라인 쇼트 불량이 발생되는 문제가 있다.
매우 좁은 간격으로 감광막을 제거하는 경우, 일반 마스크의 투과 영역 대신에 하프톤 마스크(45)의 반투과 영역(45c)을 이용함으로써, 매우 좁은 간격의 감광막을 용이하게 제거할 수 있다.
상기 제1 감광막(43)을 남기기 위한 영역에 대응하는 제1 하프톤 마스크(45)의 영역은 차단 영역(45b)이 위치되고, 상기 제1 감광막(43)을 제거하기 위한 영역에 대응하는 제1 하프톤 마스크(45)의 영역은 투과 영역(45a)이 위치되며, 게이트 라인 사이의 간격에 대응하는 제1 하프톤 마스크(45)의 영역은 반투과 영역(45c)이 위치될 수 있다. 상기 반투과 영역(45c)의 좌우측에는 인접하는 게이트 라인들에 대응하는 차단 영역들(45b)이 위치될 수 있다.
상기 제1 하프톤 마스크(45)로 광을 조사하게 된다.
도 5b에 도시한 바와 같이, 상기 제1 하프톤 마스크(45)의 투과 영역(45a)을 통해 조사된 광에 의해 상기 투과 영역(45a)에 대응하는 제1 감광막(43)은 제거되고, 상기 제1 하프톤 마스크(45)의 차단 영역(45b)에 대응하는 제1 감광막(43)은 광이 조사되지 않기 때문에 제거되지 않게 된다. 또한 상기 제1 하프톤 마스크(45)의 반투과 영역(45c)에 대응하는 제1 감광막(43)은 투과 영역(45a)에 비해 투과되는 광량이 적기 때문에 제1 감광막(43)의 상부 영역이 국부적으로 제거될 수 있다. 따라서, 상기 제1 하프톤 마스크(45)가 차단 영역(45b)과 반투과 영역(45c)에 대응하는 제1 감광막(43)을 제외한 나머지 영역의 제1 감광막(43)이 제거된 제1 감광 패턴(43a)이 형성될 수 있다.
상기 제1 감광 패턴(43a)에서 상기 제1 하프톤 마스크(45)의 반투과 영역(45c)에 대응하는 제1 감광막(43)이 제거된 경우, 제거된 제1 감광막(43)의 폭은 상기 제1 하프톤 마스크(45)의 반투과 영역(45c)의 폭과 비슷한 6㎛이하가 될 수 있다.
도 5c에 도시한 바와 같이, 상기 제1 하프톤 마스크(45)를 제거한 다음, 산소나 수소 플라즈마를 이용한 애싱 공정을 수행하여, 상기 제1 감광 패턴(43a)의 상부 영역을 제거하여 그 높이를 줄여준다. 상기 애싱 공정은 상기 제1 하프톤 마스크(45)의 반투과 영역(45c)에 대응하는 제1 감광 패턴(43a)의 영역이 완전히 제거되어 제1 금속막(41)이 노출될 때까지 수행될 수 있다.
상기 애싱 공정에 의해 게이트 라인, 게이트 전극 및 공통 전극을 형성하기 위한 영역에 대응하는 감광막만 남아 있는 제2 감광 패턴(43b)이 형성될 수 있다.
특히 상기 제2 감광 패턴(43b)에서 인접하는 게이트 라인들에 대응하는 제1 감광 패턴(43a)은 높이는 줄어들었지만 완전히 제거되지 않고 감광 패턴으로 남아 있고, 게이트 라인들 사이의 간격에 대응하는 제1 감광 패턴(43a)은 완전히 제거될 수 있다. 따라서, 게이트 라인들에 대응하는 제1 감광 패턴(43a)만 남아 있고 상기 게이트 라인들 사이의 간격에 대응하는 제1 감광 패턴(43a)은 모두 제거되므로 감광 패턴의 쇼트가 발생되지 않게 된다. 또한, 제1 하프톤 마스크(45)에서 매우 좁은 간격(6㎛이하)으로 설계된 반투과 영역(45c)의 폭이 인접하는 게이트 라인들 사이의 간격에 대응하는 감광 패턴(43a) 사이의 폭으로 그대로 전사될 수 있다.
도 5d에 도시한 바와 같이, 제2 감광 패턴(43b)을 마스크로 하여 식각 공정을 수행하여 제1 금속막(41)을 부분적으로 제거한다. 이에 따라, 게이트 라인(13a, 13c), 게이트 전극(15a, 15b) 및 공통 전극(17)을 포함하는 게이트 패턴 그룹이 형성될 수 있다. 특히, 6㎛이하의 간격을 갖는 게이트 라인들(13a, 13c)을 형성할 수 있다.
따라서, 실시예는 제1 하프톤 마스크(45)를 이용하여 인접하는 게이트 라인들(13a, 13c) 사이의 간격을 최소화하여 화소 영역의 개구율을 극대화할 수 있다.
도 4b를 참고하면, 게이트 패턴 그룹을 포함하는 기판(11) 상에 제2 마스크 공정을 이용하여 반도체층(25a, 25b)과 데이터 라인(27a, 27b), 소스 전극(29a, 31a) 및 드레인 전극(29b, 31b)을 포함하는 데이터 패턴 그룹을 형성한다.
상기 기판(11) 상에 게이트 절연막(19)이 형성되고, 게이트 전극(15a, 15b)에 대응하는 게이트 절연막(19) 상에 반도체층(25a, 25b)이 형성되며, 상기 반도체층(25a,25b)을 포함하는 기판(11) 상에 데이터 라인(27a, 27b), 소스 전극(29a, 31a) 및 드레인 전극(29b, 31b)을 포함하는 데이터 패턴 그룹이 형성될 수 있다.
상기 반도체층(25a, 25b)은 활성층(21a, 21b)과 오믹 콘택층(23a, 23b)을 포함할 수 있다.
상기 데이터 라인(27a, 27b)은 상기 게이트 라인(13a, 13c)과 교차하여 화소 영역(P1 내지 P4)을 정의할 수 있다.
예를 들어, 제1 게이트 라인(13a)과 제1 및 제2 데이터 라인(27a, 27b)에 의해 제1 및 제2 화소 영역들(P1, P2)이 정의될 수 있다. 제2 게이트 라인(13b)과 제2 및 제3 데이터 라인(27b, 27c)에 의해 제3 및 제4 화소 영역들(P3, P4)이 정의될 수 있다.
상기 반도체층(25a, 25b)과 상기 데이터 패턴 그룹의 형성을 도 6a 내지 도 6e를 참고하여 더욱 상세히 설명한다.
도 6a에 도시한 바와 같이, 게이트 라인(13a, 13c)을 포함하는 기판(11) 상에 게이트 절연막(19), 비정질막(51), 불순물을 포함하는 비정질막(53), 제2 금속막(55)과 제2 감광막(57)을 순차적으로 형성하고, 그 위에 제2 하프톤 마스크(59)를 정렬한다.
상기 제2 감광막(57)은 광에 의해 반응하여 제거되는 포지티브 감광막일 수 있다. 하지만, 실시예는 네거티브 감광막이 사용될 수도 있고, 이에 대해서는 한정하지 않는다.
제2 하프톤 마스크(59)는 투과 영역(59a), 차단 영역(59b) 및 반투과 영역(59c)을 포함할 수 있다. 투과 영역(59a)은 광이 완전하게 투과되는 영역이고, 차단 영역(59b)은 광이 전혀 투과되지 않는 영역이며, 반투과 영역(59c)은 광이 회절되어 부분적으로 투과되는 영역일 수 있다.
상기 반투과 영역(59c)은 마수의 슬릿(slit)을 포함하는 영역으로서, 매우 좁은 폭으로 설계될 수 있다.
예컨대, 상기 반투과 영역(59c)은 6㎛이하의 폭으로 설계될 수 있다.
상기 제2 감광막(57)을 남기기 위한 영역에 대응하는 제2 하프톤 마스크(59)의 영역은 차단 영역(59b)이 위치되고, 상기 제2 감광막(57)을 제거하기 위한 영역에 대응하는 제2 하프톤 마스크(59)의 영역은 투과 영역(59a)이 위치되며, 소스 전극과 드레인 전극 사이의 간격에 대응하는 제2 하프톤 마스크(59)의 영역은 반투과 영역(59c)이 위치될 수 있다. 상기 반투과 영역(59c)의 좌우측에는 인접하는 소스 전극과 드레인 전극에 대응하는 차단 영역들(59b)이 위치될 수 있다.
상기 제2 하프톤 마스크(59)로 광을 조사하게 된다.
도 6b에 도시한 바와 같이, 상기 제2 하프톤 마스크(59)의 투과 영역(59a)을 통해 조사된 광에 의해 상기 투과 영역(59a)에 대응하는 제2 감광막(57)은 제거되고, 상기 제2 하프톤 마스크(59)의 차단 영역(59b)에 대응하는 제2 감광막(57)은 광이 조사되지 않기 때문에 제거되지 않게 된다. 또한 상기 제2 하프톤 마스크(59)의 반투과 영역(59c)에 대응하는 제2 감광막(57)은 투과 영역(59a)에 비해 투과되는 광량이 적기 때문에 제2 감광막(57)의 상부 영역이 국부적으로 제거될 수 있다. 따라서, 상기 제2 하프톤 마스크(59)이 차단 영역(59b)과 반투과 영역(59c)에 대응하는 제2 감광막(57)을 제외한 나머지 영역의 제2 감광막(57)이 제거된 제1 감광 패턴(57a)이 형성될 수 있다.
상기 제1 감광 패턴(57a)에서 상기 제2 하프톤 마스크(59)의 반투과 영역(59c)에 대응하는 제2 감광막(57)이 제거된 경우, 제거된 제2 감광막(57)의 폭은 상기 제2 하프톤 마스크(59)의 반투과 영역(59c)의 폭과 비슷한 6㎛이하가 될 수 있다.
도 6c에 도시한 바와 같이, 상기 제2 하프톤 마스크(59)를 제거한 다음, 제1 감광 패턴(57a)을 마스크로 하여 1차 식각 공정을 수행하여, 상기 제2 하프톤 마스크(59)의 투과 영역(59a)에 대응하는 제2 금속막(55), 불순물을 포함하는 비정질막(53) 및 비정질막(51)을 제거하여 제2 금속 패턴(55a)과 비정질 패턴(53a)이 형성된다. 상기 제2 금속막(55)의 제거에 의해 데이터 라인(27a, 27b)이 형성되고, 비정질막(51)의 제거에 의해 활성층(21a, 21b)이 형성될 수 있다.
도 6d에 도시한 바와 같이, 산소나 수소 플라즈마를 이용한 애싱 공정을 수행하여, 상기 제1 감광 패턴(57a)의 상부 영역을 제거하여 그 높이를 줄여준다. 상기 애싱 공정은 상기 제2 하프톤 마스크(59)의 반투과 영역(59c)에 대응하는 제1 감광 패턴(57a)의 영역이 완전히 제거되어 제2 금속 패턴(55a)이 노출될 때까지 수행될 수 있다.
상기 애싱 공정에 의해 오믹 콘택층, 소스 전극 및 드레인 전극을 형성하기 위한 영역에 대응하는 감광막만 남아 있는 제2 감광 패턴(57b)이 형성될 수 있다.
특히 상기 제2 감광 패턴(57b)에서 인접하는 소스 전극과 드레인 전극에 대응하는 제1 감광 패턴(57a)은 높이는 줄어들었지만 완전히 제거되지 않고 감광 패턴으로 남아 있고, 소스 전극과 드레인 전극 사이의 간격에 대응하는 제1 감광 패턴(57a)은 완전히 제거될 수 있다. 따라서, 소스 전극과 드레인 전극에 대응하는 제1 감광 패턴(57a)만 남아 있고 소스 전극과 드레인 전극 사이의 간격에 대응하는 제1 감광 패턴(57a)은 모두 제거되므로 감광 패턴의 쇼트가 발생되지 않게 된다. 또한, 제2 하프톤 마스크(59)에서 매우 좁은 간격(6㎛이하)으로 설계된 반투과 영역(59c)의 폭이 인접하는 소스 전극과 드레인 전극 사이의 간격에 대응하는 감광 패턴(57a) 사이의 폭으로 그대로 전사될 수 있다.
도 6e에 도시한 바와 같이, 제2 감광 패턴(57b)을 마스크로 하여 식각 공정을 수행하여 제2 하프톤 마스트(59)의 반투과 영역(59c)에 대응하는 제2 금속 패턴(55a)과 불순물을 포함하는 비정질 패턴(53a)을 제거한다. 이에 따라, 소스 전극(29a, 31a)과 드레인 전극(29b, 31b) 그리고 오믹 콘택층(23a, 23b)이 형성될 수 있다.
제2 마스크 공정을 이용하여 반도체층(25a, 25b)과 더불어 데이터 라인(27a, 27b), 소스 전극(29a, 31a) 및 드레인 전극(29b, 31b)을 포함하는 데이터 패턴 그룹을 형성할 수 있다. 특히, 6㎛이하의 간격을 갖는 소스 전극(29a, 31a)과 드레인 전극(29b, 31b)을 형성할 수 있다.
따라서, 실시예는 제2 하프톤 마스크(59)를 이용하여 인접하는 소스 전극(29a, 31a)과 드레인 전극(29b, 31b) 사이의 간격을 최소화하여 화소 영역의 개구율을 극대화할 수 있다.
도 4c를 참고하면, 데이터 패턴 그룹을 포함하는 기판(11) 상에 제3 마스크 공정을 이용하여 보호막(35)에 콘택홀(37a, 37b)을 형성한다.
기판(11) 상에 유기 물질이나 금속 물질로 이루어지는 보호막(35)을 형성하고, 그 위에 노멀 마스크를 정렬한 다음, 노광 공정을 수행하여 콘택홀(37a, 37b)을 형성할 수 있다.
상기 콘택홀(37a, 37b)은 상기 드레인 전극(29b, 31b)이 노출되도록 형성될 수 있다.
노멀 마스크는 반투과 영역은 존재하지 않고 투과 영역과 차단 영역만 존재하는 마스크를 의미할 수 있다.
도 4d를 참고하면, 보호막(35) 상에 제4 마스크 공정을 이용하여 화소 전극(39a, 39b)을 형성한다.
상기 화소 전극(39a, 39b)의 형성을 도 도 7a 내지 도 7d를 참고하여 더욱 상세히 설명한다.
도 7a에 도시한 바와 같이, 상기 보호막(35) 상에 투명한 도전막(61)과 제3 감광막(63)을 순차적으로 형성한 후, 그 위에 제3 하프톤 마스크(65)를 정렬한다.
상기 제3 감광막(63)은 광에 의해 반응하여 제거되는 포지티브 감광막일 수 있다. 하지만, 실시예는 네거티브 감광막이 사용될 수도 있고, 이에 대해서는 한정하지 않는다.
제3 하프톤 마스크(65)는 투과 영역(65a), 차단 영역(65b) 및 반투과 영역(65c)을 포함할 수 있다. 투과 영역(65a)은 광이 완전하게 투과되는 영역이고, 차단 영역(65b)은 광이 전혀 투과되지 않는 영역이며, 반투과 영역(65c)은 광이 회절되어 부분적으로 투과되는 영역일 수 있다.
상기 반투과 영역(65c)은 다수의 슬릿(slit)을 포함하는 영역으로서, 매우 좁은 폭으로 설계될 수 있다.
예컨대, 상기 반투과 영역(65c)은 6㎛이하의 폭으로 설계될 수 있다.
상기 제3 감광막(63)을 남기기 위한 영역에 대응하는 제3 하프톤 마스크(65)의 영역은 차단 영역(65b)이 위치되고, 상기 제3 감광막(63)을 제거하기 위한 영역에 대응하는 제3 하프톤 마스크(65)의 영역은 투과 영역(65a)이 위치되며, 화소 전극 사이의 간격에 대응하는 제3 하프톤 마스크(65)의 영역은 반투과 영역(65c)이 위치될 수 있다. 상기 반투과 영역(65c)의 좌우측에는 인접하는 화소 전극들에 대응하는 차단 영역들(65b)이 위치될 수 있다.
상기 제3 하프톤 마스크(65)로 광을 조사하게 된다.
도 7b에 도시한 바와 같이, 상기 제3 하프톤 마스크(65)의 투과 영역(65a)을 통해 조사된 광에 의해 상기 투과 영역(65a)에 대응하는 제3 감광막(63)은 제거되고, 상기 제3 하프톤 마스크(65)의 차단 영역(65b)에 대응하는 제3 감광막(63)은 광이 조사되지 않기 때문에 제거되지 않게 된다. 또한 상기 제3 하프톤 마스크(65)의 반투과 영역(65c)에 대응하는 제3 감광막(63)은 투과 영역에 비해 투과되는 광량이 적기 때문에 제3 감광막(63)의 상부 영역이 국부적으로 제거될 수 있다. 따라서, 상기 제3 하프톤 마스크(65)이 차단 영역(65b)과 반투과 영역(65c)에 대응하는 제3 감광막(63)을 제외한 나머지 영역의 제3 감광막(63)이 제거된 제1 감광 패턴(63a)이 형성될 수 있다.
상기 제1 감광 패턴(63a)에서 상기 제3 하프톤 마스크(65)의 반투과 영역(65c)에 대응하는 제3 감광막(63)이 제거된 경우, 제거된 제3 감광막(63)의 폭은 상기 제3 하프톤 마스크(65)의 반투과 영역(65c)의 폭과 비슷한 6㎛이하가 될 수 있다.
도 7c에 도시한 바와 같이, 상기 제3 하프톤 마스크(65)를 제거한 다음, 산소나 수소 플라즈마를 이용한 애싱 공정을 수행하여, 상기 제1 감광 패턴(63a)의 상부 영역을 제거하여 그 높이를 줄여준다. 상기 애싱 공정은 상기 제3 하프톤 마스크(65)의 반투과 영역(65c)에 대응하는 제1 감광 패턴(63a)의 영역이 완전히 제거되어 투명한 도전막(61)이 노출될 때까지 수행될 수 있다.
상기 애싱 공정에 의해 화소 전극을 형성하기 위한 영역에 대응하는 제1 감광 패턴(63a)만 남아 있는 제2 감광 패턴(63b)이 형성될 수 있다.
특히 상기 제2 감광 패턴(63b)에서 인접하는 화소 전극들에 대응하는 제1 감광 패턴(63a)은 높이는 줄어들었지만 완전히 제거되지 않고 감광 패턴으로 남아 있고, 화소 전극들 사이의 간격에 대응하는 제1 감광 패턴(63a)은 완전히 제거될 수 있다. 따라서, 화소 전극들에 대응하는 제1 감광 패턴(63a)만 남아 있고 상기 화소 전극들 사이의 간격에 대응하는 제1 감광 패턴(63a)은 모두 제거되므로 감광 패턴의 쇼트가 발생되지 않게 된다. 또한, 제3 하프톤 마스크(65)에서 매우 좁은 간격(6㎛이하)으로 설계된 반투과 영역(65c)의 폭이 인접하는 화소 전극 사이의 간격에 대응하는 감광 패턴(63a) 사이의 폭으로 그대로 전사될 수 있다.
도 7d에 도시한 바와 같이, 제2 감광 패턴(63b)을 마스크로 하여 식각 공정을 수행하여 투명한 도전막(61)을 부분적으로 제거한다. 이에 따라, 6㎛ 이하의 간격을 갖는 화소 전극들(39a, 39b)이 형성될 수 있다.
따라서, 실시예는 제3 하프톤 마스크(65)를 이용하여 인접하는 화소 전극들(39a, 39b) 사이의 간격을 최소화하여 화소 영역의 개구율을 극대화할 수 있다.
이상의 실시예는 라인 패턴 사이의 간격을 최소화하기 위해 하프톤 마스크가 사용되었다.
하지만, 실시예는 하프톤 이외의 다른 마스크들이 추가적으로 사용될 수 있다.
도 8a는 이미 설명한 하프톤 마스크(45)이다. 하프톤 마스크(45)는 광이 완전히 투과되는 투과 영역(45a), 광이 완전히 차단되는 차단 영역(45b) 그리고 광이 회절되어 부분적으로 투과되는 반투과 영역(45c)을 포함할 수 있다. 상기 반투과 영역(45c)은 다수의 슬릿을 포함할 수 있다. 이에 따라, 광이 다수의 슬릿을 통해 회절되면서 광량이 줄어들게 된다.
도 8b는 그레이 톤 마스크(73)이다. 그레이 톤 마스크(gray tone mask, GTM)(73)은 싱글 슬릿 마스크(single slit mask, SSM)과 유사하거나 동일할 수 있다.
그레이 톤 마스크(73)는 투과 영역(73a), 차단 영역(73b) 및 반투과 영역(73c)을 포함할 수 있다.
상기 반투과 영역(73c)은 하나의 슬릿(75)과 슬릿(75)의 양측의 제1 및 제2 투과홀(77a, 77b)을 포함할 수 있다. 이에 따라, 광이 제1 및 제2 투과홀(77a, 77b)을 통해 회절되면서 광량이 줄어들게 된다.
슬릿(75)의 폭과 제1 및 제2 투과홀(77a, 77b)의 폭을 조절하여 원하는 광량을 얻을 수 있다.
도 8c는 비대칭 하프톤 마스크(asymmetric halftone mask, ASHM)(83)이다. 비대칭 하프톤 마스크(83)는 투과 영역(83a), 차단 영역(83b) 및 반투과 영역(83c)을 포함할 수 있다.
상기 반투과 영역(83c)은 다수의 슬릿을 포함하는 제1 슬릿군(slit group)(85), 다수의 슬릿을 포함하고 상기 제1 슬릿군(85)의 폭보다 적어도 작은 제2 슬릿군(87) 및 상기 제1 및 제2 슬릿군(85, 87) 사이의 투과홀(89)을 포함할 수 있다. 상기 투과홀(89) 대신에 제1 및 제2 슬릿군(85, 87)에 포함된 슬릿에 비해 상대적으로 큰 폭을 갖는 하나의 슬릿이 사용될 수도 있다.
상기 제1 및 제2 슬릿군(85, 87)은 서로 상이한 폭을 가지므로, 상기 제1 슬릿군(85)에서 회절되는 광과 상기 제2 슬릿군(87)에서 회절되는 광 사이의 회절량이 상이할 수 있다.
도 9에 도시한 바와 같이, 이상의 실시예에 의한 박막 트랜지스터 어레이 기판은 종래에 비해 대략 5.32% 정도 향상됨을 확인하였다.
실시예의 박막 트랜지스터 어레이 기판에서 게이트 라인 사이의 간격 또는 화소 전극 사이의 간격은 종래에 비해 적어도 2㎛이하로 줄일 수 있고, 이와 같이 게이트 라인 사이의 간격 또는 화소 전극 사이의 간격이 종래에 비해 줄어들기 때문에 개구율이 향상될 수 있다.
실시예는 게이트 라인 사이의 간격을 줄이거나 화소 전극 사이의 간격을 줄이는 것에 한정하여 설명하고 있지만, 실시예는 이에 한정하지 않는다. 즉, 실시예는 공통 전극 또는 공통 라인 사이의 간격을 줄이는 데에도 적용될 수 있다.
실시예는 도 1에서 도시된 박막 트랜지스터 어레이 기판의 구조 이외에 게이트 라인 사이의 간격, 공통 라인 사이의 간격, 화소 전극 사이의 간격 등과 같이 라인 패턴 사이의 간격을 줄여 개구율을 향상시키기 위한 어떠한 박막 트랜지스터 어레이 기판의 구조에도 동일하게 적용될 수 있다.
10: 박막 트랜지스터 어레이 기판 11: 기판
13a, 13b, 13c: 게이트 라인 15a, 15b: 게이트 전극
17: 공통 전극 17a: 연결 전극
19: 게이트 절연막 21a, 21b: 활성층
23a, 23b: 오믹 콘택층 25a, 25b: 반도체층
27a, 27b, 27c: 데이터 라인 29a, 31a: 소스 전극
29b, 31b: 드레인 전극 35: 보호막
37a, 37b: 콘택홀 39a, 39b; 화소 전극

Claims (11)

  1. 기판 상에 제1 및 제2 패턴을 형성하기 위한 박막을 형성하는 단계;
    상기 박막 상에 감광막을 형성하는 단계;
    상기 제1 및 제2 패턴 사이의 간격이 최소화되도록 상기 제1 및 제2 패턴 사이의 간격에 대응하는 반투과 영역을 포함하는 마스크를 정렬하는 단계;
    상기 마스크에 광을 조사하여 상기 반투과 영역에 대응하는 상기 감광막의 상부 영역을 제거한 제1 감광 패턴을 형성하는 단계;
    애싱 공정을 수행하여 상기 박막이 노출되도록 상기 반투과 영역에 대응하는 상기 제1 감광 패턴을 제거한 제2 감광 패턴을 형성하는 단계; 및
    상기 제2 감광 패턴을 식각용 마스크로 하여 상기 박막을 패턴하여 상기 제1 및 제2 패턴을 형성하는 단계
    를 포함하는 패턴 형성 방법.
  2. 제1항에 있어서,
    상기 마스크는 하프톤 마스크, 그레이 톤 마스크 및 비대칭 하프톤 마스크 중 하나인 패턴 형성 방법.
  3. 기판 상에 게이트 라인 및 게이트 전극을 포함하는 게이트 패턴 그룹을 형성하는 단계;
    상기 기판 상에 게이트 절연막을 형성하는 단계;
    상기 게이트 절연막 상에 반도체층과 데이터 라인, 소스 전극 및 드레인 전극을 포함하는 데이터 패턴 그룹을 형성하는 단계;
    상기 기판 상에 콘택홀을 포함하는 보호막을 형성하는 단계; 및
    상기 보호막 상에 화소 전극을 형성하는 단계를 포함하고,
    상기 게이트 라인 사이의 제1 간격, 상기 소스 전극과 드레인 전극 사이의 제2 간격 및 상기 화소 전극 사이의 제3 간격 중 적어도 하나 이상의 간격을 최소화하기 위해 상기 적어도 하나 이상의 간격에 대응하는 반투과 영역을 포함하는 마스크를 이용하는 박막 트랜지스터 어레이 기판의 제조 방법.
  4. 제3항에 있어서,
    상기 마스크는 하프톤 마스크, 그레이 톤 마스크 및 비대칭 하프톤 마스크 중 하나인 박막 트랜지스터 어레이 기판의 제조 방법.
  5. 제3항에 있어서,
    상기 반투과 영역은 다수의 슬릿을 포함하는 박막 트랜지스터 어레이 기판의 제조 방법.
  6. 제3항에 있어서,
    상기 반투과 영역은 슬릿과 상기 슬릿의 양측에 제1 및 제2 투과홀을 포함하는 박막 트랜지스터 어레이 기판의 제조 방법.
  7. 제3항에 있어서,
    상기 반투과 영역은 다수의 슬릿을 포함하는 제1 슬릿군, 다수의 슬릿을 포함하고 상기 제1 슬릿군과 상이한 폭을 갖는 제2 슬릿군 및 상기 제1 및 제2 슬릿군 사이의 투과홀을 포함하는 박막 트랜지스터 어레이 기판의 제조 방법.
  8. 제3항에 있어서,
    상기 반투과 영역은 다수의 슬릿을 포함하는 제1 슬릿군, 다수의 슬릿을 포함하고 상기 제1 슬릿군과 상이한 폭을 갖는 제2 슬릿군 및 상기 제1 및 제2 슬릿군에 포함된 슬릿보다 큰 폭을 갖고 상기 제1 및 제2 슬릿군 사이에 배치된 하나의 슬릿을 포함하는 박막 트랜지스터 어레이 기판의 제조 방법.
  9. 제3항에 있어서,
    상기 게이트 패턴 그룹을 형성하는 단계는,
    상기 기판 상에 상기 게이트 라인 및 상기 게이트 전극을 형성하기 위한 제1 금속막과 제1 감광막을 형성하는 단계;
    상기 제1 감광막 상에 상기 게이트 라인 사이의 간격에 대응하는 반투과 영역을 포함하는 제1 마스크를 정렬하는 단계;
    상기 제1 마스크에 광을 조사하여 상기 반투과 영역에 대응하는 상기 제1 감광막의 상부 영역을 제거한 제1 감광 패턴을 형성하는 단계;
    애싱 공정을 수행하여 상기 제1 금속막이 노출되도록 상기 반투과 영역에 대응하는 상기 제1 감광 패턴을 제거한 제2 감광 패턴을 형성하는 단계; 및
    상기 제2 감광 패턴을 식각용 마스크로 하여 상기 제1 금속막을 패턴하여 상기 게이트 라인 및 상기 게이트 전극을 형성하는 단계
    를 포함하는 박막 트랜지스터 어레이 기판의 제조 방법.
  10. 제3항에 있어서,
    상기 반도체층과 상기 데이터 패턴 그룹을 형성하는 단계는,
    상기 게이트 절연막 상에 비정질막, 불순물을 포함하는 비정질막, 상기 데이터 라인, 상기 소스 전극 및 상기 드레인 전극을 형성하기 위한 제2 금속막 및 제2 감광막을 형성하는 단계;
    상기 제2 감광막 상에 상기 소스 전극과 상기 드레인 전극 사이의 간격에 대응하는 반투과 영역을 포함하는 제2 마스크를 정렬하는 단계;
    상기 제2 마스크에 광을 조사하여 상기 반투과 영역에 대응하는 상기 제2 감광막의 상부 영역을 제거한 제1 감광 패턴을 형성하는 단계;
    상기 제1 감광 패턴을 제1 식각용 마스크로 하여 상기 제2 금속막, 상기 불순물을 포함하는 비정질막 및 상기 비정질막을 패턴하여 상기 데이터 라인과 상기 반도체층의 활성층을 형성하는 단계;
    애싱 공정을 수행하여 상기 제1 금속막이 노출되도록 상기 반투과 영역에 대응하는 상기 제1 감광 패턴을 제거한 제2 감광 패턴을 형성하는 단계; 및
    상기 제2 감광 패턴을 제2 식각용 마스크로 하여 상기 제1 금속막과 상기 불순물을 포함하는 비정질막을 패턴하여 상기 반도체층의 오믹 콘택층, 상기 소스 전극 및 상기 드레인 전극을 형성하는 단계
    를 포함하는 박막 트랜지스터 어레이 기판의 제조 방법.
  11. 제3항에 있어서,
    상기 화소 전극을 형성하는 단계는,
    상기 보호막 상에 상기 화소 전극을 형성하기 위한 도전막과 제3 감광막을 형성하는 단계;
    상기 제3 감광막 상에 상기 화소 전극 사이의 간격에 대응하는 반투과 영역을 포함하는 제3 마스크를 정렬하는 단계;
    상기 제3 마스크에 광을 조사하여 상기 반투과 영역에 대응하는 상기 제3 감광막의 상부 영역을 제거한 제1 감광 패턴을 형성하는 단계;
    애싱 공정을 수행하여 상기 제3 금속막이 노출되도록 상기 반투과 영역에 대응하는 상기 제1 감광 패턴을 제거한 제2 감광 패턴을 형성하는 단계; 및
    상기 제2 감광 패턴을 식각용 마스크로 하여 상기 도전막을 패턴하여 상기 화소 전극을 형성하는 단계
    를 포함하는 박막 트랜지스터 어레이 기판의 제조 방법.
KR1020100137131A 2010-12-28 2010-12-28 패턴 형성 방법 및 박막 트랜지스터 어레이 기판의 제조 방법 Ceased KR20120081663A (ko)

Priority Applications (1)

Application Number Priority Date Filing Date Title
KR1020100137131A KR20120081663A (ko) 2010-12-28 2010-12-28 패턴 형성 방법 및 박막 트랜지스터 어레이 기판의 제조 방법

Applications Claiming Priority (1)

Application Number Priority Date Filing Date Title
KR1020100137131A KR20120081663A (ko) 2010-12-28 2010-12-28 패턴 형성 방법 및 박막 트랜지스터 어레이 기판의 제조 방법

Publications (1)

Publication Number Publication Date
KR20120081663A true KR20120081663A (ko) 2012-07-20

Family

ID=46713702

Family Applications (1)

Application Number Title Priority Date Filing Date
KR1020100137131A Ceased KR20120081663A (ko) 2010-12-28 2010-12-28 패턴 형성 방법 및 박막 트랜지스터 어레이 기판의 제조 방법

Country Status (1)

Country Link
KR (1) KR20120081663A (ko)

Similar Documents

Publication Publication Date Title
JP4607418B2 (ja) 液晶ディスプレイ装置用アレー基板及びその製造方法
JP4343510B2 (ja) 液晶表示装置、液晶表示装置用薄膜トランジスタ基板及びその製造方法
KR100816333B1 (ko) 액정 표시 장치용 색 필터 기판 및 박막 트랜지스터 기판및 이들의 제조 방법
KR101264722B1 (ko) 액정표시장치의 제조방법
TWI494677B (zh) 液晶顯示器的陣列基板及其製造方法
US20170092658A1 (en) Array substrate, display device, and method for manufacturing the array substrate
CN101369588B (zh) Tft阵列电路板
EP3187929A1 (en) Array substrate and manufacturing method therefor, and display apparatus
WO2017133097A1 (zh) 阵列基板及其制造方法以及显示面板
US8203674B2 (en) Manufacturing thin film transistor array panels for flat panel displays
KR101450803B1 (ko) 어레이 기판 및 어레이 기판의 제조방법
KR100978260B1 (ko) 액정표시장치 및 그 제조방법
US7855033B2 (en) Photo mask and method of fabricating array substrate for liquid crystal display device using the same
KR101682432B1 (ko) 프린지 필드 스위칭 모드 액정표시장치용 어레이기판 및 이의 제조 방법
KR20060001165A (ko) 수평 전계 인가형 박막 트랜지스터 기판 및 그 제조 방법
KR100679516B1 (ko) 액정 표시 장치 및 그의 제조 방법
JP4567589B2 (ja) 液晶表示装置用アレイ基板及びその製造方法
CN108363252B (zh) 液晶显示装置及tft阵列基板的制造方法
KR20120081663A (ko) 패턴 형성 방법 및 박막 트랜지스터 어레이 기판의 제조 방법
KR20070082090A (ko) 표시 기판 및 이의 제조 방법
US8435722B2 (en) Method for fabricating liquid crystal display device
KR20080059801A (ko) 액정표시장치 및 그 제조 방법
KR101856209B1 (ko) 액정표시장치의 박막트랜지스터 및 그 제조방법
KR101141535B1 (ko) 전극패턴의 형성방법 및 이를 이용한 액정표시장치의제조방법
JP2007213075A (ja) 薄膜トランジスタ基板の製造方法、薄膜トランジスタ基板、及びそれを有する表示パネル

Legal Events

Date Code Title Description
PA0109 Patent application

Patent event code: PA01091R01D

Comment text: Patent Application

Patent event date: 20101228

PG1501 Laying open of application
A201 Request for examination
PA0201 Request for examination

Patent event code: PA02012R01D

Patent event date: 20151210

Comment text: Request for Examination of Application

Patent event code: PA02011R01I

Patent event date: 20101228

Comment text: Patent Application

E902 Notification of reason for refusal
PE0902 Notice of grounds for rejection

Comment text: Notification of reason for refusal

Patent event date: 20170704

Patent event code: PE09021S01D

E601 Decision to refuse application
PE0601 Decision on rejection of patent

Patent event date: 20171219

Comment text: Decision to Refuse Application

Patent event code: PE06012S01D

Patent event date: 20170704

Comment text: Notification of reason for refusal

Patent event code: PE06011S01I