KR20120037590A - 분체 공급 장치의 제어 변수 설정 방법 - Google Patents

분체 공급 장치의 제어 변수 설정 방법 Download PDF

Info

Publication number
KR20120037590A
KR20120037590A KR1020100099137A KR20100099137A KR20120037590A KR 20120037590 A KR20120037590 A KR 20120037590A KR 1020100099137 A KR1020100099137 A KR 1020100099137A KR 20100099137 A KR20100099137 A KR 20100099137A KR 20120037590 A KR20120037590 A KR 20120037590A
Authority
KR
South Korea
Prior art keywords
powder
vertical pin
height
discharge port
vertical
Prior art date
Legal status (The legal status is an assumption and is not a legal conclusion. Google has not performed a legal analysis and makes no representation as to the accuracy of the status listed.)
Granted
Application number
KR1020100099137A
Other languages
English (en)
Other versions
KR101173383B1 (ko
Inventor
김학만
Original Assignee
세크론 주식회사
Priority date (The priority date is an assumption and is not a legal conclusion. Google has not performed a legal analysis and makes no representation as to the accuracy of the date listed.)
Filing date
Publication date
Application filed by 세크론 주식회사 filed Critical 세크론 주식회사
Priority to KR1020100099137A priority Critical patent/KR101173383B1/ko
Publication of KR20120037590A publication Critical patent/KR20120037590A/ko
Application granted granted Critical
Publication of KR101173383B1 publication Critical patent/KR101173383B1/ko
Active legal-status Critical Current
Anticipated expiration legal-status Critical

Links

Images

Classifications

    • BPERFORMING OPERATIONS; TRANSPORTING
    • B29WORKING OF PLASTICS; WORKING OF SUBSTANCES IN A PLASTIC STATE IN GENERAL
    • B29CSHAPING OR JOINING OF PLASTICS; SHAPING OF MATERIAL IN A PLASTIC STATE, NOT OTHERWISE PROVIDED FOR; AFTER-TREATMENT OF THE SHAPED PRODUCTS, e.g. REPAIRING
    • B29C31/00Handling, e.g. feeding of the material to be shaped, storage of plastics material before moulding; Automation, i.e. automated handling lines in plastics processing plants, e.g. using manipulators or robots
    • B29C31/04Feeding of the material to be moulded, e.g. into a mould cavity
    • B29C31/06Feeding of the material to be moulded, e.g. into a mould cavity in measured doses, e.g. by weighting
    • BPERFORMING OPERATIONS; TRANSPORTING
    • B29WORKING OF PLASTICS; WORKING OF SUBSTANCES IN A PLASTIC STATE IN GENERAL
    • B29CSHAPING OR JOINING OF PLASTICS; SHAPING OF MATERIAL IN A PLASTIC STATE, NOT OTHERWISE PROVIDED FOR; AFTER-TREATMENT OF THE SHAPED PRODUCTS, e.g. REPAIRING
    • B29C31/00Handling, e.g. feeding of the material to be shaped, storage of plastics material before moulding; Automation, i.e. automated handling lines in plastics processing plants, e.g. using manipulators or robots
    • B29C31/04Feeding of the material to be moulded, e.g. into a mould cavity
    • B29C31/042Feeding of the material to be moulded, e.g. into a mould cavity using dispensing heads, e.g. extruders, placed over or apart from the moulds

Landscapes

  • Engineering & Computer Science (AREA)
  • Mechanical Engineering (AREA)
  • Robotics (AREA)
  • Filling Or Emptying Of Bunkers, Hoppers, And Tanks (AREA)

Abstract

분체를 수용하기 위한 내부 공간을 갖는 하우징과, 상기 하우징의 하부에 회전 가능하도록 장착되어 상기 분체를 공급하기 위한 토출구가 형성된 노즐과, 상기 토출구에 삽입되어 수직 방향으로 연장하며 상기 토출구를 개방하기 위한 측면 홈이 형성된 수직 핀을 포함하는 개폐 부재와, 상기 토출구를 개폐하기 위하여 상기 개폐 부재를 수직 방향으로 왕복 운동시키는 제1 구동부와, 상기 노즐을 회전시키기 위한 제2 구동부와, 상기 수직 핀의 높이를 조절하기 위하여 상기 개폐 부재를 수직 방향으로 이동시키는 제3 구동부를 포함하는 분체 공급 장치의 제어 변수들을 설정하는 방법에 있어서, 제1 및 제2 구동부를 동작시키고, 상기 토출구를 통하여 상기 분체가 공급되도록 상기 수직 핀을 기 설정된 제1 높이로 이동시킨 후, 기 설정된 시간 동안 공급된 상기 분체의 중량을 측정한다. 상기 측정된 중량은 메모리 장치에 저장되며, 상기 수직 핀이 기 설정된 제2 높이에 도달할 때까지 상기 수직 핀의 높이를 단계적으로 변화시키면서 상기 단계들이 반복적으로 수행된다. 상기와 같이 획득된 수직 핀의 높이에 따른 상기 분체의 공급량에 대한 데이터는 상기 분체 공급 장치의 제어 변수들을 설정하기 위한 사용된다.

Description

분체 공급 장치의 제어 변수 설정 방법{Method of determining control parameters of an apparatus for supplying a powder material}
본 발명의 실시예들은 분체 공급 장치의 제어 변수 설정 방법에 관한 것이다. 보다 상세하게는 분말 형태의 형광물질을 공급하기 위한 장치에 있어서 상기 형광 물질 분말의 공급을 제어하기 위한 변수들을 자동으로 설정하기 위한 방법에 관한 것이다.
일반적으로 발광 다이오드와 같은 발광 소자의 렌즈는 액상 수지를 이용하여 성형될 수 있다. 상기 액상 수지로는 실리콘 수지, 폴리메틸 펜텐 수지, 폴리에테르 설폰 수지, 폴리에테르 이미드 수지, 등이 사용될 수 있으며, 상기 액상 수지의 색상은 상기 액상 수지에 첨가되는 형광물질에 의해 결정될 수 있다.
특히, 목적하는 색상을 구현하기 위하여 다수의 형광 물질들이 사용될 수 있으며 상기 형광 물질들은 분말 형태로 공급될 수 있다. 상기 형광 물질들의 공급은 작업자의 수작업에 의존하는 것이 일반적이며, 이에 따라 상기 액상 수지를 준비하는데 상당한 시간이 소요될 수 있다. 또한, 상기 형광 물질들의 공급이 부정확하게 이루어질 수 있으므로 상기 렌즈의 품질이 저하될 우려가 있다.
상기와 같은 문제점들을 해결하기 위하여 최근 상기 형광 물질 분말과 같은 분체를 자동적으로 공급하기 위한 장치의 개발이 시도되고 있으며, 또한 상기 분체 공급 장치의 제어 방법에 대한 개발이 시도되고 있다.
본 발명의 실시예들은 분체 공급 장치의 제어 변수들을 자동적으로 설정하는 방법을 제공하는데 그 목적이 있다.
본 발명의 실시예들에 따르면, 분체 공급 장치는 분체를 수용하기 위한 내부 공간을 갖는 하우징과, 상기 하우징의 하부에 회전 가능하도록 장착되어 상기 분체를 공급하기 위한 토출구가 형성된 노즐과, 상기 토출구에 삽입되어 수직 방향으로 연장하며 상기 토출구를 개방하기 위한 측면 홈이 형성된 수직 핀을 포함하는 개폐 부재와, 상기 토출구를 개폐하기 위하여 상기 개폐 부재를 수직 방향으로 왕복 운동시키는 제1 구동부와, 상기 노즐을 회전시키기 위한 제2 구동부와, 상기 수직 핀의 높이를 조절하기 위하여 상기 개폐 부재를 수직 방향으로 이동시키는 제3 구동부를 포함할 수 있다. 상기 분체 공급 장치의 제어 변수들을 설정하는 방법은 a) 제1 및 제2 구동부를 동작시키는 단계와, b) 상기 토출구를 통하여 상기 분체가 공급되도록 상기 수직 핀을 기 설정된 제1 높이로 이동시키는 단계와, c) 기 설정된 시간 동안 공급된 상기 분체의 중량을 측정하는 단계와, d) 상기 측정된 중량을 메모리 장치에 저장하는 단계와, e) 상기 수직 핀이 기 설정된 제2 높이에 도달할 때까지 상기 수직 핀의 높이를 단계적으로 변화시키면서 상기 c) 및 d) 단계들을 반복적으로 수행하여 상기 수직 핀의 높이에 따른 상기 분체의 공급량에 대한 데이터를 획득하는 단계와, f) 상기 데이터에 근거하여 상기 분체 공급 장치의 제어 변수들을 설정하는 단계를 포함할 수 있다.
본 발명의 실시예들에 따르면, 상기 수직 핀의 왕복 운동 속도를 단계적으로 변화시키면서 상기 b) 내지 e) 단계들을 반복적으로 수행하는 단계를 더 포함할 수 있다.
본 발명의 실시예들에 따르면, 상기 노즐의 회전 속도를 단계적으로 변화시키면서 상기 b) 내지 e) 단계들을 반복적으로 수행하는 단계를 더 포함할 수 있다.
본 발명의 실시예들에 따르면, 상기 a) 단계를 수행하기 전에 상기 분체의 중량을 측정하기 위한 중량 센서를 초기화하는 단계를 더 포함할 수 있다.
본 발명의 실시예들에 따르면, 상기 e)단계는 e1) 상기 수직 핀을 상기 토출구가 닫히는 초기 위치로 이동시키는 단계와, e2) 상기 분체의 중량을 측정하기 위한 중량 센서를 초기화시키는 단계와, e3) 직전 단계에서의 수직 핀 높이보다 기 설정된 수치만큼 변화된 높이로 상기 수직 핀을 이동시키는 단계와, e4) 상기 c) 및 d) 단계들을 수행하는 단계와, e5) 상기 수직 핀이 상기 제2 높이에 도달될 때까지 상기 e1) 내지 e4) 단계들을 반복적으로 수행하는 단계를 포함할 수 있다.
상술한 바와 같은 본 발명의 실시예들에 따르면, 수직 핀의 높이, 수직 핀의 왕복 이동 속도 및 노즐의 회전 속도에 따른 분체의 공급량 및 공급 속도를 정확히 측정할 수 있으므로 상기 측정 데이터에 기초하여 상기 분체 공급 장치의 제어 변수들을 정확하게 설정할 수 있다.
특히, 상기와 같은 제어 변수 설정 방법은 다양한 특성들, 예를 들면, 입자의 크기, 입자간 응집력, 등이 다른 다양한 분체들을 공급하는 경우 상기 분체 공급 장치의 제어 변수들을 설정하는데 유용하게 사용될 수 있다. 즉, 상기 제어 변수들을 자동적으로 설정이 가능하므로 상기 제어 변수들을 도출하는데 소요되는 시간이 단축될 수 있으며, 이에 따라 상기 분체 공급에 소요되는 시간을 전체적으로 단축시킬 수 있다.
도 1은 본 발명의 일 실시예에 따른 분체 공급 장치를 설명하기 위한 개략적인 구성도이다.
도 2는 도 1에 도시된 노즐을 설명하기 위한 개략적인 분해도이다.
도 3 내지 도 5는 도 1에 도시된 개폐 부재의 동작을 설명하기 위한 개략도들이다.
도 6은 도 1에 도시된 캠플레이트를 설명하기 위한 개략적인 평면도이다.
도 7은 도 1에 도시된 수직 핀이 제1 높이에서 왕복 운동하는 상태를 설명하기 위한 개략도이다.
도 8은 도 1에 도시된 수직 핀이 제2 높이에서 왕복 운동하는 상태를 설명하기 위한 개략도이다.
도 9는 본 발명의 일 실시예에 따른 분체 공급 장치의 제어 변수 설정 방법을 설명하기 위한 순서도이다.
도 10은 본 발명의 다른 실시예에 따른 분체 공급 장치의 제어 변수 설정 방법을 설명하기 위한 순서도이다.
이하, 본 발명은 본 발명의 실시예들을 보여주는 첨부 도면들을 참조하여 더욱 상세하게 설명된다. 그러나, 본 발명은 하기에서 설명되는 실시예들에 한정된 바와 같이 구성되어야만 하는 것은 아니며 이와 다른 여러 가지 형태로 구체화될 수 있을 것이다. 하기의 실시예들은 본 발명이 온전히 완성될 수 있도록 하기 위하여 제공된다기보다는 본 발명의 기술 분야에서 숙련된 당업자들에게 본 발명의 범위를 충분히 전달하기 위하여 제공된다.
하나의 요소가 다른 하나의 요소 또는 층 상에 배치되는 또는 연결되는 것으로서 설명되는 경우 상기 요소는 상기 다른 하나의 요소 상에 직접적으로 배치되거나 연결될 수도 있으며, 다른 요소들 또는 층들이 이들 사이에 게재될 수도 있다. 이와 다르게, 하나의 요소가 다른 하나의 요소 상에 직접적으로 배치되거나 연결되는 것으로서 설명되는 경우, 그들 사이에는 또 다른 요소가 있을 수 없다. 다양한 요소들, 조성들, 영역들, 층들 및/또는 부분들과 같은 다양한 항목들을 설명하기 위하여 제1, 제2, 제3 등의 용어들이 사용될 수 있으나, 상기 항목들은 이들 용어들에 의하여 한정되지는 않을 것이다.
하기에서 사용된 전문 용어는 단지 특정 실시예들을 설명하기 위한 목적으로 사용되는 것이며, 본 발명을 한정하기 위한 것은 아니다. 또한, 달리 한정되지 않는 이상, 기술 및 과학 용어들을 포함하는 모든 용어들은 본 발명의 기술 분야에서 통상적인 지식을 갖는 당업자에게 이해될 수 있는 동일한 의미를 갖는다. 통상적인 사전들에서 한정되는 것들과 같은 상기 용어들은 관련 기술과 본 발명의 설명의 문맥에서 그들의 의미와 일치하는 의미를 갖는 것으로 해석될 것이며, 명확히 한정되지 않는 한 이상적으로 또는 과도하게 외형적인 직감으로 해석되지는 않을 것이다.
본 발명의 실시예들은 본 발명의 이상적인 실시예들의 개략적인 도해들인 단면 도해들을 참조하여 설명된다. 이에 따라, 상기 도해들의 형상들로부터의 변화들, 예를 들면, 제조 방법들 및/또는 허용 오차들의 변화들은 예상될 수 있는 것들이다. 따라서, 본 발명의 실시예들은 도해로서 설명된 영역들의 특정 형상들에 한정된 바대로 설명되어지는 것은 아니라 형상들에서의 편차들을 포함하는 것이며, 도면들에 설명된 영역들은 전적으로 개략적인 것이며 이들의 형상들은 영역의 정확한 형상을 설명하기 위한 것이 아니며 또한 본 발명의 범위를 한정하고자 하는 것도 아니다.
도 1은 본 발명의 일 실시예에 따른 분체 공급 장치를 설명하기 위한 개략적인 구성도이고, 도 2는 도 1에 도시된 노즐을 설명하기 위한 개략적인 분해도이다.
도 1 및 도 2를 참조하면, 본 발명의 일 실시예에 따른 분체 공급 장치(10)는 분말 형태의 형광 물질을 공급하기 위하여 사용될 수 있다. 특히, 상기 분체 공급 장치는 발광 다이오드와 같은 발광 소자의 렌즈를 형성하기 위한 액상 수지에 상기 형광 물질을 공급하기 위하여 사용될 수 있다.
상기 분체 공급 장치(10)는 상기 분체(20)를 수용하기 위한 제1 내부 공간(100A)을 갖는 하우징(100)을 포함할 수 있다. 상기 하우징(100)은 개방된 상부와 하부를 가질 수 있으며, 상기 하우징(100)의 하부에는 상기 분체(20)를 하방으로 공급하기 위한 토출구(110A)를 갖는 노즐(110)이 회전 가능하도록 장착될 수 있다.
상기 토출구(110A) 내에는 상기 하우징(100)에 장착되어 수직 방향으로 이동 가능하도록 배치되는 개폐 부재(120)가 배치될 수 있다. 상기 개폐 부재(120)는 제1 구동부(130)와 연결될 수 있으며, 상기 제1 구동부(130)는 상기 토출구(110A)를 통하여 상기 분체(20)를 하방으로 공급하기 위하여 상기 개폐 부재(120)를 수직 방향으로 이동시킬 수 있다.
상기 하우징(100) 내에 수용된 분체(20)가 상기 토출구(100A)를 통하여 하방으로 공급될 수 있도록 상기 노즐(110)을 회전시키기 위한 제2 구동부(150)가 상기 노즐(110)과 연결될 수 있다. 즉, 상기 개방된 토출구(110A)를 통하여 상기 분체(20)가 하방으로 공급될 수 있으며, 상기 하우징(100) 내부의 분체(20)는 상기 노즐(110)의 회전에 의해 하방으로 이동될 수 있다.
상기 노즐(110)은 실린더 형태를 가질 수 있으며 상기 하우징(100)의 제1 내부 공간(100A)과 연통하는 제2 내부 공간(110B)을 가질 수 있다. 상기 제1 내부 공간(100A)과 제2 내부 공간(110B)은 공통의 중심축을 가질 수 있다. 예를 들면, 상기 노즐(110)은 상기 제2 내부 공간(11B)을 갖는 내측 몸체(112)와 상기 내측 몸체(112)를 감싸도록 구비된 외측 몸체(114)와, 상기 내측 몸체(112)가 회전 가능하도록 상기 내측 몸체(112)와 외측 몸체(114) 사이에 구비된 베어링(116)과 상기 내측 몸체(112)의 하단부에 결합되며 상기 토출구(110A)를 갖는 하부 커버(118)를 포함할 수 있다.
상기 내측 몸체(112)와 외측 몸체(114)는 각각 실린더 형태를 가질 수 있으며, 상기 외측 몸체(114)가 상기 하우징(100)의 하단부에 장착될 수 있다. 예를 들면, 상기 하우징(100)의 하단부에는 상기 외측 몸체(114)가 삽입되는 링 형태의 커플링 부재(102)가 구비될 수 있으며, 상기 내측 몸체(112)와 외측 몸체(114) 사이에는 도시된 바와 같이 한 쌍의 베어링들(116)이 배치될 수 있다. 그러나, 상기 외측 몸체(114)는 상기 베어링들(116)과 내측 몸체(112)가 삽입되는 관통홀이 형성된 직육면체 형태를 가질 수도 있다. 따라서, 본 발명의 범위는 상기 외측 몸체(114)의 형상에 의해 한정되지는 않을 것이다.
상기 내측 몸체(112)는 하방으로 점차 감소되는 내경을 가질 수 있다. 이는 상기 분체(20)가 상기 토출구(110A)를 통하여 용이하게 공급되도록 하기 위함이다. 예를 들면, 상기 내측 몸체(112)는 일정한 내경을 갖는 상부 몸체(112A)와 하방으로 점차 감소되는 내경을 갖는 하부 몸체(112B)를 포함할 수 있다.
또한, 상기 내측 몸체(112)는 상기 외측 몸체(114)보다 긴 길이를 가질 수 있다. 따라서, 상기 내측 몸체(112)의 하부는 상기 외측 몸체(114)로부터 하방으로 돌출될 수 있으며, 상기 돌출된 내측 몸체(112)의 하부에 상기 제2 구동부(150)가 연결될 수 있다.
상기 제2 구동부(150)는 모터(152)를 포함할 수 있으며, 상기 하우징(100)의 일 측벽과 평행하게 즉 수직 방향으로 배치되는 회전축(154)과 상기 회전축(154)의 하부에 장착된 구동 기어(156)와 상기 내측 몸체(112)의 하부에 장착되어 상기 구동 기어(156)와 결합되는 피동 기어(158)에 의해 상기 내측 몸체(112)와 연결될 수 있다. 그러나, 상기 회전축(154)은 한 쌍의 풀리들과 벨트에 의해 상기 내측 몸체(112)의 하부에 연결될 수도 있다.
한편, 상기 하우징(100)은 수직 방향으로 길게 연장하는 직육면체 형태를 가질 수 있다. 그러나, 상기 하우징(100)은 상기 노즐(110)과 공통의 중심축을 갖는 실린더 형태를 가질 수도 있다. 따라서, 상기 하우징(100)의 형상에 의해 본 발명의 범위가 한정되지는 않을 것이다.
상기 하부 커버(118)는 상기 분체에 의해 마모되는 것을 방지하기 위하여 상대적으로 높은 경도를 갖는 세라믹 물질로 이루어지는 것이 바람직하다. 예를 들면, 상기 하부 커버(118)는 지르코니아로 이루어질 수 있다.
상기 개폐 부재(120)는 상기 토출구(110A)에 삽입되도록 수직 방향으로 연장하는 수직 핀(122)을 포함할 수 있다. 상기 수직 핀(122)의 측면에는 상기 토출구(110A)를 개방하기 위한 홈(122A)이 형성될 수 있다. 예를 들면, 도시된 바와 같이 상기 수직 핀(122)의 하부에 의해 상기 토출구(110A)가 닫힐 수 있으며, 상기 홈(122A)에 의해 상기 토출구(110A)가 개방될 수 있다.
도 3 내지 도 5는 도 1에 도시된 개폐 부재의 동작을 설명하기 위한 개략도들이다.
도 3 및 도 4를 참조하면, 본 발명의 일 실시예에 따르면, 상기 제1 구동부(130)는 상기 토출구(110A)를 개폐하기 위하여 상기 개폐 부재(120)를 수직 방향으로 이동시킬 수 있다. 예를 들면, 상기 제1 구동부(130)는 상기 수직 핀(122)의 하부에 의해 닫혀 있는 토출구(110A)를 개방하기 위하여 상기 수직 핀(122)을 하방으로 이동시킬 수 있으며, 이에 따라 상기 토출구(110A)는 상기 홈(122A)에 의해 개방될 수 있다. 또한, 상기 제1 구동부(130)는 상기 개방된 토출구(110A)를 닫기 위하여 상기 핀(122)을 상방으로 이동시킬 수 있으며, 이에 따라 상기 토출구(110A)는 상기 수직 핀(122)의 하부에 의해 닫힐 수 있다.
본 발명의 다른 실시예에 따르면, 도 3에 도시된 바와 같이 상기 토출구(110A)는 상기 수직 핀(122)이 하강으로 이동됨에 따라 개방될 수 있으며, 이어서 도 5에 도시된 바와 같이 상기 제1 구동부(130)는 상기 토출구(110A)를 닫기 위하여 상기 수직 핀(122)을 하방으로 이동시킬 수 있다. 즉, 상기 수직 핀(122)이 상기 제1 구동부(130)에 의하여 하방으로 이동되는 동안 상기 토출구(110A)는 상기 홈(122A)에 의해 개방될 수 있으며, 이어서 상기 홈(122A)의 상부에 위치된 상기 수직 핀(122)의 중앙 부위 또는 상부에 의해 닫힐 수 있다. 또한, 도시되지는 않았으나, 상기 토출구(110A)는 상기 수직 핀(122)이 상방으로 이동됨에 따라 상기 홈(122A)에 의해 개방된 후 상기 수직 핀(122)의 하부에 의해 닫힐 수 있다.
상기 제1 구동부(130)는 상기 토출구(110A)가 상기 수직 핀(122)에 의해 반복적으로 개폐되도록 상기 수직 핀(122)을 수직 방향으로 왕복 운동시킬 수 있으며, 이에 따라 상기 분체(20)는 불연속적으로 공급될 수 있다. 특히, 상기 제1 구동부(130)는 상기 분체(20)의 공급량을 정확하게 조절하기 위하여 상기 수직 핀(122)의 왕복 운동 속도를 조절할 수 있다. 즉, 상기 분체(20)의 공급은 상기 수직 핀(122)의 수직 방향 왕복 운동에 의해 맥동(pulse) 형태로 이루어질 수 있으며, 상기 수직 핀(122)의 왕복 운동 속도에 따라 상기 분체(20)의 공급 속도가 변화될 수 있다.
한편, 상기 수직 핀(122)은 상기 분체(20)에 의해 마모되는 것을 방지하기 위하여 상대적으로 높은 경도를 갖는 세라믹 물질로 이루어지는 것이 바람직하다. 예를 들면, 상기 수직 핀(122)은 지르코니아로 이루어질 수 있다.
다시 도 1을 참조하면, 상기 개폐 부재(120)는 상기 수직 핀의(122) 상단부로부터 수직 방향으로 연장하며 상기 수직 핀(122)보다 큰 직경을 갖는 제1 로드(124)와 상기 제1 로드(124)의 상단부로부터 수직 방향으로 연장하며 상기 제1 로드(124)보다 작은 직경을 갖는 제2 로드(126) 및 상기 제2 로드(126)의 상단부에 결합되는 캡(128)을 포함할 수 있다.
상기 하우징(100)의 상단부에는 상기 제2 로드(126)가 통과하는 관통홀을 갖는 상부 커버(104)가 결합될 수 있으며, 상기 상부 커버(104)와 상기 캡(128) 사이에는 스프링(106)이 배치될 수 있다. 특히, 상기 상부 커버(104)는 상기 캡(128)과 스프링(106)이 배치되는 제3 내부 공간(104A)을 가질 수 있으며, 상기 관통홀은 상기 상부 커버(104)의 하부를 통해 형성될 수 있다. 예를 들면, 도시된 바와 같이 상기 상부 커버(104)는 상기 제1 내부 공간(100A) 내부로 삽입될 수 있다. 이때, 상기 제2 로드(126)는 상기 관통홀과 상기 제3 내부 공간(104A) 내에 배치된 코일 스프링(106)을 통해 연장할 수 있으며, 상기 제2 로드(126)의 상단부에 캡(128)이 결합될 수 있다.
상기 스프링(106)은 상기 개폐 부재(120)가 상기 제1 구동부(130)에 의해 하방으로 이동된 후 상기 개폐 부재(120)를 상방으로 이동시키기 위하여 사용될 수 있다. 즉, 상기 개폐 부재(120)는 상기 스프링(106)의 탄성 복원력에 의해 상방으로 이동될 수 있다.
상기 제1 구동부(130)는 상기 캡(128)의 상부면 상에 위치되며 수직 방향으로 연장하는 스플라인축(132), 상기 스플라인축(132)과 결합된 스플라인(134), 상기 스플라인축(132)의 상단부에 배치된 캠플레이트(136), 상기 캠플레이트(136)의 상부에 배치된 구동 플레이트(138), 상기 캠플레이트(136)와 상기 구동 플레이트(138) 사이에 원주 방향으로 배치된 다수의 볼들(140), 상기 볼들(140)을 유지시키기 위한 리테이너(142), 상기 구동 플레이트(138)와 연결된 구동축(144), 및 상기 구동축(144)과 연결된 모터(146)를 포함할 수 있다.
도 6은 도 1에 도시된 캠플레이트를 설명하기 위한 개략적인 평면도이다.
도 6을 참조하면, 상기 캠플레이트(136)의 상부면에는 원주 방향으로 그루브(136A)가 형성될 수 있으며, 상기 볼들(140)은 상기 그루브(136)를 따라 원주 방향으로 이동될 수 있다. 특히, 상기 그루브(136A)의 바닥면은 상기 개폐 부재(120)를 수직 방향으로 왕복 운동시키기 위하여 원주 방향으로 사인(sine) 곡선의 형태를 가질 수 있다.
그러나, 상기 제1 구동부(130)는 일반적인 형태의 캠과 캠축을 이용하여 상기 개폐 부재(120)를 수직 방향으로 왕복 운동시킬 수도 있다. 따라서, 상기 제1 구동부(130)의 구성에 의해 본 발명의 범위가 한정되지는 않을 것이다.
다시 도 1을 참조하면, 상기 제1 구동부(130)는 베이스 부재(148)를 더 포함할 수 있으며, 상기 스플라인(134) 및 상기 모터(146)는 상기 베이스 부재(148) 상에 장착될 수 있다.
상기 분체 공급 장치(10)는 상기 제1 구동부(130)와 연결되어 상기 개폐 부재(120)의 위치를 조절하기 위한 제3 구동부(160)를 더 포함할 수 있다. 예를 들면, 상기 제3 구동부(160)는 상기 베이스 부재(148)와 연결된 볼 블록(162)과, 상기 볼 블록(162)에 결합된 볼 스크루(164) 및 상기 볼 스크루(164)를 회전시키기 위한 모터(166)를 포함할 수 있다.
특히, 상기 수직 핀(122)의 왕복 운동 거리는 변화되지 않으므로 상기 분체(20)의 공급량 및 공급 속도는 상기 수직 핀(122)의 위치 즉 상기 수직 핀(122)의 높이에 따라 변화될 수 있다. 상기 제3 구동부(160)는 상기 분체(20)의 공급량 및 공급 속도를 조절하기 위하여 상기 수직 핀(122)의 높이를 조절할 수 있다.
상기 제1, 제2 및 제3 구동부(130,150,160)의 동작은 제어부(170)에 의해 제어될 수 있다. 상기 제어부(170)는 상기 개폐 부재(120)의 위치를 조절하기 위하여 상기 제3 구동부(160)를 제어할 수 있으며, 상기 노즐(110)의 회전 속도를 조절하기 위하여 상기 제2 구동부(150)를 제어할 수 있다. 또한, 상기 제어부(170)는 상기 분체(20)의 공급량 및 공급 속도를 정확하게 조절하기 위하여 상기 제1 구동부(130)를 제어할 수 있다.
상기 제어부(170)는 상기 분체(20)의 공급량에 따라 상기 제1, 제2 및 제3 구동부(130,150,160)를 제어할 수 있다. 특히, 상기 분체 공급 장치(10)의 아래에는 상기 토출구(110A)를 통해 공급되는 분체(20)를 수용하기 위한 용기(30)가 배치될 수 있으며, 상기 용기(30)와 상기 분체(20)의 무게는 중량 센서(40), 예를 들면, 로드 셀에 의해 측정될 수 있다. 즉, 상기 중량 센서(40)는 상기 제어부(170)와 연결될 수 있으며, 상기 제어부(170)는 상기 중량 센서(40)에 의해 측정된 용기(30)와 분체(20)의 무게에 따라 상기 제1, 제2 및 제3 구동부(130,150,160)의 동작을 제어할 수 있다. 이때, 상기 제어부(170)는 상기 중량 센서(40)에 의해 측정된 상기 분체(20)의 중량을 저장할 수 있는 메모리 장치(172)를 포함할 수 있다.
도 3 내지 도 5를 참조하면, 상기 분체(20)는 상기 개폐 부재(120)의 수직 방향 왕복 운동에 의해 상기 토출구(110A)를 통하여 공급될 수 있다. 여기서, 상기 분체(20)가 공급되는 동안 상기 개폐 부재(120)는 회전되지 않는다. 따라서, 상기 분체(20)가 공급되는 방향이 도 3에 도시된 바와 같이 일정하다. 따라서, 상기 용기(30)의 입구가 다소 작은 경우에도 상기 분체(20)를 용이하게 공급할 수 있다.
다시 도 1을 참조하면, 상기 분체 공급 장치(10)는 상기 하우징(100)의 측벽에 연결되며 상기 제1 내부 공간(100A)으로 상기 분체(20)를 공급하기 위한 분체 공급 용기(180)를 더 포함할 수 있다.
상술한 바와 같은 분체 공급 장치를 이용하여 분체를 공급하는 경우 상기 분체의 공급량 및 공급 속도는 입자의 크기, 입자간 응집력, 등과 같은 상기 분체의 특성들에 의해 변화될 수 있다. 따라서, 상기 분체의 특성들에 따라 제어 변수들이 새로이 설정되는 것이 바람직하다. 특히, 상기 분체의 공급량 및 공급 속도는 상기 수직 핀의 높이, 상기 수직 핀의 왕복 이동 속도, 상기 노즐의 회전 속도에 의해 변화될 수 있다.
예를 들면, 상기 수직 핀의 왕복 이동 거리가 약 1mm 정도인 경우, 상기 수직 핀이 왕복 운동하는 위치 즉 상기 수직 핀의 높이에 의해 상기 분체의 공급량 및 공급 속도가 변화될 수 있으므로 상기 수직 핀의 높이를 적절하게 설정하는 것이 바람직하다.
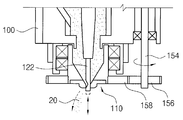
도 7은 도 1에 도시된 수직 핀이 제1 높이에서 왕복 운동하는 상태를 설명하기 위한 개략도이며, 도 8은 도 1에 도시된 수직 핀이 제2 높이에서 왕복 운동하는 상태를 설명하기 위한 개략도이다.
도 7을 참조하면, 상기 수직 핀은 상기 제3 구동부에 의해 기 설정된 제1 높이, 예를 들면, 분체가 공급되기 시작하는 높이로 이동되면 도시된 바와 같이 상기 분체가 공급되기 시작할 수 있다.
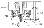
한편, 도 8을 참조하면, 상기 분체는 상기 제3 구동부에 의해 기 설정된 제2 높이, 예를 들면, 상기 분체가 공급될 수 있는 최종 높이에 도달된 경우까지 상기 왕복 운동에 의해 공급될 수 있다. 그러나, 상기 수직 핀의 높이가 상기 제2 높이를 초과한 경우 상기 분체는 공급되지 않는다.
또한, 상기 수직 핀의 높이가 상기 제1 높이와 제2 높이 사이에 있는 경우 상기 제1 또는 제2 높이와 비교하여 상기 분체의 공급량 및 공급 속도가 변화될 수 있다.
본 발명의 일 실시예에 따르면, 상기와 같이 분체의 특성에 따라 상기 분체 공급 장치의 제어 변수를 측정하는 방법은 상기 수직 핀의 높이, 상기 수직 핀의 왕복 이동 속도 및 상기 노즐의 회전 속도에 따라 단위 시간당 상기 분체의 공급량을 측정함으로써 구현될 수 있다.
도 9는 본 발명의 일 실시예에 따른 분체 공급 장치의 제어 변수 설정 방법을 설명하기 위한 순서도이다.
도 9를 참조하면, S100 단계에서 상기 분체 공급 용기를 통하여 상기 하우징의 제1 내부 공간으로 분체를 공급한다.
S200 단계에서, 상기 중량 센서를 초기화시킨다. 예를 들면, 상기 분체가 공급되는 용기의 중량이 부가된 상태를 기준으로 상기 중량 센서를 초기화시킬 수 있다. 이때, 상기 제1, 제2 및 제3 구동부의 모터들도 함께 초기화될 수 있다.
S300 단계에서, 상기 수직 핀이 왕복 이동되도록 그리고 상기 노즐이 회전되도록 상기 제1 구동부와 제2 구동부를 동작시킨다. 상기 수직 핀의 왕복 이동 속도와 상기 노즐의 회전 속도는 미리 설정될 수 있다. 한편, 상기 수직 핀의 왕복 이동 거리는, 예를 들면, 약 1mm 정도로 설정될 수 있다. 그러나, 상기 수직 핀의 왕복 이동 거리는 필요에 따라 다양하게 변경될 수 있다.
S400 단계에서, 상기 수직 핀을 기 설정된 제1 높이로 이동시켜 상기 분체가 상기 토출구를 통하여 공급될 수 있도록 한다. 특히, 상기 제1 높이는 상기 수직 핀의 왕복 이동에 의하여 상기 분체가 상기 토출구를 통하여 맥동 형태로 공급될 수 있는 높이로 설정될 수 있다. 즉, 상기 제1 높이는 상기 수직 핀의 왕복 이동에 의하여 상기 토출구가 반복적으로 개폐될 수 있는 높이를 의미한다.
S500 단계에서, 기 설정된 시간 동안 상기 분체가 공급된 후 상기 시간 동안 공급된 분체의 중량을 측정하고, S600 단계에서, 상기 측정된 분체의 중량을 메모리 장치에 저장한다.
S700 단계에서, 상기 수직 핀이 기 설정된 제2 높이에 도달될 때까지 상기 수직 핀의 높이를 단계적으로 변화시키면서 상기 S500 및 S600 단계들을 반복적으로 수행하여 상기 수직 핀의 높이 변화에 따른 상기 분체의 공급량에 대한 데이터를 획득한다. 이때, 상기 제2 높이는 상기 분체가 공급될 수 있는 한계 높이로 설정될 수 있다. 즉, 상기 수직 핀이 상기 제2 높이를 벗어나는 경우 상기 수직 핀이 왕복 이동하더라도 상기 분체가 공급되지 않는다. 결과적으로, 상기 메모리 장치에는 상기 수직 핀의 높이와 상기 분체의 공급량에 대한 데이터가 저장될 수 있다.
S800 단계에서, 상기 제어부는 상기 데이터에 근거하여 상기 분체 공급 장치의 제어 변수들을 설정할 수 있다.
한편, 상기 수직 핀의 높이와 상기 분체의 공급량에 대한 데이터는 상기 수직 핀의 왕복 이동 속도와 상기 노즐의 회전 속도에 따라 변화될 수도 있다. 따라서, 본 발명의 다른 실시예에 따르면, 상기 수직 핀의 왕복 운동 속도를 단계적으로 변화시키면서 상기 S400 내지 S700 단계들을 반복적으로 수행할 수 있다. 또한, 상기 노즐의 회전 속도를 단계적으로 변화시키면서 상기 S400 내지 S700 단계들을 반복적으로 수행할 수 있다.
도 10은 본 발명의 다른 실시예에 따른 분체 공급 장치의 제어 변수 설정 방법을 설명하기 위한 순서도이다.
본 발명의 다른 실시예에 따르면 다음의 단계들을 더 포함할 수 있다.
구체적으로, 도 10에 도시된 바와 같이, S702 단계에서 상기 토출구가 닫히는 초기 위치로 상기 수직 핀을 이동시킬 수 있다. 즉, 상기 제1 높이에서 공급된 상기 분체의 중량을 측정한 후 상기 수직 핀을 초기 위치로 이동시켜 상기 분체의 공급을 중단시킬 수 있다.
이어서, S704 단계에서 상기 중량 센서를 초기화시킨 후 S706 단계에서 직전 단계에서의 높이 즉 제1 높이보다 기 설정된 수치만큼 변화된 높이로 상기 수직 핀을 이동시킬 수 있다.
S708 단계에서, 상기 S500 및 S600 단계들을 수행하여 공급된 분체의 중량 데이터를 획득할 수 있으며, S710 단계에서 상기 수직 핀이 상기 제2 높이에 도달될 때까지 상기 수직 핀의 높이를 단계적으로 변화시키면서 상기 S702 내지 S708 단계들을 반복적으로 수행할 수 있다.
상술한 바와 같은 본 발명의 실시예들에 따르면, 상기 수직 핀의 높이와 상기 분체의 공급량에 대한 데이터는 자동적으로 획득될 수 있으며 또한 상기 획득된 데이터에 근거하여 상기 분체 공급 장치의 제어 변수들이 목적하는 바에 대응하도록 보다 쉽게 설정될 수 있다. 즉, 상기 데이터를 획득하기 위한 시간이 크게 감소될 수 있으며, 이에 따라 상기 분체 공급 장치의 운용 준비에 필요한 시간이 크게 감소될 수 있다.
상기에서는 본 발명의 바람직한 실시예를 참조하여 설명하였지만, 해당 기술 분야의 숙련된 당업자는 하기의 특허 청구의 범위에 기재된 본 발명의 사상 및 영역으로부터 벗어나지 않는 범위 내에서 본 발명을 다양하게 수정 및 변경시킬 수 있음을 이해할 수 있을 것이다.
10 : 분체 공급 장치 20 : 분체
30 : 용기 40 : 중량 센서
100 : 하우징 100A : 제1 내부 공간
102 : 커플링 부재 104 : 상부 커버
104A : 제3 내부 공간 106 : 스프링
110 : 노즐 110A : 토출구
110B : 제2 내부 공간 112 : 내측 몸체
112A : 상부 몸체 112B : 하부 몸체
114 : 외측 몸체 116 : 베어링
118 : 하부 커버 120 : 개폐 부재
122 : 수직 핀 124 : 제1 로드
126 : 제2 로드 128 : 캡
130 : 제1 구동부 150 : 제2 구동부
160 : 제3 구동부 170 : 제어부
172 : 메모리 장치 180 : 분체 공급 용기

Claims (5)

  1. 분체를 수용하기 위한 내부 공간을 갖는 하우징과, 상기 하우징의 하부에 회전 가능하도록 장착되어 상기 분체를 공급하기 위한 토출구가 형성된 노즐과, 상기 토출구에 삽입되어 수직 방향으로 연장하며 상기 토출구를 개방하기 위한 측면 홈이 형성된 수직 핀을 포함하는 개폐 부재와, 상기 토출구를 개폐하기 위하여 상기 개폐 부재를 수직 방향으로 왕복 운동시키는 제1 구동부와, 상기 노즐을 회전시키기 위한 제2 구동부와, 상기 수직 핀의 높이를 조절하기 위하여 상기 개폐 부재를 수직 방향으로 이동시키는 제3 구동부를 포함하는 분체 공급 장치의 제어 변수들을 설정하는 방법에 있어서,
    a) 제1 및 제2 구동부를 동작시키는 단계;
    b) 상기 토출구를 통하여 상기 분체가 공급되도록 상기 수직 핀을 기 설정된 제1 높이로 이동시키는 단계;
    c) 기 설정된 시간 동안 공급된 상기 분체의 중량을 측정하는 단계;
    d) 상기 측정된 중량을 메모리 장치에 저장하는 단계;
    e) 상기 수직 핀이 기 설정된 제2 높이에 도달할 때까지 상기 수직 핀의 높이를 단계적으로 변화시키면서 상기 c) 및 d) 단계들을 반복적으로 수행하여 상기 수직 핀의 높이에 따른 상기 분체의 공급량에 대한 데이터를 획득하는 단계; 및
    f) 상기 데이터에 근거하여 상기 분체 공급 장치의 제어 변수들을 설정하는 단계를 포함하는 것을 특징으로 하는 분체 공급 장치의 제어 변수 설정 방법.
  2. 제1항에 있어서, 상기 수직 핀의 왕복 운동 속도를 단계적으로 변화시키면서 상기 b) 내지 e) 단계들을 반복적으로 수행하는 단계를 더 포함하는 것을 특징으로 하는 분체 공급 장치의 제어 변수 설정 방법.
  3. 제1항에 있어서, 상기 노즐의 회전 속도를 단계적으로 변화시키면서 상기 b) 내지 e) 단계들을 반복적으로 수행하는 단계를 더 포함하는 것을 특징으로 하는 분체 공급 장치의 제어 변수 설정 방법.
  4. 제1항에 있어서, 상기 a) 단계를 수행하기 전에 상기 분체의 중량을 측정하기 위한 중량 센서를 초기화하는 단계를 더 포함하는 것을 특징으로 하는 분체 공급 장치의 제어 변수 설정 방법.
  5. 제1항에 있어서, 상기 e)단계는
    e1) 상기 수직 핀을 상기 토출구가 닫히는 초기 위치로 이동시키는 단계;
    e2) 상기 분체의 중량을 측정하기 위한 중량 센서를 초기화시키는 단계;
    e3) 직전 단계에서의 수직 핀 높이보다 기 설정된 수치만큼 변화된 높이로 상기 수직 핀을 이동시키는 단계;
    e4) 상기 c) 및 d) 단계들을 수행하는 단계; 및
    e5) 상기 수직 핀이 상기 제2 높이에 도달될 때까지 상기 e1) 내지 e4) 단계들을 반복적으로 수행하는 단계를 포함하는 것을 특징으로 하는 분체 공급 장치의 제어 변수 설정 방법.
KR1020100099137A 2010-10-12 2010-10-12 분체 공급 장치의 제어 변수 설정 방법 Active KR101173383B1 (ko)

Priority Applications (1)

Application Number Priority Date Filing Date Title
KR1020100099137A KR101173383B1 (ko) 2010-10-12 2010-10-12 분체 공급 장치의 제어 변수 설정 방법

Applications Claiming Priority (1)

Application Number Priority Date Filing Date Title
KR1020100099137A KR101173383B1 (ko) 2010-10-12 2010-10-12 분체 공급 장치의 제어 변수 설정 방법

Publications (2)

Publication Number Publication Date
KR20120037590A true KR20120037590A (ko) 2012-04-20
KR101173383B1 KR101173383B1 (ko) 2012-08-10

Family

ID=46138649

Family Applications (1)

Application Number Title Priority Date Filing Date
KR1020100099137A Active KR101173383B1 (ko) 2010-10-12 2010-10-12 분체 공급 장치의 제어 변수 설정 방법

Country Status (1)

Country Link
KR (1) KR101173383B1 (ko)

Also Published As

Publication number Publication date
KR101173383B1 (ko) 2012-08-10

Similar Documents

Publication Publication Date Title
US8550802B2 (en) Stacked-layers forming device
KR102269856B1 (ko) 음료를 준비하기 위한 장치 및 처리 공정과 이러한 장치를 포함하는 음료 분배 기계
US8469773B2 (en) Golf ball deburring apparatus
JP2019029281A (ja) 電解液注液装置
CN106460807B (zh) 液压泵/马达
JP2017131913A (ja) 混練装置
KR101173383B1 (ko) 분체 공급 장치의 제어 변수 설정 방법
EP3461592A1 (en) Driving tool
KR20170088479A (ko) 직선형 스텝모터가 구비된 3차원 프린터
CN102128158B (zh) 线状泵
US20050173463A1 (en) Dispensing pump having linear and rotary actuators
CN113398817A (zh) 一种油漆用均匀混合配色系统
JP2006508295A (ja) 流体圧機械
KR20120038204A (ko) 분체 공급 장치
CN118418449B (zh) 一种用于多材料增材制造的铺粉系统及其铺粉方法
JP5609019B2 (ja) 原料混合装置および原料混合方法
CN112519085B (zh) 注射成型系统
JP3374970B2 (ja) ポンプ装置
KR200483095Y1 (ko) 제빵용 오븐
US10605513B2 (en) Ice maker with adjusting apparatus for water supply
KR20170048975A (ko) 연속 레이저 조형이 가능한 레이저 신터링 장치
KR20100026022A (ko) 아이스크림 제조기
KR100540755B1 (ko) 소프트젤라틴캡슐제조기의 약액충진량 제어장치
KR101565507B1 (ko) 시편 몰드 성형기의 파우더 공급장치
US11407155B2 (en) Fluid feeding system and molding system

Legal Events

Date Code Title Description
A201 Request for examination
PA0109 Patent application

Patent event code: PA01091R01D

Comment text: Patent Application

Patent event date: 20101012

PA0201 Request for examination
PG1501 Laying open of application
E701 Decision to grant or registration of patent right
PE0701 Decision of registration

Patent event code: PE07011S01D

Comment text: Decision to Grant Registration

Patent event date: 20120530

GRNT Written decision to grant
PR0701 Registration of establishment

Comment text: Registration of Establishment

Patent event date: 20120806

Patent event code: PR07011E01D

PR1002 Payment of registration fee

Payment date: 20120806

End annual number: 3

Start annual number: 1

PG1601 Publication of registration
FPAY Annual fee payment

Payment date: 20150805

Year of fee payment: 4

PR1001 Payment of annual fee

Payment date: 20150805

Start annual number: 4

End annual number: 4

FPAY Annual fee payment

Payment date: 20160728

Year of fee payment: 5

PR1001 Payment of annual fee

Payment date: 20160728

Start annual number: 5

End annual number: 5

FPAY Annual fee payment

Payment date: 20170727

Year of fee payment: 6

PR1001 Payment of annual fee

Payment date: 20170727

Start annual number: 6

End annual number: 6

FPAY Annual fee payment

Payment date: 20180731

Year of fee payment: 7

PR1001 Payment of annual fee

Payment date: 20180731

Start annual number: 7

End annual number: 7

PR1001 Payment of annual fee

Payment date: 20200729

Start annual number: 9

End annual number: 9

PR1001 Payment of annual fee

Payment date: 20210701

Start annual number: 10

End annual number: 10

PR1001 Payment of annual fee

Payment date: 20220720

Start annual number: 11

End annual number: 11

PR1001 Payment of annual fee

Payment date: 20230801

Start annual number: 12

End annual number: 12

PR1001 Payment of annual fee

Payment date: 20240717

Start annual number: 13

End annual number: 13