KR20100106295A - 록킹 장치, 특히 차량 시트용 록킹 장치 - Google Patents

록킹 장치, 특히 차량 시트용 록킹 장치 Download PDF

Info

Publication number
KR20100106295A
KR20100106295A KR1020107004597A KR20107004597A KR20100106295A KR 20100106295 A KR20100106295 A KR 20100106295A KR 1020107004597 A KR1020107004597 A KR 1020107004597A KR 20107004597 A KR20107004597 A KR 20107004597A KR 20100106295 A KR20100106295 A KR 20100106295A
Authority
KR
South Korea
Prior art keywords
fitting
latch
backrest
detent
vehicle seats
Prior art date
Legal status (The legal status is an assumption and is not a legal conclusion. Google has not performed a legal analysis and makes no representation as to the accuracy of the status listed.)
Granted
Application number
KR1020107004597A
Other languages
English (en)
Other versions
KR101312602B1 (ko
Inventor
피터 틸
Original Assignee
카이퍼 게엠베하 운트 코. 카게
Priority date (The priority date is an assumption and is not a legal conclusion. Google has not performed a legal analysis and makes no representation as to the accuracy of the date listed.)
Filing date
Publication date
Application filed by 카이퍼 게엠베하 운트 코. 카게 filed Critical 카이퍼 게엠베하 운트 코. 카게
Publication of KR20100106295A publication Critical patent/KR20100106295A/ko
Application granted granted Critical
Publication of KR101312602B1 publication Critical patent/KR101312602B1/ko
Expired - Fee Related legal-status Critical Current
Anticipated expiration legal-status Critical

Links

Images

Classifications

    • BPERFORMING OPERATIONS; TRANSPORTING
    • B60VEHICLES IN GENERAL
    • B60NSEATS SPECIALLY ADAPTED FOR VEHICLES; VEHICLE PASSENGER ACCOMMODATION NOT OTHERWISE PROVIDED FOR
    • B60N2/00Seats specially adapted for vehicles; Arrangement or mounting of seats in vehicles
    • B60N2/02Seats specially adapted for vehicles; Arrangement or mounting of seats in vehicles the seat or part thereof being movable, e.g. adjustable
    • B60N2/04Seats specially adapted for vehicles; Arrangement or mounting of seats in vehicles the seat or part thereof being movable, e.g. adjustable the whole seat being movable
    • B60N2/12Seats specially adapted for vehicles; Arrangement or mounting of seats in vehicles the seat or part thereof being movable, e.g. adjustable the whole seat being movable slidable and tiltable
    • B60N2/123Seats specially adapted for vehicles; Arrangement or mounting of seats in vehicles the seat or part thereof being movable, e.g. adjustable the whole seat being movable slidable and tiltable and provided with memory locks
    • BPERFORMING OPERATIONS; TRANSPORTING
    • B60VEHICLES IN GENERAL
    • B60NSEATS SPECIALLY ADAPTED FOR VEHICLES; VEHICLE PASSENGER ACCOMMODATION NOT OTHERWISE PROVIDED FOR
    • B60N2/00Seats specially adapted for vehicles; Arrangement or mounting of seats in vehicles
    • B60N2/02Seats specially adapted for vehicles; Arrangement or mounting of seats in vehicles the seat or part thereof being movable, e.g. adjustable
    • B60N2/22Seats specially adapted for vehicles; Arrangement or mounting of seats in vehicles the seat or part thereof being movable, e.g. adjustable the back-rest being adjustable
    • B60N2/235Seats specially adapted for vehicles; Arrangement or mounting of seats in vehicles the seat or part thereof being movable, e.g. adjustable the back-rest being adjustable by gear-pawl type mechanisms
    • B60N2/2352Seats specially adapted for vehicles; Arrangement or mounting of seats in vehicles the seat or part thereof being movable, e.g. adjustable the back-rest being adjustable by gear-pawl type mechanisms with external pawls
    • BPERFORMING OPERATIONS; TRANSPORTING
    • B60VEHICLES IN GENERAL
    • B60NSEATS SPECIALLY ADAPTED FOR VEHICLES; VEHICLE PASSENGER ACCOMMODATION NOT OTHERWISE PROVIDED FOR
    • B60N2/00Seats specially adapted for vehicles; Arrangement or mounting of seats in vehicles
    • B60N2/02Seats specially adapted for vehicles; Arrangement or mounting of seats in vehicles the seat or part thereof being movable, e.g. adjustable
    • B60N2/20Seats specially adapted for vehicles; Arrangement or mounting of seats in vehicles the seat or part thereof being movable, e.g. adjustable the back-rest being tiltable, e.g. to permit easy access
    • BPERFORMING OPERATIONS; TRANSPORTING
    • B60VEHICLES IN GENERAL
    • B60NSEATS SPECIALLY ADAPTED FOR VEHICLES; VEHICLE PASSENGER ACCOMMODATION NOT OTHERWISE PROVIDED FOR
    • B60N2/00Seats specially adapted for vehicles; Arrangement or mounting of seats in vehicles
    • B60N2/02Seats specially adapted for vehicles; Arrangement or mounting of seats in vehicles the seat or part thereof being movable, e.g. adjustable
    • B60N2/22Seats specially adapted for vehicles; Arrangement or mounting of seats in vehicles the seat or part thereof being movable, e.g. adjustable the back-rest being adjustable
    • B60N2/225Seats specially adapted for vehicles; Arrangement or mounting of seats in vehicles the seat or part thereof being movable, e.g. adjustable the back-rest being adjustable by cycloidal or planetary mechanisms
    • B60N2/2252Seats specially adapted for vehicles; Arrangement or mounting of seats in vehicles the seat or part thereof being movable, e.g. adjustable the back-rest being adjustable by cycloidal or planetary mechanisms in which the central axis of the gearing lies inside the periphery of an orbital gear, e.g. one gear without sun gear
    • BPERFORMING OPERATIONS; TRANSPORTING
    • B60VEHICLES IN GENERAL
    • B60NSEATS SPECIALLY ADAPTED FOR VEHICLES; VEHICLE PASSENGER ACCOMMODATION NOT OTHERWISE PROVIDED FOR
    • B60N2/00Seats specially adapted for vehicles; Arrangement or mounting of seats in vehicles
    • B60N2/24Seats specially adapted for vehicles; Arrangement or mounting of seats in vehicles for particular purposes or particular vehicles
    • B60N2/42Seats specially adapted for vehicles; Arrangement or mounting of seats in vehicles for particular purposes or particular vehicles the seat constructed to protect the occupant from the effect of abnormal g-forces, e.g. crash or safety seats
    • B60N2/433Safety locks for back-rests, e.g. with locking bars activated by inertia

Landscapes

  • Engineering & Computer Science (AREA)
  • Aviation & Aerospace Engineering (AREA)
  • Transportation (AREA)
  • Mechanical Engineering (AREA)
  • Seats For Vehicles (AREA)
  • Chairs For Special Purposes, Such As Reclining Chairs (AREA)

Abstract

본 발명은 록킹을 위해 상호작용하는 래치(24) 및 반대 요소, 베어링 부쉬(30), 상기 베어링 부쉬(30) 내측에 회전 가능하게 장착되는 해제 요소(32), 충돌의 경우에 상기 래치(24)를 강화하기 위해 상기 해제 요소(32)에 회전 가능하게 고정된 방식으로 장착되거나 상기 해제 요소와 원피스로 실시되는 캐치 요소(34) 및 상기 록킹된 래치(24)를 정상적으로 고정하기 위해 상기 캐치 요소(34)에 인접하여 축 방식으로 배치되고, 피봇 가능한 방식으로 장착되고 예비응력을 받는 클램핑 요소(36)를 포함하는 특히 차량 시트용 록킹 장치에 있어서, 상기 클램핑 요소(36)가 상기 베어링 부쉬(30)의 외측상에 피봇 가능하게 장착되는 것을 특징으로 하는 특히 차량 시트용 록킹 장치에 관한 것이다.

Description

록킹 장치, 특히 차량 시트용 록킹 장치{LOCKING DEVICE, IN PARTICULAR FOR A VEHICLE SEAT}
본 발명은 청구항 1의 전제부 특징을 포함하는 록킹 장치, 특히 차량 시트용 록킹 장치에 관한 것이다.
이러한 타입의 2-도어 모터 차량용 록킹 장치를 포함하는 피팅(fitting)은 DE 10 2006 044489 A1으로부터 공지되었으며, 이러한 피팅(fitting)이 이용되어 전방 방향으로 자유롭게 피봇되는 등받이에 의해 후방에 접근을 허용하고, 승객의 이용을 위해 등받이의 상이한 경사 조정을 제공한다. 자유로운 피봇을 위해 록킹 장치는 회전되는 해제 요소에 의해 록킹 해제된다. 등받이의 바람직하지 않은 백-피봇(pivoting-back)을 방지하기 위해, 예를 들면 등받이와 시트부 사이의 전환 영역(transition region)에서 쿠션이 너무 클 때, 등받이 고정(securing of the backrest)이 자유롭게 피봇되는 위치에서 제공된다.
본 발명의 목적은 전술된 형태의 록킹 장치를 개선시키는 것이다. 이러한 목적은 청구항 1의 특징을 포함하는 록킹 장치에 의해 본 발명에 의해 달성된다. 바람직한 실시예는 종속항의 내용을 형성한다.
록킹 장치는 래치, 록킹된 래치를 정상적으로 고정하는 예비 응력을 주는(prestressed) 클림핑 요소 및 충돌이 일어날 때(in the event of a crash) 래치를 강화시키는 캐치 요소를 구비한다. 래치를 록킹 해제하기 위해, 해제 요소가 제공되어, 그 자신 축선을 중심으로의 회전은 래치로부터 떨어지게 캐치 요소를 바람직하게 피봇한다. 클램핑 요소는 예를 들면 슬롯된 핀 가이드에 의해 자유 이동되게 수반될(carryied along with free travel) 수 있도록 바람직하게 커플링되어서, 궁극적으로 회전하는 해제 요소에 의해 래치로부터 또한 멀어지게 피봇되어, 상기 래치를 록킹 해제한다. 베어링 부쉬는 해제 요소 및 클램핑 요소를 장착하기 위해 제공된다. 베어링 부쉬 내측에 본 발명에 따른 해제 요소 및 베어링 부쉬 외측에 클램핑 요소의 장착은 해제 요소의 회전이 시작될 때, 예를 들어 마찰로 인하여, 예를 들어 자유 이동되게 통과될 때만을 제외하고 의도되지 않게 수반되지 않는다는 장점을 갖는다. 더욱이, 클램핑 요소가 충돌이 있을 때 멀어지게 피봇되지 않는다면, 캐치 요소는 그 위치에 영향을 받지 않고 남아 있을 수 있다.
록킹 장치는 바람직하게 시트부 및 등받이를 갖는 차량 시트용 피팅의 구성 요소이며, 상기 피팅은 상기 시트부에 대해 상기 등받이의 경사 조절을 위한 조절 피팅, 하나 이상의 사용 위치로부터 자유 피봇된 위치로 상기 등받이의 중심 자유-피봇팅을 위해 자유 피봇팅 작동 요소에 의해 트리거되는 자유 피봇팅 유닛, 상기 시트부에 연결될 수 있으며, 상기 조절 피팅을 수반하는 피팅 하부 및 상기 자유 피봇팅 유닛과 관계되고 상기 등받이에 연결될 수 있고 상기 사용 위치에서 상기 록킹 장치에 의해 록킹되는 피팅 상부가 바람직하게 제공된다.
래치는 바람직하게 상기 피팅 상부에 피봇 가능하게 관절 연결되며, 자유 피봇팅 유닛의 디텐트 플레이트에 록킹된다. 바람직하게, 피팅 상부에 연결되어 록킹 장치를 덮는 덮개가 제공된다. 조절 피팅은 서로에 대해 회전 가능한 두 개의 피팅부와 연결되어, 한편으로, 디텐트 플레이트에 바람직하게 고정되고, 다른 한편은 피팅 하부에 고정된다. 따라서 자유 피봇팅 유닛이 생산되어 미리 조립된 서브-조립체로서 시험된다.
바람직하게, 등받이의 자유 피봇된 위치에서 상기 피팅 하부에 상기 피팅 상부를 고정시키는 고정 래치가 제공된다. 특히 종방향 조절자가 메모리 장치에 의해 인식되는 이전에 세팅된 종방향 시트 위치 내로 차량 시트를 이동시킬 때 고정 래치가 차량 시트의 종방향 조절자에 의해 바람직하게 자동적으로 개방될 수 있다. 더욱이, 특히 특정 상황에서 예를 들어 이전에 세팅된 종방향 시트 위치가 더이상 도달되지 않을 때, 고정 래치는 자유 피봇팅 작동 요소에 의해 수동으로 개방될 수 있다. 등받이의 세팅된 경사와 독립적으로, 피팅 상부를 피팅하부에 고정시킬 때 자유 피봇되는 위치가 끝난다.
고정 래치는 바람직하게 피팅 상부에 피봇 가능하게 관절 연결되어 고정을 위해 피팅 하부상의 멈춤쇠와 협업한다. 이것은 종방향 조절자에 커플링을 간단하게 한다. 멈춤쇠는 예를 들어 디텐트 플레이트의 리세스 내에 배치됨으로써 바람직하게 또한 경사 조절을 한정한다. 듀얼 기능은 다른 구성 요소를 불필요하게 한다. 사용 위치에서 고정 래치는 바람직하게 자유 피봇팅 유닛의 구성 요소, 예를 들면 디텐트 요소 또는 스위칭 링에 대해 지지하며, 이것은 미리 조립된 서브-조립체(sub-assembly)로서 자유 피봇팅 유닛에 대해 장점을 갖는다. 등받이의 자유 피봇팅 동안, 멈춤쇠에 도달할 때 고정 래치는 등받이의 추가 피봇팅 운동에 의해 약간 상방으로 피봇될 수 있고 멈춤쇠 통과 후에 멈춤쇠 뒤에 맞물릴 때까지 멈춤쇠의 아래 측면을 따라 슬라이딩된다. 그러나, 고정 래치 및 멈춤쇠의 협업에 대한 다른 가능성들이 또한 가능하다. 고정 래치 및 멈춤쇠는 바람직하게 자기-록킹 영역 외측에서 협업한다. 프리텐셔닝(pretensioning)은 비 포지티브(non-positive) 협업을 보장할 수 있다. 따라서 고정 래치가 피팅 상부 및 멈춤쇠의 상대 운동에 의해 및/또는 한계 힘(marginal force)을 넘어 개방하는 것이 각각 보장된다.
고정 래치는 바람직하게 예비 응력을 받는(prestressed) 작동 레버에 의해 바람직하게 고정된다. 고정은 포지티브 또는 비-포지티브로 발생할 수 있다. 작동 레버에 의해 고정된 고정 래치는 고정 래치 및 작동 레버의 협업이 취소되는 것에 의해, 예를 들어 작동 레버가 고정 래치로부터 멀어지게 피봇팅되는 것에 의해 개방될 수 있다. 이것은 특정 조건이 존재할 때, 예를 들어 특정 종방향 시트 위치에서, 등받이가 그 초기 위치로 다시 피봇될 수 있도록 자동적으로 발생할 수 있다.
자유 피봇팅 작동 요소의 동작 동안, 고정 래치 및 작동 레버의 협업을 취소하는 회전 가능한 스위칭 링에 의해, 고정 동작은 수동으로 종료될 수 있다. 스위칭 링의 회전은 예를 들어 캐치 요소에 의해 영향을 받고, 상기 두 개의 구성 요소가 적절하게 더 높은 측면들을 구비한 돌출부들을 바람직하게 갖는다. 회전된 스위칭 링은 고정 래치로부터 상기 작동 레버를 제거 하기 위해, 작동 레버 상에 스위칭 컨투어(contour)에 의해 바람직하게 동작한다.
본 발명은 등받이의 중심 자유 피봇팅을 갖는 2 도어 자동차의 종방향 조절 가능 차량 시트에서 바람직하게 사용될 수 있고 또한 다른 자동차 시트용으로 사용될 수 있다. 등받이의 자유 피봇팅과 별도로 차량 시트의 움직임이 발생하는 소위 "편한 엔트리 기능(easy entry function)"을 활성화하기 위해 본 발명에 따라 피팅의 사용에 의해, 등받이는 이전에 세팅된 종방향 시트 위치에 도달될 때 정확하게 뒤로 피봇될 수 있다.
본 발명은 다음의 도면에 나타난 실시예를 참조하여 더 상세하게 기술된다.
도 1A는 제어 케이블 없는 실시예의 분해도이다.
도 1B는 록킹 해제 링의 사시도이다
도 2는 록킹된 상태의 사용 위치에서, 도 4의 II-II 선에 따른 실시예의 단면도이다.
도 3은 도 4의 III-III선에 따른 실시예의 상단부의 단면도이다.
도 4는 실시예의 측면도이다.
도 5는 등받이의 자유 피봇팅을 위해, 록킹 해제 동안의 실시예 부분 단면도이다.
도 6은 등받이의 자유 피봇팅 동안 실시예의 부분 단면도이다.
도 7은 등받이의 자유 피봇 위치에서 고정 상태로 도 2에 따른 실시예의 단면도이다.
도 8은 종방향 조절자에 의해 고정한 것을 자동으로 개방할 때 실시예의 부분 단면도이다.
도 9는 디텐트 플레이트(detent plate)가 도시되지 않은, 자유 피봇팅 작동 요소에 의해 고정한 것을 수동 개방할 때 실시예의 부분 단면도이다.
도 10은 차량 시트의 개략적인 측면도이다.
도 11은 등받이의 자유 피봇된 위치에서 고정된 상태로 디텐트 플레이트 없이, 조절 피팅이 워블 루프(wobble loop)에서 상부 위치를 채택하는 도 7에 따른 실시예의 측면도이다.
도 12는 조절 피팅이 워블 루프에서 하부 위치를 채택하는 도 11에 따른 실시예의 측면도이다.
2-도어 모터 차량용 차량 시트(1)는 경사 조절을 위해, 즉, 복수의 사용 위치 사이의 느린 작은 각도 변경 및 자유 피봇팅, 즉 사용 위치로부터 자유 피봇된 위치로 시트부(3)에 대한 등받이(2)의 불사용 특정 위치로서 신속한 큰 각도 변경을 위해, 양 측면에 각각 하나의 피팅(5)을 갖는다. 차량 시트(1)의 외측에, 피팅(5)들 중 하나로 경사 조절 기능을 위해, 핸드휠(7)이 제공되고 양 피팅(5)들 사이에 핸드휠(7)이 연결된 샤프트가 제공되는 반면, 자유 피봇팅 기능을 위해 자유 피봇팅 작동 요소(8), 예를 들면 핸드 레버가 등박이(2)에 이동 가능하게 부착된다.
각각의 피팅(5)은 시트부(3)의 구조물에 피팅(5)을 체결하기 위해 기능하는 ("시트부에 고정되는") 피팅 하부(fitting lower part; 9), 요컨대 이후부터 조절 피팅(11)으로서 표시되는 등받이 경사 조절 피팅, 및 차례로 피팅 상부(fitting upper part; 14)를 갖는, 등받이(2)의 구조물에 피팅(5)을 체결하기 위해 사용되는 ("등받이에 고정되는") 자유 피봇팅 유닛(12)을 포함한다.
조절 피팅(11)은 예를 들어 DE 101 05 282 B4에서 개시되고 그 개시가 본 발명에서 명백히 포함되는 바와 같이, 디스크 형상 유닛과 같은 구조물에 의해 형성된다. 조절 피팅(11)은 서로에 대해 회전할 수 있고 축선 방향으로 클램핑 링에 의해 함께 홀딩되는 두 개의 피팅부를 포함한다. 실시예에서, 조절 피팅(11)은 기어 피팅으로 구성되며, 즉 조절 피팅(11)의 두개의 피팅부가 -여기서 자기 록킹되는- 편심의 주전원 기어(eccentric epicyclic gear)에 의해 동력 전달하게(in transmission) 서로에 대해 연결되며 이것은 본 케이스에서 조절 피팅(11)의 두 개의 피팅부들의 틈이 없이 고정되는 것을 허용하고, 스텝없는 조절(stepless adjustment)을 위해 중첩된 워블 운동(wobble motion)을 하면서 조절 피팅(11)의 두 개의 피팅부의 상대적 회전하게 힘을 가한다. 워블 운동의 경로는 워블 루프(wobble loop)로서 표시될 수 있다. 예를 들어 이러한 기어 피팅은 DE 44 36 101 A1에 개시되었고, 개시 내용은 명백히 포함된 것으로 이해해야 한다. 핸드휠(7)의 회전은 기어 피팅을 구동한다. 그러나, 다른 기어 피팅들 및 -이론에서- 또한 디텐트 피팅은 조절 피팅(11)으로서 사용될 수 있다. 후자 경우에서, 핸드휠(7)의 작은 회전 또는 대안으로서 제공되는 레버는 디텐트 피팅을 해제한다. 조절 피팅(11)은 두개의 피팅부 중 하나에 의해 연결되고 피팅 하부(9)에 고정된 클램핑 링, 즉 조절 피팅(11)의 두개의 피팅부들 중 하나는 시트부에 고정된다. 이를 위해, 피팅 하부(9)는 조절 피팅(11)에 대해 포크 형상의 수용자(receiver)를 갖는다.
자유 피봇팅 유닛(12)은 -대략 환형인- 디텐트 플레이트(16)을 가지며, 디텐트 플레이트에 대해 피팅 상부(14)가 축선 A를 중심으로 회전되게 장착된다. 차량 시트(1) 내의 그 위치 및 축선 A는 본 케이스에서 사용되는 방향 정보를 한정한다. 축선 A가 -가능하게 워블 운동과 별도로 - 조절 피팅(11)의 중심 축선과 일치하기 때문에, 본 케이스에서 중심 자유 피봇팅(central free pivoting)이 존재한다. 멈춤쇠(17)는 피팅 하부(9)에 체결되고 거기로부터 축 방향으로 돌출한다. 디텐트 플레이트(16)는 원주의 일 부분 상에 스텝에 의해 각각의 경우에 한정된, 내측으로 반경 방향으로 오프셋된 리셋스(16a)를 갖고, 그 내에 멈춤쇠(17)가 배치된다. 멈춤쇠(17)와 디텐트 플레이트(16)의 스텝의 협업에 의해, 등받이(2)의 경사 조절을 위한 각도가 한정된다. 디텐트 플레이트(16)(및 이에 따른 자유 피봇팅 유닛(12))은 조절 피팅(11)의 두 개의 피팅부 중 시트부에 고정되지 않은 것에 고정되게 연결된다. 자유 피봇팅 유닛(12)의 조절 피팅(11)에 연결은 예를 들어 레이저 용접에 의해 발생한다.
피팅 상부(14)의 장착을 위해, 본 케이스에서 디텐트 플레이트(16)는 축선 A에 대해 축 방향으로 돌출된 칼라를 갖고, 칼라 상에 피팅 상부(14)가 회전 가능하게 장착된다. 피팅 상부(14)는 또한 디텐트 플레이트(16) 쪽으로 돌출된 칼라를 가져서, 디텐트 플레이트(16)와 피팅 상부(14) 사이에 구조상 공간이 존재한다. 보유 디스크(retaining disk; 18)는 피팅 상부(14)의 축선 고정에 작용한다. 환형 디스크로서 구성된 보유 디스크(18)는 디텐트 플레이트(16)의 칼라 상에 피팅 상부(14)를 위치시킨 후에 상기 보유 디스크가 피팅 상부(14) 뒤에 맞물려서, 디텐트 플레이트(16)에 연결된다. 한편, 피팅 상부(14)에 연결된 덮개(20)는 이것과 디텐트 플레이트(16) 위에 상향으로 돌출되는 피팅 상부(14) 사이의 구조상 공간을 한정한다. 다른 한편, 덮개(20)의 하부 에지는 보유 클램프(retaining clamp)로서 구성되고 예를 들면 플라스틱으로 만들어진 슬라이더의 삽입에 의해 가능하게, 디텐트 플레이트(16) 위에 맞물린다. 덮개(20)는 따라서 피팅 상부(14)의 다른 축선 고정으로서 사용된다.
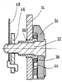
베이링 핀(22)에 의해 피팅 상부(14)에서 래치(24)는 피봇 가능하게 장착되어, 디텐트 플레이트(16)에 록킹될 수 있다. 축선 A에 평행한 베어링 핀(22)은 동시에 피팅 상부(14)의 후방으로 피봇팅 운동을 한정하고, 그리고 다시 말해 정상적일 때 및 또한 (후방) 충돌의 경우에 모두에서 디텐트 플레이트(16)의 제 1 디텐트 멈춤쇠(26)에 대해 지지하는 것에 의하여 이를 한정한다. 래치(24)를 록킹하기 위해 및 (전방) 충돌의 경우에 피팅 상부(14)의 전방으로 피봇 운동을 제한하기 위해, 제 2 디텐트 멈춤쇠(28)가 디텐트 플레이트(16)상에 래치(24)의 반경 방향 연장으로 제공된다. 한편, 래치(24)는 제 1 디텐트 멈춤쇠(26) 상에 베어링 핀(22)에 의해 서포트되어, 그리고, 다른 한편으로, 틈새없이 제 2 디텐트 멈춤쇠(28) 상에 그 자유 단부를 지지하는 것에 의해 디텐트 플레이트(16)에 록킹된다. 이를 위해, 지지는 자기-록킹 영역(self-locking region) 밖에서 각도를 갖고 발생한다. 제 1 디텐트 멈춤쇠(26)에 대한 대안적인 서포트(alternative support)는 피팅 상부(14)의 형상 또는 동류의 것에 의해 구현될 수 있다. 양쪽의 디텐트 멈춤쇠(26 및 28)는 본 경우에서 디텐트 플레이트(16)에 형성되며, 즉 그것과 함께 일체형으로 구성된다. 베어링 핀(22)은 편심 핀으로서 구성되며, 즉 상기 피팅 상부에 대해, 래치(24)의 피봇 축선에 대해 오프셋되는 축선을 중심으로 피팅 상부(14)에 회전 가능하게 장착된다. 생산 공차(production tolerances)를 보상하기 위해, 래치(24)가 제 2 디텐트 멈춤쇠(28)에 최대 래치 맞물림을 지지하도록 베어링 핀(22)은 조절되어 고정된다.
피팅 상부(14)에서 피팅 상부(14)의 개구 내로 예를 들어 리벳되거나 용접되는 베어링 부쉬(30)는 바람직하게 회전에 의해서 고정되게 위치된다. 해제 요소(32)는 축선 A 및 베어링 핀(22)에 평행하게 이러한 베어링 부쉬(30)에 의해 회전 가능하게 장착된다. 클램핑 요소(36)가 -축선으로 캐치 요소(34)에 인접하게 배치되며- 베어링 부쉬(30) 상에 피봇 가능하게 장착되는 반면, 캐치 요소(34)는 해제 요소(32) 상에 회전에 의하여 고정되게 위치되거나 해제 요소(32)와 원피스로 구성된다. 따라서 해제 요소(32)는 베어링 부쉬(30) 내에 장착되고 클램핑 요소(36)는 베어링 부쉬(30)의 외측에 장착된다. 캐치 요소(34) 및 클램핑 요소(36)는 피팅 상부(14)가 록킹될 때 래치(24)와 정렬된다. 캐치 요소(34) 및 클램핑 요소(36)의 작동 모드는 DE 44 39 644 A1에 개시되고 이러한 개시 사항은 여기에 명백히 포함된 것으로 이해된다. 클램핑 요소(36)는 래치(24)의 지지 표면 상에 자기 록킹 영역 밖에서 각도를 갖고 해제 요소(32)에 대해 편심적으로 만곡된 클램핑 표면을 지지한다. 클램핑 요소(36)는 헬리컬 스프링으로서 형성되는 장력 스프링(38)에 의해 작동되어, 클램핑 요소(36)가 래치(24)에 대해 프리텐셔닝(pretensioning)에 의해 지지한다. 결과적으로, 피팅 상부(14)는 디텐트 플레이트(16)에 틈새 없이 록킹된다. 캐치 요소(34)는 헬리컬-장력 스프링으로서 구성되는 제동 스프링(arresting spring; 40)에 의해 작동된다. 캐치 요소(34) 및 클램핑 요소(36)는 서로 커플링되어 슬롯된 핀 가이드(44)에 의해 자유 이동되게 수반된다. 이를 위해, 클램핑 요소(36)는 해제 요소(32) 주위에 만곡된 슬롯을 가지며, 이러한 슬롯 내로 캐치 요소(34)의 핀이 맞물린다. 덮개(20)는 래치(24), 캐치 요소(34), 클램핑 요소(36) 및 스프링들(38 및 40)을 덮고 오염(soiling)으로부터 상기 요소들을 보호한다.
정상적인 사용의 위치에서, 즉 시트의 정상적인 사용에서, 래치(24)는 그 위치에서 클램핑 요소(36)에 의해 홀딩(고정)되며 캐치 요소(34)는 래치(24)로부터 (래치(24)의 크기에 대해) 짧은 거리에 배치되어 피팅 상부(14)의 멈춤에 대해 바람직하게 지지한다. 충돌의 경우에, 만약 예를 들어 피팅 상부(14) 상에 높은 토크를 가하는 충돌 힘이 래치(24)에 작용한다면, 클램핑 요소(36)는 자기-록킹 없기 때문에 개방될 수 있다. 래치(24)의 매우 약간의 피봇 운동 후에, 상기 래치는 캐치 요소(34)에 대해 지지한다. 그러므로 캐치 요소(34)는 래치(24)를 서포팅하며, 래치는 바람직하게 접선 방향으로 또는 동심적으로 및 가능한 편평하게 캐치 요소(34) 상의 자기 록킹 영역 내에서 지지된다. 따라서, 래치(24)는 개방으로부터 예방된다. 따라서, (래치(24), 반대 요소로서 디텐트 플레이트(16) 및 캐치 요소(34) 및 고정 요소로서 클램핑 요소(36)로 구성되는 )상기 기술된 록킹 장치는 피팅 상부(14)(및 이에 따른 자유 피봇팅 유닛(12))를 정상적인 경우 및 충돌의 경우 모두에서 록킹한다.
덮개(20)로부터 원거리인 피팅 상부(14)의 측면에서, 록킹 해제 레버(46)는 해제 요소(32)에 대한 회전에 의해 고정되게 연결되며, 이 해제 요소에 제 1 제어 케이블(48)은 자유 피봇팅 작동 요소(8)와 동작하는 연결로 체결된다. 대안적으로, 해제 요소(32)는 예를 들어 서보 모터 등 전기 엑츄에이터를 통해 가동될 수 있다. 피팅 상부(14)를 록킹 해제하기 위해 자유 피봇팅 작동 요소(8)에 의해, 제 1 제어 케이블(48) (및 록킹 해제 레버(46))에 의해 해제 요소(32)는 자신의 축선을 중심으로 회전된다. 해제 요소(32)는 그것과 함께 회전에 의하여 고정되게 연결된 캐치 요소(34)를 구동하며, 이는 슬롯된 핀 가이드(44)에 의해 -자유 이동 되게 통과된 후에- 클램핑 요소(36)를 구동하고 이에 따라 개방시키며, 즉 클램핑 요소(36)는 래치(24)로부터 분리되어 멀어지게 이동한다. 결과적으로, 래치(24)는 해제될 수 있고 자기-록킹이 없기 때문에 자동적으로 개방될 수 있다. 변형된 실시예에서, 캐치 요소(34)는 래치(24)의 록킹 해제 핑커에 대해 지지할 수 있고 추가 피봇팅 운동에 의해 상기 래치를 당긴다.
본 실시예에서, 두 개의 피팅(5)은 두 개의 차량 시트 측면에 약간 상이하게 구성된다. 하나의 차량 시트 측면의 피팅(5)의 자유 피봇팅 유닛(12)은 이후에서 또한 다르게 기술된다.
상기 피팅(5)에서, 피팅 상부(14) 상에, 특히 그것으로부터 칼라 상에(또는 다른 돌출부) (또는 가능하게 디텐트 플레이트(16) 상에) 스위칭 링(50)이 축선 A에 동심적으로 회전 가능하게 장착된다. 스위칭 링(50)은 디텐트 플레이트(16)와 피팅 상부(14) 사이의 (즉 상기 언급된 구조상 공간 내에) 축선 방향으로 배치된다. 스위칭 링(50)은 피팅 상부(14)의 하부 영역에 배치되는, 현재 케이스에서 반경 방향으로 돌출된 스텝으로 스위칭 컨투어(52)를 갖는다. 스위칭 링(50)은 반경 방향으로 돌출된 스위칭 핑거(54) 및 또한 반경 방향으로 돌출한 스프링 마운팅(56)을 또한 포함하며, 양쪽은 피팅 상부(14)의 상부 영역에 배치된다. 제동 스프링(40)의 타단은 스프링 마운팅(56) 상에 걸쳐있다. 스위칭 핑거(54)는 스위칭 핑거(54)와 협업을 위해 반경 방향으로 돌출되는 액츄에이팅 암(34a)을 바람직하게 갖는 캐치 요소(34)의 피봇팅 영역에 위치된다. 피팅 상부(14) 상에, 고정 래치(64)는 고정 핀(62)에 의해 피봇 가능하게 장착된다. 고정 래치(64)는 고정 스프링(66)에 의하여 스위칭 링(50)에 대해 예비응력을 받고 리세스(16a) 내에서 스위칭 링(50)에 또는 멈춤쇠(17)에 자유단부를 지지한다. 마지막으로 언급된 지지에 대한 가능성은 조절 피팅(11)에 의해 세팅된 등받이(2)의 경사에 의존하여 및 가능하게는 조절 피팅(11)의 피팅부들 사이의 워블 운동으로 이용가능하다.
이러한 차량 시트 측면 상에 제공된 피팅 하부(9)세서, 작동 레버(73)는 축선 A에 평행한 스위칭 핀(71)에 의해 멈춤쇠(17) 근처에 피봇 가능하게 장착된다. 록킹 워셔(75)는 스위칭 핀(71) 상에 작동 레버(73)를 고정한다. 한편 헬리컬-장력 스프링으로 구성된 스위칭 스프링(77)은 작동 레버(73) 상에 걸치고 다른 한편 예를 들어 피팅 하부(9)에 체결되고 스위칭 핀(71)에 평행한 피팅 하부(9)로부터 돌출되는 스프링 볼트(79) 상에 걸쳐진다. 작동 레버(73)의 자유 단부가 스위칭 링(50)의 바로 근처에 배치되어, 스위칭 스프링(77)은 멈춤쇠(17)에 대해 작동 레버(73)를 프리텐셔닝한다.
차량 시트(1)는 종방향 조절자(81)에 의해 종방향으로, 즉 종방향 시트 위치로 조절될 수 있다. 이를 위해, 두 개의 시트 레일 쌍을 포함하는 종방향 조절자(81)는 핸들(83)에 의해 록킹 해제될 수 있고 핸들(83)을 해제한 후에 자동적으로 록킹될 수 있다. 그러나 등받이(2)의 자유 피봇팅에 추가하여, 후방으로 접근을 촉진시키기 위해, 차량 시트(1)가 (종방향 조절자(81)에 의해) 전방으로 이동될 수 있도록 등받이(2)를 자유롭게 피봇할 때 종방향 조절자(81)는 또한 록킹 해제된다. 그러므로, 종방향 조절자(81)의 록킹 해제는 자유 피봇팅 작동 요소(8)에 의해 직접 발생하거나, 차량 시트 측면 상에 스위칭 링(50)없이 록킹 해제 링(84)이 상기 스위칭 링 대신 피팅(5)에 제공될 때 간접적으로 발생하며, 등받이(2)를 전방으로 피봇팅 및 이에 따라 보덴 케이블(Bowden cable) 또는 동류의 것에 의해 종방향 조절자(81)의 록킹을 조절할 때 록킹 해제 링은 본래 알려진 방식으로 구동된다.
종방향 조절자에 의해 자유 피봇팅 전에 세팅된 종방향 시트 위치(메모리 위치)가 위치 결정될 수 있는 종방향 조절자(81)의 메모리 장치는, 스위칭 링(50)을 갖는 피팅(5)에 의해, 제 2 제어 케이블(89), 바람직하게는 보덴 케이블에 의해 작동되게 연결된다. 제 2 제어 케이블(89)은 작동 레버(73)의 암에 체결되고, 즉 종방향 조절자(81)의 메모리 장치가 작동 레버(73)를 제어하여 고정 래치(64)를 해제할 수 있다.
자유 피봇팅 작동 요소(8)에 의해 원인이 되는 등받이(2)의 자유 피봇팅은 차량 시트 측면 양쪽에 피팅 상부(14)의 록킹 해제에 의해 시작한다. 래치(24)는 디텐트 플레이트(16)의 제 2 디텐트 멈춤쇠(28)로부터 반경 방향으로 상기 기술된 방식으로 리프팅된다. 등받이(2)의 전방 피봇팅 운동에 의해, 고정 래치(64)는 스위칭 링(50)을 따라 그 자유 단부에 의해 슬라이딩되어서 멈춤쇠(17)에 도달한다. 고정 래치(64) 상에 경사진 컨투어는 멈춤쇠(17)에 대해 지지하게 이끌어진 고정 래치(64)가 등받이(2)의 추가 피봇팅 운동하면서 약간 위로 피봇되고 멈춤쇠(17)의 아래 측면을 따라 슬라이딩하는 것을 보장한다.
멈춤쇠(17)를 통과한 후에, 멈춤쇠 컨투어는 고정 래치(64)에 대해 반경 방향으로 뒤에 놓이게 된다. 그것을 프리텐셔닝에 의해 고정 래치(64)는 현재 멈춤쇠(17)에 (반경 방향으로 내부에) 뒤떨어지고 고정 래치 컨투어(64)에 의해 상기 멈춤쇠 뒤에 그리고 다시 말해 자기 록킹 영역 외측에서 맞물린다. 따라서 이것은 다시 고정 래치(64) 뒤에 맞물리는 고정시키는 작동 레버(73)를 변위시키고, 상응하는 작동 레버 컨투어(73a)에 의해 상기 고정 래치를 바람직하게 포지티브하게 고정시킨다. 등받이(2)의 피봇팅 운동은 완성되고 피팅 상부(14)(및 이에 따라 등받이(2))를 고정시킨다. 전방 피봇된 등받이(2)는 현재 후방에 방해받지 않는 접근을 허용하는 자유-피봇된 위치에 위치된다. 동시에, 차량 시트(1)는 전방 종방향으로 시트 위치에 있다.
이전에 채택된 사용 위치에 복귀하기 위해, 먼저 차량 시트(1)는 예를 들어 등받이(2)를 당기는 것에 의해 다시 후방으로 이동한다. 메모리 위치가 도달되었을 때, 종방향 조절자(81)는 록킹되고 이에 따라 제 2 제어 케이블(89)을 당긴다. 제 2 제어 케이블(89)은 현재 작동 레버(73)를 피봇하며, 작동 레버는 고정 래치(64)를 해제한다. 등받이(2)는 그 후방 피봇팅 운동의 개시에 의해 고정 래치(64)를 개방시키고 그 다음에 방해받지 않고 뒤로 피봇될 수 있다. 그 다음에 래치(24)는 다시 제 2 디텐트 멈춤쇠(28)에 도달하고 이전에 채택된 사용 위치에 도달하였을 때 (반경 방향으로 내부로) 제 2 디텐트 멈춤쇠(28)에 다시 놓여져서 피팅 상부(14) 및 이에 따라 피팅(5)이 다시 록킹된다. 제 2 제어 케이블(89)에 의해 추가적으로 작동되지 않는 작동 레버(73)는 관련된 스위칭 스프링(77)에 의해 다시 초기 위치내로 뒤로 당겨진다.
예를 들어 발 밑 공간의 물체 때문에 메모리 위치에 도달되지 않는다면, -이전에 기술된 자동 개방 대신에- 등받이(2)의 고정은 자유 피봇팅 작동 요소(8)에 의해 수동으로 개방될 수 있다. 결과적으로, 제 1 제어 케이블(48)에 의해, 해제 요소(32)는 회전되고, 이것은 캐치 요소(34)를 피봇한다. 캐치 요소(34)는 엑츄에이팅 암(34a)에 의해 스위칭 링(50)의 스위칭 핑거(54) 상으로 압박을 가한다. 거기에 제공된 경사진 부분에 기인하여, 스위칭 링(50)은 회전하고, 이에 의해 스위칭 컨투어(52)는 작동 레버(73)에 대해 지지하게 되고, 상기 작동 레버를 개방시킨다. 결과적으로 작동 레버(73)는 고정 래치(64)를 해제시킨다. 상기에 기술된 바와 같이, 등받이(2)는 현재 뒤로 피봇될 수 있다.
본 케이스에서, 등받이(2)의 자유 피봇팅된 위치에서 고정 래치(64)에 의하여 피팅 상부(14)의 고정은 조절 피팅(11)의 워블 루프가 어떠한 영향을 주지 않도록 설계된다. 도 11 및 도 12로부터 보여질 수 있는 바와 같이, 워블 루프 때문에 고정 핀(62)은 멈춤쇠(17)에 대해 상이한 위치를 채택한다. 그러나, 이것은 멈춤쇠(17)에서 고정 래치(64)의 서포트에 단지 영향을 주고 그리고 고정 래치 컨투어(64a) 및 록킹 레버 컨투어(73a)의 적절한 형상에 의해 보상되는 각도에서 고정 래치(64)에 작동 레버(73)의 서포트에 영향을 준다. 결국, 동일한 도(degree)의 닫힘 m이 항상 발생되고, 즉 두개의 지지 포인트(고정 래치-멈춤쇠, 록킹 레버-고정 래치) 사이의 공간은 일정하다.
1 : 차량 시트 2 : 등받이
3 : 시트부 5 : 피팅
7 : 핸드휠 8 : 자유 피봇팅 작동 요소
9 : 피팅 하부 11 : 조절 피팅
12 : 자유 피봇팅 유닛 14 : 피팅 상부
16 : 디텐트 플레이트 16a : 리세스
17 : 멈춤쇠 18 : 보유 디스크
20 : 덮개 22 : 베어링 핀
24 : 래치 26 : 제 1 디텐트 멈춤쇠
28 : 제 2 디텐트 멈춤쇠 30 : 베어링 부쉬
32 : 해제 요소 34 : 캐치 요소
34a : 엑츄에이팅 암 36 : 클램핑 요소
38 : 장력 스프링 40 : 제동 스프링
44 : 슬롯된 핀 가이드 46 : 언록킹 레버
48 : 제 1 제어 케이블 50 : 스위칭 링
52 : 스위칭 컨투어 54 : 스위칭 핑거
56 : 스프링 마운팅 62 : 고정 핀
64 : 고정 래치 64a : 고정 래치 컨투어
66 : 고정 스프링 71 : 스위칭 핀
73 : 작동 레버 73a : 작동 레버 컨투어
75 : 록킹 워셔 77 : 스위칭 스프링
79 : 스프링 볼트 81 : 종방향 조절자
83 : 핸들 84 : 언록킹 링
89 : 제 2 제어 케이블 A : 축선
M : 닫힘 정도(degree)

Claims (10)

  1. 록킹을 위해 상호작용하는 래치(24) 및 반대 요소, 베어링 부쉬(30), 상기 베어링 부쉬(30) 내측에 회전 가능하게 장착되는 해제 요소(32), 충돌의 경우에 상기 래치(24)를 강화하기 위해 상기 해제 요소(32)에 회전 가능하게 고정된 방식으로 장착되거나 상기 해제 요소와 원피스로 구현되는 캐치 요소(34) 및 상기 록킹된 래치(24)를 정상적으로 고정하기 위해 상기 캐치 요소(34)에 인접하여 축선 방식으로 배치되고, 피봇 가능한 방식으로 장착되고 예비응력을 받는 클램핑 요소(36)를 포함하는 특히 차량 시트용 록킹 장치에 있어서,
    상기 클램핑 요소(36)가 상기 베어링 부쉬(30)의 외측상에 피봇 가능하게 장착되는 것을 특징으로 하는
    특히 차량 시트용 록킹 장치.
  2. 제 1 항에 있어서,
    상기 캐치 요소(34) 및 상기 클램핑 요소(36)는 슬롯된 핀 가이드(44)에 의해 자유 이동되게 수반되도록 서로 커플링되는 것을 특징으로 하는
    특히 차량 시트용 록킹 장치.
  3. 제 1 항 또는 제 2 항에 있어서,
    상기 록킹 장치는 시트부(3) 및 등받이(2)를 포함하는 차량 시트(1)를 위한 피팅(5)의 구성 요소인 것을 특징으로 하는
    특히 차량 시트용 록킹 장치.
  4. 제 3 항에 있어서,
    상기 피팅(5)은 상기 시트부(3)에 대해 상기 등받이(2)의 경사 조절을 위한 조절 피팅(11), 하나 이상의 사용 위치로부터 자유 피봇된 위치로 상기 등받이(2)의 중심 자유-피봇팅을 위해 자유 피봇팅 작동 요소(8)에 의해 트리거되는 자유 피봇팅 유닛(12), 상기 시트부(3)에 연결될 수 있으며, 상기 조절 피팅(11)을 수반하는 피팅 하부(9) 및 상기 자유 피봇팅 유닛(12)과 관계되는, 상기 등받이(2)에 연결될 수 있고 상기 사용 위치에서 상기 록킹 장치에 의해 록킹되는 피팅 상부(14)를 가지는 것을 특징으로 하는
    특히 차량 시트용 록킹 장치.
  5. 제 4 항에 있어서,
    상기 록킹 장치는 상기 자유 피봇팅 유닛(12)의 구성 요소이고, 상기 래치(24)가 특히 베어링 핀(22)에 의해 상기 피팅 상부(14)에 피봇 가능하게 관절 연결되며, 상기 베어링 부쉬(30)가 상기 피팅 상부(14)에 회전에 의해 고정되게 위치되는 것을 특징으로 하는
    특히 차량 시트용 록킹 장치.
  6. 제 5 항에 있어서,
    상기 피팅 상부(14)에 연결된 덮개(20)가 상기 록킹 장치를 덮는 것을 특징으로 하는
    특히 차량 시트용 록킹 장치.
  7. 제 5 항 또는 제 6 항에 있어서,
    상기 자유 피봇팅 유닛(12)은 상기 조절 피팅(11)에 연결되고 상기 래치(24)에 반대 요소로서 록킹되는 디텐트 플레이트(16)를 가지는 것을 특징으로 하는
    특히 차량 시트용 록킹 장치.
  8. 제 4 항 내지 제 7 항 중 어느 한 항에 있어서,
    상기 자유 피봇팅 작동 요소(8)는 상기 록킹 장치에 의해 록킹된 상기 피팅 상부(14)를 록킹 해제하기 위해 엑츄에이팅되고, 그 결과로서 제 1 제어 케이블(48) 및 바람직하게는 상기 해제 요소(32) 상에 회전에 의해 고정되게 위치된 언록킹 레버(46)에 의해, 상기 해제 요소(32)가 자신의 축선을 중심으로 회전하고 이 때 상기 해제 요소(32)가 상기 캐치 요소(34)를 구동하며, 캐치 요소가 상기 슬롯된 핀 가이드(44)에 의해 상기 클램핑 요소(36)를 차례로 구동하며 -상기 자유 이동되어 통과한 후에- 이 때 상기 래치(24)가 해제되는 것을 특징으로 하는
    특히 차량 시트용 록킹 장치.
  9. 제 4 항 내지 제 8 항 중 어느 한 항에 있어서,
    고정 래치(64)가 상기 등받이(2)의 자유 피봇된 위치에서 상기 피팅 하부(9)에 상기 피팅 상부(14)를 고정시키는 것을 특징으로 하는
    특히 차량 시트용 록킹 장치.
  10. 제 9 항에 있어서,
    상기 피팅 상부(14)를 고정하는 상기 고정 래치(64)가 상기 차량 시트(1)의 종방향 조절자(81)에 의해 및/또는 상기 자유 피봇팅 작동 요소(8)에 의해 개방될 수 있는 것을 특징으로 하는
    특히 차량 시트용 록킹 장치.
KR1020107004597A 2008-02-08 2009-01-14 록킹 장치, 특히 차량 시트용 록킹 장치 Expired - Fee Related KR101312602B1 (ko)

Applications Claiming Priority (3)

Application Number Priority Date Filing Date Title
DE102008008936.2 2008-02-08
DE102008008936A DE102008008936B3 (de) 2008-02-08 2008-02-08 Verriegelungsvorrichtung, insbesondere für einen Fahrzeugsitz
PCT/EP2009/000160 WO2009097948A1 (de) 2008-02-08 2009-01-14 Verriegelungsvorrichtung, insbesondere für einen fahrzeugsitz

Publications (2)

Publication Number Publication Date
KR20100106295A true KR20100106295A (ko) 2010-10-01
KR101312602B1 KR101312602B1 (ko) 2013-09-30

Family

ID=40456166

Family Applications (1)

Application Number Title Priority Date Filing Date
KR1020107004597A Expired - Fee Related KR101312602B1 (ko) 2008-02-08 2009-01-14 록킹 장치, 특히 차량 시트용 록킹 장치

Country Status (7)

Country Link
US (1) US8454092B2 (ko)
EP (1) EP2240341B1 (ko)
KR (1) KR101312602B1 (ko)
BR (1) BRPI0905085A2 (ko)
DE (1) DE102008008936B3 (ko)
PL (1) PL2240341T3 (ko)
WO (1) WO2009097948A1 (ko)

Families Citing this family (20)

* Cited by examiner, † Cited by third party
Publication number Priority date Publication date Assignee Title
WO2011019346A1 (en) * 2009-08-12 2011-02-17 Johnson Controls Technology Company Rotary recliner
DE102010018786B4 (de) 2010-04-26 2022-01-27 Adient Luxembourg Holding S.À R.L. Beschlag für einen Fahrzeugsitz und Fahrzeugsitz mit einem solchen Beschlag
DE102010026702B4 (de) 2010-07-10 2014-11-27 Faurecia Autositze Gmbh Entriegelungseinrichtung für eine Fahrzeugsitz-Längsverriegelung und Fahrzeugsitz
DE102010055246B4 (de) * 2010-12-20 2023-02-23 Keiper Seating Mechanisms Co., Ltd. Fahrzeugsitz
DE102011052059B4 (de) * 2011-07-22 2021-07-22 Adient Luxembourg Holding S.À R.L. Sitzbeschlag für einen Kraftfahrzeugsitz
DE102011119390B4 (de) * 2011-11-24 2021-06-10 Sitech Sitztechnik Gmbh Fahrzeugsitz mit einer Easy-Entry-Funktion
US8973999B2 (en) * 2012-03-27 2015-03-10 Ford Global Technologies, Llc Reclining vehicle seat with actuator and motor
DE102013013510B4 (de) 2013-06-28 2017-03-09 Johnson Controls Gmbh VERSTELLVORRlCHTUNG MlT ElNEM FESTEN ELEMENT, ElNEM VERSTELLBAREN ELEMENT UND ElNER ERSTEN ARRETlERUNGSVORRlCHTUNG
US9889774B2 (en) * 2015-08-07 2018-02-13 Fisher & Company, Incorporated Release mechanism for seat recliner assembly
US10864830B2 (en) 2018-04-25 2020-12-15 Fisher & Company, Incorporated Recliner mechanism having welded encapsulating ring
US11124093B2 (en) 2018-08-08 2021-09-21 Fisher & Company, Incorporated Recliner mechanism for seat assembly and method of manufacturing
US11260777B2 (en) 2018-08-29 2022-03-01 Fisher & Company, Incorporated Recliner heart for seat recliner assembly
US11364577B2 (en) 2019-02-11 2022-06-21 Fisher & Company, Incorporated Recliner mechanism for seat assembly and method of manufacturing
US11845367B2 (en) 2019-04-18 2023-12-19 Fisher & Company, Incorporated Recliner heart having lubricant member
US11052797B2 (en) 2019-08-09 2021-07-06 Fisher & Company, Incorporated Recliner heart for seat assembly
US11192473B2 (en) 2019-08-30 2021-12-07 Fisher & Company, Incorporated Release handle for recliner mechanism of vehicle seat
US11607976B2 (en) 2020-03-06 2023-03-21 Fisher & Company, Incorporated Recliner mechanism having bracket
US11766957B2 (en) 2021-02-16 2023-09-26 Fisher & Company, Incorporated Release mechanism for seat recliner assembly
US11897372B2 (en) 2021-05-06 2024-02-13 Fisher & Company, Incorporated Recliner heart having biasing members
US11850975B2 (en) 2021-06-11 2023-12-26 Fisher & Company, Incorporated Vehicle seat recliner mechanism with welded spring

Family Cites Families (14)

* Cited by examiner, † Cited by third party
Publication number Priority date Publication date Assignee Title
DE4436101C5 (de) * 1993-11-30 2008-12-11 Keiper Gmbh & Co.Kg Lehneneinstellbeschlag für Sitze mit verstellbarer Rückenlehne, insbesondere Kraftfahrzeugsitze
DE4439644C2 (de) * 1993-12-17 1999-08-05 Keiper Recaro Gmbh Co Verriegelungssystem für Beschläge von Fahrzeugsitzen mit freischwenkbarer Rückenlehne
US5540117A (en) * 1993-12-17 1996-07-30 Keiper Recaro Gmbh & Co. Locking system for articulated fittings of car seats, in particular for wobble fittings
DE19715764C2 (de) * 1997-04-16 2000-01-27 Keiper Gmbh & Co Neigungseinstellbeschlag mit Freischwenkeinrichtung für eine Rückenlehne eines Kraftfahrzeugsitzes
DE10035258B4 (de) * 2000-07-20 2004-06-03 Keiper Gmbh & Co. Kg Verriegelungsvorrichtung für einen Fahrzeugsitz
DE10105282B4 (de) * 2001-02-06 2005-03-24 Keiper Gmbh & Co. Kg Beschlag für einen Fahrzeugsitz
DE10135433C1 (de) * 2001-07-20 2002-10-31 Keiper Gmbh & Co Verriegelungsvorrichtung für einen Fahrzeugsitz
DE10143403A1 (de) * 2001-09-05 2003-03-27 Keiper Gmbh & Co Entriegelungsvorrichtung in einem Fahrzeugsitz
US6910739B2 (en) * 2003-08-27 2005-06-28 Bae Industries, Inc. Seat recliner mechanism incorporating rotatable seatback slaved to a floor latch release
DE102004041449B3 (de) * 2004-08-27 2006-03-09 Keiper Gmbh & Co.Kg Beschlag für einen Fahrzeugsitz, insbesondere für einen Kraftfahrzeugsitz
DE202005012733U1 (de) * 2005-08-12 2006-12-28 Brose Fahrzeugteile Gmbh & Co. Kommanditgesellschaft, Coburg Lehnenklappung
US20100171351A1 (en) 2006-01-24 2010-07-08 Keiper Gmbh & Co. Kg Fitting for a vehicle seat
DE102006044489B4 (de) * 2006-01-24 2014-07-10 Keiper Gmbh & Co. Kg Beschlag für einen Fahrzeugsitz sowie Fahrzeugsitz mit einem solchen Beschlag
DE102006004489B4 (de) 2006-02-01 2010-05-27 Hubert Schorr Verfahren und Vorrichtung zur Bildverarbeitung

Also Published As

Publication number Publication date
EP2240341B1 (de) 2014-03-19
BRPI0905085A2 (pt) 2015-06-30
US20110127814A1 (en) 2011-06-02
EP2240341A1 (de) 2010-10-20
KR101312602B1 (ko) 2013-09-30
US8454092B2 (en) 2013-06-04
DE102008008936B3 (de) 2009-06-25
PL2240341T3 (pl) 2014-09-30
WO2009097948A1 (de) 2009-08-13

Similar Documents

Publication Publication Date Title
KR101312602B1 (ko) 록킹 장치, 특히 차량 시트용 록킹 장치
KR101408828B1 (ko) 차량 시트용 피팅
EP1049602B1 (en) Rotary recliner control mechanism for multifunction vehicle seal applications
US20100171351A1 (en) Fitting for a vehicle seat
US9050909B2 (en) Motor vehicle seat
CN102123885B (zh) 用于车辆座椅的配合件
CA2951080C (en) Seat assembly with recliner lockout mechanism
US8360497B2 (en) Lock mechanism for electric retractable seat for vehicle
CN102227335B (zh) 用于座椅轨道的内部全记忆模块
US7325876B2 (en) Seat assembly with seat back lockout
US20040026975A1 (en) Motor vehicle seat
US5904403A (en) Fitting for vehicle seat, particularly motor vehicle seat
CN101605671B (zh) 用于车辆座椅的锁紧装置
US20040051361A1 (en) Motor vehicle seat
CN102126449A (zh) 具有位置记忆的交通工具座椅容易进入组件
US9248760B2 (en) Locking and inclination-adjusting arrangement, in particular backrest lock
JP4054886B2 (ja) 自動車シート
US7017994B2 (en) Motor vehicle seat
EP3268245B1 (en) Motor vehicle door lock, particularly a backrest lock on a motor vehicle seat
US6880888B2 (en) Fitting for a vehicle seat
US6065811A (en) Belt retractor for incorporation in a fold-down type backrest
US9033419B2 (en) Fitting for a vehicle seat
CN116761740B (zh) 具有易入机构的交通工具座椅
KR102623415B1 (ko) 차량용 시트백 구속장치
JPH0687046U (ja) シートトラック装置

Legal Events

Date Code Title Description
PA0105 International application

St.27 status event code: A-0-1-A10-A15-nap-PA0105

PG1501 Laying open of application

St.27 status event code: A-1-1-Q10-Q12-nap-PG1501

A201 Request for examination
P11-X000 Amendment of application requested

St.27 status event code: A-2-2-P10-P11-nap-X000

P13-X000 Application amended

St.27 status event code: A-2-2-P10-P13-nap-X000

PA0201 Request for examination

St.27 status event code: A-1-2-D10-D11-exm-PA0201

R17-X000 Change to representative recorded

St.27 status event code: A-3-3-R10-R17-oth-X000

PE0902 Notice of grounds for rejection

St.27 status event code: A-1-2-D10-D21-exm-PE0902

P11-X000 Amendment of application requested

St.27 status event code: A-2-2-P10-P11-nap-X000

P13-X000 Application amended

St.27 status event code: A-2-2-P10-P13-nap-X000

E701 Decision to grant or registration of patent right
PE0701 Decision of registration

St.27 status event code: A-1-2-D10-D22-exm-PE0701

GRNT Written decision to grant
PR0701 Registration of establishment

St.27 status event code: A-2-4-F10-F11-exm-PR0701

PR1002 Payment of registration fee

St.27 status event code: A-2-2-U10-U12-oth-PR1002

Fee payment year number: 1

PG1601 Publication of registration

St.27 status event code: A-4-4-Q10-Q13-nap-PG1601

PN2301 Change of applicant

St.27 status event code: A-5-5-R10-R13-asn-PN2301

St.27 status event code: A-5-5-R10-R11-asn-PN2301

PR1001 Payment of annual fee

St.27 status event code: A-4-4-U10-U11-oth-PR1001

Fee payment year number: 4

PR1001 Payment of annual fee

St.27 status event code: A-4-4-U10-U11-oth-PR1001

Fee payment year number: 5

LAPS Lapse due to unpaid annual fee
PC1903 Unpaid annual fee

St.27 status event code: A-4-4-U10-U13-oth-PC1903

Not in force date: 20180924

Payment event data comment text: Termination Category : DEFAULT_OF_REGISTRATION_FEE

PC1903 Unpaid annual fee

St.27 status event code: N-4-6-H10-H13-oth-PC1903

Ip right cessation event data comment text: Termination Category : DEFAULT_OF_REGISTRATION_FEE

Not in force date: 20180924

R18-X000 Changes to party contact information recorded

St.27 status event code: A-5-5-R10-R18-oth-X000