KR100840995B1 - 입수 충격 시험장치 - Google Patents
입수 충격 시험장치 Download PDFInfo
- Publication number
- KR100840995B1 KR100840995B1 KR1020070017975A KR20070017975A KR100840995B1 KR 100840995 B1 KR100840995 B1 KR 100840995B1 KR 1020070017975 A KR1020070017975 A KR 1020070017975A KR 20070017975 A KR20070017975 A KR 20070017975A KR 100840995 B1 KR100840995 B1 KR 100840995B1
- Authority
- KR
- South Korea
- Prior art keywords
- launch tube
- impact
- test body
- test
- acquisition
- Prior art date
- Legal status (The legal status is an assumption and is not a legal conclusion. Google has not performed a legal analysis and makes no representation as to the accuracy of the status listed.)
- Expired - Fee Related
Links
Images
Classifications
-
- G—PHYSICS
- G01—MEASURING; TESTING
- G01M—TESTING STATIC OR DYNAMIC BALANCE OF MACHINES OR STRUCTURES; TESTING OF STRUCTURES OR APPARATUS, NOT OTHERWISE PROVIDED FOR
- G01M7/00—Vibration-testing of structures; Shock-testing of structures
- G01M7/08—Shock-testing
-
- G—PHYSICS
- G01—MEASURING; TESTING
- G01M—TESTING STATIC OR DYNAMIC BALANCE OF MACHINES OR STRUCTURES; TESTING OF STRUCTURES OR APPARATUS, NOT OTHERWISE PROVIDED FOR
- G01M10/00—Hydrodynamic testing; Arrangements in or on ship-testing tanks or water tunnels
-
- G—PHYSICS
- G01—MEASURING; TESTING
- G01N—INVESTIGATING OR ANALYSING MATERIALS BY DETERMINING THEIR CHEMICAL OR PHYSICAL PROPERTIES
- G01N3/00—Investigating strength properties of solid materials by application of mechanical stress
- G01N3/30—Investigating strength properties of solid materials by application of mechanical stress by applying a single impulsive force, e.g. by falling weight
-
- G—PHYSICS
- G01—MEASURING; TESTING
- G01N—INVESTIGATING OR ANALYSING MATERIALS BY DETERMINING THEIR CHEMICAL OR PHYSICAL PROPERTIES
- G01N2203/00—Investigating strength properties of solid materials by application of mechanical stress
- G01N2203/0001—Type of application of the stress
- G01N2203/001—Impulsive
Landscapes
- Physics & Mathematics (AREA)
- General Physics & Mathematics (AREA)
- Fluid Mechanics (AREA)
- Health & Medical Sciences (AREA)
- Life Sciences & Earth Sciences (AREA)
- Chemical & Material Sciences (AREA)
- Analytical Chemistry (AREA)
- Biochemistry (AREA)
- General Health & Medical Sciences (AREA)
- Immunology (AREA)
- Pathology (AREA)
- Investigating Strength Of Materials By Application Of Mechanical Stress (AREA)
Abstract
Description
Claims (8)
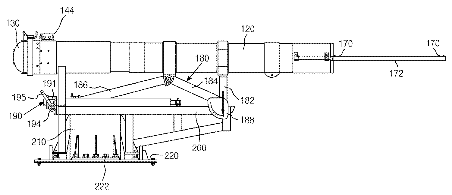
- 충격압력센서(110) 및 충격가속도센서(114)가 선단 측의 두부(102)에 설치되고, 수중으로 입수되는 시험체(100)와;입수 위치에 따라 선회 및 각도 조절이 가능하고, 내부에 삽입된 상기 시험체(100)를 발사하는 발사관(120)과;상기 발사관(120)의 후방에 설치되어 상기 발사관(120) 쪽으로 공기압력을 선택적으로 가하여 상기 시험체(100)를 발사시키는 고압용기(130)와; 그리고,상기 시험체(100)가 수중으로 입수될 때의 충격 데이터를 측정하도록, 상기 시험체(100)의 센서들과 계측장비를 연결하는 신호케이블(142)을 가지는 측정장치(140)와;상기 발사관(120)이 선회되거나 소정 범위 내에서 회전될 수 있도록 상기 발사관(120)을 지지하는 발사관 지지수단;을 포함하여 이루어지는 것을 특징으로 하는 입수 충격 시험장치.
- 제 1 항에 있어서,상기 측정장치(140)는, 상기 발사관(120)의 후단부에 설치되고 상기 신호케이블(142) 및 계측장비가 연결시키는 커넥터 유닛을 구비하는 조종상자(144)와, 상기 시험체(100)의 후부에 지지되고 내부에 상기 신호케이블(142)이 권취되며 후방이 개방되는 케이블 풀림용기(146)와, 상기 케이블 풀림용기(146)의 중앙에서 후방 으로 돌출형성되어 풀리는 상기 신호케이블(142)을 안내하는 케이블 풀림 가이드(148)를 포함하여 이루어지는 것을 특징으로 하는 입수 충격 시험장치.
- 제 2 항에 있어서,상기 발사관(120)은, 상기 시험체(100)가 장착될 때 상기 케이블 풀림 가이드(148)의 후단이 끼워져 고정되는 고정구(160)를 포함하고,상기 고정구(160)는 실린더의 동작에 의해 상기 케이블 풀림 가이드(148)의 후단이 삽입되는 부분이 확축되어 상기 케이블 풀림 가이드(148)의 잠금을 해제하는 구조로 형성된 것을 특징으로 하는 입수 충격 시험장치.
- 제 1 항 내지 제 3 항중 어느 한 항에 있어서,상기 발사관(120)의 전방 측에 설치되어 상기 시험체(100)의 속도를 감지하여 계측장비로 보내는, 적어도 한 쌍의 광센서(170)로 이루어진 입수 속도 감지부를 더 포함하는 것을 특징으로 하는 입수 충격 시험장치.
- 제 1 항에 있어서,상기 발사관 지지수단은, 상기 발사관(120)의 중간부를 선회가능하게 지지하는 3절링크(180)와, 상기 3절링크의 길이를 신축시켜 상기 발사관을 상하로 선회시키는 선회이송장치(190)와, 그리고 상기 선회이송장치(190)를 지지하면서 상기 3절링크(180)를 피봇팅함과 아울러 상기 발사관(120)의 후단부를 지지하는 지지프레임(200)을 포함하여 이루어지고,상기 발사관(120)의 회전에 따라 상기 발사관(120)의 후단부가 상기 지지프레임(200)으로부터 이탈되도록 하는 것을 특징으로 하는 입수 충격 시험장치.
- 제 5 항에 있어서,상기 3절링크(180)는, 상기 발사관(120)의 중간부에 자유단이 연결되는 전방링크부재(182)와, 상기 전방링크부재에 연결된 채 상기 전방링크부재와 함께 상기 지지프레임(200)에 피봇팅되는 중간링크부재(184)와, 그리고 상기 중간링크부재에 연결된 채 상기 발사관의 중간부에 피봇팅되고, 자유단이 상기 선회이송장치(190)에 피봇팅되어, 상기 선회이송장치의 작동에 따라 진퇴하는 후방링크부재(186)를 포함하여 이루어지는 것을 특징으로 하는 입수 충격 시험장치.
- 제 6 항에 있어서,상기 선회이송장치(190)는, 상기 지지프레임(200)에 지지되는 기어박스(191)와, 상기 기어박스의 출력측에 일단이 연결되고 타단이 상기 지지프레임에 회전가능하게 지지되는 이송스크류(192)와, 그리고 상기 이송스크류의 회전에 따라 진퇴하도록 상기 이송스크류에 결합되고 상기 후방링크부재(186)의 자유단이 피봇팅되는 이송뭉치(193)를 포함하여 이루어지는 것을 특징으로 하는 입수 충격 시험장치.
- 제 5 항 내지 제 7 항중 어느 한 항에 있어서,상기 지지프레임(200)은, 그 하부에 설치되는 회전장치(210)의 출력축(212)에 결합되어 좌우회전하는 것을 특징으로 하는 입수 충격 시험장치.
Priority Applications (1)
| Application Number | Priority Date | Filing Date | Title |
|---|---|---|---|
| KR1020070017975A KR100840995B1 (ko) | 2007-02-22 | 2007-02-22 | 입수 충격 시험장치 |
Applications Claiming Priority (1)
| Application Number | Priority Date | Filing Date | Title |
|---|---|---|---|
| KR1020070017975A KR100840995B1 (ko) | 2007-02-22 | 2007-02-22 | 입수 충격 시험장치 |
Publications (1)
| Publication Number | Publication Date |
|---|---|
| KR100840995B1 true KR100840995B1 (ko) | 2008-06-24 |
Family
ID=39772362
Family Applications (1)
| Application Number | Title | Priority Date | Filing Date |
|---|---|---|---|
| KR1020070017975A Expired - Fee Related KR100840995B1 (ko) | 2007-02-22 | 2007-02-22 | 입수 충격 시험장치 |
Country Status (1)
| Country | Link |
|---|---|
| KR (1) | KR100840995B1 (ko) |
Cited By (34)
| Publication number | Priority date | Publication date | Assignee | Title |
|---|---|---|---|---|
| KR101259821B1 (ko) | 2011-05-13 | 2013-04-30 | 삼성중공업 주식회사 | 힘 측정 장치 |
| KR101268416B1 (ko) * | 2011-10-31 | 2013-05-28 | 주식회사 케이피아이 | 방탄소재의 방탄성능 측정장치 |
| KR101268415B1 (ko) * | 2011-10-31 | 2013-05-28 | 주식회사 케이피아이 | 방검소재의 방검성능 측정장치 |
| KR101267792B1 (ko) | 2011-10-07 | 2013-06-04 | 충남대학교산학협력단 | 고속 비상체의 충돌에 의한 내충격 성능 시험장치 |
| CN103712765A (zh) * | 2013-12-30 | 2014-04-09 | 北京航空航天大学 | 冲击试验机 |
| KR101546286B1 (ko) * | 2013-11-22 | 2015-08-21 | 정경훈 | 경어뢰 발사대 발사장비의 점검장비 |
| CN106353066A (zh) * | 2016-08-22 | 2017-01-25 | 浙江大学 | 旋转物体稳定高速变角度入水实验装置 |
| CN106932169A (zh) * | 2017-03-16 | 2017-07-07 | 大连理工大学 | 一种回旋体通气入水实验的通气装置 |
| CN109781513A (zh) * | 2019-04-02 | 2019-05-21 | 山西省计量科学研究院 | 一种高速冲击摩擦火花试验装置 |
| CN109974966A (zh) * | 2019-03-15 | 2019-07-05 | 哈尔滨工程大学 | 一种高压气控制的物体多角度高速入水实验装置 |
| CN110220429A (zh) * | 2019-07-17 | 2019-09-10 | 南京嘉恒仪器设备有限公司 | 一种弹体发射入水试验加速度/压力测量装置 |
| CN110816783A (zh) * | 2019-10-25 | 2020-02-21 | 哈尔滨工业大学(威海) | 一种航行体入水实验发射装置及其实现连续释放的方法 |
| CN111721645A (zh) * | 2020-06-29 | 2020-09-29 | 王昆 | 一种可自行限位的高端装备制造用耐冲击试验装置 |
| CN111874261A (zh) * | 2020-07-01 | 2020-11-03 | 中山大学 | 一种适用于模型跨自由面运动测量的试验平台 |
| KR20200133655A (ko) * | 2019-05-20 | 2020-11-30 | 한국전자통신연구원 | 촉각 센서 평가 장치 |
| CN112179615A (zh) * | 2020-09-23 | 2021-01-05 | 哈尔滨工程大学 | 一种应用于水下大脉宽爆炸实验的铰连接式刚体运动控制装置 |
| CN113465876A (zh) * | 2021-08-03 | 2021-10-01 | 北京理工大学 | 一种多模式入水实验发射装置 |
| CN113933021A (zh) * | 2021-09-24 | 2022-01-14 | 哈尔滨工程大学 | 一种用于高速串并联入水试验的发射装置 |
| KR20220101927A (ko) * | 2021-01-12 | 2022-07-19 | 국방과학연구소 | 수중 운동체 발사 감지 장치 및 방법 |
| CN114878138A (zh) * | 2022-04-20 | 2022-08-09 | 西北工业大学 | 一种滑翔鱼雷模型的空中飞行实验发射装置 |
| CN114894436A (zh) * | 2022-05-23 | 2022-08-12 | 天津大学 | 一种管道段塞运动与冲击实验系统 |
| KR20220126887A (ko) * | 2021-03-10 | 2022-09-19 | 국방과학연구소 | 시편 테스트 시스템 |
| CN115266017A (zh) * | 2022-06-06 | 2022-11-01 | 西北工业大学 | 一种非回转体结构物入水试验的偏心推动弹 |
| CN115420153A (zh) * | 2022-08-31 | 2022-12-02 | 东北大学 | 一种超空泡枪弹跨介质试验装置 |
| CN115753763A (zh) * | 2022-11-07 | 2023-03-07 | 哈尔滨工程大学 | 一种无发射气体干扰的变角度自由出水试验装置及方法 |
| CN115950661A (zh) * | 2022-12-09 | 2023-04-11 | 中国工程物理研究院总体工程研究所 | 一种用于飞行器高温入水模拟试验的装置 |
| CN116026197A (zh) * | 2022-09-07 | 2023-04-28 | 北京理工大学 | 一种基于压缩空气递升式弹射实验装置及实验方法 |
| CN116105540A (zh) * | 2023-01-31 | 2023-05-12 | 武汉船用机械有限责任公司 | 测试平台装置 |
| CN116222324A (zh) * | 2022-12-26 | 2023-06-06 | 中国人民解放军96901部队24分队 | 一种发射助推的大口径高速阀门及其入水试验装置 |
| CN116296249A (zh) * | 2023-02-01 | 2023-06-23 | 中国空气动力研究与发展中心空天技术研究所 | 一种入水冲击空泡测量系统 |
| CN116298179A (zh) * | 2023-03-29 | 2023-06-23 | 北京航天试验技术研究所 | 测试含能材料气流冲击感度的装置及方法 |
| CN116608743A (zh) * | 2023-07-20 | 2023-08-18 | 中国万宝工程有限公司 | 一种回收装置及试验弹的回收方法 |
| CN117871028A (zh) * | 2023-12-22 | 2024-04-12 | 哈尔滨工程大学 | 一种考虑筒口气团的三自由度带攻角弹射出水实验装置 |
| CN119374846A (zh) * | 2024-09-20 | 2025-01-28 | 哈尔滨工程大学 | 一种可控角速度的高速落体砰击试验装置及方法 |
Citations (4)
| Publication number | Priority date | Publication date | Assignee | Title |
|---|---|---|---|---|
| JPH0213817A (ja) * | 1988-07-01 | 1990-01-18 | Mitsubishi Heavy Ind Ltd | 衝撃試験装置 |
| JPH03127246U (ko) * | 1990-04-05 | 1991-12-20 | ||
| JPH07218681A (ja) * | 1994-01-28 | 1995-08-18 | Toshiba Corp | 容器内検査装置 |
| KR100347074B1 (ko) | 2000-03-24 | 2002-08-03 | 국방과학연구소 | 입수충격 모의시험장치 |
-
2007
- 2007-02-22 KR KR1020070017975A patent/KR100840995B1/ko not_active Expired - Fee Related
Patent Citations (4)
| Publication number | Priority date | Publication date | Assignee | Title |
|---|---|---|---|---|
| JPH0213817A (ja) * | 1988-07-01 | 1990-01-18 | Mitsubishi Heavy Ind Ltd | 衝撃試験装置 |
| JPH03127246U (ko) * | 1990-04-05 | 1991-12-20 | ||
| JPH07218681A (ja) * | 1994-01-28 | 1995-08-18 | Toshiba Corp | 容器内検査装置 |
| KR100347074B1 (ko) | 2000-03-24 | 2002-08-03 | 국방과학연구소 | 입수충격 모의시험장치 |
Cited By (47)
| Publication number | Priority date | Publication date | Assignee | Title |
|---|---|---|---|---|
| KR101259821B1 (ko) | 2011-05-13 | 2013-04-30 | 삼성중공업 주식회사 | 힘 측정 장치 |
| KR101267792B1 (ko) | 2011-10-07 | 2013-06-04 | 충남대학교산학협력단 | 고속 비상체의 충돌에 의한 내충격 성능 시험장치 |
| KR101268416B1 (ko) * | 2011-10-31 | 2013-05-28 | 주식회사 케이피아이 | 방탄소재의 방탄성능 측정장치 |
| KR101268415B1 (ko) * | 2011-10-31 | 2013-05-28 | 주식회사 케이피아이 | 방검소재의 방검성능 측정장치 |
| KR101546286B1 (ko) * | 2013-11-22 | 2015-08-21 | 정경훈 | 경어뢰 발사대 발사장비의 점검장비 |
| CN103712765A (zh) * | 2013-12-30 | 2014-04-09 | 北京航空航天大学 | 冲击试验机 |
| CN103712765B (zh) * | 2013-12-30 | 2015-12-30 | 北京航空航天大学 | 冲击试验机 |
| CN106353066A (zh) * | 2016-08-22 | 2017-01-25 | 浙江大学 | 旋转物体稳定高速变角度入水实验装置 |
| CN106932169A (zh) * | 2017-03-16 | 2017-07-07 | 大连理工大学 | 一种回旋体通气入水实验的通气装置 |
| CN109974966A (zh) * | 2019-03-15 | 2019-07-05 | 哈尔滨工程大学 | 一种高压气控制的物体多角度高速入水实验装置 |
| CN109974966B (zh) * | 2019-03-15 | 2024-04-30 | 哈尔滨工程大学 | 一种高压气控制的物体多角度高速入水实验装置 |
| CN109781513A (zh) * | 2019-04-02 | 2019-05-21 | 山西省计量科学研究院 | 一种高速冲击摩擦火花试验装置 |
| CN109781513B (zh) * | 2019-04-02 | 2024-04-26 | 山西省检验检测中心(山西省标准计量技术研究院) | 一种高速冲击摩擦火花试验装置 |
| KR20200133655A (ko) * | 2019-05-20 | 2020-11-30 | 한국전자통신연구원 | 촉각 센서 평가 장치 |
| KR102828474B1 (ko) | 2019-05-20 | 2025-07-04 | 한국전자통신연구원 | 촉각 센서 평가 장치 |
| CN110220429A (zh) * | 2019-07-17 | 2019-09-10 | 南京嘉恒仪器设备有限公司 | 一种弹体发射入水试验加速度/压力测量装置 |
| CN110816783A (zh) * | 2019-10-25 | 2020-02-21 | 哈尔滨工业大学(威海) | 一种航行体入水实验发射装置及其实现连续释放的方法 |
| CN110816783B (zh) * | 2019-10-25 | 2021-05-14 | 哈尔滨工业大学(威海) | 一种航行体入水实验发射装置及其实现连续释放的方法 |
| CN111721645A (zh) * | 2020-06-29 | 2020-09-29 | 王昆 | 一种可自行限位的高端装备制造用耐冲击试验装置 |
| CN111721645B (zh) * | 2020-06-29 | 2023-10-24 | 北京中星试验技术有限公司 | 一种可自行限位的高端装备制造用耐冲击试验装置 |
| CN111874261A (zh) * | 2020-07-01 | 2020-11-03 | 中山大学 | 一种适用于模型跨自由面运动测量的试验平台 |
| CN111874261B (zh) * | 2020-07-01 | 2023-01-13 | 中山大学 | 一种适用于模型跨自由面运动测量的试验平台 |
| CN112179615B (zh) * | 2020-09-23 | 2022-08-02 | 哈尔滨工程大学 | 一种应用于水下大脉宽爆炸实验的铰连接式刚体运动控制装置 |
| CN112179615A (zh) * | 2020-09-23 | 2021-01-05 | 哈尔滨工程大学 | 一种应用于水下大脉宽爆炸实验的铰连接式刚体运动控制装置 |
| KR20220101927A (ko) * | 2021-01-12 | 2022-07-19 | 국방과학연구소 | 수중 운동체 발사 감지 장치 및 방법 |
| KR102489606B1 (ko) | 2021-01-12 | 2023-01-17 | 국방과학연구소 | 수중 운동체 발사 감지 장치 및 방법 |
| KR20220126887A (ko) * | 2021-03-10 | 2022-09-19 | 국방과학연구소 | 시편 테스트 시스템 |
| KR102554356B1 (ko) | 2021-03-10 | 2023-07-11 | 국방과학연구소 | 시편 테스트 시스템 |
| CN113465876A (zh) * | 2021-08-03 | 2021-10-01 | 北京理工大学 | 一种多模式入水实验发射装置 |
| CN113933021A (zh) * | 2021-09-24 | 2022-01-14 | 哈尔滨工程大学 | 一种用于高速串并联入水试验的发射装置 |
| CN113933021B (zh) * | 2021-09-24 | 2022-07-08 | 哈尔滨工程大学 | 一种用于高速串并联入水试验的发射装置 |
| CN114878138A (zh) * | 2022-04-20 | 2022-08-09 | 西北工业大学 | 一种滑翔鱼雷模型的空中飞行实验发射装置 |
| CN114894436A (zh) * | 2022-05-23 | 2022-08-12 | 天津大学 | 一种管道段塞运动与冲击实验系统 |
| CN115266017A (zh) * | 2022-06-06 | 2022-11-01 | 西北工业大学 | 一种非回转体结构物入水试验的偏心推动弹 |
| CN115420153A (zh) * | 2022-08-31 | 2022-12-02 | 东北大学 | 一种超空泡枪弹跨介质试验装置 |
| CN115420153B (zh) * | 2022-08-31 | 2023-09-19 | 东北大学 | 一种超空泡枪弹跨介质试验装置 |
| CN116026197A (zh) * | 2022-09-07 | 2023-04-28 | 北京理工大学 | 一种基于压缩空气递升式弹射实验装置及实验方法 |
| CN115753763B (zh) * | 2022-11-07 | 2024-05-31 | 哈尔滨工程大学 | 一种无发射气体干扰的变角度自由出水试验装置及方法 |
| CN115753763A (zh) * | 2022-11-07 | 2023-03-07 | 哈尔滨工程大学 | 一种无发射气体干扰的变角度自由出水试验装置及方法 |
| CN115950661A (zh) * | 2022-12-09 | 2023-04-11 | 中国工程物理研究院总体工程研究所 | 一种用于飞行器高温入水模拟试验的装置 |
| CN116222324A (zh) * | 2022-12-26 | 2023-06-06 | 中国人民解放军96901部队24分队 | 一种发射助推的大口径高速阀门及其入水试验装置 |
| CN116105540A (zh) * | 2023-01-31 | 2023-05-12 | 武汉船用机械有限责任公司 | 测试平台装置 |
| CN116296249A (zh) * | 2023-02-01 | 2023-06-23 | 中国空气动力研究与发展中心空天技术研究所 | 一种入水冲击空泡测量系统 |
| CN116298179A (zh) * | 2023-03-29 | 2023-06-23 | 北京航天试验技术研究所 | 测试含能材料气流冲击感度的装置及方法 |
| CN116608743A (zh) * | 2023-07-20 | 2023-08-18 | 中国万宝工程有限公司 | 一种回收装置及试验弹的回收方法 |
| CN117871028A (zh) * | 2023-12-22 | 2024-04-12 | 哈尔滨工程大学 | 一种考虑筒口气团的三自由度带攻角弹射出水实验装置 |
| CN119374846A (zh) * | 2024-09-20 | 2025-01-28 | 哈尔滨工程大学 | 一种可控角速度的高速落体砰击试验装置及方法 |
Similar Documents
| Publication | Publication Date | Title |
|---|---|---|
| KR100840995B1 (ko) | 입수 충격 시험장치 | |
| CN109738156B (zh) | 可定向模拟深海中壳型结构物与海床动力碰撞试验装置 | |
| CN109506875B (zh) | 非药式水下爆炸冲击波与高速破片耦合加载的实验系统 | |
| US9873529B2 (en) | Space object capture | |
| Reed et al. | Development of harpoon system for capturing space debris | |
| CN202947939U (zh) | 一种撞击等效水下爆炸冲击加载实验测试装置系统 | |
| CN101786504B (zh) | 用于小行星着陆器探测的锚定位系统 | |
| US20080111021A1 (en) | Deployment system and method for subsurface launched unmanned aerial vehicle | |
| KR101949291B1 (ko) | 드론을 이용한 비파괴 방식의 콘크리트 강도 측정장치 및 측정방법 | |
| US4794575A (en) | Submarine launched sea-state buoy (SLSSB) | |
| ES2212290T3 (es) | Sistema de comprobacion de anclajes en el suelo. | |
| CN115128238A (zh) | 深水爆炸冲击波与高速破片耦合加载试验装置 | |
| CN108489346B (zh) | 用于高轴向过载下材料动态响应测试的试验装置及方法 | |
| CN106288982A (zh) | 一种用于模拟导弹离筒的弹射回收试验装置 | |
| US20160200408A1 (en) | Charge deployment system for ordnance neutralisation | |
| CN115675869A (zh) | 海洋水文探测仪器投放装置和投放与探测方法 | |
| CN113701979A (zh) | 宽脉冲高g值加速度试验系统和试验方法及应用 | |
| RU2481248C1 (ru) | Космический аппарат с эталонными отражателями | |
| CN113607010B (zh) | 一种深海环境高速侵彻试验装置和方法 | |
| US5205162A (en) | Underwater vehicle launch performance test facility | |
| US5973994A (en) | Surface launched sonobuoy | |
| NO339860B1 (no) | Innretning for ødeleggelse av undervannsobjekter eller flytende objekter | |
| CN105651960A (zh) | 炸药水下爆炸猛度的测量装置及方法 | |
| CN204594354U (zh) | 一种水下试验弹地通信电缆自动分离装置 | |
| CN114965115A (zh) | 一种连续多次高冲击加载试验与测试系统及方法 |
Legal Events
| Date | Code | Title | Description |
|---|---|---|---|
| A201 | Request for examination | ||
| PA0109 | Patent application |
St.27 status event code: A-0-1-A10-A12-nap-PA0109 |
|
| PA0201 | Request for examination |
St.27 status event code: A-1-2-D10-D11-exm-PA0201 |
|
| D13-X000 | Search requested |
St.27 status event code: A-1-2-D10-D13-srh-X000 |
|
| D14-X000 | Search report completed |
St.27 status event code: A-1-2-D10-D14-srh-X000 |
|
| E902 | Notification of reason for refusal | ||
| PE0902 | Notice of grounds for rejection |
St.27 status event code: A-1-2-D10-D21-exm-PE0902 |
|
| P11-X000 | Amendment of application requested |
St.27 status event code: A-2-2-P10-P11-nap-X000 |
|
| P13-X000 | Application amended |
St.27 status event code: A-2-2-P10-P13-nap-X000 |
|
| P11-X000 | Amendment of application requested |
St.27 status event code: A-2-2-P10-P11-nap-X000 |
|
| P13-X000 | Application amended |
St.27 status event code: A-2-2-P10-P13-nap-X000 |
|
| E701 | Decision to grant or registration of patent right | ||
| PE0701 | Decision of registration |
St.27 status event code: A-1-2-D10-D22-exm-PE0701 |
|
| GRNT | Written decision to grant | ||
| PR0701 | Registration of establishment |
St.27 status event code: A-2-4-F10-F11-exm-PR0701 |
|
| PR1002 | Payment of registration fee |
St.27 status event code: A-2-2-U10-U11-oth-PR1002 Fee payment year number: 1 |
|
| PG1601 | Publication of registration |
St.27 status event code: A-4-4-Q10-Q13-nap-PG1601 |
|
| PR1001 | Payment of annual fee |
St.27 status event code: A-4-4-U10-U11-oth-PR1001 Fee payment year number: 4 |
|
| PR1001 | Payment of annual fee |
St.27 status event code: A-4-4-U10-U11-oth-PR1001 Fee payment year number: 5 |
|
| FPAY | Annual fee payment |
Payment date: 20130502 Year of fee payment: 6 |
|
| PR1001 | Payment of annual fee |
St.27 status event code: A-4-4-U10-U11-oth-PR1001 Fee payment year number: 6 |
|
| PN2301 | Change of applicant |
St.27 status event code: A-5-5-R10-R13-asn-PN2301 St.27 status event code: A-5-5-R10-R11-asn-PN2301 |
|
| FPAY | Annual fee payment |
Payment date: 20140602 Year of fee payment: 7 |
|
| PR1001 | Payment of annual fee |
St.27 status event code: A-4-4-U10-U11-oth-PR1001 Fee payment year number: 7 |
|
| FPAY | Annual fee payment |
Payment date: 20150601 Year of fee payment: 8 |
|
| PR1001 | Payment of annual fee |
St.27 status event code: A-4-4-U10-U11-oth-PR1001 Fee payment year number: 8 |
|
| FPAY | Annual fee payment |
Payment date: 20160602 Year of fee payment: 9 |
|
| PR1001 | Payment of annual fee |
St.27 status event code: A-4-4-U10-U11-oth-PR1001 Fee payment year number: 9 |
|
| P22-X000 | Classification modified |
St.27 status event code: A-4-4-P10-P22-nap-X000 |
|
| LAPS | Lapse due to unpaid annual fee | ||
| PC1903 | Unpaid annual fee |
St.27 status event code: A-4-4-U10-U13-oth-PC1903 Not in force date: 20170619 Payment event data comment text: Termination Category : DEFAULT_OF_REGISTRATION_FEE |
|
| PC1903 | Unpaid annual fee |
St.27 status event code: N-4-6-H10-H13-oth-PC1903 Ip right cessation event data comment text: Termination Category : DEFAULT_OF_REGISTRATION_FEE Not in force date: 20170619 |
