JP7686824B2 - 段ボールシート送り出し装置 - Google Patents

段ボールシート送り出し装置 Download PDF

Info

Publication number
JP7686824B2
JP7686824B2 JP2024033393A JP2024033393A JP7686824B2 JP 7686824 B2 JP7686824 B2 JP 7686824B2 JP 2024033393 A JP2024033393 A JP 2024033393A JP 2024033393 A JP2024033393 A JP 2024033393A JP 7686824 B2 JP7686824 B2 JP 7686824B2
Authority
JP
Japan
Prior art keywords
cardboard sheet
bellows
shaped
cardboard
long
Prior art date
Legal status (The legal status is an assumption and is not a legal conclusion. Google has not performed a legal analysis and makes no representation as to the accuracy of the status listed.)
Active
Application number
JP2024033393A
Other languages
English (en)
Other versions
JP2024052996A (ja
Inventor
孝憲 泉
Original Assignee
株式会社Tanax
Priority date (The priority date is an assumption and is not a legal conclusion. Google has not performed a legal analysis and makes no representation as to the accuracy of the date listed.)
Filing date
Publication date
Application filed by 株式会社Tanax filed Critical 株式会社Tanax
Priority to JP2024033393A priority Critical patent/JP7686824B2/ja
Publication of JP2024052996A publication Critical patent/JP2024052996A/ja
Application granted granted Critical
Publication of JP7686824B2 publication Critical patent/JP7686824B2/ja
Active legal-status Critical Current
Anticipated expiration legal-status Critical

Links

Images

Landscapes

  • Making Paper Articles (AREA)
  • Machines For Manufacturing Corrugated Board In Mechanical Paper-Making Processes (AREA)
  • Pile Receivers (AREA)

Description

本発明は、長尺段ボールシートを蛇腹状に折り畳んでストックした蛇腹状段ボールシート積層体から、長尺段ボールシートを段ボールブランク製造装置に送り出す段ボールシート送り出し装置及び蛇腹状段ボールシート積層体を段ボールシート送り出し装置に補充する蛇腹状段ボールシート積層体補充装置に関する。
段ボール箱は段ボールシートから所定の形状に切り出されたブランク(段ボールブランク)を折り曲げ、組み立てて製造され、縦、横、高さが標準的なサイズである定形品から、定形外のものまで様々な種類がある。段ボールブランクは、通常、1枚の板状の段ボールシートから切り出し、必要な箇所にスリットや罫線を入れることにより製造される。定形品の段ボール箱を製造するための段ボールブランクの製造に際しては、一定の長さによる切り出し、及び一定の箇所へのスリット・罫線入れを連続的且つ高速に行うことができるため、大量の段ボールブランクを安価に製造することができる。
一方で、近年、多様な被梱包物に対応して個別にサイズの異なる段ボール箱を製造したいという、いわゆるオンデマンドによる段ボール箱製造に対する要望が高まってきている。そのような場合、一定サイズの板状の段ボールシートから様々な展開形状の段ボールブランクを製造していたのでは、切り出しの無駄が多くなる。
そこで、長尺段ボールシートを予め製造して保管しておき、必要なときに必要な長さだけ引き出して、所望のサイズの段ボール箱に対応した段ボールブランクを切り出す装置が提案されている(例えば、特許文献1を参照)。この段ボールブランク製造装置は、ストックされた長尺段ボールシートを少しずつ引き出して搬送する搬送装置と、その搬送方向と直交する方向に切り込みを入れる横切装置と、前記搬送方向に沿って切り込みを入れる縦切装置とを備え、縦切装置は幅方向(搬送方向と直交する方向)に移動可能となっている。ストックから引き出された長尺段ボールシートは、まず、横切装置により必要な長さに切断され、さらに、適宜の箇所に横切装置及び縦切装置で切り込み及びスリットを入れることにより、要求された形状及びサイズの段ボールブランクが製造される。なお、多くの場合、さらに、適宜の箇所に罫線を入れる。
こうしたオンデマンドによる段ボール箱製造において、連続的に製造される両面段ボールを蛇腹状に折り畳み、その状態でストックしておいて、上記のようなオンデマンドによる段ボール箱製造に用いることが提案されている(例えば、非特許文献1を参照)。このように蛇腹状に折り畳むことで、両面段ボール、片面段ボールのいずれも長尺段ボールシートとして保管することが可能となる。
国際公開第WO2014/119439号
BOX ON DEMAND MACHINE, Panotec Srl, [令和2年3月11日検索],インターネット<URL:http:// http://www.boxondemand.jp/en/box-on-demand-machines/>
蛇腹状に折り畳まれた1枚の長尺段ボールシートの前端側から順次段ボールブランクを切り出していき、残りの長尺段ボールシートの長さが所望の段ボールブランクに必要な長さに満たなくなると、新たな長尺段ボールシートを補充する必要がある。蛇腹状に折り畳まれた長尺段ボールシートの場合、蛇腹状に折り畳んだことで上下方向に積層化された蛇腹状段ボールシート積層体の状態でストックされている。したがって、装置に対して新しい蛇腹状段ボールシート積層体を補充することになる。このような作業を行う際には、段ボールブランク製造装置を一旦停止させる必要があるため、段ボールブランクの製造効率が低下するとともに、余計な人手作業を要する。そのため、段ボールブランク製造装置に送り出される長尺段ボールシートの後端に、新たな長尺段ボールシートの先端を接続することが考えられる。
蛇腹状段ボールシート積層体から段ボールブランク製造装置に長尺段ボールシートを送り出すときには、送り出し装置により蛇腹状段ボールシート積層体の上層からさらに高い位置に長尺段ボールシートを引き上げるようにしている。このため、残りが僅かとなった蛇腹状段ボールシート積層体を送出位置から取り除き、補充用の蛇腹状段ボールシート積層体を送出位置に配置するときに、補充用の蛇腹状段ボールシート積層体と送り出し装置との距離が遠くなると、前記のように接続された長尺段ボールシートが自重によりたわみ、長尺段ボールシートの送り出しが滞ることがある。
本発明の課題は、段ボールブランク製造装置を停止させることなく連続して長尺段ボールシートを補充することである。
上記課題を解決するために成された本発明は、
所定の長さ毎に長尺段ボールシートが蛇腹状に折り畳まれた蛇腹状段ボールシート積層体から前記長尺段ボールシートを段ボールブランク製造装置に送り出す段ボールシート送り出し装置であって、
所定の送出位置に配置された前記蛇腹状段ボールシート積層体から前記長尺段ボールシートが前記段ボールブランク製造装置に送り出されているか否かを検出する送出センサと、
前記送出位置に前記蛇腹状段ボールシート積層体が存在するか否かを検出する積層体検出センサと、
所定の準備位置に配置された前記蛇腹状段ボールシート積層体を前記送出位置に移送するための移送装置と、
前記積層体検出センサが前記送出位置に前記蛇腹状段ボールシート積層体が存在しないと検出した場合に、前記移送装置により前記準備位置に配置された前記蛇腹状段ボールシート積層体を前記送出位置に移送する制御部と、
を備えることを特徴とする。
本発明によれば、送出位置に配置された蛇腹状段ボールシート積層体の使用状況を積層体検出センサによりモニタすることで、準備位置に配置された蛇腹状段ボールシート積層体を送出位置に移送する補充動作を適切なタイミングで実行することができる。準備位置に配置した補充用の蛇腹状段ボールシート積層体の長尺段ボールシートの前端を、送出位置に配置した使用中の蛇腹状段ボールシート積層体の長尺段ボールシートの後端と予め接続しておくことで、長尺段ボールシートを連続的に段ボールブランク製造装置に送り出すことができる。さらに、準備位置に複数個の蛇腹状段ボールシート積層体を配置し、長尺段ボールシートの後端を後続の蛇腹状段ボールシート積層体の長尺段ボールシートの前端に接続した状態にしておくことで、長時間にわたり、長尺段ボールシートの段ボールブランク製造装置への連続供給が可能となる。
また、本発明に係る段ボールシート送り出し装置の制御部は、前記積層体検出センサが前記送出位置に前記蛇腹状段ボールシート積層体が存在しないと検出し、且つ、前記送出センサが前記長尺段ボールシートが前記段ボールブランク製造装置に送り出されていることを検出している場合に、前記移送装置により前記準備位置に配置された前記蛇腹状段ボールシート積層体を前記送出位置に移送する、ことが好ましい。
制御部は、長尺段ボールシートが段ボールブランク製造装置に送り出されていることを送出センサが検出している場合、すなわち、段ボールブランク製造装置への長尺段ボールシートの送り出しが実行されているときに、準備位置に配置された蛇腹状段ボールシート積層体を送出位置に移送することで、蛇腹状段ボールシート積層体が補充されるときの長尺段ボールシートの自重によるたわみを防止し、滞りなく長尺段ボールシートを段ボールブランク製造装置に送り出すことができる。これにより、段ボールブランク製造装置を停止させることによる段ボールブランクの製造効率の低下が低減される。
本発明に係る段ボールシート送り出し装置の移送装置は、蛇腹状段ボールシート積層体をパレットに載置して搬送するパレット搬送機構を備え、前記積層体検出センサは、前記送出位置の前記パレット上の前記蛇腹状段ボールシート積層体の存在を検出する第1センサであることが好ましい。
パレット搬送機構により、重い蛇腹状段ボールシート積層体の移動をスムーズに行うことができる。このようなパレット搬送機構としては、駆動源の動作によりパレットの下面と接しながら回転する複数のローラを備える、いわゆるローラコンベアを採用することができる。なお、駆動源の動作により回転する複数のローラは、個々のローラが個別に駆動源に接続されている必要はなく、例えば、複数のローラのうち少なくとも1つが駆動ローラであって、複数のローラを無端チェーンまたは無端ベルトで繋ぐことで同期して回転するようにしたものを含む。また、複数のローラの駆動源は、無端チェーンまたは無端ベルトを巻回した駆動プーリであってもよい。駆動ローラ及び駆動プーリはモータを内蔵するものでもよく、それらの回転軸を別体のモータに接続したものであってもよい。
また、制御部は、第1センサがパレット上に蛇腹状段ボールシート積層体が存在しないと検出した場合に、準備位置に配置された蛇腹状段ボールシート積層体を送出位置に移送するため、蛇腹段ボールシート積層体の使用の終了に合わせて、パレット搬送機構を制御することができる。ここで、第1センサがパレット上に蛇腹状段ボールシート積層体が存在しないと検出した場合には、第1センサのパレット上に蛇腹状段ボールシート積層体が存在しないと検出した時から所定の時間が経過するまで時間を含む。なお、所定の時間には、空のパレットを送出位置から排出するまでの時間等を含む。
本発明に係る段ボールシート送り出し装置は、前記第1センサを備える場合においてさらに、送出位置にパレットが存在するか否かを検出する第2センサを備え、
前記制御部は、前記第1センサが前記蛇腹状段ボールシート積層体が存在しないと検出し、且つ、前記第2センサが前記送出位置にパレットが存在しないことを検出した場合に、前記移送装置により前記準備位置に配置された前記蛇腹状段ボールシート積層体を前記送出位置に移送することが好ましい。
制御部は、第2センサで送出位置にパレットが存在しないことが検出できたタイミングで、蛇腹状段ボールシート積層体を載置したパレットを移動させるため、パレット同士の衝突による装置の停止を回避することができる。
なお、送出位置にパレットが存在しないことを検出するセンサは、送出位置から排出されて空のパレットを回収する回収位置に向かう搬送路をパレットが通過したことを検出する第3センサであってもよい。
本発明に係る段ボールシート送り出し装置は、前記送出位置に配置された前記蛇腹状段ボールシート積層体から前記長尺段ボールシートを前記段ボールブランク製造装置に送り出す回転体と、
前記回転体を前記蛇腹状段ボールシート積層体の高さよりも高い位置に回転可能に支持する支持フレームと、を備えることが好ましい。
蛇腹状段ボールシート積層体の高さよりも高い位置に支持された回転体が、長尺段ボールシートの裏面に当接しながら回転することにより、長尺段ボールシートが上下方向に積層化された蛇腹状段ボールシート積層体の上層からの長尺段ボールシートの引き出しと段ボールブランク製造装置への長尺段ボールシートの送り出しをスムーズに行うことができる。
なお、回転体は、断面形状が正多角形であり、該正多角形の一辺の長さは、蛇腹状段ボールシート積層体における前記所定の長さに相当する長さであることが好ましい。正多角形としては、正三角形、正方形等、一辺の長さが長尺段ボールシートの積層用折罫のピッチ(所定の長さ)に対応するものであればよい。正多角形の角と積層用折罫のピッチを一致させることにより、回転体と長尺段ボールシートの裏面との接触状態が安定し、蛇腹状段ボールシート積層体からの長尺段ボールシートの引き出しを確実に行うことができるとともに、長尺段ボールシートを滞りなく段ボールブランク製造装置に送り出すことができる。
また、回転体は、段ボールブランク製造装置の長尺段ボールシートの搬送に従動して回転してもよく、この発明の段ボールシート送り出し装置の制御部の制御下で搬送装置を動作させ、段ボールブランク製造装置の長尺段ボールシートの搬送に連動して回転するようにしてもよい。回転体の回転速度と段ボールブランク製造装置の長尺段ボールシートの搬送速度とを合わせることで、段ボールブランク製造装置への長尺段ボールシートの送り出しをスムーズに行うことができる。なお、長尺段ボールシートが段ボールブランク製造装置に送り出されているか否かを検出する送出センサは、回転体の回転を検出する回転センサであってもよい。
段ボールシート送り出し装置により補充される蛇腹状段ボールシート積層体は、所定の長さ毎に長尺段ボールシートが蛇腹状に折り畳まれた蛇腹積層部と、蛇腹積層部の最下層の長尺段ボールシートの端から延出した部分であって、蛇腹積層部から突出している継ぎしろ部と、を備えるものが好ましい。
段ボールブランク製造装置で使用中の長尺段ボールシートの継ぎしろ部に、別の(後側の)蛇腹状段ボールシート積層体の蛇腹積層部の上層から引き出した長尺段ボールシートの前端を繋ぎ合わせることにより、複数の蛇腹状段ボールシート積層体間の接続を、スムーズに行うことができる。なお、異なる蛇腹状段ボールシート積層体の長尺段ボールシートの端部間の接続は、手動で行ってもよく、接合装置を使って自動で行ってもよい。
また、長尺段ボールシートには、送出位置に配置された蛇腹状段ボールシート積層体の継しろ部の端部と準備位置に配置された蛇腹状段ボールシート積層体の蛇腹積層部の最上層の端部との接続を補助するための補助折罫が積層用折罫と平行に設けられていることが好ましい。複数の蛇腹状段ボールシート積層体間の接続は、長尺段ボールシートの端部の面同士を接着してもよく、接続を補助する部材を使用したものであってもよい。
送出位置及び準備位置に配置された複数の蛇腹状段ボールシート積層体の長尺段ボールシートを手動で互いに接続するときは、一方(前側)の蛇腹積層部の最下層にある継しろ部に向けて、他方(後側)の蛇腹積層部の最上層の長尺段ボールシートを引き出して近づけているが、補助折罫を設けることで、この作業をスムーズに行うことができる。なお、この補助折罫は、蛇腹積層部の高さと継しろ部の長さを考慮して、未使用の蛇腹状段ボールシート積層体における蛇腹積層部の最上層から2~3層までの長尺段ボールシートに設けられていればよい。
また、継しろ部の端部を、別の(後側の)蛇腹状段ボールシート積層体の蛇腹積層部の最上層の長尺段ボールシートの端部と端面同士を突き合わせて接合する場合には、各々の蛇腹状段ボールシート積層体は、継しろ部の長さと、蛇腹積層部の最上層の長尺段ボールシートの端から最も近い積層用折罫までの長さとの和が、所定の長さである、ことが好ましい。
継しろ部の端部を、別の(後側の)蛇腹状段ボールシート積層体の蛇腹積層部の最上層の長尺段ボールシートの端部の端面(切断面)同士を突き合わせて接合した場合に、長尺段ボールシートのつなぎ目がある層においても、所定の長さ、すなわち積層用折罫のピッチが維持される。これにより、つなぎ目の有無に関係なく長尺段ボールシートの段ボールブランク製造装置への送り出しをスムーズに行うことができる。
また、上記課題を解決するために成された本発明は、
所定の長さ毎に長尺段ボールシートが蛇腹状に折り畳まれた蛇腹状段ボールシート積層体を、段ボール送り出し装置に補充する蛇腹状段ボールシート積層体補充装置であって、
所定の送出位置に前記蛇腹状段ボールシート積層体が存在するか否かを検出する積層体検出センサと、
所定の準備位置に配置された前記蛇腹状段ボールシート積層体を前記送出位置に移送するための移送装置と、
前記積層体検出センサが前記送出位置に前記蛇腹状段ボールシート積層体が存在しないと検出した場合に、前記移送装置により前記準備位置に配置された前記蛇腹状段ボールシート積層体を前記送出位置に移送する制御部と、
を備えることを特徴とする。
本発明に係る段ボールシート補充装置を用いることにより、段ボールブランク製造装置を停止させることなく、段ボールブランク製造装置に長尺段ボールシートを長時間にわたり連続的に供給することができる。
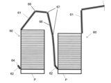
本発明の実施形態による段ボールシート送り出し装置の側面概要図。 本発明の実施形態による段ボールシート送り出し装置の平面概要図。 本発明の実施形態による段ボールシート送り出し装置の主要な制御系を示すブロック図。 本発明の実施形態による段ボールシート送り出し装置の移送装置により補充される蛇腹状段ボールシート積層体の全体図。 図4に示す蛇腹状段ボールシート積層体間の接続を示す図。 図4に示す蛇腹状段ボールシート積層体間の接続を示す図。 本発明の実施形態による段ボールシート送り出し装置の移送装置による蛇腹状段ボールシート積層体の補充動作を説明する図。 本発明の実施形態による段ボールシート送り出し装置の移送装置による蛇腹状段ボールシート積層体の補充動作を説明する図。 本発明の実施形態による段ボールシート送り出し装置の移送装置による蛇腹状段ボールシート積層体の補充動作を説明する図。
以下、本発明を実施するための形態を、図面を参照しつつ説明する。
<1.構成>
図1は、本発明の実施形態による段ボールシート送り出し装置10の側面概要図であり、図2はその平面概要図である。図3は、本発明の実施形態による段ボールシート送り出し装置10の主要な制御系を示すブロック図である。
本実施形態に係る段ボールシート送り出し装置10は、所定の長さ毎に長尺段ボールシート61が蛇腹状に折り畳まれた蛇腹状段ボールシート積層体60から長尺段ボールシート61を引き出し、段ボールブランク製造装置50に送り出すものである。この段ボールシート送り出し装置10により送り出された長尺段ボールシート61は、段ボールブランク製造装置50の搬送部53により段ボールブランク製造部(図示せず)に搬送され、長尺段ボールシート61から段ボールブランクが切り出される。段ボールブランクの切り出し時には、搬送部53による搬送が一時的に停止されるため、長尺段ボールシート61の搬送は、所定の搬送速度を保ちつつ、切り出しのタイミングに合わせて間欠的に実行される。段ボールブランク製造装置50には、これらの動作を制御する制御部51、及び、ユーザからの制御部51への各種入力を受け付けるコントロールパネル52が接続されている。段ボールブランク製造装置50により切り出された段ボールブランクは、その後、手動又は組み立て装置により、段ボール箱に組み立てられる。
この段ボールシート送り出し装置10は、蛇腹状段ボールシート積層体60の移送装置20と、蛇腹状段ボールシート積層体60から引き出された長尺段ボールシート61の送出部40と、これらの動作を制御する制御部21、及び、ユーザからの制御部21への各種入力を受け付けるコントロールパネル22を備える。
移送装置20は、蛇腹状段ボールシート積層体60から引き出された長尺段ボールシート61を段ボールブランク製造装置50に向けて送り出す送出位置31に、蛇腹状段ボールシート積層体60を補充するものである。この移送装置20は、複数の蛇腹状段ボールシート積層体60を搬送可能に支持するとともに、蛇腹状段ボールシート積層体60を送出位置31に向かう搬送路に沿って搬送する。
移送装置20は、パレットP上に載置された蛇腹状段ボールシート積層体60の搬送路を形成する一対のローラコンベア24を備える。このローラコンベア24は、複数の搬送ローラを備えており、所定の間隔ごと配置された駆動ローラ23を駆動源として回転するパレット搬送機構を構成する。複数の搬送ローラは何れかの駆動ローラ23とチェーンベルト(図示せず)により互いに連結されることで、駆動ローラ23の回転に同期して回転する。パレットP上に載置された蛇腹状段ボールシート積層体60は、搬送ローラがパレットPの下面に接しつつ回転することで送出位置31に向けて移送される。図2に一点鎖線で示すように、この移送装置20における搬送路の送出部40に最も近い下流側が、送出部40の動作により長尺段ボールシート61を段ボールブランク製造装置50に向けて送り出す送出位置31となり、その上流側が準備位置32となる。
一対のローラコンベア24の中間位置には、ローラコンベア24と平行に、蛇腹状段ボールシート積層体60の移動を補助する複数のフリーローラ25が配置されている。搬送路上の送出位置31と準備位置32との間には、蛇腹状段ボールシート積層体60の移動を規制する傾倒可能な棒部材(図示せず)が設けられている。なお、蛇腹状段ボールシート積層体60の移動の規制は、他の部材を用いてもよい。例えば、一対のローラコンベア24の間に、エアシリンダにより昇降する板部材を配置してもよい。この場合は、板部材を搬送ローラがパレットPの下面に接する高さよりも高い位置に上昇させることにより、蛇腹状段ボールシート積層体60の移動を規制する。
移送装置20は、送出位置31の蛇腹状段ボールシート積層体60から長尺段ボールシート61がすべて引き出されたことで空となったパレットPを排出するための第2搬送路を備える。第2搬送路は、送出位置31から、蛇腹状段ボールシート積層体60の搬送方向に直交する方向に延設された一対のガイドレール28により構成される。この実施形態では、蛇腹状段ボールシート積層体60を載置しているパレットPを段ボールにより形成しており、パレットPの重量が軽い。このため、パレットPを払い出し部材(図示せず)により第2搬送路に向けて押し出すことで、該パレットPは第2搬送路の下流の回収位置33に向けてガイドレール28に沿ってスライド移動する。なお、パレットPは、送出部40の下方の空きスペースに払い出すようにしてもよい。この場合、制御部21が送出位置31に対応する位置の駆動ローラ23の動作を制御することにより、空のパレットPを払い出してもよい。
この段ボールシート送り出し装置10は、送出位置31の蛇腹状段ボールシート積層体60の存在を検出する積層体検出センサとしての第1センサ35を備える。第1センサ35は、所定の高さ位置に送出位置31を向く姿勢で配置され、パレットP上の蛇腹状段ボールシート積層体60を形成する長尺段ボールシート61の有無を検出し、検出結果を制御部21に送信する。
また、この段ボールシート送り出し装置10は、送出位置31にパレットPが存在するか否かを検出する第2センサ36を備える。第2センサ36は、送出位置31にあるパレットPの側面を向く姿勢で配置され、送出位置31におけるパレットPの有無を検出し、検出結果を制御部21に送信する。
さらに、この段ボールシート送り出し装置10は、送出位置31から排出されて空のパレットPを回収する回収位置33に向かう第2搬送路をパレットPが通過したことを検出する第3センサ37を備える。第3センサ37は、回収位置33までの間の任意の位置に第2搬送路を向く姿勢で配置され、パレットPが通過したことを検出し、検出結果を制御部21に送信する。なお、これら第1センサ35、第2センサ36、第3センサ37としては、受光部と投光部を備えた光電センサ等を採用することができる。
送出部40は、回転体41と、該回転体41を回転可能に支持する支持フレーム42を備える。回転体41は、回転軸43を中心に回転して、長尺段ボールシート61を送出位置31から段ボールブランク製造装置50に送り出すものである。回転体41は、断面形状が正三角形であり、該正三角形の一辺の長さは、蛇腹状段ボールシート積層体60における所定の長さ、すなわち、長尺段ボールシート61を蛇腹状に折り畳んだときの積層用折罫のピッチに相当する長さである。
回転体41の回転軸43には、回転体41の回転状態を検出する回転センサ44が取り付けられている。この回転センサ44は、送出位置31に配置された蛇腹状段ボールシート積層体60から長尺段ボールシート61が段ボールブランク製造装置50に送り出されているか否かを検出する送出センサとして機能する。このような回転センサ44には、例えば、ロータリエンコーダ等の回転量を計測するセンサを採用することができる。この実施形態では、回転体41の回転センサ44を送出センサとしているが、これに限定されない。すなわち、送出センサは、段ボールブランク製造装置50側の搬送部53において長尺段ボールシート61の搬送状況を監視するセンサであってもよい。この場合には、段ボールシート送り出し装置10の制御部21は、段ボールブランク製造装置50側の制御部51から送信された長尺段ボールシート61が搬送中であることを示す信号の入力により、長尺段ボールシート61が段ボールブランク製造装置50に送り出されているか否かを判断してもよい。
また、この実施形態では、断面形状が正三角形の回転体41を採用しているが、断面形状は正方形、正五角形等であってもよい。一辺の長さが長尺段ボールシート61の積層用折罫のピッチに対応する正多角形であればよい。なお、回転体41は、回転軸43に取り付けられた正三角形の頂点に向けて放射状に延びる放射状フレーム部材と、該放射状フレーム部材の先端を接続する回転軸43に平行な平行フレーム部材とからなるフレーム構造体である。
支持フレーム42は、回転体41を、回転軸43の軸方向が長尺段ボールシート61の搬送方向と直交する方向となる姿勢で、該回転体41を蛇腹状段ボールシート積層体60の高さよりも高い位置に回転可能に支持するものであり、回転体41の回転軸43を受ける軸受部が設けられている。なお、回転体41は、引き出される長尺段ボールシート61に自重によるたわみを生じさせないために、送出位置31に近づけることが好ましく、回転体41の高さは、未使用の蛇腹状段ボールシート積層体60の最上層と回転する回転体41とが干渉しない高さを考慮して調整される。
<2.蛇腹状段ボールシート積層体の連結>
図4は、本発明の実施形態による段ボールシート送り出し装置10の移送装置20により補充される蛇腹状段ボールシート積層体60の全体図である。図5及び図6は、図4に示す蛇腹状段ボールシート積層体60間の接続を示す図である。図5は、2つの蛇腹状段ボール積層体の一方の継ぎしろ部62と、他方の蛇腹積層部63の最上層の長尺段ボールシート61の端部との接続前の状態を示し、図6は、接続後の状態を示す。なお、図5及び図6においては、移送装置20の搬送路の図示を省略している。
蛇腹状段ボールシート積層体60は、長尺段ボールシート61が所定の長さ毎に蛇腹状に折り畳まれ積層された蛇腹積層部63と、蛇腹積層部63の最下層の長尺段ボールシート61の端から延出した部分であって、蛇腹積層部63から突出している継ぎしろ部62と、を備える。通常、1つのパレットPの上に1個の蛇腹状段ボールシート積層体60が置かれた状態で保管される。
蛇腹状段ボールシート積層体60は、継しろ部62の長さである継しろ長さL1と、蛇腹積層部63の最上層の長尺段ボールシート61の端から最も近い積層用折罫までの長さである最上層長さL3との和が、所定の長さ、すなわち、蛇腹積層部63の積層用折罫から積層用折罫までの積層用折罫間長さL2と同じ長さ(L1+L3=L2)としている。送出位置31に配置された蛇腹状段ボールシート積層体60の継しろ部62の端部64の端面(切断面)と、準備位置32に配置された蛇腹状段ボールシート積層体60の蛇腹積層部63の最上層の長尺段ボールシート61の端部65の端面(切断面)とを突き合わせて、例えば、粘着テープで両者を接合した場合に、長尺段ボールシート61のつなぎ目のある層においても、積層用折罫のピッチが維持される。これにより、回転体41による送り出しが滞ることがない。
移送装置20の搬送路には複数の蛇腹状段ボールシート積層体60を待機させることができる。搬送路に新たな蛇腹状段ボールシート積層体60を補充する際は、事前にユーザが、新たな蛇腹状段ボールシート積層体60の蛇腹積層部63の高さL4に相当する長さ(最上層からおおよそ2層分)の長尺段ボールシート61を引き出して下に垂らしておいてもよく、接続相手となる蛇腹状段ボールシート積層体60に補充用の蛇腹状段ボールシート積層体60を近づけてから、その蛇腹積層部63の最上層から長尺段ボールシート61を引き出して下に垂らしてもよい。
なお、移送装置20の搬送路において送出位置31に配置された、又は、送出位置31により近い準備位置32に配置された蛇腹状段ボールシート積層体60の継ぎしろ部62の端部64と、その後続の蛇腹状段ボールシート積層体60の蛇腹積層部63の最上層の長尺段ボールシート61の端部65との接続には、両面テープ、接着剤、ホチキス、鋲等を用いることができる。継ぎしろ部62の端部64と最上層の長尺段ボールシート61の端部65との接続は、手作業で接続しても良く、適宜の接続装置を用いて自動的に接続しても良い。どのような接続方法を用いた場合でも、継しろ部62の端部64と蛇腹積層部63の最上層の長尺段ボールシート61の端部65とを接続したときの長尺段ボールシート61のつなぎ目のある層において、積層用折罫のピッチが維持されていればよい。
蛇腹状段ボールシート積層体60には、積層用折罫66とは別に、積層用折罫66と平行に継しろ部62との連結を補助するための補助折罫67が設けられている(図5)。この補助折罫67は、蛇腹積層部63の全ての層に設けられている必要はなく、例えば、未使用の蛇腹状段ボールシート積層体60の最上層から2~3層に設けられていればよい。
積層用折罫66のピッチよりも短いピッチの補助折罫67を設けることで、蛇腹状段ボールシート積層体60間のスペースが狭い場合でも、作業者は手動による後続の蛇腹状段ボールシート積層体60の蛇腹積層部63の最上層からの長尺段ボールシート61の引き下ろしを容易に行うことができる(図6)。このように、送出位置31に配置された蛇腹状段ボールシート積層体60と、準備位置32に配置された蛇腹状段ボールシート積層体60との接続、準備位置32に配置された複数の蛇腹状段ボールシート積層体60間の接続作業が効率化できる。なお、補助折罫67は、積層用折罫66のピッチの半分となる位置に設けられていることが好ましい。さらに、予め継しろ部62側に粘着テープの幅の半分を長尺段ボールシート61の幅方向に亘って貼着しておくと、手動による接続作業の効率が良い。
<3.補充動作>
図7から図9は、本発明の実施形態による段ボールシート送り出し装置10の移送装置20による蛇腹状段ボールシート積層体60の補充動作を説明する図である。図7は、送出位置31から空のパレットPが排出された状態を示し、図8は、準備位置32の蛇腹状段ボールシート積層体60を送出位置31に向けて移送している途中の状態を示す。そして、図9は、蛇腹状段ボールシート積層体60の送出位置31への配置が完了した状態を示す。
制御部21は、第1センサ35から送信された検出結果が、送出位置31のパレットP上の蛇腹状段ボールシート積層体60の存在が「無」を示す入力になった場合に、パレットPの払い出し部材を動作させ、空のパレットPを第2搬送路に払い出す。続いて、制御部21は、第2センサ36から送信された検出結果が送出位置31にパレットPが無いことを示す入力となったときに、ローラコンベア24の駆動ローラ23を駆動し、蛇腹状段ボールシート積層体60が載置されたパレットPを送出位置31に移送する。この一連の動作の間、制御部21には、回転センサ44から回転量の測定値が入力されている状態である。すなわち、これらの動作は、積層体検出センサが送出位置31に蛇腹状段ボールシート積層体60が存在しないと検出し、且つ、送出センサが長尺段ボールシート61が段ボールブランク製造装置50に送り出されていることを検出している場合の動作である。なお、第1センサ35は、所定の高さ位置で蛇腹状段ボールシート積層体60の存在を検出していることから、蛇腹状段ボールシート積層体60の存在が「無」を示す入力になった場合には、パレットP上の長尺段ボールシート61が完全に無くなった場合だけでなく、第1センサ35の検出位置よりも低い位置に僅かに長尺段ボールシート61が残っている状態も含む。
制御部21は、第3センサ37が、送出位置31から排出されて空のパレットPを回収する回収位置33に向かう第2搬送路をパレットPが通過したことを検出したときには、コントロールパネル22の表示や警告灯を利用して、作業者に回収位置33のパレットPの移動を促す。
なお、制御部21は、第3センサ37が、送出位置31から排出された空のパレットPを回収する回収位置33に向かう第2搬送路をパレットPが通過したことを検出したときに、送出位置31に空のパレットPが無いものと判断して、ローラコンベア24の駆動ローラ23を駆動し、蛇腹状段ボールシート積層体60が載置されたパレットPを送出位置31に移送するようにしてもよい。この場合には、第2センサ36を省略してもよい。さらに、制御部21は、第1センサの検出結果がパレットP上に長尺段ボールシート61が無いことを示す入力で、第3センサにより回収位置に向けてパレットPが第2搬送路を通過したことを示す入力があり、且つ、第2センサの検出結果が送出位置31にパレットPが無いことを示す入力であった場合に、ローラコンベア24の駆動ローラ23を駆動し、蛇腹状段ボールシート積層体60が載置されたパレットPを送出位置31に移送するようにしてもよい。すなわち、制御部21は、複数のセンサからの入力状態の組み合わせにより、蛇腹状段ボールシート積層体60の移送を実行してもよい。
以上、本発明を実施するための形態について説明を行ったが、本発明は上記実施形態に限定されるものではなく、本発明の趣旨の範囲で適宜変更が許容される。
例えば、上記実施形態では、段ボールシート送り出し装置10と段ボールブランク製造装置50とが、それぞれ制御部とコントロールパネルを備える構成となっているが、段ボールブランク製造装置50の制御部51により、段ボールシート送り出し装置10を制御するようにしてもよい。
また、上記実施形態では、主に段ボールシート送り出し装置10として説明したが、移送装置20、積層体検出センサを含む各種センサ、および、センサの入力に基づいて移送装置20を制御する制御部21から構成される装置は、蛇腹状段ボールシート積層体補充装置でもある。
また、図2に示したように、上記実施形態では、蛇腹状段ボールシート積層体60の重量に耐え得るという観点から、移送装置20に一対のローラコンベア24を利用したパレット搬送機構を採用したが、蛇腹状段ボールシート積層体60の重量に耐え得る搬送機構であれば、例えば、パレットPに載置されていない蛇腹状段ボールシート積層体60を、走行する無端ベルト上に載置して搬送するベルト搬送機構を採用してもよい。
また、上記実施形態では、蛇腹状段ボールシート積層体60の送出位置31への移送動作を、積層体検出センサが送出位置31に蛇腹状段ボールシート積層体60が存在しないと検出し、且つ、送出センサが長尺段ボールシート61が段ボールブランク製造装置50に送り出されていることを検出している場合について説明したが、これに限定されない。すなわち、段ボールブランク切り出しのために短時間だけ長尺段ボールシート61の搬送が停止しているときでも、制御部21は、蛇腹状段ボールシート積層体60の送出位置31への移送動作を実行してもよい。
10 段ボールシート送り出し装置
20 移送装置
21 制御部
22 コントロールパネル
23 駆動ローラ
24 ローラコンベア
25 フリーローラ
31 送出位置
32 準備位置
33 回収位置
35 第1センサ
36 第2センサ
37 第3センサ
40 送出部
41 回転体
42 支持フレーム
43 回転軸
44 回転センサ
50 段ボールブランク製造装置
51 制御部
52 コントロールパネル
53 搬送部
60 蛇腹状段ボールシート積層体
61 長尺段ボールシート
62 継ぎしろ部
63 蛇腹積層部
64 継ぎしろ部の端部
65 蛇腹積層部の最上層の端部
66 積層用折罫
67 補助折罫
L1 継ぎしろ長さ
L2 積層用折罫間長さ
L3 最上層長さ
L4 蛇腹積層部の高さ
P パレット

Claims (1)

  1. 所定の長さ毎に長尺段ボールシートが蛇腹状に折り畳まれた蛇腹状段ボールシート積層体から前記長尺段ボールシートを段ボールブランク製造装置に送り出す段ボールシート送り出し装置であって、
    所定の送出位置に配置された前記蛇腹状段ボールシート積層体から前記長尺段ボールシートが前記段ボールブランク製造装置に送り出されているか否かを検出する送出センサと、
    前記送出位置からの高さが0でない所定の高さ位置に設けられ、前記蛇腹状段ボールシート積層体が該所定の高さ位置に存在しているか否かを検出する積層体検出センサと、
    所定の準備位置に配置された前記蛇腹状段ボールシート積層体を前記送出位置に移送するための移送装置と、
    前記積層体検出センサが前記送出位置の前記所定の高さ位置に前記蛇腹状段ボールシート積層体が存在しないことを検出した場合に、前記移送装置により前記準備位置に配置された前記蛇腹状段ボールシート積層体を前記送出位置に移送する制御部と、
    を備えることを特徴とする、段ボールシート送り出し装置。
JP2024033393A 2020-04-15 2024-03-05 段ボールシート送り出し装置 Active JP7686824B2 (ja)

Priority Applications (1)

Application Number Priority Date Filing Date Title
JP2024033393A JP7686824B2 (ja) 2020-04-15 2024-03-05 段ボールシート送り出し装置

Applications Claiming Priority (2)

Application Number Priority Date Filing Date Title
JP2020072725A JP7490435B2 (ja) 2020-04-15 2020-04-15 段ボールシート送り出し装置及び蛇腹状段ボールシート積層体補充装置
JP2024033393A JP7686824B2 (ja) 2020-04-15 2024-03-05 段ボールシート送り出し装置

Related Parent Applications (1)

Application Number Title Priority Date Filing Date
JP2020072725A Division JP7490435B2 (ja) 2020-04-15 2020-04-15 段ボールシート送り出し装置及び蛇腹状段ボールシート積層体補充装置

Publications (2)

Publication Number Publication Date
JP2024052996A JP2024052996A (ja) 2024-04-12
JP7686824B2 true JP7686824B2 (ja) 2025-06-02

Family

ID=78149818

Family Applications (2)

Application Number Title Priority Date Filing Date
JP2020072725A Active JP7490435B2 (ja) 2020-04-15 2020-04-15 段ボールシート送り出し装置及び蛇腹状段ボールシート積層体補充装置
JP2024033393A Active JP7686824B2 (ja) 2020-04-15 2024-03-05 段ボールシート送り出し装置

Family Applications Before (1)

Application Number Title Priority Date Filing Date
JP2020072725A Active JP7490435B2 (ja) 2020-04-15 2020-04-15 段ボールシート送り出し装置及び蛇腹状段ボールシート積層体補充装置

Country Status (1)

Country Link
JP (2) JP7490435B2 (ja)

Families Citing this family (1)

* Cited by examiner, † Cited by third party
Publication number Priority date Publication date Assignee Title
WO2025245115A1 (en) * 2024-05-20 2025-11-27 Pregis Llc Low aspect-ratio palletized fan-folded stock material

Citations (5)

* Cited by examiner, † Cited by third party
Publication number Priority date Publication date Assignee Title
JP2006504599A (ja) 2002-10-29 2006-02-09 ランパック コーポレイション ダンネージ加工システム、構成部品、および方法
JP2012516823A (ja) 2009-02-04 2012-07-26 パックサイズ,エルエルシー 送入システム
JP2014226932A (ja) 2013-05-27 2014-12-08 富士キネティックス株式会社 段ボール機械の最適運転システム
US20190233142A1 (en) 2018-01-31 2019-08-01 Neopost Technologies Method and system for creating custom-sized cardboard blanks for packagings and method and system for automatically packaging shipment sets in boxes
US20190308761A1 (en) 2018-04-05 2019-10-10 Avercon BVBA Box template folding process and mechanisms

Family Cites Families (8)

* Cited by examiner, † Cited by third party
Publication number Priority date Publication date Assignee Title
JPS585726U (ja) * 1981-07-01 1983-01-14 株式会社神戸製鋼所 シ−ト自動供給装置
JPS63218385A (ja) * 1987-03-06 1988-09-12 Hitachi Koki Co Ltd 電子写真式印刷装置の紙送り方法
DE3910987A1 (de) 1989-04-05 1990-10-18 Focke & Co Verfahren und vorrichtung zum lagern (speichern) von (packungs-)zuschnitten und zufuehren derselben zu einem faltaggregat einer verpackungsmaschine
JP2514518Y2 (ja) * 1990-06-15 1996-10-23 小林記録紙株式会社 用紙供給装置
US5092573A (en) * 1990-09-05 1992-03-03 Abreu Michael L Auxiliary paper feeding apparatus for high speed computer printers
JPH07102631B2 (ja) * 1991-02-07 1995-11-08 中井工業株式会社 段ボールシートの自動搬送装置
US7100811B2 (en) * 2003-11-14 2006-09-05 Emsize Ab Web guide and method
US11242214B2 (en) 2017-01-18 2022-02-08 Packsize Llc Converting machine with fold sensing mechanism

Patent Citations (5)

* Cited by examiner, † Cited by third party
Publication number Priority date Publication date Assignee Title
JP2006504599A (ja) 2002-10-29 2006-02-09 ランパック コーポレイション ダンネージ加工システム、構成部品、および方法
JP2012516823A (ja) 2009-02-04 2012-07-26 パックサイズ,エルエルシー 送入システム
JP2014226932A (ja) 2013-05-27 2014-12-08 富士キネティックス株式会社 段ボール機械の最適運転システム
US20190233142A1 (en) 2018-01-31 2019-08-01 Neopost Technologies Method and system for creating custom-sized cardboard blanks for packagings and method and system for automatically packaging shipment sets in boxes
US20190308761A1 (en) 2018-04-05 2019-10-10 Avercon BVBA Box template folding process and mechanisms

Also Published As

Publication number Publication date
JP7490435B2 (ja) 2024-05-27
JP2024052996A (ja) 2024-04-12
JP2021169172A (ja) 2021-10-28

Similar Documents

Publication Publication Date Title
CN114393612B (zh) 包装机进给、分离和压痕机构
JP6116218B2 (ja) 段ボールシート製函機のシート分離装置、および、シート分離機能を備える段ボールシート製函機
CN101312882B (zh) 用于包装设置成一层或多层的产品组的方法和机械装置
JP7686824B2 (ja) 段ボールシート送り出し装置
BR112019015850B1 (pt) Método e dispositivo para produzir recortes de cartolina corrugada
CN102300776B (zh) 板状体的载置方法及夹纸以及夹纸的供给装置
JP2002192856A (ja) 本の表紙を製造する装置
JP2020059506A (ja) 製袋包装機
CN108163608B (zh) 片材存放设备
JP3176088U (ja) 製函装置
RU2616419C2 (ru) Динамический буфер для системы непрерывного заполнения конвертов
CN210403953U (zh) 一种电池包片机
JP5595364B2 (ja) 段ボールシートの搬送装置
KR101981472B1 (ko) 합지 장치
JP6482585B2 (ja) 製袋機
JPH07187497A (ja) 折製品自動突揃装置
JP2002120309A (ja) 段ボール整列装置とこれを備えた重ね合せ糊付け装置
JP3973096B2 (ja) 包装材供給装置
JP7440520B2 (ja) シート材の折り畳み装置
KR20150098127A (ko) 골판지 자동접합장치
JP2004123353A (ja) シート体の重ね切断装置
CN221116362U (zh) 板材堆叠机
JP2012246118A (ja) シート集積装置及びシート集積方法
JP2001341712A (ja) バラン供給装置
JPH0891649A (ja) プロッタの記録紙選択・供給装置

Legal Events

Date Code Title Description
A621 Written request for application examination

Free format text: JAPANESE INTERMEDIATE CODE: A621

Effective date: 20240308

A131 Notification of reasons for refusal

Free format text: JAPANESE INTERMEDIATE CODE: A131

Effective date: 20240820

A521 Request for written amendment filed

Free format text: JAPANESE INTERMEDIATE CODE: A523

Effective date: 20241011

A02 Decision of refusal

Free format text: JAPANESE INTERMEDIATE CODE: A02

Effective date: 20241203

A521 Request for written amendment filed

Free format text: JAPANESE INTERMEDIATE CODE: A523

Effective date: 20250121

TRDD Decision of grant or rejection written
A01 Written decision to grant a patent or to grant a registration (utility model)

Free format text: JAPANESE INTERMEDIATE CODE: A01

Effective date: 20250422

A61 First payment of annual fees (during grant procedure)

Free format text: JAPANESE INTERMEDIATE CODE: A61

Effective date: 20250521

R150 Certificate of patent or registration of utility model

Ref document number: 7686824

Country of ref document: JP

Free format text: JAPANESE INTERMEDIATE CODE: R150