JP7641663B1 - パレット - Google Patents

パレット Download PDF

Info

Publication number
JP7641663B1
JP7641663B1 JP2023219034A JP2023219034A JP7641663B1 JP 7641663 B1 JP7641663 B1 JP 7641663B1 JP 2023219034 A JP2023219034 A JP 2023219034A JP 2023219034 A JP2023219034 A JP 2023219034A JP 7641663 B1 JP7641663 B1 JP 7641663B1
Authority
JP
Japan
Prior art keywords
wall member
lock bar
bottom plate
wall
support
Prior art date
Legal status (The legal status is an assumption and is not a legal conclusion. Google has not performed a legal analysis and makes no representation as to the accuracy of the status listed.)
Active
Application number
JP2023219034A
Other languages
English (en)
Other versions
JP2025101928A (ja
Inventor
尚記 西田
Original Assignee
日本物流機器株式会社
Priority date (The priority date is an assumption and is not a legal conclusion. Google has not performed a legal analysis and makes no representation as to the accuracy of the date listed.)
Filing date
Publication date
Application filed by 日本物流機器株式会社 filed Critical 日本物流機器株式会社
Priority to JP2023219034A priority Critical patent/JP7641663B1/ja
Application granted granted Critical
Publication of JP7641663B1 publication Critical patent/JP7641663B1/ja
Publication of JP2025101928A publication Critical patent/JP2025101928A/ja
Active legal-status Critical Current
Anticipated expiration legal-status Critical

Links

Images

Landscapes

  • Pallets (AREA)

Abstract

Figure 0007641663000001
【課題】ロックの実行および解除を容易に行う。
【解決手段】パレット100は、底板部材1と、底板部材における左右の少なくとも一方の端部に回動可能に設けられた第1壁部材2と、第1壁部材を底板部材に起立状態でロックするための第1ロック機構4とを備える。第1壁部材は、その前後の端部に設けられた第1支柱21を有し、底板部材は、前後の第1支柱が回動可能に接続される前後の支柱受け6を有する。第1ロック機構は、前後の第1支柱を掛け渡すと共に前後の第1支柱に昇降可能に設けられた第1ロックバーと、前後の支柱受けに設けられ、第1ロックバーが上下方向に挿抜可能な第1スロットとを有する。
【選択図】図1

Description

本開示はパレットに関する。
工場等の施設において荷物をフォークリフト等で搬送するためにパレットが用いられている。パレットは一般的に、上方が開放された直方体形状とされ、荷物を載せる底板部材と、底板部材における前後左右の端部に回動可能に設けられた4枚の壁部材とを備える。荷物の搬送時にはそれら壁部材が起立状態でロックされる。荷物を搬送しない保管時等には、ロックが解除され、それら壁部材が転倒状態で底板部材に載せられる。これによりパレットは折り畳まれる。保管スペース縮小のため、折り畳まれた複数のパレットが上下方向に段積みされることがある。
実開平7-28829号公報
ところで、第1従来例のパレットでは、ロックの実行および解除を行うとき、壁部材を持ち上げてその支柱を支柱受けに挿抜する必要がある。そのため、力が弱い女性等の作業者が行い難いという問題がある。
第2従来例のパレットでは、ロックの実行および解除を行うとき、壁部材の両端部にあるピンを穴に挿抜する必要がある。そのため、壁部材の両端部に作業者がいちいち移動しなければならず、面倒である。
このように従来のパレットでは、ロックの実行および解除が煩雑であるという問題がある。
そこで本開示は、かかる事情に鑑みて創案され、その目的は、ロックの実行および解除を容易に行うことができるパレットを提供することにある。
本開示の一の態様によれば、
底板部材と、
前記底板部材における左右の少なくとも一方の端部に回動可能に設けられた第1壁部材と、
前記第1壁部材を前記底板部材に起立状態でロックするための第1ロック機構と、
を備え、
前記第1壁部材は、その前後の端部に設けられた第1支柱を有し、
前記底板部材は、前後の前記第1支柱が回動可能に接続される前後の支柱受けを有し、
前記第1ロック機構は、
前後の前記第1支柱を掛け渡すと共に前後の前記第1支柱に昇降可能に設けられた第1ロックバーと、
前後の前記支柱受けに設けられ、前記第1ロックバーが上下方向に挿抜可能な第1スロットと、
を有する
ことを特徴とするパレットが提供される。
好ましくは、前記第1ロック機構は、前後の前記支柱受けに設けられ前記第1壁部材の起立時に前記第1ロックバーを前記第1スロットに向かって案内する第1カム面を有する。
好ましくは、前記第1カム面は、アール面または直線状傾斜面によって形成されている。
好ましくは、前記パレットは、
前記底板部材における左右の端部に回動可能に設けられた前記第1壁部材と、
前記底板部材における前後の少なくとも一方の端部に回動可能に設けられた第2壁部材と、
前記第2壁部材を左右の前記第1壁部材に起立状態でロックするための第2ロック機構と、
を備え、
前記第2壁部材は、その左右の端部に設けられた第2支柱を有し、
前記第2ロック機構は、
左右の前記第2支柱を掛け渡すと共に左右の前記第2支柱に昇降可能に設けられた第2ロックバーと、
左右の前記第1壁部材における前後の少なくとも一方の前記第1支柱に設けられ、前記第2ロックバーが上下方向に挿抜可能な第2スロットと、
を有する。
好ましくは、前記第2ロック機構は、左右の前記第1壁部材における前後の少なくとも一方の前記第1支柱に設けられ前記第2壁部材の起立時に前記第2ロックバーを前記第2スロットに向かって案内する第2カム面を有する。
好ましくは、前記第2カム面は、アール面または直線状傾斜面によって形成されている。
好ましくは、前記第2壁部材は、互いに回動可能に接続された上側第2壁部材および下側第2壁部材を有し、
前記第2ロック機構は、前記上側第2壁部材および前記下側第2壁部材に個別に設けられる。
本開示によれば、ロックの実行および解除を容易に行うことができる。
本実施形態に係るパレットの全体を示す前面図である。 本実施形態に係るパレットの全体を示す左側面図である。 底板部材を示す上面図である。 底板部材を示す前面図である。 底板部材を示す左側面図である。 支柱受けを示し、(A)は前面図、(B)は上面図、(C)は右側面図、(D)は左側面図である。 第1壁部材を示し、(A)は前面図、(B)は左側面図である。 (A)および(B)は、それぞれ、図7(A)のVIIIA-VIIIA断面およびVIIIB-VIIIB断面から見たときの右側および左側の第1支柱を部分的に示す図である。 第1ロックバーを示し、(A)は前面図、(B)は右側面図、(C)は左側面図である。 上部ブラケットおよび下部ブラケットを示し、(1A)は上部ブラケットの前面図、(1B)は上部ブラケットの上面図、(2A)は下部ブラケットの前面図、(2B)は下部ブラケットの上面図である。 第2壁部材を示し、(A)は前面図、(B)は左側面図である。 上側第2壁部材と第2ロックバーの組み合わせを示し、(A)は前面図、(B)は左側面図である。 上側第2壁部材を示し、(A)は前面図、(B)は左側面図である。 上側第2壁部材を示し、図13のXIV-XIV断面図である。 第2ロックバーを示す前面図である。 第2ロックバーを示し、(A)は部分前面図、(B)は左側面図である。 底板部材のブラケットと回動シャフトの係合部との係合状態を示す断面図であり、図3のXVII-XVII断面相当図である。 第2壁部材の折り畳み時の様子を模式的に示す概略図である。 第1壁部材の折り畳み時の様子を模式的に示す概略図である。 第1壁部材、第1ロックバーおよび底板部材の取付状態を透過的に示し、図6(C)相当図である。 第2壁部材の起立時に第2ロックバーが第2スロットに向かって案内される様子を示す概略図である。 図1のXXII-XXII断面図である。 図1のXXIII-XXIII断面図である。
以下、添付図面を参照して本開示の実施形態を説明する。なお本開示は以下の実施形態に限定されない点に留意されたい。
図1および図2は、本実施形態に係るパレットの全体を示す前面図および左側面図である。また図3は、パレットの底板部材のみを示す上面図である。便宜上、前後左右上下の各方向を図示の通り定める。
パレット100は概ね、上方が開放された直方体形状(立方体形状を含む)に形成され、前後方向の長さLと、左右方向の幅Wと、上下方向の高さHとを有する。図3には、前後長Lの中心である前後中心C1と、左右幅Wの中心である左右中心C2とを示す。パレット100は、前後中心C1を境に前後対称に形成され、左右中心C2を境に左右対称に形成されている。前後中心C1と左右中心C2の交点をパレット中心Oとする。
パレット100は金属製、具体的には鉄製である。但し、パレット100の材質は任意であり、必要に応じて樹脂等の金属以外の材料を少なくとも一部に用いてもよい。
パレット100は、荷物が載せられる底板部材1と、底板部材1における左右の端部に回動可能に設けられた第1壁部材2と、底板部材1における前後の端部に回動可能に設けられた第2壁部材3とを備える。これら第1壁部材2および第2壁部材3は、荷物の搬送時に図示の如く起立状態とされ、底板部材1に載せられた荷物が搬送中にこぼれ落ちるのを防止する。
第1壁部材2には、底板部材1の左端部に設けられた左壁部材2Lと、底板部材1の右端部に設けられた右壁部材2Rとがある。以下、総称としての第1壁部材2を主に用いる。
同様に、第2壁部材3には、底板部材1の前端部に設けられた前壁部材3Fと、底板部材1の後端部に設けられた後壁部材(図示せず)とがある。以下、総称としての第2壁部材3を主に用いる。
またパレット100は、第1壁部材2を底板部材1にロックするための第1ロック機構4と、第2壁部材3を第1壁部材2にロックするための第2ロック機構5とを備える。これらロック機構4,5の詳細については後述する。
まず、図3~図5を用いて底板部材1を説明する。図4および図5は、底板部材1を示す前面図および左側面図である。
底板部材1は、その前後左右の四隅の位置に起立して配置された支柱受け6と、これら支柱受け6を連結する長方形枠状の底板フレーム7と、底板フレーム7の枠内に敷設された底板材8とを備える。
支柱受け6は上下方向に延びる角管状に形成される。底板フレーム7は、前後方向に延びて前後の支柱受け6に接続固定される左右のサイドメンバ7Aと、左右方向に延びて左右の支柱受け6に接続固定される前後のクロスメンバ7Bとを有する。これらサイドメンバ7Aとクロスメンバ7Bは角パイプにより形成される。
底板材8は、本実施形態では金属ネットにより形成されている。底板フレーム7は、その枠内に格子状に設けられた底板材受け(図示せず)を有する。底板材受けに底板材8が載せられ、底板材8が底板材受けおよび底板フレーム7に溶接等により固定される。底板材8の上に荷物が載せられる。なお、底板材8は金属板により形成されてもよい。
支柱受け6の下端部にテーパ状の差し込み部9が設けられる。図1および図4に仮想線aで示すように、この差し込み部9は、パレット100の段積み時に別のパレット100の支柱受け6、または第1支柱21(後述)の上端部に差し込まれる。
底板フレーム7の下方に、これに沿ってスキー板の如き接地板10が配置されている。接地板10は、サイドメンバ7Aおよびクロスメンバ7Bの真下にこれらに沿って設けられる。接地板10の両端部は支柱受け6に溶接等により固定される。接地板10の中間部は、上下方向に延びる脚材11を介して底板フレーム7に連結される。脚材11は接地板10と底板フレーム7に溶接等により固定される。
パレット100が地面に置かれたとき、差し込み部9は接地せず、接地板10が接地する。脚材11により仕切られた、接地板10と底板フレーム7の間の2つのスペースに、フォークリフトの2本のフォークがそれぞれ挿入される。
底板部材1は、その左右の端部に設けられた底壁部材12を有する。底壁部材12は、底板フレーム7上に起立状態で固定され、底板材8に載せられた荷物が滑り落ちるのを防止する。底壁部材12は前後方向に延び、その両端部が支柱受け6に溶接等により固定される。底壁部材12は、上下一対の横材12Aを複数の縦材12Bで連結してなるはしご状金属柵の形態を有する。底壁部材12の高さは、支柱受け6の高さより低くされる。
図6は、差し込み部9を省略した支柱受け6を単体で示す。支柱受け6はその取付位置によって向きが異なる。そこで図6(A)を、前方から見たときの前面図とし、これを基準として前後左右上下の各方向を図6(A)に示す通りに定める。図6(A)において、紙面厚さ方向手前側が前、紙面厚さ方向奥側が後、紙面に向かって右側が左、左側が右、上側が上、下側が下である。よって図6において(B)は上面図、(C)は右側面図、(D)は左側面図である。
支柱受け6は、上下方向に延びる断面四角形(略正方形)の角管状である。支柱受け6は、上面視コ字状の支柱受け本体13と、支柱受け本体13の前面開口部の下半部を閉止する閉止板14と、支柱受け本体13の内面の高さ方向略中間部に取り付けられた上面視コ字状の支柱載置金具15とを備える。これら支柱受け本体13、閉止板14および支柱載置金具15は溶接等により一体に組み立てられる。
閉止板14は、支柱受け本体13の左右の前端部に挟まれて固定される。支柱載置金具15は、支柱受け本体13よりも短い高さ寸法を有し、支柱受け本体13の内面に重ね合わされて固定される。支柱載置金具15は、第1支柱21(後述、図1参照)が起立されたとき第1支柱21を載置させ、第1支柱21を下から支えるものである。閉止板14は、支柱載置金具15の略中間高さ位置から下方の領域において、支柱受け本体13の前面開口部を閉止する。
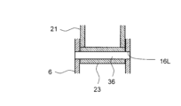
支柱受け本体13は、その左壁部13Lと右壁部13Rを同軸で貫通する貫通穴16L,16Rと、その右壁部13Rの上端面部13RUに形成された第1スロット17とを有する。詳しくは後述するが、貫通穴16L,16Rは、第1壁部材2の第1支柱21を回動可能に支持する回動シャフト26(図22参照)が挿通される穴である。第1スロット17は、前述の第1ロック機構4における第1ロックバー24(図7参照)が挿抜されるスロットすなわち溝であり、上下方向に延びると共に上端が開放されている。
貫通穴16L,16Rは、左壁部13Lと右壁部13Rの前端部に設けられ、支柱載置金具15の上端面と略同一の高さ位置に設けられる。第1スロット17は、右壁部13Rの上端面部13RUにおける前後方向の略中心部に設けられる。
また支柱受け本体13は、その右壁部13Rにおける上端面部13RUと前面部13RFとの交差部に設けられた第1カム面18を有する。第1カム面18は、その交差部を所定の曲率半径でアール状に切り欠いてなるアール面によって形成されている。詳しくは後述するが、第1カム面18は、第1壁部材2の起立時に第1ロックバー24を第1スロット17に向かって案内するカム面である。
パレット100が折り畳まれたとき、第1壁部材2が折り畳み状態または転倒状態とされ、支柱受け本体13の上端部が剥き出し状態で露出される。この上端部に手指等が当たって怪我するのを防止するため、支柱受け本体13の上端部(具体的には上端面部)には面取り面19A,19B,19Cが適宜設けられる。
左壁部13Lの前面部13LFと、右壁部13Rの前面部13RFとには、クランク部20が同一高さで形成されている。これにより左壁部13Lと右壁部13Rの前後幅は、下部より上部の方が小さくなっている。クランク部20は、貫通穴16L,16Rより高い位置に形成されている。
以上の構成による支柱受け6は、底板部材1における前後左右の四隅の位置に設けられる。図4に示すように、例えば底板部材1の前端部において、その左右の端部に設けられた支柱受け6は、その前面(図6(A)の紙面厚さ方向手前側の面)が左右中心C2の方を向くように配置される。そしてこれら左右の支柱受け6は、互いに対向するように配置される。
こうした支柱受け6の配置は、底板部材1の後端部においても同様である。
次に、図7~図10を用いて第1壁部材2を説明する。
図7は、第1壁部材2を単体で示す。前記同様、第1壁部材2もその取付位置(すなわち、左壁部材2Lであるか右壁部材2Rであるか)によって向きが異なる。そこで図7(A)を、前方から見たときの前面図とし、これを基準として前後左右上下の各方向を図7(A)に示す通りに定める。図7(A)において、紙面厚さ方向手前側が前、紙面厚さ方向奥側が後、紙面に向かって右側が左、左側が右、上側が上、下側が下である。よって図7(B)は左側面図である。
第1壁部材2は、その左右の端部に設けられた一対の第1支柱21と、これら第1支柱21を掛け渡すと共にこれら第1支柱21に溶接等により固定される第1壁本体22とを有する。第1壁本体22は、格子状の金属ネットにより形成され、左右および上下方向に延びている。第1壁本体22は、左右方向に延びる複数の横材22Aと、上下方向に延びる複数の縦材22Bとを格子状に組み立てて構成されている。
左右の第1支柱21は、左右対称の構成である。第1支柱21は、上下方向に延びる断面四角形(略正方形)の角管状である。第1支柱21の前面部と下面部が交差する角部には、左右方向に延びるシャフト挿通管23が溶接等により固定されている。
図8の(A)および(B)は、それぞれ、図7(A)のVIIIA-VIIIA断面およびVIIIB-VIIIB断面から見たときの右側および左側の第1支柱21を部分的に示す。
図8(B)に示すように、左側の第1支柱21には、第1ロック機構4の第1ロックバー24が挿通される長穴25が設けられている。長穴25は、特殊形状を有し、上部の略円形穴26と下部長穴27とを連続的に連結して構成されている。略円形穴26の穴径は下部長穴27の穴径より大きく、下部長穴27は略円形穴26から下方に向かって延びている。
略円形穴26は、完全な円形ではなく、完全な円形の穴の後端部を弦部28によって弦状に塞ぐように構成されている。
こうした長穴25は、左側の第1支柱21の下端部における右側面、すなわち左右方向内側の面に設けられている。ここで、第1壁部材2の左右中心C3(パレット100の前後中心C1に相当)を想定したとき、左右方向において左右中心C3に近づく方向を左右方向内側、左右中心C3から遠ざかる方向を左右方向外側という。従って長穴25は、左右方向内側に向かって配置されている。
長穴25は基本的に、右側の第1支柱21にも左右対称で設けられている。よって左右の長穴25同士は互いに対向されている。
但し、図8(A)および(B)を見比べると分かるように、長穴25の上部の略円形穴26は左右対称ではない。図8(A)に示す右側の略円形穴26は、完全な円形の穴の前端部を弦部28によって弦状に塞ぐように構成されている。従って、左右の略円形穴26は、前後対称の形状とされ。その穴中心周りの位相が互いに180°ずれている。
図7(B)に示すように、左側の第1支柱21における左側面には、完全な円形の貫通穴29が略円形穴26と同軸、同径で設けられている。貫通穴29は、右側の第1支柱21にも左右対称で設けられている。
図9は、第1ロックバー24を単体で示す。ここでは図9(A)を、前方から見たときの前面図とし、これを基準として前後左右上下の各方向を図9(A)に示す通りに定める。図7(A)において、紙面厚さ方向手前側が前、紙面厚さ方向奥側が後、紙面に向かって右側が左、左側が右、上側が上、下側が下である。よって図9において(B)は右側面図、(C)は左側面図である。
第1ロックバー24は、左右方向に延びる棒状の第1ロックバー本体30と、第1ロックバー本体30の左右の端部に嵌合され溶接等により固定された左右のフランジ板31L,31Rとを有する。第1ロックバー本体30は、断面円形の金属棒または金属パイプにより形成される。
左右のフランジ板31L,31Rは、左右の略円形穴26にぴったりと嵌合挿入されるように構成され、左右の略円形穴26と同一形状を有する。そして左右のフランジ板31L,31Rは、左右の略円形穴26に対応して、第1ロックバー24の中心軸C4周りの位相が互いに180°ずれている。
第1ロックバー24の取付時、第1ロックバー24は、例えば左側の第1支柱21の左側すなわち外側から、左側の貫通穴29、左側の略円形穴26という順番で挿通される。このとき第1ロックバー24の右側のフランジ板31Rと左側の略円形穴26との向きが合わせられる。これにより第1ロックバー24は左側の第1支柱21を貫通される。
次いで第1ロックバー24は、右側の第1支柱21に達するまで右側に向かって挿通される。そして右側の第1支柱21に達すると、第1ロックバー24がその中心軸C4周りに180°回転され、右側のフランジ板31Rと右側の略円形穴26との向きが合わせられる。
よって第1ロックバー24を右側に挿入することで、右側のフランジ板31Rが右側の略円形穴26に挿通される。この状態だと、図7(A)に示すように、右側および左側のフランジ板31R,31Lがそれぞれ右側および左側の第1支柱21内に入っている。
これにより第1ロックバー24の取り付けが完了し、第1ロックバー24は左右の第1支柱21に対し、長穴25に沿って昇降可能となる。
第1ロックバー24を一旦取り付けてしまえば、左右のフランジ板31L,31Rの向きが左右の略円形穴26の向きと合わなければ、第1ロックバー24が抜けることがなく、そうした抜去可能な位相は360°内で1箇所だけである。従って使用時に第1ロックバー24が抜けることはなく、簡素な構造で抜け止めを達成することができる。
一方、第1ロックバー24を交換等のために抜きたい場合には、左右のフランジ板31L,31Rと略円形穴26の位相合わせをすることにより、それを容易に行える。従って第1ロックバー24のメンテナンスを容易に行うことができる。
第1ロックバー24は作業者により操作される部材である。そのため、第1ロックバー24を第1壁部材2から容易に区別できるよう、第1ロックバー24は第1壁部材2と異なる色で着色されるのが好ましい。
なお、ここでは第1ロックバー24を左側から右側に向かって挿通させたが、逆に、右側から左側に向かって挿通させてもよい。
図1および図7に示すように、第1壁部材2は、前述の第2ロック機構5の第2ロックバー32が係合される上部ブラケット33Uおよび下部ブラケット33Dを有する。これら上部ブラケット33Uおよび下部ブラケット33Dは、左右の第1支柱21に左右対称で配置され、溶接等により固定されている。
図10は、左側の第1壁部材2における上部ブラケット33Uおよび下部ブラケット33Dを示し、(1A)は上部ブラケット33Uの前面図、(1B)は上部ブラケット33Uの上面図、(2A)は下部ブラケット33Dの前面図、(2B)は下部ブラケット33Dの上面図である。
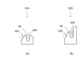
これらブラケット33U,33Dは、金属板により上面視コ字状に形成されている。ブラケット33U,33Dの上端面部には、その左右方向の中心部に位置された第2スロット34U,34Dと、第2スロット34U,34Dの右側(左右方向内側)に隣接して位置された第2カム面35U,35Dとが設けられている。
詳しくは後述するが、第2スロット34U,34Dは、第2ロックバー32が昇降可能に挿通されるスロットである。第2カム面35U,35Dは、第2壁部材3の起立時に第2ロックバー32を第2スロット34U,34Dに向かって案内するカム面である。本実施形態の場合、第2カム面35U,35Dは、右側(左右方向内側)から左側(左右方向外側)に向かって徐々に高くなる直線状傾斜面によって形成されている。また下側の第2カム面35Dの傾斜角θ1は上側の第2カム面35Dの傾斜角θ2より大きくされている。
第1壁部材2を底板部材1に取り付ける際には、第1ロックバー24が第1壁部材2に予め取り付けられる。次に、この第1壁部材2の前面(図7(A)の紙面厚さ方向手前側の面)が、底板部材1の左右方向内側を向くように(図1参照)、第1壁部材2が底板部材1の左右の端部に取り付けられる。このとき、図22にも示すように、第1壁部材2の第1支柱21が、底板部材1の支柱受け6に上方から嵌合挿入される。そして第1壁部材2のシャフト挿通管23と、底板部材1の貫通穴16L,16Rとに、回動シャフト36が挿通される。これにより第1壁部材2は底板部材1に回動可能に接続される。なお回動シャフト36は支柱受け6に溶接等により固定される。
第1壁部材2は、図1,2に示すような起立状態と、起立状態から左右方向内側(左右中心C2に向かう方向)に略90°転倒する折り畳み状態もしくは転倒状態との間で回動可能である。第1壁部材2は、パレット100の使用時には起立状態とされ、パレット100の不使用時や保管時等には折り畳み状態とされる。
図20には、第1壁部材2の第1支柱21と、第1ロック機構4の第1ロックバー24と、底板部材1の支柱受け6との取付状態を透過的に示す。起立状態にある第1壁部材2を実線で示し、折り畳み状態にある第1壁部材2を仮想線で示す。起立状態では、第1支柱21が、支柱載置金具15の上に載置され、第1壁部材2の重量の一部が支柱載置金具15によって下方から支持される。そして第1ロックバー24の第1ロックバー本体30が第1スロット17に挿入され、第1壁部材2が起立状態でロックされる。
図23には、第1壁部材2が起立状態にあるときの第1支柱21と、第1ロックバー24と、支柱受け6との取付状態を断面図で示す。第1ロックバー24のフランジ板31Lが第1支柱21の内部に位置されるので、第1ロックバー24が長穴25から抜けることがない。そして第1ロックバー24の第1ロックバー本体30は、長穴25の下部長穴27と、第1スロット17とに挿通され、それらの下端部に位置される。
次に、図11~図16を用いて第2壁部材3を説明する。
図11は、第2壁部材3を単体で示す。前記同様、第2壁部材3もその取付位置(すなわち、前壁部材2Fであるか後壁部材であるか)によって向きが異なる。そこで図11(A)を、前方から見たときの前面図とし、これを基準として前後左右上下の各方向を図7(A)に示す通りに定める。図7(A)において、紙面厚さ方向手前側が前、紙面厚さ方向奥側が後、紙面に向かって右側が左、左側が右、上側が上、下側が下である。よって図11(B)は左側面図である。
図12、図13および図16でも同様、(A)が前面図、(B)が左側面図である。図14は図13のXIV-XIV断面図、図15は前面図である。
図11に示すように、第2壁部材3は上下に二分割され、上側第2壁部材3Uと下側第2壁部材3Dとから構成されている。上側第2壁部材3Uと下側第2壁部材3Dは、複数(3つ)のヒンジ37によって互いに回動可能に接続されている。こうして第2壁部材3は、互いに回動可能に接続された上側第2壁部材3Uおよび下側第2壁部材3Dを有することとなる。
上側第2壁部材3Uと下側第2壁部材3Dの構成はほぼ同一なので、以下、上側第2壁部材3Uを中心に説明する。
図12に示すように、上側第2壁部材3Uは、その左右の端部に設けられた一対の第2支柱38と、これら第2支柱38を掛け渡すと共にこれら第2支柱38に溶接等により固定される第2壁本体39とを有する。第2壁本体39は、格子状の金属ネットにより形成され、左右および上下方向に延びている。
上側第2壁部材3Uには、第2ロック機構5を構成する第2ロックバー40が昇降可能に設けられている。第2ロックバー40は、左右の第2支柱38を掛け渡すと共に、左右の第2支柱38に昇降可能に設けられている。図13は、上側第2壁部材3Uを単品で示し、図15は、第2ロックバー40を単品で示す。
図13および図14に示すように、上側第2壁部材3Uにおける左右の第2支柱38は、左右対称の構成である。第2支柱38は、上下方向に延びる長方形板状である。左右の第2支柱38の間に第2壁本体39が挟まれ、溶接等により固定されている。また左右の第2支柱38の間に、第2壁本体39の上端部および下端部を覆うカバー41U、41Dが挟まれ、溶接等により固定されている。
第2支柱38には、第2ロックバー40が挿通される長穴42が設けられている。長穴42は、上下方向に延びる直線状の長穴であり、第2ロックバー40と第2壁本体39が干渉しないよう、第2壁本体39の後方に隣接して設けられている。
長穴42は、右側の第2支柱38にも左右対称で設けられている。よって左右の長穴38同士は互いに対向されている。
第2壁本体39は、複数の縦材43と横材44を格子状に組み立てて構成されている。一方、第2壁本体39の上半部には、横材44が所定本数(本実施形態では2本)欠損された欠損部45が形成されている。この欠損部45に、はしご状の第2ロックバー40が配置されることで、あたかも欠損部45がないかのような外観を呈している。
図15および図16に示すように、第2ロックバー40は、全体として左右方向に延びるはしご状の形状を有している。第2ロックバー40は、その左右の端部に設けられ上下方向に延びる一対の端板46と、左右方向に延びてこれら端板46を掛け渡すと共にこれら端板46に溶接等により固定される上下一対のロックバー横材47と、これらロックバー横材47を連結する複数のロックバー縦材48とを有する。
また第2ロックバー40は、左右の端板46から左右方向の外側(第2壁部材3の左右中心C5(パレット100の左右中心C2に相当))から遠ざかる方向)に突出されたロックピン49と、ロックピン49の左右方向の外側の先端部に溶接等により固定されるフランジ50とを有する。
ロックバー横材47、ロックバー縦材48およびロックピン49は、断面円形かつ金属製の棒により形成される。上下のロックバー横材47同士の間隔は、横材44同士の間隔と等しくされる。ロックバー縦材48の左右方向の位置および間隔は、縦材43の左右方向の位置および間隔と等しくされる。
第2ロックバー40は作業者により操作される部材である。そのため、第2ロックバー40を第2壁本体39から容易に区別できるよう、第2ロックバー40は第2壁本体39と異なる色で着色されるのが好ましい。
以上の構成は、上側第2壁部材3Uと下側第2壁部材3Dで同一である。そのため第2ロック機構5は、上側第2壁部材3Uと下側第2壁部材3Dに個別に設けられる。
図11に示すように、上側第2壁部材3Uの下側カバー41Dと、下側第2壁部材3Dの上側カバー41Uとの前面部に、複数(3つ)のヒンジ37が取り付けられる。
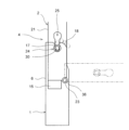
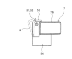
加えて、下側第2壁部材3Dの底部かつ左右両端部には回動シャフト51が設けられる。回動シャフト51は、金属棒を折り曲げて形成され、第2壁部材3Dより後方かつ僅かに下方の位置において左右方向に延びる係合部52を有する。
また、下側第2壁部材3Dの上側カバー41Uには、下側第2壁部材3Dが転倒されたときに底板部材1に当接して衝撃を吸収すると共に傷付きを防止する複数(2つ)の緩衝材53が設けられる。緩衝材53はゴム等の弾性材料により形成されている。なお、こうした緩衝材は、相手方の部材に当接する他の部材にも適宜設けることができる。
第2壁部材3を底板部材1に取り付ける際、まず、第2ロックバー40が上側第2壁部材3Uと下側第2壁部材3Dに同様の方法で取り付けられる。
例えば第2ロックバー40を上側第2壁部材3Uに取り付ける場合、上側第2壁部材3Uの左右の長穴42に、第2ロックバー40の上下のロックバー横材47が挿通される。そして、左右の長穴42から突出された上下のロックバー横材47の左右の端部に、左右の端板46が溶接等により固定される。左右の端板46には、ロックピン49およびフランジ50が予め溶接等により固定されている。これにより第2ロックバー40は、左右の第2支柱38に、長穴42に沿って昇降可能かつスライド可能に取り付けられる。
第2壁部材3が起立状態のとき、第2ロックバー40は長穴42の下端部に位置される。このとき、ロックバー横材47と横材44が全体として等間隔で配置され、ロックバー縦材48と縦材43が同一位置に配置される。よって違和感のない外観を呈することができる。
こうして第2ロックバー40を上側第2壁部材3Uと下側第2壁部材3Dに取り付けた後、複数のヒンジ37が、上側第2壁部材3Uの下側カバー41Dの前面と、下側第2壁部材3Dの上側カバー41Uの前面とに固定される。これにより第2壁部材3の組み立てが完了する。
次に、完成した第2壁部材3を底板部材1の前後の端部に同様の方法で取り付ける。このとき、前後の第2壁部材3の前面(図11(A)の前面)が、前後方向内側(前後中心C1に近づく方向)を向くよう、前後の第2壁部材3が配置される。言い換えれば、前後の第2壁部材3の前面同士が互いに対向するように前後の第2壁部材3が配置される。
また、図17に示すように、底板部材1の底板フレーム7にはブラケット54が予め取り付けられ、このブラケット54のアーム55と底板フレーム7により囲まれたスペースに、回動シャフト51の係合部52が挿入される。ブラケット54のアーム55は、最初は係合部52が挿入できるよう、仮想線aで示すように開いており、係合部52の挿入後、根元から折り曲げられて底板フレーム7に当接され、溶接等により固定される。これによりスペースが閉空間となり回動シャフト51が抜け止めされる。こうして第2壁部材3が底板部材1に回動可能に取り付けられる。
図3に示すように、ブラケット54は、前後の第2壁部材3の回動シャフト51に対応した位置に設けられる。すなわち、ブラケット54は、底板フレーム7の前後のクロスメンバ7Bにおける前後方向内側の面にアーム55が対向するように設けられる。
次に、第1壁部材2を起立状態でロックすると共に、第2壁部材3を起立させ、上下の第2ロックバー40のロックピン49を、第1壁部材2の上部ブラケット33Uおよび下部ブラケット33Dに係合させる。このとき、上下のロックピン49の先端のフランジ50を上部ブラケット33Uおよび下部ブラケット33Dの中に挿入しつつ、上下のロックピン49を、上部ブラケット33Uおよび下部ブラケット33の第2スロット34U,34Dに上方から挿入する。これにより上下の第2ロックバー40が上部ブラケット33Uおよび下部ブラケット33Dに係合し、第2壁部材3は起立状態で第1壁部材2に対しロックされる。
次に、本実施形態に係るパレット100の使用方法を説明する。
まず、第1壁部材2および第2壁部材3が起立状態にあるパレット100を折り畳むときの折り畳み方法を説明する。
まず、前後の第2壁部材3を折り畳む。ここでは前側の第2壁部材3を先に折り畳むものとする。図18には折り畳み時の様子を模式的に示す。図18(A)は、初期の起立状態にある第2壁部材3を示す。
このとき、作業者はパレット100の前方(図1の紙面厚さ方向手前側)に立ち、上側第2壁部材3Uの第2ロックバー40を引き上げて、第1壁部材2に対する上側第2壁部材3Uのロックを解除する。例えば、作業者は、第2ロックバー40の上側のロックバー横材47と、その直上にある上側第2壁部材3Uの上側カバー41U(図11参照)とを、前方から両手で握ることにより、第2ロックバー40を水平に引き上げる。これにより、第2ロックバー40における左右のロックピン49が、上部ブラケット33Uの第2スロット34Uから引き抜かれ、ロックが解除される。後はロックバー横材47と上側カバー41Uとを両手で握りながら、図18(B)に示すように、静かに上側第2壁部材3Uを前方(作業者に近づく方向)に向かって倒す。これにより、上側第2壁部材3Uがヒンジ37によって下側第2壁部材3Dに対し回動し、上側第2壁部材3Uが下側第2壁部材3Dの前側に重ねられる。
次に、下側第2壁部材3Uの第2ロックバー40を引き上げて、第1壁部材2に対する下側第2壁部材3Uのロックを解除する。このとき作業者は、下側第2壁部材3Uの後方から、第2ロックバー40の上側のロックバー横材47と、その直上にある下側第2壁部材3Uの上側カバー41U(図11参照)とを両手で握ることにより、第2ロックバー40を水平に引き上げる。これにより、第2ロックバー40における左右のロックピン49が、下部ブラケット33Dの第2スロット34Dから引き抜かれ、ロックが解除される。後はロックバー横材47と上側カバー41Uとを両手で握りながら、図18(C)に示すように、静かに下側第2壁部材3Dを後方(作業者から遠ざかる方向)に向かって倒す。これにより、下側第2壁部材3Dが回動シャフト51の係合部52を中心に底板部材1に対し回動し、下側第2壁部材3Dが上側第2壁部材3Uと共に底板部材1の上に積み重ねられる。
こうして、下側第2壁部材3Dの上に上側第2壁部材3Uが積み重なった状態で、これらが底板部材1の上に積み重ねられ、第2壁部材3が折り畳まれる。こうした第2壁部材3の状態を折り畳み状態または転倒状態という。
他方、後側の第2壁部材3も、前後逆であることを除き、同様の手順で底板部材1の上に折り畳まれる。よって詳細な説明は省略する。なお、折り畳まれた前後の第2壁部材3は互いに干渉しない。
次に、左右の第1壁部材2を折り畳む。ここではまず左側の第1壁部材2(左壁部材2L)を折り畳むものとする。図19には折り畳み時の様子を模式的に示す。図19(A)は、初期の起立状態にある第1壁部材2を示す。
このとき、作業者はパレット100の左側(図2の紙面厚さ方向手前側)に立ち、第1ロックバー24を引き上げて、底板部材1に対する第1壁部材2のロックを解除する。例えば、作業者は、第1ロックバー24の第1ロックバー本体30と、その直上にある第1壁部材2の横材22A(図2参照)とを、左側から両手で握ることにより、第1ロックバー24を水平に引き上げる。これにより、第1ロックバー24における第1ロックバー本体30の左右の端部が、左右の支柱受け6の第1スロット17から引き抜かれ、ロックが解除される。後は第1壁部材2の上端部を片手で掴みながら、図19(B)に示すように、静かに第1壁部材2を右側(作業者から遠ざかる方向)に向かって倒す。これにより、第1壁部材2は回動シャフト36によって支柱受け6ひいては底板部材1に対し回動し、転倒され、第1壁部材2が、既に底板部材1上にある上側第2壁部材3Uの上に積み重ねられる。
こうして、第1壁部材2が折り畳まれる。こうした第1壁部材2の状態を折り畳み状態または転倒状態という。図20には、起立状態にある第1壁部材2を実線で示し、折り畳み状態にある第1壁部材2を仮想線で示す。
他方、右側の第1壁部材2(右壁部材2R)も、左右逆であることを除き、同様の手順で折り畳まれる。よって詳細な説明は省略する。なお、折り畳まれた左右の第1壁部材2は互いに干渉しない。
次に、折り畳み状態にある第1壁部材2および第2壁部材3を起立させるときの起立方法を説明する。これは基本的に、前述の折り畳み方法と逆の手順を行う。
まず、左右の第1壁部材2を起立させる。ここではまず左側の第1壁部材2(左壁部材2L)を起立させるものとする。
このとき、作業者はパレット100の左側に立ち、第1壁部材2の上端部を掴んで、そのまま引き起こすだけである。これにより第1壁部材2は、回動シャフト36によって支柱受け6ひいては底板部材1に対し回動し起立する。
このとき、第1ロックバー24は、何等操作しなくても自動的にロックされる。すなわち、第1壁部材2の回動中、第1ロックバー24における第1ロックバー本体30の左右の端部が、図20に仮想線で示すように、左右の支柱受け6のカム面18上を滑り上がり、第1スロット17に向かって案内される。そして第1ロックバー本体30の端部が、第1スロット17の上端入口に達すると、第1ロックバー24が自重で降下し、第1ロックバー本体30が第1スロット17に挿入される。これにより第1ロックバー24がロックされ、第1壁部材2は起立状態でロックされる。
他方、右側の第1壁部材2も、左右逆であることを除き、同様の手順でロックされる。よって詳細な説明は省略する。
次に、前後の第2壁部材3を起立させる。ここでは前側の第2壁部材3を先に起立させるものとする。
このとき、作業者はパレット100の前方に立ち、上段に積み重ねられた上側第2壁部材3Uの上端部を掴んで、そのまま引き上げるだけである。これにより、上側第2壁部材3Uはヒンジ37によって下側第2壁部材3Dに対し回動し、下側第2壁部材3Dは回動シャフト51の係合部52によって底板部材1に対し回動し、上側第2壁部材3Uと下側第2壁部材3Dは同時に起立される。
このとき、上下の第2ロックバー40は、何等操作しなくても自動的にロックされる。すなわち、下側第2壁部材3Dの第2ロックバー40については、下側第2壁部材3Dの回動中、第2ロックバー40における左右のロックピン49が、図21(B)に示すように、下部ブラケット33Dのカム面35D上を滑り上がり、第2スロット34Dに向かって案内される。そしてロックピン49が、第2スロット34Dの上端入口に達すると、第2ロックバー40が自重で降下し、ロックピン49が第2スロット34Dに挿入される。これにより第2ロックバー40がロックされ、下側第2壁部材3Dは起立状態でロックされる。
上側第2壁部材3Uについても同様である。上側第2壁部材3Uの回動中、第2ロックバー40における左右のロックピン49が、図21(A)に示すように、上部ブラケット33Uのカム面35U上を滑り上がり、第2スロット34Uに向かって案内される。そしてロックピン49が、第2スロット34Uの上端入口に達すると、第2ロックバー40が自重で降下し、ロックピン49が第2スロット34Uに挿入される。これにより第2ロックバー40がロックされ、上側第2壁部材3Uは起立状態でロックされる。
他方、後側の第2壁部材3も、前後逆であることを除き、同様の手順でロックされる。よって詳細な説明は省略する。
以上説明したように、本実施形態では、起立状態にある第1壁部材2のロックを解除するとき、第1ロックバー24を持ち上げるだけで、前後の支柱受け6に対するロックを同時に解除することができる。
また、折り畳み状態にある第1壁部材2を起立させてロックするとき、第1壁部材2を持ち上げるだけで、第1ロックバー24を前後の支柱受け6に対し、自動的にロックすることができる。
第2壁部材3についても同様である。起立状態にある第2壁部材3のロックを解除するとき、第2ロックバー40を持ち上げるだけで、左右の第1壁部材2に対するロックを同時に解除することができる。
また、折り畳み状態にある第2壁部材3を起立させてロックするとき、第2壁部材2を持ち上げるだけで、第2ロックバー40を左右の第1壁部材2に対し、自動的にロックすることができる。
そのため、ロックの実行および解除を行うとき、第1従来例のパレットのように、壁部材を持ち上げる必要がなく、力が弱い女性等の作業者でもロックの実行および解除を容易に行うことができる。また、第2従来例のパレットのように壁部材の両端部に作業者がいちいち移動しなくても、両端部のロックを同時に実行および解除できる。そのため、第2従来例よりもロックの実行および解除を容易に行うことができる。
以上、本開示の実施形態を詳細に述べたが、本開示の実施形態および変形例は他にも様々考えられる。
(1)例えば、支柱受け6のカム面18を直線状傾斜面によって形成してもよく、ブラケット33U,33Dのカム面35U,35Dをアール面によって形成してもよい。これらカム面の形状は任意に変更可能である。
(2)前述の第1壁部材2および第1ロック機構4の構成は、左右の第1壁部材の一方だけに適用してもよい。
(3)前述の第2壁部材3および第2ロック機構5の構成は、前後の第2壁部材の一方だけに適用してもよい。
(4)前記実施形態では、第1ロックバー24を最初に、第1壁部材2の第1支柱21に外側から挿入して第1ロックバー24を取り付けた。しかしながら、第1ロックバー24を最初に、第1壁部材2の第1支柱21に内側から挿入して第1ロックバー24を取り付けてもよい。以下、この場合の取付方法を説明する。
図7等を参照して、第1ロックバー24は、例えば左側の第1支柱21の右側すなわち内側から、左側の略円形穴26に挿通される。このとき第1ロックバー24の左側のフランジ板31Lと左側の略円形穴26との向きが合わせられる。これにより左側のフランジ板31Lが左側の第1支柱21内に挿入される。
次いで第1ロックバー24は、より左側に挿入される。こうすると、第1ロックバー24が左側の貫通穴29に到達する前に、第1ロックバー24の右端が、右側の第1支柱21よりも左側に位置される。これにより第1ロックバー24の右端が、右側の第1支柱21の左側すなわち内側から、右側の略円形穴26に挿入可能となる。
このとき、第1ロックバー24がその中心軸C4周りに180°回転され、右側のフランジ板31Rと右側の略円形穴26との向きが合わせられる。
よって第1ロックバー24を右側に挿入することで、右側のフランジ板31Rが右側の略円形穴26に挿通される。そして右側のフランジ板31Rも、右側の第1支柱21内に挿入される。
これにより第1ロックバー24の取り付けが完了し、第1ロックバー24は左右の第1支柱21に対し、長穴25に沿って昇降可能となる。
理解されるように、この内側から挿入する方法では、第1支柱21の貫通穴29が使用されていない。よって、貫通穴29を省略してもよい。
一方、第1ロックバー24を交換等のために取り外したい場合には、先と逆の手順を実行することにより、それを容易に行える。従って第1ロックバー24のメンテナンスを容易に行うことができる。
ここでは第1ロックバー24を、先に左側の第1支柱21に挿入し、次に右側の第1支柱21に挿入したが、逆の順番で挿入してもよい。
本開示の実施形態は前述の実施形態のみに限らず、特許請求の範囲によって規定される本開示の思想に包含されるあらゆる変形例や応用例、均等物が本開示に含まれる。従って本開示は、限定的に解釈されるべきではなく、本開示の思想の範囲内に帰属する他の任意の技術にも適用することが可能である。
1 底板部材
2 第1壁部材
3 第2壁部材
3U 上側第2壁部材
3D 下側第2壁部材
4 第1ロック機構
5 第2ロック機構
6 支柱受け
17 第1スロット
18 第1カム面
21 第1支柱
24 第1ロックバー
34U,34D 第2スロット
35U,35D 第2カム面
38 第2支柱
40 第2ロックバー
100 パレット

Claims (6)

  1. パレットであって、
    底板部材と、
    前記底板部材における左右の少なくとも一方の端部に回動可能に設けられた第1壁部材と、
    前記第1壁部材を前記底板部材に起立状態でロックするための第1ロック機構と、
    を備え、
    前記第1壁部材は、その前後の端部に設けられた第1支柱を有し、
    前記底板部材は、前後の前記第1支柱が回動可能に接続される前後の支柱受けを有し、
    前記第1ロック機構は、
    前後の前記第1支柱を掛け渡すと共に前後の前記第1支柱に昇降可能に設けられた第1ロックバーと、
    前後の前記支柱受けに設けられ、前記第1ロックバーが上下方向に挿抜可能な第1スロットと、
    を有し、
    前記パレットは、
    前記底板部材における左右の端部に回動可能に設けられた前記第1壁部材と、
    前記底板部材における前後の少なくとも一方の端部に回動可能に設けられた第2壁部材と、
    前記第2壁部材を左右の前記第1壁部材に起立状態でロックするための第2ロック機構と、
    を備え、
    前記第2壁部材は、その左右の端部に設けられた第2支柱を有し、
    前記第2ロック機構は、
    左右の前記第2支柱を掛け渡すと共に左右の前記第2支柱に昇降可能に設けられた第2ロックバーと、
    左右の前記第1壁部材における前後の少なくとも一方の前記第1支柱に設けられ、前記第2ロックバーが上下方向に挿抜可能な第2スロットと、
    を有する
    ことを特徴とするパレット。
  2. 前記第1ロック機構は、前後の前記支柱受けに設けられ前記第1壁部材の起立時に前記第1ロックバーを前記第1スロットに向かって案内する第1カム面を有する
    請求項1に記載のパレット。
  3. 前記第1カム面は、アール面または直線状傾斜面によって形成されている
    請求項2に記載のパレット。
  4. 前記第2ロック機構は、左右の前記第1壁部材における前後の少なくとも一方の前記第1支柱に設けられ前記第2壁部材の起立時に前記第2ロックバーを前記第2スロットに向かって案内する第2カム面を有する
    請求項に記載のパレット。
  5. 前記第2カム面は、アール面または直線状傾斜面によって形成されている
    請求項に記載のパレット。
  6. 前記第2壁部材は、互いに回動可能に接続された上側第2壁部材および下側第2壁部材を有し、
    前記第2ロック機構は、前記上側第2壁部材および前記下側第2壁部材に個別に設けられる
    請求項に記載のパレット。
JP2023219034A 2023-12-26 2023-12-26 パレット Active JP7641663B1 (ja)

Priority Applications (1)

Application Number Priority Date Filing Date Title
JP2023219034A JP7641663B1 (ja) 2023-12-26 2023-12-26 パレット

Applications Claiming Priority (1)

Application Number Priority Date Filing Date Title
JP2023219034A JP7641663B1 (ja) 2023-12-26 2023-12-26 パレット

Publications (2)

Publication Number Publication Date
JP7641663B1 true JP7641663B1 (ja) 2025-03-07
JP2025101928A JP2025101928A (ja) 2025-07-08

Family

ID=94825592

Family Applications (1)

Application Number Title Priority Date Filing Date
JP2023219034A Active JP7641663B1 (ja) 2023-12-26 2023-12-26 パレット

Country Status (1)

Country Link
JP (1) JP7641663B1 (ja)

Citations (4)

* Cited by examiner, † Cited by third party
Publication number Priority date Publication date Assignee Title
US20030127456A1 (en) 2002-01-04 2003-07-10 Brown Edmond W. Collapsible storage container
JP2005014926A (ja) 2003-06-24 2005-01-20 Hokuto:Kk パレット
JP3157439U (ja) 2009-12-01 2010-02-18 株式会社シンニッタン 折畳可能な柱パレット
JP2017132492A (ja) 2016-01-26 2017-08-03 親和パッケージ株式会社 コンテナ

Family Cites Families (4)

* Cited by examiner, † Cited by third party
Publication number Priority date Publication date Assignee Title
JPH0617704Y2 (ja) * 1989-05-19 1994-05-11 日本板硝子株式会社 折畳みパレット
JPH0738142Y2 (ja) * 1989-06-15 1995-08-30 宏 野田 棚付きパレットにおける支柱の取付け構造
FR2876668B1 (fr) * 2004-10-19 2008-07-04 Groupe Maillard Ind Gmi Sa Conteneur du type a embase en forme de palette et a deux surfaces support
FR3010390B1 (fr) * 2013-09-10 2016-04-29 Ind De Thermoformage Et Mecano Soudure Dispositif de verrouillage pour un montant repliable d'un conteneur

Patent Citations (4)

* Cited by examiner, † Cited by third party
Publication number Priority date Publication date Assignee Title
US20030127456A1 (en) 2002-01-04 2003-07-10 Brown Edmond W. Collapsible storage container
JP2005014926A (ja) 2003-06-24 2005-01-20 Hokuto:Kk パレット
JP3157439U (ja) 2009-12-01 2010-02-18 株式会社シンニッタン 折畳可能な柱パレット
JP2017132492A (ja) 2016-01-26 2017-08-03 親和パッケージ株式会社 コンテナ

Also Published As

Publication number Publication date
JP2025101928A (ja) 2025-07-08

Similar Documents

Publication Publication Date Title
US8567795B2 (en) Lower frame for a product holder, holder and operating procedure
JP7641663B1 (ja) パレット
ES2540277T3 (es) Contenedor de tipo con base en forma de paleta y con dos superficies de soporte
CN113329956A (zh) 具有角部锁定结构的折叠式集装箱
JP3903253B2 (ja) 輸送用折畳コンテナ
JP6625515B2 (ja) 組み立てテント及びその支柱構造
KR102371405B1 (ko) 접이식 박스형 카트
JPH09140846A (ja) 折畳み式卓球台
CN202449443U (zh) 运输用集装箱
JP2023147292A (ja) コンテナ
JP3030297U (ja) 折り畳み可能なコンテナの自動折り畳み装置
JP7324457B2 (ja) 運搬台車
JP2009113808A (ja) 金網付手押し運搬車
KR20250119938A (ko) 절첩 상자
JP3171036U (ja) ボックスパレット
CA1306393C (fr) Cage a petits animaux
EP3581462A1 (en) Roll container
JPH0513920Y2 (ja)
JP7723967B2 (ja) 折畳みコンテナ
JP3014303U (ja) 折畳み式テーブル
JP4804559B2 (ja) タイヤの支持パレット
JP2021066271A (ja) 台車および保護部材
CN218313467U (zh) 一种堆料存放架
JP7498965B2 (ja) 高さ調整可能な構造体およびネスティングラック
KR101132789B1 (ko) 분뇨차량의 호스적재장치

Legal Events

Date Code Title Description
A521 Request for written amendment filed

Free format text: JAPANESE INTERMEDIATE CODE: A821

Effective date: 20231226

A621 Written request for application examination

Free format text: JAPANESE INTERMEDIATE CODE: A621

Effective date: 20231226

A131 Notification of reasons for refusal

Free format text: JAPANESE INTERMEDIATE CODE: A131

Effective date: 20241112

A521 Request for written amendment filed

Free format text: JAPANESE INTERMEDIATE CODE: A821

Effective date: 20241206

Free format text: JAPANESE INTERMEDIATE CODE: A523

Effective date: 20241206

TRDD Decision of grant or rejection written
A01 Written decision to grant a patent or to grant a registration (utility model)

Free format text: JAPANESE INTERMEDIATE CODE: A01

Effective date: 20250212

A61 First payment of annual fees (during grant procedure)

Free format text: JAPANESE INTERMEDIATE CODE: A61

Effective date: 20250217

R150 Certificate of patent or registration of utility model

Ref document number: 7641663

Country of ref document: JP

Free format text: JAPANESE INTERMEDIATE CODE: R150