JP7635693B2 - 高圧ポンプ - Google Patents
高圧ポンプ Download PDFInfo
- Publication number
- JP7635693B2 JP7635693B2 JP2021166654A JP2021166654A JP7635693B2 JP 7635693 B2 JP7635693 B2 JP 7635693B2 JP 2021166654 A JP2021166654 A JP 2021166654A JP 2021166654 A JP2021166654 A JP 2021166654A JP 7635693 B2 JP7635693 B2 JP 7635693B2
- Authority
- JP
- Japan
- Prior art keywords
- vibration
- resin layer
- pressure pump
- damping resin
- lifter
- Prior art date
- Legal status (The legal status is an assumption and is not a legal conclusion. Google has not performed a legal analysis and makes no representation as to the accuracy of the status listed.)
- Active
Links
Images
Landscapes
- Fuel-Injection Apparatus (AREA)
- Details Of Reciprocating Pumps (AREA)
Description
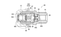
図1は、第1実施形態に係る高圧ポンプを概略的に示す断面図である。図2は、図1のII-II線断面図であって一部の構成を省略して示す図である。図3は、図1のIII-III線断面図である。図4は、第1実施形態に係る高圧ポンプにおける下ハウジング材のフランジ部のエンジンヘッドへの取付け構造を概略的に示す断面図である。図5は、第1実施形態に係る高圧ポンプの燃料吐出リリーフ部の拡大断面図であって、図1の矢印IVで示す箇所の拡大図である。図6は、第1実施形態に係る高圧ポンプの燃料吐出リリーフ部の拡大断面図であって、図3の矢印Vで示す箇所の拡大図である。以下の説明では、図1の上側を「上」、図1の下側を「下」として説明する。
本体部10は、下ハウジング11、シリンダ13、及び上ハウジング15を備えている。
下ハウジング11は、シリンダ13の径外方向に位置する円筒状のシリンダ保持部111と、シリンダ保持部111の下部から当該径外方向へ突出する環状のフランジ部112と、フランジ部112からシリンダ保持部111とは反対側に突出する、シリンダ保持部111よりも大径の円筒状のエンジン嵌合部113と、を有している。フランジ部112は、シリンダ保持部111の径外方向かつエンジン嵌合部113の径内方向で厚み方向に貫通する単数または複数の燃料流通孔114を有している。
シリンダ13は、プランジャ51を摺動可能に支持する有底筒状の内壁131を有している。当該内壁131は、プランジャ51の上端面と共に加圧室14を区画形成する。加圧室14が液密に封止されるとき、加圧室14内の燃料は、シリンダ13内を上昇するプランジャ51により加圧される。
シリンダ13は、プランジャ51の摺動による焼付や摩耗を抑えるため、例えば焼き入れ等の熱処理によって硬度が高められている。当該熱処理は、プランジャ51が摺動するシリンダ13の内壁部に部分的に施されてもよいし、シリンダ13全体に施されてもよい。
上ハウジング15は、例えば、横断面が矩形の棒状の素材に、圧入孔151、第1吸入孔161、第2吸入孔162、及び第1吐出孔163を形成するための切削加工が施されてなる。上ハウジング15は、吸入通路及び吐出通路を形成する役割を果たす限りにおいて肉厚が薄く構成されている。
図1~図3に示すように、燃料供給部30は、カバー31、パルセーションダンパ33、及び燃料インレット35を備えている。
カバー31は、シリンダ13の底部及び上ハウジング15を収容する。当該カバー31は、下ハウジング11のフランジ部112側に開口端を有する有底円筒状をなし、カバー底部311とカバー筒部312とから構成されている。カバー底部311は、カバー筒部312の上端部を塞いでいる。カバー筒部312は、カバー底部311側から軸方向に順に第1円筒部321、多辺筒部322、及び第2円筒部323を有している。
多辺筒部322は、図示しないが、軸方向に直交する断面が八辺形状となるように形成されている。ここで「八辺形状」とは、八つの線分で囲まれた図形である。以下、当該「八辺形状」を含む多辺形状は、複数の線分で囲まれた図形のことを意味し、例えば角部が丸みを帯びている、又は角部が面取りされている等の形状も含むものとする。
カバー31は、耐錆性の高い例えばステンレス等の板材がプレス加工により有底筒状に成形された後、第1貫通孔325、第2貫通孔326及び第3貫通孔327が例えば切削加工により形成されてなる。カバー31は、内部に燃料ギャラリ32を形成する役割を果たす限りにおいて肉厚が薄く形成されている。
パルセーションダンパ33の内部には所定圧の気体が密封されている。パルセーションダンパ33は、燃料ギャラリ32内の燃料の圧力変化に応じて弾性変形することにより燃料ギャラリ32内の燃料の圧力脈動を低減する。カバー31は、パルセーションダンパ33の収容部材として機能している。
図1及び図2に示すように、プランジャ部50は、プランジャ51、オイルシールホルダ52、スプリングシート53、及びプランジャスプリング54などを備えている。
プランジャ51は、シリンダ13の筒孔130に軸方向に往復摺動可能に嵌入され、シリンダ13の内壁131により軸方向に摺動可能に支持されている。プランジャ51は、大径部512と小径部513とを形成する。加圧室14側に位置する大径部512は、シリンダ13の内壁131を摺動する。大径部512に対し加圧室14とは反対側に位置する小径部513は、オイルシールホルダ52に挿入されている。
基部521は、内部にリング状のシール523を有している。シール523は、径内側のテフロン(登録商標)リングと、径外側のOリングとからなる。シール523によってプランジャ51の小径部513の周囲の燃料油膜の厚さが調整され、エンジンへの燃料のリークが抑制される。また基部521は、先端部分にオイルシール525を有している。オイルシール525によってプランジャ51の小径部513の周囲のオイル油膜の厚さが規制され、オイルのリークが抑制される。
図1及び図3に示すように、燃料吸入部70は、吸入通路を開閉可能であり、吸入弁部71及び電磁駆動部81を備えている。
吸入弁部71は、吸入弁ボディ72、シートボディ73、吸入弁部材74、及び第1スプリングホルダ75などから構成されている。
円筒状の吸入弁ボディ72は、第1吸入孔161に形成されたねじ穴に螺合することで上ハウジング15に接合している。吸入弁ボディ72の内部には、吸入室711が形成されている。吸入室711は、第2吸入孔162を経由して燃料ギャラリ32と連通している。吸入室711には、略円筒状のシートボディ73が設けられている。シートボディ73の加圧室14側には、吸入弁部材74が当接可能な弁座731が形成されている。
第1スプリングホルダ75は、吸入弁部材74に対し加圧室14側に設けられ、内側に、吸入弁部材74を閉弁方向(図1の左方向)へ付勢する第1スプリング76を収容している。
円筒状の可動コア84は、吸入弁ボディ72内で軸方向に移動可能に設けられ、吸入弁部材74と同軸上に配置されるニードル86の一端部に固定されている。ニードル86は、第2スプリングホルダ852により軸方向に移動可能に支持され、吸入弁部材74に当接可能に設けられている。
第2スプリングホルダ852の内側には、ニードル86を吸入弁部材74側に付勢する第2スプリング851が設けられている。第2スプリング851は、第1スプリング76が吸入弁部材74を閉弁方向に付勢する力よりも強い力でニードル86を開弁方向へ付勢する。
固定コア83の磁力は、コイル87への通電を止めると失われる。ニードル86は、固定コア83の磁気的吸引力が無くなると、第2スプリング88の付勢力により固定コア83とは反対側に移動する。これにより、吸入弁部材74が離座し、吸入弁部71が開弁する。
図1、図3、図5、及び図6に示すように、燃料吐出リリーフ部90は、燃料吐出リリーフハウジング91、吐出弁ボディ92、吐出弁部材94、及びリリーフ弁部材96などを備えている。
燃料吐出リリーフハウジング91は、円筒状に形成され、上ハウジング15の第1吐出孔163に形成されたねじ穴に螺合することで上ハウジング15に接合している。燃料吐出リリーフハウジング91の内部には、吐出弁ボディ92、吐出弁部材94及びリリーフ弁部材96などが収容されている。
(I)吸入行程
カム軸5の回転によりプランジャ51が上死点から下死点に向かって下降するとき、加圧室14の容積が増加するとともに加圧室14内の燃料の圧力が減少する。このとき、吐出通路95は吐出弁部材94により遮断される。また、コイル87への通電が止められることにより、ニードル86は第2スプリング85の付勢力を受けて吸入弁部材74側に移動する。これにより、ニードル86が吸入弁部材74を押圧し、吸入弁部71は開弁する。その結果、吸入室711から第1連通孔141を経由して加圧室14に燃料が吸入される。
カム軸5の回転によりプランジャ51が下死点から上死点に向かって上昇するとき、加圧室14の容積が減少する。その際、所定の時期まではコイル87への通電を止め、吸入弁部71を開弁させる。このため、吸入行程で加圧室14に吸入された低圧燃料の一部が燃料供給側に戻される。
そして、プランジャ51が上昇する途中の所定の時期にコイル87に通電することで、固定コア83と可動コア84との間に磁気的吸引力が発生する。当該磁気的吸引力が第2スプリング851の付勢力から第1スプリング76の付勢力を引いた合力より大きくなると、可動コア84及びニードル86が固定コア83側に移動する。これにより、ニードル86の吸入弁部材74への押圧力が解除される。その結果、吸入弁部材74がシートボディ73の弁座731に着座し、吸入弁部71は閉弁する。
吸入弁部71の閉弁後、プランジャ51の上昇と共に加圧室14の容積が減少し、加圧室14内の燃料の圧力が増加する。加圧室14の燃圧により吐出弁部材94に作用する力が、吐出弁スプリング943の付勢力と燃料吐出口99側の燃圧により吐出弁部材94に作用する力との合計よりも大きくなると、吐出弁部材94は開弁する。これにより、加圧室14で加圧された加圧燃料が、第2連通孔142、第1吐出孔163等を経由して燃料吐出口99から吐出する。
高圧ポンプ1は、吸入行程、調量行程及び加圧行程を繰り返し、吸入した燃料を調量し加圧して燃料吐出口99から吐出する。
第2実施形態に係る高圧ポンプについて、第1実施形態とは異なる点を説明する。
図7は、第2実施形態に係る高圧ポンプを概略的に示す断面図である。以下の説明では、図7の上側を「上」、図7の下側を「下」として説明する。
従って、実施形態に係る高圧ポンプによれば、第1及び第2実施形態のように、例えば、リフタガイドの内周面やリフタの外周面等のような振動発生源、及び振動伝達経路の少なくとも一方に制振樹脂層が設けられていることにより、振動の発生又は伝達を抑制できる。また、例えば、制振部材として、数十μm程度の厚みに形成できる薄く軽量な制振樹脂層を用いるため、制振部材を設ける部位が限定されず、制振部材を設けるスペースを確保するために高圧ポンプの既存の構造の設計を変更する必要が生じることが少ない。よって、振動の発生又は伝達を容易に抑制できる。このため、振動或いは振動による騒音がエンジンヘッド等の被取付け部材を介して車両の外部や居室等の系外に放射されることを容易に抑制できる。また、例えば、リフタガイドの内周面やリフタの外周面等のような振動発生源となり得る狭いスペースとなる部位にも制振部材を設けることができる。このため、振動発生源への対策が容易になる。
高圧ポンプは、筒孔が設けられたシリンダと、上記シリンダの上記筒孔に往復摺動可能に嵌入されたプランジャと、駆動カムの回転に伴い往復移動し、上記プランジャを連動で往復移動させるリフタと、上記リフタを収容孔に収容し、上記リフタの往復移動をガイドするリフタガイドと、を備えるものである。
高圧ポンプは、上記高圧ポンプにおける振動発生源及び振動伝達経路の少なくとも一方に設けられた制振樹脂層をさらに備える。上記制振樹脂層は、耐熱性樹脂と、振動エネルギーを熱エネルギーに変換する制振フィラーとを含む。
まず、所定量の耐熱性樹脂を有機溶剤に溶解させることで溶解液を調製する。次に、所定量の制振フィラーを溶解液に加え、必要に応じてさらに任意の成分を加え、混錬することで塗工材を調製する。次に、塗工材を、高圧ポンプが備える部材における振動発生源又は振動伝達経路を構成する部位(例えば、リフタガイドの内周面、リフタの外周面、フランジ部の締結面や座面等)に塗工する。次に、部材に塗工された塗工材を加熱し、乾燥、硬化させる。これにより、制振樹脂層を形成する。
参考例1~11で基材に制振樹脂層が形成されたテストピースを作製し、比較例1で基材のみからなるテストピースを準備した上で、これらのテストピースにおいて、制振樹脂層のNV性能を評価した。
最初に、高圧ポンプの制振樹脂層に形成に用いる塗工材を調製した。具体的には、まず、ポリアミドイミド樹脂を耐熱性樹脂として準備し、N-エチル-2-ピロリドン(NEP)(有機溶剤)に所定量溶解させることで溶解液を調製した。次に、熱可塑性エラストマーを制振フィラーとして準備し、溶解液に所定量加え、ニーダーを使用し、1時間混錬した。これにより、制振樹脂層における耐熱性樹脂及び制振フィラーの合計体積に対する制振フィラーの体積比が50体積%となるように、塗工材を調製した。
厚さが5μmとなるように制振樹脂層を形成した点を除いて、参考例1と同様にテストピースを作製した。
厚さが10μmとなるように制振樹脂層を形成した点を除いて、参考例1と同様にテストピースを作製した。
厚さが20μmとなるように制振樹脂層を形成した点を除いて、参考例1と同様にテストピースを作製した。
厚さが50μmとなるように制振樹脂層を形成した点を除いて、参考例1と同様にテストピースを作製した。
厚さが100μmとなるように制振樹脂層を形成した点を除いて、参考例1と同様にテストピースを作製した。
厚さが200μmとなるように制振樹脂層を形成した点を除いて、参考例1と同様にテストピースを作製した。
最初に、ウレタン樹脂を制振フィラーとして準備し、溶解液に所定量加えた点を除いて、参考例1と同様に塗工材を調製した。
最初に、厚さが200μmとなるように制振樹脂層を形成した点を除いて、参考例8と同様にテストピースを作製した。
最初に、マイクロカプセルを制振フィラーとして準備し、溶解液に所定量加えた点を除いて、参考例1と同様に塗工材を調製した。
最初に、厚さが200μmとなるように制振樹脂層を形成した点を除いて、参考例10と同様にテストピースを作製した。
参考例1と同様のブロック形状の基材を準備し、制振樹脂層を形成せずにそのままテストピースとした。
参考例1~11及び比較例1で得られたテストピースにおいて、落球試験を行い、NV性能への制振樹脂層の厚さの影響を評価した。図8は、落球試験機を模式的に示す断面図である。
実施例1-1~3-7において、エンジンのエンジンヘッド(シリンダヘッド)に取付けられた高圧ポンプを作製し、これらの高圧ポンプのNV性能を評価した。
高圧ポンプとして、厚さが100μmの制振樹脂層がリフタの外周面(1)に設けられたものを作製した。
高圧ポンプとして、厚さが100μmの制振樹脂層がエンジンヘッドの収容孔の内壁面(リフタガイドの内周面)(2)に設けられたものを作製した。
高圧ポンプとして、厚さが50μmの制振樹脂層がリフタの外周面(1)及びエンジンヘッドの収容孔の内壁面(リフタガイドの内周面)(2)の両方に設けられたものを作製した。
高圧ポンプとして、厚さが200μmの制振樹脂層が下ハウジングのフランジ部におけるエンジンヘッドと対向する締結面(3)に設けられたものを作製した。
高圧ポンプとして、厚さが200μmの制振樹脂層が下ハウジングのフランジ部における締結面と反対側の座面(4)に設けられたものを作製した。
高圧ポンプとして、厚さが200μmの制振樹脂層が下ハウジングのフランジ部におけるエンジンヘッドと対向する締結面(3)及び締結面と反対側の座面(4)の両方に設けられたものを作製した。
高圧ポンプとして、厚さが100μmの制振樹脂層がリフタの外周面(1)に設けられ、かつ厚さが200μmの制振樹脂層が下ハウジングのフランジ部におけるエンジンヘッドと対向する締結面(3)及び締結面と反対側の座面(4)の両方に設けられたものを作製した。
参考例1で調製した塗工材の代わりに参考例8で調製した塗工材を用いて制振樹脂層を形成した点を除いて、実施例1-1と同様に厚さが100μmの制振樹脂層がリフタの外周面に設けられた高圧ポンプを作製した。
参考例1で調製した塗工材の代わりに参考例8で調製した塗工材を用いて制振樹脂層を形成した点を除いて、実施例1-2と同様に厚さが100μmの制振樹脂層がエンジンヘッドの収容孔の内壁面(リフタガイドの内周面)に設けられた高圧ポンプを作製した。
参考例1で調製した塗工材の代わりに参考例8で調製した塗工材を用いて制振樹脂層を形成した点を除いて、実施例1-3と同様に厚さが50μmの制振樹脂層がリフタの外周面及びエンジンヘッドの収容孔の内壁面(リフタガイドの内周面)の両方に設けられた高圧ポンプを作製した。
参考例1で調製した塗工材の代わりに参考例8で調製した塗工材を用いて制振樹脂層を形成した点を除いて、実施例1-4と同様に厚さが200μmの制振樹脂層が下ハウジングのフランジ部におけるエンジンヘッドと対向する締結面に設けられた高圧ポンプを作製した。
参考例1で調製した塗工材の代わりに参考例8で調製した塗工材を用いて制振樹脂層を形成した点を除いて、実施例1-5と同様に厚さが200μmの制振樹脂層が下ハウジングのフランジ部における締結面と反対側の座面に設けられた高圧ポンプを作製した。
参考例1で調製した塗工材の代わりに参考例8で調製した塗工材を用いて制振樹脂層を形成した点を除いて、実施例1-6と同様に厚さが200μmの制振樹脂層が下ハウジングのフランジ部におけるエンジンヘッドと対向する締結面及び締結面と反対側の座面の両方に設けられた高圧ポンプを作製した。
参考例1で調製した塗工材の代わりに参考例8で調製した塗工材を用いて制振樹脂層を形成した点を除いて、実施例1-7と同様に厚さが100μmの制振樹脂層がリフタの外周面に設けられ、かつ厚さが200μmの制振樹脂層が下ハウジングのフランジ部におけるエンジンヘッドと対向する締結面及び締結面と反対側の座面の両方に設けられた高圧ポンプを作製した。
参考例1で調製した塗工材の代わりに参考例10で調製した塗工材を用いて制振樹脂層を形成した点を除いて、実施例1-1と同様に厚さが100μmの制振樹脂層がリフタの外周面に設けられた高圧ポンプを作製した。
参考例1で調製した塗工材の代わりに参考例10で調製した塗工材を用いて制振樹脂層を形成した点を除いて、実施例1-2と同様に厚さが100μmの制振樹脂層がエンジンヘッドの収容孔の内壁面(リフタガイドの内周面)に設けられた高圧ポンプを作製した。
参考例1で調製した塗工材の代わりに参考例10で調製した塗工材を用いて制振樹脂層を形成した点を除いて、実施例1-3と同様に厚さが50μmの制振樹脂層がリフタの外周面及びエンジンヘッドの収容孔の内壁面(リフタガイドの内周面)の両方に設けられた高圧ポンプを作製した。
参考例1で調製した塗工材の代わりに参考例10で調製した塗工材を用いて制振樹脂層を形成した点を除いて、実施例1-4と同様に厚さが200μmの制振樹脂層が下ハウジングのフランジ部におけるエンジンヘッドと対向する締結面に設けられた高圧ポンプを作製した。
参考例1で調製した塗工材の代わりに参考例10で調製した塗工材を用いて制振樹脂層を形成した点を除いて、実施例1-5と同様に厚さが200μmの制振樹脂層が下ハウジングのフランジ部における締結面と反対側の座面に設けられた高圧ポンプを作製した。
参考例1で調製した塗工材の代わりに参考例10で調製した塗工材を用いて制振樹脂層を形成した点を除いて、実施例1-6と同様に厚さが200μmの制振樹脂層が下ハウジングのフランジ部におけるエンジンヘッドと対向する締結面及び締結面と反対側の座面の両方に設けられた高圧ポンプを作製した。
参考例1で調製した塗工材の代わりに参考例10で調製した塗工材を用いて制振樹脂層を形成した点を除いて、実施例1-7と同様に厚さが100μmの制振樹脂層がリフタの外周面に設けられ、かつ厚さが200μmの制振樹脂層が下ハウジングのフランジ部におけるエンジンヘッドと対向する締結面及び締結面と反対側の座面の両方に設けられた高圧ポンプを作製した。
高圧ポンプとして、制振樹脂層が設けられていないものを作製した。具体的には、制振樹脂層形成前のリフタを用いた点を除いて実施例1-1と同様に高圧ポンプの取付け前の半製品を組み立てた。次に、当該半製品をエンジンヘッドに取り付けた点を除いて実施例1-1と同様に半製品をエンジンヘッドに取り付けた。これにより、高圧ポンプを作製した。
実施例1-1~3-7及び比較例2で作製された高圧ポンプのNV性能を評価した。
9 エンジン
18 エンジンヘッド
180 収容孔
181 内壁(リフタガイド)
181s 内壁面
10 本体部
11 下ハウジング
111 シリンダ保持部
112 フランジ部
113 エンジン嵌合部
13 シリンダ
15 上ハウジング
20 リフタ
20s 外周面
22 リフタガイド
24a 第1制振樹脂層
24b 第2制振樹脂層
24c 第3制振樹脂層
24d 第4制振樹脂層
30 燃料供給部
50 プランジャ部
51 プランジャ
70 燃料吸入部
90 燃料吐出リリーフ部
Claims (4)
- 筒孔が設けられたシリンダと、
前記シリンダの前記筒孔に往復摺動可能に嵌入されたプランジャと、
駆動カムの回転に伴い往復移動し、前記プランジャを連動で往復移動させるリフタと、
前記リフタを収容孔に収容し、前記リフタの往復移動をガイドするリフタガイドと、を備える高圧ポンプであって、
前記高圧ポンプにおける振動発生源及び振動伝達経路の少なくとも一方に設けられた制振樹脂層をさらに備え、
前記制振樹脂層として、前記リフタガイドの内周面及び前記リフタの外周面の少なくとも一方に設けられた制振樹脂層を備え、
前記制振樹脂層は、耐熱性樹脂と、振動エネルギーを熱エネルギーに変換する制振フィラーとを含むことを特徴とする高圧ポンプ。 - 前記制振樹脂層として、前記リフタガイドの内周面に設けられた制振樹脂層を備えることを特徴とする請求項1に記載の高圧ポンプ。
- 前記シリンダの径外方向に位置するシリンダ保持部と、前記シリンダ保持部から前記径外方向へ突出するフランジ部とを有し、前記シリンダを支持する下ハウジングをさらに備え、
前記制振樹脂層として、前記フランジ部における被取付け部材と対向する締結面及び前記締結面と反対側の座面の少なくとも一方に設けられた制振樹脂層を備えることを特徴とする請求項1又は2に記載の高圧ポンプ。 - 前記制振樹脂層の厚さは、10μm以上であることを特徴とする請求項1から3のいずれか一項に記載の高圧ポンプ。
Priority Applications (1)
| Application Number | Priority Date | Filing Date | Title |
|---|---|---|---|
| JP2021166654A JP7635693B2 (ja) | 2021-10-11 | 2021-10-11 | 高圧ポンプ |
Applications Claiming Priority (1)
| Application Number | Priority Date | Filing Date | Title |
|---|---|---|---|
| JP2021166654A JP7635693B2 (ja) | 2021-10-11 | 2021-10-11 | 高圧ポンプ |
Publications (2)
| Publication Number | Publication Date |
|---|---|
| JP2023057249A JP2023057249A (ja) | 2023-04-21 |
| JP7635693B2 true JP7635693B2 (ja) | 2025-02-26 |
Family
ID=86006438
Family Applications (1)
| Application Number | Title | Priority Date | Filing Date |
|---|---|---|---|
| JP2021166654A Active JP7635693B2 (ja) | 2021-10-11 | 2021-10-11 | 高圧ポンプ |
Country Status (1)
| Country | Link |
|---|---|
| JP (1) | JP7635693B2 (ja) |
Families Citing this family (2)
| Publication number | Priority date | Publication date | Assignee | Title |
|---|---|---|---|---|
| JP2024145027A (ja) | 2023-03-31 | 2024-10-15 | Juki株式会社 | ミシン |
| CN118443489B (zh) * | 2024-07-08 | 2024-09-24 | 中国建筑第五工程局有限公司 | 一种混凝土试块的强度测试装置 |
Citations (9)
| Publication number | Priority date | Publication date | Assignee | Title |
|---|---|---|---|---|
| JP2001329931A (ja) | 2000-05-23 | 2001-11-30 | Nissan Motor Co Ltd | 内燃機関のインジェクタ支持構造 |
| US20020139352A1 (en) | 2001-01-12 | 2002-10-03 | Ford Global Technologies, Inc. | Fuel injection arrangement |
| JP2003327846A (ja) | 2002-05-15 | 2003-11-19 | Toyobo Co Ltd | 粘弾性樹脂組成物およびそれを用いた複合型制振材料 |
| DE102006054798A1 (de) | 2005-11-22 | 2007-06-06 | GM Global Technology Operations, Inc., Detroit | Isolier- und Dichtelement für ein Kraftstoffeinspritzventil |
| JP2007152916A (ja) | 2005-12-09 | 2007-06-21 | Nippon Steel Corp | 耐久密着性に優れたクロメートフリー樹脂複合型制振材料 |
| JP2013147947A (ja) | 2012-01-17 | 2013-08-01 | Toyota Motor Corp | ローラリフタガイド装置および燃料ポンプ |
| JP2018128007A (ja) | 2017-02-08 | 2018-08-16 | 株式会社デンソー | 高圧ポンプ |
| JP2020079583A (ja) | 2018-11-14 | 2020-05-28 | 株式会社オティックス | リフタ装置 |
| JP2022139474A (ja) | 2021-03-12 | 2022-09-26 | トヨタ自動車株式会社 | 燃料噴射装置用制振インシュレータ |
-
2021
- 2021-10-11 JP JP2021166654A patent/JP7635693B2/ja active Active
Patent Citations (9)
| Publication number | Priority date | Publication date | Assignee | Title |
|---|---|---|---|---|
| JP2001329931A (ja) | 2000-05-23 | 2001-11-30 | Nissan Motor Co Ltd | 内燃機関のインジェクタ支持構造 |
| US20020139352A1 (en) | 2001-01-12 | 2002-10-03 | Ford Global Technologies, Inc. | Fuel injection arrangement |
| JP2003327846A (ja) | 2002-05-15 | 2003-11-19 | Toyobo Co Ltd | 粘弾性樹脂組成物およびそれを用いた複合型制振材料 |
| DE102006054798A1 (de) | 2005-11-22 | 2007-06-06 | GM Global Technology Operations, Inc., Detroit | Isolier- und Dichtelement für ein Kraftstoffeinspritzventil |
| JP2007152916A (ja) | 2005-12-09 | 2007-06-21 | Nippon Steel Corp | 耐久密着性に優れたクロメートフリー樹脂複合型制振材料 |
| JP2013147947A (ja) | 2012-01-17 | 2013-08-01 | Toyota Motor Corp | ローラリフタガイド装置および燃料ポンプ |
| JP2018128007A (ja) | 2017-02-08 | 2018-08-16 | 株式会社デンソー | 高圧ポンプ |
| JP2020079583A (ja) | 2018-11-14 | 2020-05-28 | 株式会社オティックス | リフタ装置 |
| JP2022139474A (ja) | 2021-03-12 | 2022-09-26 | トヨタ自動車株式会社 | 燃料噴射装置用制振インシュレータ |
Also Published As
| Publication number | Publication date |
|---|---|
| JP2023057249A (ja) | 2023-04-21 |
Similar Documents
| Publication | Publication Date | Title |
|---|---|---|
| CN109215933B (zh) | 具有液压阻尼的燃料泵螺线管 | |
| JP7635693B2 (ja) | 高圧ポンプ | |
| CN103282640B (zh) | 高压泵 | |
| US9464628B2 (en) | Pump | |
| JP5209746B2 (ja) | 高圧ポンプ | |
| CN108869133B (zh) | 脉动阻尼器及燃料泵装置 | |
| JP6193402B2 (ja) | 高圧燃料供給ポンプ | |
| JP2020527209A (ja) | ピストンポンプ | |
| JP2001295727A (ja) | 高圧ポンプ | |
| EP1348868A1 (en) | Fluid pump and high-pressure fuel feed pump | |
| US10393239B2 (en) | Hydraulic auto tensioner | |
| WO2014069192A1 (ja) | 高圧燃料供給ポンプ | |
| JP2012136994A (ja) | 高圧ポンプ | |
| JP6186326B2 (ja) | 高圧燃料供給ポンプ | |
| JP2012127290A (ja) | 高圧ポンプ | |
| JP5673284B2 (ja) | 高圧ポンプ | |
| JP2015075049A (ja) | 高圧ポンプ | |
| JP2012117471A (ja) | 高圧ポンプ | |
| JP2013147947A (ja) | ローラリフタガイド装置および燃料ポンプ | |
| JP5703893B2 (ja) | 高圧ポンプ | |
| JP2010001848A (ja) | 流量調整弁及びこの流量調整弁を用いた高圧燃料ポンプ | |
| JP2002250462A (ja) | 電磁弁 | |
| JP6984310B2 (ja) | 高圧ポンプ | |
| CN101321945A (zh) | 用于电磁阀的变形优化的衔铁导向件 | |
| JP2018155144A (ja) | 高圧ポンプ |
Legal Events
| Date | Code | Title | Description |
|---|---|---|---|
| A621 | Written request for application examination |
Free format text: JAPANESE INTERMEDIATE CODE: A621 Effective date: 20240320 |
|
| A977 | Report on retrieval |
Free format text: JAPANESE INTERMEDIATE CODE: A971007 Effective date: 20240926 |
|
| A131 | Notification of reasons for refusal |
Free format text: JAPANESE INTERMEDIATE CODE: A131 Effective date: 20241105 |
|
| A521 | Request for written amendment filed |
Free format text: JAPANESE INTERMEDIATE CODE: A523 Effective date: 20241121 |
|
| TRDD | Decision of grant or rejection written | ||
| A01 | Written decision to grant a patent or to grant a registration (utility model) |
Free format text: JAPANESE INTERMEDIATE CODE: A01 Effective date: 20250114 |
|
| A61 | First payment of annual fees (during grant procedure) |
Free format text: JAPANESE INTERMEDIATE CODE: A61 Effective date: 20250127 |
|
| R150 | Certificate of patent or registration of utility model |
Ref document number: 7635693 Country of ref document: JP Free format text: JAPANESE INTERMEDIATE CODE: R150 |

