JP7621696B1 - 冷却具及び冷却具の製造方法 - Google Patents

冷却具及び冷却具の製造方法 Download PDF

Info

Publication number
JP7621696B1
JP7621696B1 JP2024065809A JP2024065809A JP7621696B1 JP 7621696 B1 JP7621696 B1 JP 7621696B1 JP 2024065809 A JP2024065809 A JP 2024065809A JP 2024065809 A JP2024065809 A JP 2024065809A JP 7621696 B1 JP7621696 B1 JP 7621696B1
Authority
JP
Japan
Prior art keywords
sheet
edge
pack
wall
partition
Prior art date
Legal status (The legal status is an assumption and is not a legal conclusion. Google has not performed a legal analysis and makes no representation as to the accuracy of the status listed.)
Active
Application number
JP2024065809A
Other languages
English (en)
Other versions
JP2025162470A (ja
Inventor
晟濟 朴
Current Assignee (The listed assignees may be inaccurate. Google has not performed a legal analysis and makes no representation or warranty as to the accuracy of the list.)
Individual
Original Assignee
Individual
Priority date (The priority date is an assumption and is not a legal conclusion. Google has not performed a legal analysis and makes no representation as to the accuracy of the date listed.)
Filing date
Publication date
Application filed by Individual filed Critical Individual
Priority to JP2024065809A priority Critical patent/JP7621696B1/ja
Application granted granted Critical
Publication of JP7621696B1 publication Critical patent/JP7621696B1/ja
Publication of JP2025162470A publication Critical patent/JP2025162470A/ja
Active legal-status Critical Current
Anticipated expiration legal-status Critical

Links

Images

Landscapes

  • Thermotherapy And Cooling Therapy Devices (AREA)
  • Lining Or Joining Of Plastics Or The Like (AREA)

Abstract

Figure 0007621696000001
【課題】冷却具の生体への肌当たりが良好となる。
【解決手段】冷却具100は、保冷剤2と、保冷剤2を収容し長手方向に延びる外装パック3とを備え、外装パック3は、第1シート5と、第1シート5に接合された第2シート6とを有し、第2シート6は、長手方向に沿って交互に並んで配置された凹状の複数の収容部65及び凸状の複数の仕切り部66を有し、収容部65は第1シート5とは反対の方へ窪んで保冷剤2を収容し、仕切り部66は第1シート5の方へ突出して隣り合う収容部65の間を仕切り、第1シート5の外周縁50は長手方向に沿って延び互いに対向する第1端縁51及び第2端縁52を含み、第2シート6の外周縁60は長手方向に沿って延び互いに対向する第1端縁61及び第2端縁62を含み、第1端縁51と第1端縁61との第1接合部分31と、第2端縁52と第2端縁62との第2接合部分32とは、外装パック3の内部に位置している。
【選択図】図3

Description

特許法第30条第2項適用 ・令和6年3月25日、以下のウェブサイトで公開 https://ec-life.suo.co.jp/collections/for-dogs/products/suo-18-ice-for-dogs-suo-wband (自社公式サイト:shopify) https://item.rakuten.co.jp/suo-life/suodog_18wband/ (楽天市場) https://www.amazon.co.jp/dp/B0CYL511W2?ref=myi_title_dp (Amazon) ・令和6年3月31日、以下のウェブサイトで公開 https://www.youtube.com/watch?v=Vb1jDGQ8E3Q&t=737s (YouTube: ネルソンさん(ソニー・ミュージック所属)、動画タイトル:寝坊した日に作るカフェ風朝ごはんと映え弁当フルーツサンド[3児ママ]) ・令和6年1月18日、メゾン・エ・オブジェ2024年1月展にて公開 ・令和6年2月6日、第97回東京インターナショナル・ギフト・ショー春2024にて公開 ・以下の販売日および販売場所にて公開。■・以下の公開日および公開場所にて公開。■
ここに開示された技術は、冷却具及び冷却具の製造方法に関する。
特許文献1には、冷媒ゲルからなる保冷剤がチューブに収容された冷却具が開示されている。チューブは、対向する一対のプラスチックシートを互いに溶着することによって形成されている。チューブには、チューブの幅方向に延びるシールが溶着によって形成されている。チューブの内部は、シールによって、チューブの長さ方向に並ぶ複数のポケット部に分割されている。各ポケット部には、保冷剤が収容されている。
米国特許第4854319号明細書
ところで、前述のような冷却具では、一対のプラスチックシートのそれぞれの長さ方向に延びる周縁が互いに溶着されている。冷却具を生体の対象部分に装着する場合、互いに溶着された各プラスチックシートの周縁が生体の対象部分に接触して、冷却具の生体への肌当たりが良くない。
ここに開示された技術は、かかる点に鑑みてなされたものであり、その目的とするところは、冷却具の生体への肌当たりが良好となることにある。
ここに開示された冷却具は、熱を吸収して固相から液相に変化する保冷剤と、前記保冷剤を収容し長手方向に延びる外装パックとを備え、前記外装パックは、第1シートと、前記第1シートに対向して前記第1シートに接合された第2シートとを有し、前記第2シートは、前記長手方向に沿って交互に並んで配置された凹状の複数の収容部及び凸状の複数の仕切り部を有し、前記収容部は、前記第1シートとは反対の方へ窪んで前記保冷剤を収容し、前記仕切り部は、前記第1シートの方へ突出して隣り合う前記収容部の間を仕切り、前記第1シートの外周縁は、前記長手方向に沿って延び互いに対向する第1端縁及び第2端縁を含み、前記第2シートの外周縁は、前記長手方向に沿って延び互いに対向する第1端縁及び第2端縁を含み、前記第1シートの前記第1端縁と前記第2シートの前記第1端縁とが接合された第1接合部分と、前記第1シートの前記第2端縁と前記第2シートの前記第2端縁とが接合された第2接合部分とは、前記外装パックの内部に位置している。
ここに開示された冷却具の製造方法は、長手方向に延びる第1シートを準備することと、長手方向に延びる第2シートであって、前記長手方向に沿って並んで配置され第1主面側へ突出した凸状の複数の凸部と、第2主面側へ窪んで隣り合う前記凸部の間を仕切る凹状の複数の凹部とを含む前記第2シートを準備することと、前記第2シートの前記第2主面を前記第1シートに対向させて、前記第1シートと前記第2シートとを重ね合わせることと、前記第1シートの外周縁のうちの前記長手方向に沿って延びる第1端縁と前記第2シートの外周縁のうちの前記長手方向に沿って延びる第1端縁とを接合して第1接合部分を形成し、且つ、前記第1シートの外周縁のうちの前記長手方向に沿って延び前記第1シートの前記第1端縁に対向する第2端縁と前記第2シートの外周縁のうちの前記長手方向に沿って延び前記第2シートの前記第1端縁に対向する第2端縁とを接合して第2接合部分を形成し、前記長手方向の両端が開口する管状パックを形成することと、前記第2シートの前記第1主面を前記第1シートに対向させるように前記管状パックを裏返し、前記凸部を前記第2主面側へ窪んだ状態に変形させて凹状の収容部を形成し、前記凹部を前記第1主面側へ突出した状態に変形させて凸状の仕切り部を形成して、外装パックを形成することと、前記両端の少なくとも一方の開口された隙間から前記外装パックの内部に保冷剤を充填して、前記複数の収容部のそれぞれに前記保冷剤を収容することとを備え、前記第1接合部分及び前記第2接合部分は、前記管状パックの形成時には、前記管状パックの外部に位置し、前記外装パックの形成時には、前記外装パックの内部に位置する。
前記冷却具及び前記冷却具の製造方法によれば、冷却具の生体への肌当たりが良好となる。
図1は、冷却具の正面図である。 図2は、冷却具の背面図である。 図3は、図1のIII-III線における冷却具の断面図である。 図4は、図1のIV-IV線における冷却具の断面図である。 図5は、図1のV-V線における冷却具の断面図である。 図6は、図1のVI-VI線における冷却具の断面図である。 図7は、図6の一部の拡大断面図である。 図8は、冷却具の使用状態を示す概略図である。 図9は、第2シートに接合する前の状態の第1シートを示す概略図である。 図10は、図9のX-X線における断面図である。 図11は、第1シートに接合する前の状態の第2シートを示す概略図である。 図12は、図11のXII-XII線における断面図である。 図13は、第1シートと第2シートを接合した状態を示す管状パックの概略正面図である。 図14は、図13のXIV-XIV線における断面図である。 図15は、図13のXV-XV線における断面図である。 図16は、管状パックを裏返す前の状態を示す概略断面図である。 図17は、管状パックを裏返した後で凸部及び凹部を変形させる前の状態を示す外装パックの概略断面図である。 図18は、管状パックを裏返した後で凸部及び凹部を変形させた後の状態を示す外装パックの概略断面図である。
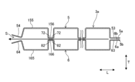
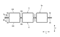
以下、例示的な実施形態を図面に基づいて詳細に説明する。図1は、冷却具100の正面図である。図2は、冷却具100の背面図である。図3は、図1のIII-III線における冷却具100の断面図である。図4は、図1のIV-IV線における冷却具100の断面図である。図5は、図1のV-V線における冷却具100の断面図である。図6は、図1のVI-VI線における冷却具100の断面図である。
冷却具100は、生体の対象部分に装着される。冷却具100は、対象部分を冷却する。この例の冷却具100は、生体の首を冷却する首冷却具である。尚、冷却具100によって冷却される生体は、人、又は人以外の動物のいずれであってもよい。人以外の動物は、例えば、犬又は猫である。また、対象部分は、生体の首以外の部位であってもよく、例えば、腕、脚又は頭等であってもよい。
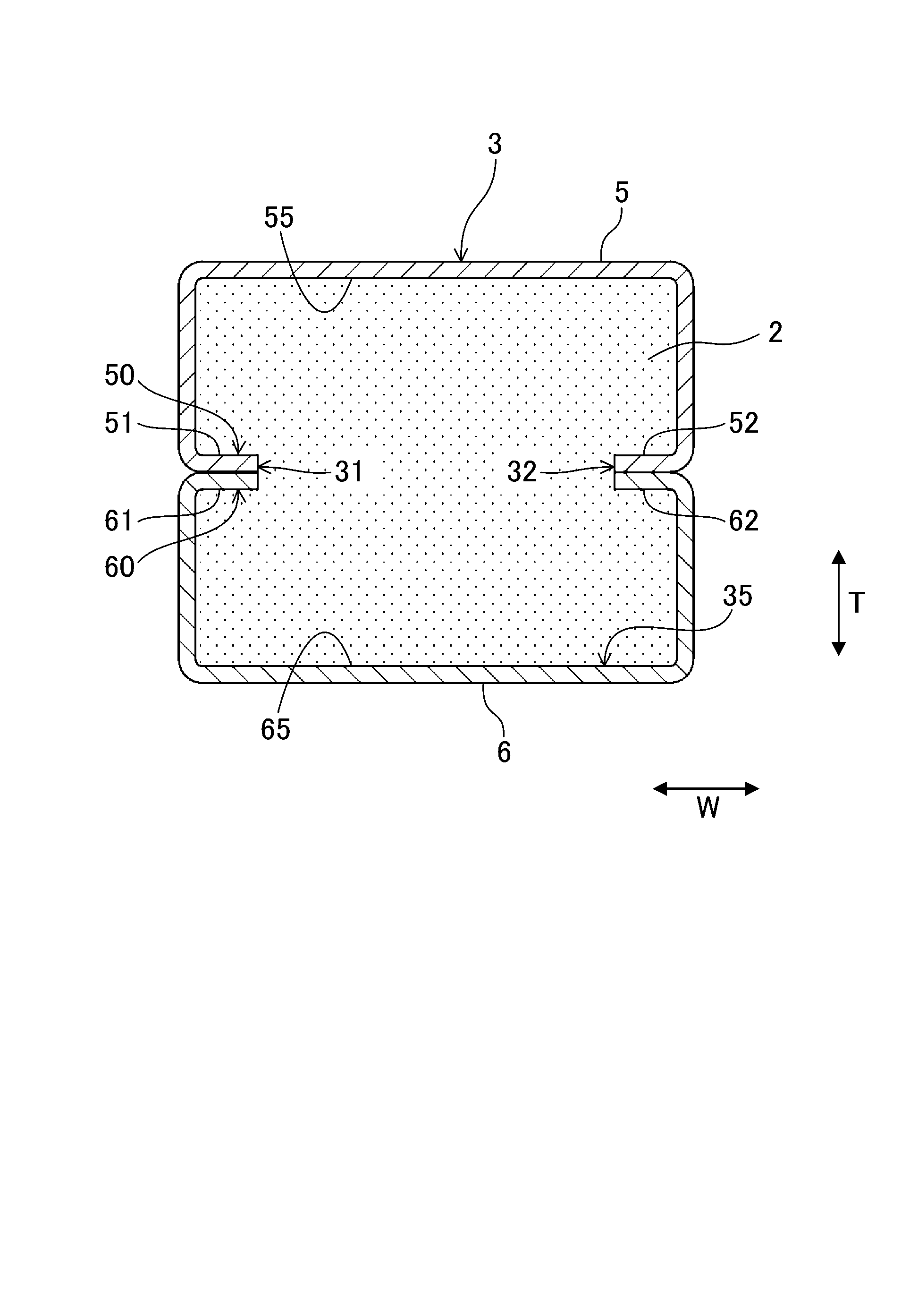
冷却具100は、熱を吸収して固相から液相に変化する保冷剤2と、保冷剤2を収容する複数のポケット部35を有し長手方向に延びる外装パック3とを備える。この例では、冷却具100は6つのポケット部35を有する。冷却具100は、さらに、外装パック3の長手方向の両端部のそれぞれに接続される第1把持部11及び第2把持部12と、第1把持部11に取り付けられる第1連結部15と、第2把持部12に取り付けられる第2連結部16とを有する。第1連結部15と第2連結部16は互いに着脱自在であり、第1連結部15と第2連結部16は互いに連結されて、外装パック3は環状となる。
外装パック3は可撓性を有し、冷却具100は変形し得る。冷却具100は平板状の基本形状になり得る。以下では、特に断りが無い限り、基本形状の冷却具100について説明する。また、外装パック3の長手方向を冷却具100の長さ方向Lとし、冷却具100の正面から見て長さ方向Lに直交する方向を冷却具100の幅方向Wとし、長さ方向L及び幅方向Wに直交する方向を冷却具100の厚み方向Tとする。
保冷剤2は、PCM(Phase Change Material)である。保冷剤2は、固相及び液相のとき、対象部分から熱を顕熱として吸収する。保冷剤2は、固相から液相へ変化する際、対象部分から熱を潜熱(融解熱)として吸収する。
保冷剤2は、例えば、脂肪族炭化水素を含む。脂肪族炭化水素は、例えば、パラフィン又は脂肪族飽和炭化水素である。保冷剤2は、脂肪族炭化水素として、テトラデカン(C1430)、ヘキサデカン(C1634)及びオクタデカン(C1838)のうち少なくとも1つを含んでもよい。保冷剤2は、テトラデカン、ヘキサデカン及びオクタデカンのうち1つだけ若しくは2つだけ含んでもよいし、全てを含んでもよい。保冷剤2は、脂肪族炭化水素に加えて、高吸水性樹脂(SAP:Super Absorbent Polymer)、水、アロマ、グラファイト(Graphite)、有機物又はミネラル等をさらに含み得る。保冷剤2の融点は、例えば、常温である。保冷剤2の融点は、5℃以上35℃以下であることが好ましく、15℃以上35℃以下であることがより好ましい。
外装パック3は、管状に形成されている。外装パック3は、保冷剤2と直接に接して、保冷剤2を密閉状態で収容する。外装パック3は、保冷剤2が固相及び液相のいずれの状態であっても、撓んで変形し得る。
外装パック3は、第1シート5と、第1シート5に対向して第1シート5に接合された第2シート6とを有している。第1シート5及び第2シート6のそれぞれは、合成樹脂から形成されている。第1シート5及び第2シート6のそれぞれは、例えば、熱可塑性ポリウレタン(TPU:Thermoplastic Polyurethane)、ナイロン(Nylon)、ポリ塩化ビニル(PVC:Polyvinylchloride)、ポリエチレン(PE:Polyethylene)及びポリプロピレン(PP:Polypropylene)等の樹脂のうち1つ又は複数の混合体から形成される。尚、第1シート5の材料と第2シート6の材料とは、同じであってもよいし、異なってもよい。
第1シート5及び第2シート6は、それぞれ、厚み方向Tから見て長手方向に延びる帯状に形成されている。具体的には、厚み方向Tから見て、第1シート5及び第2シート6のそれぞれにおいて、長さ方向Lの中央部の幅方向Wの長さが、長さ方向Lの両端部の幅方向Wの長さよりも長い。詳しくは、幅方向Wの長さが、長さ方向Lの両端部から長さ方向Lの中央部に向かって徐々に長くなっている。
第1シート5は、長手方向に沿って交互に並んで配置された凹状の複数の収容部55及び凸状の複数の仕切り部56を有する。収容部55は、第2シート6とは反対の方へ窪んで保冷剤2を収容する。仕切り部56は、第2シート6の方へ突出して隣り合う収容部55の間を仕切る。この例では、第1シート5は6つの収容部55を有する。
第2シート6は、長手方向に沿って交互に並んで配置された凹状の複数の収容部65及び凸状の複数の仕切り部66を有する。収容部65は、第1シート5とは反対の方へ窪んで保冷剤2を収容する。仕切り部66は、第1シート5の方へ突出して隣り合う収容部65の間を仕切る。この例では、第2シート6は6つの収容部65を有する。
第1シート5の外周縁50は、互いに対向する第1端縁51及び第2端縁52と、第1端縁51及び第2端縁52に接続され互いに対向する第3端縁53及び第4端縁54とを含む。詳しくは、第1端縁51と第2端縁52とは幅方向Wの反対側に位置し、第3端縁53と第4端縁54とは長さ方向Lの反対側に位置する。第1端縁51の一端に第3端縁53の一端が接続され、第1端縁51の他端に第4端縁54の一端が接続され、第2端縁52の一端に第3端縁53の他端が接続され、第2端縁52の他端に第4端縁54の他端が接続される。
第1端縁51及び第2端縁52は、それぞれ、外装パック3の長手方向、つまり長さ方向Lに沿って延びている。第3端縁53及び第4端縁54は、それぞれ、外装パック3の短手方向、つまり幅方向Wに沿って延びている。
第2シート6の外周縁60は、互いに対向する第1端縁61及び第2端縁62と、第1端縁61及び第2端縁62に接続され互いに対向する第3端縁63及び第4端縁64とを含む。詳しくは、第1端縁61と第2端縁62とは幅方向Wの反対側に位置し、第3端縁63と第4端縁64とは長さ方向Lの反対側に位置する。第1端縁61の一端に第3端縁63の一端が接続され、第1端縁61の他端に第4端縁64の一端が接続され、第2端縁62の一端に第3端縁63の他端が接続され、第2端縁62の他端に第4端縁64の他端が接続される。
第1端縁61及び第2端縁62は、それぞれ、外装パック3の長手方向、つまり長さ方向Lに沿って延びている。第3端縁63及び第4端縁64は、それぞれ、外装パック3の短手方向、つまり幅方向Wに沿って延びている。
第1シート5の外周縁50と第2シート6の外周縁60とは重なり合っている。具体的には、第1シート5の第1端縁51と第2シート6の第1端縁61とは重なって接合され、第1シート5の第2端縁52と第2シート6の第2端縁62とは重なって接合され、第1シート5の第3端縁53と第2シート6の第3端縁63とは重なって接合され、第1シート5の第4端縁54と第2シート6の第4端縁64とは重なって接合されている。
第1シート5の外周縁50の一部と第2シート6の外周縁60の一部とが接合された接合部分は、外装パック3の内部に位置している。具体的には、第1シート5の第1端縁51と第2シート6の第1端縁61とが接合された第1接合部分31と、第1シート5の第2端縁52と第2シート6の第2端縁62とが接合された第2接合部分32とは、外装パック3の内部に位置している。
詳しくは、図3に示すように、第1端縁51及び第1端縁61は、外装パック3の内部に折り曲げられて、第1端縁51及び第1端縁61のそれぞれの厚み方向に対向する部分同士が接合される。第2端縁52及び第2端縁62は、外装パック3の内部に折り曲げられて、第2端縁52及び第2端縁62のそれぞれの厚み方向に対向する部分同士が接合される。
ここで、第1端縁51及び第1端縁61の接合と第2端縁52及び第2端縁62の接合とは、例えば、溶着によって実現される。図3では、第1端縁51及び第1端縁61において互いに対向する部分の境界が実線で示されているが、実際に対向する部分が溶着された場合、第1端縁51及び第1端縁61において対向する部分の境界は明確に現れなくてもよい。以下の説明においても同様である。
第1シート5の外周縁50の他部と第2シート6の外周縁60の他部とが接合された接合部分は、外装パック3の外部に位置している。具体的には、第1シート5の第3端縁53と第2シート6の第3端縁63とが接合された第3接合部分33と、第1シート5の第4端縁54と第2シート6の第4端縁64とが接合された第4接合部分34とは、外装パック3の外部に位置している。
詳しくは、図4に示すように、第3端縁53及び第3端縁63は、外装パック3の内部に折り曲げられないで外装パック3の外部に延びている。第3端縁53及び第3端縁63のそれぞれの厚み方向に対向する部分同士が接合される。図5に示すように、第4端縁54及び第4端縁64は、外装パック3の内部に折り曲げられないで外装パック3の外部に延びている。第4端縁54及び第4端縁64のそれぞれの厚み方向に対向する部分同士が接合される。
第1シート5の複数の収容部55は、第1シート5の第1端縁51及び第2端縁52の延在方向、つまり長さ方向Lに沿って並んで配置されている。第1シート5の長さ方向Lの中央に位置する収容部55の幅方向Wの長さは、第1シート5の長さ方向Lの両端に位置する収容部55の幅方向Wの長さよりも長い。各収容部55の幅方向Wの長さとは、例えば、各収容部55の幅方向Wの最大値である。詳しくは、複数の収容部55の幅方向Wの長さは、長さ方向Lの両端に位置する収容部55から長さ方向Lの中央に位置する収容部55に向かって順に長くなっている。
収容部55は、箱型に形成されている。詳しくは、収容部55は、底壁と、底壁の周囲に設けられた4つの側壁とを有する。底壁は、矩形の平板状に形成されている。側壁は、底壁の周囲の4つの辺のそれぞれに設けられている。各側壁は、厚み方向Tと略平行な平板状に形成されている。尚、底壁及び側壁は、湾曲した板状であってもよい。
第2シート6の複数の収容部65は、第2シート6の第1端縁61及び第2端縁62の延在方向、つまり長さ方向Lに沿って並んで配置されている。第2シート6の長さ方向Lの中央に位置する収容部65の幅方向Wの長さは、第2シート6の長さ方向Lの両端に位置する収容部65の幅方向Wの長さよりも長い。各収容部65の幅方向Wの長さとは、例えば、各収容部65の幅方向Wの最大値である。詳しくは、複数の収容部65の幅方向Wの長さは、長さ方向Lの両端に位置する収容部65から長さ方向Lの中央に位置する収容部65に向かって順に長くなっている。
収容部65は、箱型に形成されている。詳しくは、収容部65は、底壁と、底壁の周囲に設けられた4つの側壁とを有する。底壁は、矩形の平板状に形成されている。側壁は、底壁の周囲の4つの辺のそれぞれに設けられている。各側壁は、厚み方向Tと略平行な平板状に形成されている。尚、底壁及び側壁は、湾曲した板状であってもよい。
ポケット部35は、第2シート6の収容部65と、第2シート6の仕切り部66に接合されて収容部65を覆う第1シート5とによって形成される。具体的には、第1シート5の収容部55と第2シート6の収容部65とは対向し、第1シート5の仕切り部56と第2シート6の仕切り部66とは対向して接合される。ポケット部35は、第1シート5の収容部55と第2シート6の収容部65とによって形成されている。
複数のポケット部35は、外装パック3の長手方向、つまり長さ方向Lに沿って並んで配置されている。外装パック3の長さ方向Lの中央に位置するポケット部35の幅方向Wの長さは、外装パック3の長さ方向Lの両端に位置するポケット部35の幅方向Wの長さよりも長い。各ポケット部35の幅方向Wの長さとは、例えば、各ポケット部35の幅方向Wの最大値である。詳しくは、複数のポケット部35の幅方向Wの長さは、長さ方向Lの両端に位置するポケット部35から長さ方向Lの中央に位置するポケット部35に向かって順に長くなっている。
外装パック3の長さ方向Lの中央の幅方向Wの長さは、外装パック3の長さ方向Lの両端の幅方向Wの長さよりも長い。詳しくは、外装パック3の幅方向Wの長さは、長さ方向Lの両端から長さ方向Lの中央に向かって順に長くなっている。言い換えると、冷却具100の正面から見て、外装パック3の第1シート5の第1端縁51側の部分は凸状であり、外装パック3の第1シート5の第2端縁52側の部分は直線状である。
第1シート5は、複数の仕切り部56を有する。この例では、第1シート5は5つの仕切り部56を有する。各仕切り部56は、外装パック3の幅方向Wの両端に渡って幅方向Wに沿って延びている。複数の仕切り部56は、長さ方向Lに沿って並んで配置されている。
詳しくは、図6に示すように、仕切り部56は、隣り合う収容部55の一方を区画する第1壁57と、隣り合う収容部55の他方を区画する第2壁58と、第1壁57と第2壁58とを連結する連結部59とを含む。連結部59と第1壁57との交差部分と連結部59と第2壁58との交差部分とは、それぞれ、仕切り部56の稜70を形成する。
第1壁57及び第2壁58のそれぞれは、仕切り部56の一部であるが、収容部55の一部でもある。詳しくは、第1壁57及び第2壁58のそれぞれは、収容部55の側壁を構成する。第1壁57及び第2壁58のそれぞれは、厚み方向Tと略平行な平板状に形成されている。第1壁57と第2壁58とは、長さ方向Lに対向している。第1壁57と第2壁58とは、長さ方向Lにおいて互いに離間している。第1壁57と第2壁58との間には、第2シート6とは反対側に向かって開口する隙間が形成されている。
連結部59は、第1壁57のうちの第2シート6側の端部と、第2壁58のうちの第2シート6側の端部とを互いに連結している。連結部59の一方の端部と第1壁57の端部とは、交差して交差部分を形成する。連結部59の他方の端部と第2壁58の端部とは、交差して交差部分を形成する。連結部59は、厚み方向Tと略垂直な平板状に形成されている。連結部59のうち厚み方向Tの一方の面は、第2シート6に沿い、第2シート6に接合されている。
図7は、図6の一部の拡大断面図である。図7では、便宜上ハッチングを付さずに描いている。第1シート5のうち稜70を形成する部分71(以下、稜形成部分71とも称する)の厚みtaは、第1シート5のうち当該部分71を除く連結部59の厚みtbよりも薄い。
稜形成部分71の厚みtaは、稜形成部分71の厚みの最小値である。厚みta,tbは、第1シート5の厚み方向の大きさである。詳しくは、稜形成部分71の第2シート6側の面には、切欠き溝が形成されている。切欠き溝は幅方向Wに延びている。切欠き溝が稜70に相当する。稜形成部分71の厚みtaは、切欠き溝が形成された部分の厚みであり、稜形成部分71は、仕切り部56の他の部分よりも薄い薄肉部である。尚、稜形成部分71の第2シート6とは反対側の面に切欠き溝を形成してもよい。
連結部59の厚みtbは、この例では、連結部59の長さ方向L(外装パック3の長手方向)の中央部59aの厚みtbである。尚、連結部59の厚みtbは、連結部59の平均厚みであってもよい。
第2シート6は、複数の仕切り部66を有する。この例では、第2シート6は5つの仕切り部66を有する。各仕切り部66は、外装パック3の幅方向Wの両端に渡って幅方向Wに沿って延びている。複数の仕切り部66は、長さ方向Lに沿って並んで配置されている。
仕切り部66は、隣り合う収容部65の一方を区画する第1壁67と、隣り合う収容部65の他方を区画する第2壁68と、第1壁67と第2壁68とを連結する連結部69とを含む。連結部69と第1壁67との交差部分と連結部69と第2壁68との交差部分とは、それぞれ、仕切り部66の稜80を形成する。
第1壁67及び第2壁68のそれぞれは、仕切り部66の一部であるが、収容部65の一部でもある。詳しくは、第1壁67及び第2壁68のそれぞれは、収容部65の側壁を構成する。第1壁67及び第2壁68のそれぞれは、厚み方向Tと略平行な平板状に形成されている。第1壁67と第2壁68とは、長さ方向Lに対向している。第1壁67と第2壁68とは、長さ方向Lにおいて互いに離間している。第1壁67と第2壁68との間には、第1シート5とは反対側に向かって開口する隙間が形成されている。
連結部69は、第1壁67のうちの第1シート5側の端部と、第2壁68のうちの第1シート5側の端部とを互いに連結している。連結部69の一方の端部と第1壁67の端部とは、交差して交差部分を形成する。連結部69の他方の端部と第2壁68の端部とは、交差して交差部分を形成する。連結部69は、厚み方向Tと略垂直な平板状に形成されている。連結部69のうち厚み方向Tの一方の面は、第1シート5に沿い、第1シート5に接合されている。
第2シート6のうち稜80を形成する部分81(以下、稜形成部分81とも称する)の厚みtaは、第2シート6のうち当該部分81を除く連結部69の厚みtbよりも薄い。
稜形成部分81の厚みtaは、稜形成部分81の厚みの最小値である。厚みta,tbは、第2シート6の厚み方向の大きさである。詳しくは、稜形成部分81の第1シート5側の面には、切欠き溝が形成されている。切欠き溝は幅方向Wに延びている。切欠き溝が稜80に相当する。稜形成部分81の厚みtaは、切欠き溝が形成された部分の厚みであり、稜形成部分81は、仕切り部66の他の部分よりも薄い薄肉部である。尚、稜形成部分81の第1シート5とは反対側の面に切欠き溝を形成してもよい。
連結部69の厚みtbは、この例では、連結部69の長さ方向L(外装パック3の長手方向)の中央部69aの厚みtbである。尚、連結部69の厚みtbは、連結部69の平均厚みであってもよい。
外装パック3は、第1シート5の仕切り部56と第2シート6の仕切り部66とが接合されて形成される複数の仕切り部36を有する。各仕切り部36は、外装パック3の折り曲げ可能な部分であり、冷却具100の曲げヒンジとして機能する。
外装パック3の仕切り部36は、第1シート5の仕切り部56及び第2シート6の仕切り部66のそれぞれの厚み方向に対向する部分同士が接合されることによって形成される。詳しくは、外装パック3の仕切り部36は、第1シート5の仕切り部56の連結部59及び第2シート6の仕切り部66の連結部69のそれぞれの対向する部分同士が接合されることによって形成される。
第1シート5の仕切り部56の少なくとも一部と第2シート6の仕切り部66の少なくとも一部とは、互いに接合されている。具体的には、第1シート5の仕切り部56の連結部59と第2シート6の仕切り部66の連結部69とは、幅方向Wに沿って部分的に接合されている。つまり、外装パック3の仕切り部36は、幅方向Wに沿って部分的に、仕切り部56と仕切り部66とが接合されていない空間を有する。これにより、仕切り部36の空間を介して隣り合うポケット部35が連通する。従って、ポケット部35に収容される保冷剤2が仕切り部36の空間に進入することができる。尚、仕切り部56と仕切り部66とは、幅方向Wの全長に渡って接合されていてもよい。つまり、仕切り部36は、仕切り部56と仕切り部66とが接合されていない空間を設けなくてもよい。これにより、各ポケット部35を密閉することができる。
第1把持部11及び第2把持部12は、それぞれ、ユーザが把持する部分である。第1把持部11及び第2把持部12は、外装パック3の長手方向の両端部から長さ方向Lに延びている。具体的には、第1把持部11は、第3接合部分33に接合されている。第2把持部12は、第4接合部分34に接合されている。詳しくは、第1把持部11は、第2シート6の第3端縁63に接合されている。第2把持部12は、第2シート6の第4端縁64に接合されている。
第1連結部15は、第1把持部11に貫通状に取り付けられる。第2連結部16は、第2把持部12に貫通状に取り付けられる。この例では、冷却具100は、1つの第1連結部15と2つの第2連結部16とを有する。2つの第2連結部16は、長さ方向Lに沿って並んで配置されている。
第1連結部15は、厚み方向Tの第2シート6側、つまり背面側に、係合雌部15aを有する。第2連結部16は、厚み方向Tの第1シート5側、つまり正面側に、係合雄部16aを有する。係合雌部15aと係合雄部16aとは、着脱自在に係合される。この例では、第1連結部15及び第2連結部16は、スナップボタンである。つまり、第1連結部15及び第2連結部16は、雌雄一対のボタンである。
係合雌部15aと係合雄部16aが係合されて、第1連結部15と第2連結部16は連結され、これにより、外装パック3は環状となる。第1連結部15を2つの第2連結部16の何れか一方に選択的に連結させることで、外装パック3の環状の内径を変化させることができる。
次に、冷却具100の使用方法の一例について説明する。図8は、冷却具100の使用状態を示す概略図である。ユーザUは、冷却具100を使用する場合、保冷剤2が固相の状態にある冷却具100を、対象部分としての首に装着する。
詳しくは、ユーザは、図1に示す展開状態の冷却具100を首に巻回する。このとき、ユーザは、第1シート5が首に対向し第1シート5の第1端縁51側が上方に位置するように、冷却具100を首に巻回する。
続いて、ユーザは、第1把持部11及び第2把持部12を把持して、ユーザの前方において第1把持部11と第2把持部12とを重ね合わせ、第1連結部15の係合雌部15aと第2連結部16の係合雄部16aとを係合させる。これにより、第1連結部15と第2連結部16とが連結され、冷却具100は、全体として閉じた環状となって首から離脱しない状態で首に装着される。このとき、第1連結部15を2つの第2連結部16の何れか一方に選択的に連結させることで、首の太さに対応させて外装パック3を装着することができる。
冷却具100が首に装着された状態で、保冷剤2は首から熱を吸収する。これにより、保冷剤2は融解して液相に変化していく。この場合、保冷剤2は、顕熱だけでなく潜熱も利用して首の熱を吸収するので、首は効率良く冷却される。
首に装着された冷却具100を首から取り外す場合、ユーザは、係合雌部15aと係合雄部16aとの嵌合を解除して、第1連結部15と第2連結部16とを離脱させる。
尚、使用により保冷剤2が液相になった場合、ユーザは、冷却具100を首から取り外して常温の環境下に放置しておくことで、保冷剤2を固相に変化させ、冷却可能状態に戻すことができる。冷却具100は、冷蔵庫等によって冷却されてもよい。
次に、冷却具100の製造方法について説明する。
まず、長手方向に延びる第1シート5を準備する。図9は、第2シート6に接合する前の状態の第1シート5を示す概略図である。第1シート5は、長手方向に沿って並んで配置され第1主面5a側へ突出した凸状の複数の凸部155と、第2主面5b側へ窪んで隣り合う凸部155の間を仕切る凹状の複数の凹部156とを含む。第1シート5の外周縁50は、第1シート5の鍔部に相当する。外周縁50は、第1端縁51と第2端縁52と第3端縁53と第4端縁54とを含む。
第1主面5a及び第2主面5bは、第1シート5の厚み方向の反対側に位置する。第1主面5aは、図9の紙面手前側の面であり、第2主面5bは、図9の紙面奥側の面である。
第1シート5は、複数の凸部155及び複数の凹部156を予め形成した成形品である。第1シート5は、例えば、シート成形又は射出成形により成形される。
図10は、図9のX-X線における断面図である。図10では、便宜上ハッチングを付さずに描いている。凹部156は、第1壁57と第2壁58と連結部59とを含む。連結部59と第1壁57との交差部分と連結部59と第2壁58との交差部分とは、それぞれ、凹部156の谷72を形成する。第1シート5のうち谷72を形成する部分73(以下、谷形成部分73とも称する)の厚みtaは、第1シート5のうち当該部分73を除く連結部59の厚みtbよりも薄い。谷形成部分73の第1主面5aには、切欠き溝が形成されている。切欠き溝が谷72に相当する。連結部59の厚みtbは、この例では、連結部59の長さ方向Lの中央部59aの厚みtbである。
また、長手方向に延びる第2シート6を準備する。図11は、第1シート5に接合する前の状態の第2シート6を示す概略図である。第2シート6は、長手方向に沿って並んで配置され第1主面6a側へ突出した凸状の複数の凸部165と、第2主面6b側へ窪んで隣り合う凸部165の間を仕切る凹状の複数の凹部166とを含む。第2シート6の外周縁60は、第2シート6の鍔部に相当する。外周縁60は、第1端縁61と第2端縁62と第3端縁63と第4端縁64とを含む。
第1主面6a及び第2主面6bは、第2シート6の厚み方向の反対側に位置する。第1主面6aは、図11の紙面奥側の面であり、第2主面6bは、図11の紙面手前側の面である。
第2シート6は、複数の凸部165及び複数の凹部166を予め形成した成形品である。第2シート6は、例えば、シート成形又は射出成形により成形される。
図12は、図11のXII-XII線における断面図である。図12では、便宜上ハッチングを付さずに描いている。凹部166は、第1壁67と第2壁68と連結部69とを含む。連結部69と第1壁67との交差部分と連結部69と第2壁68との交差部分とは、それぞれ、凹部166の谷82を形成する。第2シート6のうち谷82を形成する部分83(以下、谷形成部分83とも称する)の厚みtaは、第2シート6のうち当該部分83を除く連結部69の厚みtbよりも薄い。谷形成部分83の第1主面6aには、切欠き溝が形成されている。切欠き溝が谷82に相当する。連結部69の厚みtbは、この例では、連結部69の長さ方向Lの中央部69aの厚みtbである。
続いて、第1シート5の外周縁50の一部と第2シート6の外周縁60の一部とを接合して管状パック3aを形成する。図13は、第1シート5と第2シート6とを接合した状態を示す概略正面図である。図13においてハッチングを付した部分は、第1シート5と第2シート6とが接合された部分である。図14は、図13のXIV-XIV線における断面図である。図15は、図13のXV-XV線における断面図である。
具体的には、第1シート5の第2主面5bと第2シート6の第2主面6bとが対向するように第1シート5と第2シート6とを重ね合わせる。詳しくは、第1シート5の第1端縁51と第2シート6の第1端縁61とを重ね、第1シート5の第2端縁52と第2シート6の第2端縁62とを重ね、第1シート5の第3端縁53と第2シート6の第3端縁63とを重ね、第1シート5の第4端縁54と第2シート6の第4端縁64とを重ねる。また、第1シート5の凸部155と第2シート6の凸部165とを対向させ、第1シート5の凹部156と第2シート6の凹部166とを対向させる。
そして、第1シート5の第1端縁51と第2シート6の第1端縁61とを接合して第1接合部分31を形成し、第1シート5の第2端縁52と第2シート6の第2端縁62とを接合して第2接合部分32を形成し、管状パック3aを形成する。管状パック3aの長手方向の両端は、開口している。詳しくは、第1端縁51の第2主面5b側の面と第1端縁61の第2主面6b側の面とを接合し、第2端縁52の第2主面5b側の面と第2端縁62の第2主面6b側の面とを接合する。第1シート5の第3端縁53と第2シート6の第3端縁63とは接合されておらず、また、第1シート5の第4端縁54と第2シート6の第4端縁64とは接合されていない。第1シート5の第4端縁54と第2シート6の第4端縁64との間の隙間は、管状パック3aの両端の一方の開口された隙間である。第1シート5の第3端縁53と第2シート6の第3端縁63との間の隙間は、管状パック3aの両端の他方の開口された隙間である。そして、第1接合部分31及び第2接合部分32は、管状パック3aの形成時には、管状パック3aの外部に位置している。
続いて、第2シート6の第1主面6aを第1シート5に対向させるように管状パック3aを裏返して外装パック3を形成する。第1接合部分31及び第2接合部分32は、外装パック3の形成時には、外装パック3の内部に位置している。図16は、管状パック3aを裏返す前の状態を示す概略断面図である。図17は、管状パック3aを裏返した後で凸部155,165及び凹部156,166を変形させる前の状態を示す外装パック3の概略断面図である。図18は、管状パック3aを裏返した後で凸部155,165及び凹部156,166を変形させた後の状態を示す外装パック3の概略断面図である。
具体的には、図16に示すように、第1シート5の第4端縁54と第2シート6の第4端縁64との間の隙間Sを広げて、この隙間Sから第1シート5の第3端縁53と第2シート6の第3端縁63とを矢印に示す方向に引き出す。詳しくは、第3端縁53及び第3端縁63を、長さ方向Lに沿って凹部156と凹部166との間の隙間を通過させて、第4端縁54と第4端縁64との間の隙間Sから引き出す。これにより、図17に示すように、第1シート5の第1主面5aと第2シート6の第1主面6aとが対向して、管状パック3aを裏返すことができる。図17では、凸部155,165及び凹部156,166形状を潰れないように描いているが、実際は、凸部155,165及び凹部156,166形状は僅かに潰れ、第3端縁53と第3端縁63とは接近し、第4端縁54と第2シート6の第4端縁64とは接近している。管状パック3aを裏返すことにより、第1接合部分31及び第2接合部分32は、図3に示すように外装パック3の内部に位置する。つまり、第1接合部分31及び第2接合部分32は、折り曲げられた状態で外装パック3の内部に配置される。
図18に示すように、管状パック3aを裏返した後、第1シート5の凸部155を第2主面5b側へ窪んだ状態に変形させて凹状の収容部55を形成し、第1シート5の凹部156を第1主面5a側へ突出した状態に変形させて凸状の仕切り部56を形成する。このとき、凹部156の谷72には薄肉の谷形成部分73が設けられているため、谷形成部分73を折り曲げの起点として凸部155及び凹部156のそれぞれの姿勢を容易に変形させることができる。凹部156の姿勢を変形させて仕切り部56を形成することで、凹部156の谷72は仕切り部56の稜70を形成する。尚、管状パック3aを裏返しながら凸部155及び凹部156を変形させてもよい。
また、管状パック3aを裏返した後、第2シート6の凸部165を第2主面6b側へ窪んだ状態に変形させて凹状の収容部65を形成し、第2シート6の凹部166を第1主面6a側へ突出した状態に変形させて凸状の仕切り部66を形成する。このとき、凹部166の谷82には薄肉の谷形成部分83が設けられているため、谷形成部分83を折り曲げの起点として凸部165及び凹部166のそれぞれの姿勢を容易に変形させることができる。凹部166の姿勢を変形させて仕切り部66を形成することで、凹部166の谷82は仕切り部66の稜80を形成する。尚、管状パック3aを裏返しながら凸部165及び凹部166を変形させてもよい。
続いて、隙間Sから外装パック3の内部に保冷剤2を充填して、複数の収容部65のそれぞれに保冷剤2を収容する。具体的には、保冷剤2を外装パック3の内部に充填してから、第1シート5の仕切り部56と第2シート6の仕切り部66とを接合して、複数の収容部55,65のそれぞれに保冷剤2を収容する。尚、各仕切り部56,66を部分的に接合した後に、保冷剤2を外装パック3の内部に充填してもよい。隙間Sに代えて、或いは、隙間Sに加えて、第1シート5の第3端縁53と第2シート6の第3端縁63との間の隙間から保冷剤2を充填してもよい。
続いて、第1シート5の第4端縁54と第2シート6の第4端縁64とを接合して隙間Sを閉じる。また、第1シート5の第3端縁53と第2シート6の第3端縁63とを接合する。詳しくは、第3端縁53の第1主面5a側の面と第3端縁63の第1主面6a側の面とを接合し、第4端縁54の第1主面5a側の面と第4端縁64の第1主面6a側の面とを接合する。このとき、互いに接合された第3端縁53及び第3端縁63(第3接合部分33)は、外装パック3の外部に位置している。また、互いに接合された第4端縁54及び第4端縁64(第4接合部分34)は、外装パック3の外部に位置している。尚、保冷剤2を外装パック3の内部に充填する前に、第1シート5の第3端縁53と第2シート6の第3端縁63とを接合してもよい。
続いて、図1に示すように、外装パック3の長手方向の両端部のそれぞれに第1把持部11及び第2把持部12を取り付ける。具体的には、第1把持部11を第2シート6の第3端縁63に接合し、第2把持部12を第2シート6の第4端縁64に接合する。以上により冷却具100を製造する。
前述の冷却具100によれば、第1シート5の第1端縁51と第2シート6の第1端縁61とが接合された第1接合部分31と、第1シート5の第2端縁52と第2シート6の第2端縁62とが接合された第2接合部分32とは、外装パック3の内部に位置しているので、冷却具100を外装パック3の長手方向に沿って生体の対象部分の周囲に巻き付けるように装着する場合、第1接合部分31と第2接合部分32とは生体の対象部分の周囲に接触しない。従って、冷却具100の生体への肌当たりが良好となる。
ここで、第1接合部分31及び第2接合部分32を外装パック3の内部に配置するには、例えば、第1シート5の第1端縁51と第2シート6の第1端縁61とを接合し、且つ、第1シート5の第2端縁52と第2シート6の第2端縁62とを接合して管状パック3aを形成し、その後、第1シート5の外周縁50のうちの第2シート6と接合されていない部分と第2シート6の外周縁60のうちの第1シート5と接合されていない部分との間の隙間から管状パック3aを裏返して、互いに接合された第1端縁51及び第1端縁61と互いに接合された第2端縁52及び第2端縁62とを外装パック3の内部に配置する。このように、第1接合部分31及び第2接合部分32を外装パック3の内部に容易に配置することができる。
この場合、第2シート6は長手方向に沿って交互に並んで配置された凹状の複数の収容部65及び凸状の複数の仕切り部66を有するため、管状パック3aを裏返す前の状態として、収容部65を第2シート6の一方の主面側へ窪んだ状態とし、且つ、仕切り部66を第2シート6の他方の主面側へ突出した状態とし、管状パック3aを裏返す際に、収容部65を第2シート6の他方の主面側へ窪んだ状態に変形させ、且つ、仕切り部66を第2シート6の一方の主面側へ突出した状態に変形させることができる。このように、管状パック3aを裏返して第1接合部分31及び第2接合部分32を外装パック3の内部に配置する場合において、収容部65及び仕切り部66のそれぞれの凹凸を反転させることで、収容部65及び仕切り部66の姿勢を管状パック3aの裏返しに対応させることができる。従って、管状パック3aを裏返しても、収容部65及び仕切り部66の姿勢を維持でき、各収容部65に適切な量の保冷剤2を収容できる。
同様に、第1シート5は長手方向に沿って交互に並んで配置された凹状の複数の収容部55及び凸状の複数の仕切り部56を有するため、管状パック3aを裏返す前の状態として、収容部55を第1シート5の一方の主面側へ窪んだ状態とし、且つ、仕切り部56を第1シート5の他方の主面側へ突出した状態とし、管状パック3aを裏返す際に、収容部55を第1シート5の他方の主面側へ窪んだ状態に変形させ、且つ、仕切り部56を第1シート5の一方の主面側へ突出した状態に変形させることができる。このように、管状パック3aを裏返して第1接合部分31及び第2接合部分32を外装パック3の内部に配置する場合において、収容部55及び仕切り部56のそれぞれの凹凸を反転させることで、収容部55及び仕切り部56の姿勢を管状パック3aの裏返しに対応させることができる。従って、管状パック3aを裏返しても、収容部55及び仕切り部56の姿勢を維持でき、各収容部55に適切な量の保冷剤2を収容できる。
また、第2シート6において、稜形成部分81の厚みtaは、連結部69の厚みtbよりも薄いので、管状パック3aを裏返して第1接合部分31及び第2接合部分32を外装パック3の内部に配置する場合において、厚みの薄い稜形成部分81を折り曲げの起点として、収容部65及び仕切り部66のそれぞれの凹凸を容易に反転させることができる。従って、収容部65及び仕切り部66の姿勢を管状パック3aの裏返しにより対応させることができる。
また、第1シート5において、稜形成部分71の厚みtaは、連結部59の厚みtbよりも薄いので、管状パック3aを裏返して第1接合部分31及び第2接合部分32を外装パック3の内部に配置する場合において、厚みの薄い稜形成部分71を折り曲げの起点として、収容部55及び仕切り部56のそれぞれの凹凸を容易に反転させることができる。従って、収容部55及び仕切り部56の姿勢を管状パック3aの裏返しにより対応させることができる。
また、第3接合部分33と第4接合部分34とは外装パック3の外部に位置しているので、外装パック3の長手方向に沿って冷却具100を生体の対象部分の周囲に巻き付けるように装着する場合、第3接合部分33と第4接合部分34とを重ね合わせることができる。これにより、第3接合部分33及び第4接合部分34のそれぞれに第1連結部15及び第2連結部16を取り付けて、第3接合部分33と第4接合部分34とを第1連結部15及び第2連結部16により連結することができる。従って、生体の対象部分に冷却具100を外れないように装着することができる。
また、第1シート5の収容部55と第2シート6の収容部65とは対向し、第1シート5の仕切り部56と第2シート6の仕切り部66とは対向して接合されているので、ポケット部35は、第1シート5の収容部55と第2シート6の収容部65とによって形成される。これにより、ポケット部35の体積を大きくすることができ、ポケット部35に収容される保冷剤2の体積を大きくすることができて、冷却具100の冷却効果が増大する。
また、各ポケット部35は、仕切り部56と仕切り部66との接合により区画されているので、各ポケット部35に収容された保冷剤2は、各ポケット部35から移動し難くなる。従って、各ポケット部35の保冷剤2の分量が安定し、各ポケット部35に適切な分量の保冷剤2を収容することができる。
また、複数のポケット部35は、外装パック3の長手方向に沿って並んで配置されている。これにより、外装パック3の長手方向に沿って冷却具100を生体の対象部分の周囲に巻き付けるように装着する場合、複数のポケット部35は、生体の対象部分の周囲に沿って並んで配置される。従って、保冷剤2が生体の対象部分の周囲を効率的に冷却することができる。
また、外装パック3の長さ方向Lの中央に位置するポケット部35の幅方向Wの長さは、外装パック3の長さ方向Lの両端に位置するポケット部35の幅方向Wの長さよりも長い。これにより、冷却具100を首に巻いて装着した場合、長さ方向Lの中央に位置するポケット部35に収容される幅方向Wの長さの長い保冷剤2により首から後頭部にかけて効率よく冷却することができる。一方、長さ方向Lの両端に位置するポケット部35に収容される幅方向Wの長さの短い保冷剤2により顔を冷却しないで首を主に冷却するこができる。
前述の冷却具100の製造方法によれば、第1接合部分31及び第2接合部分32は、管状パック3aの形成時には、管状パック3aの外部に位置し、外装パック3の形成時には、外装パック3の内部に位置するので、管状パック3aを裏返すことで第1接合部分31及び第2接合部分32を外装パック3の内部に容易に配置することができる。
また、管状パック3aを裏返し、第2シート6の凸部165を第2主面6b側へ窪んだ状態に変形させて凹状の収容部65を形成し、第2シート6の凹部166を第1主面6a側へ突出した状態に変形させて凸状の仕切り部66を形成するので、凸部165及び凹部166のそれぞれの凹凸を反転させて収容部65及び仕切り部66の形成を管状パック3aの裏返しに対応させることができる。
同様に、管状パック3aを裏返し、第1シート5の凸部155を第2主面5b側へ窪んだ状態に変形させて凹状の収容部55を形成し、第1シート5の凹部156を第1主面5a側へ突出した状態に変形させて凸状の仕切り部56を形成するので、凸部155及び凹部156のそれぞれの凹凸を反転させて収容部55及び仕切り部56の形成を管状パック3aの裏返しに対応させることができる。
従って、生体への肌当たりが良好となる冷却具100を容易に製造することができる。
また、第2シート6は、予め形成された複数の凸部165(収容部65)及び複数の凹部166(仕切り部66)を有するので、各収容部65に適切な量の保冷剤2を収容することができる。詳しくは、平坦な2枚のシートを用いて外装パックを形成する場合、外装パックに保冷剤を収容した後で、外装パックに複数のポケット部を形成するように隣り合うポケット部の間で2枚のシートを接合する。このとき、保冷剤が外装パックの内部を自由に移動する虞があり、各ポケット部に適切な量の保冷剤を収容することができない。そこで、予め凸部165及び凹部166が形成された第2シート6を用いることで、各収容部65に適切な量の保冷剤2が収容された状態で仕切り部66において第1シート5と第2シート6を接合することができる。これにより、各ポケット部35に適切な量の保冷剤2が収容された冷却具100を製造することができる。
同様に、第1シート5は、予め形成された複数の凸部155(収容部55)及び複数の凹部156(仕切り部56)を有するので、各収容部55に適切な量の保冷剤2を収容することができる。
《その他の実施形態》
以上のように、本出願において開示する技術の例示として、前記実施形態を説明した。しかしながら、本開示における技術は、これに限定されず、適宜、変更、置き換え、付加、省略などを行った実施の形態にも適用可能である。また、前記実施形態で説明した各構成要素を組み合わせて、新たな実施の形態とすることも可能である。また、添付図面及び詳細な説明に記載された構成要素の中には、課題解決のために必須な構成要素だけでなく、前記技術を例示するために、課題解決のためには必須でない構成要素も含まれ得る。そのため、それらの必須ではない構成要素が添付図面や詳細な説明に記載されていることをもって、直ちに、それらの必須ではない構成要素が必須であるとの認定をするべきではない。
例えば、ポケット部35及び仕切り部36の数量は増減してもよい。つまり、収容部55,65及び仕切り部56,66の数量は増減してもよい。また、複数のポケット部35は、長さ方向Lに加えて、幅方向Wに沿って並んで配置されていてもよい。
第1接合部分31と第2接合部分32とは、外装パック3の内部に位置しているが、さらに、第3接合部分33又は第4接合部分34が、外装パック3の内部に位置してもよい。つまり、第1シート5の外周縁50の一部と第2シート6の外周縁60の一部とが接合された接合部分が、外装パック3の内部に位置していればよい。
第1シート5は、収容部55及び仕切り部56を含まないで、外周縁50を含む平坦状であってもよい。この場合、ポケット部35は、第2シート6の収容部65と、第2シート6の仕切り部66に接合されて収容部65を覆う第1シート5とによって形成される。
第1シート5が正面側に配置され第2シート6が背面側に配置されているが、第2シート6が正面側に配置され第1シート5が背面側に配置されてもよい。言い換えると、冷却具100を環状にして人体に取り付ける際、第2シート6が環状の内側、つまり人体側に配置され、第1シート5が環状の外側に配置されてもよい。
第1シート5及び第2シート6は帯状であるが、帯状以外の多角形、長円形、楕円形などであってもよい。例えば、第1シート5の外周縁50は、第3端縁及び第4端縁を含まないで、円弧状の第1端縁及び第2端縁から構成されていてもよく、この場合、第1端縁の両端と第2端縁の両端とが接続される。
第1シート5において、稜形成部分71の厚みtaは、連結部59の厚みtbよりも薄いが、厚みtaはの厚みtbと同じであってもよい。第2シート6において、稜形成部分81の厚みtaは、連結部69の厚みtbよりも薄いが、厚みtaは厚みtbと同じであってもよい。
第1シート5の収容部55及び第2シート6の収容部65は、箱型に形成されているが、半球状などの他の形状に形成されていてもよい。例えば、収容部55が半球状に形成されている場合、収容部55は、底壁を設けないで湾曲した側壁のみを有していてもよい。
第1把持部11及び第2把持部12は省略してもよく、外装パック3の長手方向の両端のそれぞれに第1連結部15及び第2連結部16を取り付けてもよい。具体的には、第3接合部分33に第1連結部15を取り付け、第4接合部分34に第2連結部16を取り付けてもよい。
第1連結部15及び第2連結部16は、スナップボタンに限定されない。例えば、第1連結部15及び第2連結部16は、面ファスナ等の他の留め具であってもよい。また、第1連結部15及び第2連結部16は省略してもよい。
第1シート5と第2シート6との接合は、溶着によって実現されるものに限定されない。第1シート5と第2シート6との接合は、例えば、接着によって実現されてもよい。
保冷剤2の材質は限定されない。保冷剤2の材質としては、熱を吸収して固相から液相に変化する限り、任意の材質を採用し得る。保冷剤2の凝固点は、任意に設定し得る。ただし、保冷剤2は、保冷剤2の融解熱を利用して生体を冷却するので、保冷剤2の凝固点は、対象となる生体(例えば、人)の温度よりも低いことが好ましい。尚、保冷剤2は夏に使用されることが多いので、常温下で保冷剤2を凝固させる観点からは、保冷剤2の凝固点は、夏の平均的な外気温よりも高いことが好ましい。保冷剤2の凝固点が常温に設定されていることは、冷却具100を冷蔵庫等で冷却することを排除するものではない。当然ながら、冷却具100を冷蔵庫等で冷却することによって、冷却具100の冷却効果をさらに向上させることができる。
[態様]
上述した実施形態は、以下の態様の具体例である。
(態様1)
冷却具100は、熱を吸収して固相から液相に変化する保冷剤2と、前記保冷剤2を収容し長手方向に延びる外装パック3とを備え、前記外装パック3は、第1シート5と、前記第1シート5に対向して前記第1シート5に接合された第2シート6とを有し、前記第2シート6は、前記長手方向に沿って交互に並んで配置された凹状の複数の収容部65及び凸状の複数の仕切り部66を有し、前記収容部65は、前記第1シート5とは反対の方へ窪んで前記保冷剤2を収容し、前記仕切り部66は、前記第1シート5の方へ突出して隣り合う前記収容部65の間を仕切り、前記第1シート5の外周縁50は、前記長手方向に沿って延び互いに対向する第1端縁51及び第2端縁52を含み、前記第2シート6の外周縁60は、前記長手方向に沿って延び互いに対向する第1端縁61及び第2端縁62を含み、前記第1シート5の前記第1端縁51と前記第2シート6の前記第1端縁61とが接合された第1接合部分31と、前記第1シート5の前記第2端縁52と前記第2シート6の前記第2端縁62とが接合された第2接合部分32とは、前記外装パック3の内部に位置している。
この構成によれば、第1シート5の第1端縁51と第2シート6の第1端縁61とが接合された第1接合部分31と、第1シート5の第2端縁52と第2シート6の第2端縁62とが接合された第2接合部分32とは、外装パック3の内部に位置しているので、冷却具100を外装パック3の長手方向に沿って生体の対象部分の周囲に巻き付けるように装着する場合、第1接合部分31と第2接合部分32とは生体の対象部分の周囲に接触しない。従って、冷却具100の生体への肌当たりが良好となる。
(態様2)
態様1に記載の冷却具100において、
前記仕切り部66は、隣り合う前記収容部65の一方を区画する第1壁67と、隣り合う前記収容部65の他方を区画する第2壁68と、前記第1壁67と前記第2壁68とを連結する連結部69とを含み、前記連結部69と前記第1壁67との交差部分と前記連結部69と前記第2壁68との交差部分とは、それぞれ、前記仕切り部66の稜80を形成し、前記第2シート6のうち前記稜80を形成する部分81の厚みtaは、前記第2シート6のうち当該部分81を除く前記連結部69の厚みtbよりも薄い。
この構成によれば、稜形成部分81の厚みtaは、連結部69の厚みtbよりも薄いので、管状パック3aを裏返して第1接合部分31及び第2接合部分32を外装パック3の内部に配置する場合において、厚みの薄い稜形成部分81を折り曲げの起点として、収容部65及び仕切り部66のそれぞれの凹凸を容易に反転させることができる。従って、管状パック3aの裏返しにより対応させることができる。
(態様3)
態様1又は態様2に記載の冷却具100において、
前記第1シート5の前記外周縁50は、前記第1シート5の前記第1端縁51及び前記第2端縁52に接続され互いに対向する第3端縁53及び第4端縁54を含み、前記第2シート6の前記外周縁60は、前記第2シート6の前記第1端縁61及び前記第2端縁62に接続され互いに対向する第3端縁63及び第4端縁64を含み、前記第1シート5の前記第3端縁53と前記第2シート6の前記第3端縁63とが接合された第3接合部分33と、前記第1シート5の前記第4端縁54と前記第2シート6の前記第4端縁64とが接合された第4接合部分34とは、前記外装パック3の外部に位置している。
この構成によれば、第3接合部分33と第4接合部分34とは外装パック3の外部に位置しているので、外装パック3の長手方向に沿って冷却具100を生体の対象部分の周囲に巻き付けるように装着する場合、第3接合部分33と第4接合部分34とを重ね合わせることができる。これにより、第3接合部分33及び第4接合部分34のそれぞれに留め具等の連結部材を取り付けて、第3接合部分33と第4接合部分34とを連結部材により連結することができる。従って、生体の対象部分に冷却具100を外れないように装着することができる。
(態様4)
態様1乃至態様3の何れか1つに記載の冷却具100において、
前記第1シート5は、前記第1シート5の前記長手方向に沿って交互に並んで配置された凹状の複数の収容部55及び凸状の複数の仕切り部56を有し、前記第1シート5の前記収容部55は、前記第2シート6とは反対の方へ窪んで前記保冷剤2を収容し、前記第1シート5の前記仕切り部56は、前記第2シート6の方へ突出して前記第1シート5の隣り合う前記収容部55の間を仕切り、前記第1シート5の前記収容部55と前記第2シート6の前記収容部65とは対向し、前記第1シート5の前記仕切り部56と前記第2シート6の前記仕切り部66とは対向して接合されている。
この構成によれば、第1シート5の収容部55と第2シート6の収容部65とは対向し、第1シート5の仕切り部56と第2シート6の仕切り部66とは対向して接合されているので、ポケット部35は、第1シート5の収容部55と第2シート6の収容部65とによって形成される。これにより、ポケット部35の体積を大きくすることができ、ポケット部35に収容される保冷剤2の体積を大きくすることができて、冷却具100の冷却効果が増大する。
(態様5)
冷却具100の製造方法は、長手方向に延びる第1シート5を準備することと、長手方向に延びる第2シート6であって、前記長手方向に沿って並んで配置され第1主面6a側へ突出した凸状の複数の凸部165と、第2主面6b側へ窪んで隣り合う前記凸部165の間を仕切る凹状の複数の凹部166とを含む前記第2シート6を準備することと、前記第2シート6の前記第2主面6bを前記第1シート5に対向させて、前記第1シート5と前記第2シート6とを重ね合わせることと、前記第1シート5の外周縁50のうちの前記長手方向に沿って延びる第1端縁51と前記第2シート6の外周縁60のうちの前記長手方向に沿って延びる第1端縁61とを接合して第1接合部分31を形成し、且つ、前記第1シート5の外周縁50のうちの前記長手方向に沿って延び前記第1シート5の前記第1端縁51に対向する第2端縁52と前記第2シート6の外周縁60のうちの前記長手方向に沿って延び前記第2シート6の前記第1端縁61に対向する第2端縁62とを接合して第2接合部分32を形成し、前記長手方向の両端が開口する管状パック3aを形成することと、前記第2シート6の前記第1主面6aを前記第1シート5に対向させるように前記管状パック3aを裏返し、前記凸部165を前記第2主面6b側へ窪んだ状態に変形させて凹状の収容部65を形成し、前記凹部166を前記第1主面6a側へ突出した状態に変形させて凸状の仕切り部66を形成して、外装パック3を形成することと、前記両端の少なくとも一方の開口された隙間Sから前記外装パック3の内部に保冷剤2を充填して、前記複数の収容部65のそれぞれに前記保冷剤2を収容することとを備え、前記第1接合部分31及び前記第2接合部分32は、前記管状パック3aの形成時には、前記管状パック3aの外部に位置し、前記外装パック3の形成時には、前記外装パック3の内部に位置する。
この構成によれば、第1接合部分31及び第2接合部分32は、管状パック3aの形成時には、管状パック3aの外部に位置し、外装パック3の形成時には、外装パック3の内部に位置するので、管状パック3aを裏返すことで第1接合部分31及び第2接合部分32を外装パック3の内部に容易に配置することができる。
また、管状パック3aを裏返し、第2シート6の凸部165を第2主面6b側へ窪んだ状態に変形させて凹状の収容部65を形成し、第2シート6の凹部166を第1主面6a側へ突出した状態に変形させて凸状の仕切り部66を形成するので、凸部165及び凹部166のそれぞれの凹凸を反転させて収容部65及び仕切り部66の形成を管状パック3aの裏返しに対応させることができる。
従って、生体への肌当たりが良好となる冷却具100を容易に製造することができる。
100 冷却具
2 保冷剤
3 外装パック
3a 管状パック
31 第1接合部分
32 第2接合部分
33 第3接合部分
34 第4接合部分
5 第1シート
50 外周縁
51 第1端縁
52 第2端縁
53 第3端縁
54 第4端縁
55 収容部
56 仕切り部
6 第2シート
6a 第1主面
6b 第2主面
60 外周縁
61 第1端縁
62 第2端縁
63 第3端縁
64 第4端縁
65 収容部
66 仕切り部
67 第1壁
68 第2壁
69 連結部
80 稜
81 稜形成部分
165 凸部
166 凹部
ta 稜形成部分の厚み
tb 連結部の厚み
S 隙間

Claims (4)

  1. 熱を吸収して固相から液相に変化する保冷剤と、
    前記保冷剤を収容し長手方向に延びる外装パックとを備え、
    前記外装パックは、第1シートと、前記第1シートに対向して前記第1シートに接合された第2シートとを有し、
    前記第2シートは、前記長手方向に沿って交互に並んで配置された凹状の複数の収容部及び凸状の複数の仕切り部を有し、
    前記収容部は、前記第1シートとは反対の方へ窪んで前記保冷剤を収容し、
    前記仕切り部は、前記第1シートの方へ突出して隣り合う前記収容部の間を仕切り、
    前記第1シートの外周縁は、前記長手方向に沿って延び互いに対向する第1端縁及び第2端縁を含み、
    前記第2シートの外周縁は、前記長手方向に沿って延び互いに対向する第1端縁及び第2端縁を含み、
    前記第1シートの前記第1端縁と前記第2シートの前記第1端縁とが接合された第1接合部分と、前記第1シートの前記第2端縁と前記第2シートの前記第2端縁とが接合された第2接合部分とは、前記外装パックの内部に位置し、
    前記仕切り部は、隣り合う前記収容部の一方を区画する第1壁と、隣り合う前記収容部の他方を区画する第2壁と、前記第1壁と前記第2壁とを連結する連結部とを含み、
    前記連結部と前記第1壁との交差部分と前記連結部と前記第2壁との交差部分とは、それぞれ、前記仕切り部の稜を形成し、
    前記第2シートのうち前記稜を形成する部分の厚みは、前記第2シートのうち当該部分を除く前記連結部の厚みよりも薄い冷却具。
  2. 請求項1に記載の冷却具において、
    前記第1シートの前記外周縁は、前記第1シートの前記第1端縁及び前記第2端縁に接続され互いに対向する第3端縁及び第4端縁を含み、
    前記第2シートの前記外周縁は、前記第2シートの前記第1端縁及び前記第2端縁に接続され互いに対向する第3端縁及び第4端縁を含み、
    前記第1シートの前記第3端縁と前記第2シートの前記第3端縁とが接合された第3接合部分と、前記第1シートの前記第4端縁と前記第2シートの前記第4端縁とが接合された第4接合部分とは、前記外装パックの外部に位置している冷却具。
  3. 請求項1に記載の冷却具において、
    前記第1シートは、前記第1シートの前記長手方向に沿って交互に並んで配置された凹状の複数の収容部及び凸状の複数の仕切り部を有し、
    前記第1シートの前記収容部は、前記第2シートとは反対の方へ窪んで前記保冷剤を収容し、
    前記第1シートの前記仕切り部は、前記第2シートの方へ突出して前記第1シートの隣り合う前記収容部の間を仕切り、
    前記第1シートの前記収容部と前記第2シートの前記収容部とは対向し、前記第1シートの前記仕切り部と前記第2シートの前記仕切り部とは対向して接合されている冷却具。
  4. 長手方向に延びる第1シートを準備することと、
    長手方向に延びる第2シートであって、前記長手方向に沿って並んで配置され第1主面側へ突出した凸状の複数の凸部と、第2主面側へ窪んで隣り合う前記凸部の間を仕切る凹状の複数の凹部とを含み、前記凹部は、第1壁と第2壁と連結部とを含み、前記連結部と前記第1壁との交差部分と前記連結部と前記第2壁との交差部分とは、それぞれ、前記凹部の谷を形成し、前記第2シートのうち前記谷を形成する部分の厚みは、前記第2シートのうち当該部分を除く前記連結部の厚みよりも薄い前記第2シートを準備することと、
    前記第2シートの前記第2主面を前記第1シートに対向させて、前記第1シートと前記第2シートとを重ね合わせることと、
    前記第1シートの外周縁のうちの前記長手方向に沿って延びる第1端縁と前記第2シートの外周縁のうちの前記長手方向に沿って延びる第1端縁とを接合して第1接合部分を形成し、且つ、前記第1シートの外周縁のうちの前記長手方向に沿って延び前記第1シートの前記第1端縁に対向する第2端縁と前記第2シートの外周縁のうちの前記長手方向に沿って延び前記第2シートの前記第1端縁に対向する第2端縁とを接合して第2接合部分を形成し、前記長手方向の両端が開口する管状パックを形成することと、
    前記第2シートの前記第1主面を前記第1シートに対向させるように前記管状パックを裏返し、前記第2シートのうち前記谷を形成する部分を折り曲げの起点として、前記凸部を前記第2主面側へ窪んだ状態に変形させて凹状の収容部を形成し、前記凹部を前記第1主面側へ突出した状態に変形させて凸状の仕切り部を形成して、外装パックを形成することと、
    前記両端の少なくとも一方の開口された隙間から前記外装パックの内部に保冷剤を充填して、複数の前記収容部のそれぞれに前記保冷剤を収容することとを備え、
    前記第1接合部分及び前記第2接合部分は、前記管状パックの形成時には、前記管状パックの外部に位置し、前記外装パックの形成時には、前記外装パックの内部に位置し、
    前記仕切り部は、隣り合う前記収容部の一方を区画する第1壁と、隣り合う前記収容部の他方を区画する第2壁と、前記第1壁と前記第2壁とを連結する連結部とを含み、前記連結部と前記第1壁との交差部分と前記連結部と前記第2壁との交差部分とは、それぞれ、前記仕切り部の稜を形成し、前記第2シートのうち前記稜を形成する部分の厚みは、前記第2シートのうち当該部分を除く前記連結部の厚みよりも薄い冷却具の製造方法。
JP2024065809A 2024-04-15 2024-04-15 冷却具及び冷却具の製造方法 Active JP7621696B1 (ja)

Priority Applications (1)

Application Number Priority Date Filing Date Title
JP2024065809A JP7621696B1 (ja) 2024-04-15 2024-04-15 冷却具及び冷却具の製造方法

Applications Claiming Priority (1)

Application Number Priority Date Filing Date Title
JP2024065809A JP7621696B1 (ja) 2024-04-15 2024-04-15 冷却具及び冷却具の製造方法

Publications (2)

Publication Number Publication Date
JP7621696B1 true JP7621696B1 (ja) 2025-01-27
JP2025162470A JP2025162470A (ja) 2025-10-27

Family

ID=94370900

Family Applications (1)

Application Number Title Priority Date Filing Date
JP2024065809A Active JP7621696B1 (ja) 2024-04-15 2024-04-15 冷却具及び冷却具の製造方法

Country Status (1)

Country Link
JP (1) JP7621696B1 (ja)

Citations (12)

* Cited by examiner, † Cited by third party
Publication number Priority date Publication date Assignee Title
JP3010086U (ja) 1994-10-12 1995-04-18 幹子 今野 凍結時可動式ベルト型保冷剤
JP2008302050A (ja) 2007-06-08 2008-12-18 K-Wan:Kk 保冷体、及び、保冷体を用いた保冷用具
JP2009213701A (ja) 2008-03-11 2009-09-24 Yamaichi Kk 蓄熱性温熱器具
JP3169487U (ja) 2011-04-26 2011-08-04 株式会社レーベン販売 冷却具
JP2012161391A (ja) 2011-02-04 2012-08-30 Protech Tio Japan Co Ltd 装身用保冷具
JP2012206762A (ja) 2011-03-30 2012-10-25 M-Planet Co Ltd 飲食品用容器および飲食製品
JP2013022212A (ja) 2011-07-20 2013-02-04 Polytec Design:Kk 保冷具およびその製造方法
JP2017131272A (ja) 2016-01-25 2017-08-03 ヨツギ株式会社 装身用保冷具
JP2021104232A (ja) 2019-12-26 2021-07-26 ブランテックインターナショナル株式会社 保冷ユニット、保冷システム
JP2023021963A (ja) 2022-10-06 2023-02-14 山真製鋸株式会社 首冷却具
JP2024027664A (ja) 2022-08-18 2024-03-01 株式会社Tat 冷却具及び冷却具の製造方法
JP2024043625A (ja) 2022-09-20 2024-04-02 花王株式会社 流体密封容器

Patent Citations (12)

* Cited by examiner, † Cited by third party
Publication number Priority date Publication date Assignee Title
JP3010086U (ja) 1994-10-12 1995-04-18 幹子 今野 凍結時可動式ベルト型保冷剤
JP2008302050A (ja) 2007-06-08 2008-12-18 K-Wan:Kk 保冷体、及び、保冷体を用いた保冷用具
JP2009213701A (ja) 2008-03-11 2009-09-24 Yamaichi Kk 蓄熱性温熱器具
JP2012161391A (ja) 2011-02-04 2012-08-30 Protech Tio Japan Co Ltd 装身用保冷具
JP2012206762A (ja) 2011-03-30 2012-10-25 M-Planet Co Ltd 飲食品用容器および飲食製品
JP3169487U (ja) 2011-04-26 2011-08-04 株式会社レーベン販売 冷却具
JP2013022212A (ja) 2011-07-20 2013-02-04 Polytec Design:Kk 保冷具およびその製造方法
JP2017131272A (ja) 2016-01-25 2017-08-03 ヨツギ株式会社 装身用保冷具
JP2021104232A (ja) 2019-12-26 2021-07-26 ブランテックインターナショナル株式会社 保冷ユニット、保冷システム
JP2024027664A (ja) 2022-08-18 2024-03-01 株式会社Tat 冷却具及び冷却具の製造方法
JP2024043625A (ja) 2022-09-20 2024-04-02 花王株式会社 流体密封容器
JP2023021963A (ja) 2022-10-06 2023-02-14 山真製鋸株式会社 首冷却具

Also Published As

Publication number Publication date
JP2025162470A (ja) 2025-10-27

Similar Documents

Publication Publication Date Title
CN109153490B (zh) 带有蓄热容纳部的绝热容器组件
US9334087B2 (en) Standing pouch
JP4192222B2 (ja) 使い捨てソフトコンタクトレンズ用包装容器
CA3103275A1 (en) Shipping system for storing and/or transporting temperature-sensitive materials
JP2022507158A (ja) 耐漏性シール付き容器を裏返しに製造する方法
US20110069911A1 (en) Stand-Up Pouch With a Collapsible Body
KR102526477B1 (ko) 발열형 이중 넥밴드 및 이의 제조방법
JP7621696B1 (ja) 冷却具及び冷却具の製造方法
KR20190011637A (ko) 냉각 튜브 고리 및 그 제조방법
JP7575822B2 (ja) 断熱層を備えた二重ネックバンド
JP6364709B2 (ja) 咬合具付き包装袋
US20130129261A1 (en) Insulating Material
CN117794826A (zh) 用于袋或容器的封闭系统
JPH10203539A (ja) 咬合具付き袋
KR20100124147A (ko) 포장용 비닐봉투 연속체 및 그 제조 방법
US8172888B1 (en) Thermal pack having a comfort fit
JP3088384U (ja) 再封可能なリップ付き保冷保温袋
JP2024027664A (ja) 冷却具及び冷却具の製造方法
JPWO2004031042A1 (ja) 咬合具、咬合具付き包装袋
JP5452106B2 (ja) 冷却シートおよび冷却シートの製造方法
JP2021155061A (ja) 袋体
JP2021046252A (ja) パウチ容器
US20250296737A1 (en) Collapsible Container
JPH0519064Y2 (ja)
JP4892882B2 (ja) ガセットタイプ包装袋

Legal Events

Date Code Title Description
A621 Written request for application examination

Free format text: JAPANESE INTERMEDIATE CODE: A621

Effective date: 20240416

A871 Explanation of circumstances concerning accelerated examination

Free format text: JAPANESE INTERMEDIATE CODE: A871

Effective date: 20240416

A80 Written request to apply exceptions to lack of novelty of invention

Free format text: JAPANESE INTERMEDIATE CODE: A80

Effective date: 20240515

A131 Notification of reasons for refusal

Free format text: JAPANESE INTERMEDIATE CODE: A131

Effective date: 20240625

A521 Request for written amendment filed

Free format text: JAPANESE INTERMEDIATE CODE: A523

Effective date: 20240826

A131 Notification of reasons for refusal

Free format text: JAPANESE INTERMEDIATE CODE: A131

Effective date: 20240924

A521 Request for written amendment filed

Free format text: JAPANESE INTERMEDIATE CODE: A523

Effective date: 20241122

TRDD Decision of grant or rejection written
A01 Written decision to grant a patent or to grant a registration (utility model)

Free format text: JAPANESE INTERMEDIATE CODE: A01

Effective date: 20241217

A61 First payment of annual fees (during grant procedure)

Free format text: JAPANESE INTERMEDIATE CODE: A61

Effective date: 20250107

R150 Certificate of patent or registration of utility model

Ref document number: 7621696

Country of ref document: JP

Free format text: JAPANESE INTERMEDIATE CODE: R150