JP7621604B2 - トッピングゴムシートのゴム付き不良検出装置 - Google Patents

トッピングゴムシートのゴム付き不良検出装置 Download PDF

Info

Publication number
JP7621604B2
JP7621604B2 JP2021003468A JP2021003468A JP7621604B2 JP 7621604 B2 JP7621604 B2 JP 7621604B2 JP 2021003468 A JP2021003468 A JP 2021003468A JP 2021003468 A JP2021003468 A JP 2021003468A JP 7621604 B2 JP7621604 B2 JP 7621604B2
Authority
JP
Japan
Prior art keywords
topping rubber
rubber sheet
sheet
topping
image data
Prior art date
Legal status (The legal status is an assumption and is not a legal conclusion. Google has not performed a legal analysis and makes no representation as to the accuracy of the status listed.)
Active
Application number
JP2021003468A
Other languages
English (en)
Other versions
JP2022108461A (ja
Inventor
和幸 福田
Current Assignee (The listed assignees may be inaccurate. Google has not performed a legal analysis and makes no representation or warranty as to the accuracy of the list.)
Sumitomo Rubber Industries Ltd
Original Assignee
Sumitomo Rubber Industries Ltd
Priority date (The priority date is an assumption and is not a legal conclusion. Google has not performed a legal analysis and makes no representation as to the accuracy of the date listed.)
Filing date
Publication date
Application filed by Sumitomo Rubber Industries Ltd filed Critical Sumitomo Rubber Industries Ltd
Priority to JP2021003468A priority Critical patent/JP7621604B2/ja
Publication of JP2022108461A publication Critical patent/JP2022108461A/ja
Application granted granted Critical
Publication of JP7621604B2 publication Critical patent/JP7621604B2/ja
Active legal-status Critical Current
Anticipated expiration legal-status Critical

Links

Images

Landscapes

  • Investigating Materials By The Use Of Optical Means Adapted For Particular Applications (AREA)
  • Tyre Moulding (AREA)

Description

本発明は、黒色のテキスタイルシートに黒色のトッピングゴムが被覆(トッピング)されたトッピングゴムシートにおけるトッピングゴムの被覆状態を検査して、トッピングゴムシートのゴム付き不良の発生を検出するトッピングゴムシートのゴム付き不良検出装置に関する。
空気入りタイヤ(以下、単に、「タイヤ」ともいう)の製造に際しては、コード材料を織って構成されたテキスタイルシートの両面にゴム(トッピングゴム)が被覆されたトッピングゴムシートが、カーカスやベルト、ブレーカ等のタイヤ部材として使用されている。
このとき、トッピングゴムのテキスタイルシートへのゴム付きが不十分な状態(ゴム付き不良)が発生すると、タイヤの品質不良を招く恐れがあるため、トッピングゴムの被覆状態について十分な検査を行い、ゴム付き不良の発生を検出する必要があり、作業者の目視観察により検査が行われていた。
具体的には、ゴム付きが不十分な場合、テキスタイルシートの一部が、トッピングゴムシートから露出するため、トッピングゴムシートの上方からテキスタイルシートが見えるか否か、目視観察により検査を行っていた。
しかし、作業者の目視観察では、十分とは言えなかったため、ラインセンサカメラを備えたトッピングゴムシートのゴム付き不良検出装置(以下、単に「検出装置」ともいう)を用いて、トッピングゴムシートの表面に光を照射し、その反射光による画像を撮影した後、撮影された画像データをデータ処理することにより、色の違いからトッピングゴムの被覆状態を検査して、ゴム付き不良の発生を検出する技術が種々提案されている(例えば、特許文献1、2)。
特開2017-3352号公報 特開2017-3308号公報
しかしながら、近年、タイヤに求められる特性(転がり抵抗、耐久性、路面状況、走行状況、乗り心地など)との関係から、テキスタイルシートとして黒色のテキスタイルシートの採用が求められるようになり、上記した従来の技術では、テキスタイルシートとトッピングゴムが同じ黒色であるため、テキスタイルシートとトッピングゴムを区別することが困難となっていた。
ラインセンサカメラに替えて、厚み計を使用してトッピングゴムシートの厚みを計測し、その変化を知ることにより、テキスタイルシートとトッピングゴムを区別して、ゴム付き不良の発生を検出することも試みられているが、測定できる範囲は限定的であり、トッピングゴムシートのように厚みのある材料については、高い精度で、安定して検出することが難しく、さらなる改善が求められている。
そこで、本発明は、トッピングゴムシートのように厚みのある材料であっても、同じ黒色をしたテキスタイルシートとトッピングゴムとを精度高く区別して、テキスタイルシートへのトッピングゴムの被覆状態を知ることにより、ゴム付き不良の発生を安定して検出することができるトッピングゴムシートのゴム付き不良検出装置を提供することを課題とする。
本発明者は、上記課題の解決について鋭意検討を行い、以下に記載する発明により上記課題が解決できることを見出し、本発明を完成させるに至った。
請求項1に記載の発明は、
黒色のテキスタイルシートに黒色のトッピングゴムが被覆されたトッピングゴムシートにおけるゴム付き不良の発生を検出するトッピングゴムシートのゴム付き不良検出装置であって、
前記トッピングゴムシートの表面を撮影して画像データを取得する画像データ取得手段と、
前記画像データ取得手段により取得された画像データを画像処理して、前記トッピングゴムシートにおけるゴム付き不良の発生を検出する検出手段とを備えており、
前記画像データ取得手段は、
前記トッピングゴムシートの表面を連続的に照射する照射装置と、
前記照射装置から照射され、前記トッピングゴムシートの表面で反射した反射光を受光して、画像データを取得するラインセンサカメラとを備えており、
前記反射光の内、拡散反射光が前記ラインセンサカメラに入光するように、前記照射装置と前記ラインセンサカメラとが配置されており、
前記照射装置における照射源が、赤外光LEDであることを特徴とするトッピングゴムシートのゴム付き不良検出装置である。
請求項に記載の発明は、
前記赤外光LEDから照射される光が、波長850~940nmの赤外光であることを特徴とする請求項1に記載のトッピングゴムシートのゴム付き不良検出装置である。
請求項に記載の発明は、
前記照射装置が、前記トッピングゴムシートの表面に対して、5~45°の入射角で、赤外光が照射されるように配置されていることを特徴とする請求項1または請求項2に記載のトッピングゴムシートのゴム付き不良検出装置である。
請求項に記載の発明は、
前記画像データ取得手段が、トッピングゴムシートの搬送位置を計測するエンコーダを備えており、
前記ラインセンサカメラによる撮影データを、前記エンコーダによる位置情報と同期させて取得するように構成されていることを特徴とする請求項1ないし請求項のいずれか1項に記載のトッピングゴムシートのゴム付き不良検出装置である。
請求項に記載の発明は、
前記画像処理が、濃淡プロブモードによる画像処理であり、
前記検出手段が、得られた画像処理データから、濃黒色部分をテキスタイルシート部分として検出することを特徴とする請求項1ないし請求項のいずれか1項に記載のトッピングゴムシートのゴム付き不良検出装置である。
請求項に記載の発明は、
さらに、前記検出手段により検出された前記テキスタイルシートの部分の面積が、予め定めた閾値以上の場合に、ゴム付き不良の発生が検出されたと判断して、警告信号を出す警告出力手段を備えていることを特徴とする請求項1ないし請求項のいずれか1項に記載のトッピングゴムシートのゴム付き不良検出装置である。
本発明によれば、トッピングゴムシートのように厚みのある材料であっても、同じ黒色をしたテキスタイルシートとトッピングゴムとを精度高く区別して、テキスタイルシートへのトッピングゴムの被覆状態を知ることにより、ゴム付き不良の発生を安定して検出することができるトッピングゴムシートのゴム付き不良検出装置を提供することができる。
本発明の一実施の形態に係るトッピングゴムシートのゴム付き不良検出装置の構成の概要を示す模式図である。 本発明の他の実施の形態に係るトッピングゴムシートのゴム付き不良検出装置の構成の概要を示す模式図である。 比較例および実施例において得られた処理画像である。
1.本発明に係るトッピングゴムシートのゴム付き不良検出装置の特徴
最初に、本発明に係るトッピングゴムシートのゴム付き不良検出装置の特徴について説明する。
前記したように、テキスタイルシートとして黒色のテキスタイルシートを用いた場合、トッピングゴムシートのように厚みのある材料については、同じ黒色のテキスタイルシートとトッピングゴムを精度高く区別して、テキスタイルシートへのトッピングゴムの被覆状態を確認することは難しかった。
本発明者は、トッピングゴムシートに光を照射した場合、テキスタイルシートとトッピングゴムとでは、反射光の輝度に差があるため、テキスタイルシートとトッピングゴムとを区別できると考え、トッピングゴムシートの表面からの反射光を、種々の角度から撮影し、画像処理を行った。
その結果、最も反射光の光量が多く、輝度の差も大きく出ると思われた正反射光では、受光量が多すぎて、却って、テキスタイルシートとトッピングゴムとを区別できず、一方、拡散反射光の場合、適度な受光量の下、大きな輝度の差が生じて、テキスタイルシートとトッピングゴムとが十分に区別できるという驚くべき知見を得て、本発明を完成するに至った。
即ち、本発明に係るトッピングゴムシートのゴム付き不良検出装置は、黒色のテキスタイルシートに黒色のトッピングゴムが被覆されたトッピングゴムシートにおけるゴム付き不良の発生を検出するトッピングゴムシートのゴム付き不良検出装置であり、トッピングゴムシートの表面を撮影して画像データを取得する画像データ取得手段と、画像データ取得手段により取得された画像データを画像処理して、トッピングゴムシートに発生したゴム付き不良の発生を検出する検出手段とを備えている。
そして、この画像データ取得手段は、トッピングゴムシートの表面を連続的に照射する照射装置と、照射装置から照射され、トッピングゴムシートの表面で反射した反射光を受光して、画像データを取得するラインセンサカメラとを備えており、反射光の内、拡散反射光がラインセンサカメラに入光するように、照射装置とラインセンサカメラとが配置されている。
このようなトッピングゴムシートのゴム付き不良検出装置とすることにより、前記したように、テキスタイルシートとトッピングゴムとの間に大きな輝度の差を生じさせることができるため、同じ黒色であっても、画像認識において、テキスタイルシートとトッピングゴムとを精度高く区別することが可能となり、ゴム付き不良の発生を安定して検出することができる。
2.具体的な実施の形態
次に、本発明の具体的な実施の形態について説明する。
(1)装置の全体構成
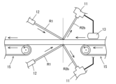
図1は、本実施の形態に係るトッピングゴムシートのゴム付き不良検出装置1(以下、単に「検出装置」ともいう)の構成の概要を示す模式図である。検出装置1は、ラインセンサカメラ11および照射装置12を有する画像データ取得手段と、検出手段(図示せず)とを備えている。そして、Sは、左向き矢印に示すように、紙面上を右から左へと搬送されていくトッピングゴムシートである。なお、13は、トッピングゴムシートSの搬送位置を計測するエンコーダであり、ラインセンサカメラ11と接続されている。また、R1は照射光、R2aは正反射光、R2bは拡散反射光である。
本実施の形態に係る検出装置1は、搬送されてくるトッピングゴムシートSの画像データを取得する画像データ取得手段、および、取得された画像データを画像処理してトッピングゴムの被覆状態を測定し、ゴム付き不良の発生を検出する検出手段を備えている点においては、従来の装置と基本的には同じであるが、前記したように、画像データ取得手段を構成している照射装置12とラインセンサカメラ11との配置関係が異なっている。
(2)画像データ取得手段
画像データ取得手段は、前記したように、照射装置12とラインセンサカメラ11とを備えている。
ラインセンサカメラ11は、連続撮影が可能であるため、ライン速度に影響されることなく、画像データを連続して取得することができる。
そして、本実施の形態においては、図1に示すように、画像データ取得手段に、画像データを取得する測定領域Aの位置を計測するエンコーダ13が設けられている。
エンコーダ13による位置情報と同期させて、ラインセンサカメラ11による撮影データを取得することにより、画像データの取りこぼしをなくして、ゴム付き不良の発生を安定して検出することができる。
そして、照射装置12からトッピングゴムシートSの表面に対して、斜め上方から測定領域Aに向けて所定の角度(入射角)で赤外光を照射すると、照射された照射光R1は、測定領域Aにて反射されて、正反射光R2aや拡散反射光R2bとなる。
そして、本実施の形態において最も重要なことは、従来の正反射光R2aの延長上ではなく、拡散反射光R2bの延長上にラインセンサカメラ11が配置されており、この拡散反射光R2bをラインセンサカメラ11で受光することにより、画像データが取得されるように、画像データ取得手段を構成させていることである。
これにより、前記したように、テキスタイルシートとトッピングゴムとの間に大きな輝度の差を生じさせた受光ができるため、受光した画像データを画像処理した場合、同じ黒色のテキスタイルシートとトッピングゴムを精度高く区別して、ゴム付き不良の発生を安定して検出することができる。
なお、トッピングゴムシートの表面へ照射される照射光の入射角が大き過ぎる場合には、照射装置を遠方に配置しないと、トッピングゴムシートと接触してしまう恐れがあるため、小さい入射角に設定されることが好ましいが、小さ過ぎる場合には、照射装置とラインセンサカメラとの間隔が十分に確保できず、互いに接触してしまう恐れがある。
そして、正反射光R2aに対する拡散反射光R2bの角度が小さ過ぎる場合には、拡散反射光R2bと共に正反射光R2aもラインセンサカメラ11に受光されて、安定した検出ができない恐れがある。一方、角度が大き過ぎる場合には、十分な量の反射光を受光できず、やはり、安定した検出ができない恐れがある。
これらの点を考慮すると、本実施の形態において、照射光の具体的に好ましい入射角としては、5~45°が好ましい。
また、本実施の形態において、照射光R1の照射源としては、赤外光LEDを用いることが好ましく、その波長としては、850~940nmであることが好ましい。エネルギー効率が高く、高輝度である赤外光LEDを用いて、波長850~940nmの赤外光を照射することにより、トッピングゴムシートの表面における反射の影響を十分に抑制して、安定した検出に適した量の拡散反射光R2bを得ることができる。なお、波長は、870~900nmであるとより好ましい。
なお、赤外光は、照射装置やラインセンサカメラの表面の汚れの影響を受けにくいという特徴も有している。
また、画像データ取得手段(ラインセンサカメラおよび照射装置)は、トッピングゴムシートの表面から離れた位置に配置されていると、測定領域に対する視野幅が確保できず、また、十分な反射光を得ることが難しくなるため、トッピングゴムシートの表面から近い位置に配置されていることが好ましい。しかし、近過ぎると、搬送されているトッピングゴムシートが接触する恐れがある。具体的には、例えば、ラインセンサカメラについては、トッピングゴムシートの表面から8mm以上で、できるだけ近い位置に配置する一方、照射装置については、対象となるトッピングゴムシートよりも100mm程度幅広の照射装置を、トッピングゴムシートに干渉しない範囲で、できるだけ近い位置に配置することが好ましい。
(3)検出手段
検出手段は、上記の画像データ取得手段で取得した画像データを画像処理装置で画像処理することによりゴム付き不良の発生を検出する。
具体的には、例えば、濃淡プロブモードによる画像処理を行うことにより得られた画像処理データから、濃黒色部分をテキスタイルシート部分として検出し、その面積を求める。そして、得られたテキスタイルシート部分の面積について、予め、制御装置に組み入れらえている判定基準(閾値)と比較する。
比較の結果、閾値以上である場合、ゴム付き不良が発生していると判断して、音や光などの警告出力手段を用いて、作業者に向けて警告信号を発する。このように、本実施の形態においては、ゴム付き不良の発生を自動的に精度高く安定して検出することができるため、作業者の負担も軽減される。
なお、上記では、搬送ラインの上方に検出装置が配置されている場合を例に挙げて説明したが、図2に示すように、トッピングゴムシートを2本の搬送ラインを跨ぐように搬送して、その搬送ラインの間で、トッピングゴムシートの上方、および下方に検出装置を配置して、トッピングゴムシートの両面からゴム付き不良の発生を検出してもよく、これにより、より効率的にゴム付き不良の発生を検出することができる。
以上、本実施の形態によれば、トッピングゴムシートのように厚みのある材料であっても、黒色のテキスタイルシートとトッピングゴムとを精度高く区別して、テキスタイルシートへのトッピングゴムの被覆状態を知ることにより、ゴム付き不良の発生を安定して検出することができる。
そして、従来は、次工程まで発見が困難であったゴム付き不良の発生を、トッピングゴムシート製造の段階で発見して適切に対処することができるため、不良ロスの発生の低減や、品質向上へ大きく寄与することができる。
次に、実施例に基づき本発明をより具体的に説明する。
1.実験方法
(1)装置
ラインセンサカメラ:キーエンス社製のXG-HL04M
(16倍速4000画素ラインセンサカメラ)
レンズ:キーエンス社製のCA-LHW12(ラインセンサカメラ用12mmレンズ)
画像処理装置:キーエンス社製のXG-X2800
照射光源:シーシーエス社製のHLND-1800SW2-RRBC
(2)撮影および画像処理条件
ラインセンサカメラおよび照射装置を搬送ラインの上方(鉛直方向)に配置し、トッピングゴムシート表面からの拡散反射光が入光するようにラインセンサカメラを据え付けた。そして、照射装置からトッピングゴムシート表面に波長860nmの赤外光を照射し、拡散反射光をラインセンサカメラで受光して、その撮影画像を画像処理装置に送り込んだ。その後、画像処理装置内において、濃淡プロブモードで画像処理を行った(実施例)。
一方、比較のために、ラインセンサカメラを、トッピングゴムシート表面にて正反射した正反射光を受光する位置に据え付け、白色LEDを用いて、照射し、実施例と同様に、ラインセンサカメラで受光した撮影画像を画像処理装置に送り込み、画像処理を行った(比較例)。
2.実験結果
実施例と比較例で取得された画像データを図3に示す。なお、図3において、右側の画像が実施例、左側の画像が比較例である。
比較例では、白枠で囲んだ部分がテキスタイルシートの領域であるが、ゴムの領域とテキスタイルシートの領域のいずれもが、同じ濃度の黒色で示されており、区別ができない。
これに対して、実施例では、テキスタイルシートの領域がゴムの領域に比べて、濃い黒色を示しており、明確に両者を区別できることが分かる。
以上、本発明を実施の形態に基づいて説明したが、本発明は上記の実施の形態に限定されるものではない。本発明と同一および均等の範囲内において、上記の実施の形態に対して種々の変更を加えることができる。
1 検出装置
11 ラインセンサカメラ
12 照射装置
13 エンコーダ
15 ベルトコンベア
A 測定領域
S トッピングゴムシート
R1 照射光
R2a 正反射光
R2b 拡散反射光

Claims (6)

  1. 黒色のテキスタイルシートに黒色のトッピングゴムが被覆されたトッピングゴムシートにおけるゴム付き不良の発生を検出するトッピングゴムシートのゴム付き不良検出装置であって、
    前記トッピングゴムシートの表面を撮影して画像データを取得する画像データ取得手段と、
    前記画像データ取得手段により取得された画像データを画像処理して、前記トッピングゴムシートにおけるゴム付き不良の発生を検出する検出手段とを備えており、
    前記画像データ取得手段は、
    前記トッピングゴムシートの表面を連続的に照射する照射装置と、
    前記照射装置から照射され、前記トッピングゴムシートの表面で反射した反射光を受光して、画像データを取得するラインセンサカメラとを備えており、
    前記反射光の内、拡散反射光が前記ラインセンサカメラに入光するように、前記照射装置と前記ラインセンサカメラとが配置されており、
    前記照射装置における照射源が、赤外光LEDであることを特徴とするトッピングゴムシートのゴム付き不良検出装置。
  2. 前記赤外光LEDから照射される光が、波長850~940nmの赤外光であることを特徴とする請求項1に記載のトッピングゴムシートのゴム付き不良検出装置。
  3. 前記照射装置が、前記トッピングゴムシートの表面に対して、5~45°の入射角で、赤外光が照射されるように配置されていることを特徴とする請求項1または請求項2に記載のトッピングゴムシートのゴム付き不良検出装置。
  4. 前記画像データ取得手段が、トッピングゴムシートの搬送位置を計測するエンコーダを備えており、
    前記ラインセンサカメラによる撮影データを、前記エンコーダによる位置情報と同期させて取得するように構成されていることを特徴とする請求項1ないし請求項のいずれか1項に記載のトッピングゴムシートのゴム付き不良検出装置。
  5. 前記画像処理が、濃淡プロブモードによる画像処理であり、
    前記検出手段が、得られた画像処理データから、濃黒色部分をテキスタイルシート部分として検出することを特徴とする請求項1ないし請求項のいずれか1項に記載のトッピングゴムシートのゴム付き不良検出装置。
  6. さらに、前記検出手段により検出された前記テキスタイルシートの部分の面積が、予め定めた閾値以上の場合に、ゴム付き不良の発生が検出されたと判断して、警告信号を出す警告出力手段を備えていることを特徴とする請求項1ないし請求項のいずれか1項に記載のトッピングゴムシートのゴム付き不良検出装置。
JP2021003468A 2021-01-13 2021-01-13 トッピングゴムシートのゴム付き不良検出装置 Active JP7621604B2 (ja)

Priority Applications (1)

Application Number Priority Date Filing Date Title
JP2021003468A JP7621604B2 (ja) 2021-01-13 2021-01-13 トッピングゴムシートのゴム付き不良検出装置

Applications Claiming Priority (1)

Application Number Priority Date Filing Date Title
JP2021003468A JP7621604B2 (ja) 2021-01-13 2021-01-13 トッピングゴムシートのゴム付き不良検出装置

Publications (2)

Publication Number Publication Date
JP2022108461A JP2022108461A (ja) 2022-07-26
JP7621604B2 true JP7621604B2 (ja) 2025-01-27

Family

ID=82556539

Family Applications (1)

Application Number Title Priority Date Filing Date
JP2021003468A Active JP7621604B2 (ja) 2021-01-13 2021-01-13 トッピングゴムシートのゴム付き不良検出装置

Country Status (1)

Country Link
JP (1) JP7621604B2 (ja)

Citations (4)

* Cited by examiner, † Cited by third party
Publication number Priority date Publication date Assignee Title
JP2003090721A (ja) 2001-09-19 2003-03-28 Bridgestone Corp ゴム部材の検出方法、及びゴム部材の貼付方法
JP2005537162A (ja) 2002-09-03 2005-12-08 コンチネンタル マボール − インダストリア デ ペネウス、 ソシエダッド アノニマ テキスタイルプライにおけるスプライスオーバラップ許容値の自動制御およびモニタリングシステム
JP2017003352A (ja) 2015-06-08 2017-01-05 住友ゴム工業株式会社 トッピングゴムシートのゴム付き不良検出装置
JP2020101396A (ja) 2018-12-20 2020-07-02 住友ゴム工業株式会社 トッピングゴムシートのゴム付き不良検出装置

Patent Citations (4)

* Cited by examiner, † Cited by third party
Publication number Priority date Publication date Assignee Title
JP2003090721A (ja) 2001-09-19 2003-03-28 Bridgestone Corp ゴム部材の検出方法、及びゴム部材の貼付方法
JP2005537162A (ja) 2002-09-03 2005-12-08 コンチネンタル マボール − インダストリア デ ペネウス、 ソシエダッド アノニマ テキスタイルプライにおけるスプライスオーバラップ許容値の自動制御およびモニタリングシステム
JP2017003352A (ja) 2015-06-08 2017-01-05 住友ゴム工業株式会社 トッピングゴムシートのゴム付き不良検出装置
JP2020101396A (ja) 2018-12-20 2020-07-02 住友ゴム工業株式会社 トッピングゴムシートのゴム付き不良検出装置

Also Published As

Publication number Publication date
JP2022108461A (ja) 2022-07-26

Similar Documents

Publication Publication Date Title
CN111426696B (zh) 顶覆橡胶片的橡胶附着不良检测装置
CN100448655C (zh) 纺织帘子布层中接头搭接公差的自动控制和监视系统
CN110402386B (zh) 圆筒体表面检查装置及圆筒体表面检查方法
KR20240067222A (ko) 시트 형상물의 요철 측정 장치, 시트 형상물의 요철 측정 방법
JP6699694B2 (ja) 検査システム、検査方法
TWI786522B (zh) 表面檢查裝置、表面檢查方法、鋼材製造方法、鋼材品質管理方法以及鋼材製造設備
KR20090053677A (ko) 패턴 검사 장치
JPH08271433A (ja) 錠剤検査装置
JP7621604B2 (ja) トッピングゴムシートのゴム付き不良検出装置
JP3909457B2 (ja) 銅箔表面検査装置、および銅箔表面検査方法
CN116056806B (zh) 片状部件的制造方法
JP3870140B2 (ja) 駆動伝達ベルトの検査方法
JP7699755B2 (ja) トッピングゴムシートのゴム付き不良検出装置
JP6428554B2 (ja) 検査システム、検査方法
JP2001124538A (ja) 物体表面の欠陥検査方法および欠陥検査装置
JP2003344299A (ja) カラーフィルターの欠陥検査装置およびカラーフィルターの欠陥検査方法
JP4023295B2 (ja) 表面検査方法及び表面検査装置
JP2009229173A (ja) 薄膜コート未塗工部検査装置及び方法
JP2000081396A (ja) 巻取ロール側面の品質自動判定方法及び装置
JP2012013586A (ja) 画像処理による自動検卵機構
JP7524717B2 (ja) 検査装置
JPH06288934A (ja) 熱延板のエッジ欠陥の検出方法
JP2016148520A (ja) キズ欠点検査装置およびキズ欠点検査方法
CN120659987A (zh) 检查装置
JP2020139942A (ja) 表面検査装置及び表面検査方法

Legal Events

Date Code Title Description
A621 Written request for application examination

Free format text: JAPANESE INTERMEDIATE CODE: A621

Effective date: 20231121

A977 Report on retrieval

Free format text: JAPANESE INTERMEDIATE CODE: A971007

Effective date: 20240621

A131 Notification of reasons for refusal

Free format text: JAPANESE INTERMEDIATE CODE: A131

Effective date: 20240716

A521 Request for written amendment filed

Free format text: JAPANESE INTERMEDIATE CODE: A523

Effective date: 20240912

TRDD Decision of grant or rejection written
A01 Written decision to grant a patent or to grant a registration (utility model)

Free format text: JAPANESE INTERMEDIATE CODE: A01

Effective date: 20241216

A61 First payment of annual fees (during grant procedure)

Free format text: JAPANESE INTERMEDIATE CODE: A61

Effective date: 20241229

R150 Certificate of patent or registration of utility model

Ref document number: 7621604

Country of ref document: JP

Free format text: JAPANESE INTERMEDIATE CODE: R150