JP7619212B2 - 分光検出器 - Google Patents

分光検出器 Download PDF

Info

Publication number
JP7619212B2
JP7619212B2 JP2021141051A JP2021141051A JP7619212B2 JP 7619212 B2 JP7619212 B2 JP 7619212B2 JP 2021141051 A JP2021141051 A JP 2021141051A JP 2021141051 A JP2021141051 A JP 2021141051A JP 7619212 B2 JP7619212 B2 JP 7619212B2
Authority
JP
Japan
Prior art keywords
housing
hole
camera lens
lens
lens tube
Prior art date
Legal status (The legal status is an assumption and is not a legal conclusion. Google has not performed a legal analysis and makes no representation as to the accuracy of the status listed.)
Active
Application number
JP2021141051A
Other languages
English (en)
Other versions
JP2023034706A (ja
JP2023034706A5 (ja
Inventor
龍太 渋谷
Current Assignee (The listed assignees may be inaccurate. Google has not performed a legal analysis and makes no representation or warranty as to the accuracy of the list.)
Shimadzu Corp
Original Assignee
Shimadzu Corp
Priority date (The priority date is an assumption and is not a legal conclusion. Google has not performed a legal analysis and makes no representation as to the accuracy of the date listed.)
Filing date
Publication date
Application filed by Shimadzu Corp filed Critical Shimadzu Corp
Priority to JP2021141051A priority Critical patent/JP7619212B2/ja
Priority to US17/858,646 priority patent/US11879776B2/en
Priority to DE102022002882.4A priority patent/DE102022002882B4/de
Priority to CN202210963123.XA priority patent/CN115728232B/zh
Publication of JP2023034706A publication Critical patent/JP2023034706A/ja
Publication of JP2023034706A5 publication Critical patent/JP2023034706A5/ja
Application granted granted Critical
Publication of JP7619212B2 publication Critical patent/JP7619212B2/ja
Active legal-status Critical Current
Anticipated expiration legal-status Critical

Links

Images

Classifications

    • GPHYSICS
    • G01MEASURING; TESTING
    • G01JMEASUREMENT OF INTENSITY, VELOCITY, SPECTRAL CONTENT, POLARISATION, PHASE OR PULSE CHARACTERISTICS OF INFRARED, VISIBLE OR ULTRAVIOLET LIGHT; COLORIMETRY; RADIATION PYROMETRY
    • G01J3/00Spectrometry; Spectrophotometry; Monochromators; Measuring colours
    • G01J3/02Details
    • G01J3/0262Constructional arrangements for removing stray light
    • GPHYSICS
    • G01MEASURING; TESTING
    • G01JMEASUREMENT OF INTENSITY, VELOCITY, SPECTRAL CONTENT, POLARISATION, PHASE OR PULSE CHARACTERISTICS OF INFRARED, VISIBLE OR ULTRAVIOLET LIGHT; COLORIMETRY; RADIATION PYROMETRY
    • G01J3/00Spectrometry; Spectrophotometry; Monochromators; Measuring colours
    • G01J3/02Details
    • G01J3/0256Compact construction
    • GPHYSICS
    • G01MEASURING; TESTING
    • G01JMEASUREMENT OF INTENSITY, VELOCITY, SPECTRAL CONTENT, POLARISATION, PHASE OR PULSE CHARACTERISTICS OF INFRARED, VISIBLE OR ULTRAVIOLET LIGHT; COLORIMETRY; RADIATION PYROMETRY
    • G01J3/00Spectrometry; Spectrophotometry; Monochromators; Measuring colours
    • G01J3/02Details
    • G01J3/0291Housings; Spectrometer accessories; Spatial arrangement of elements, e.g. folded path arrangements
    • GPHYSICS
    • G01MEASURING; TESTING
    • G01JMEASUREMENT OF INTENSITY, VELOCITY, SPECTRAL CONTENT, POLARISATION, PHASE OR PULSE CHARACTERISTICS OF INFRARED, VISIBLE OR ULTRAVIOLET LIGHT; COLORIMETRY; RADIATION PYROMETRY
    • G01J3/00Spectrometry; Spectrophotometry; Monochromators; Measuring colours
    • G01J3/28Investigating the spectrum
    • G01J3/44Raman spectrometry; Scattering spectrometry ; Fluorescence spectrometry

Landscapes

  • Physics & Mathematics (AREA)
  • Spectroscopy & Molecular Physics (AREA)
  • General Physics & Mathematics (AREA)
  • Investigating, Analyzing Materials By Fluorescence Or Luminescence (AREA)
  • Spectrometry And Color Measurement (AREA)

Description

本開示は、分光検出器に関する。
特開平10-90064号公報(特許文献1)に記載の顕微ラマン装置は、励起用レーザと、分光器と、検出器とを有している。特許文献1に記載の顕微ラマン装置では、励起用レーザからのレーザ光がサンプルに照射されることにより、サンプルからラマン散乱光が発生する。このラマン散乱光は分光器において分散され、分散されたラマン散乱光の強度分布が検出器において検出される。
特開平10-90064号公報
特許文献1に記載の顕微ラマン装置では、迷光が検出器において検出されることについて対策されていない。本開示は、上記のような従来技術の問題点に鑑みてなされたものである。より具体的には、本開示は、迷光が検出されることを抑制可能な分光検出器を提供するものである。
本開示の分光検出器は、第1筐体と、第2筐体と、第1筐体に収納されているカメラレンズと、第2筐体に収納されている撮像素子とを備えている。第1筐体には、第1貫通穴が形成されている。第2筐体には、第2貫通穴が形成されている。第2筐体は、第2筐体の内部が第1貫通穴及び第2貫通穴により第1筐体の内部と連通するように第1筐体に取り付けられている。第2筐体が第1筐体に取り付けられた状態において、第2貫通穴の縁は、第1貫通穴の縁よりも内側にある。カメラレンズは、カメラレンズの光軸の方向において、入射端と、入射端の反対側の端である出射端とを有している。出射端は、第1貫通穴に挿入されている。出射端におけるカメラレンズの外径と第1貫通穴の内径との差は、第1貫通穴が形成されている部分における第1筐体の厚さよりも小さい。撮像素子は、カメラレンズの光軸の方向において、出射端と間隔を空けて対向配置されている。
上記の分光検出器では、カメラレンズが、カメラレンズの光軸の方向において、入射端側にある固定レンズチューブと出射端側にある可動レンズチューブとに分割されていてもよい。カメラレンズの光軸の方向において、可動レンズチューブは、固定レンズチューブに対して移動可能であってもよい。
上記の分光検出器では、カメラレンズの光軸の方向における可動レンズチューブの固定レンズチューブに対する位置が、可動レンズチューブを固定レンズチューブに対してカメラレンズの光軸回りに回転させることにより移動可能であってもよい。
本開示の分光検出器によると、迷光が検出されることを抑制可能である。
顕微ラマン装置100の概略構成図である。 分光検出器40の断面図である。 カメラレンズ43の側面図である。
本開示の実施形態の詳細を、図面を参照しながら説明する。以下の図面では、同一又は相当する部分に同一の参照符号を付し、重複する説明は繰り返さないものとする。
(実施形態に係る顕微ラマン装置の構成)
以下に、実施形態に係る顕微ラマン装置の構成を説明する。実施形態に係る顕微ラマン装置を、顕微ラマン装置100とする。
以下に、顕微ラマン装置100の構成を説明する。
図1は、顕微ラマン装置100の概略構成図である。図1に示されるように、顕微ラマン装置100は、レーザ光源10と、ビームスプリッタ20と、対物レンズ30と、分光検出器40と、試料セット部50とをさらに有している。試料セット部50には、試料Sが収納される。
レーザ光源10は、レーザ光L1を発生させる。レーザ光L1の波長は、第1波長である。ビームスプリッタ20は、波長が第1波長以下の光を反射し、波長が第1波長を超える光を通過させる。
レーザ光源10において発生したレーザ光L1は、ビームスプリッタ20により反射される。ビームスプリッタ20により反射されたレーザ光L1は、対物レンズ30により集光されて試料Sに照射される。
レーザ光L1が試料Sに照射されることにより、試料Sからラマン散乱光L2が発生する。ラマン散乱光L2の波長は、第1波長から長波長側へシフトしている。すなわち、ラマン散乱光L2の波長は、第2波長である。ラマン散乱光L2は、対物レンズ30及びビームスプリッタ20を順次通過する。ビームスプリッタ20を通過したラマン散乱光L2は、分光検出器40に入射される。分光検出器40の構成については、後述する。
試料セット部50は、ステージ51と、カバー52とを有している。ステージ51は、試料セット部50の内部にある。ステージ51上には、試料Sが配置される。カバー52は、開閉可能である。カバー52を開くことにより、試料セット部50の内部における操作(例えば、試料Sに対する操作)が可能となる。
<分光検出器40の概略構成>
分光検出器40は、コリメータレンズ41(図示せず)と、グレーティング42と、カメラレンズ43と、撮像素子44とを有している。
分光検出器40に入射されたラマン散乱光L2は、コリメータレンズ41に向かう。ラマン散乱光L2は、コリメータレンズ41を通過することにより、平行光となる。コリメータレンズ41を通過したラマン散乱光L2は、グレーティング42を通過することにより、分散される。グレーティング42により分散されたラマン散乱光L2は、カメラレンズ43により、撮像素子44に集光される。これにより、ラマン散乱光L2のスペクトルが測定される。
<分光検出器40の詳細構成>
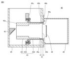
図2は、分光検出器40の断面図である。なお、図2中では、コリメータレンズ41の図示が省略されている。図3に示されるように、分光検出器40は、第1筐体45と、第2筐体46とを有している。
第1筐体45には、コリメータレンズ41、グレーティング42及びカメラレンズ43が収納されている。第2筐体46には、撮像素子44が収納されている。なお、図示されていないが、第2筐体46には、撮像素子44を冷却するためのペルチェ素子等の冷却装置及び撮像素子44に対する制御を行う電子回路も収納されている。
第1筐体45の外壁部には、第1貫通穴45aが形成されている。第2筐体46の外壁部には、第2貫通穴46aが形成されている。第2筐体46は、第1筐体45に取り付けられている。より具体的には、第2貫通穴46aの形成されている第2筐体46の外壁部(以下においては、外壁部46bとする)が、第1貫通穴45aの形成されている第1筐体45の外壁部(以下においては、外壁部45bとする)に取り付けられている。
第1貫通穴45aは、第1筐体45の内部と第1筐体45の外部とを接続している。第2貫通穴46aは、第2筐体46の内部と第2筐体46の外部とを接続している。第2筐体46が第1筐体45に取り付けられている状態において、第2筐体46の内部は、第1貫通穴45a及び第2貫通穴46aにより、第1筐体45の内部に連通している。
第2筐体46が第1筐体45に取り付けられている状態において、カメラレンズ43の光軸に沿う方向から見た際、第2貫通穴46aの縁は、第1貫通穴45aの縁よりも内側にある。すなわち、第2貫通穴46aの内径は、第1貫通穴45aの内径よりも小さい
カメラレンズ43は、入射端43aと、出射端43bとを有している。カメラレンズ43の光軸の方向におけるカメラレンズ43の両端が、それぞれ、入射端43a及び出射端43bである。グレーティング42を通過したラマン散乱光L2は、入射端43aからカメラレンズ43に入射される。出射端43bは、入射端43aの反対側の端である。出射端43bは、第1貫通穴45aに挿入されている。
外壁部45bの厚さを、厚さWとする。第1貫通穴45aの内径と出射端43bにおけるカメラレンズ43の外径との差(第1貫通穴45aの内径から出射端43bにおけるカメラレンズ43の外径を減じた値)は、厚さWよりも小さい
カメラレンズ43は、カメラレンズ43の光軸の方向において、固定レンズチューブ431と可動レンズチューブ432とに分割されている。固定レンズチューブ431には複数枚のレンズ(図示せず)が収納されており、可動レンズチューブ432には複数のレンズ(図示せず)が収納されている。可動レンズチューブ432は、第1貫通穴45aに挿入されている。固定レンズチューブ431は、可動レンズチューブ432よりも入射端43a側にある。
固定レンズチューブ431は、第1筐体45の内部にある内壁部45cに固定されている。そのため、カメラレンズ43の光軸の方向における固定レンズチューブ431の位置は、固定されている。他方で、カメラレンズ43の光軸の方向における可動レンズチューブ432の固定レンズチューブ431に対する位置は、移動可能である。カメラレンズ43の光軸の方向において可動レンズチューブ432を固定レンズチューブ431に対して移動させることにより、撮像素子44に対する焦点の調整が行われる。
図3は、カメラレンズ43の側面図である。図3に示されるように、固定レンズチューブ431の外周面には、雄ねじ431aが形成されている。図示されていないが、可動レンズチューブ432の内周面には、雄ねじ431aと螺合する雌ねじが形成されている。そのため、可動レンズチューブ432をカメラレンズ43の光軸回りに回転させることにより、可動レンズチューブ432の固定レンズチューブ431に対する位置が移動する。
また、雄ねじ431aには、ロックリング433が螺合されている。ロックリング433は、可動レンズチューブ432よりも入射端43a側にある。ロックリング433は、可動レンズチューブ432を所望の位置まで移動させた後に、可動レンズチューブ432に接触するまでカメラレンズ43の光軸回りに回転される。これにより、ロックリング433と可動レンズチューブ432との間にロッキング力が発生し、可動レンズチューブ432の回転が規制される。このようにして、ロックリング433は、可動レンズチューブ432を所望の位置において固定する。
撮像素子44は、例えば、CCD(Charge Coupled Device)カメラである。但し、撮像素子44は、これに限られない。撮像素子44は、CMOS(Complementary Metal Oxide Semiconductor)カメラであってもよい。撮像素子44は、カメラレンズ43の光軸の方向において、出射端43bと間隔を空けて対向配置されている。これにより、カメラレンズ43の光軸の方向において可動レンズチューブ432を固定レンズチューブ431に対して移動させた際に、出射端43bが撮像素子44に接触することが防止されている。
(実施形態に係る顕微ラマン装置の効果)
以下に、顕微ラマン装置100の効果を説明する。
分光検出器40では、撮像素子44に対する焦点を調整するために、可動レンズチューブ432を固定レンズチューブ431に対して移動させる。そのため、撮像素子44とカメラレンズ43とが接触しないように、出射端43bと撮像素子44との間の距離を確保する必要がある。出射端43bと撮像素子44との間の距離が大きくなると、撮像素子44に迷光が入射しやすくなる。
しかしながら、分光検出器40では、第1貫通穴45aの内径と出射端43bにおけるカメラレンズ43の外径との差は、厚さWよりも小さくなっている。そのため、カメラレンズ43と第1貫通穴45aとの間の隙間を通過するために、迷光は、この隙間内において複数回反射されることになる。この複数回の反射に伴い、迷光は減衰する。
また、分光検出器40では、第2貫通穴46aの縁が第1貫通穴45aの縁よりも内側にある。そのため、迷光は、カメラレンズ43と第1貫通穴45aとの間の隙間を通過したとしても、第2筐体46の内部に到達するためには、出射端43bと外壁部46bとの間でさらに反射が繰り返されることになる。そのため、迷光はさらに減衰する。
このように、分光検出器40は撮像素子44に到達する前に迷光を減衰させるラビリンス構造を有しているため、分光検出器40を有する顕微ラマン装置100によると、迷光が撮像素子44において検出されることが抑制される。なお、迷光が撮像素子44において検出されることが抑制される結果、撮像素子44のS/N比が改善される。
以上のように本開示の実施形態について説明を行ったが、上述の実施形態を様々に変形することも可能である。また、本発明の範囲は、上記の実施形態に限定されるものではない。本発明の範囲は、特許請求の範囲によって示され、特許請求の範囲と均等の意味及び範囲内での全ての変更を含むことが意図される。
100 顕微ラマン装置、10 レーザ光源、20 ビームスプリッタ、30 対物レンズ、40 分光検出器、41 コリメータレンズ、42 グレーティング、43 カメラレンズ、43a 入射端、43b 出射端、431 固定レンズチューブ、431a 雄ねじ、432 可動レンズチューブ、433 ロックリング、44 撮像素子、45 第1筐体、45a 第1貫通穴、45b 外壁部、45c 内壁部、46 第2筐体、46a 第2貫通穴、46b 外壁部、50 カメラ、60 試料セット部、61 ステージ、62 カバー、L1 レーザ光、L2 ラマン散乱光、S 試料、W 厚さ。

Claims (3)

  1. 第1筐体と、
    第2筐体と、
    前記第1筐体に収納されているカメラレンズと、
    前記第2筐体に収納されている撮像素子とを備え、
    前記第1筐体には、第1貫通穴が形成されており、
    前記第2筐体には、第2貫通穴が形成されており、
    前記第2筐体は、前記第2筐体の内部が前記第1貫通穴及び前記第2貫通穴により前記第1筐体の内部と連通するように前記第1筐体に取り付けられており、
    前記第2筐体が前記第1筐体に取り付けられた状態において、前記第2貫通穴の縁は、前記第1貫通穴の縁よりも内側にあり、
    前記カメラレンズは、前記カメラレンズの光軸の方向において、入射端と、前記入射端の反対側の端である出射端とを有し、
    前記出射端は、前記第1貫通穴に挿入されており、
    前記出射端における前記カメラレンズの外径と前記第1貫通穴の内径との差は、前記第1貫通穴が形成されている部分における前記第1筐体の厚さよりも小さく、
    前記撮像素子は、前記カメラレンズの光軸の方向において、前記出射端と間隔を空けて対向配置されている、分光検出器。
  2. 前記カメラレンズは、前記カメラレンズの光軸の方向において、前記第1貫通穴に挿入されている可動レンズチューブと前記可動レンズチューブよりも前記入射端側にある固定レンズチューブとに分割されており、
    前記カメラレンズの光軸の方向において、前記可動レンズチューブは、前記固定レンズチューブに対して移動可能である、請求項1に記載の分光検出器。
  3. 前記カメラレンズの光軸の方向における前記可動レンズチューブの前記固定レンズチューブに対する位置は、前記可動レンズチューブを前記固定レンズチューブに対して前記カメラレンズの光軸回りに回転させることにより移動可能である、請求項2に記載の分光検出器。
JP2021141051A 2021-08-31 2021-08-31 分光検出器 Active JP7619212B2 (ja)

Priority Applications (4)

Application Number Priority Date Filing Date Title
JP2021141051A JP7619212B2 (ja) 2021-08-31 2021-08-31 分光検出器
US17/858,646 US11879776B2 (en) 2021-08-31 2022-07-06 Spectroscopic detector assembly
DE102022002882.4A DE102022002882B4 (de) 2021-08-31 2022-08-09 Spektroskopischer detektor
CN202210963123.XA CN115728232B (zh) 2021-08-31 2022-08-11 分光检测器

Applications Claiming Priority (1)

Application Number Priority Date Filing Date Title
JP2021141051A JP7619212B2 (ja) 2021-08-31 2021-08-31 分光検出器

Publications (3)

Publication Number Publication Date
JP2023034706A JP2023034706A (ja) 2023-03-13
JP2023034706A5 JP2023034706A5 (ja) 2024-01-24
JP7619212B2 true JP7619212B2 (ja) 2025-01-22

Family

ID=85175235

Family Applications (1)

Application Number Title Priority Date Filing Date
JP2021141051A Active JP7619212B2 (ja) 2021-08-31 2021-08-31 分光検出器

Country Status (4)

Country Link
US (1) US11879776B2 (ja)
JP (1) JP7619212B2 (ja)
CN (1) CN115728232B (ja)
DE (1) DE102022002882B4 (ja)

Citations (2)

* Cited by examiner, † Cited by third party
Publication number Priority date Publication date Assignee Title
US20200057243A1 (en) 2018-08-20 2020-02-20 Eric Todd Marple Spectrometers having a variable focus lens with a single air gap
JP2020134235A (ja) 2019-02-15 2020-08-31 セイコーエプソン株式会社 光学装置

Family Cites Families (13)

* Cited by examiner, † Cited by third party
Publication number Priority date Publication date Assignee Title
DK0570163T3 (da) * 1992-05-15 1999-05-25 Philip Morris Prod Apparat og fremgangsmåde til optisk inspektion af cylindriske overflader
JPH1090064A (ja) 1996-09-12 1998-04-10 Fujitsu Ltd 顕微ラマン装置
US7403281B2 (en) * 2004-05-07 2008-07-22 University Of Wyoming Raman spectrometer
JP5178101B2 (ja) 2007-09-07 2013-04-10 オリンパスメディカルシステムズ株式会社 内視鏡
EP2304400A1 (en) * 2008-06-25 2011-04-06 Bioptigen, Inc. Volume phase grating spectrometers and related methods and systems
CN104350732B (zh) * 2012-05-28 2018-04-06 株式会社尼康 摄像装置
RU2616653C2 (ru) * 2012-06-05 2017-04-18 Хайпермед Имэджинг, Инк. Способы и устройство для соосного формирования изображения с множеством длин волн
JP6098197B2 (ja) * 2013-02-05 2017-03-22 セイコーエプソン株式会社 光学フィルターデバイス、光学モジュール、及び電子機器
KR20150046824A (ko) * 2013-10-22 2015-05-04 쓰리에이치비젼주식회사 센서를 갖는 카메라 렌즈 모듈
JP2017150935A (ja) * 2016-02-24 2017-08-31 コニカミノルタ株式会社 光特性測定システムおよび測定用光学装置
JPWO2018143340A1 (ja) * 2017-02-02 2020-01-09 パイオニア株式会社 分光カメラ、撮像方法、プログラム及び記録媒体
JP6862989B2 (ja) * 2017-03-27 2021-04-21 セイコーエプソン株式会社 レンズユニット及び撮像システム
CN211978698U (zh) * 2019-12-23 2020-11-20 深圳前海达闼云端智能科技有限公司 面扫探头系统和光谱仪

Patent Citations (2)

* Cited by examiner, † Cited by third party
Publication number Priority date Publication date Assignee Title
US20200057243A1 (en) 2018-08-20 2020-02-20 Eric Todd Marple Spectrometers having a variable focus lens with a single air gap
JP2020134235A (ja) 2019-02-15 2020-08-31 セイコーエプソン株式会社 光学装置

Also Published As

Publication number Publication date
US20230061395A1 (en) 2023-03-02
US11879776B2 (en) 2024-01-23
CN115728232B (zh) 2024-12-20
DE102022002882B4 (de) 2024-06-13
CN115728232A (zh) 2023-03-03
JP2023034706A (ja) 2023-03-13
DE102022002882A1 (de) 2023-03-02

Similar Documents

Publication Publication Date Title
US20070108387A1 (en) Tunable x-ray fluorescence imager for multi-element analysis
JP2806747B2 (ja) 顕微測光装置における反射光測定方法
US10663709B2 (en) Optical device for microscopic observation
JP6319462B2 (ja) Atr測定用対物光学系
JP4817356B2 (ja) 光学顕微鏡
TW201516577A (zh) 光學組件
US20250231100A1 (en) Analysis device
CN107923792A (zh) 光谱仪
JP7619212B2 (ja) 分光検出器
JP5977527B2 (ja) 走査型観察装置
JPWO2023013325A5 (ja)
JP6784773B2 (ja) 標本観察装置
JP4336847B2 (ja) 顕微分光測定装置
TWM657713U (zh) 極紫外光顯微鏡
JP7750296B2 (ja) 顕微ラマン分光装置
JP2024003439A (ja) ラマン赤外複合顕微装置
JPH0915153A (ja) 透過率測定装置
JPH1054793A (ja) 分光反射光量測定装置
US9170414B2 (en) Method and apparatus for producing a super-magnified wide-field image
JP4928836B2 (ja) 顕微装置
JPS58219439A (ja) レ−ザ発光分光分析装置
JP2005181124A (ja) スペクトル検出装置
US20160123868A1 (en) Observation apparatus
JP2002357550A (ja) プローブ及びそれを用いたラマン分光装置
JP2007271528A (ja) 同軸小型蛍光分光分析装置

Legal Events

Date Code Title Description
A521 Request for written amendment filed

Free format text: JAPANESE INTERMEDIATE CODE: A523

Effective date: 20240115

A621 Written request for application examination

Free format text: JAPANESE INTERMEDIATE CODE: A621

Effective date: 20240115

TRDD Decision of grant or rejection written
A977 Report on retrieval

Free format text: JAPANESE INTERMEDIATE CODE: A971007

Effective date: 20241206

A01 Written decision to grant a patent or to grant a registration (utility model)

Free format text: JAPANESE INTERMEDIATE CODE: A01

Effective date: 20241210

A61 First payment of annual fees (during grant procedure)

Free format text: JAPANESE INTERMEDIATE CODE: A61

Effective date: 20241223

R150 Certificate of patent or registration of utility model

Ref document number: 7619212

Country of ref document: JP

Free format text: JAPANESE INTERMEDIATE CODE: R150