JP7595065B2 - 送信アンテナダイバーシティ無線オーディオシステム - Google Patents

送信アンテナダイバーシティ無線オーディオシステム Download PDF

Info

Publication number
JP7595065B2
JP7595065B2 JP2022507514A JP2022507514A JP7595065B2 JP 7595065 B2 JP7595065 B2 JP 7595065B2 JP 2022507514 A JP2022507514 A JP 2022507514A JP 2022507514 A JP2022507514 A JP 2022507514A JP 7595065 B2 JP7595065 B2 JP 7595065B2
Authority
JP
Japan
Prior art keywords
audio
wireless audio
antennas
pilot symbols
converters
Prior art date
Legal status (The legal status is an assumption and is not a legal conclusion. Google has not performed a legal analysis and makes no representation as to the accuracy of the status listed.)
Active
Application number
JP2022507514A
Other languages
English (en)
Other versions
JP2022543292A (ja
Inventor
マイケル ロドリゲス
ロバート マモラ
Current Assignee (The listed assignees may be inaccurate. Google has not performed a legal analysis and makes no representation or warranty as to the accuracy of the list.)
Shure Acquisition Holdings Inc
Original Assignee
Shure Acquisition Holdings Inc
Priority date (The priority date is an assumption and is not a legal conclusion. Google has not performed a legal analysis and makes no representation as to the accuracy of the date listed.)
Filing date
Publication date
Application filed by Shure Acquisition Holdings Inc filed Critical Shure Acquisition Holdings Inc
Publication of JP2022543292A publication Critical patent/JP2022543292A/ja
Application granted granted Critical
Publication of JP7595065B2 publication Critical patent/JP7595065B2/ja
Active legal-status Critical Current
Anticipated expiration legal-status Critical

Links

Images

Classifications

    • HELECTRICITY
    • H04ELECTRIC COMMUNICATION TECHNIQUE
    • H04BTRANSMISSION
    • H04B7/00Radio transmission systems, i.e. using radiation field
    • H04B7/02Diversity systems; Multi-antenna system, i.e. transmission or reception using multiple antennas
    • H04B7/04Diversity systems; Multi-antenna system, i.e. transmission or reception using multiple antennas using two or more spaced independent antennas
    • H04B7/06Diversity systems; Multi-antenna system, i.e. transmission or reception using multiple antennas using two or more spaced independent antennas at the transmitting station
    • H04B7/0602Diversity systems; Multi-antenna system, i.e. transmission or reception using multiple antennas using two or more spaced independent antennas at the transmitting station using antenna switching
    • HELECTRICITY
    • H04ELECTRIC COMMUNICATION TECHNIQUE
    • H04BTRANSMISSION
    • H04B7/00Radio transmission systems, i.e. using radiation field
    • H04B7/02Diversity systems; Multi-antenna system, i.e. transmission or reception using multiple antennas
    • H04B7/04Diversity systems; Multi-antenna system, i.e. transmission or reception using multiple antennas using two or more spaced independent antennas
    • H04B7/06Diversity systems; Multi-antenna system, i.e. transmission or reception using multiple antennas using two or more spaced independent antennas at the transmitting station
    • H04B7/0613Diversity systems; Multi-antenna system, i.e. transmission or reception using multiple antennas using two or more spaced independent antennas at the transmitting station using simultaneous transmission
    • H04B7/0615Diversity systems; Multi-antenna system, i.e. transmission or reception using multiple antennas using two or more spaced independent antennas at the transmitting station using simultaneous transmission of weighted versions of same signal
    • HELECTRICITY
    • H04ELECTRIC COMMUNICATION TECHNIQUE
    • H04BTRANSMISSION
    • H04B7/00Radio transmission systems, i.e. using radiation field
    • H04B7/02Diversity systems; Multi-antenna system, i.e. transmission or reception using multiple antennas
    • H04B7/04Diversity systems; Multi-antenna system, i.e. transmission or reception using multiple antennas using two or more spaced independent antennas
    • H04B7/06Diversity systems; Multi-antenna system, i.e. transmission or reception using multiple antennas using two or more spaced independent antennas at the transmitting station
    • H04B7/0613Diversity systems; Multi-antenna system, i.e. transmission or reception using multiple antennas using two or more spaced independent antennas at the transmitting station using simultaneous transmission
    • H04B7/0667Diversity systems; Multi-antenna system, i.e. transmission or reception using multiple antennas using two or more spaced independent antennas at the transmitting station using simultaneous transmission of delayed versions of same signal
    • HELECTRICITY
    • H04ELECTRIC COMMUNICATION TECHNIQUE
    • H04BTRANSMISSION
    • H04B7/00Radio transmission systems, i.e. using radiation field
    • H04B7/02Diversity systems; Multi-antenna system, i.e. transmission or reception using multiple antennas
    • H04B7/04Diversity systems; Multi-antenna system, i.e. transmission or reception using multiple antennas using two or more spaced independent antennas
    • H04B7/06Diversity systems; Multi-antenna system, i.e. transmission or reception using multiple antennas using two or more spaced independent antennas at the transmitting station
    • H04B7/0613Diversity systems; Multi-antenna system, i.e. transmission or reception using multiple antennas using two or more spaced independent antennas at the transmitting station using simultaneous transmission
    • H04B7/0667Diversity systems; Multi-antenna system, i.e. transmission or reception using multiple antennas using two or more spaced independent antennas at the transmitting station using simultaneous transmission of delayed versions of same signal
    • H04B7/0671Diversity systems; Multi-antenna system, i.e. transmission or reception using multiple antennas using two or more spaced independent antennas at the transmitting station using simultaneous transmission of delayed versions of same signal using different delays between antennas
    • HELECTRICITY
    • H04ELECTRIC COMMUNICATION TECHNIQUE
    • H04BTRANSMISSION
    • H04B7/00Radio transmission systems, i.e. using radiation field
    • H04B7/02Diversity systems; Multi-antenna system, i.e. transmission or reception using multiple antennas
    • H04B7/04Diversity systems; Multi-antenna system, i.e. transmission or reception using multiple antennas using two or more spaced independent antennas
    • H04B7/06Diversity systems; Multi-antenna system, i.e. transmission or reception using multiple antennas using two or more spaced independent antennas at the transmitting station
    • H04B7/0613Diversity systems; Multi-antenna system, i.e. transmission or reception using multiple antennas using two or more spaced independent antennas at the transmitting station using simultaneous transmission
    • H04B7/068Diversity systems; Multi-antenna system, i.e. transmission or reception using multiple antennas using two or more spaced independent antennas at the transmitting station using simultaneous transmission using space frequency diversity
    • HELECTRICITY
    • H04ELECTRIC COMMUNICATION TECHNIQUE
    • H04LTRANSMISSION OF DIGITAL INFORMATION, e.g. TELEGRAPHIC COMMUNICATION
    • H04L1/00Arrangements for detecting or preventing errors in the information received
    • H04L1/02Arrangements for detecting or preventing errors in the information received by diversity reception
    • H04L1/06Arrangements for detecting or preventing errors in the information received by diversity reception using space diversity
    • H04L1/0618Space-time coding
    • H04L1/0637Properties of the code
    • H04L1/0643Properties of the code block codes
    • HELECTRICITY
    • H04ELECTRIC COMMUNICATION TECHNIQUE
    • H04LTRANSMISSION OF DIGITAL INFORMATION, e.g. TELEGRAPHIC COMMUNICATION
    • H04L1/00Arrangements for detecting or preventing errors in the information received
    • H04L1/02Arrangements for detecting or preventing errors in the information received by diversity reception
    • H04L1/06Arrangements for detecting or preventing errors in the information received by diversity reception using space diversity
    • H04L1/0618Space-time coding
    • H04L1/0637Properties of the code
    • H04L1/0668Orthogonal systems, e.g. using Alamouti codes
    • HELECTRICITY
    • H04ELECTRIC COMMUNICATION TECHNIQUE
    • H04LTRANSMISSION OF DIGITAL INFORMATION, e.g. TELEGRAPHIC COMMUNICATION
    • H04L27/00Modulated-carrier systems
    • H04L27/26Systems using multi-frequency codes
    • H04L27/2601Multicarrier modulation systems
    • H04L27/2602Signal structure
    • H04L27/261Details of reference signals
    • H04L27/2613Structure of the reference signals
    • HELECTRICITY
    • H04ELECTRIC COMMUNICATION TECHNIQUE
    • H04LTRANSMISSION OF DIGITAL INFORMATION, e.g. TELEGRAPHIC COMMUNICATION
    • H04L7/00Arrangements for synchronising receiver with transmitter
    • H04L7/0016Arrangements for synchronising receiver with transmitter correction of synchronization errors
    • H04L7/0033Correction by delay
    • HELECTRICITY
    • H04ELECTRIC COMMUNICATION TECHNIQUE
    • H04RLOUDSPEAKERS, MICROPHONES, GRAMOPHONE PICK-UPS OR LIKE ACOUSTIC ELECTROMECHANICAL TRANSDUCERS; DEAF-AID SETS; PUBLIC ADDRESS SYSTEMS
    • H04R2420/00Details of connection covered by H04R, not provided for in its groups
    • H04R2420/07Applications of wireless loudspeakers or wireless microphones
    • HELECTRICITY
    • H04ELECTRIC COMMUNICATION TECHNIQUE
    • H04RLOUDSPEAKERS, MICROPHONES, GRAMOPHONE PICK-UPS OR LIKE ACOUSTIC ELECTROMECHANICAL TRANSDUCERS; DEAF-AID SETS; PUBLIC ADDRESS SYSTEMS
    • H04R3/00Circuits for transducers, loudspeakers or microphones

Landscapes

  • Engineering & Computer Science (AREA)
  • Computer Networks & Wireless Communication (AREA)
  • Signal Processing (AREA)
  • Radio Transmission System (AREA)

Description

関連出願の相互参照
本出願は、2019年8月15日に出願された米国特許仮出願第62/882,980号の優先権を主張するものであり、これらの特許仮出願の内容はその全体が引用により本明細書に組み入れられる。
本出願は、一般に、送信アンテナダイバーシティを利用する無線オーディオシステムに関する。詳細には、本出願は、異なる複数の信号タイプについて複数のアンテナダイバーシティ技術を適用する送信機を有する無線オーディオシステムに関する。
オーディオ制作は、マイク、無線オーディオ送信機、無線オーディオ受信機、レコーダ、および/またはテレビ番組、ニュース放送、映画、ライブイベントおよび他のタイプの制作物等の制作物の音の取り込み、記録および提示を行うためのミキサを含む、多くのコンポーネントの使用を含む可能性がある。通常、マイクは制作物の音を取り込み、この音は、マイクおよび/または無線オーディオ送信機から無線オーディオ受信機に無線で送信される。無線オーディオ受信機は、クルーメンバによる音の記録および/またはミキシングのための、プロダクションサウンドミキサ等のレコーダおよび/またはミキサに接続することができる。レコーダおよび/またはミキサには、クルーメンバがオーディオレベルおよびタイムコードをモニタすることを可能にするように、コンピュータおよびスマートフォン等の電子デバイスを接続することができる。
無線オーディオ送信機、無線オーディオ受信機、無線マイクおよび他のポータブル無線通信デバイスは、変調オーディオ信号、データ信号および/または制御信号等のデジタルまたはアナログ信号を含む無線周波数(RF)信号を送受信するためのアンテナを含む。ポータブル無線通信デバイスの使用は、舞台公演者、歌手、役者、ニュースリポーター等を含む。
無線オーディオ送信機は、オーディオ信号を含むRF信号を無線オーディオ受信機に送信することができる。無線オーディオ送信機は、例えば、ユーザによって保持または装着され、一体化された送信機およびアンテナを含む、無線ハンドヘルドマイクまたはボディパックに含めることができる。別の例として、無線オーディオ送信機は、アクセスポイントまたは他の集中型ユニットに含めることができる。無線イヤフォン、無線会議ユニットまたはボディパック等の無線オーディオ受信機はポータブルとすることができる。RF信号が無線オーディオ受信機において受信されるとき、RF信号は、強め合う干渉および/または他のタイプの干渉によって生じるマルチパスフェージングに起因して劣化する場合がある。この劣化により、RF信号が不十分な信号対雑音比(SNR)を有する場合があり、この結果、オーディオアーチファクトおよび結果として得られる出力オーディオのミュートを引き起こし得るビット誤りが生じ得る。しかしながら、出力オーディオのミュートは、プロの舞台制作およびコンタート中等の多くの状況および環境において望ましくない。このようなマルチパスフェージングおよび干渉の影響は、例えば環境内のマイクの動き、他のRF信号、大会場での動作等の物理的および電気的要因がRF信号の送受信に影響を与える過酷なRF環境において最もよく見られる。
RF信号のマルチパスフェージングの問題を軽減するために、無線オーディオコンポーネントは、周波数ダイバーシティおよび/またはアンテナダイバーシティ技術を利用することができる。例えば、無線オーディオ送信機が、周波数ダイバーシティを利用して、いずれも同じオーディオ信号を含む2つの別個の周波数の2つのRF信号を1つのアンテナ上で合成RF信号の形で同時に送信することができる。このとき、無線オーディオ受信機は、基礎をなすRF信号の一方または両方を使用することができる。別の例として、無線オーディオ受信機は、アンテナダイバーシティを利用して、無線オーディオ送信機からのRF信号を複数のアンテナで同時に受信することもできる。受信したRF信号を合成して、単一のオーディオ出力を生成することができる。
しかしながら、ポータブルな無線オーディオ受信機においてダイバーシティを利用することは、サイズおよび電力の制約に起因して困難かつ難易度が高い場合がある。例えば、ポータブル無線オーディオ受信機は、通常、小型であり、電池式であるため、そのような受信機においてダイバーシティ技術を利用する結果、最適に及ばないアンテナ配置および/または受け入れられない電力損が生じる場合がある。加えて、複数のポータブル無線オーディオ受信機においてダイバーシティ技術を利用するとき、大きなコストおよび複雑度が存在し得る。
RF信号のマルチパスフェージングに伴う問題を回避するための他の技術は、望ましくない副作用を有する場合がある。例えば、無線オーディオ送信機の送信電力は、大きなフェージングマージンを計上するように増大させることができる。しかしながら、送信電力が増大するときの相互変調積に起因して、スペクトル効率全体が負の影響を受ける場合がある。更に、送信機の物理的設計および/または政府規制によって、送信電力を増大させることができる量が制限される場合がある。加えて、送信電力の増大は、周波数選択性フェージングによって生じるエラーフロアを解消しない。別の例として、アンテナは、無線オーディオ送信機から無線オーディオ受信機に送信される信号エネルギーを集束させるように設計することができる。しかしながら、そのようなアンテナは、過度に指向性であり、これによって無線オーディオ送信機のカバレッジに影響を及ぼす可能性がある。更なる例として、いくつかの用途(例えば、無線インイヤー型パーソナルモニタ)において、ダイバーシティ性能を改善することを試みて、アドホック信号分割技術が利用される場合がある。しかしながら、そのような技術は、結果として劣化した信頼性のない性能をもたらし得る位相キャンセレーションの問題を生じる可能性がある。
したがって、これらの懸念事項に対処する、送信アンテナダイバーシティを利用する無線オーディオシステムのための機会が存在する。より具体的には、最適なマルチパス性能および改善したスペクトル効率を提供することができる、異なる複数の信号タイプについて複数のアンテナダイバーシティ技術を用いる送信機を有する無線オーディオシステムのための機会が存在する。
本発明は、数ある中でも、(1)データ/制御シンボル、パイロットシンボルおよび同期信号等の、送信されている信号のタイプに応じて、異なる複数の送信ダイバーシティ技術を同時に適用し、(2)最適データレートを維持しながら、独立したチャネル推定およびコヒーレントな変調のために、埋め込まれた直交パイロットシンボルを利用し、(3)カバレッジおよび/または容量の増大のために、柔軟に符号化され、かつ/または複数のアンテナにルーティングされる、ように設計された送信アンテナダイバーシティを利用する無線オーディオシステムを提供することによって、上述の問題を解決することを目的とする。
一実施形態において、無線オーディオ送信機は、ユーザが無線オーディオ送信機の複数のモードのうちの1つを選択することを可能にするためのモード選択インタフェースと、それぞれがオーディオ信号を送信するように構成された複数のアンテナと、モード選択インタフェースと通信するエンコーダであって、(i)オーディオデータ信号および制御信号を含むデータシンボルと、(ii)パイロットシンボルとを受信するように構成される、エンコーダと、同期トランスフォーマと、それぞれがエンコーダ、同期トランスフォーマ、および複数のアンテナのうちの1つと通信する複数のコンバータと、を備える。エンコーダは、第1のモードにあるとき、データシンボルおよびパイロットシンボルを受信して、複数のコンバータの各々にルーティングし、第2のモードにあるとき、第1のダイバーシティ技術に基づいてデータシンボルおよびパイロットシンボルを受信して符号化し、符号化されたデータシンボルおよび符号化されたパイロットシンボルを、複数のコンバータの1つまたは複数のサブセットにルーティングするように更に構成することができる。
同期トランスフォーマは、第2のダイバーシティ技術に基づいて同期信号を受信して変換するように構成することができる。コンバータの各々は、第1のモードにあるとき、データシンボル、パイロットシンボル、および変換された同期信号を合成して、複数のアンテナのうちの1つにおいて送信されるオーディオ信号にし、第2のモードにあるとき、符号化されたデータシンボル、符号化されたパイロットシンボル、および変換された同期信号を合成して、複数のアンテナのうちの1つにおいて送信されるオーディオ信号にするように構成することができる。
別の実施形態において、無線オーディオ送信機を用いてオーディオ信号を無線送信するための方法が、モード選択インタフェースから、無線オーディオ送信機の複数のモードのうちの1つの選択を受信することと、エンコーダにおいて、(i)オーディオデータ信号および制御信号を含むデータシンボルと、(ii)パイロットシンボルとを受信することと、選択が第1のモードであるとき、エンコーダを用いて、データシンボルおよびパイロットシンボルを複数のコンバータの各々にルーティングすることと、選択が第2のモードであるとき、エンコーダを用いて、第1のダイバーシティ技術に基づいてデータシンボルおよびパイロットシンボルを符号化し、エンコーダを用いて、符号化されたデータシンボルおよび符号化されたパイロットシンボルを、複数のコンバータの1つまたは複数のサブセットにルーティングすることと、を含むことができる。本方法は、同期トランスフォーマにおいて、同期信号を受信することと、同期トランスフォーマを用いて、第2のダイバーシティ技術に基づいて同期信号を変換することと、選択が第1のモードであるとき、複数のコンバータの各々を用いて、データシンボル、パイロットシンボル、および変換された同期信号を合成して、複数のアンテナのうちの1つにおいて送信されるオーディオ信号にすることと、選択が第2のモードであるとき、複数のコンバータの1つまたは複数のサブセットを用いて、符号化されたデータシンボル、符号化されたパイロットシンボル、および変換された同期信号を合成して、複数のアンテナのうちの1つにおいて送信されるオーディオ信号にすることと、を更に含む。
更なる実施形態において、無線オーディオシステムは、オーディオソースと、オーディオソースと通信する無線オーディオ送信機と、無線オーディオ送信機と無線通信する無線オーディオ受信機と、を備えることができる。オーディオソースは、オーディオデータ信号および制御信号を含むデータシンボルを各々が含む1つまたは複数のオーディオソース信号を生成するように構成することができる。無線オーディオ送信機は、それぞれがオーディオ信号を送信するように構成された複数のアンテナと、オーディオソースと通信し、第1のダイバーシティ技術に基づいてデータシンボルおよびパイロットシンボルを受信し符号化するように構成される、エンコーダと、オーディオソースと通信し、第2のダイバーシティ技術に基づいて同期信号を受信して変換するように構成される、同期トランスフォーマと、各々がエンコーダ、同期トランスフォーマ、および複数のアンテナのうちの1つと通信する複数のコンバータであって、複数のコンバータの各々が、符号化されたデータシンボル、符号化されたパイロットシンボル、および変換された同期信号を合成して、複数のアンテナのうちの1つにおいて送信されるオーディオ信号にするように構成される、複数のコンバータと、を備えることができる。無線オーディオ受信機は、少なくとも1つの受信アンテナにおいてオーディオ信号を受信するように構成することができる。
本発明の原理を使用できる様々な方法を示す例示的な実施形態を記載する以下の詳細な説明および添付図面からは、これらのおよびその他の実施形態、ならびに様々な置換および態様が明らかになり、更に十分に理解されるであろう。
いくつかの実施形態による、送信アンテナダイバーシティを利用する無線オーディオシステムの概略図である。 いくつかの実施形態による、送信ダイバーシティのために2つのアンテナを利用する無線オーディオ送信機の一部分の概略図である。 いくつかの実施形態による、送信ダイバーシティのために4つのアンテナを利用する無線オーディオ送信機の一部分の概略図である。 いくつかの実施形態による、送信アンテナダイバーシティを利用する無線オーディオ送信機を用いてオーディオ信号を無線送信するための動作を示すフローチャートである。 いくつかの実施形態による、送信ダイバーシティのために2つのアンテナを利用する無線オーディオ送信機における使用のための、時空間ブロックコーディング(space-time block coding)を用いたデータシンボルおよびパイロットシンボルの符号化を示す表である。 いくつかの実施形態による、送信ダイバーシティのために2つのアンテナを利用する無線オーディオシステムの性能を示す例示的なグラフである。 いくつかの実施形態による、無線オーディオ送信機の異なる複数のモードにおける、オーディオチャネルの符号化および/またはコンバータおよびアンテナへのルーティングの例示的な図である。 いくつかの実施形態による、無線オーディオ送信機の異なる複数のモードにおける、オーディオチャネルの符号化および/またはコンバータおよびアンテナへのルーティングの例示的な図である。 いくつかの実施形態による、無線オーディオ送信機の異なる複数のモードにおける、オーディオチャネルの符号化および/またはコンバータおよびアンテナへのルーティングの例示的な図である。 いくつかの実施形態による、無線オーディオ送信機の異なる複数のモードにおける、オーディオチャネルの符号化および/またはコンバータおよびアンテナへのルーティングの例示的な図である。 いくつかの実施形態による、無線オーディオ送信機の異なる複数のモードにおける、オーディオチャネルの符号化および/またはコンバータおよびアンテナへのルーティングの例示的な図である。
以下の説明は、本発明の原理に従う本発明の1つまたは複数の特定の実施形態を説明し、図示し、例示するものである。この説明は、本明細書で説明する実施形態に本発明を限定するためではなく、むしろ当業者が本発明の原理を理解した上でこれらの原理を応用し、本明細書で説明する実施形態のみならず、これらの原理に基づいて想起される他の実施形態も実施できるように、本発明の原理の説明および教示のために行うものである。本発明の範囲は、文言上、または均等論の下で添付の特許請求の範囲に含まれる可能性のある全ての実施形態を対象とすることが意図されている。
説明および図面では、類似するまたは実質的に同様の要素には同じ参照数字を付すことができることに留意されたい。しかしながら、例えば異なる数字を付した方が説明が明確になるような場合には、これらの要素に異なる数字を付すこともある。加えて、本明細書に示す図面は必ずしも縮尺通りではなく、場合によっては特定の特徴をより明確に示すために比率を誇張していることもある。このような表示および作図手法は、必ずしも基礎をなす本質的な目的に関与するものではない。上述したように、本明細書は、本明細書で教示され当業者に理解される本発明の原理に従って全体として受け取られ解釈されるように意図されている。
本明細書に記載の無線オーディオシステムは、最適なマルチパス性能および改善されたスペクトル効率を達成するために、異なる複数の信号タイプについて複数のアンテナダイバーシティ技術を用いる送信機を備えることによって、送信アンテナダイバーシティを利用することができる。異なる複数の信号タイプは、例えば、オーディオデータ信号および制御信号を含むデータシンボル、パイロットシンボルおよび同期信号を含むことができる。無線オーディオ送信機は、独立したチャネル推定およびコヒーレントな復調のために直交パイロットシンボルを用いることができる。送信アンテナダイバーシティを有する無線オーディオシステムのデータレートは、非ダイバーシティ無線オーディオ送信機を有するシステムと比較して、一貫して維持することができる。無線オーディオ送信機によって利用されるアンテナの数は、より大きなカバレッジおよび/または容量を得るために、選択可能、拡張可能かつスケーリング可能とすることができる。加えて、無線オーディオシステムは、特定の送信パスが故障した場合であっても、依然として、低減した範囲および/または性能で動作することが可能であり得る。無線オーディオシステムの性能は、単一ゾーン(例えば、ステージ)および複数ゾーン(例えば、ステージおよびバックステージ)の双方においてよりロバストにすることができる。
図1は、送信アンテナダイバーシティを利用する例示的な無線オーディオシステム100の概略図である。システム100は、無線周波数(RF)信号の送信のためのアンテナ112a、112bを有する無線オーディオ送信機110と、RF信号の受信のためのそれぞれのアンテナ152a、152b、152cを有する無線オーディオ受信機150a、150b、150cとを備えることができる。送信機110は、複数のアンテナ112a、112bに起因して、以下により詳細に説明するように、アンテナダイバーシティを利用することができる。アンテナダイバーシティは、例えば、物理的に別個のアンテナ(すなわち、空間的に離間して配置されたアンテナ)を用いることを含むことができる。送信機110が3つ以上のアンテナを有すること、および任意の数の受信機150が存在することが想定され、可能である。いくつかの実施形態において、送信機110は、アクセスポイントまたは他の集中型ユニットとすることができる。いくつかの実施形態では、受信機150a、150b、150cは、無線イヤフォン、無線会議ユニットまたはボディパック等のポータブル無線オーディオ受信機とすることができる。
実施形態において、システム100は、様々なタイプのトラフィックが個々のサブキャリアにおいて搬送され、共に単一の広帯域キャリアに多重化されることを可能にするOFDM(直交周波数分割多重)広帯域オーディオシステムとすることができる。他の実施形態において、システム100は、ナローバンドオーディオシステム、例えばパーソナルモニタリングシステムとすることができる。送信機110によって送信され、受信機150によって受信されるRF信号は、例えば、オーディオデータ信号および制御信号を有するデータシンボル、パイロットシンボル、ならびに/または同期信号を含むことができる。いくつかの実施形態において、データシンボルは、オーディオデータ信号および/または制御信号を搬送することができるQPSK/QAM変調サブキャリアとすることができる。パイロットシンボルは、受信機150において信号のチャネル推定およびコヒーレントな復調を可能にすることができる既知のシンボルとすることができる。
以下でより詳細に説明するように、いくつかの実施形態において、データシンボルおよびパイロットシンボルは、時空間ブロックコーディング(STBC)を用いて複数のアンテナにマッピングすることができる。データシンボルおよびパイロットシンボルを、STBCを用いて符号化することは、シンボルのブロックを処理し、これらを複数のアンテナにわたって複数回送信することを伴う。他の実施形態では、データシンボルおよびパイロットシンボルは、他の適切な技術を用いて変換することができる。
受信機150がシステム100の周波数および/またはタイミング基準を取得することができるように、送信機110から同期信号を送信することができる。送信機110および受信機150は、データシンボルおよびパイロットシンボルを適切に送受信することができるように、通常、互いに同期させる必要がある。例えば、受信機150の局部発振器の周波数および位相は、送信機110のものと同期させる必要がある場合がある。以下でより詳細に説明するように、ラウンドロビン切り替え型ダイバーシティまたは巡回遅延ダイバーシティ(cyclic delay diversity,CDD)技術を同期信号に適用することができる。したがって、データシンボル、パイロットシンボルおよび同期信号は、異なるアンテナダイバーシティ技術を利用することができる。
システム100は、送信機110と通信するオーディオソース120も含むことができる。オーディオソース120は、オーディオデータ信号および制御信号を有するデータシンボルを含む1つまたは複数のオーディオソース信号を生成することができる。送信機110は、オーディオソース120からのデータシンボルを変調し、アンテナ112a、112bにおけるRF信号の送信の前にパイロットシンボルおよび同期シンボルを挿入することができる。
図2は、送信ダイバーシティのために2つのアンテナ212a、212bを利用する無線オーディオ送信機の一部分の概略図である。簡単にするために、図2は、変調器、アナログ/デジタルコンバータ、デジタル/アナログコンバータ、コーデック等のような送信機210の他のコンポーネントを示していない。送信機210は、データシンボル、パイロットシンボルおよび/または同期信号を含むRF信号を、図1の無線オーディオシステム100における受信機150等の1つまたは複数の受信機による受信のために送信することができる。無線オーディオ送信機210に含まれる様々なコンポーネントは、プロセッサおよびメモリを有するコンピュータデバイス等の1つまたは複数のサーバまたはコンピュータによって、および/またはハードウェア(例えば、離散論理回路、特定用途向け集積回路(ASIC)、プログラマブルゲートアレイ(PGA)、フィールドプログラマブルゲートアレイ(FPGA)等)によって実行可能なソフトウェアを用いて実装することができる。
送信アンテナダイバーシティを利用する無線オーディオ送信機を用いてオーディオ信号を無線送信するためのプロセス400の一実施形態が図4に示される。プロセス400は送信機210によって実行することができる。送信機210内または送信機210の外部の1つ以上のプロセッサおよび/または他の処理コンポーネント(例えば、アナログ/デジタルコンバータ、暗号化チップ等)が、プロセス400のステップのうちの任意のもの、いくつかまたは全てを実行することができる。1つ以上の他のタイプのコンポーネント(例えば、メモリ、入力および/または出力デバイス、送信機、受信機、バッファ、ドライバ、離散コンポーネント等)を、プロセッサおよび/または他の処理コンポーネントと併せて利用して、プロセス400のステップのうちの任意のもの、いくつかまたは全てを実行することもできる。
送信機210は、アンテナ212a、212bにおいて送信するためのデータシンボル、パイロットシンボルおよび同期信号を含む信号を生成することができる。データシンボルは、オーディオデータ信号および/または制御信号を含むことができる。制御信号は、システムメッセージングおよび他の情報を含むことができる。エンコーダ214は、データシンボルおよびパイロットシンボルが、アンテナ212a、212bにおいて最終的に送信されるように符号化および/またはルーティングされることを可能にする複数の動作モードを有することができる。エンコーダ214および送信機210のモードの選択は、ステップ402においてユーザインタフェース等から受信することができる。データシンボルおよびパイロットシンボルは、ステップ404においてエンコーダ214によって受信することができる。
同期信号は、周波数領域または時間領域にあることができ、アンテナ212a、212bにおける送信のために巡回遅延ダイバーシティ(CDD)技術を用いて変換することができる。ステップ406において、同期信号は、同期トランスフォーマ218によって受信することができる。CDDは、アンテナ212a、212bの放射パターンにおいてヌルが生じないように同期信号に適用することができる。特に、ステップ408において、位相ランプej2πm/Nは、同期トランスフォーマ218によって、周波数領域において同期信号を変換するように適用することができ、同期信号は、同期トランスフォーマ218によって、時間領域における巡回遅延を用いて変換することができる。したがって、第1のアンテナ212aは、同期信号のオリジナルコピーを送信することができるのに対し、第2のアンテナ212bは、同期信号の巡回シフトされたバージョンを送信することができる。図2に示す2つのアンテナ212a、212bは単なる例示であることを理解されたい。いくつかの実施形態では、同期信号は、ラウンドロビン切り替え型ダイバーシティ方式において、同期トランスフォーマ218によって変換することができる。
データシンボルおよびパイロットシンボル(符号化されている場合もされていない場合もある)ならびに同期信号は、ステップ410において選択されたモードに応じてコンバータ216a、216bによって合成することができる。例えば、送信機210の第1のモードにおいて、データシンボルおよびパイロットシンボルは、エンコーダ214によって符号化されない場合があり、ステップ412においてコンバータ216a、216bにルーティングされる。ステップ414において、次に、コンバータ216a、216bは、データシンボル、パイロットシンボルおよび変換された同期信号を合成してオーディオ信号にすることができ、このオーディオ信号がアンテナ212a、212bにおいてRF信号として送信される。別の例では、送信機210の第2のモードにおいて、データシンボルおよびパイロットシンボルは、ステップ416においてエンコーダ214によって符号化され、ステップ418においてコンバータ216a、216bにルーティングされる場合がある。ステップ420において、コンバータ216a、216bは、符号化されたデータシンボル、符号化されたパイロットシンボルおよび変換された同期信号を合成してオーディオ信号にすることができ、このオーディオ信号がアンテナ212a、212bにおいて送信される。
実施形態において、送信機210は、OFDM広帯域送信機とすることができ、データシンボルおよびパイロットシンボルは、周波数領域にあり、エンコーダ214において時空間ブロックコーディング(STBC)によってマッピングすることができる。データシンボルは、QPSK/QAM変調サブキャリアとすることができる。図5の表に示すように、エンコーダ214は、2つのアンテナ212a、212bにおける送信のためにシンボルの対を処理することができる。例えば、データサブキャリアのための入力シンボル対がsn,0、sn,1であるとき、第1のアンテナ212aは、同じシンボル対sn,0、sn,1を送信することができるのに対し、第2のアンテナ212bは、シンボル対s* n,0、-s* n,1(すなわち、入力シンボル対の複素共役)を送信することができる。特に、エンコーダ214は、当該技術分野において既知であるように、入力シンボルを受信し、STBCを用いて符号化して、アンテナ212a、212bにおいて送信するためのシンボルを生成することができる。実施形態において、コードは、レート1STBC(Alamoutiから既知)または別の適切なコードとすることができる。
パイロットシンボルは、受信機において信号のチャネル推定およびコヒーレントな復調において用いるための既知のシンボルとすることができる。実施形態において、パイロットシンボルは直交シーケンスとすることができる。図5の表に示すように、STBCエンコーダ214は、パイロットシンボルのための+1の値の対を処理し、アンテナ212a、212bにおいて直交パイロットパターンを生成することができる。例えば、パイロットシンボルのための入力シンボル対が+1、+1であるとき、第1のアンテナ212aは、同じシンボル対+1、+1を送信することができるのに対し、第2のアンテナ212bはシンボル対+1、-1を送信することができる。実施形態において、パイロット信号は、時間または周波数ではなくコードにおいて直交することができる。これにより、複数のアンテナにおいて一意のパイロットが存在するため、容量の減少がないことを確実にすることができる。加えて、実施形態において、パイロットシンボルは、データシンボルについて同じSTBCマッピングを用いることができ、これにより、実施の複雑度の低減を支援することができる。
受信機150a、150b、150c等の1つ以上の受信機は、アンテナ152a、152b、152c等のそれぞれのアンテナにおけるオーディオ信号を含む、送信機210から送信されたRF信号を受信することができる。受信機は、受信したRF信号を変調、変換および/または処理して、当該技術分野において既知のように、アナログまたはデジタル出力オーディオ信号を生成することができる。特に、受信機は、符号化された方式、例えばAlamoutiレート1STBCに基づいてデータシンボルおよびパイロットシンボルを復号することができる。実施形態において、受信機はそれぞれ、空間ダイバーシティ方式において、送信機210から送信されたRF信号を同時に受信する複数のアンテナを有することができる。送信機および受信機の双方が空間ダイバーシティを有するとき、多入力多出力(MIMO)技術を利用することができる。例えば、MIMOの使用の結果として、フェージング環境におけるビット誤り率の低下に起因した、フェージング軽減のためのダイバーシティ利得の増大を得ることができる。別の例として、MIMOの使用の結果として、空間多重化、すなわち、周波数あたりの更なるビットに起因して、より高いスループットを得ることができる。
図6の例示的なグラフにおいて、2アンテナダイバーシティを有する無線オーディオシステム100の性能が、単一アンテナ無線オーディオシステムの性能よりも改善されることを見てとることができる。特に、図6は、2アンテナダイバーシティを有する無線オーディオシステム100のデータビット誤り率(BER)性能(破線)を、単一アンテナ無線オーディオシステムのもの(実線)と比較して示す。したがって、例えば10-5未満の低いビット誤り率において、2アンテナダイバーシティを有する無線オーディオシステム100は、約5dB良好に機能する。図6のグラフが、2アンテナダイバーシティを有する無線オーディオシステム100の合成された送信電力が、信号アンテナ無線オーディオシステムの送信電力に等しいことを反映することに留意されたい。
図3は、送信ダイバーシティのために4つのアンテナ312a、312b、312c、312dを利用するOFDM広帯域無線オーディオ送信機310の一部分の概略図である。簡単にするために、図3は、変調器、アナログ/デジタルコンバータ、デジタル/アナログコンバータ、コーデック等のような送信機310の他のコンポーネントを示していない。送信機310は、データシンボル、パイロットシンボルおよび/または同期信号を含むRF信号を、図1の無線オーディオシステム100における受信機150等の1つまたは複数の受信機による受信のために送信することができる。無線オーディオ送信機310に含まれる様々なコンポーネントは、プロセッサおよびメモリを有するコンピューティングデバイス等の1つもしくは複数のサーバまたはコンピュータによって、ならびに/またはハードウェア(例えば、離散論理回路、特定用途向け集積回路(ASIC)、プログラマブルゲートアレイ(PGA)、フィールドプログラマブルゲートアレイ(FPGA)等)によって実行可能なソフトウェアを用いて実装することができる。
図2における送信機210と同様に、送信機310は、アンテナ312a、312b、312c、312dにおいて送信するためのデータシンボル、パイロットシンボルおよび同期信号を含む信号を生成することができる。データシンボルは、オーディオデータ信号および/または制御信号を含むことができる。制御信号は、システムメッセージングおよび他の情報を含むことができる。送信機310におけるデータシンボルおよびパイロットシンボルは、周波数領域にあることができ、時空間ブロックコーディング(STBC)エンコーダ314によってマッピングすることができる。実施形態において、STBCエンコーダ314は、Alamoutiレート1STBC、擬似直交レート1STBC(Jafarkhaniから既知である)、直交レート3/4STBC(Ganesanから既知である)、または他の適切なコードを利用することができる。同期信号は、周波数領域または時間領域にあることができ、アンテナ312a、312b、312c、312dにおける送信のために巡回遅延ダイバーシティ(CDD)技術を用いて変換することができる。代替的に、同期信号は、アンテナ312a、312b、312c、312dにおいて、ラウンドロビン切り替え型ダイバーシティ方式において送信することができる。図2の同期トランスフォーマ218と同じかまたは類似している図3の同期トランスフォーマ318の機能の詳細な説明は省かれる。
図4に示すプロセス400の実施形態は、送信機310によっても実行することができる。送信機310内または送信機210の外部の1つ以上のプロセッサおよび/または他の処理コンポーネントは(例えば、アナログ/デジタルコンバータ、暗号化チップ等)が、プロセス400のステップのうちの任意のもの、いくつかまたは全てを実行することができる。1つ以上の他のタイプのコンポーネント(例えば、メモリ、入力および/または出力デバイス、送信機、受信機、バッファ、ドライバ、離散コンポーネント等)を、プロセッサおよび/または他の処理コンポーネントと併せて利用して、プロセス400のステップのうちの任意のもの、いくつかまたは全てを実行することもできる。
STBCエンコーダ314は、データシンボルおよびパイロットシンボルが、アンテナ312a、312b、312c、312dにおいて最終的に送信されるように符号化および/またはルーティングされることを可能にする複数の動作モードを有することができる。STBCエンコーダ314および送信機310のモードの選択は、ステップ402においてユーザインタフェース等から受信することができる。選択されたモードによって、STBCエンコーダ314によって実行されるマッピング(存在する場合)およびルーティングのタイプを決定することができる。実施形態において、送信機310は3つのモードを有することができるが、他の実施形態では、送信機310は別の数のモードを有することができる。送信機310のモード数は、アンテナの数、カバレッジゾーンの数、および/またはオーディオチャネルの数に依拠することができる。
送信機310の第1のモードは、STBCエンコーダ314に、データシンボルおよびパイロットシンボルを受信させ(ステップ404)、STBCマッピングなしでアンテナ312a、312b、312c、312dを用いたそれぞれの通信においてコンバータ316a、316b、316c、316dにルーティングさせる(ステップ412)ことができる。このモードは、最大でN個のオーディオチャネルをN個のカバレッジゾーンにルーティングすることができる。ここで、Nはアンテナ数に等しい。したがって、送信機310について、最大4つのオーディオチャネルを4つのカバレッジゾーンにルーティングすることができる。例えば、このモードにおいて、STBCエンコーダ314は、1つのオーディオチャネル(すなわち、データシンボルおよびパイロットシンボルの1つのストリーム)を、図7Aに示すような4つの単一アンテナカバレッジゾーンにルーティングすることができる。このモードは、パレードルート沿い等の複数のゾーンのカバレッジを可能にすることができる。別の例では、このモードにおいて、STBCエンコーダ314は、4つの一意のオーディオチャネル(すなわち、データシンボルおよびパイロットシンボルの4つの別個のストリーム)を、図7Bに示すように4つのそれぞれの単一アンテナカバレッジゾーンにルーティングすることができる。
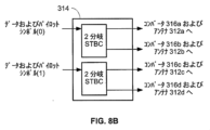
送信機310の第2のモードは、STBCエンコーダ314に、データシンボルおよびパイロットシンボルを受信させ(ステップ404)、2分岐STBCマッピングを用いて符号化させる(ステップ416)ことができる。符号化されたデータシンボルおよびパイロットシンボルを、アンテナ312a、312b、312c、312dを用いたそれぞれの通信においてコンバータ316a、316b、316c、316dにルーティングすることができる(ステップ418)。このモードは、最大でN/2個のオーディオチャネルを符号化し、N/2個のカバレッジゾーンにルーティングすることができ、例えば送信機310の場合、最大で2つのオーディオチャネルを符号化し、2つのカバレッジゾーンにルーティングすることができる。例えば、このモードにおいて、STBCエンコーダ314は、1つのオーディオチャネル(すなわち、データシンボルおよびパイロットシンボルの1つのストリーム)を符号化し、図8Aに示すように各々が2つのアンテナを有する2つのカバレッジゾーンにルーティングすることができる。特に、1つのカバレッジゾーンはアンテナ312a、312bによってカバーすることができ、他のカバレッジゾーンはアンテナ312c、312dによってカバーすることができる。別の例として、このモードにおいて、STBCエンコーダ314は、2つの一意のオーディオチャネル(すなわち、データシンボルおよびパイロットシンボルの2つの別個のストリーム)を符号化し、図8Bに示すように各々が2つのアンテナを有する2つのそれぞれのカバレッジゾーンにルーティングすることができる。
送信機310の第3のモードは、STBCエンコーダ314に、データシンボルおよびパイロットシンボルを受信させ(ステップ404)、4分岐STBCマッピングを用いて符号化させる(ステップ416)ことができる。符号化されたデータシンボルおよびパイロットシンボルを、アンテナ312a、312b、312c、312dを用いたそれぞれの通信においてコンバータ316a、316b、316c、316dにルーティングすることができる(ステップ418)。このモードは、最大でN/4個のオーディオチャネルを符号化し、N/4個のカバレッジゾーンにルーティングすることができ、例えば送信機310の場合、最大で1つのオーディオチャネルを符号化し、1つのカバレッジゾーンにルーティングすることができる。例えば、このモードにおいて、STBCエンコーダ314は、1つのオーディオチャネル(すなわち、データシンボルおよびパイロットシンボルの1つのストリーム)を符号化し、図9に示すように4つのアンテナを有する1つのカバレッジゾーンにルーティングすることができる。
コンバータ316a、316b、316c、316dは、符号化が存在しない上記で説明した第1のモード等においてデータシンボル、パイロットシンボルおよび同期信号を合成することができる(ステップ414)か、または、上記で説明した第2および第3のモード等において、符号化されたデータシンボル、符号化されたパイロットシンボルおよび同期信号を合成することができる(ステップ420)。コンバータ316a、316b、316c、316dは、それぞれアンテナ312a、312b、312c、312dにおいて送信されたオーディオ信号を生成することができる。
コンバータ316a、316b、316c、316dのそれぞれは、データシンボルおよびパイロットシンボルを時間領域に変換するための逆高速フーリエ変換(IFFT)320a、320b、320c、320dを含むことができる。同期トランスフォーマ318の出力、すなわち、変換された同期信号も、IFFT320a、320b、320c、320dに通信することができる。それぞれのIFFT320a、320b、320c、320dの出力は、パラレル/シリアルコンバータ322a、322b、322c、322dによって変換することができる。アンテナ312a、312b、312c、312dにおいてオーディオ信号を送信するために、巡回遅延324a、324b、324c、324dをパラレル/シリアルコンバータ322a、322b、322c、322dの出力に適用することができる。各巡回遅延の結果として、各アンテナにおける一意の時間シフトが生じる場合がある。特に、パラレル/シリアルコンバータ322a、322b、322c、322dの出力は、時間領域における、すなわち、IFFT320a、320b、320c、320dによる変換後の、データシンボル、パイロットシンボルおよび同期信号を含むことができる。上記で論考したように、データシンボルおよびパイロットシンボルは、いくつかのモードにおいて符号化されてもよく、他のモードにおいて符号化されなくてもよい。巡回遅延の量は、選択されたモードに依拠する場合がある。
受信機150a、150b、150c等の1つ以上の受信機は、アンテナ152a、152b、152c等のそれぞれのアンテナにおけるオーディオ信号を含む、送信機310から送信されたRF信号を受信することができる。受信機は、受信したRF信号を変調、変換および/または処理して、当該技術分野において既知のように、アナログまたはデジタル出力オーディオ信号を生成することができる。特に、受信機は、符号化された方式、例えば、Alamoutiレート1STBC、擬似直交Jafarkhaniレート1STBC、直交ガウスレート3/4STBCに基づいてデータシンボルおよびパイロットシンボルを復号することができる。実施形態において、受信機は各々、空間ダイバーシティ方式において、送信機310から送信されたRF信号を同時に受信する複数のアンテナを有することができる。
図中の任意のプロセスの説明またはブロックは、プロセスにおける特定の論理関数またはステップを実行するための1つまたは複数の実行可能命令を含むモジュール、セグメントまたはコード部分を表すものとして理解されるべきであり、当業者であれば理解するように、関与する機能に応じて実質的に同時のまたは逆順での実行を含む、図示または論考したものとは異なる順序で機能を実行できる代替の実施も本発明の実施形態の範囲に含まれる。
本開示は、様々な実施形態の構築方法および使用方法を技術に従って説明するためのものであり、その真の意図する公正な範囲および趣旨を限定するものではない。上述の説明は、包括的であることも、開示した正確な形に限定されることも意図したものではない。上記の教示に照らして変更および変形が可能である。実施形態は、説明する技術の原理およびその実際の応用を最もよく説明して、様々な実施形態における、および想定される特定の用途に適した様々な変更を伴う技術を当業者が利用できるように選択して説明したものである。このような全ての変更および変形は、これらの権利を公正に、法的に、かつ公平に認める外延に従って解釈した場合、本出願の係属中に補正される可能性もある添付の特許請求の範囲によって定められる実施形態およびその全ての同等物の範囲に含まれる。

Claims (22)

  1. 無線オーディオ送信機であって、
    (A)ユーザが前記無線オーディオ送信機の複数のモードのうちの1つを選択することを可能にするためのモード選択インタフェースと、
    (B)それぞれがオーディオ信号を送信するように構成された複数のアンテナと、
    (C)前記モード選択インタフェースと通信するエンコーダであって、(i)オーディオデータ信号および制御信号を含むデータシンボルと、(ii)パイロットシンボルとを受信するように構成され、
    (1)第1のモードにあるとき、前記データシンボルおよび前記パイロットシンボルを受信して、複数のコンバータの各々にルーティングし、
    (2)第2のモードにあるとき、
    第1のダイバーシティ技術に基づいて前記データシンボルおよび前記パイロットシンボルを受信して符号化し、
    前記符号化されたデータシンボルおよび前記符号化されたパイロットシンボルを、前記複数のコンバータの1つまたは複数のサブセットにルーティングする、
    ように更に構成される、エンコーダと、
    (D)前記第1のダイバーシティ技術と異なる第2のダイバーシティ技術に基づいて同期信号を受信して変換して変換された同期信号を生成するように構成された同期トランスフォーマと、
    (E)それぞれが前記エンコーダ、前記同期トランスフォーマ、および前記複数のアンテナのうちの1つのアンテナと通信する前記複数のコンバータであって、前記複数のコンバータの各々が、
    (1)前記第1のモードにあるとき、前記データシンボル、前記パイロットシンボル、および前記変換された同期信号を合成して、前記複数のアンテナのうちの1つのアンテナにおいて送信される前記オーディオ信号にし、
    (2)前記第2のモードにあるとき、前記符号化されたデータシンボル、前記符号化されたパイロットシンボル、および前記変換された同期信号を合成して、前記複数のアンテナのうちの1つのアンテナにおいて送信される前記オーディオ信号にする、
    ように構成される、複数のコンバータと、
    を備える、無線オーディオ送信機。
  2. 前記第1のダイバーシティ技術は、周波数領域における時空間ブロックコーディングを含む、請求項1に記載の無線オーディオ送信機。
  3. 前記時空間ブロックコーディングは、Alamoutiコードを使用することを含む、請求項2に記載の無線オーディオ送信機。
  4. 前記同期トランスフォーマは移相器を備え、前記第2のダイバーシティ技術は、前記移相器を用いて前記同期信号に位相ランプを適用することによって、前記同期信号を変換することを含む、請求項1に記載の無線オーディオ送信機。
  5. 前記第2のダイバーシティ技術は、ラウンドロビンスイッチトダイバーシティ方式を含む、請求項1に記載の無線オーディオ送信機。
  6. 前記パイロットシンボルは直交シーケンスを含む、請求項1に記載の無線オーディオ送信機。
  7. 前記複数のコンバータの各々が逆高速フーリエ変換およびパラレル/シリアルコンバータを備える、請求項1に記載の無線オーディオ送信機。
  8. 前記複数のコンバータの各々が巡回遅延モジュールを備え、前記巡回遅延モジュールの遅延量は、前記複数のモードのうちの選択されたモードに依拠する、請求項1に記載の無線オーディオ送信機。
  9. 前記オーディオ信号は、第1のゾーンをカバーするように構成された前記複数のアンテナの第1のサブセットにおいて送信され、
    前記オーディオ信号は、第2のゾーンをカバーするように構成された前記複数のアンテナの第2のサブセットにおいて送信される、請求項1に記載の無線オーディオ送信機。
  10. 無線オーディオ送信機を用いてオーディオ信号を無線送信するための方法であって、
    (A)モード選択インタフェースからエンコーダによって、前記無線オーディオ送信機の複数のモードのうちの1つの選択を受信することと、
    (B)前記エンコーダにおいて、(i)オーディオデータ信号および制御信号を含むデータシンボルと、(ii)パイロットシンボルとを受信することと、
    (C)前記選択が第1のモードであるとき、前記エンコーダを用いて、前記データシンボルおよび前記パイロットシンボルを複数のコンバータの各々にルーティングすることと、
    (D)前記選択が第2のモードであるとき、
    前記エンコーダを用いて、第1のダイバーシティ技術に基づいて前記データシンボルおよび前記パイロットシンボルを符号化することと、
    前記エンコーダを用いて、前記符号化されたデータシンボルおよび前記符号化されたパイロットシンボルを、前記複数のコンバータの1つまたは複数のサブセットにルーティングすることと、
    (E)同期トランスフォーマにおいて、同期信号を受信することと、
    (F)前記同期トランスフォーマを用いて、前記第1のダイバーシティ技術と異なる第2のダイバーシティ技術に基づいて前記同期信号を変換して変換された同期信号を生成することと、
    (G)前記選択が前記第1のモードであるとき、前記複数のコンバータのうちの1つのコンバータを用いて、前記データシンボル、前記パイロットシンボル、および前記変換された同期信号を合成して、複数のアンテナのうちの1つのアンテナにおいて送信される前記オーディオ信号にすることと、
    (H)前記選択が前記第2のモードであるとき、前記複数のコンバータの前記1つまたは複数のサブセットの1つのコンバータを用いて、前記符号化されたデータシンボル、前記符号化されたパイロットシンボル、および前記変換された同期信号を合成して、前記複数のアンテナのうちの1つのアンテナにおいて送信される前記オーディオ信号にすることと、
    を含む、方法。
  11. 前記第1のダイバーシティ技術は、周波数領域における時空間ブロックコーディングを含む、請求項10に記載の方法。
  12. 前記時空間ブロックコーディングは、Alamoutiコードを使用することを含む、請求項11に記載の方法。
  13. 前記第2のダイバーシティ技術に基づいて前記同期信号を変換することは、前記同期トランスフォーマにおいて移相器を用いて前記同期信号に位相ランプを適用することによって、前記同期信号を変換することを含む、請求項10に記載の方法。
  14. 前記第2のダイバーシティ技術は、ラウンドロビンスイッチトダイバーシティ方式を含む、請求項10に記載の方法。
  15. 前記パイロットシンボルは直交シーケンスを含む、請求項10に記載の方法。
  16. 前記選択が前記第1のモードであるとき、前記データシンボル、前記パイロットシンボル、および前記変換された同期信号を合成することは、前記複数のコンバータの各々において逆高速フーリエ変換およびパラレル/シリアルコンバータを用いて合成することを含み、
    前記選択が前記第2のモードであるとき、前記符号化されたデータシンボル、前記符号化されたパイロットシンボル、および前記変換された同期信号を合成することは、前記複数のコンバータの各々において前記逆高速フーリエ変換および前記パラレル/シリアルコンバータを用いて合成することを含む、請求項10に記載の方法。
  17. 前記選択が前記第1のモードであるとき、前記データシンボル、前記パイロットシンボル、および前記変換された同期信号を合成することは、前記複数のコンバータの各々において巡回遅延モジュールを用いて合成することを含み、
    前記選択が前記第2のモードであるとき、前記符号化されたデータシンボル、前記符号化されたパイロットシンボル、および前記変換された同期信号を合成することは、前記複数のコンバータの各々において前記巡回遅延モジュールを用いて合成することを含み、
    前記巡回遅延モジュールの遅延量は、前記複数のモードのうちの選択されたモードに依拠する、請求項10に記載の方法。
  18. 第1のゾーンをカバーするように構成された前記複数のアンテナの第1のサブセットにおいて前記オーディオ信号を送信することと、
    第2のゾーンをカバーするように構成された前記複数のアンテナの第2のサブセットにおいて前記オーディオ信号を送信することと、
    を更に含む、請求項10に記載の方法。
  19. 無線オーディオシステムであって、
    オーディオデータ信号および制御信号を含むデータシンボルを各々が含む1つまたは複数のオーディオソース信号を生成するように構成されたオーディオソースと、
    前記オーディオソースと通信する無線オーディオ送信機であって、
    (A)それぞれがオーディオ信号を送信するように構成された複数のアンテナと、
    (B)前記オーディオソースと通信するエンコーダであって、第1のダイバーシティ技術に基づいて前記データシンボルおよびパイロットシンボルを受信し符号化するように構成される、エンコーダと、
    (C)前記オーディオソースと通信する同期トランスフォーマであって、前記第1のダイバーシティ技術と異なる第2のダイバーシティ技術に基づいて同期信号を受信して変換して変換された同期信号を生成するように構成される、同期トランスフォーマと、
    (D)各々が前記エンコーダ、前記同期トランスフォーマ、および前記複数のアンテナのうちの1つのアンテナと通信する複数のコンバータであって、前記複数のコンバータの各々が、前記符号化されたデータシンボル、前記符号化されたパイロットシンボル、および前記変換された同期信号を合成して、前記複数のアンテナのうちの1つのアンテナにおいて送信される前記オーディオ信号にするように構成される、複数のコンバータと、
    を備える、無線オーディオ送信機と、
    前記無線オーディオ送信機と無線通信する無線オーディオ受信機であって、少なくとも1つの受信アンテナにおいて前記オーディオ信号を受信するように構成される、無線オーディオ受信機と、
    を備える、無線オーディオシステム。
  20. 前記第1のダイバーシティ技術は、周波数領域における時空間ブロックコーディングを含み、前記第2のダイバーシティ技術は、ラウンドロビンスイッチトダイバーシティ方式を含む、請求項19に記載の無線オーディオシステム。
  21. 前記オーディオ信号は、前記無線オーディオ送信機によって、多入力多出力方式を介して前記無線オーディオ受信機に送信される、請求項19に記載の無線オーディオシステム。
  22. 前記無線オーディオ受信機の前記少なくとも1つの受信アンテナは複数の受信アンテナを含む、請求項21に記載の無線オーディオシステム。
JP2022507514A 2019-08-05 2020-07-30 送信アンテナダイバーシティ無線オーディオシステム Active JP7595065B2 (ja)

Applications Claiming Priority (3)

Application Number Priority Date Filing Date Title
US201962882980P 2019-08-05 2019-08-05
US62/882,980 2019-08-05
PCT/US2020/044248 WO2021025949A1 (en) 2019-08-05 2020-07-30 Transmit antenna diversity wireless audio system

Publications (2)

Publication Number Publication Date
JP2022543292A JP2022543292A (ja) 2022-10-11
JP7595065B2 true JP7595065B2 (ja) 2024-12-05

Family

ID=72088380

Family Applications (1)

Application Number Title Priority Date Filing Date
JP2022507514A Active JP7595065B2 (ja) 2019-08-05 2020-07-30 送信アンテナダイバーシティ無線オーディオシステム

Country Status (5)

Country Link
US (4) US10958324B2 (ja)
EP (1) EP4010996B1 (ja)
JP (1) JP7595065B2 (ja)
CN (2) CN120956306A (ja)
WO (1) WO2021025949A1 (ja)

Families Citing this family (3)

* Cited by examiner, † Cited by third party
Publication number Priority date Publication date Assignee Title
WO2021025949A1 (en) * 2019-08-05 2021-02-11 Shure Acquisition Holdings, Inc. Transmit antenna diversity wireless audio system
WO2023168274A1 (en) 2022-03-01 2023-09-07 Shure Acquisition Holdings, Inc. Multi-channel audio receivers and transceivers in multi-user audio systems, methods of using the same
GB2621602B (en) * 2022-08-17 2025-06-11 Waves Audio Ltd System and method of time, frequency, and spatial diversity in a wireless multichannel audio system (WMAS)

Citations (9)

* Cited by examiner, † Cited by third party
Publication number Priority date Publication date Assignee Title
JP2002538661A (ja) 1999-02-22 2002-11-12 モトローラ・インコーポレイテッド ダイバーシチ手法を利用する方法およびシステム
JP2004129082A (ja) 2002-08-06 2004-04-22 Sony Corp 符号化された直交伝送ダイバーシティ方法を用いた通信システムおよび方法
JP2006129475A (ja) 2004-10-13 2006-05-18 Samsung Electronics Co Ltd 直交周波数分割多重移動通信システムにおけるブロック符号化及び循環遅延ダイバーシティ方式を使用する基地局の送信装置及び方法
JP2008079262A (ja) 2006-08-22 2008-04-03 Ntt Docomo Inc 下りリンクmimo伝送制御方法および基地局装置
WO2008050429A1 (fr) 2006-10-26 2008-05-02 Fujitsu Limited Procédé et dispositif de transmission
JP2009147940A (ja) 2007-12-11 2009-07-02 Sony Deutsche Gmbh 送信装置及び方法並びに受信装置及び方法
JP2010518757A (ja) 2007-02-06 2010-05-27 クゥアルコム・インコーポレイテッド 明示的巡回遅延および暗示的巡回遅延を用いるmimo伝送
JP2012531071A (ja) 2009-08-06 2012-12-06 ゼットティーイー コーポレーション ダウンリンクamcとmimoモードに対して調整する方法及び基地局
JP2015080037A (ja) 2013-10-15 2015-04-23 日本放送協会 送信装置、受信装置、デジタル放送システム及びチップ

Family Cites Families (42)

* Cited by examiner, † Cited by third party
Publication number Priority date Publication date Assignee Title
EP1170897B1 (en) 2000-07-05 2020-01-15 Wi-Fi One Technologies International Limited Pilot pattern design for a STTD scheme in an OFDM system
KR100526499B1 (ko) 2000-08-22 2005-11-08 삼성전자주식회사 두 개 이상 안테나를 사용하는 안테나 전송 다이버시티방법 및 장치
US7693289B2 (en) * 2002-10-03 2010-04-06 Audio-Technica U.S., Inc. Method and apparatus for remote control of an audio source such as a wireless microphone system
US7557862B2 (en) * 2003-08-14 2009-07-07 Broadcom Corporation Integrated circuit BTSC encoder
KR100617751B1 (ko) * 2003-12-24 2006-08-28 삼성전자주식회사 직교 주파수 분할 다중 통신 시스템에서 송신장치 및 방법
US7372913B2 (en) 2004-07-22 2008-05-13 Qualcomm Incorporated Pilot tones in a multi-transmit OFDM system usable to capture transmitter diversity benefits
US7787546B2 (en) * 2005-04-06 2010-08-31 Samsung Electronics Co., Ltd. Apparatus and method for FT pre-coding of data to reduce PAPR in a multi-carrier wireless network
WO2007049944A2 (en) 2005-10-27 2007-05-03 Electronics And Telecommunications Research Institute Apparatus and method for transmitting signals with multiple antennas
US20070147543A1 (en) * 2005-12-22 2007-06-28 Samsung Electronics Co., Ltd. Extension of space-time block code for transmission with more than two transmit antennas
TWI431990B (zh) 2006-01-11 2014-03-21 Interdigital Tech Corp 以不等調變及編碼方法實施空時處理方法及裝置
US20090316807A1 (en) 2006-01-13 2009-12-24 Sang Gook Kim Method and apparatus for achieving transmit diversity and spatial multiplexing using antenna selection based on feedback information
US20070183533A1 (en) 2006-02-08 2007-08-09 Schmidl Timothy M MIMO system with spatial diversity
EP1999861A4 (en) 2006-03-24 2013-08-14 Korea Electronics Telecomm DEVICE AND METHOD FOR MACRODIVERSITY BETWEEN CELLS FOR PROVIDING BROADCAST / MULTICAST SERVICE USING A MULTIPLE ANTENNA
US9806785B2 (en) 2006-04-28 2017-10-31 Apple Inc. Rank adaptive transmission methods and apparatuses
EP2611059B1 (en) * 2006-07-25 2017-11-22 Electronics and Telecommunications Research Institute Cell search method, forward link frame transmission method, apparatus using the same and forward link frame structure
KR101356254B1 (ko) 2006-08-08 2014-02-05 엘지전자 주식회사 다중 안테나를 이용한 전송기 및 전송 방법
WO2008023332A2 (en) 2006-08-21 2008-02-28 Koninklijke Philips Electronics N.V. Space-time/space-frequency coding for multi-site and multi-beam transmission
JP4786503B2 (ja) 2006-11-01 2011-10-05 株式会社エヌ・ティ・ティ・ドコモ セルサーチ方法、移動局及び基地局
US8670504B2 (en) 2006-12-19 2014-03-11 Qualcomm Incorporated Beamspace-time coding based on channel quality feedback
US8780771B2 (en) 2007-02-06 2014-07-15 Qualcomm Incorporated Cyclic delay diversity and precoding for wireless communication
WO2008155908A1 (ja) 2007-06-19 2008-12-24 Panasonic Corporation 無線通信装置およびシンボル配置方法
KR101481166B1 (ko) 2007-06-25 2015-01-28 엘지전자 주식회사 다중안테나 시스템에서의 귀환데이터 전송 방법
US20100266060A1 (en) 2007-07-12 2010-10-21 Panasonic Corporation Radio communication device and method for determining delay amount of cdd
CN101374036A (zh) * 2007-08-23 2009-02-25 中兴通讯股份有限公司 多入多出正交频分复用系统的发射分集方法与系统
KR101397248B1 (ko) 2007-12-16 2014-05-20 엘지전자 주식회사 다중안테나 시스템에서 데이터 전송방법
WO2009089656A1 (en) 2008-01-17 2009-07-23 Alcatel Shanghai Bell Company, Ltd. Method and apparatus for performing cyclic delay mapping to signals in multiple antenna transmitters
KR101498060B1 (ko) 2008-02-19 2015-03-03 엘지전자 주식회사 Ofdm(a) 시스템에서의 상향링크 전송 방법
KR101507835B1 (ko) 2008-05-08 2015-04-06 엘지전자 주식회사 다중 안테나 시스템에서 전송 다이버시티 방법
US8270517B2 (en) 2009-02-13 2012-09-18 Qualcomm Incorporated Method and apparatus for orthogonal pilot tone mapping in multiple-in and multiple-out (MIMO) and spatial division multiple access (SDMA) systems
CN101873201B (zh) 2009-04-23 2013-08-07 中兴通讯股份有限公司 多天线的分集方法及装置
US8520718B2 (en) * 2009-06-18 2013-08-27 Qualcomm Incorporated PUSCH transmit delivery scheme selection
KR101710616B1 (ko) 2009-09-21 2017-02-27 애플 인크. 업링크 송신 다이버시티를 위한 시그널링 및 채널 추정
EP2518919A4 (en) 2009-12-22 2016-12-28 Lg Electronics Inc METHOD AND APPARATUS FOR EFFICIENT CHANNEL MEASUREMENT IN A MULTI-CARRIER WIRELESS COMMUNICATION SYSTEM
US8792589B2 (en) * 2010-05-13 2014-07-29 Wi-Lan Inc. System and method for protecting transmissions of wireless microphones operating in television band white space
US8644262B1 (en) 2010-05-20 2014-02-04 Marvell International Ltd. Method and apparatus for estimating a channel quality indicator (CQI) for multiple input multiple output (MIMO) systems
CN103297106B (zh) 2012-02-27 2016-12-14 华为技术有限公司 码分多址多天线开环分集发送方法和基站
CN106470064B (zh) 2015-08-21 2021-07-30 北京三星通信技术研究有限公司 发送分集方法及设备
KR20190132502A (ko) 2017-04-06 2019-11-27 엘지전자 주식회사 무선 통신 시스템에서 단말이 다중 안테나를 이용하여 CDD(cyclic delay diversity)에 따른 통신을 수행하는 방법 및 이를 위한 장치
US10825467B2 (en) * 2017-04-21 2020-11-03 Qualcomm Incorporated Non-harmonic speech detection and bandwidth extension in a multi-source environment
US10885921B2 (en) * 2017-07-07 2021-01-05 Qualcomm Incorporated Multi-stream audio coding
US10475456B1 (en) * 2018-06-04 2019-11-12 Qualcomm Incorporated Smart coding mode switching in audio rate adaptation
WO2021025949A1 (en) * 2019-08-05 2021-02-11 Shure Acquisition Holdings, Inc. Transmit antenna diversity wireless audio system

Patent Citations (9)

* Cited by examiner, † Cited by third party
Publication number Priority date Publication date Assignee Title
JP2002538661A (ja) 1999-02-22 2002-11-12 モトローラ・インコーポレイテッド ダイバーシチ手法を利用する方法およびシステム
JP2004129082A (ja) 2002-08-06 2004-04-22 Sony Corp 符号化された直交伝送ダイバーシティ方法を用いた通信システムおよび方法
JP2006129475A (ja) 2004-10-13 2006-05-18 Samsung Electronics Co Ltd 直交周波数分割多重移動通信システムにおけるブロック符号化及び循環遅延ダイバーシティ方式を使用する基地局の送信装置及び方法
JP2008079262A (ja) 2006-08-22 2008-04-03 Ntt Docomo Inc 下りリンクmimo伝送制御方法および基地局装置
WO2008050429A1 (fr) 2006-10-26 2008-05-02 Fujitsu Limited Procédé et dispositif de transmission
JP2010518757A (ja) 2007-02-06 2010-05-27 クゥアルコム・インコーポレイテッド 明示的巡回遅延および暗示的巡回遅延を用いるmimo伝送
JP2009147940A (ja) 2007-12-11 2009-07-02 Sony Deutsche Gmbh 送信装置及び方法並びに受信装置及び方法
JP2012531071A (ja) 2009-08-06 2012-12-06 ゼットティーイー コーポレーション ダウンリンクamcとmimoモードに対して調整する方法及び基地局
JP2015080037A (ja) 2013-10-15 2015-04-23 日本放送協会 送信装置、受信装置、デジタル放送システム及びチップ

Also Published As

Publication number Publication date
JP2022543292A (ja) 2022-10-11
WO2021025949A1 (en) 2021-02-11
US20220029678A1 (en) 2022-01-27
CN114402544A (zh) 2022-04-26
US20220385348A1 (en) 2022-12-01
US11641227B2 (en) 2023-05-02
US20210044338A1 (en) 2021-02-11
EP4010996B1 (en) 2025-04-09
CN114402544B (zh) 2025-10-03
US20240106505A1 (en) 2024-03-28
EP4010996A1 (en) 2022-06-15
US12119905B2 (en) 2024-10-15
US11303335B2 (en) 2022-04-12
CN120956306A (zh) 2025-11-14
US10958324B2 (en) 2021-03-23

Similar Documents

Publication Publication Date Title
US12119905B2 (en) Transmit antenna diversity wireless audio system
US8059608B2 (en) Transmit spatial diversity for cellular single frequency networks
US8274943B2 (en) MIMO OFDMA with antenna selection and subband handoff
US8379604B2 (en) Device, system and method of wireless communication
JP2008259187A (ja) 無線通信システムにおける送信装置、信号送信方法、受信装置及び信号受信方法
CN101507135A (zh) 用于多站点和多波束传输的空间-时间/空间-频率编码
CN101741797B (zh) 多天线广播的发送方法及装置
KR100667812B1 (ko) Ofdm 시스템에서 시간 영역 송신 다이버시티를 위한방법 및 시스템
KR20050089818A (ko) 다이버시티 송신기 및 무선 통신 시스템에서 송신노드로부터의 입력 심볼 스트림 송신 방법
Lim et al. Features and Applications of Physical Layer Multiplexing and MIMO in ATSC 3.0
KR20050101005A (ko) 무선 통신 시스템에서 방송 서비스 제공 장치 및 방법

Legal Events

Date Code Title Description
A621 Written request for application examination

Free format text: JAPANESE INTERMEDIATE CODE: A621

Effective date: 20230622

A977 Report on retrieval

Free format text: JAPANESE INTERMEDIATE CODE: A971007

Effective date: 20240604

A131 Notification of reasons for refusal

Free format text: JAPANESE INTERMEDIATE CODE: A131

Effective date: 20240711

A521 Request for written amendment filed

Free format text: JAPANESE INTERMEDIATE CODE: A523

Effective date: 20241011

TRDD Decision of grant or rejection written
A01 Written decision to grant a patent or to grant a registration (utility model)

Free format text: JAPANESE INTERMEDIATE CODE: A01

Effective date: 20241024

A61 First payment of annual fees (during grant procedure)

Free format text: JAPANESE INTERMEDIATE CODE: A61

Effective date: 20241125

R150 Certificate of patent or registration of utility model

Ref document number: 7595065

Country of ref document: JP

Free format text: JAPANESE INTERMEDIATE CODE: R150