JP7594232B2 - サーバ装置、サーバ装置用プログラム及び端末装置用プログラム - Google Patents

サーバ装置、サーバ装置用プログラム及び端末装置用プログラム Download PDF

Info

Publication number
JP7594232B2
JP7594232B2 JP2024062880A JP2024062880A JP7594232B2 JP 7594232 B2 JP7594232 B2 JP 7594232B2 JP 2024062880 A JP2024062880 A JP 2024062880A JP 2024062880 A JP2024062880 A JP 2024062880A JP 7594232 B2 JP7594232 B2 JP 7594232B2
Authority
JP
Japan
Prior art keywords
cheering
button
user
response
displayed
Prior art date
Legal status (The legal status is an assumption and is not a legal conclusion. Google has not performed a legal analysis and makes no representation as to the accuracy of the status listed.)
Active
Application number
JP2024062880A
Other languages
English (en)
Other versions
JP2024086841A (ja
JP2024086841A5 (ja
Inventor
研 中井
智紀 村上
悠介 田中
Current Assignee (The listed assignees may be inaccurate. Google has not performed a legal analysis and makes no representation or warranty as to the accuracy of the list.)
Mixi Inc
Original Assignee
Mixi Inc
Priority date (The priority date is an assumption and is not a legal conclusion. Google has not performed a legal analysis and makes no representation as to the accuracy of the date listed.)
Filing date
Publication date
Application filed by Mixi Inc filed Critical Mixi Inc
Priority to JP2024062880A priority Critical patent/JP7594232B2/ja
Publication of JP2024086841A publication Critical patent/JP2024086841A/ja
Priority to JP2024177165A priority patent/JP7633583B2/ja
Priority to JP2024179429A priority patent/JP7644403B2/ja
Publication of JP2024086841A5 publication Critical patent/JP2024086841A5/ja
Priority to JP2024184160A priority patent/JP7633584B2/ja
Priority to JP2024186090A priority patent/JP7699323B2/ja
Application granted granted Critical
Publication of JP7594232B2 publication Critical patent/JP7594232B2/ja
Priority to JP2025070805A priority patent/JP2025100836A/ja
Priority to JP2025080690A priority patent/JP7773112B2/ja
Priority to JP2025092748A priority patent/JP7773113B2/ja
Priority to JP2025096991A priority patent/JP7727255B1/ja
Active legal-status Critical Current
Anticipated expiration legal-status Critical

Links

Images

Description

本発明は、サーバ装置、サーバ装置用プログラム及び端末装置用プログラムに関する。
従来から、キャラクタオブジェクトのアニメーションを生成し、そのキャラクタオブジェクトのアニメーションを含む動画を配信する動画配信システムにおいて、コンテンツを視聴する視聴ユーザからの要求に応じて、当該視聴ユーザが購入したアイテムに対応するギフトオブジェクトを表示画面に表示させるコンテンツ配信システムも知られている(例えば、特許文献1)。
特許6382468号公報
従来、例えばアニメやゲームのキャラクタで構成される複数のアーティストのユニット
(投票対象オブジェクト)が出演するライブ会場等において、アンコールするアーティストのユニット(以下、「ユニット」と称する。)を投票で決定できるシステムはなかった。また、その投票中において、投票対象オブジェクトを視覚的に応援することができるシステムはなかった。
本発明は、端末装置により複数の投票対象オブジェクトのうちいずれかに投票する場合に、投票期間における投票対象オブジェクトへの応援操作に対する表示装置に表示させる演出効果を向上させる技術を提供する。
本発明の一側面に係る、ユーザによる操作と画像の表示を行うことができる端末装置と接続可能であると共に、表示装置に出力可能なサーバ装置は、前記端末装置への操作入力によって前記ユーザの投票対象となる複数の投票対象オブジェクトのうちいずれかが選択された場合、選択された前記投票対象オブジェクトへの投票を示す投票情報を取得する投票情報取得部と、前記複数の投票対象オブジェクトへの投票期間中に、前記複数の投票対象オブジェクトを前記表示装置においてそれぞれに設定された表示領域に表示させる表示制御部と、を備え、前記表示制御部は、前記投票期間中に前記端末装置に応援操作が入力された場合、前記ユーザが選択した前記投票対象オブジェクトが表示される表示領域に、前記応援操作に応じた演出画像を表示させることを特徴とする。
前記表示制御部は、前記投票情報が取得された場合、前記投票対象オブジェクトが表示される表示領域とは異なる表示領域のいずれかの位置に、前記投票情報に対応する投票操作が行われた前記端末装置に対応する応援用オブジェクトを表示させることを特徴とする。
前記表示制御部は、前記応援操作の入力によって、前記応援用オブジェクトを上下方向に、もしくは円弧状に左右方向に移動させ、または前記応援用オブジェクトの動作速度を変更する。
前記表示制御部は、前記応援操作の入力によって、前記応援用オブジェクトが表示された位置から、前記ユーザが選択した投票対象オブジェクトが表示される表示領域に向かって前記演出画像を移動させることを特徴とする。
前記表示制御部は、前記端末装置への入力によって所定条件が満たされた場合、前記応援用オブジェクトが表示された位置から、前記ユーザが選択した投票対象オブジェクトが表示される表示領域に向かって前記演出画像を移動させることを特徴とする。
前記表示制御部は、前記投票対象オブジェクトへの投票数に応じて、前記応援用オブジェクト数の増加、または前記演出画像の挙動もしくは形態の変化が大きくなる。
前記表示制御部は、前記応援操作の入力に基づく応援数に応じて、前記投票期間の終了後の再生データを決定することを特徴とする。
ユーザによる操作と画像の表示を行うことができる端末装置と接続可能であると共に、表示装置に出力可能なサーバ装置に、前記端末装置への操作入力によって前記ユーザの投票対象となる複数の投票対象オブジェクトのうちいずれかが選択された場合、選択された前記投票対象オブジェクトへの投票を示す投票情報を取得する取得処理と、前記複数の投票対象オブジェクトへの投票期間中に、前記複数の投票対象オブジェクトを前記表示装置においてそれぞれに設定された表示領域に表示させる表示制御処理を実行させ、前記表示制御処理は、前記投票期間中に前記端末装置に応援操作が入力された場合、前記ユーザが選択した前記投票対象オブジェクトが表示される表示領域に、前記応援操作に応じた演出画像を表示することを特徴とする。
ユーザによる操作と画像の表示を行うことができると共に、表示装置に出力可能なサーバ装置と通信可能な端末装置に、前記端末装置への操作入力によって前記ユーザの投票対象となる複数の投票対象オブジェクトのうちいずれかが選択された場合、選択された前記投票対象オブジェクトへの投票を示す投票情報を前記サーバ装置に送信し、前記複数の投票対象オブジェクトへの投票期間中に、前記端末装置に応援操作が入力された場合、前記応援操作を示す応援操作情報を前記サーバ装置に送信することにより、前記サーバ装置に、前記複数の投票対象オブジェクトを前記表示装置においてそれぞれに設定された表示領域に表示させた状態にて前記ユーザが選択した前記投票対象オブジェクトが表示される表示領域に、前記応援操作に応じた演出画像を表示させる処理を実行させることを特徴とする。
本実施形態における情報処理システムのブロック図である。 本実施形態の実施例1における投票処理システムのネットワーク構成例を示 す図である。 本実施形態の実施例1における投票処理システムの機能ブロック図である。 本実施形態の実施例1における投票処理のシーケンス図である。 本実施形態の実施例1における表示装置に表示される投票期間前のステージ の表示例を示す図である。 本実施形態の実施例1における端末装置に表示される投票サイトのトップ画 面の表示例を示す図である。 本実施形態の実施例1における表示装置に表示される投票期間中のキャラク タのパフォーマンス時のステージの表示例を示す図である。 本実施形態の実施例1における端末装置に表示される応援操作用画面の表示 例(その1)を示す図である。 本実施形態の実施例1における表示装置に表示される演出画像の表示例(そ の1)を示す図である。 本実施形態の実施例1における端末装置に表示される応援操作用画面の表 示例(その2)を示す図である。 本実施形態の実施例1における表示装置に表示される演出画像の表示例( その2)を示す図である。 本実施形態の実施例1における表示装置に表示される演出画像の表示例( その3)を示す図である。 本実施形態の実施例1におけるサーバの投票処理のフローチャートである 。 本実施形態の実施例2における投票処理システムの機能ブロック図である 。 本実施形態(実施例1及び2を含む。)におけるプログラムを実行するコ ンピュータのハードウェア環境の構成ブロック図の一例である。
図1は、本実施形態における情報処理システム1のブロック図である。サーバ装置2は、ユーザによる操作と画像の表示を行うことができる端末装置5と接続可能であると共に、表示装置6に出力可能である。サーバ装置2は、投票情報取得部3、表示制御部4を含む。サーバ装置2の一例として、サーバ装置13が挙げられる。
投票情報取得部3は、端末装置5への操作入力によってユーザの投票対象となる複数の投票対象オブジェクトのうちいずれかが選択された場合、選択された投票対象オブジェクトへの投票を示す投票情報を取得する。投票情報取得部3の一例として、投票情報取得部33が挙げられる。
表示制御部4は、複数の投票対象オブジェクトへの投票期間中に、複数の投票対象オブジェクトを表示装置6においてそれぞれに設定された表示領域に表示させる。表示制御部4の一例として、表示制御部34が挙げられる。ここで、表示制御部4は、投票期間中に端末装置5に応援操作が入力された場合、ユーザが選択した投票対象オブジェクトが表示される表示領域に、応援操作に応じた演出画像を表示させる。
このように構成することにより、端末装置5により複数の投票対象オブジェクトのうちいずれかに投票する場合に、投票期間における投票対象オブジェクトへの応援操作に対する表示装置6に表示させる演出効果を向上させることができる。
表示制御部4は、投票情報が取得された場合、投票対象オブジェクトが表示される表示領域とは異なる表示領域のいずれかの位置に、投票情報に対応する投票操作が行われた端末装置5に対応する応援用オブジェクトを表示させる。
このように構成することにより、ユーザは自分の仮想的な位置及び自分が投票に参加していることを視覚的に認識することができる。
表示制御部4は、応援操作の入力によって、応援用オブジェクトを上下方向に、もしくは円弧状に左右方向に移動させ、または応援用オブジェクトの動作速度を変更する。
このように構成することにより、ユーザは、自分の行動が表示装置6に反映されていることを視覚的に認識することができる。
表示制御部4は、応援操作の入力によって、応援用オブジェクトが表示された位置から、ユーザが選択した投票対象オブジェクトが表示される表示領域に向かって演出画像を移動させる。
このように構成することにより、ステージ上の演奏を盛り上げることができる。
表示制御部4は、端末装置5への入力によって所定条件が満たされた場合、応援用オブジェクトが表示された位置から、ユーザが選択した投票対象オブジェクトが表示される表示領域に向かって演出画像を移動させる。
このように構成することにより、所定条件が満たされた場合に、応援用オブジェクトが表示された位置から、ユーザが選択した投票対象オブジェクトが表示される表示領域に向かって演出画像を移動させすることができるので、さらにステージ上の演奏を盛り上げることができる。
表示制御部4は、投票対象オブジェクトへの投票数に応じて、応援用オブジェクト数の増加、または演出画像の挙動もしくは形態の変化が大きくなる。
このように構成することにより、投票対象オブジェクトへの投票数に応じて、応援用オブジェクト数の増加、または演出画像の挙動もしくは形態の変化が大きくなる、すなわち、よりダイナミックな演出がされたり、より派手な演出がされたり、様々な観点からショーアップされるので、ユーザの投票するモチベーションを向上させることができる。
表示制御部4は、応援操作の入力に基づく応援数に応じて、投票期間の終了後の再生データを決定する。このように構成することにより、応援数によって当選したユニットが演奏する再生データが変更されるので、ユーザにとって投票操作が投票数を上げるモチベーションとなる。
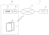
図2は、本実施形態の実施例1における投票処理システム11のネットワーク構成例を示す図である。投票処理システム11は、情報処理システム1の一例である。投票処理システム11は、端末装置12、サーバ装置(以下、「サーバ」と称する。)13、表示装置14、コンピュータ(以下、「PC」と称する。)15、及び通信ネットワーク16を含む。端末装置12、サーバ13、及びPC15は、通信ネットワーク17を介して、通信可能に接続されている。
本実施形態では、一例として、PC15に接続されている表示装置14が設置されたイベント会場16において、1以上のユーザが集まっているとする。そして、各ユーザは、少なくとも1台の端末装置12を携帯しているものとする。ここで、イベント会場16においては、アニメやゲームのキャラクタで構成される複数のアーティストのユニットが表示装置14やその他の表示装置に表示されてそのユニットが演奏等をし、ユーザは、その演奏やキャラクタを視聴することができる。そして、その演奏終了後に、複数のユニットから、自身がアンコールを希望するユニットを投票することを想定する。
端末装置12は、例えばユーザが携帯するスマートホン、タブレット端末、携帯電話等の通信ネットワークに接続可能な通信機能を有する電子端末装置である。なお、端末装置12は、いわゆるパーソナルコンピュータであってもよい。
サーバ13は、端末装置12に対して、種々のコンテンツを配信することができると共に、PC15を介して、表示装置14にコンテンツを表示することができる情報処理装置である。サーバ13は、1台以上の物理的な情報処理装置により構成されるサーバシステムであってもよいし、1台以上の仮想サーバ装置により構成される仮想サーバシステムであってもよい。
PC15は、いわゆるパーソナルコンピュータであって、サーバ13より配信されたコンテンツを表示装置に出力する。なお、PC15は、スマートホン、タブレット端末、携帯電話等の通信ネットワークに接続可能な通信機能を有する端末装置であってもよい。
表示装置14は、サーバ13より配信されたコンテンツを出力するディスプレイ等の表示装置である。また、表示装置14は、スピーカを有し、配信されたコンテンツに音データ(音声データ、演奏データ等を含む)が含まれる場合、スピーカを介してその音データが出力される。なお、表示装置14は、プロジェクタであってもよく、スクリーンに画面を表示させてもよい。また、スピーカは表示装置とは独立していてもよい。
図3は、本実施形態の実施例1における投票処理システムの機能ブロック図である。端末装置12は、通信部21、操作表示部22を含む。通信部21は、通信ネットワーク17に接続された機器との通信を可能にするインターフェースである。ここでは、サーバ13と通信を行う。
操作表示部22は、入力操作により入力が可能であると共に、表示も可能なタッチパネルである。なお、本実施形態では、一例として、操作表示部22を用いるが、これに限定されず、入力部と表示部とがそれぞれ独立していてもよい。
PC15は、通信部51、出力部52を含む。通信部51は、通信ネットワーク17に接続された機器との通信を可能にするインターフェースである、ここでは、サーバ13と通信を行う。出力部52は、表示装置14と接続して、表示装置14に画像を表示させる出力インターフェースである。
サーバ13は、通信部31、制御部32、記憶部40を含む。通信部31は、通信ネットワーク17に接続された機器との通信を可能にするインターフェースである、ここでは、端末装置12及びPC15と通信を行う。
制御部32は、投票情報取得部33、表示制御部34、位置決定部35、応援操作情報取得部36、投票期間管理部37、投票管理部38、課金管理部39として機能する。
投票情報取得部33は、ユーザによる操作表示部22の投票操作に基づいて、端末装置12から送信された投票情報を取得する。
表示制御部34は、端末装置12からの入力操作に応じて、操作表示部22に、後述する投票用Webサイト(以下、「投票サイト」と称する)を表示させる。また、表示制御部34は、端末装置12からの入力操作に応じて投票情報が取得された場合、投票対象オブジェクトがパフォーマンスを行うステージ領域と観客席領域とを表示装置14に表示させる。また、表示制御部34は、端末装置12からの入力操作によって投票対象オブジェクトを応援する操作(応援操作)が行われた場合、その応援操作に応じた演出画像を表示装置14に表示させる。
位置決定部35は、端末装置12からの入力操作に応じて投票情報が取得された場合、上述した観客席領域のいずれかの位置を、その投票操作を行ったユーザが仮想的にその観客席にいる位置(ユーザ仮想位置)として、ランダムに決定する。
応援操作情報取得部36は、端末装置12からの入力操作によって投票対象オブジェクトを応援する操作(応援操作)情報を取得する。
投票期間管理部37は、投票期間を管理する。この投票期間中、各ユーザは端末装置12を用いて、投票サイトにサクセスして、投票操作を行ったり、応援操作を行ったりすることができる。また、投票期間中、表示制御部34により、応援対象オブジェクトによる演奏等のパフォーマンスの動画が表示装置14に表示され、あわせて演奏データに基づく音もスピーカより出力される。
投票管理部38は、投票情報を集計したり、投票結果に応じて再生するデータ(再生データ)を決定したりする。
課金管理部39は、端末装置12において課金操作が行われた場合に課金に関する処理を行う。
記憶部40は、端末装置用ユーザインターフェース(以下、「UI」と称する。)データ41、背景データ42、キャラクタデータ43、演奏データ44、エフェクトデータ45、課金管理データベース(以下、データベースを「DB」と称する。)及びアンコール用再生データ47を格納する。
UIデータ41は、端末装置12において表示させる投票サイトのトップ画面、その配下にある応援用入力インターフェースや、ユーザ仮想位置、課金を決定するための入力表示画面に関するデータである。
背景データ42は、表示装置14に表示させるためのステージ領域、観客席領域に関する表示データである。キャラクタデータ43は、投票の対象となるキャラクタに関するデータであり、パフォーマンスをアニメーションで表示させることができる。演奏データ44は、キャラクタの演奏動作に応じて再生される演奏データである。エフェクトデータ45は、投票の開始から終了まで、表示装置に表示させる各種の演出画像であって、例えば応援操作に応じて演奏やパフォーマンスを盛り上げる各種の表示上の強調効果を含むデータ(サイリウム等の応援用オブジェクトのデータも含まれる。)である。
課金管理DB46は、課金処理を管理するデータベースである。なお、図3では、課金管理DB46は、記憶部40に格納されているが、これは一例であって、別の記憶装置に格納してもよい。
アンコール用再生データ47は、投票結果に応じて、当選した方のユニットの演奏及び映像を表示装置14または他の表示装置で再生するためのデータである。なお、同じユニットでも、応援数に応じて、再生データを変えられるように、同一のユニットに対して、複数の演奏再生データが格納されていることとしてもよい。
図4は、本実施形態の実施例1における投票処理のシーケンス図である。図5は、本実施形態の実施例1における表示装置に表示される投票期間前のステージの表示例を示す図である。図6は、本実施形態の実施例1における端末装置に表示される投票サイトのトップ画面の表示例を示す図である。図7は、本実施形態の実施例1における表示装置に表示される投票期間中のキャラクタのパフォーマンス時のステージの表示例を示す図である。図8は、本実施形態の実施例1における端末装置に表示される応援操作用画面の表示例(その1)を示す図である。図9は、本実施形態の実施例1における表示装置に表示される演出画像の表示例(その1)を示す図である。図10は、本実施形態の実施例1における端末装置に表示される応援操作用画面の表示例(その2)を示す図である。図11は、本実施形態の実施例1における表示装置に表示される演出画像の表示例(その2)を示す図である。図12は、本実施形態の実施例1における表示装置に表示される演出画像の表示例(その3)を示す図である。以下では、図5~図12を参照しながら、図4を説明する。なお、説明の便宜上、以下では、端末装置12の操作表示部22に表示させることを、端末装置12に表示させると記載する場合もある。
まず、投票イベントが開始されると、サーバ13は、背景データ42及びキャラクタデータ43を用いて、表示装置14において、ステージ領域に照明が消えているステージと、観客席領域が暗いような演出がされた画像(図5)を表示させる(S1)。これは、まだ、演奏が開始していない状態である。この状態では、サーバ13は、まだ、投票の受付を行っていない。なお、キャラクタはステージに立ってスタンバイ中という設定であり、スポットライトが当たっていないので、暗く表示されている。
図5において、表示装置14にはステージ領域61,62と、観客席領域63が表示されている。ステージ領域61,62はそれぞれ、対戦するユニットの表示(演奏)エリアである。本実施例では、ステージ領域61は、ユニット「XXX」がパフォーマンスする領域であり、ステージ領域62は、ユニット「YYYY」がパフォーマンスする領域であるとする。ステージ領域61,62の下側の領域は、観客席領域63である。
サーバ13は、表示装置14に、投票開始を知らせる表示(例えば、「START」)を表示させる(S2)。
すると、各ユーザは、端末装置12を操作し、端末装置12にインストールされたWebブラウザを用いてサーバ13にアクセスする(S3)。サーバ13は、そのアクセス要求に応じて、UIデータ41を用いて投票サイトを端末装置12に表示させる(S4)。すると、図6に示す投票サイトのトップ画面が表示される。
図6の例では、端末装置12に表示されたボタン71またはボタン72をタップすることにより、2組のユニットからいずれかのユニットを投票(投票操作)することができる。各ボタンには、投票対象のユニット(投票対象オブジェクト)の絵柄が表示されている。ユニット「XXX」に投票する場合には、ボタン71をタップする。ユニット「YYYY」に投票する場合には、ボタン72をタップする。なお、図6に示した画面例では、投票対象のユニットのみを選択するものであるが、投票対象のユニットの選択後に、アンコールで演奏されることを希望する楽曲(演奏再生データ)の選択が可能であってもよい。この場合、サーバ13は、ユーザを識別するユーザID(ユーザ識別情報)ごとに、投票したユニット及び楽曲の情報を記憶することとする。ここで図4の説明に戻る。
端末装置12により投票操作がされると、サーバ13は、端末装置12から投票操作された投票対象オブジェクトを特定する情報(投票情報)を取得する(S5)。すると、サーバ13は、観客席領域63からいずれかの位置をランダムに、その投票操作を行ったユーザが仮想的にその観客席にいる位置(ユーザ仮想位置)として、決定する。サーバ13は、表示装置14に表示される観客席領域63において、図7に示すように、そのユーザ仮想位置に対応する位置に応援用オブジェクトとしてサイリウムオブジェクトを表示させる(S6)。
図7の観客席領域63において、符号81で示す円で囲んだ部分がユーザ仮想位置である。このユーザが投票操作する前はこのユーザ仮想位置81には暗く何も表示されていないが、投票操作後に、このユーザ仮想位置81に、サイリウムオブジェクト82が点灯する。なお、ステージ領域61側に、このユーザが投票操作を行ったユニット「XXX」が表示され、ステージ領域62側にはユニット「YYYY」が表示されている。また、応援対象となるユニット毎に、応援色があり、その色はサイリウムの表示色となる。本実施例では、ユニット「XXX」の応援色はグレーとし、ユニット「YYYY」の応援色は白色とする。
図7の観客席領域63において表示されている各サイリウムの動きは、実際に人間が来リウムを振っているようなライブ感を表現するため、ランダムとなっている。また、立体感や奥行きを表現するため、観客席領域63のうちステージ側にあるサイリウムは比較的小さく表示され、手前側にあるサイリウムは比較的大きく表示されるように制御されている。なお、領域83には、投票期間の終了までの残り時間が表示される。図4の説明に戻る。
また、サーバ13は、S6の処理と共に、UIデータ41を用いて応援操作用画面(図8)を端末装置12に表示させる(S7)。ユーザは、応援操作用画面に対して応援操作をする(S8)。すると、サーバ13は、その応援操作に応じた演出画像を表示装置14に表示させる(S9)。ここで、S8,S9について説明する。
図8において、応援操作用画面90は、投票対象オブジェクト名表示領域91、サイリウム位置表示領域92、ボタン「左右に振る」97、ボタン「遅く振る」98、ユニットメンバー個別応援ボタン99、課金ボタン101を含む。
投票対象オブジェクト名表示領域91は、投票対象オブジェクト名が表示されると共に、その応援色が表示される。本実施例では、投票対象オブジェクトとしてユニット「XXX」に投票したので、投票対象オブジェクト名表示領域91には、「XXX」が表示され、その背景はユニット「XXX」の応援色である「グレー」で表示される。
サイリウム位置表示領域92は、表示装置14で表示される表示領域に対応させて、ユーザ仮想位置を相対的に表示する。サイリウム位置表示領域92において、領域93はステージ領域61を表し、領域94はステージ領域62を表し、領域95は、観客席領域63を表し、点96はユーザ仮想位置81を表す。
また、ユーザは、ボタン「左右に振る」97をタップすると、表示装置14のユーザ仮想位置81に表示されたサイリウムオブジェクト82が円弧状の軌道に左右に振られるような動作を行う。すると、ボタン「左右に振る」97のキャプションが「サイリウムを前後に振る」旨を示す表示に変わる(不図示)。この場合、ボタン「サイリウムを前後に振る」をタップすると、表示装置14のユーザ仮想位置81に表示されたサイリウムオブジェクト82が前後に振られているかのように大きくなったり小さくなったりするような表示動作を行う。すると、再び、ボタン「サイリウムを前後に振る」のキャプションが「左右に振る」97に変わる。
また、ユーザは、ボタン「遅く振る」98をタップすると、表示装置14のユーザ仮想位置81に表示されたサイリウムオブジェクト82の振り動作が遅くなる。すると、ボタン「遅く振る」98のキャプションが「速く振る」旨を示す表示に変わる(不図示)。この場合、ボタン「速く振る」をタップすると、表示装置14のユーザ仮想位置81に表示されたサイリウムオブジェクト82の振り動作が速くなる。すると、再び、ボタン「速く振る」のキャプションが「遅く振る」98に変わる。
ユニットメンバー個別応援ボタン99は、ユニットを構成する各メンバーを個別に応援するためのボタンである。ユニット「XXX」の場合、ユニットメンバーは「AAAAA」と「BBBBB」の2名なので、それぞれを応援するための応援ボタン99a,99bが表示されている。このボタン表示は、ユニットを構成するメンバー数に対応する。たとえば、メンバー数が3名の場合は、それぞれを応援するための応援ボタンが3つ表示される。
応援したいメンバーに対応するユニットメンバー個別応援ボタン99をタップすると、表示装置14に表示されたステージ領域において、そのボタンに表示されているシンボルマーク100が演出画像として一定期間表示される。例えば、応援ボタン99aをタップすると、ねこの足跡のマーク100aが演出画像として一定期間表示される(図9)。また、応援ボタン99bをタップすると、花のマーク100bが演出画像として一定期間表示される。
図9は、表示装置14に表示されたステージ領域において、応援ボタン99aをタップした場合に表示される演出画像の例を示す。端末装置12において、ユーザが応援ボタン99aをタップすると、表示装置14に表示されたステージ領域61において、その応援ボタン99aに対応するメンバー(応援対象メンバー)のキャラクタの周辺に、ねこの足跡のマーク100aが一定期間表示される。
図8において、課金ボタン101を用いて課金することで、さらに演出効果を高めることができる。課金ボタン101はタップされるまではロック状態、すなわち課金が不可の状態である(キャプションには錠前が閉じている状態が表示されている。)。課金ボタン101をタップすると、図10のように、課金ボタン101のキャプションには錠前が開いた状態が表示され、課金可能状態となっている。この課金可能状態で、ユニットメンバー個別応援ボタン99をタップすると、課金前よりもさらに応援に対応する演出効果が高まる。
例えば、図10の状態で、端末装置12において、ユーザが応援ボタン99aをタップする。すると、図11に示すように、表示装置14に表示されたステージ領域61において、その応援ボタン99aに対応する応援対象メンバーのキャラクタに対して、ねこの足跡のマーク100aが、ユーザ仮想位置81から投げ込まれたような演出画像が表示される。
また、各投票対象オブジェクトに対して応援数が増加するほど、それぞれの演出効果も高まっていく。例えば、図12に示すように、投票期間の終盤には、それぞれのユニットに対して多くの投票がなされている。そのため、投票数に応じて、ステージ領域61,62のそれぞれで、例えば、スポットライトでより明るく照明されたり、点滅で照明されたり、様々な色がローテーションで切り替わりながら照明されたりしている。また、各投票対象オブジェクトに対する投票数に応じてサイリウムを点滅させたり、その点滅速度を変えたり等してもよい。このようにすることにより、よりダイナミックな演出がされたり、より派手な演出がされたり等、様々な観点からショーアップされるので、投票するユーザのモチベーションがアップし、イベント会場が盛り上がることが期待される。
図4において、投票期間中、S8~S9の処理を繰り返す。投票期間が終了すると、サーバ13は、投票の受付を終了し、表示装置14に投票結果を表示させる。サーバ13は、投票の結果、当選した側のユニットの演奏データを映像データと共に表示装置14にて再生する。
図13は、本実施形態の実施例1におけるサーバの投票処理のフローチャートである。本フローは、サーバ13の制御部32により実行される。表示制御部34は、背景データ42及びキャラクタデータ42を用いて、表示装置14に、図5に示すように、投票期間前のステージ領域61,62及び観客席領域63を表示させる(S21)。
投票期間管理部37は、投票期間を開始する(S22)。端末装置12よりWebブラウザを介してアクセスされるまで、制御部32は待ち状態となる(S23でNO)
表示制御部34は、端末装置12よりWebブラウザを介してアクセスされた場合(S23でYES)、UIデータ41を用いて端末装置12に投票サイト(図6)を表示させる(S24)。
投票情報取得部33は、投票操作により端末装置12から投票情報を取得するまで、待ち状態となる(S25でNO)。投票情報取得部33は投票操作により端末装置12から投票情報を取得した場合(S25でYES)、位置決定部35は、観客席領域63のうちいずれかの位置をランダムに、その投票操作を行ったユーザが仮想的にその観客席にいる位置(ユーザ仮想位置)81として、決定する(S26)。
表示制御部34は、エフェクトデータ45を用いて、表示装置14に表示される観客席領域63において、図7に示すように、そのユーザ仮想位置81に対応する位置に応援用オブジェクトとしてサイリウムオブジェクトを表示させる。また、表示制御部34は、UIデータ41を用いて、図8で説明したように、端末装置12のサイリウム位置表示領域92にも対応するユーザ仮想位置に点96を表示させる(S27)。
次に、S28~S32の処理は、投票操作を行った端末装置12毎に対して、行われる。応援操作情報取得部36は、応援操作により端末装置12から投票情報を取得するまで、待ち状態となる(S28でNO)。応援操作情報取得部36は応援操作により端末装置12から応援操作情報を取得した場合(S28でYES)、課金管理部39は、応援操作情報に課金指示が含まれているか否かを判定する(S29)。
課金管理部39によりその応援操作情報に課金指示が含まれないと判定された場合(S29でNO)、表示制御部34は、図9で説明したように、エフェクトデータ45を用いて、その応援操作情報に応じて表示装置14に表示された応援対象オブジェクト(応援対象メンバー)の周囲に、演出画像を表示させる(S30)。
課金管理部39によりその応援操作情報に課金指示が含まれていると判定された場合(S29でYES)、課金管理部39は課金処理を行う(S31)。そして、表示制御部34は、図11で説明したように、エフェクトデータ45を用いて、その応援操作情報に応じて表示装置14に表示された応援対象オブジェクト(応援対象メンバー)に、S30よりもより強調された演出画像を表示させる(S32)。例えば、図11で説明したように、表示制御部34は、エフェクトデータ45を用いて、その応援操作情報に応じて表示装置14に表示された応援対象メンバーに、演出画像をユーザ仮想位置から投げるような演出画像を表示させる。
投票期間管理部37によって投票期間の終了が判定されるまで、S23~S32の処理が繰り返される。投票期間管理部37が投票期間の終了を判定すると、投票管理部38は、収集された投票情報を集計し、投票結果を得る。表示制御部34は、その投票結果を表示装置14に表示する(S33)。そして、表示制御部34は、その投票結果に基づいて、アンコール用再生データ47を用いて、表示装置14または他の表示装置に、当選した側のユニットの演奏を映像と共に表示させる。なお、当選した応援数に応じて、再生する曲を変更してもよい。具体的には、投票管理部38は、投票対象の複数のユニットのうち、ユーザにより投票された数が最も多いユニットを、アンコール演奏を行うユニット(当選ユニット)として選択する。さらに、投票管理部38は、当選ユニットに対して、投票を行ったユーザのうち、所定の応援操作(例えば課金により解放された応援操作)を行ったユーザによる楽曲の投票数に基づいて、当選ユニットがアンコール時に演奏する楽曲を選択することとしてもよい。具体的には、投票管理部38は、アンコール時に演奏する楽曲を、当選ユニットに対して投票を行ったユーザのうち、所定の応援操作を行ったユーザによる投票数が多いものから順に選択するようにしてよい。また、投票管理部38は、当選ユニットに対して投票を行ったユーザの課金金額を、それぞれのユーザが投票した楽曲ごとに集計し、集計される楽曲の合計課金額が多いものから順にアンコール時に演奏する楽曲として選択してもよい。
実施例1によれば、アンコールするユニットをユーザ投票で決めることができる。また、投票後には、表示装置14に表示されたキャラクタに対して応援操作することにより、そのキャラクタを視覚的に応援することができる。また、投票の結果、観客席領域63に表示されるサイリウムの数の多さで、アンコールするグループを決定することができる。すなわち、どちらのユニットが優勢であるかを投票期間中に認識することができる。
また、ユーザが端末装置12を操作して投票すると、ユーザ仮想位置81にサイリウムが表示され、そのサイリウムを応援操作により動作を制御することができるので、ユーザは投票感及び臨場感を得ることができる。
次に、本実施形態の実施例2について説明する。実施例1では、端末装置12はWebブラウザを介してサーバ13と通信した。それに対して、実施例2では、端末装置12にアプリケーションプログラム(以下、「アプリ」と称する。)をインストールし、端末装置12はそのアプリを介してサーバ13と通信するようにする。
図14は、本実施形態の実施例2における投票処理システムの機能ブロック図である。図14の例では、端末装置12にアプリ111がインストールされており、端末装置12はそのアプリ111を介してサーバ13と通信する。なお、アプリ111と共に、図3のUIデータ41に対応するUIデータ116も端末装置12の記憶部115にインストールされている。
図14では、図3と異なる部分のみを説明し、その他の共通の符号が付与されているものについてはその説明を省略する。
端末装置12は、通信部21、表示制御部22、制御部110、及び記憶部115を含む。制御部110は、記憶部115にインストールされた本実施形態にかかるアプリ111を読み込むことにより、端末側表示制御部112、投票情報送信制御部113、及び応援操作情報送信制御部114として機能する。
端末側表示制御部112は、記憶部115に格納されているUIデータ116を用いて、図6に対応する投票用画面、図8に対応する応援操作用画面(課金不可状態)及び図10に対応する応援操作用画面(課金可状態)を、操作表示部22に表示させる。
投票情報送信制御部113は、操作表示部22に表示された図6に対応する投票用画面において、投票操作により選択された投票対象オブジェクトを特定する情報をサーバ13へ送信することを制御する。
応援操作情報送信制御部114は、操作表示部22に表示された図8に対応する応援操作用画面(課金不可状態)及び図10に対応する応援操作用画面(課金可状態)において、端末装置12に応援操作が入力された場合、応援操作を示す応援操作情報をサーバ13に送信する。これにより、応援操作情報送信制御部114は、サーバ13に、複数の投票対象オブジェクトを表示装置14においてステージ領域61またはステージ領域62に、応援操作に応じた演出画像を表示させることができる。
サーバ13においては、図3の表示制御部34が、図14では表示装置用表示制御部120に置き換わり、記憶部40からUIデータ41が無くなっている。表示装置用表示制御部120は、表示制御部34の機能から、端末装置12に表示させる機能を除いたものであり、主として表示装置14の表示を制御する。
このように構成することにより、端末装置12は、応援操作情報をサーバ13に送信することにより、サーバ13を制御して、表示装置14に応援操作に応じた演出画像を表示させることができる。また、図3においてサーバ13側で制御していた端末装置12への表示の制御を、端末装置12側で行うことができる。これにより、端末装置12側での表示の自由度及びレスポンス速度が向上する。
実施例1や実施例2では、投票対象が2ユニットであったがこれに限定されず、3ユニット以上であってもよい。また、ユニットは1キャラクタであってもよいし、2以上のキャラクタから構成されるグループであってもよい。
また、実施例1や実施例2では、ユーザ仮想位置はランダムに決定したが、例えば、イベント会場の実際の座席表と対応付けてもよい。
また、各ユーザによる応援操作数や課金額に応じて、演出画像の強調の効果を変えてもよい。例えば、応援操作数や課金額が多いほど、演出画像がより大きくなったり、より強調されたりしてもよい。例えば、図11において、課金するほど、ねこの足跡のマーク100aがより大きく表示されたり、点滅したり、光ったりしてもよいし、その他の強調効果を表示してもよい。また、例えば、サーバ13は、応援対象オブジェクトごとに、課金により解放される所定の応援操作の実行数を記録し、記録される所定の応援操作の実行数に基づいて選択される演出画像を、表示装置14の対応する表示領域に表示させるようにしてもよい。なお、一回の課金により解放される所定の応援操作の実行回数には上限を設けてもよい。また、所定の応援操作には、それぞれ解放されるための課金の額が異なる複数の応援操作が含まれてもよい。
また、各ユーザによる応援操作数や課金額に応じて、ユーザ仮想位置を変更するようにしてもよい。例えば、応援操作数や課金額が多いほど、ユーザ仮想位置がよりステージ側に移動するようにしてもよい。また、例えば、応援対象オブジェクトごとの応援操作数や課金額が多いほど表示領域(例えば、応援操作数や課金額が多い方のステージ領域等)を大きくするようにしてもよい。また、例えば、応援対象オブジェクトの投票数及び応援操作の種類ごとの数、並びにそれぞれに設定された係数に基づいて応援対象オブジェクトごとの評価値を算出し、算出した評価値に基づいてアンコール演奏の当選結果を決定してもよい。
また、キャラクタ毎に投票できるようにしてもよく、投票期間終了時にユニットとしての投票を集計するようにしてもよい。これにより、投票期間が終了するまで、いずれのユニットへの投票が多いが分からないので、ユーザはよりドキドキ感を感じることができる。
図15は、本実施形態(実施例1及び2を含む。)におけるプログラムを実行するコンピュータのハードウェア環境の構成ブロック図の一例である。コンピュータ131は、端末装置12、サーバ13、またはPC15として機能する。コンピュータ131は、CPU132、ROM133、RAM134、記憶装置135、入力I/F136、出力I/F137、通信I/F138、読取装置139、バス140によって構成されている。
ここで、CPUは、中央演算装置を示す。ROMは、リードオンリメモリを示す。RAMは、ランダムアクセスメモリを示す。I/Fは、インターフェースを示す。バス140には、CPU132、ROM133、RAM134、記憶装置135、入力I/F136、出力I/F137、通信I/F138、及び必要に応じて読取装置139が接続されている。
CPU132は、記憶装置135から本実施形態に係るプログラムを読み出し、実施例1のサーバ13の場合、投票情報取得部33、表示制御部34、位置決定部35、応援操作情報取得部36、投票期間管理部37、投票管理部38、課金管理部39として当該プログラムを実行する。実施例2のサーバ13の場合、CPU132は、記憶装置135から本実施形態に係るプログラムを読み出し、投票情報取得部33、表示装置用表示制御部120、位置決定部35、応援操作情報取得部36、投票期間管理部37、投票管理部38、課金管理部39として当該プログラムを実行する。また、実施例2の端末装置12の場合、CPU132は、記憶装置115から本実施形態に係るプログラムを読み出し、端末側表示制御部112、投票情報送信制御部113、及び応援操作情報送信制御部114として当該プログラムを実行する。ROM133は、読み出し専用のメモリを示す。RAM134は、一時的に記憶するメモリである。
記憶装置135は、大容量の情報を記憶する装置である。記憶装置135としては、ハードディスク、ソリッドステートドライブ(SSD)、フラッシュメモリカードなど様々な形式の記憶装置を使用することができる。記憶装置135には、本発明の実施形態に係るプログラムや、記憶部40または記憶部115に格納されている各種データが記憶されている。
入力I/F136は、キーボード、マウス、電子カメラ、ウェブカメラ、マイク、スキャナ、センサ、タブレット、タッチパネル等の入力装置と接続することが可能である。また、出力I/F137は、ディスプレイ、タッチパネル、プロジェクタ、プリンタ、スピーカ等の出力装置と接続することが可能である。
通信I/F138は、通信ネットワークと接続して他の装置と通信するためのポート等のインターフェースである。通信ネットワークは、インターネット、ローカルエリアネットワーク(LAN)、ワイドエリアネットワーク(WAN)、専用線、有線、無線等の通信網であってよい。読取装置139は、可搬型記録媒体を読み出す装置である。
上記実施形態で説明した処理を実現するプログラムは、プログラム提供者側から通信ネットワークおよび通信I/F138を介して、例えば記憶装置135に格納されてもよい。また、上記実施形態で説明した処理を実現するプログラムは、市販され、流通している可搬型記憶媒体に格納されていてもよい。この場合、この可搬型記憶媒体は読取装置239にセットされて、CPU132によってそのプログラムが読み出されて、実行されてもよい。可搬型記憶媒体としてはCD-ROM、フレキシブルディスク、光ディスク、光磁気ディスク、ICカード、USBメモリ装置、半導体メモリカードなど様々な形式の記憶媒体を使用することができる。このような記憶媒体に格納されたプログラムが読取装置139によって読み取られる。
また、当該プログラムは、スタンドアローン型のコンピュータにインストールされてもよいし、クラウドコンピュータによりインストールされて機能のみをユーザに提供してもよい。
以上、実施形態、変形例に基づき本態様について説明してきたが、上記した態様の実施の形態は、本態様の理解を容易にするためのものであり、本態様を限定するものではない。本態様は、その趣旨並びに特許請求の範囲を逸脱することなく、変更、改良され得ると共に、本態様にはその等価物が含まれる。また、その技術的特徴が本明細書中に必須なものとして説明されていなければ、適宜、削除することができる。
1 情報処理システム
2 サーバ装置
3 投票情報取得部
4 表示制御部
5 端末装置
6 表示装置
11 投票処理システム
12 端末装置
13 サーバ
14 表示装置
15 PC
16 イベント会場
17 通信ネットワーク
21 通信部
23 操作表示部
31 通信部
32 制御部
33 投票情報取得部
34 表示制御部
35 位置決定部
36 応援操作情報取得部
37 投票期間管理部
38 投票管理部
39 課金管理部
40 記憶部
51 通信部
52 出力部
110 制御部
111 アプリ
112 端末側表示制御部
113 投票情報送信制御部
114 応援操作情報送信制御部
115 記憶部
120 表示装置用表示制御部

Claims (8)

  1. ステージ領域においてパフォーマンスを行う第1のキャラクタと第2のキャラクタを含む複数のキャラクタと、前記パフォーマンスを視聴するユーザに対応し、観客席領域に配置される応援用オブジェクトと、が表示される動画が表示部に表示されている間に、
    前記ユーザの端末のタッチパネルに第1の操作ボタンと、第2の操作ボタンと、第1の応援ボタンと、第2の応援ボタンと、第3のボタンを表示させ、
    前記第1の操作ボタンの操作に応じて、前記ユーザに対応する応援用オブジェクトに第1の動作を行わせ、
    前記第2の操作ボタンの操作に応じて、前記ユーザに対応する応援用オブジェクトに第2の動作を行わせ、
    前記第1のキャラクタに対応する前記第1の応援ボタンの操作に応じて、課金によらず前記動画に第1の演出画像を表示させ、
    前記第2のキャラクタに対応する前記第2の応援ボタンの操作に応じて、課金によらず前記動画に前記第1の演出画像と異なる第2の演出画像を表示させ、
    前記第3のボタンの操作に応じて、設定された額が異なる複数の応援操作に応じた演出画像を利用可能に制御する、
    情報処理装置。
  2. ステージ領域においてパフォーマンスを行う第1のキャラクタと第2のキャラクタを含む複数のキャラクタと、前記パフォーマンスを視聴するユーザに対応し、観客席領域に配置される応援用オブジェクトと、が表示される動画が表示部に表示されている間に、
    プロセッサが、前記ユーザの端末のタッチパネルに第1の操作ボタンと、第2の操作ボタンと、第1の応援ボタンと、第2の応援ボタンと、第3のボタンを表示させ、
    プロセッサが、前記第1の操作ボタンの操作に応じて、前記ユーザに対応する応援用オブジェクトに第1の動作を行わせ、
    プロセッサが、前記第2の操作ボタンの操作に応じて、前記ユーザに対応する応援用オブジェクトに第2の動作を行わせ、
    プロセッサが、前記第1のキャラクタに対応する前記第1の応援ボタンの操作に応じて、課金によらず前記動画に第1の演出画像を表示させ、
    プロセッサが、前記第2のキャラクタに対応する前記第2の応援ボタンの操作に応じて、課金によらず前記動画に前記第1の演出画像と異なる第2の演出画像を表示させ、
    プロセッサが、前記第3のボタンの操作に応じて、設定された額が異なる複数の応援操作に応じた演出画像を利用可能に制御する、
    情報処理方法。
  3. ステージ領域においてパフォーマンスを行う第1のキャラクタと第2のキャラクタを含む複数のキャラクタと、前記パフォーマンスを視聴するユーザに対応し、観客席領域に配置される応援用オブジェクトと、が表示される動画が表示部に表示されている間に、
    前記ユーザの端末のタッチパネルに第1の操作ボタンと、第2の操作ボタンと、第1の応援ボタンと、第2の応援ボタンと、第3のボタンを表示させ、
    前記第1の操作ボタンの操作に応じて、第1の動作を行う、前記ユーザに対応する応援用オブジェクトを表示させ、
    前記第2の操作ボタンの操作に応じて、第2の動作を行う、前記ユーザに対応する応援用オブジェクトを表示させ、
    前記第1のキャラクタに対応する前記第1の応援ボタンの操作に応じて、課金によらず前記動画に第1の演出画像を表示させ、
    前記第2のキャラクタに対応する前記第2の応援ボタンの操作に応じて、課金によらず前記動画に前記第1の演出画像と異なる第2の演出画像を表示させ、
    前記第3のボタンの操作に応じて、設定された額が異なる複数の応援操作に応じた演出画像を利用可能に制御する、処理をプロセッサに実行させるプログラム。
  4. 応援操作の入力に応じて、演出画像前記観客席領域から前記ステージ領域に向けて移動させて表示さる、
    請求項3に記載のプログラム。
  5. 前記第1の操作ボタンと前記第2の操作ボタンは、同じ画面においていずれかを選択可能に表示される、
    請求項3に記載のプログラム。
  6. 前記第1の応援ボタンと前記第2の応援ボタンは、同じ画面においていずれかを選択可能に表示される、
    請求項3に記載のプログラム。
  7. 前記観客席領域に配置された応援用オブジェクトのうち、前記ステージ領域の側にある応援用オブジェクトを、手前側にある応援用オブジェクトよりも小さく表示させる、
    請求項3に記載のプログラム。
  8. サーバとユーザの端末とを備え、
    前記サーバは、
    ステージ領域においてパフォーマンスを行う第1のキャラクタと第2のキャラクタを含む複数のキャラクタと、前記パフォーマンスを視聴するユーザに対応し、観客席領域に配置される応援用オブジェクトと、が表示される動画が表示部に表示されている間に、
    前記ユーザの端末のタッチパネルに第1の操作ボタンと、第2の操作ボタンと、第1の応援ボタンと、第2の応援ボタンと、第3のボタンを表示させ、
    前記第1の操作ボタンの操作に応じて、前記ユーザに対応する応援用オブジェクトに第1の動作を行わせ、
    前記第2の操作ボタンの操作に応じて、前記ユーザに対応する応援用オブジェクトに第2の動作を行わせ、
    前記第1のキャラクタに対応する前記第1の応援ボタンの操作に応じて、課金によらず前記動画に第1の演出画像を表示させ、
    前記第2のキャラクタに対応する前記第2の応援ボタンの操作に応じて、課金によらず前記動画に前記第1の演出画像と異なる第2の演出画像を表示させ、
    前記第3のボタンの操作に応じて、設定された額が異なる複数の応援操作に応じた演出画像を利用可能に制御する、
    システム。
JP2024062880A 2019-03-26 2024-04-09 サーバ装置、サーバ装置用プログラム及び端末装置用プログラム Active JP7594232B2 (ja)

Priority Applications (9)

Application Number Priority Date Filing Date Title
JP2024062880A JP7594232B2 (ja) 2019-03-26 2024-04-09 サーバ装置、サーバ装置用プログラム及び端末装置用プログラム
JP2024177165A JP7633583B2 (ja) 2019-03-26 2024-10-09 サーバ装置、サーバ装置用プログラム及び端末装置用プログラム
JP2024179429A JP7644403B2 (ja) 2019-03-26 2024-10-11 サーバ装置、サーバ装置用プログラム及び端末装置用プログラム
JP2024184160A JP7633584B2 (ja) 2019-03-26 2024-10-18 サーバ装置、サーバ装置用プログラム及び端末装置用プログラム
JP2024186090A JP7699323B2 (ja) 2019-03-26 2024-10-22 サーバ装置、サーバ装置用プログラム及び端末装置用プログラム
JP2025070805A JP2025100836A (ja) 2019-03-26 2025-04-22 サーバ装置、サーバ装置用プログラム及び端末装置用プログラム
JP2025080690A JP7773112B2 (ja) 2019-03-26 2025-05-13 サーバ装置、サーバ装置用プログラム及び端末装置用プログラム
JP2025092748A JP7773113B2 (ja) 2019-03-26 2025-06-03 サーバ装置、サーバ装置用プログラム及び端末装置用プログラム
JP2025096991A JP7727255B1 (ja) 2019-03-26 2025-06-10 サーバ装置、サーバ装置用プログラム及び端末装置用プログラム

Applications Claiming Priority (4)

Application Number Priority Date Filing Date Title
JP2019059455A JP7236632B2 (ja) 2019-03-26 2019-03-26 サーバ装置、サーバ装置用プログラム及び端末装置用プログラム
JP2022167020A JP7440794B2 (ja) 2019-03-26 2022-10-18 サーバ装置、サーバ装置用プログラム及び端末装置用プログラム
JP2023214152A JP7481665B2 (ja) 2019-03-26 2023-12-19 サーバ装置、サーバ装置用プログラム及び端末装置用プログラム
JP2024062880A JP7594232B2 (ja) 2019-03-26 2024-04-09 サーバ装置、サーバ装置用プログラム及び端末装置用プログラム

Related Parent Applications (1)

Application Number Title Priority Date Filing Date
JP2023214152A Division JP7481665B2 (ja) 2019-03-26 2023-12-19 サーバ装置、サーバ装置用プログラム及び端末装置用プログラム

Related Child Applications (4)

Application Number Title Priority Date Filing Date
JP2024177165A Division JP7633583B2 (ja) 2019-03-26 2024-10-09 サーバ装置、サーバ装置用プログラム及び端末装置用プログラム
JP2024179429A Division JP7644403B2 (ja) 2019-03-26 2024-10-11 サーバ装置、サーバ装置用プログラム及び端末装置用プログラム
JP2024184160A Division JP7633584B2 (ja) 2019-03-26 2024-10-18 サーバ装置、サーバ装置用プログラム及び端末装置用プログラム
JP2024186090A Division JP7699323B2 (ja) 2019-03-26 2024-10-22 サーバ装置、サーバ装置用プログラム及び端末装置用プログラム

Publications (3)

Publication Number Publication Date
JP2024086841A JP2024086841A (ja) 2024-06-28
JP2024086841A5 JP2024086841A5 (ja) 2024-10-18
JP7594232B2 true JP7594232B2 (ja) 2024-12-04

Family

ID=72643500

Family Applications (16)

Application Number Title Priority Date Filing Date
JP2019059455A Active JP7236632B2 (ja) 2019-03-26 2019-03-26 サーバ装置、サーバ装置用プログラム及び端末装置用プログラム
JP2022167020A Active JP7440794B2 (ja) 2019-03-26 2022-10-18 サーバ装置、サーバ装置用プログラム及び端末装置用プログラム
JP2023190190A Active JP7541264B2 (ja) 2019-03-26 2023-11-07 サーバ装置、サーバ装置用プログラム及び端末装置用プログラム
JP2023193881A Active JP7541265B2 (ja) 2019-03-26 2023-11-14 サーバ装置、サーバ装置用プログラム及び端末装置用プログラム
JP2023197607A Active JP7541266B2 (ja) 2019-03-26 2023-11-21 サーバ装置、サーバ装置用プログラム及び端末装置用プログラム
JP2023214153A Active JP7481666B2 (ja) 2019-03-26 2023-12-19 サーバ装置、サーバ装置用プログラム及び端末装置用プログラム
JP2023214152A Active JP7481665B2 (ja) 2019-03-26 2023-12-19 サーバ装置、サーバ装置用プログラム及び端末装置用プログラム
JP2024062880A Active JP7594232B2 (ja) 2019-03-26 2024-04-09 サーバ装置、サーバ装置用プログラム及び端末装置用プログラム
JP2024177165A Active JP7633583B2 (ja) 2019-03-26 2024-10-09 サーバ装置、サーバ装置用プログラム及び端末装置用プログラム
JP2024179429A Active JP7644403B2 (ja) 2019-03-26 2024-10-11 サーバ装置、サーバ装置用プログラム及び端末装置用プログラム
JP2024184160A Active JP7633584B2 (ja) 2019-03-26 2024-10-18 サーバ装置、サーバ装置用プログラム及び端末装置用プログラム
JP2024186090A Active JP7699323B2 (ja) 2019-03-26 2024-10-22 サーバ装置、サーバ装置用プログラム及び端末装置用プログラム
JP2025070805A Pending JP2025100836A (ja) 2019-03-26 2025-04-22 サーバ装置、サーバ装置用プログラム及び端末装置用プログラム
JP2025080690A Active JP7773112B2 (ja) 2019-03-26 2025-05-13 サーバ装置、サーバ装置用プログラム及び端末装置用プログラム
JP2025092748A Active JP7773113B2 (ja) 2019-03-26 2025-06-03 サーバ装置、サーバ装置用プログラム及び端末装置用プログラム
JP2025096991A Active JP7727255B1 (ja) 2019-03-26 2025-06-10 サーバ装置、サーバ装置用プログラム及び端末装置用プログラム

Family Applications Before (7)

Application Number Title Priority Date Filing Date
JP2019059455A Active JP7236632B2 (ja) 2019-03-26 2019-03-26 サーバ装置、サーバ装置用プログラム及び端末装置用プログラム
JP2022167020A Active JP7440794B2 (ja) 2019-03-26 2022-10-18 サーバ装置、サーバ装置用プログラム及び端末装置用プログラム
JP2023190190A Active JP7541264B2 (ja) 2019-03-26 2023-11-07 サーバ装置、サーバ装置用プログラム及び端末装置用プログラム
JP2023193881A Active JP7541265B2 (ja) 2019-03-26 2023-11-14 サーバ装置、サーバ装置用プログラム及び端末装置用プログラム
JP2023197607A Active JP7541266B2 (ja) 2019-03-26 2023-11-21 サーバ装置、サーバ装置用プログラム及び端末装置用プログラム
JP2023214153A Active JP7481666B2 (ja) 2019-03-26 2023-12-19 サーバ装置、サーバ装置用プログラム及び端末装置用プログラム
JP2023214152A Active JP7481665B2 (ja) 2019-03-26 2023-12-19 サーバ装置、サーバ装置用プログラム及び端末装置用プログラム

Family Applications After (8)

Application Number Title Priority Date Filing Date
JP2024177165A Active JP7633583B2 (ja) 2019-03-26 2024-10-09 サーバ装置、サーバ装置用プログラム及び端末装置用プログラム
JP2024179429A Active JP7644403B2 (ja) 2019-03-26 2024-10-11 サーバ装置、サーバ装置用プログラム及び端末装置用プログラム
JP2024184160A Active JP7633584B2 (ja) 2019-03-26 2024-10-18 サーバ装置、サーバ装置用プログラム及び端末装置用プログラム
JP2024186090A Active JP7699323B2 (ja) 2019-03-26 2024-10-22 サーバ装置、サーバ装置用プログラム及び端末装置用プログラム
JP2025070805A Pending JP2025100836A (ja) 2019-03-26 2025-04-22 サーバ装置、サーバ装置用プログラム及び端末装置用プログラム
JP2025080690A Active JP7773112B2 (ja) 2019-03-26 2025-05-13 サーバ装置、サーバ装置用プログラム及び端末装置用プログラム
JP2025092748A Active JP7773113B2 (ja) 2019-03-26 2025-06-03 サーバ装置、サーバ装置用プログラム及び端末装置用プログラム
JP2025096991A Active JP7727255B1 (ja) 2019-03-26 2025-06-10 サーバ装置、サーバ装置用プログラム及び端末装置用プログラム

Country Status (1)

Country Link
JP (16) JP7236632B2 (ja)

Families Citing this family (4)

* Cited by examiner, † Cited by third party
Publication number Priority date Publication date Assignee Title
JP7624198B2 (ja) * 2020-12-25 2025-01-30 株式会社コナミデジタルエンタテインメント 配信システム、配信システムのコンピュータプログラム及び制御方法
JP7193597B2 (ja) * 2021-01-27 2022-12-20 グリー株式会社 情報処理システム、情報処理方法およびコンピュータプログラム
JP7428911B2 (ja) * 2021-06-22 2024-02-07 株式会社カプコン システム、コンピュータプログラム、およびリモート応援システム
JP7455300B2 (ja) * 2021-09-03 2024-03-26 グリー株式会社 情報処理システム、情報処理方法およびコンピュータプログラム

Citations (4)

* Cited by examiner, † Cited by third party
Publication number Priority date Publication date Assignee Title
US20170262155A1 (en) 2012-06-07 2017-09-14 TapThere, Inc. Product placement using video content sharing community
JP2018007828A (ja) 2016-07-13 2018-01-18 株式会社バンダイナムコエンターテインメント プログラム及び電子機器
JP2018094326A (ja) 2016-12-16 2018-06-21 株式会社バンダイナムコエンターテインメント イベント制御システム、イベント通知システム及びプログラム
JP2018142467A (ja) 2017-02-28 2018-09-13 株式会社ルミカ 発光具

Family Cites Families (12)

* Cited by examiner, † Cited by third party
Publication number Priority date Publication date Assignee Title
JP4340398B2 (ja) 2001-05-15 2009-10-07 日本放送協会 双方向型放送視聴システム
US20080000970A1 (en) * 2006-06-30 2008-01-03 Savage Kent A System and method for network-based talent contest
JP4973132B2 (ja) 2006-11-06 2012-07-11 大日本印刷株式会社 メッセージ表示システム及びプログラム
US20120239526A1 (en) * 2011-03-18 2012-09-20 Revare Steven L Interactive music concert method and apparatus
JP5783629B2 (ja) 2011-07-08 2015-09-24 株式会社ドワンゴ 映像表示システム、映像表示方法、映像表示制御プログラム、動作情報送信プログラム
JP5905685B2 (ja) * 2011-08-30 2016-04-20 株式会社スプリューム コミュニケーションシステム、並びにサーバ
EP2834726A4 (en) * 2012-04-06 2015-11-11 Tim Ganschow SOCIAL MEDIA APPLICATION FOR A MULTIMEDIA CONTENT DELIVERY PLATFORM
US9669299B2 (en) * 2014-03-03 2017-06-06 Musixster, LLC Conducting artistic competitions in a social network system
US20170061476A1 (en) * 2015-08-28 2017-03-02 MetroStar Systems, Inc. Systems and methods for curating and displaying social media content and related advertisements on display devices at live events
JP2018081590A (ja) 2016-11-17 2018-05-24 辰巳電子工業株式会社 サービス提供装置
JP6965896B2 (ja) 2017-01-31 2021-11-10 株式会社ニコン 表示制御システム、及び、表示制御方法
JP6945312B2 (ja) * 2017-03-23 2021-10-06 株式会社バンダイナムコアミューズメント 操作制御システム、キャラクタ上映システム及びプログラム

Patent Citations (4)

* Cited by examiner, † Cited by third party
Publication number Priority date Publication date Assignee Title
US20170262155A1 (en) 2012-06-07 2017-09-14 TapThere, Inc. Product placement using video content sharing community
JP2018007828A (ja) 2016-07-13 2018-01-18 株式会社バンダイナムコエンターテインメント プログラム及び電子機器
JP2018094326A (ja) 2016-12-16 2018-06-21 株式会社バンダイナムコエンターテインメント イベント制御システム、イベント通知システム及びプログラム
JP2018142467A (ja) 2017-02-28 2018-09-13 株式会社ルミカ 発光具

Also Published As

Publication number Publication date
JP2024022693A (ja) 2024-02-19
JP2024086841A (ja) 2024-06-28
JP2022183275A (ja) 2022-12-08
JP7541266B2 (ja) 2024-08-28
JP2024010187A (ja) 2024-01-23
JP2024180652A (ja) 2024-12-26
JP7773112B2 (ja) 2025-11-19
JP2024019626A (ja) 2024-02-09
JP7440794B2 (ja) 2024-02-29
JP2025123248A (ja) 2025-08-22
JP7644403B2 (ja) 2025-03-12
JP7727255B1 (ja) 2025-08-21
JP2024177595A (ja) 2024-12-19
JP7236632B2 (ja) 2023-03-10
JP2024177541A (ja) 2024-12-19
JP7481666B2 (ja) 2024-05-13
JP7773113B2 (ja) 2025-11-19
JP7541265B2 (ja) 2024-08-28
JP7541264B2 (ja) 2024-08-28
JP7699323B2 (ja) 2025-06-27
JP2025126929A (ja) 2025-08-29
JP2024019625A (ja) 2024-02-09
JP7633584B2 (ja) 2025-02-20
JP2024014945A (ja) 2024-02-01
JP2024180691A (ja) 2024-12-26
JP7633583B2 (ja) 2025-02-20
JP7481665B2 (ja) 2024-05-13
JP2025107439A (ja) 2025-07-17
JP2025100836A (ja) 2025-07-03
JP2020160798A (ja) 2020-10-01

Similar Documents

Publication Publication Date Title
JP7594232B2 (ja) サーバ装置、サーバ装置用プログラム及び端末装置用プログラム
JP6931505B2 (ja) イベント演出システム、その動作方法、およびそのプログラム
JP7086253B2 (ja) 情報処理システム、情報処理方法およびコンピュータプログラム
JP2020162880A (ja) プログラムおよびコンピュータシステム
JP2023119526A (ja) イベントを支援するためのシステム、方法、及びプログラム
WO2022091215A1 (ja) 映像配信装置、映像配信システム、映像配信方法、及びプログラム
CN114130011B (zh) 虚拟场景的对象选择方法、设备、存储介质及程序产品
US12080124B2 (en) Information processing apparatus, information processing method, and program for performing target betting
JP6891311B2 (ja) 情報処理システム、情報処理方法およびコンピュータプログラム
KR102709619B1 (ko) 관전 시스템, 관전 시스템용의 컴퓨터 프로그램을 기억한 기억 매체, 및 관전 시스템의 제어 방법
JP7748082B2 (ja) 制御システム、情報システム、情報処理方法およびプログラム
JP2023057994A (ja) 動画生成システム、コンピュータプログラム及び制御方法
JP7093590B1 (ja) ゲームシステム、コンピュータプログラム及び制御方法
JP2024041193A (ja) ゲームシステム、それに用いるコンピュータプログラム、及び制御方法
COURTOIS 21 Hobbyist Methodology for History and Creation: Studying 1980s Microcomputer Pornography
Nolan Arcade Videogame Interface Aesthetics

Legal Events

Date Code Title Description
A521 Request for written amendment filed

Free format text: JAPANESE INTERMEDIATE CODE: A523

Effective date: 20240416

A621 Written request for application examination

Free format text: JAPANESE INTERMEDIATE CODE: A621

Effective date: 20240416

A521 Request for written amendment filed

Free format text: JAPANESE INTERMEDIATE CODE: A523

Effective date: 20240910

A871 Explanation of circumstances concerning accelerated examination

Free format text: JAPANESE INTERMEDIATE CODE: A871

Effective date: 20240910

A521 Request for written amendment filed

Free format text: JAPANESE INTERMEDIATE CODE: A523

Effective date: 20241008

TRDD Decision of grant or rejection written
A01 Written decision to grant a patent or to grant a registration (utility model)

Free format text: JAPANESE INTERMEDIATE CODE: A01

Effective date: 20241022

A61 First payment of annual fees (during grant procedure)

Free format text: JAPANESE INTERMEDIATE CODE: A61

Effective date: 20241104

R150 Certificate of patent or registration of utility model

Ref document number: 7594232

Country of ref document: JP

Free format text: JAPANESE INTERMEDIATE CODE: R150