JP7586643B2 - 保護層付き積層フィルム - Google Patents
保護層付き積層フィルム Download PDFInfo
- Publication number
- JP7586643B2 JP7586643B2 JP2019551034A JP2019551034A JP7586643B2 JP 7586643 B2 JP7586643 B2 JP 7586643B2 JP 2019551034 A JP2019551034 A JP 2019551034A JP 2019551034 A JP2019551034 A JP 2019551034A JP 7586643 B2 JP7586643 B2 JP 7586643B2
- Authority
- JP
- Japan
- Prior art keywords
- layer
- region
- liquid crystal
- group
- polarizing
- Prior art date
- Legal status (The legal status is an assumption and is not a legal conclusion. Google has not performed a legal analysis and makes no representation as to the accuracy of the status listed.)
- Active
Links
Images
Classifications
-
- G—PHYSICS
- G02—OPTICS
- G02B—OPTICAL ELEMENTS, SYSTEMS OR APPARATUS
- G02B5/00—Optical elements other than lenses
- G02B5/30—Polarising elements
- G02B5/3016—Polarising elements involving passive liquid crystal elements
-
- B—PERFORMING OPERATIONS; TRANSPORTING
- B05—SPRAYING OR ATOMISING IN GENERAL; APPLYING FLUENT MATERIALS TO SURFACES, IN GENERAL
- B05D—PROCESSES FOR APPLYING FLUENT MATERIALS TO SURFACES, IN GENERAL
- B05D1/00—Processes for applying liquids or other fluent materials
- B05D1/36—Successively applying liquids or other fluent materials, e.g. without intermediate treatment
-
- B—PERFORMING OPERATIONS; TRANSPORTING
- B05—SPRAYING OR ATOMISING IN GENERAL; APPLYING FLUENT MATERIALS TO SURFACES, IN GENERAL
- B05D—PROCESSES FOR APPLYING FLUENT MATERIALS TO SURFACES, IN GENERAL
- B05D1/00—Processes for applying liquids or other fluent materials
- B05D1/36—Successively applying liquids or other fluent materials, e.g. without intermediate treatment
- B05D1/38—Successively applying liquids or other fluent materials, e.g. without intermediate treatment with intermediate treatment
-
- B—PERFORMING OPERATIONS; TRANSPORTING
- B05—SPRAYING OR ATOMISING IN GENERAL; APPLYING FLUENT MATERIALS TO SURFACES, IN GENERAL
- B05D—PROCESSES FOR APPLYING FLUENT MATERIALS TO SURFACES, IN GENERAL
- B05D5/00—Processes for applying liquids or other fluent materials to surfaces to obtain special surface effects, finishes or structures
- B05D5/06—Processes for applying liquids or other fluent materials to surfaces to obtain special surface effects, finishes or structures to obtain multicolour or other optical effects
-
- B—PERFORMING OPERATIONS; TRANSPORTING
- B05—SPRAYING OR ATOMISING IN GENERAL; APPLYING FLUENT MATERIALS TO SURFACES, IN GENERAL
- B05D—PROCESSES FOR APPLYING FLUENT MATERIALS TO SURFACES, IN GENERAL
- B05D7/00—Processes, other than flocking, specially adapted for applying liquids or other fluent materials to particular surfaces or for applying particular liquids or other fluent materials
-
- B—PERFORMING OPERATIONS; TRANSPORTING
- B05—SPRAYING OR ATOMISING IN GENERAL; APPLYING FLUENT MATERIALS TO SURFACES, IN GENERAL
- B05D—PROCESSES FOR APPLYING FLUENT MATERIALS TO SURFACES, IN GENERAL
- B05D7/00—Processes, other than flocking, specially adapted for applying liquids or other fluent materials to particular surfaces or for applying particular liquids or other fluent materials
- B05D7/24—Processes, other than flocking, specially adapted for applying liquids or other fluent materials to particular surfaces or for applying particular liquids or other fluent materials for applying particular liquids or other fluent materials
-
- B—PERFORMING OPERATIONS; TRANSPORTING
- B05—SPRAYING OR ATOMISING IN GENERAL; APPLYING FLUENT MATERIALS TO SURFACES, IN GENERAL
- B05D—PROCESSES FOR APPLYING FLUENT MATERIALS TO SURFACES, IN GENERAL
- B05D7/00—Processes, other than flocking, specially adapted for applying liquids or other fluent materials to particular surfaces or for applying particular liquids or other fluent materials
- B05D7/50—Multilayers
-
- B—PERFORMING OPERATIONS; TRANSPORTING
- B32—LAYERED PRODUCTS
- B32B—LAYERED PRODUCTS, i.e. PRODUCTS BUILT-UP OF STRATA OF FLAT OR NON-FLAT, e.g. CELLULAR OR HONEYCOMB, FORM
- B32B7/00—Layered products characterised by the relation between layers; Layered products characterised by the relative orientation of features between layers, or by the relative values of a measurable parameter between layers, i.e. products comprising layers having different physical, chemical or physicochemical properties; Layered products characterised by the interconnection of layers
- B32B7/02—Physical, chemical or physicochemical properties
-
- B—PERFORMING OPERATIONS; TRANSPORTING
- B32—LAYERED PRODUCTS
- B32B—LAYERED PRODUCTS, i.e. PRODUCTS BUILT-UP OF STRATA OF FLAT OR NON-FLAT, e.g. CELLULAR OR HONEYCOMB, FORM
- B32B7/00—Layered products characterised by the relation between layers; Layered products characterised by the relative orientation of features between layers, or by the relative values of a measurable parameter between layers, i.e. products comprising layers having different physical, chemical or physicochemical properties; Layered products characterised by the interconnection of layers
- B32B7/02—Physical, chemical or physicochemical properties
- B32B7/023—Optical properties
-
- G—PHYSICS
- G02—OPTICS
- G02B—OPTICAL ELEMENTS, SYSTEMS OR APPARATUS
- G02B5/00—Optical elements other than lenses
- G02B5/30—Polarising elements
-
- G—PHYSICS
- G02—OPTICS
- G02B—OPTICAL ELEMENTS, SYSTEMS OR APPARATUS
- G02B5/00—Optical elements other than lenses
- G02B5/30—Polarising elements
- G02B5/3025—Polarisers, i.e. arrangements capable of producing a definite output polarisation state from an unpolarised input state
- G02B5/3033—Polarisers, i.e. arrangements capable of producing a definite output polarisation state from an unpolarised input state in the form of a thin sheet or foil, e.g. Polaroid
-
- G—PHYSICS
- G02—OPTICS
- G02B—OPTICAL ELEMENTS, SYSTEMS OR APPARATUS
- G02B5/00—Optical elements other than lenses
- G02B5/30—Polarising elements
- G02B5/3083—Birefringent or phase retarding elements
-
- G—PHYSICS
- G02—OPTICS
- G02F—OPTICAL DEVICES OR ARRANGEMENTS FOR THE CONTROL OF LIGHT BY MODIFICATION OF THE OPTICAL PROPERTIES OF THE MEDIA OF THE ELEMENTS INVOLVED THEREIN; NON-LINEAR OPTICS; FREQUENCY-CHANGING OF LIGHT; OPTICAL LOGIC ELEMENTS; OPTICAL ANALOGUE/DIGITAL CONVERTERS
- G02F1/00—Devices or arrangements for the control of the intensity, colour, phase, polarisation or direction of light arriving from an independent light source, e.g. switching, gating or modulating; Non-linear optics
- G02F1/01—Devices or arrangements for the control of the intensity, colour, phase, polarisation or direction of light arriving from an independent light source, e.g. switching, gating or modulating; Non-linear optics for the control of the intensity, phase, polarisation or colour
- G02F1/13—Devices or arrangements for the control of the intensity, colour, phase, polarisation or direction of light arriving from an independent light source, e.g. switching, gating or modulating; Non-linear optics for the control of the intensity, phase, polarisation or colour based on liquid crystals, e.g. single liquid crystal display cells
- G02F1/133—Constructional arrangements; Operation of liquid crystal cells; Circuit arrangements
- G02F1/1333—Constructional arrangements; Manufacturing methods
- G02F1/1335—Structural association of cells with optical devices, e.g. polarisers or reflectors
- G02F1/133528—Polarisers
- G02F1/133541—Circular polarisers
-
- G—PHYSICS
- G02—OPTICS
- G02F—OPTICAL DEVICES OR ARRANGEMENTS FOR THE CONTROL OF LIGHT BY MODIFICATION OF THE OPTICAL PROPERTIES OF THE MEDIA OF THE ELEMENTS INVOLVED THEREIN; NON-LINEAR OPTICS; FREQUENCY-CHANGING OF LIGHT; OPTICAL LOGIC ELEMENTS; OPTICAL ANALOGUE/DIGITAL CONVERTERS
- G02F1/00—Devices or arrangements for the control of the intensity, colour, phase, polarisation or direction of light arriving from an independent light source, e.g. switching, gating or modulating; Non-linear optics
- G02F1/01—Devices or arrangements for the control of the intensity, colour, phase, polarisation or direction of light arriving from an independent light source, e.g. switching, gating or modulating; Non-linear optics for the control of the intensity, phase, polarisation or colour
- G02F1/13—Devices or arrangements for the control of the intensity, colour, phase, polarisation or direction of light arriving from an independent light source, e.g. switching, gating or modulating; Non-linear optics for the control of the intensity, phase, polarisation or colour based on liquid crystals, e.g. single liquid crystal display cells
- G02F1/133—Constructional arrangements; Operation of liquid crystal cells; Circuit arrangements
- G02F1/1333—Constructional arrangements; Manufacturing methods
- G02F1/1337—Surface-induced orientation of the liquid crystal molecules, e.g. by alignment layers
-
- G—PHYSICS
- G02—OPTICS
- G02F—OPTICAL DEVICES OR ARRANGEMENTS FOR THE CONTROL OF LIGHT BY MODIFICATION OF THE OPTICAL PROPERTIES OF THE MEDIA OF THE ELEMENTS INVOLVED THEREIN; NON-LINEAR OPTICS; FREQUENCY-CHANGING OF LIGHT; OPTICAL LOGIC ELEMENTS; OPTICAL ANALOGUE/DIGITAL CONVERTERS
- G02F1/00—Devices or arrangements for the control of the intensity, colour, phase, polarisation or direction of light arriving from an independent light source, e.g. switching, gating or modulating; Non-linear optics
- G02F1/01—Devices or arrangements for the control of the intensity, colour, phase, polarisation or direction of light arriving from an independent light source, e.g. switching, gating or modulating; Non-linear optics for the control of the intensity, phase, polarisation or colour
- G02F1/13—Devices or arrangements for the control of the intensity, colour, phase, polarisation or direction of light arriving from an independent light source, e.g. switching, gating or modulating; Non-linear optics for the control of the intensity, phase, polarisation or colour based on liquid crystals, e.g. single liquid crystal display cells
- G02F1/133—Constructional arrangements; Operation of liquid crystal cells; Circuit arrangements
- G02F1/1333—Constructional arrangements; Manufacturing methods
- G02F1/1337—Surface-induced orientation of the liquid crystal molecules, e.g. by alignment layers
- G02F1/13378—Surface-induced orientation of the liquid crystal molecules, e.g. by alignment layers by treatment of the surface, e.g. embossing, rubbing or light irradiation
- G02F1/133788—Surface-induced orientation of the liquid crystal molecules, e.g. by alignment layers by treatment of the surface, e.g. embossing, rubbing or light irradiation by light irradiation, e.g. linearly polarised light photo-polymerisation
Landscapes
- Physics & Mathematics (AREA)
- General Physics & Mathematics (AREA)
- Optics & Photonics (AREA)
- Engineering & Computer Science (AREA)
- Life Sciences & Earth Sciences (AREA)
- Wood Science & Technology (AREA)
- Nonlinear Science (AREA)
- Crystallography & Structural Chemistry (AREA)
- Chemical & Material Sciences (AREA)
- Mathematical Physics (AREA)
- Spectroscopy & Molecular Physics (AREA)
- Polarising Elements (AREA)
- Liquid Crystal (AREA)
- Application Of Or Painting With Fluid Materials (AREA)
- Laminated Bodies (AREA)
Description
〔1〕 液晶層を有する偏光フィルムであって、
前記液晶層は、液晶化合物を含むとともに、視感度補正偏光度の値によって区別される少なくとも2つの領域を有し、
前記少なくとも2つの領域は、二色性色素の含有率が互いに異なっている、偏光フィルム。
〔2〕 さらに、基材層と、
前記基材層の少なくとも片面側に積層された配向層と、を有し、
前記液晶層は、前記配向層上に積層されている、〔1〕に記載の偏光フィルム。
〔3〕 前記配向層は、光配向性ポリマーを含む、〔2〕に記載の偏光フィルム。
〔4〕 前記液晶化合物は、重合性液晶化合物を含む、〔1〕~〔3〕のいずれかに記載の偏光フィルム。
〔5〕 前記液晶層は、二色性色素を含有する第1領域と、二色性色素の含有率が前記第1領域よりも少ない第2領域とを有し、
前記第1領域の視感度補正偏光度は、90%以上であり、
前記第2領域の視感度補正偏光度は、10%以下である、〔1〕~〔4〕のいずれかに記載の偏光フィルム。
〔6〕 前記液晶層は、二色性色素を含有する第1領域と、二色性色素の含有率が前記第1領域よりも少ない第2領域とを有し、
前記第1領域の視感度補正単体透過率は、35%以上であり、
前記第2領域の視感度補正単体透過率は、80%以上である、〔1〕~〔5〕のいずれかに記載の偏光フィルム。
〔7〕 前記第2領域は、平面視形状が円形、楕円形、長円形又は多角形であり、
前記第2領域が円形である場合の直径は、5cm以下であり、
前記第2領域が楕円形又は長円形である場合の長径は、5cm以下であり、
前記第2領域が多角形である場合、前記多角形が内接されるように描いた仮想円の直径は、5cm以下である、〔5〕又は〔6〕のいずれかに記載の偏光フィルム。
〔8〕 前記第1領域は、X線回折測定においてブラッグピークを示す、〔5〕~〔7〕のいずれかに記載の偏光フィルム。
〔9〕 さらに、基材層を有し、
前記基材層は、1/4波長板機能を有する、〔1〕~〔8〕のいずれかに記載の偏光フィルム。
〔10〕 前記偏光フィルムの長さは10m以上である、〔1〕~〔9〕のいずれかに記載の偏光フィルム。
〔11〕 〔1〕~〔8〕及び〔10〕のいずれかに記載の偏光フィルムと、1/4波長板機能を有する位相差層とを積層してなる、円偏光板。
〔12〕 基材層の少なくとも片面側に、液晶化合物及び二色性色素を含む偏光層を有する積層フィルムを準備する準備工程と、
前記積層フィルムの前記偏光層の一部の領域に、前記偏光層における二色性色素の含有率を低減し得る液状物を接触させることにより、前記偏光層の一部の領域において二色性色素の含有率を低下させる液状物接触工程と、を有する、偏光フィルムの製造方法。
〔13〕 前記液状物接触工程は、
前記準備工程で準備した前記積層フィルムの前記偏光層上に、前記偏光層を被覆するための被覆領域と前記偏光層を露出させるための露出領域とを有する保護層を積層することにより、保護層付き積層フィルムを得る保護層積層工程と、
前記保護層付き積層フィルムを、前記偏光層における二色性色素の含有率を低減し得る液状物に接触させることにより、前記偏光層の一部の領域において二色性色素の含有率を低下させた脱色積層フィルムを得る脱色工程と、
前記脱色積層フィルムから前記保護層を剥離する剥離工程と、を有する、〔12〕に記載の偏光フィルムの製造方法。
〔14〕 前記保護層における前記露出領域は、平面視形状が円形、楕円形、長円形又は多角形であり、
前記露出領域が円形である場合の直径は、5cm以下であり、
前記露出領域が楕円形又は長円形である場合の長径は、5cm以下であり、
前記露出領域が多角形である場合、前記多角形が内接されるように描いた仮想円の直径は、5cm以下である、〔13〕に記載の偏光フィルムの製造方法。
〔15〕 前記準備工程は、
前記基材層の片面側に配向層形成用組成物を塗工して配向層を形成する配向層形成工程と、
前記基材層の前記配向層が形成された側の面に、前記液晶化合物及び前記二色性色素を含む偏光層形成用組成物を塗工して前記偏光層を形成する偏光層形成工程と、を有する、〔12〕~〔14〕のいずれかに記載の偏光フィルムの製造方法。
〔16〕 前記配向層形成用組成物は、光配向性ポリマーを含み、
前記配向層形成工程は、前記配向層形成用組成物を塗工して形成された配向層用塗工層に偏光照射を行って前記配向層を形成する、〔15〕に記載の偏光フィルムの製造方法。
〔17〕 前記液晶化合物は、重合性液晶化合物であり、
前記偏光層形成工程は、前記偏光層形成用組成物を塗工して形成された偏光層用塗工層に活性エネルギー線照射を行って前記偏光層を形成する、〔15〕又は〔16〕に記載の偏光フィルムの製造方法。
〔18〕 前記偏光フィルムは、長さが10m以上である、〔12〕~〔17〕のいずれかに記載の偏光フィルムの製造方法。
〔19〕 〔12〕~〔18〕のいずれかに記載の偏光フィルムの製造方法で製造された偏光フィルムと、1/4波長板機能を有する位相差層とを積層する位相差層積層工程を有する、円偏光板の製造方法。
〔20〕 前記偏光フィルムは、長さが10m以上の長尺偏光フィルムであり、
前記位相差層は、長さが10m以上の長尺位相差層であり、
前記位相差層積層工程は、前記長尺偏光フィルムと前記長尺位相差層とを積層することにより長尺積層体を形成し、
さらに、前記長尺積層体を枚葉に裁断する裁断工程を有する、〔19〕に記載の円偏光板の製造方法。
図1(a)は、本発明の偏光フィルムの一例を示す概略平面図であり、図1(b)は、図1(a)のX-X断面図である。本実施の形態の偏光フィルム1は、光吸収異方性の機能を有するフィルムであって、液晶化合物を含む液晶層11を有する。液晶層11は、視感度補正偏光度(Py)の値によって区別される少なくとも2つの領域を有し、この少なくとも2つの領域は、二色性色素の含有率が互いに異なっている。偏光フィルム1は液晶層11を有するものであるが、さらに基材層13、配向層12、その他の層等を有していてもよい。図1(b)に示す偏光フィルム1では、基材層13の片面側に配向層12及び液晶層11を有する例を示しているが、基材層13の両面に配向層及び液晶層を有していてもよい。基材層13の両面に設けられる液晶層の構造は、互いに同じであってもよく、互いに異なっていてもよい。
液晶層11は液晶化合物を含み、液晶化合物と二色性色素とを含有する領域を有する。偏光フィルム1が偏光フィルム1平面の偏光特性を有する場合、二色性色素と液晶化合物が偏光フィルム1平面に対して水平配向した状態にある領域を有することが好ましい。また、偏光フィルム1が偏光フィルム1の膜厚方向の偏光特性を有する場合、二色性色素と液晶化合物が偏光フィルム1平面に対して水平配向した状態にある領域を有することが好ましい。
単体透過率[%]=(T1+T2)/2 (式2)
液晶層11に含まれる液晶化合物としては、公知の液晶化合物を用いることができる。液晶化合物の種類は特に限定されず、棒状液晶化合物、円盤状液晶化合物、及びこれらの混合物を用いることができる。また、液晶化合物は、高分子液晶化合物であってもよく、重合性液晶化合物であってもよく、これらの混合物であってもよい。
U1-V1-W1-X1-Y1-X2-Y2-X3-W2-V2-U2 (A)
[式(A)中、X1、X2及びX3は、それぞれ独立に、2価の芳香族基又は2価の脂環式炭化水素基を表し、ここで、該2価の芳香族基又は2価の脂環式炭化水素基に含まれる水素原子は、ハロゲン原子、炭素数1~4のアルキル基、炭素数1~4のフルオロアルキル基、炭素数1~4のアルコキシ基、シアノ基又はニトロ基に置換されていてもよく、該2価の芳香族基又は2価の脂環式炭化水素基を構成する炭素原子が、酸素原子、硫黄原子又は窒素原子に置換されていてもよい。ただし、X1、X2及びX3のうち少なくとも1つは、置換基を有していてもよい1,4-フェニレン基又は置換基を有していてもよいシクロヘキサン-1,4-ジイル基である。
Y1、Y2、W1及びW2は、互いに独立に、単結合又は二価の連結基である。
V1及びV2は、互いに独立に、置換基を有していてもよい炭素数1~20のアルカンジイル基を表し、該アルカンジイル基を構成する-CH2-は、-O-、-S-又はNH-に置き換わっていてもよい。
U1及びU2は、互いに独立に、重合性基又は水素原子を表し、少なくとも1つは重合性基である。]
で表される化合物(以下、化合物(A)ということがある。)等が挙げられる。
二色性色素とは、分子の長軸方向における吸光度と、短軸方向における吸光度とが異なる性質を有する色素をいう。二色性色素は、液晶化合物とともに配向して二色性を示す色素であり、二色性色素自身が重合性を有していてもよいし、液晶性を有していてもよい。二色性色素としては、可視光を吸収する特性を有することが好ましく、380~680nmの範囲に吸収極大波長(λMAX)を有するものがより好ましい。このような二色性色素としては、例えば、アクリジン色素、オキサジン色素、シアニン色素、ナフタレン色素、アゾ色素又はアントラキノン色素等が挙げられるが、中でもアゾ色素が好ましい。アゾ色素としては、モノアゾ色素、ビスアゾ色素、トリスアゾ色素、テトラキスアゾ色素又はスチルベンアゾ色素等が挙げられ、好ましくはビスアゾ色素又はトリスアゾ色素である。二色性色素は単独で用いてもよく、2種以上を組み合わせて用いてもよいが、可視光全域で吸収を得るためには、3種類以上の二色性色素を組み合わせることが好ましく、3種類以上のアゾ色素を組み合わせることがより好ましい。
T1-A1(-N=N-A2)p-N=N-A3 -T2 (I)
[式(I)中、A1、A2及びA3は、互いに独立に、置換基を有していてもよい1,4-フェニレン基、ナフタレン-1,4-ジイル基、又は、置換基を有していてもよい2価の複素環基を表し、T1及びT2は、互いに独立に電子吸引基又は電子放出基であり、アゾ結合面内に対して実質的に180°の位置に有する。pは0~4の整数を表す。pが2以上である場合、各々のA2は互いに同一でも異なっていてもよい。可視域に吸収を示す範囲で-N=N-結合が-C=C-、-COO-、-NHCO-又は-N=CH-結合に置き換わっていてもよい。]
で表される化合物(以下、「化合物(I)」ということもある)が挙げられる。
n1~n4は、それぞれ独立に0~3の整数を表す。
n1が2以上である場合、複数のB2はそれぞれ同一であってもよいし、異なっていてもよく、
n2が2以上である場合、複数のB6はそれぞれ同一であってもよいし、異なっていてもよく、
n3が2以上である場合、複数のB9はそれぞれ同一であってもよいし、異なっていてもよく、
n4が2以上である場合、複数のB14はそれぞれ同一であってもよいし、異なっていてもよい。
Rxは、炭素数1~4のアルキル基又は炭素数6~12のアリール基を表す。]
Rxは、炭素数1~4のアルキル基又は炭素数6~12のアリール基を表す。]
Rxは、炭素数1~4のアルキル基又は炭素数6~12のアリール基を表す。]
偏光フィルム1は、基材層13を有していてもよい。基材層13は、例えば後述するように、偏光フィルム1を製造する際に、配向層12や後述する偏光層21を支持するために用いることができ、また、偏光フィルム1の液晶層11を支持するために用いることができる。
偏光フィルム1は、基材層13上に配向層12を有していてもよく、配向層12は、基材層13と液晶層11との間に配置される。配向層12は、その上に積層される液晶層11中の液晶化合物を、所望の方向に液晶配向させる配向規制力を有することができる。
偏光フィルム1は、基材層13及び配向層12以外の層を有していてもよい。例えば、液晶層11の基材層13とは反対側の面に、液晶層11の表面を保護する等の目的の表面保護層を設けてもよい。また、基材層13を剥離して用いる場合には、液晶層11の基材層13を剥離した側の面に表面保護層を設けてもよい。表面保護層は1層構造であってもよく、多層構造であってもよい。表面保護層が多層構造である場合、各層は同じ材料から形成されていてもよく、互いに異なる材料から形成されていてもよい。
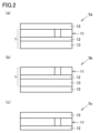
図2(a)~(c)は、それぞれ本発明の円偏光板の一例を示す概略断面図である。図1(b)に示す偏光フィルム1は、1/4波長板機能を有する位相差層15を積層することにより、図2(a)及び(b)に示す円偏光板5a、5bとすることができる。位相差層15は、偏光フィルム1の液晶層11側に積層してもよく(図2(a))、基材層13側に積層してもよい(図2(b))。また、図2(a)に示す円偏光板5aから、基材層13を剥離したものを円偏光板5c(図2(c))として用いることもでき、この場合、基材層13とともに配向層12も剥離してもよい。
図3(a)~(d)は、図1(b)に示す偏光フィルム1の製造工程の各工程で得られる層構造を示す概略断面図である。偏光フィルム1の第1の製造方法は、
基材層13の少なくとも片面側に、液晶化合物及び二色性色素を含む偏光層21を有する積層フィルム62(図3(b))を準備する準備工程と、
積層フィルム62の偏光層21の一部の領域に、偏光層21における二色性色素の含有率を低減し得る液状物を接触させることにより、偏光層21の一部の領域において二色性色素の含有率を低下させる液状物接触工程と、を有する。
保護層付き積層フィルム63を、偏光層21における二色性色素の含有率を低減し得る液状物に接触させることにより、偏光層21の一部の領域において二色性色素の含有率を低下させた脱色積層フィルム64(図3(d))を得る脱色工程と、
この脱色積層フィルム64から保護層35を剥離する剥離工程を有し、これにより、図1(b)に示す偏光フィルム1を製造することができる。
準備工程で準備する積層フィルム62は、基材層13の少なくとも片面側に偏光層21を有するものであれば特に限定されないが、図3(b)に示すように、基材層13上に配向層12、偏光層21がこの順に積層されたものであることが好ましい。このような積層フィルム62は、基材層13の一方の面に配向層形成用組成物を塗工して配向層12を形成して配向層付き基材層61(図3(a))を得る配向層形成工程と、配向層付き基材層61の配向層12が形成された側の面に、偏光層形成用組成物を塗工して偏光層21を形成する偏光層形成工程とを経て製造することができる。
偏光層形成用組成物は溶剤を含有していてもよい。一般に重合性液晶化合物は粘度が高いため、液晶化合物として重合性液晶化合物を用いる場合は、溶剤を含む偏光層形成用組成物を用いることで塗工が容易になり、結果として偏光層を形成しやすくなる。溶剤としては、重合性液晶化合物及び二色性色素を完全に溶解し得るものが好ましく、また、重合性液晶化合物の重合反応に不活性な溶剤であることが好ましい。
偏光層形成用組成物は重合開始剤を含有していてもよい。重合開始剤は、液晶化合物として重合性液晶化合物を用いている場合に用いることができ、重合性液晶化合物等の重合反応を開始し得る化合物である。重合開始剤としては、サーモトロピック液晶の相状態に依存しないという観点から、光の作用により活性ラジカルを発生する光重合開始剤が好ましい。
偏光層形成用組成物は増感剤を含有してもよい。増感剤は、液晶化合物として重合性液晶化合物を用いている場合に好適に用いることができ、光重合性基を有する重合性液晶化合物を用いている場合には、増感剤は光増感剤であることが好ましい。増感剤としては、例えば、キサントン及びチオキサントン等のキサントン化合物(例えば、2,4-ジエチルチオキサントン、2-イソプロピルチオキサントン等);アントラセン及びアルコキシ基含有アントラセン(例えば、ジブトキシアントラセン等)等のアントラセン化合物;フェノチアジン又はルブレン等が挙げられる。
偏光層形成用組成物は、重合反応を安定的に進行させる観点から重合禁止剤を含有してもよい。重合禁止剤は、液晶化合物として重合性液晶化合物を用いている場合に好適に用いることができ、重合禁止剤により、重合性液晶化合物の重合反応の進行度合いをコントロールすることができる。
偏光層形成用組成物はレベリング剤を含有してもよい。レベリング剤とは、組成物の流動性を調整し、組成物を塗布して得られる膜をより平坦にする機能を有する添加剤であり、例えば、有機変性シリコーンオイル系、ポリアクリレート系又はパーフルオロアルキル系のレベリング剤が挙げられる。具体的には、DC3PA、SH7PA、DC11PA、SH28PA、SH29PA、SH30PA、ST80PA、ST86PA、SH8400、SH8700、FZ2123(以上、全て東レ・ダウコーニング(株)製)、KP321、KP323、KP324、KP326、KP340、KP341、X22-161A、KF6001(以上、全て信越化学工業(株)製)、TSF400、TSF401、TSF410、TSF4300、TSF4440、TSF4445、TSF-4446、TSF4452、TSF4460(以上、全てモメンティブ パフォーマンス マテリアルズ ジャパン合同会社製)、フロリナート(fluorinert)(登録商標)FC-72、同FC-40、同FC-43、同FC-3283(以上、全て住友スリーエム(株)製)、メガファック(登録商標)R-08、同R-30、同R-90、同F-410、同F-411、同F-443、同F-445、同F-470、同F-477、同F-479、同F-482、同F-483(以上、いずれもDIC(株)製)、エフトップ(商品名)EF301、同EF303、同EF351、同EF352(以上、全て三菱マテリアル電子化成(株)製)、サーフロン(登録商標)S-381、同S-382、同S-383、同S-393、同SC-101、同SC-105、KH-40、SA-100(以上、全てAGCセイミケミカル(株)製)、商品名E1830、同E5844((株)ダイキンファインケミカル研究所製)、BM-1000、BM-1100、BYK-352、BYK-353又はBYK-361N(いずれも商品名:BM Chemie社製)等が挙げられる。中でも、ポリアクリレート系レベリング剤又はパーフルオロアルキル系レベリング剤が好ましい。
偏光層形成用組成物は反応性添加剤を含んでもよい。反応性添加剤としては、その分子内に炭素-炭素不飽和結合と活性水素反応性基とを有するものが好ましい。なお、ここでいう「活性水素反応性基」とは、カルボキシル基(-COOH)、水酸基(-OH)、アミノ基(-NH2)等の活性水素を有する基に対して反応性を有する基を意味し、グリシジル基、オキサゾリン基、カルボジイミド基、アジリジン基、イミド基、イソシアネート基、チオイソシアネート基、無水マレイン酸基等がその代表例である。反応性添加剤が有する、炭素-炭素不飽和結合又は活性水素反応性基の個数は、通常、それぞれ1~20個であり、好ましくはそれぞれ1~10個である。
式(Y)中のR3’のうち、少なくとも1つのR3’は炭素-炭素不飽和結合を有する基である。]
保護層積層工程では、図3(c)に示すように、準備工程で準備した積層フィルム62の偏光層21上に、偏光層21を被覆するための被覆領域35aと、偏光層21を露出させるための露出領域35bとを有する保護層35を積層する。これにより保護層付き積層フィルム63を得ることができる。露出領域35bは、例えば保護層35の開口部とすることができる。被覆領域35aは、後述する偏光層21中の二色性色素の含有率を低減し得る液状物と、保護層付き積層フィルム63とを接触させたときに、液状物が偏光層21と接触することを抑制することができる。一方、保護層35の露出領域35bでは、液状物を偏光層21に接触させることができる。
脱色工程では、保護層積層工程で得られた保護層付き積層フィルム63を、偏光層21における二色性色素の含有率を低減し得る液状物に接触させることにより、偏光層21の一部の領域において二色性色素の含有率を低下させた脱色積層フィルム64を得ることができる(図3(d))。保護層付き積層フィルム63の保護層35は、偏光層21を被覆するための被覆領域35aと偏光層21を露出させるための露出領域35bとを有しているため、露出領域35bにおいて液状物と偏光層21とを接触させることができる。これにより、偏光層21のうち液状物と接触した領域において二色性色素の含有率を低下させることができる。
剥離工程では、脱色工程で得られた脱色積層フィルム64から保護層35を剥離する。これにより、液晶層11の一部に、他の領域よりも二色性色素の含有率が少ない領域である第2領域11bが形成された偏光フィルム1(図1(a)及び(b))を得ることができる。
偏光フィルム1の製造方法は、好ましくは、Roll to Roll形式により連続的に製造することができる。この場合、準備工程においてロール状に巻回された積層フィルムを準備し、この積層フィルムを巻出しながら搬送して、保護層積層工程、脱色工程、剥離工程を連続的に行えばよい。保護層積層工程では、ロール状に巻回された保護層を巻出しながら搬送して、積層フィルムに保護層を貼合して保護層付き積層フィルムを得ればよい。脱色工程では、保護層付き積層フィルムを連続的に搬送しながら液状物で満たされた液状物浴を通過させる、又は、保護層付き積層フィルムを連続的に搬送しながら液状物を塗布、噴霧又は滴下して、脱色積層フィルムを得ればよい。剥離工程では、脱色積層フィルムから連続的に保護層を剥離して、偏光フィルムをロール状に巻取って巻回体とすればよい。上記のように連続的に製造された偏光フィルムは、例えば10m以上の長さを有することができる。
偏光フィルム1は、上記した第1の製造方法のほか、下記に示す第2の製造方法によって製造することもできる。図4は、図1(b)に示す偏光フィルム1の製造方法における液状物接触工程の一例を示す概略断面図である。偏光フィルム1の第2の製造方法は、
基材層13の少なくとも片面側に、液晶化合物及び二色性色素を含む偏光層21を有する積層フィルム62(図3(b))を準備する準備工程と、
積層フィルム62の偏光層21の一部の領域を、偏光層21における二色性色素の含有率を低減し得る液状物に接触させることにより、前記一部の領域において二色性色素の含有率を低下させる液状物接触工程(図4)と、を有し、これにより、図1(a)及び(b)に示す偏光フィルム1を製造することができる。
円偏光板は、偏光フィルム1と位相差層とを積層することによって製造することができる。上記したように、偏光フィルムが連続的に製造された長さ10m以上の長尺偏光フィルムである場合、上記位相差層として、長さ10m以上の長尺位相差層を用い、両者を連続的に搬送しながら長尺偏光フィルムと長尺位相差層とを積層することにより、長尺積層体を形成することが好ましい。このとき、長尺偏光フィルム及び長尺位相差層の少なくとも一方に、粘着剤又は接着剤を塗工して両者を積層することが好ましい。
(評価用サンプルの作製)
各実施例、比較例及び参考例で用いた配向層形成用組成物及び偏光層形成用組成物を準備した。また、各実施例、比較例及び参考例で基材層として用いたものと同じフィルムを40mm×40mmに切り出したものを評価用サンプルの基材層として準備した。これらを用い、実施例1、2、比較例及び参考例では保護層を用いず、実施例3では偏光層上に部分的に溶液を滴下することに代えて偏光層全面を溶液と接触させたこと以外は、各実施例、比較例及び参考例の偏光フィルムの製造と同様の手順を行い評価用サンプルを得た。
評価用サンプルについて、以下の手順で視感度補正単体透過率(Ty)及び視感度補正偏光度(Py)を算出した。波長380nm~780nmの範囲で透過軸方向の透過率(T1)及び吸収軸方向の透過率(T2)を、分光光度計(島津製作所株式会社製 UV-3150)に偏光子付フォルダーをセットした装置を用いてダブルビーム法で測定した。該フォルダーは、リファレンス側は光量を50%カットするメッシュを設置した。下記(式1)及び(式2)を用いて、各波長における透過率、偏光度を算出し、さらにJIS Z 8701の2度視野(C光源)により視感度補正を行い、視感度補正透過率(Ty)及び視感度補正偏光度(Py)を算出した。
偏光度[%]={(T1-T2)/(T1+T2)}×100 (式1)
単体透過率[%]=(T1+T2)/2 (式2)
(配向層形成用組成物の製造)
下記成分を混合し、得られた混合物を80℃で1時間攪拌することにより、光配向膜形成用組成物である配向層形成用組成物を得た。
・下記に示す光反応性基を有するポリマー 2部
・溶剤:o-キシレン 98部
下記の成分を混合し、80℃で1時間攪拌することで、偏光層形成用組成物を得た。二色性色素には、特開2013-101328号公報の実施例に記載のアゾ系色素を用いた。
・式(1-6)で表される重合性液晶化合物 75部
・式(1-7)で表される重合性液晶化合物 25部
・下記に示す二色性色素(1) 2.8部
・下記に示す二色性色素(2) 2.8部
・下記に示す二色性色素(3) 2.8部
・下記に示す重合開始剤 6部
2-ジメチルアミノ-2-ベンジル-1-(4-モルホリノフェニル)ブタン-1-オン(イルガキュア369;チバスペシャルティケミカルズ社製)
・下記に示すレベリング剤 1.2部
ポリアクリレート化合物(BYK-361N;BYK-Chemie社製)
・下記に示す溶剤 250部
シクロペンタノン
基材層としてのトリアセチルセルロースフィルム(コニカミノルタ社製KC4UY-TAC、厚さ40μm)を20×20mmに切り出し、その表面にコロナ処理(AGF-B10、春日電機株式会社製)を施した。コロナ処理が施されたフィルム表面に、バーコーターを用いて配向層形成用組成物を塗布した後、120℃に設定した乾燥オーブンで1分間乾燥し、配向層用塗工層を得た。配向層用塗工層上に偏光UV照射装置(SPOT CURE SP-7;ウシオ電機株式会社製)を用いて、偏光UVを、50mJ/cm2(313nm基準)の積算光量で照射し配向層を形成した。得られた配向層上に、バーコーターを用いて偏光層形成用組成物を塗布した後、110℃に設定した乾燥オーブンで1分間乾燥した。その後高圧水銀ランプ(ユニキュアVB-15201BY-A、ウシオ電機株式会社製)を用いて、紫外線を照射(窒素雰囲気下、波長:365nm、波長365nmにおける積算光量:1000mJ/cm2)することにより、液晶化合物及び二色性色素が配向した偏光層を得た。偏光層上に、穴あけパンチにて穴をあけて開口部を形成した保護層(藤森工業株式会社製のAY-638。厚みが38μmのポリエステルフィルム上に厚みが15μmの粘着剤層が設けられている。)を貼合した後、ジフェニル4-チオフェノキシフェニルスルホニウムヘキサフルオロホスフェート(サンアプロ株式会社製、CPI-100P)のプロピレンカーボネートの50wt%溶液に120℃で60秒浸漬させた。その後、保護層を剥離して偏光フィルムを得た。
基材層としてトリアセチルセルロースフィルムを用いることに代えて、環状オレフィン系樹脂の一軸延伸フィルムである1/4波長板(ゼオノアフィルム、日本ゼオン株式会社、面内位相差値Ro:138nm)の表面にハードコート処理したフィルムを用い、遅相軸と偏光層の吸収軸が45°となるように積層させたこと以外は、実施例1と同様にして偏光フィルムを得た。また、上記した手順で評価用サンプルを作製し、その視感度補正透過率(Ty)及び視感度補正偏光度(Py)を算出した。その結果を表1に示す。
穴あけパンチにて穴をあけて開口部を形成した保護層を貼合することに代えて、スポイトを用いて、偏光層上に部分的に、ジフェニル4-チオフェノキシフェニルスルホニウムヘキサフルオロホスフェート(サンアプロ株式会社製、CPI-100P)のプロピレンカーボネートの50wt%溶液を滴下した以外は、実施例1と同様に偏光フィルムを得た。また、上記した手順で評価用サンプルを作製し、その視感度補正透過率(Ty)及び視感度補正偏光度(Py)を算出した。その結果を表1に示す。
ジフェニル4-チオフェノキシフェニルスルホニウムヘキサフルオロホスフェート(サンアプロ株式会社製、CPI-100P)のプロピレンカーボネートの50wt%溶液のに代えて、メタノールを常温にて用いたこと以外は、実施例1と同様にして偏光フィルムを得た。得られた偏光フィルムの外観を目視で観察したところ、偏光層の存在しない領域を確認できず、偏光領域と低偏光領域とを有する偏光フィルムが得られていないことがわかった。また、上記した手順で評価用サンプルを作製し、その視感度補正透過率(Ty)及び視感度補正偏光度(Py)を算出した。その結果を表1に示す。
ジフェニル4-チオフェノキシフェニルスルホニウムヘキサフルオロホスフェート(サンアプロ株式会社製、CPI-100P)のプロピレンカーボネートの50wt%溶液を用いないこと以外は、実施例1と同様にして偏光フィルムを得た。得られた偏光フィルムの外観を目視で観察したところ、偏光層の存在しない領域を確認することができず、偏光領域と低偏光領域とを有する偏光フィルムが得られていないことがわかった。また、上記した手順で評価用サンプルを作製し、その視感度補正透過率(Ty)及び視感度補正偏光度(Py)を算出した。その結果を表1に示す。
Claims (9)
- 基材層と、前記基材層の少なくとも片面側に積層される液晶層と、前記液晶層上に剥離可能に積層される保護層とを有する保護層付き積層フィルムであって、
前記液晶層は、
液晶化合物を含むとともに、
視感度補正偏光度の値によって区別され、かつ二色性色素の含有率が互いに異なる少なくとも2つの領域であって、二色性色素を含有する第1領域と二色性色素の含有率が前記第1領域よりも少ない第2領域とを同一平面内に有し、
前記液晶化合物は、サーモトロピック液晶であり、
前記第1領域の厚みと前記第2領域の厚みとの差は、0.5μm以下であり、
前記保護層は、前記第1領域を被覆するための被覆領域と、前記第2領域を露出させるための露出領域とを有する、保護層付き積層フィルム。 - 前記保護層付き積層フィルムは、さらに、前記基材層の少なくとも片面側に積層された配向層を有し、
前記液晶層は、前記配向層上に積層されている、請求項1に記載の保護層付き積層フィルム。 - 前記配向層は、光配向性ポリマーを含む、請求項2に記載の保護層付き積層フィルム。
- 前記基材層は、1/4波長板機能を有する、請求項1~3のいずれか1項に記載の保護層付き積層フィルム。
- 前記液晶化合物は、重合性液晶化合物の重合体を含む、請求項1~4のいずれか1項に記載の保護層付き積層フィルム。
- 前記第1領域の視感度補正偏光度は、90%以上であり、
前記第2領域の視感度補正偏光度は、10%以下である、請求項1~5のいずれか1項に記載の保護層付き積層フィルム。 - 前記第1領域の視感度補正単体透過率は、35%以上であり、
前記第2領域の視感度補正単体透過率は、80%以上である、請求項1~6のいずれか1項に記載の保護層付き積層フィルム。 - 前記第2領域は、平面視形状が円形、楕円形、長円形又は多角形であり、
前記第2領域が円形である場合の直径は、5cm以下であり、
前記第2領域が楕円形又は長円形である場合の長径は、5cm以下であり、
前記第2領域が多角形である場合、前記多角形が内接されるように描いた仮想円の直径は、5cm以下である、請求項1~7のいずれか1項に記載の保護層付き積層フィルム。 - 前記第1領域は、X線回折測定においてブラッグピークを示す、請求項1~8のいずれか1項に記載の保護層付き積層フィルム。
Priority Applications (1)
| Application Number | Priority Date | Filing Date | Title |
|---|---|---|---|
| JP2023056041A JP7536938B2 (ja) | 2017-10-27 | 2023-03-30 | 偏光フィルム及び円偏光板 |
Applications Claiming Priority (5)
| Application Number | Priority Date | Filing Date | Title |
|---|---|---|---|
| JP2017208092 | 2017-10-27 | ||
| JP2017208092 | 2017-10-27 | ||
| JP2017253953 | 2017-12-28 | ||
| JP2017253953 | 2017-12-28 | ||
| PCT/JP2018/038525 WO2019082745A1 (ja) | 2017-10-27 | 2018-10-16 | 偏光フィルム及びその製造方法 |
Related Child Applications (1)
| Application Number | Title | Priority Date | Filing Date |
|---|---|---|---|
| JP2023056041A Division JP7536938B2 (ja) | 2017-10-27 | 2023-03-30 | 偏光フィルム及び円偏光板 |
Publications (2)
| Publication Number | Publication Date |
|---|---|
| JPWO2019082745A1 JPWO2019082745A1 (ja) | 2020-11-19 |
| JP7586643B2 true JP7586643B2 (ja) | 2024-11-19 |
Family
ID=66246429
Family Applications (2)
| Application Number | Title | Priority Date | Filing Date |
|---|---|---|---|
| JP2019551034A Active JP7586643B2 (ja) | 2017-10-27 | 2018-10-16 | 保護層付き積層フィルム |
| JP2023056041A Active JP7536938B2 (ja) | 2017-10-27 | 2023-03-30 | 偏光フィルム及び円偏光板 |
Family Applications After (1)
| Application Number | Title | Priority Date | Filing Date |
|---|---|---|---|
| JP2023056041A Active JP7536938B2 (ja) | 2017-10-27 | 2023-03-30 | 偏光フィルム及び円偏光板 |
Country Status (5)
| Country | Link |
|---|---|
| JP (2) | JP7586643B2 (ja) |
| KR (2) | KR20200080245A (ja) |
| CN (2) | CN111279231A (ja) |
| TW (1) | TWI900460B (ja) |
| WO (1) | WO2019082745A1 (ja) |
Families Citing this family (7)
| Publication number | Priority date | Publication date | Assignee | Title |
|---|---|---|---|---|
| JP7492813B2 (ja) * | 2019-07-31 | 2024-05-30 | 住友化学株式会社 | 偏光フィルムおよびその製造方法 |
| CN111897041A (zh) * | 2020-07-29 | 2020-11-06 | 明基材料有限公司 | 偏光板及含此偏光板的电子装置 |
| CN111999791A (zh) * | 2020-08-14 | 2020-11-27 | 武汉华星光电半导体显示技术有限公司 | 偏光片、显示模组以及显示装置 |
| JP7603396B2 (ja) * | 2020-08-31 | 2024-12-20 | 住友化学株式会社 | 二液型偏光膜形成用組成物 |
| KR102752314B1 (ko) * | 2021-03-29 | 2025-01-09 | 삼성에스디아이 주식회사 | 편광판 및 이를 포함하는 광학표시장치 |
| CN114913240B (zh) * | 2022-05-09 | 2024-11-22 | 环盛智能(深圳)有限公司 | 一种mcu摄像头定位方法、装置、设备及存储介质 |
| CN119805650A (zh) * | 2025-02-28 | 2025-04-11 | 昆山国显光电有限公司 | 偏光片及其制备方法、显示模组 |
Citations (8)
| Publication number | Priority date | Publication date | Assignee | Title |
|---|---|---|---|---|
| JP2001256531A (ja) | 2000-03-10 | 2001-09-21 | Dainippon Printing Co Ltd | セキュリティ製品、セキュリティ情報付き物品、真贋判定方法、及び、セキュリティ製品の製造方法 |
| JP2005221756A (ja) | 2004-02-05 | 2005-08-18 | Sharp Corp | 視野角制御素子およびそれを用いた映像表示装置 |
| JP2009538957A (ja) | 2006-09-08 | 2009-11-12 | エルジー・ケム・リミテッド | 偏光膜用の二色性染料、これを含む偏光膜組成物、これを用いた耐久性に優れた偏光板の製造方法及びこれにより製造された偏光板 |
| JP2011237513A (ja) | 2010-05-07 | 2011-11-24 | Fujifilm Corp | 光吸収異方性膜、その製造方法、及びそれを用いた液晶表示装置 |
| JP2013167835A (ja) | 2012-02-17 | 2013-08-29 | Nitto Denko Corp | 光学積層体及び光学積層体の製造方法 |
| JP2015212823A (ja) | 2014-04-18 | 2015-11-26 | 住友化学株式会社 | パターン偏光フィルム |
| JP2016151603A (ja) | 2015-02-16 | 2016-08-22 | 日東電工株式会社 | 偏光子、偏光板および画像表示装置 |
| JP2017500606A (ja) | 2014-03-26 | 2017-01-05 | エルジー・ケム・リミテッド | 局地的脱色領域を含む偏光部材、偏光部材ロールおよび枚葉型偏光部材の製造方法 |
Family Cites Families (12)
| Publication number | Priority date | Publication date | Assignee | Title |
|---|---|---|---|---|
| US7763330B2 (en) | 2003-11-06 | 2010-07-27 | Sumitomo Chemical Co., Ltd. | Dichroic guest-host polarizer comprising an oriented polymer film |
| JP4394431B2 (ja) * | 2003-12-11 | 2010-01-06 | 住友化学株式会社 | 偏光フィルムの製造方法および偏光板の製造方法 |
| JP5451516B2 (ja) * | 2010-05-07 | 2014-03-26 | 株式会社ジャパンディスプレイ | 液晶パネルおよび液晶表示装置 |
| CN101921525A (zh) * | 2010-08-30 | 2010-12-22 | 深圳市盛波光电科技有限公司 | 一种偏光片用彩色压敏胶 |
| KR101941440B1 (ko) * | 2011-10-05 | 2019-01-23 | 엘지디스플레이 주식회사 | 코팅형 편광판 및 그 제조방법 |
| JP6081098B2 (ja) * | 2011-10-27 | 2017-02-15 | 日東電工株式会社 | 長尺状積層偏光板の製造方法及び長尺状積層偏光板 |
| JP6385050B2 (ja) * | 2012-12-17 | 2018-09-05 | 日東電工株式会社 | 光学積層体の製造方法及び光学積層体 |
| US9618669B2 (en) * | 2013-11-08 | 2017-04-11 | Apple Inc. | Electronic device display with polarizer windows |
| JP6299367B2 (ja) | 2014-04-18 | 2018-03-28 | 住友化学株式会社 | パターン偏光フィルムの製造方法 |
| JP6351559B2 (ja) * | 2015-09-28 | 2018-07-04 | 日東電工株式会社 | 偏光子、偏光板および画像表示装置 |
| JP6412476B2 (ja) * | 2015-09-28 | 2018-10-24 | 日東電工株式会社 | 偏光子、偏光板および画像表示装置 |
| JP6422415B2 (ja) * | 2015-09-28 | 2018-11-14 | 日東電工株式会社 | 偏光子、偏光板および画像表示装置 |
-
2018
- 2018-10-16 JP JP2019551034A patent/JP7586643B2/ja active Active
- 2018-10-16 CN CN201880069704.0A patent/CN111279231A/zh active Pending
- 2018-10-16 KR KR1020207012632A patent/KR20200080245A/ko not_active Ceased
- 2018-10-16 WO PCT/JP2018/038525 patent/WO2019082745A1/ja not_active Ceased
- 2018-10-16 CN CN202511086035.6A patent/CN120686399A/zh active Pending
- 2018-10-16 KR KR1020247021042A patent/KR20240101728A/ko active Pending
- 2018-10-23 TW TW107137332A patent/TWI900460B/zh active
-
2023
- 2023-03-30 JP JP2023056041A patent/JP7536938B2/ja active Active
Patent Citations (8)
| Publication number | Priority date | Publication date | Assignee | Title |
|---|---|---|---|---|
| JP2001256531A (ja) | 2000-03-10 | 2001-09-21 | Dainippon Printing Co Ltd | セキュリティ製品、セキュリティ情報付き物品、真贋判定方法、及び、セキュリティ製品の製造方法 |
| JP2005221756A (ja) | 2004-02-05 | 2005-08-18 | Sharp Corp | 視野角制御素子およびそれを用いた映像表示装置 |
| JP2009538957A (ja) | 2006-09-08 | 2009-11-12 | エルジー・ケム・リミテッド | 偏光膜用の二色性染料、これを含む偏光膜組成物、これを用いた耐久性に優れた偏光板の製造方法及びこれにより製造された偏光板 |
| JP2011237513A (ja) | 2010-05-07 | 2011-11-24 | Fujifilm Corp | 光吸収異方性膜、その製造方法、及びそれを用いた液晶表示装置 |
| JP2013167835A (ja) | 2012-02-17 | 2013-08-29 | Nitto Denko Corp | 光学積層体及び光学積層体の製造方法 |
| JP2017500606A (ja) | 2014-03-26 | 2017-01-05 | エルジー・ケム・リミテッド | 局地的脱色領域を含む偏光部材、偏光部材ロールおよび枚葉型偏光部材の製造方法 |
| JP2015212823A (ja) | 2014-04-18 | 2015-11-26 | 住友化学株式会社 | パターン偏光フィルム |
| JP2016151603A (ja) | 2015-02-16 | 2016-08-22 | 日東電工株式会社 | 偏光子、偏光板および画像表示装置 |
Also Published As
| Publication number | Publication date |
|---|---|
| TWI900460B (zh) | 2025-10-11 |
| WO2019082745A1 (ja) | 2019-05-02 |
| CN120686399A (zh) | 2025-09-23 |
| KR20240101728A (ko) | 2024-07-02 |
| KR20200080245A (ko) | 2020-07-06 |
| JPWO2019082745A1 (ja) | 2020-11-19 |
| CN111279231A (zh) | 2020-06-12 |
| JP7536938B2 (ja) | 2024-08-20 |
| JP2023080141A (ja) | 2023-06-08 |
| TW201923393A (zh) | 2019-06-16 |
Similar Documents
| Publication | Publication Date | Title |
|---|---|---|
| JP7536938B2 (ja) | 偏光フィルム及び円偏光板 | |
| KR101808984B1 (ko) | 타원 편광판 | |
| JP7506642B2 (ja) | 複合偏光板および液晶表示装置 | |
| JP7684453B2 (ja) | 偏光フィルムおよびその製造方法 | |
| JP7198683B2 (ja) | 積層体 | |
| JP7287896B2 (ja) | 偏光フィルムの製造方法及び偏光フィルム | |
| JP7272957B2 (ja) | 偏光フィルムの製造方法及び偏光フィルム | |
| KR102724035B1 (ko) | 적층체 | |
| JP7575275B2 (ja) | 偏光フィルム及びその製造方法 | |
| JP7576408B2 (ja) | 偏光膜、偏光板、光学積層体、楕円偏光板、有機el表示装置およびフレキシブル画像表示装置 | |
| WO2020022009A1 (ja) | 積層体 | |
| TWI908713B (zh) | 偏光膜及其製造方法 | |
| WO2020022010A1 (ja) | 積層体 |
Legal Events
| Date | Code | Title | Description |
|---|---|---|---|
| A621 | Written request for application examination |
Free format text: JAPANESE INTERMEDIATE CODE: A621 Effective date: 20210422 |
|
| A131 | Notification of reasons for refusal |
Free format text: JAPANESE INTERMEDIATE CODE: A131 Effective date: 20220118 |
|
| A521 | Request for written amendment filed |
Free format text: JAPANESE INTERMEDIATE CODE: A523 Effective date: 20220309 |
|
| A131 | Notification of reasons for refusal |
Free format text: JAPANESE INTERMEDIATE CODE: A131 Effective date: 20220802 |
|
| A521 | Request for written amendment filed |
Free format text: JAPANESE INTERMEDIATE CODE: A523 Effective date: 20220928 |
|
| A02 | Decision of refusal |
Free format text: JAPANESE INTERMEDIATE CODE: A02 Effective date: 20230131 |
|
| A521 | Request for written amendment filed |
Free format text: JAPANESE INTERMEDIATE CODE: A523 Effective date: 20230330 |
|
| C60 | Trial request (containing other claim documents, opposition documents) |
Free format text: JAPANESE INTERMEDIATE CODE: C60 Effective date: 20230330 |
|
| A911 | Transfer to examiner for re-examination before appeal (zenchi) |
Free format text: JAPANESE INTERMEDIATE CODE: A911 Effective date: 20230406 |
|
| C21 | Notice of transfer of a case for reconsideration by examiners before appeal proceedings |
Free format text: JAPANESE INTERMEDIATE CODE: C21 Effective date: 20230411 |
|
| A912 | Re-examination (zenchi) completed and case transferred to appeal board |
Free format text: JAPANESE INTERMEDIATE CODE: A912 Effective date: 20230623 |
|
| A521 | Request for written amendment filed |
Free format text: JAPANESE INTERMEDIATE CODE: A523 Effective date: 20240426 |
|
| A521 | Request for written amendment filed |
Free format text: JAPANESE INTERMEDIATE CODE: A523 Effective date: 20240830 |
|
| A61 | First payment of annual fees (during grant procedure) |
Free format text: JAPANESE INTERMEDIATE CODE: A61 Effective date: 20241107 |
|
| R150 | Certificate of patent or registration of utility model |
Ref document number: 7586643 Country of ref document: JP Free format text: JAPANESE INTERMEDIATE CODE: R150 |





















