JP7582115B2 - 内燃機関用のスパークプラグ及びこれを備えた内燃機関 - Google Patents

内燃機関用のスパークプラグ及びこれを備えた内燃機関 Download PDF

Info

Publication number
JP7582115B2
JP7582115B2 JP2021129567A JP2021129567A JP7582115B2 JP 7582115 B2 JP7582115 B2 JP 7582115B2 JP 2021129567 A JP2021129567 A JP 2021129567A JP 2021129567 A JP2021129567 A JP 2021129567A JP 7582115 B2 JP7582115 B2 JP 7582115B2
Authority
JP
Japan
Prior art keywords
plug
gap
nozzle hole
combustion chamber
internal combustion
Prior art date
Legal status (The legal status is an assumption and is not a legal conclusion. Google has not performed a legal analysis and makes no representation as to the accuracy of the status listed.)
Active
Application number
JP2021129567A
Other languages
English (en)
Other versions
JP2023023760A (ja
Inventor
明光 杉浦
翔太 木下
Current Assignee (The listed assignees may be inaccurate. Google has not performed a legal analysis and makes no representation or warranty as to the accuracy of the list.)
Denso Corp
Original Assignee
Denso Corp
Priority date (The priority date is an assumption and is not a legal conclusion. Google has not performed a legal analysis and makes no representation as to the accuracy of the date listed.)
Filing date
Publication date
Application filed by Denso Corp filed Critical Denso Corp
Priority to JP2021129567A priority Critical patent/JP7582115B2/ja
Publication of JP2023023760A publication Critical patent/JP2023023760A/ja
Application granted granted Critical
Publication of JP7582115B2 publication Critical patent/JP7582115B2/ja
Active legal-status Critical Current
Anticipated expiration legal-status Critical

Links

Images

Classifications

    • YGENERAL TAGGING OF NEW TECHNOLOGICAL DEVELOPMENTS; GENERAL TAGGING OF CROSS-SECTIONAL TECHNOLOGIES SPANNING OVER SEVERAL SECTIONS OF THE IPC; TECHNICAL SUBJECTS COVERED BY FORMER USPC CROSS-REFERENCE ART COLLECTIONS [XRACs] AND DIGESTS
    • Y02TECHNOLOGIES OR APPLICATIONS FOR MITIGATION OR ADAPTATION AGAINST CLIMATE CHANGE
    • Y02TCLIMATE CHANGE MITIGATION TECHNOLOGIES RELATED TO TRANSPORTATION
    • Y02T10/00Road transport of goods or passengers
    • Y02T10/10Internal combustion engine [ICE] based vehicles
    • Y02T10/12Improving ICE efficiencies

Landscapes

  • Combustion Methods Of Internal-Combustion Engines (AREA)
  • Spark Plugs (AREA)
  • Ignition Installations For Internal Combustion Engines (AREA)

Description

本発明は、内燃機関用のスパークプラグ及びこれを備えた内燃機関に関する。
例えば、特許文献1に開示されているように、先端に副燃焼室を備えたスパークプラグが知られている。当該スパークプラグにおいて、副燃焼室を覆うプラグカバーには、複数の噴孔が形成されている。これにより、噴孔を介して副燃焼室から主燃焼室に火炎を噴出させ、主燃焼室の混合気を燃焼させようとしている。
特開2020-009747号公報
しかしながら、特許文献1に記載のスパークプラグは、副燃焼室内における混合気への着火、すなわち、初期火炎の形成自体については、考慮されていない。つまり、副燃焼室内の放電を引き伸ばして着火性を向上させることについては、何ら考慮されていない。
本発明は、かかる課題に鑑みてなされたものであり、着火性を向上させることができる内燃機関用のスパークプラグ及びこれを備えた内燃機関を提供しようとするものである。
本発明の第1の態様は、筒状の絶縁碍子(3)と、
該絶縁碍子の内周側に保持されると共に該絶縁碍子から先端側に突出した中心電極(4)と、
上記絶縁碍子を内周側に保持する筒状のハウジング(2)と、
上記中心電極との間に放電ギャップ(G)を形成する接地電極(6)と、
上記放電ギャップが配される副燃焼室(50)を覆うよう上記ハウジングの先端部に設けられたプラグカバー(5)と、を有する内燃機関用のスパークプラグ(1)であって、
上記接地電極は、上記ハウジング又は上記プラグカバーに固定された固定端部(61)から上記副燃焼室内に突出しており、
上記放電ギャップは、上記中心電極の先端部と上記接地電極とが互いにプラグ軸方向(Z)に対向することにより形成されており、
プラグ軸方向及び上記接地電極の長手方向の双方と直交する方向において、上記接地電極の幅(D1)は、上記中心電極の先端部の幅(D2)よりも大きく、
上記プラグカバーには、上記副燃焼室と外部とを連通させる複数の噴孔(51)が形成されており、
上記噴孔の噴孔軸(511L、512L、513L、514L)は、基端側へ向かうほどプラグ径方向の内側へ向かうように、プラグ軸方向に対して傾斜しており、
上記スパークプラグを、プラグ中心軸(C)を含む仮想平面(P)によって、上記固定端部を含む第一プラグ部(11)と、第二プラグ部(12)とに2分割したとき、上記複数の噴孔のうちの少なくとも一つは上記第一プラグ部に形成されており、
上記第一プラグ部に形成された上記噴孔である第一噴孔(511)のうちの少なくとも一つは、当該第一噴孔を噴孔軸(511L)に沿って延長した第一延長領域(511E)が、当該噴孔軸を含むと共にプラグ軸方向に沿った断面視において、上記放電ギャップと重なる、ギャップ側噴孔(512)であり、
プラグ軸方向から見て、上記放電ギャップを上記接地電極の幅方向に延長した延長領域(GE1)と、上記接地電極とが互いに重なる領域を、ギャップ延長領域(GE2)としたとき、
プラグ軸方向から見て、上記ギャップ側噴孔の上記第一延長領域は、上記放電ギャップを通過することなく、上記ギャップ延長領域を通過する、内燃機関用のスパークプラグにある。
本発明の第2の態様は、上記内燃機関用のスパークプラグを備えた内燃機関(10)であって、
主燃焼室(101)と、
該主燃焼室に設けられた吸気弁(72)及び排気弁(73)と、を有し、
上記スパークプラグは、プラグ軸方向から見たとき、少なくとも一つの上記ギャップ側噴孔が上記吸気弁側を向くように、配置されている、内燃機関にある。
本発明の第3の態様は、上記内燃機関用のスパークプラグを備えた内燃機関(10)であって、
主燃焼室(101)と、
上記主燃焼室に直接燃料を噴射するインジェクタ(13)と、を有し、
上記ギャップ側噴孔は、他の上記噴孔よりも開口面積が大きく、
上記スパークプラグは、上記インジェクタから噴射された上記燃料を含む噴射流(F)が、上記ギャップ側噴孔に向かうように、配置されている、内燃機関にある。
上記第1の態様にかかる内燃機関用のスパークプラグは、ギャップ側噴孔を有する。それゆえ、ギャップ側噴孔を介して副燃焼室に導入された気流は、放電ギャップの近傍を通過しやすいと共に、接地電極に案内されることにより放電ギャップに向かいやすい。それゆえ、放電ギャップに形成された放電が伸長しやすい。その結果、着火性を向上させることができる。
上記第2の態様にかかる内燃機関において、上記スパークプラグは、プラグ軸方向から見たとき、少なくとも一つのギャップ側噴孔が吸気弁側を向くように、配置されている。それゆえ、ギャップ側噴孔は、主燃焼室に形成される気流の上流側を向きやすい。これにより、ギャップ側噴孔を介して、主燃焼室から副燃焼室へと気流が導入されやすくなる。それゆえ、ギャップ側噴孔を介して副燃焼室に導入された気流によって、放電ギャップに生じた放電が確実に伸長しやすい。その結果、着火性を確実に向上させることができる。
上記第3の態様にかかる内燃機関において、上記スパークプラグは、インジェクタから噴射された噴射流が、他の噴孔よりも開口面積が大きいギャップ側噴孔に向かうように、配置されている。これにより、燃料密度の高い混合気が、ギャップ側噴孔から副燃焼室内へ導入されやすくなる。その結果、燃料密度の高い混合気が、放電ギャップに到達しやすくなり、着火性を向上させることができる。
以上のごとく、上記態様によれば、着火性を向上させることができる内燃機関用のスパークプラグ及びこれを備えた内燃機関を提供することができる。
なお、特許請求の範囲及び課題を解決する手段に記載した括弧内の符号は、後述する実施形態に記載の具体的手段との対応関係を示すものであり、本発明の技術的範囲を限定するものではない。
実施形態1における、スパークプラグの先端部付近の、プラグ軸方向に沿った断面図であって、図2のI-I線矢視断面相当図。 図1のII-II線矢視断面相当の図。 実施形態1における、幅D1と幅D2とを示す説明図。 図5のIV-IV線矢視断面相当の図。 実施形態1における、ギャップ側噴孔の第一延長領域とギャップ延長領域との位置関係を示す、プラグ軸方向から見た図。 実施形態1における、内燃機関の断面図。 実施形態1における、主燃焼室に形成された気流の向きを説明する、内燃機関を先端側から見た図。 実施形態1における、低負荷運転時の、放電が伸長する前のスパークプラグの先端部付近の断面図。 実施形態1における、低負荷運転時の、放電が伸長したときのスパークプラグの先端部付近の断面図。 実施形態1における、高負荷運転時の、放電が伸長する前のスパークプラグの先端部付近の断面図。 実施形態1における、高負荷運転時の、放電が伸長したときのスパークプラグの先端部付近の断面図。 実施形態2における、スパークプラグの先端部付近の断面図であって、図14のXII-XII線矢視断面相当図。 図14のXIII-XIII線矢視断面相当図。 図12のXIV-XIV線矢視断面相当図。 実施形態2における、角度θ1を示す断面図。 実施形態2における、角度θ2を示す断面図。 実施形態3における、スパークプラグの先端部付近の、プラグ軸方向に沿った断面図であって、図18のXVII-XVII線矢視断面相当図。 図17のXVIII-XVIII線矢視断面相当の図。 実施形態4における、スパークプラグの先端部付近の、プラグ軸方向に沿った断面図。 実施形態5における、スパークプラグの先端部の、プラグ軸方向に直交する断面図。 実施形態5における、内燃機関の断面図。 実施形態6における、内燃機関の断面図。 実施形態7における、スパークプラグの先端部の、プラグ軸方向に直交する断面図。 実施形態8における、接地電極を、接地電極の突出側から見た図。
(実施形態1)
内燃機関用のスパークプラグ及びこれを備えた内燃機関に係る実施形態について、図1~図11を参照して説明する。
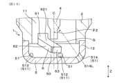
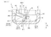
本形態の内燃機関用のスパークプラグ1は、図1、図2に示すごとく、筒状の絶縁碍子3と、中心電極4と、筒状のハウジング2と、接地電極6と、プラグカバー5と、を有する。中心電極4は、絶縁碍子3の内周側に保持されると共に絶縁碍子3から先端側に突出している。ハウジング2は、絶縁碍子3を内周側に保持する。接地電極6は、中心電極4との間に放電ギャップGを形成する。プラグカバー5は、放電ギャップGが配される副燃焼室50を覆うようハウジング2の先端部に設けられている。
接地電極6は、ハウジング2又はプラグカバー5に固定された固定端部61から副燃焼室50内に突出している。放電ギャップGは、中心電極4の先端部と接地電極6とが互いにプラグ軸方向Zに対向することにより形成されている。図3に示すごとく、プラグ軸方向Z及び接地電極6の長手方向の双方と直交する方向において、接地電極6の幅D1は、中心電極4の先端部の幅D2よりも大きい。
また、プラグカバー5には、副燃焼室50と外部とを連通させる複数の噴孔51が形成されている。図4に示すごとく、噴孔51の噴孔軸511L、512Lは、基端側へ向かうほどプラグ径方向の内側へ向かうように、プラグ軸方向Zに対して傾斜している。
図1、図2に示すごとく、スパークプラグ1を、プラグ中心軸Cを含む仮想平面Pによって、固定端部61を含む第一プラグ部11と、第二プラグ部12とに2分割したとき、複数の噴孔51のうちの少なくとも一つは第一プラグ部11に形成されている。
第一噴孔511は、第一プラグ部11に形成された噴孔51である。図4、図5に示すごとく、第一延長領域511Eは、第一噴孔511を噴孔軸511Lに沿って延長した領域である。第一噴孔511のうちの少なくとも一つは、図4に示すごとく、第一延長領域511Eが、噴孔軸511Lを含むと共にプラグ軸方向Zに沿った断面視において、放電ギャップGと重なる、ギャップ側噴孔512である。
図3に示すごとく、プラグ軸方向Zから見て、放電ギャップGを接地電極6の幅方向に延長した延長領域GE1と、接地電極6とが互いに重なる領域を、ギャップ延長領域GE2とする。このとき、図5に示すごとく、プラグ軸方向Zから見て、ギャップ側噴孔512の第一延長領域511Eは、放電ギャップGを通過することなく、ギャップ延長領域GE2を通過する。
本形態のスパークプラグ1は、例えば、自動車等の内燃機関における着火手段として用いることができる。図6に示すごとく、ハウジング2のネジ部21を、シリンダヘッド71のプラグホール711の雌ネジ部に螺合して、スパークプラグ1が内燃機関10に取り付けられる。
内燃機関10は、シリンダ70内を往復運動するピストン74を備える。主燃焼室101は、ピストン74の往復運動によって、容積変化する。内燃機関10には、吸気ポート721及び排気ポート731が形成されており、それぞれ吸気弁72又は排気弁73が備えられている。
そして、スパークプラグ1の軸方向Zの一端が、内燃機関10の主燃焼室101に配置される。スパークプラグ1の軸方向Zにおいて、主燃焼室101に露出する側を先端側、その反対側を基端側というものとする。また、スパークプラグ1の軸方向Zを、適宜、プラグ軸方向Z、或いは単に、Z方向ともいう。なお、プラグ中心軸Cは、スパークプラグ1の中心軸Cを意味するものとする。また、プラグ径方向とは、プラグ中心軸Cに直交する平面上において、プラグ中心軸Cを中心とする円の半径方向を意味する。また、プラグ周方向は、プラグ中心軸Cを中心とする円周に沿った方向である。また、プラグ中心軸Cは、本形態において、中心電極4の中心軸でもある。
本形態において、プラグカバー5は、ハウジング2の先端部に溶接等によって接合されている。スパークプラグ1が内燃機関10に取り付けられた状態において、プラグカバー5は、副燃焼室50を主燃焼室101と区画している。
副燃焼室50は、図1に示すごとく、絶縁碍子3から先端側に突出した中心電極4の周辺における、ハウジング2の先端部の内周側の空間を含む。また、副燃焼室50は、絶縁碍子3の外周面とハウジング2の内周面との間に形成された環状の空間であるポケット部501をも含む。
本形態において、副燃焼室50を覆うプラグカバー5には、図2に示すごとく、4つの噴孔51が形成されており、そのうちの2個がギャップ側噴孔512となっている。
また、本形態において、仮想平面Pは、プラグカバー5を、ギャップ側噴孔512の形成領域と、ギャップ側噴孔512以外の噴孔51の形成領域とに、分けている。そして、プラグカバー5におけるギャップ側噴孔512が形成された領域が、第一プラグ部11に含まれる。つまり、ギャップ側噴孔512が形成されていると共に、接地電極6の固定端部61がある側が、第一プラグ部11となっている。また、仮想平面Pは、図2に示すごとく、Z方向から見たとき、接地電極6の突出方向と直交している。
本形態において、ギャップ側噴孔512は、図5に示すごとく、第一延長領域511Eが、放電ギャップGに接するように形成されている。また、ギャップ側噴孔512の第一延長領域511Eは、中心電極4と交わらない。
図2に示すごとく、Z方向から見て、2個のギャップ側噴孔512のそれぞれの噴孔軸512L同士の交点を交点IPとする。Z方向から見たとき、交点IPとギャップ側噴孔512とは、接地電極6の長手方向において、中心電極4の先端部を挟んで互いに反対側に位置している。また、交点IPは、第二プラグ部12に位置している。また、Z方向から見たとき、交点IPが、接地電極6を突出方向に延長した延長線上に位置するように、2個のギャップ側噴孔512が形成されている。
また、第一プラグ部11において、接地電極6の固定端部61は、プラグ周方向における、2個のギャップ側噴孔512の間に配されている。Z方向から見たとき、2個のギャップ側噴孔512は、接地電極6を挟んで互いに対称となる位置及び向きに形成されている。
また、第二プラグ部12に形成された噴孔51である第二噴孔514は、噴孔軸514Lに沿って延長した第二延長領域514Eが放電ギャップGに交わらないように形成されている。したがって、噴孔軸514Lは放電ギャップGを通過しない。つまり、第二噴孔514は、放電ギャップGを向いていない。Z方向から見て、2個の第二噴孔514は接地電極6を突出方向に延長した延長線を挟んで互いに対称となる位置及び向きに形成されている。
また、接地電極6は、Z方向から見たとき、プラグ径方向に沿うように、第一プラグ部11に固定されている。本形態において、接地電極6の固定端部61は、ハウジング2の先端部に溶接等にて接合されている。
接地電極6は、図1に示すごとく、固定端部61において、屈曲部611を有する。また、接地電極6は、屈曲部611からプラグ中心軸Cに向かって延設されたギャップ形成部62を有する。ギャップ形成部62は、ギャップ形成部62の突出端部63に近づくほど先端側に向かうように傾斜している。また、ギャップ形成部62の突出端部63付近の部位が、中心電極4の先端に対して、放電ギャップGを介して、Z方向に対向している。
ギャップ形成部62は、中心電極4の先端部との間に放電ギャップGを形成するギャップ形成面621を有する。ギャップ形成面621は、突出端部63に近づくほど先端側に向かうように傾斜している。
ギャップ形成部62は、略四角柱形状をなしている。ギャップ形成部62は、4つの平坦な側面を備えており、そのうちの一つがギャップ形成面621となっている。つまり、ギャップ形成面621は、その全体が平坦な面となっている。
また、中心電極4の先端部には、他の部分よりも外径が小さい小径部41が形成されている。中心電極4の先端面42は、小径部41に形成されている。
放電ギャップGは、例えば、中心電極4の先端面42をZ方向に投影した領域と、先端面42をギャップ形成面621に直交する方向に投影した領域とを合わせた領域であって、先端面42とギャップ形成面621との間の領域である。
次に、上記スパークプラグ1を備えた内燃機関10について説明する。
内燃機関10は、図6、図7に示すごとく、主燃焼室101と、主燃焼室101に設けられた吸気弁72及び排気弁73と、を有する。スパークプラグ1は、図7に示すごとく、プラグ軸方向Zから見たとき、少なくとも一つのギャップ側噴孔512が吸気弁72側を向くように、配置されている。本形態においては、2つのギャップ側噴孔512のうちのいずれもが、Z方向から見たとき、吸気弁72側を向いている。
スパークプラグ1は、図6、図7に示すごとく、プラグカバー5の外表面52が主燃焼室101に面するように配置されている。スパークプラグ1は、シリンダヘッド71における吸気ポート721と排気ポート731との間に取り付けられる。詳細には、スパークプラグ1は、図7に示すごとく、シリンダヘッド71における、2つの吸気ポート721と2つの排気ポート731とに囲まれた位置に配設されている。
吸気ポート721及び排気ポート731は、図6に示すごとく、その開口方向が主燃焼室101の中心軸側に向かうように、ピストン74の進退方向に対して傾斜している。また、主燃焼室101の基端面は、スパークプラグ1から遠ざかるにつれて先端側へ向かうように傾斜している。
また、内燃機関10においては、ピストン74の往復運動に伴って、吸気行程、圧縮行程、膨張行程、排気行程が順次繰り返される。内燃機関10の吸気行程において、2つの吸気ポート721からガスが主燃焼室101内に導入され、排気行程において、2つの排気ポート731から主燃焼室101内のガスが排出される。吸気行程における気流の導入のされ方等に起因して、主燃焼室101に所定の気流が形成され、圧縮行程においても、その気流は残る。
そして、主燃焼室101内においては、主として、図6の矢印A1に示すごとく、ピストン74の摺動方向に直交する方向の軸周りの気流である、タンブル流が形成される。そして、この気流A1は、図6、図7に示すごとく、主燃焼室101内のスパークプラグ1の先端部付近において、吸気弁72側から排気弁73側へ向かう向きとなる。より具体的には、図7に示すごとく、Z方向から見たとき、2つの吸気ポート721の中間位置から、2つの排気ポート731の中間位置へ向かう方向に沿った気流A1が、スパークプラグ1の先端部付近の主な気流となる。
なお、主燃焼室101内の気流は、常に一定となっているわけではなく、サイクル間、或いは1サイクル中の異なるタイミングの間において、変動し得る。ただし、主な気流の向き、特に、点火タイミングにおける気流の向きは、概略定まっており、上述した気流A1は、点火タイミングにおける主な気流を意味する。そして、「主燃焼室101の気流」というときは、特に断らない限り、上述の、点火タイミングにおける、スパークプラグ1の先端部付近の気流A1を意味する。また、単に「上流側」、「下流側」というときは、特に断らない限り、上記「主燃焼室101の気流」における、上流側、下流側を意味する。
上記のように構成された内燃機関10においては、圧縮行程において、主燃焼室101のガスが、噴孔51を介して、副燃焼室50に導入される。ここで、ギャップ側噴孔512の外側開口部515は主燃焼室101の気流A1の上流側を向いている。そのため、他の噴孔51に対し、ギャップ側噴孔512を介して、より多くのガスが副燃焼室50に導入される。
圧縮行程において、ギャップ側噴孔512を介して副燃焼室50に導入されたガスの主流は、図8、図9の矢印A2に示すごとく、副燃焼室50の下流側の内壁面502に向かうと共に、当該内壁面502に沿うように基端側へ向かい、下流側のポケット部501に導入される。下流側のポケット部501に入ったガスの主流は、ポケット部501内において上流側に向きを変えると共に、上流側のポケット部501に沿って、先端側へ向かう。つまり、Z方向に直交する方向の軸周りの気流(すなわち、タンブル流)が形成される。そして、先端側へ向かう気流A2は、接地電極6のギャップ形成面621に案内されることにより、放電ギャップGへと向かう。そのため、図8に示すごとく、圧縮行程において、放電ギャップGに形成された放電Sは、図9に示すごとく、気流A2によって引き延ばされることとなる。以上の気流A2は、あくまでも主流であり、必ずしもすべてのガスがそのような流れとなるとは限らない。
言い換えると、ギャップ側噴孔512を介して副燃焼室50に導入された気流A2は、第二プラグ部12の内壁面502に向かうと共に、第二プラグ部12のポケット部501に導入される。ポケット部501に導入された気流A2は、第一プラグ部11側に向きを変えると共に、接地電極6のギャップ形成面621がある方向、すなわち先端側へ向かう。そして、気流A2は、ギャップ形成面621に案内されることにより、放電ギャップGへと向かうこととなる。
次に、本形態の作用効果を説明する。
上記スパークプラグ1は、ギャップ側噴孔512を有する。それゆえ、ギャップ側噴孔512を介して副燃焼室50に導入された気流は、放電ギャップGの近傍を通過しやすいと共に、接地電極6に案内されることにより放電ギャップGに向かいやすい。それゆえ、放電ギャップGに形成された放電が伸長しやすい。その結果、着火性を向上させることができる。
内燃機関の中負荷運転時又は高負荷運転時においては、低負荷運転時と比較し、ギャップ側噴孔512を介して副燃焼室50に導入された気流は強くなりやすい。それゆえ、図10に示すごとく、強い気流A2が放電ギャップの近傍を通過することにより、放電ギャップGに生じた放電Sは、当該気流A2の引き込み効果によって、図11に示すごとく、基端側に向かって伸長しやすい。また、気流A2は、副燃焼室50にタンブル流を形成する。そのため、タンブル流が接地電極6のギャップ形成面621に案内され、放電ギャップGを通過することによっても、放電Sは伸長しやすい。その結果、着火性を向上させることができる。
さらに、放電によって着火した初期火炎は、気流A2によって副燃焼室50の、より基端側へ運ばれやすい。これによって、噴孔51から充分離れた位置から火炎が広がり、充分に内圧が高い状態で、火炎ジェットが噴孔51から主燃焼室に噴出することが期待できる。その結果、内燃機関の高負荷運転時のノック抑制、及び中負荷運転時におけるEGR率(すなわち、排気再循環率)の向上が期待でき、出力及び燃費の向上、エミッション低減が期待できる。
また、内燃機関の低負荷運転時においては、中負荷運転時又は高負荷運転時と比較し、ギャップ側噴孔512を介して副燃焼室50に導入された気流は弱くなりやすい。そのため、気流が放電ギャップGの近傍を通過しても放電は充分に引き出されにくい。一方で、図8、図9に示すごとく、気流A2によって形成されたタンブル流は、接地電極6のギャップ形成面621に案内されることにより、放電ギャップGを通過しやすい。それゆえ、気流A2が比較的弱い場合であっても、図8に示すごとく、放電ギャップGに生じた放電Sは、図9に示すように、気流A2によって伸長しやすい。その結果、低負荷運転時においても、着火性を向上させることができる。
また、低負荷運転時において、放電Sは、図9に示すごとく、気流A2によって先端側に向かって引き伸ばされやすい。つまり、放電Sは、プラグカバー5の先端部に向かって伸長しやすい。ここで、スパークプラグ1において、プラグカバー5の先端部は、主燃焼室101に最も突き出た部分であると共に火炎ジェットを噴出する噴孔が形成された部分であるため、副燃焼室50に面する部位の中でも、比較的温度が高い部位である。それゆえ、放電Sによって着火した初期火炎は、冷却損失による収縮、消失が抑制されやすい。それゆえ、噴孔51を介して、主燃焼室101に火炎ジェットを確実に噴出させやすく、主燃焼室101での着火性を確実に向上させることができる。その結果、低負荷運転時におけるEGR率の向上が期待できる。
プラグ軸方向Zから見て、2個のギャップ側噴孔512は接地電極6を挟んで互いに対称となる位置及び向きに形成されている。それゆえ、2個のギャップ側噴孔512からそれぞれ流入する気流同士は、合流して、第二プラグ部12から第一プラグ部11へと向かいやすい。それゆえ、副燃焼室50に形成されるタンブル流を強化することができる。それゆえ、放電ギャップGに生じた放電が一層伸長しやすい。また、中負荷運転時又は高負荷運転時において、初期火炎が、気流によって副燃焼室50の、より基端側へ一層運ばれやすい。その結果、着火性を一層向上させることができる。
また、ギャップ形成面621は、平坦な面となっている。それゆえ、接地電極6は、タンブル流を放電ギャップGへと効率的に案内しやすい。その結果、放電ギャップに生じた放電を一層伸長させることができる。
ギャップ形成面621は、突出端部63に近づくほど先端側に向かうように傾斜している。それゆえ、接地電極6は、タンブル流を放電ギャップGへと、一層効率的に案内しやすい。その結果、放電を、より一層伸長させることができる。さらに、放電ギャップGを通過する気流は先端側に向かいやすい。それゆえ、放電は先端側に向かって伸長しやすい。そのため、低負荷運転時において、初期火炎は、副燃焼室50の、より先端側に形成されやすく、冷却損失による収縮、消失が抑制されやすい。
第二噴孔514は、第二延長領域514Eが放電ギャップGに交わらないように形成されている。それゆえ、放電ギャップGにおける気流が、第二噴孔514から流入した気流によって乱されることを防ぎやすい。それゆえ、放電ギャップGを通過する気流を確保しやすい。その結果、放電を確実に伸長させることができる。
上記内燃機関10において、上記スパークプラグ1は、プラグ軸方向Zから見たとき、少なくとも一つのギャップ側噴孔512が吸気弁72側を向くように、配置されている。それゆえ、ギャップ側噴孔512は、主燃焼室101に形成される気流の上流側を向きやすい。これにより、ギャップ側噴孔512を介して、主燃焼室101から副燃焼室50へと気流が導入されやすくなる。それゆえ、ギャップ側噴孔512を介して副燃焼室50に導入された気流によって、放電ギャップGに生じた放電が確実に伸長しやすい。その結果、着火性を確実に向上させることができる。
以上のごとく、本形態によれば、着火性を向上させることができる内燃機関用のスパークプラグ1及びこれを備えた内燃機関10を提供することができる。
(実施形態2)
本形態は、図12~図16に示すごとく、実施形態1に対し、噴孔51の開口方向を変更した形態である。
図15に示すごとく、プラグ軸方向Zに対するギャップ側噴孔512の噴孔軸512Lの傾斜角度を角度θ1とする。また、図16に示すごとく、プラグ軸方向Zに対する第二噴孔514の噴孔軸514Lの傾斜角度を角度θ2とする。このとき、角度θ1と角度θ2とは互いに異なる。
本形態において、角度θ1は、角度θ2よりも大きい。また、2個のギャップ側噴孔512の噴孔軸512Lの角度θ1は、互いに同じである。また、本形態において、2個の第二噴孔514の噴孔軸514Lの角度θ2は、互いに同じである。角度θ1と角度θ2との差は、例えば、15°以上である。
ただし、複数のギャップ側噴孔512がある場合、それぞれの噴孔軸512Lの角度θ1が互いに異なるものとすることができる。同様に、複数の第二噴孔514がある場合、それぞれの噴孔軸514Lの角度θ2が互いに異なるものとすることができる。
また、本形態において、第二噴孔514は、図12~図16に示すごとく、噴孔軸514Lに沿って延長した第二延長領域514Eがギャップ側噴孔512の第一延長領域511Eに交わらないように形成されている。
また、図14に示すごとく、2個の第二噴孔514のそれぞれの第二延長領域514Eは、Z方向から見たとき、第二プラグ部12において、互いに重なっている。
その他は、実施形態1と同様である。なお、実施形態2以降において用いた符号のうち、既出の実施形態において用いた符号と同一のものは、特に示さない限り、既出の実施形態におけるものと同様の構成要素等を表す。
本形態において、角度θ1と角度θ2とは互いに異なる。これにより、ギャップ側噴孔512の第一延長領域511Eと第二噴孔514の第二延長領域514Eとが、互いに交わりにくい。それゆえ、ギャップ側噴孔512から流入した気流は、第二噴孔514から流入した気流によって邪魔されることなく、放電ギャップGの近傍を通過しやすいと共に、接地電極6に案内されることにより放電ギャップGに向かいやすい。それゆえ、放電が安定的に伸長しやすい。その結果、着火性を確実に向上させることができる。
第二噴孔514は、第二延長領域514Eがギャップ側噴孔512の第一延長領域511Eに交わらないように形成されている。これにより、ギャップ側噴孔512から流入した気流が、第二噴孔514から流入した気流によって邪魔されることなく、放電ギャップGの近傍を通過しやすいと共に、放電ギャップGまで到達しやすくなる。その結果、着火性を一層向上させることができる。
その他、実施形態1と同様の作用効果を有する。
(実施形態3)
本形態は、図17、図18に示すごとく、第一プラグ部11において、先端側噴孔513が形成された形態である。
すなわち、第一プラグ部11には複数の第一噴孔511が形成されている。複数の第一噴孔511のうちの一部の第一噴孔511は、固定端部61の先端側に形成された先端側噴孔513である。図18に示すごとく、プラグ軸方向Zから見て、先端側噴孔513の噴孔軸513Lはプラグ径方向に沿っている。図17に示すごとく、先端側噴孔513を噴孔軸513Lに沿って延長した延長領域513Eは放電ギャップGを通過しない。
また、第一プラグ部11には複数のギャップ側噴孔512が形成されている。図18に示すごとく、プラグ中心軸Cを通過すると共に接地電極6の長手方向に延びる直線を直線6Eとする。プラグ軸方向Zから見たとき、複数のギャップ側噴孔512は、直線6Eに対して、線対称となるように配置されている。
図17に示すごとく、Z方向に対する先端側噴孔513の噴孔軸513Lの傾斜角度を角度θ3とする。本形態において、角度θ3は、角度θ1(図15参照)及び角度θ2(図16参照)よりも大きい。
図18に示すごとく、Z方向から見たとき、先端側噴孔513と接地電極6の固定端部61とは、互いに重なっている。また、Z方向から見たとき、先端側噴孔513の噴孔軸513Lは、接地電極6の突出方向に沿っている。また、先端側噴孔513は、プラグ中心軸Cを向いている。
その他は、実施形態2と同様である。
プラグ軸方向Zから見て、先端側噴孔513の噴孔軸513Lはプラグ径方向に沿っている。また、延長領域513Eは放電ギャップGを通過しない。また、プラグ軸方向Zから見たとき、複数のギャップ側噴孔512は、直線6Eに対して、線対称となるように配置されている。それゆえ、先端側噴孔513及びギャップ側噴孔512からそれぞれ流入した気流同士は、合流して、第二プラグ部12から第一プラグ部11へと向かいやすい。それゆえ、副燃焼室50に形成されるタンブル流を、より一層強化することができる。また、放電ギャップGにおける気流が、先端側噴孔513から流入した気流によって乱されることを防ぎやすい。それゆえ、放電ギャップGに生じた放電が、より一層伸長しやすい。その結果、着火性を、より一層向上させることができる。
また、中負荷運転時又は高負荷運転時において、初期火炎が、基端側に向かう強い気流によって副燃焼室50の基端側へ、より一層運ばれやすい。それゆえ、主燃焼室に噴出させる火炎ジェットを、より一層強化することができる。
その他、実施形態2と同様の作用効果を有する。
(実施形態4)
本形態は、図19に示すごとく、実施形態1に対し、放電ギャップGの形成位置を変更した形態である。
すなわち、放電ギャップGは、ハウジング2の先端よりも先端側に形成されている。つまり、中心電極4の先端面42は、ハウジング2の先端よりも先端側に配置されている。
その他は、実施形態1と同様である。
放電ギャップGは、ハウジング2の先端よりも先端側に形成されている。つまり、放電ギャップGは、副燃焼室50に面する部位の中でも比較的温度が高い部位であるプラグカバー5に囲われた領域に形成されている。それゆえ、低負荷運転時において、放電によって着火した初期火炎は冷却されにくい。それゆえ、低負荷運転時において、初期火炎の収縮、消失を抑制しやすい。その結果、低負荷運転時における着火性を確実に向上させることができる。
また、ハウジング2にプラグカバー5を固定する前において、ハウジング2に固定された接地電極6と中心電極4との間に形成された放電ギャップGを確認しやすい。それゆえ、放電ギャップGの調整を容易に行うことができる。その結果、スパークプラグ1を容易に製造することができる。
その他、実施形態1と同様の作用効果を有する。
(実施形態5)
本形態は、図20、図21に示すごとく、実施形態1に対し、ギャップ側噴孔512の開口面積を変更した形態である。
すなわち、ギャップ側噴孔512は、他の噴孔51よりも開口面積が大きい。
図20に示すごとく、スパークプラグ1において、ギャップ側噴孔512の内径D3は、他の噴孔51の内径D4よりも大きい。すなわち、ギャップ側噴孔512の内径D3は、第二噴孔514の内径よりも大きい。ギャップ側噴孔512の内径は、例えば、第二噴孔514の内径の1.2倍~1.4倍とすることができる。また、ギャップ側噴孔512の開口面積は、例えば、第二噴孔514の開口面積の1.4倍~2.0倍とすることができる。
次に、上記スパークプラグ1を備えた内燃機関10について説明する。
内燃機関10は、図21に示すごとく、主燃焼室101に直接燃料を噴射するインジェクタ13を有する。スパークプラグ1は、インジェクタ13から噴射された燃料を含む噴射流Fが、ギャップ側噴孔512に向かうように、配置されている。なお、図21に示す矢印Fは、燃料噴射直後の噴射流の向きを示すものであり、これは、必ずしも、圧縮行程又は膨張行程における主燃焼室101内の気流と一致するものではない。また、噴射流Fがギャップ側噴孔512に向かうような状態は、図21に示すプラグカバー5近傍の噴射流Fの方向からギャップ側噴孔512が見えるような状態である。
内燃機関10において、スパークプラグ1は、Z方向から見たとき、ギャップ側噴孔512が、排気弁73側を向くように、配置されている(図示略)。
また、吸気ポート721に隣接する位置に、インジェクタ13が設けてある。インジェクタ13は、主燃焼室101の中心軸側に向かって燃料を噴射するような姿勢にて、取り付けられている。
圧縮行程においては、主燃焼室101内の雰囲気が圧縮され、噴孔51を介して、副燃焼室50へ気流が流入する。これにより、副燃焼室50内の圧力も上昇する。そして、例えば、圧縮行程において、インジェクタ13が燃料を直接、主燃焼室101へ噴射する。
そして、主燃焼室101へ噴射された燃料は、主燃焼室101内の空気と共に噴射流Fを形成して、ピストン74の基端面に当たる。本形態において、ピストン74の基端面は、凹状面を有する。ピストン74の基端面に当たった噴射流Fは、軌道を変えて、基端側、すなわちスパークプラグ1側へ向かう。このとき、噴射流Fは、図21に示すごとく、スパークプラグ1におけるギャップ側噴孔512の外側開口部515付近に到達する。
噴射流Fは、燃料割合の比較的大きい混合気となっている。それゆえ、噴射流Fが到達したギャップ側噴孔512の外側開口部515付近は、燃料を多く含む混合気となる。そして、この混合気は、副燃焼室50に、ギャップ側噴孔512を介して引き込まれることとなる。そして、ギャップ側噴孔512から引き込まれた燃料密度の高い混合気が、放電ギャップGに向かうこととなる。
そして、圧縮上死点付近において、スパークプラグ1の放電ギャップGに放電を生じさせる。これにより、混合気への着火が効率的に行われる。なお、上述の燃料噴射タイミング、スパークプラグ1の放電点火タイミングは、後述するように、状況や目的等によって、種々変更しうる。
その他は、実施形態1と同様である。
ギャップ側噴孔512は、他の噴孔51よりも開口面積が大きい。それゆえ、ギャップ側噴孔512を介して副燃焼室50に導入された気流を強化することができる。それゆえ、放電ギャップGに形成された放電が一層伸長しやすい。その結果、着火性を一層向上させることができる。
また、膨張行程においては、ピストン74が先端側に移動することにより、主燃焼室101が副燃焼室50に対して陰圧となる。これにより、噴孔51を介して、副燃焼室50から主燃焼室101へとガスが導出される。これにより、副燃焼室50において、噴孔51へと向かう気流(図示略)が形成される。ここで、本形態において、ギャップ側噴孔512は、他の噴孔51よりも開口面積が大きい。それゆえ、膨張行程において、ギャップ側噴孔512を介して副燃焼室50から流出する気流は強くなりやすい。それゆえ、膨張行程において、放電ギャップGに生じた放電が、気流によってギャップ側噴孔512に向かって伸長しやすい。また、場合によっては、放電の一部がギャップ側噴孔512から主燃焼室側へ飛び出すことも期待できる。その結果、膨張行程における着火性を向上させることができる。
エンジン始動時等には、排気系に設けられた排ガス浄化フィルタにおける触媒温度を高くすることを目的として、ピストンが上死点を通過した直後の膨張行程の初期に点火を行う場合がある。そのため、上述のごとく、膨張行程における着火性が向上することにより、エンジン始動時等において、排ガス浄化フィルタの触媒温度を、短期間に上昇させることができる。そのため、燃費向上、エミッション低減が期待できる。
また、上記内燃機関10において、スパークプラグ1は、インジェクタ13から噴射された噴射流Fが、他の噴孔51よりも開口面積が大きいギャップ側噴孔512に向かうように、配置されている。これにより、燃料密度の高い混合気が、ギャップ側噴孔512から副燃焼室50内へ導入されやすくなる。その結果、燃料密度の高い混合気が、放電ギャップGに到達しやすくなり、着火性を向上させることができる。
例えば、内燃機関の高負荷運転時のリタード噴射、リタード点火を行う際の着火性の向上効果を、特に期待することができる。リタード噴射が行われる圧縮行程においては、副燃焼室50内の圧力も上昇する。したがって、リタード点火のタイミングにおいては、比較的、副燃焼室50内へ混合気が流入しにくいところ、本形態によれば、燃料密度の高い混合気をギャップ側噴孔512経由にて副燃焼室50へ導入しやすくなる。あるいは、比較的気流が弱く、燃料濃度にムラが生じやすい、内燃機関の始動時における着火性の向上にも、特に有効といえる。
その他、実施形態1と同様の作用効果を有する。
(実施形態6)
本形態は、図22に示すごとく、実施形態5に対し、内燃機関10に設置されたスパークプラグ1の配置を変更した形態である。
本形態の内燃機関10は、図22に示すごとく、インジェクタ13から噴射された噴射流Fの一部が、直接、スパークプラグ1に向かうよう構成されている。そこで、本形態においては、ギャップ側噴孔512に、噴射流Fの一部が直接向かうように、スパークプラグ1を配置している。つまり、インジェクタ13は、燃料を含む噴射流Fの一部が、直接、ギャップ側噴孔512に向かうように、主燃焼室101に燃料を噴射することとなる。
本形態において、スパークプラグ1は、Z方向から見たとき、ギャップ側噴孔512が、吸気弁72側を向くように、配置されている(図示略)。
その他は、実施形態5と同様である。
スパークプラグ1は、インジェクタ13から噴射された噴射流Fの一部が、直接、ギャップ側噴孔512に向かうように、配置されている。これにより、燃料密度の高い混合気が、ギャップ側噴孔512から副燃焼室50内へ確実に導入されやすくなる。その結果、燃料密度の高い混合気が、放電ギャップGに確実に到達しやすくなり、着火性を確実に向上させることができる。
また、副燃焼室50から主燃焼室101へ噴出する火炎としては、他の噴孔51よりも開口面積が大きいギャップ側噴孔512を介して噴出する火炎が特に大きくなる。それゆえ、Z方向から見たとき、ギャップ側噴孔512が主燃焼室101の吸気弁72側を向いていることにより、吸気弁72側へ大きい火炎を噴出させることができることとなる。そのため、Z方向から見て主燃焼室101における吸気弁72側の混合気の着火性を向上させることができる。それゆえ、主燃焼室101全体の混合気をバランスよく燃焼させることができる。その結果、ノッキング等の原因となる燃焼異常の抑制を図ることができる。
つまり、主燃焼室101は、排気弁73側と比較して、吸気弁72側が低温となりやすい。吸気ポート721から、比較的低温のガスが主燃焼室101へ導入されるからである。それゆえ、一般に、主燃焼室101における、排気弁73側の混合気に対し、吸気弁72側の混合気の燃焼が遅れやすく、主燃焼室101における混合気の燃焼のバランスが悪くなる傾向がある。しかし、本形態においては、上記のごとく、副燃焼室50から主燃焼室101の吸気弁72側へ大きい火炎を噴出させることができる。そのため、主燃焼室101全体の混合気をバランスよく燃焼させることができる。その結果、ノッキング等の原因となる燃焼異常の抑制を図ることができる。
その他、実施形態5と同様の作用効果を有する。
(実施形態7)
本形態は、図23に示すごとく、第一噴孔511の個数と、第二噴孔514の個数とを、互いに異ならせた形態である。
本形態においては、第一噴孔511を2個、第二噴孔514を1個とした。第二噴孔514は、Z方向から見て、接地電極6を突出方向に延長した延長線上に、配置されている。
その他は、実施形態1と同様である。本形態においても、実施形態1と同様の作用効果を奏することができる。
(実施形態8)
本形態は、図24に示すごとく、接地電極6のギャップ形成面621が、先端側に向かって凹んだ凹面を有する形態である。
接地電極6のギャップ形成面621は、図24に示すごとく、接地電極6の突出側から見たとき、先端側に向かって凹んだ凹面を有する。本形態においては、ギャップ形成面621の全体が凹面となっている。
その他は、実施形態1と同様である。
本形態においては、凹面状のギャップ形成面621が、気流を接地電極6の長手方向に沿ってガイドしやすくなる。それゆえ、一層、気流を放電ギャップGへ導きやすくすることができる。
その他、実施形態1と同様の作用効果を有する。
上記実施形態1~8において、ギャップ形成部62は、突出端部63に近づくほど先端側に向かうように傾斜している。ただし、ギャップ形成部は、例えば、プラグ径方向に沿うように形成することもできる。
また、第一噴孔511の個数と第二噴孔514の個数とは、実施形態1等のように互いに同数とすることもできるし、実施形態3、実施形態7のように互いに異ならせることもできる。また、第一噴孔の個数よりも、第二噴孔の個数を多くすることもできる。
また、放電ギャップを形成する中心電極の先端部と接地電極とのそれぞれに、チップを接合することもできる。つまり、中心電極の先端部に接合されたチップと接地電極に接合されたチップとの間に、放電ギャップを形成することもできる。チップは、例えば、イリジウムや白金等の貴金属、又はこれらを主成分とする合金とすることができる。
本発明は上記各実施形態に限定されるものではなく、その要旨を逸脱しない範囲において種々の実施形態に適用することが可能である。
1…スパークプラグ、11…第一プラグ部、12…第二プラグ部、2…ハウジング、3…絶縁碍子、4…中心電極、5…プラグカバー、50…副燃焼室、51…噴孔、511…第一噴孔、511E…第一延長領域、512…ギャップ側噴孔、511L,512L,513L,514L…噴孔軸、6…接地電極、61…固定端部、C…プラグ中心軸、G…放電ギャップ、GE1…延長領域、GE2…ギャップ延長領域、P…仮想平面、Z…プラグ軸方向

Claims (10)

  1. 筒状の絶縁碍子(3)と、
    該絶縁碍子の内周側に保持されると共に該絶縁碍子から先端側に突出した中心電極(4)と、
    上記絶縁碍子を内周側に保持する筒状のハウジング(2)と、
    上記中心電極との間に放電ギャップ(G)を形成する接地電極(6)と、
    上記放電ギャップが配される副燃焼室(50)を覆うよう上記ハウジングの先端部に設けられたプラグカバー(5)と、を有する内燃機関用のスパークプラグ(1)であって、
    上記接地電極は、上記ハウジング又は上記プラグカバーに固定された固定端部(61)から上記副燃焼室内に突出しており、
    上記放電ギャップは、上記中心電極の先端部と上記接地電極とが互いにプラグ軸方向(Z)に対向することにより形成されており、
    プラグ軸方向及び上記接地電極の長手方向の双方と直交する方向において、上記接地電極の幅(D1)は、上記中心電極の先端部の幅(D2)よりも大きく、
    上記プラグカバーには、上記副燃焼室と外部とを連通させる複数の噴孔(51)が形成されており、
    上記噴孔の噴孔軸(511L、512L、513L、514L)は、基端側へ向かうほどプラグ径方向の内側へ向かうように、プラグ軸方向に対して傾斜しており、
    上記スパークプラグを、プラグ中心軸(C)を含む仮想平面(P)によって、上記固定端部を含む第一プラグ部(11)と、第二プラグ部(12)とに2分割したとき、上記複数の噴孔のうちの少なくとも一つは上記第一プラグ部に形成されており、
    上記第一プラグ部に形成された上記噴孔である第一噴孔(511)のうちの少なくとも一つは、当該第一噴孔を噴孔軸(511L)に沿って延長した第一延長領域(511E)が、当該噴孔軸を含むと共にプラグ軸方向に沿った断面視において、上記放電ギャップと重なる、ギャップ側噴孔(512)であり、
    プラグ軸方向から見て、上記放電ギャップを上記接地電極の幅方向に延長した延長領域(GE1)と、上記接地電極とが互いに重なる領域を、ギャップ延長領域(GE2)としたとき、
    プラグ軸方向から見て、上記ギャップ側噴孔の上記第一延長領域は、上記放電ギャップを通過することなく、上記ギャップ延長領域を通過する、内燃機関用のスパークプラグ。
  2. 上記第二プラグ部に形成された上記噴孔である第二噴孔(514)は、噴孔軸(514L)に沿って延長した第二延長領域(514E)が上記放電ギャップに交わらないように形成されている、請求項1に記載の内燃機関用のスパークプラグ。
  3. 上記第二プラグ部に形成された上記噴孔である第二噴孔(514)は、噴孔軸(514L)に沿って延長した第二延長領域(514E)が上記ギャップ側噴孔の上記第一延長領域に交わらないように形成されている、請求項1又は2に記載の内燃機関用のスパークプラグ。
  4. 上記第二プラグ部に形成された上記噴孔を第二噴孔(514)とし、
    プラグ軸方向に対する上記ギャップ側噴孔の噴孔軸(512L)の傾斜角度を角度θ1とし、
    プラグ軸方向に対する上記第二噴孔(514)の噴孔軸(514L)の傾斜角度を角度θ2としたとき、上記角度θ1と上記角度θ2とは互いに異なる、請求項1~3のいずれか一項に記載の内燃機関用のスパークプラグ。
  5. 上記第一プラグ部には複数の上記第一噴孔が形成されており、該複数の第一噴孔のうちの一部の上記第一噴孔は、上記固定端部の先端側に形成された先端側噴孔(513)であり、プラグ軸方向から見て、該先端側噴孔の噴孔軸(513L)はプラグ径方向に沿っており、
    上記先端側噴孔を噴孔軸に沿って延長した延長領域(513E)は上記放電ギャップを通過せず、
    上記第一プラグ部には複数の上記ギャップ側噴孔が形成されており、プラグ軸方向から見たとき、該複数のギャップ側噴孔は、上記プラグ中心軸を通過すると共に上記接地電極の長手方向に延びる直線(6E)に対して、線対称となるように配置されている、請求項1~4のいずれか一項に記載の内燃機関用のスパークプラグ。
  6. 上記放電ギャップは、上記ハウジングの先端よりも先端側に形成されている、請求項1~5のいずれか一項に記載の内燃機関用のスパークプラグ。
  7. 上記ギャップ側噴孔は、他の上記噴孔よりも開口面積が大きい、請求項1~6のいずれか一項に記載の内燃機関用のスパークプラグ。
  8. 請求項1~7のいずれか一項に記載の内燃機関用のスパークプラグを備えた内燃機関(10)であって、
    主燃焼室(101)と、
    該主燃焼室に設けられた吸気弁(72)及び排気弁(73)と、を有し、
    上記スパークプラグは、プラグ軸方向から見たとき、少なくとも一つの上記ギャップ側噴孔が上記吸気弁側を向くように、配置されている、内燃機関。
  9. 請求項7に記載の内燃機関用のスパークプラグを備えた内燃機関(10)であって、
    主燃焼室(101)と、
    上記主燃焼室に直接燃料を噴射するインジェクタ(13)と、を有し、
    上記スパークプラグは、上記インジェクタから噴射された上記燃料を含む噴射流(F)が、上記ギャップ側噴孔に向かうように、配置されている、内燃機関。
  10. 上記主燃焼室に設けられた吸気弁(72)及び排気弁(73)を有し、
    上記スパークプラグは、プラグ軸方向から見たとき、少なくとも一つの上記ギャップ側噴孔が上記吸気弁側を向くように、配置されている、請求項9に記載の内燃機関。
JP2021129567A 2021-08-06 2021-08-06 内燃機関用のスパークプラグ及びこれを備えた内燃機関 Active JP7582115B2 (ja)

Priority Applications (1)

Application Number Priority Date Filing Date Title
JP2021129567A JP7582115B2 (ja) 2021-08-06 2021-08-06 内燃機関用のスパークプラグ及びこれを備えた内燃機関

Applications Claiming Priority (1)

Application Number Priority Date Filing Date Title
JP2021129567A JP7582115B2 (ja) 2021-08-06 2021-08-06 内燃機関用のスパークプラグ及びこれを備えた内燃機関

Publications (2)

Publication Number Publication Date
JP2023023760A JP2023023760A (ja) 2023-02-16
JP7582115B2 true JP7582115B2 (ja) 2024-11-13

Family

ID=85204201

Family Applications (1)

Application Number Title Priority Date Filing Date
JP2021129567A Active JP7582115B2 (ja) 2021-08-06 2021-08-06 内燃機関用のスパークプラグ及びこれを備えた内燃機関

Country Status (1)

Country Link
JP (1) JP7582115B2 (ja)

Families Citing this family (1)

* Cited by examiner, † Cited by third party
Publication number Priority date Publication date Assignee Title
JPWO2024172083A1 (ja) 2023-02-17 2024-08-22

Citations (2)

* Cited by examiner, † Cited by third party
Publication number Priority date Publication date Assignee Title
JP2009270539A (ja) 2008-05-09 2009-11-19 Osaka Gas Co Ltd エンジン及びエンジン用点火プラグ
JP2020009747A (ja) 2018-07-03 2020-01-16 日本特殊陶業株式会社 スパークプラグ

Patent Citations (2)

* Cited by examiner, † Cited by third party
Publication number Priority date Publication date Assignee Title
JP2009270539A (ja) 2008-05-09 2009-11-19 Osaka Gas Co Ltd エンジン及びエンジン用点火プラグ
JP2020009747A (ja) 2018-07-03 2020-01-16 日本特殊陶業株式会社 スパークプラグ

Also Published As

Publication number Publication date
JP2023023760A (ja) 2023-02-16

Similar Documents

Publication Publication Date Title
JP7582107B2 (ja) 内燃機関用のスパークプラグ及び内燃機関
JP7365790B2 (ja) 内燃機関及びスパークプラグ
CN106715860B (zh) 发动机的燃烧室结构
JP7582115B2 (ja) 内燃機関用のスパークプラグ及びこれを備えた内燃機関
JP7502181B2 (ja) 内燃機関の燃焼室構造
JP7468257B2 (ja) 内燃機関用のスパークプラグ及びこれを備えた内燃機関
JP7524738B2 (ja) 内燃機関用のスパークプラグ及びこれを備えた内燃機関
US20060201480A1 (en) Spark plug system in an internal combustion engine
JP4453024B2 (ja) 筒内噴射式内燃機関
JP7655209B2 (ja) 内燃機関用のスパークプラグ及び内燃機関
JP7643293B2 (ja) 内燃機関用のスパークプラグ及びこれを備えた内燃機関
JP7600717B2 (ja) 内燃機関用のスパークプラグ
JP7524796B2 (ja) 内燃機関
JP7585988B2 (ja) 内燃機関用のスパークプラグ及び内燃機関
JP7567507B2 (ja) 内燃機関
JP7600912B2 (ja) 内燃機関用のスパークプラグ及びこれを備えた内燃機関
JP7263915B2 (ja) 内燃機関及びスパークプラグ
JP7585986B2 (ja) 内燃機関用のスパークプラグ及びこれを備えた内燃機関
US20220074366A1 (en) Piston crown for a combustion system and an associated method thereof
JP7582106B2 (ja) 内燃機関用のスパークプラグ及びこれを備えた内燃機関
JP7655192B2 (ja) 内燃機関用のスパークプラグ及びこれを備えた内燃機関
JP7487595B2 (ja) 内燃機関用のスパークプラグ及び内燃機関
JP7582140B2 (ja) 内燃機関用のスパークプラグ及びこれを備えた内燃機関
JP7552474B2 (ja) 内燃機関用のスパークプラグ及びこれを備えた内燃機関
JP7585826B2 (ja) 内燃機関用のスパークプラグ

Legal Events

Date Code Title Description
A521 Request for written amendment filed

Free format text: JAPANESE INTERMEDIATE CODE: A523

Effective date: 20211004

A711 Notification of change in applicant

Free format text: JAPANESE INTERMEDIATE CODE: A711

Effective date: 20211004

A521 Request for written amendment filed

Free format text: JAPANESE INTERMEDIATE CODE: A821

Effective date: 20211004

A621 Written request for application examination

Free format text: JAPANESE INTERMEDIATE CODE: A621

Effective date: 20240208

A711 Notification of change in applicant

Free format text: JAPANESE INTERMEDIATE CODE: A711

Effective date: 20240219

A977 Report on retrieval

Free format text: JAPANESE INTERMEDIATE CODE: A971007

Effective date: 20240906

TRDD Decision of grant or rejection written
A01 Written decision to grant a patent or to grant a registration (utility model)

Free format text: JAPANESE INTERMEDIATE CODE: A01

Effective date: 20241001

A61 First payment of annual fees (during grant procedure)

Free format text: JAPANESE INTERMEDIATE CODE: A61

Effective date: 20241014

R150 Certificate of patent or registration of utility model

Ref document number: 7582115

Country of ref document: JP

Free format text: JAPANESE INTERMEDIATE CODE: R150