JP7571663B2 - ゲート駆動装置 - Google Patents

ゲート駆動装置 Download PDF

Info

Publication number
JP7571663B2
JP7571663B2 JP2021091316A JP2021091316A JP7571663B2 JP 7571663 B2 JP7571663 B2 JP 7571663B2 JP 2021091316 A JP2021091316 A JP 2021091316A JP 2021091316 A JP2021091316 A JP 2021091316A JP 7571663 B2 JP7571663 B2 JP 7571663B2
Authority
JP
Japan
Prior art keywords
circuit
voltage
current
sense
gate
Prior art date
Legal status (The legal status is an assumption and is not a legal conclusion. Google has not performed a legal analysis and makes no representation as to the accuracy of the status listed.)
Active
Application number
JP2021091316A
Other languages
English (en)
Other versions
JP2022183823A5 (ja
JP2022183823A (ja
Inventor
敦 小林
一輝 山内
Current Assignee (The listed assignees may be inaccurate. Google has not performed a legal analysis and makes no representation or warranty as to the accuracy of the list.)
Denso Corp
Original Assignee
Denso Corp
Priority date (The priority date is an assumption and is not a legal conclusion. Google has not performed a legal analysis and makes no representation as to the accuracy of the date listed.)
Filing date
Publication date
Application filed by Denso Corp filed Critical Denso Corp
Priority to JP2021091316A priority Critical patent/JP7571663B2/ja
Priority to PCT/JP2022/018895 priority patent/WO2022255008A1/ja
Publication of JP2022183823A publication Critical patent/JP2022183823A/ja
Publication of JP2022183823A5 publication Critical patent/JP2022183823A5/ja
Application granted granted Critical
Publication of JP7571663B2 publication Critical patent/JP7571663B2/ja
Active legal-status Critical Current
Anticipated expiration legal-status Critical

Links

Images

Classifications

    • HELECTRICITY
    • H02GENERATION; CONVERSION OR DISTRIBUTION OF ELECTRIC POWER
    • H02MAPPARATUS FOR CONVERSION BETWEEN AC AND AC, BETWEEN AC AND DC, OR BETWEEN DC AND DC, AND FOR USE WITH MAINS OR SIMILAR POWER SUPPLY SYSTEMS; CONVERSION OF DC OR AC INPUT POWER INTO SURGE OUTPUT POWER; CONTROL OR REGULATION THEREOF
    • H02M1/00Details of apparatus for conversion
    • HELECTRICITY
    • H02GENERATION; CONVERSION OR DISTRIBUTION OF ELECTRIC POWER
    • H02MAPPARATUS FOR CONVERSION BETWEEN AC AND AC, BETWEEN AC AND DC, OR BETWEEN DC AND DC, AND FOR USE WITH MAINS OR SIMILAR POWER SUPPLY SYSTEMS; CONVERSION OF DC OR AC INPUT POWER INTO SURGE OUTPUT POWER; CONTROL OR REGULATION THEREOF
    • H02M1/00Details of apparatus for conversion
    • H02M1/08Circuits specially adapted for the generation of control voltages for semiconductor devices incorporated in static converters
    • HELECTRICITY
    • H03ELECTRONIC CIRCUITRY
    • H03KPULSE TECHNIQUE
    • H03K17/00Electronic switching or gating, i.e. not by contact-making and –breaking
    • H03K17/08Modifications for protecting switching circuit against overcurrent or overvoltage

Landscapes

  • Engineering & Computer Science (AREA)
  • Power Engineering (AREA)
  • Power Conversion In General (AREA)
  • Electronic Switches (AREA)

Description

本発明は、ゲート駆動装置に関する。
IGBTやMOSトランジスタなどのゲート駆動型の半導体スイッチング素子は、上下アームに配置してオンオフ駆動制御を行う構成では、一方が短絡故障をしている状態で、他方がオン駆動されると、短絡電流が流れてスイッチング素子が破損してしまう。このため、オン時に対向アームの半導体スイッチング素子が短絡しているか否かを判定して、短絡状態である場合にはオン駆動を停止することが必要である。
この場合、半導体スイッチング素子のオン時には、原理的に、過渡的に電流センスの電圧がオン状態よりも持ち上がり、ゲート電圧が十分に上がってオン状態に移行すると、電流センスの電圧は定常値まで低下する特性を有している。このため、過渡期に判定をすると短絡状態と誤判定をしてしまう可能性があるため、ゲート電圧が上がった定常時に電流センスの電圧を判定することで誤判定を回避するようにしている。
しかしながら、半導体スイッチング素子は、小型化が進むことで短絡時の飽和電流が低下する傾向にあるため、ゲート電圧が上がった定常時の電流センスの電圧を判定する場合でも、短絡時の飽和電流の値と正常時の電流センスの値との差が小さくなり、これらの値のばらつきを考慮すると両者がオーバーラップする場合が発生し、しきい値の設定が不能となり正しい判定ができなくなる不具合があった。
特許06525141号公報 特開2017-212870号公報 国際公開番号WO2017/141545A1
本発明は、上記事情を考慮してなされたもので、その目的は、半導体スイッチング素子の小型化が進み短絡飽和電流が低下した場合でも、対向アームの短絡状態を確実に判定することができるようにしたゲート駆動装置を提供することにある。
請求項1に記載のゲート駆動装置は、電流センス端子を備えたゲート駆動形の半導体スイッチング素子の駆動制御を行うゲート駆動装置であって、前記電流センス端子からのセンス電流の検出信号を取り込み、前記検出信号に基づいて、前記センス電流が、前記半導体スイッチング素子が線形領域で動作する定常期の電流よりも上昇した後に前記定常期の電流まで低下する現象である過渡センス電流の有無を検出する波形検出回路(40)と、前記波形検出回路による検出結果を所定タイミングで判定して短絡の有無を判定する判定回路(30)と、前記半導体スイッチング素子のオンオフ駆動を制御し、前記半導体スイッチング素子をオン駆動した後、前記判定回路により短絡有りが判定されることに基づいて遮断する制御回路(20)とを備える。
上記構成を採用することにより、波形検出回路により、半導体スイッチング素子の電流センス端子からセンス電流の検出信号を取り込み、センス電流の波形の変化から過渡センス電流の有無を検出して短絡の有無を検出し、判定回路により所定タイミングで短絡状態を判定することができる。これにより、センス電流の値そのものから短絡を判定するのではなく、過渡期のセンス電流を基準として定常期のセンス電流への変化から検出することで、飽和電流が下がるなどしてセンス電流のレベルにばらつきがある場合でも、短絡の有無を正しく判定することができる。この結果、パワー素子として用いる半導体スイッチング素子の小型化に貢献できる。また、IC/素子仕様で短絡設計が完結するため、基板での短絡保護設計が不要になる。
第1実施形態を示す電気的構成図 第1実施形態を示す作用説明図その1 第1実施形態を示すタイミングチャート 第1実施形態を示す作用説明図その2 第1実施形態を示す作用説明図その3 第1実施形態を示す作用説明図その4 第1実施形態を示す作用説明図その5 第2実施形態を示す電気的構成図 第2実施形態を示すタイミングチャート 第3実施形態を示す電気的構成図 第3実施形態を示すタイミングチャート 第4実施形態を示す電気的構成図 第4実施形態を示す作用説明図その1 第4実施形態を示す作用説明図その2 第4実施形態を示す作用説明図その3 第5実施形態を示す電気的構成図 第5実施形態を示すタイミングチャート 第6実施形態を示す電気的構成図 第6実施形態を示す作用説明図 第7実施形態を示す電気的構成図 第7実施形態を示す作用説明図 第8実施形態を示す電気的構成図 第8実施形態を示すタイミングチャート 第9実施形態を示すタイミングチャート
(第1実施形態)
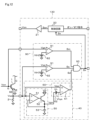
以下、本発明の第1実施形態について、図1~図7を参照して説明する。
電気的構成を示す図1において、ゲート駆動形の半導体スイッチング素子としてのIGBT(Insulated Gate Bipolar Transistor)1を上下アームにそれぞれ配置して負荷への通電経路を形成する回路に対して、ゲート駆動装置10は、一方のIGBT1をオン駆動制御する際に、他方のIGBTが短絡状態にあるかどうかを判定することができるようにした機能を備える。
IGBT1は、内部にコレクタ・エミッタ間の電流を検知するためのセンス素子が設けられセンス電流の出力端子であるセンス端子SEを備えている。センス端子SEは、電流検出用の抵抗2を介してエミッタと共通に接続されており、ゲート駆動装置10は、電流検出抵抗2に流れるセンス電流Iseを、センス電圧Vseとして取り込むように設けられている。
ゲート駆動装置10は、制御回路20、判定回路30および波形検出回路40を備えている。制御回路20は、外部から与えられるオン/オフ指令信号に基づいてゲート駆動信号Sonを生成し、駆動回路21を介してIGBT1のゲートにゲート駆動電圧Vonを与える。制御回路20は、後述するように、IGBT1のオフ駆動機能も備えており、オン駆動中に短絡が検出された場合にはIGBT1を遮断する。
判定回路30は、コンパレータ31、しきい値電源32、遅延回路33およびアンド回路34を備える。判定回路30は、IGBT1のゲート電圧Vgeがしきい値電圧Vth1に達してオンした時点から、所定の遅延時間Td1が経過した時点でIGBT1の状態を判定する。
コンパレータ31は、非反転入力端子にIGBT1のゲート電圧Vgeが入力され、反転入力端子にしきい値電源32により設定されるしきい値電圧Vth1が入力される。遅延回路33は、コンパレータ31から出力されるオンタイミングの信号によりトリガがかかり、所定の遅延時間Td1後にアンド回路34にハイレベルの信号を出力する。アンド回路34は、遅延回路33からのハイレベルの信号の入力タイミングで、波形検出回路40からの出力信号を判定して短絡状態の場合には判定信号Sxを出力する。
波形検出回路40は、ピークホールド回路50およびヒステリシス付きのコンパレータからなる比較回路60を備えている。波形検出回路40は、センス電圧Vseを取り込み、この波形の変化状態から通常状態でない状態を検出して出力する。
ピークホールド回路50は、オペアンプ51、トランジスタ52およびコンデンサ53を備える。オペアンプ51は、非反転入力端子にセンス電圧Vseが入力され、反転入力端子にはコンデンサ53の端子電圧Vphが入力される。オペアンプ51の出力端子はトランジスタ52のベースに接続される。
トランジスタ52のコレクタは直流電源VDに接続され、エミッタはコンデンサ53を介してグランドに接続される。コンデンサ53の端子電圧であるピークホールド電圧Vphは、トランジスタ52のエミッタとコンデンサ53の共通接続点の電圧である。オペアンプ51は、センス電圧Vseがコンデンサ53の端子電圧であるピークホールド電圧Vphよりも大きい期間中はトランジスタ52を駆動してコンデンサ53に直流電源VDから充電を行う。
これにより、センス電圧Vseがピーク値VPに達した後低下すると、オペアンプ51の出力信号によりトランジスタ52がオフしてコンデンサ53への充電が停止する。この結果、ピークホールド電圧Vphはセンス電圧Vseのピーク値VPとなり、この電圧が保持される。
比較回路60は、コンパレータ61およびヒステリシス電圧Vhを与えるヒステリシス電源62を備える。コンパレータ61は非反転入力端子にセンス電圧Vseが入力され、反転入力端子にピークホールド回路50から出力されるピークホールド電圧Vphを、ヒステリシス電源62を通じてヒステリシス電圧Vhだけ低下させた参照電圧Vhysとして入力される。
コンパレータ61は、センス電圧Vseが参照電圧Vhysよりも大きいときにはハイレベル、小さくなるとローレベルとなる検出信号Sdを出力する。この検出信号Sdは、判定回路30のアンド回路34に入力される。
次に、上記構成の作用について、図2から図7も参照して説明する。
まず、通常時および短絡時におけるセンス電圧Vseの変化について説明する。図6は2つのIGBT_A、IGBT_Bを上下アームに配置した構成で、上アームのIGBT_Aをオフ駆動してから下アームのIGBT_Bをオン駆動するまでに流れる電流について矢印をつけた破線で示している。上側に上アームのIGBT_Aが正常である通常時の電流を示し、下側にIGBT_Aが短絡状態である場合の電流を示している。
通常時においては、上アームのIGBT_Aをオン状態として負荷に給電している状態でオフに切り替えると、負荷側からIGBT_Aのボディダイオードを介して電源側に戻る電流I1fが流れる。ボディダイオードに流れる電流を側路させるために、同期整流動作として下アームのIGBT_Bをオン駆動する。
このとき、IGBT_Bに流れる電流I2は、負荷側からボディダイオードに流れていた電流I1fにボディダイオードのリカバリ電流I1rが加算された電流として流れる。このため、IGBT_Bがオン駆動されるときには、過渡期においてリカバリ電流によるピークが加算された電流が発生し、定常期になると負荷電流のレベルになる。
一方、下側に示すIGBT_Aの短絡時には、上アームのIGBT_Aをオン状態として負荷に給電している状態でオフに切り替えても、短絡状態であるから、負荷側からIGBT_Aの本体を介して電源側に戻る電流I1sが流れる。ボディダイオードには順方向電圧がかかるため電流I1fはほとんど流れない。
このため、IGBT_Bをオン駆動して同期整流を実施しようとすると、IGBT_Aに流れていた短絡電流I1sがIGBT_Bに電流I2として流れるようになる。また、IGBT_Aのボディダイオードに電流がほとんど流れないため、リカバリ電流の発生もなく、電流I2にはリカバリ電流に起因したピーク値が発生しない。
図7は、上記の動作を各部の信号変化として示したタイミングチャートである。通常時と短絡時との状態におけるゲート電圧Vge、コレクタ電流Ic、センス電圧Vseおよびコレクタ電圧Vceを示している。
通常時においては、IGBTのゲート電圧は過渡期にミラー電圧Vmで保持された後にゲート電圧VGEまで引き上げられる。このとき、コレクタ電流Icは、ゲート電圧Vgeが時刻t0でしきい値電圧Vthに達すると、負荷に応じた電流が流れるようになる。
センス電流Iseの変化を示すセンス電圧Vseは、オン駆動に伴って0Vから増加し、リカバリ電流によるピーク値を過ぎると過渡期では飽和領域で動作するため、定常期よりも高い電圧V2を保持する。この後、定常期に移行するとセンス電圧Vseは、線形領域となるので負荷電流に比例した電圧V1に下がり、オン期間中はこの状態が保持される。また、コレクタ電圧Vceは、過渡期では電源電圧VCEから徐々に低下し始め、定常期になるとほぼ0Vになる。
これに対して、短絡時においては、IGBTのゲート電圧はミラー期間に関係なく上昇してゲート電圧VGEまで引き上げられる。このとき、コレクタ電流Icは、ゲート電圧Vgeが時刻t0でしきい値電圧Vthに達すると、電源短絡状態となるため短絡電流レベルまで上昇する。
センス電圧Vseは、オン駆動に伴って0Vから増加し、リカバリ電流もなく飽和領域のままで動作し短絡電流に対応する高い電圧V3のレベルとなる。また、コレクタ電圧Vceは、電源電圧VCEが印加された状態のままとなる。
以上の基本的な動作の性質を前提として、本実施形態の動作について説明する。図2は、通常時および短絡時におけるセンス電圧Vseと検出信号Sdの状態を示している。
通常時では、センス電圧Vseは、前述のように、IGBT1がオンすると過渡期においてはリカバリ電流に起因した電圧上昇でピーク値VPに達した後に過渡期の飽和状態の電圧V1のレベルとなる。この後、定常期に移行するとセンス電圧Vseは電圧V1よりも下がって負荷電流に対応する電圧V2となる。この結果、センス電圧Vseは、ピーク値VPから電圧V2まで下がり、動作点差ΔVse(=VP-V2)だけ下がったこととなる。
一方、短絡時には、センス電圧Vseは、IGBT1は飽和状態のままとなり、IGBT1に流れる短絡電流に相当するレベルまで上昇し、このレベルが保持される。このため、センス電圧Vseがピーク値VPそのもので保持され、これよりも低下することがない。
この結果、通常時にはセンス電圧Vseが過渡期から定常期に移行するタイミングで、上記したΔVseの変化により電圧V2に低下するので、波形検出回路40は、この変化をピークホールド電圧Vphからヒステリシス電圧Vhだけ小さく設定する電圧Vpysと比較することにより検出することができる。
図3は、ゲート駆動装置10が外部からオン/オフ指令の信号を受けてIGBT1のゲートにゲート駆動電圧Vonを与えたときのタイミングチャートを示している。制御回路20は、駆動回路21を介してIGBT1にゲート駆動電圧Vonを与えると、対向アームのIGBTが通常時である場合には、IGBT1は、ゲート電圧Vgeが上昇してゆき、時刻t0でしきい値電圧Vth1に達すると電流が流れ始め、過渡期に移行する。
このとき、判定回路30においては、コンパレータ31に入力されるゲート電圧Vgeがしきい値電圧Vth1に達したことでハイレベルの信号を遅延回路33に出力する。遅延回路33は、ハイレベルの信号が入力された時刻t0から所定の遅延時間td1が経過する時刻t3でアンド回路34にハイレベルのタイミング信号を出力する。
波形検出回路40においては、IGBT1がオン駆動し始める時刻t0からIGBT1に流れる電流に比例するセンス電流Iseが電流検出抵抗2に流れ始め、この電流に相当するセンス電圧Vseがオペアンプ51に入力される。
IGBT1がオン駆動される過渡期においては、飽和状態となりゲート電圧Vgeは時刻tmからミラー電圧Vmで保持され、センス電圧Vseはリカバリ電流を含んだ電流が流れることで、時刻t1でピーク電圧VPに達し、以後通常期よりも高い電圧V1の状態が保持される。
波形検出回路40においては、ピークホールド回路50から出力されるピーク電圧VPに対応したピークホールド電圧Vphが比較回路60に入力される。比較回路60では、ピークホールド電圧Vphからヒステリシス電圧Vhだけ低く設定される参照電圧Vhysがコンパレータ61に入力される。参照電圧Vhysは、過渡期のセンス電圧Vseが電圧V2となるのに対してこれよりも低くなるようにヒステリシス電圧Vhが設定されている。
コンパレータ61は、センス電圧Vseが定常期に入って電圧V1からさらに低下した電圧V2になるタイミングで参照電圧Vhysよりも低くなるので、この時点t2で検出信号Sdはローレベルに変化する。
判定回路30においては、遅延回路33により設定される遅延時間Td1が、IGBT1が定常期に入った時刻t2よりも後となるように設定されているので、アンド回路34にハイレベルのタイミング信号Stが入力された時点t3で、検出信号Sdがハイレベルかローレベルかに応じた判定信号Sxが出力される。したがって、通常時においては、判定信号Sxはローレベルとなり、この時点で通常時であることが判定される。
一方、対向アームのIGBTが短絡状態となっている場合には、ゲート電圧Vgeはミラー電圧Vmで保持されることなくVGEまで上昇し、センス電圧Vseもリカバリ電流のピーク値を発生することなく短絡電流Isに相当する電圧Vxに達するまで上昇して保持された状態となる。
このため、センス電圧Vseが、以後低下することがなくなり、波形検出回路40では短絡状態を示すハイレベルの検出信号Sdが出力された状態が保持される。判定回路30では、タイミング信号Stが出力される時刻t3で、アンド回路34は、波形検出回路40からハイレベルの検出信号Sdが入力されているので、ハイレベルの判定信号Sxを出力する。したがって、短絡時では、判定信号Sxはハイレベルとなり、短絡時であることが判定される。
次に、図4および図5によりセンス電圧Vseの波形が図3で示したような変化とは異なる変化をする場合の検出動作について説明する。
図4の場合では、下段に示すセンス電圧Vseの形状を特徴づけるリカバリ電流が大きいときに発生する例を示している。図4の上段に示すように、リカバリ電流が通常レベルもしくは小さい場合には、前述したように、過渡期から定常期に変わる時点t2でセンス電圧Vseが参照電圧Vhysよりも低下することで通常時を検出していた。
これに対して、図4の中段に示すように、リカバリ電流が大きいレベルの場合には、過渡期のセンス電圧Vseのレベルが前述した電圧V1よりも低くなり、リカバリ電流によるピーク値VPから過渡期の電圧に変化する時点t2xで参照電圧Vhysよりも低下してしまうことがある。
しかし、この場合には、通常時を判定する検出信号Sdが時刻t2xの早い時点で検出されることとなり、遅延時間td1が経過した時刻t3での判定に支障をきたすことはない。また、短絡時の波形は前述と同様にセンス電圧Vseが参照電圧Vhysよりも低下することはないから、短絡の判定においても支障をきたすことはない。
次に、図5の場合では、下段に示すセンス電圧Vseの形状を特徴づける過渡期の電圧V1と定常期の電圧V2との差がほとんど無いときに発生する例を示している。図5の上段に示すように、過渡期の電圧V1と定常期の電圧V2との差がある程度有る場合には、前述したように、過渡期から定常期に変わる時点t2でセンス電圧Vseが参照電圧Vhysよりも低下することで通常時を検出していた。
これに対して、図5の中段に示すように、過渡期の電圧V1と定常期の電圧V2との差がほぼゼロの場合には、リカバリ電流の大きさによる差分だけがセンス電圧Vseのピーク電圧VPからの低下分となる。このため、センス電圧Vseによって通常時の状態を検出可能とするための条件は、リカバリ電流によるピークを過ぎた後のセンス電圧Vseが参照電圧Vhysよりも低くなるように参照電圧Vhysを設定することである。
したがって、この場合には、ヒステリシス電圧Vhの大きさを調整して、リカバリ電流によるピーク値VPから過渡期および定常期におけるセンス電圧Vseに変化するときに参照電圧Vhysを通過するように設定することで検出可能となる。なお、このようにセンス電圧Vseの過渡期の電圧V1と定常期の電圧V2との差が無くなる場合とは、例えば、IGBTの製造上において、センス素子とメイン素子のVtを調整することで形成されることがある。
このような第1実施形態によれば、IGBT1の通常時におけるオン駆動時のセンス電圧Vseの変化を検出する波形検出回路40を設け、適切なタイミングで判定する判定回路30により判定するように構成したので、半導体スイッチング素子であるIGBT1の小型化が進み短絡飽和電流が低下した場合でも、対向アームの短絡時を確実に判定することができるようになる。
(第2実施形態)
図8および図9は第2実施形態を示すもので、以下、第1実施形態と異なる部分について説明する。この実施形態では、ゲート駆動装置110は、判定回路30に代えて判定回路70を備えている。
判定回路70は、遅延回路71およびアンド回路34を備えている。遅延回路71は、制御回路20から出力されるオン駆動信号Sonが入力され、ハイレベルのオン駆動信号が入力された時点から所定の遅延時間Td2が経過するとハイレベルのタイミング信号を出力する。この遅延時間Td2は、第1実施形態における遅延時間Td1に相当する時間として設定されるもので、判定タイミングを設定するものである。
図9は、ゲート駆動装置110が外部からオン/オフ指令の信号を受けてIGBT1のゲートにゲート駆動信号Sonを与えたときのタイミングチャートを示している。この実施形態では、ゲート駆動信号Sonをトリガとして遅延回路71により遅延時間Td2が経過すると、判定タイミングを与える信号をアンド回路34に入力する。
判定回路70においては、遅延回路71により設定される遅延時間Td2が、IGBT1が定常期に入った時刻t2よりも後となるように設定されているので、アンド回路34にハイレベルのタイミング信号Stが入力された時点t3aで、検出信号Sdがハイレベルかローレベルかに応じた判定信号Sxが出力される。したがって、通常時においては、判定信号Sxはローレベルとなり、この時点で通常時であることが判定され、短絡時では、判定信号Sxはハイレベルとなり、この時点で短絡時であることが判定される。
したがって、このような第2実施形態によっても第1実施形態と同様の作用効果を得ることができる。
なお、上記実施形態に示した制御回路20から出力されるオン駆動信号Sonを用いることに代えて、外部から与えられるオンオフ指令がオン駆動を示すハイレベルの信号を遅延回路71に入力する構成とすることもできる。
(第3実施形態)
図10および図11は第3実施形態を示すもので、以下、第1実施形態と異なる部分について説明する。この実施形態では、ゲート駆動装置120は、判定回路30に代えて判定回路80を備えている。
判定回路80は、コンパレータ81、モニタしきい値電源82およびアンド回路34を備えている。コンパレータ81は、ゲートモニタ回路として機能するもので、IGBT1のゲート電圧Vgeが非反転入力端子に入力され、モニタしきい値電源82により設定されるモニタしきい値電圧Vth2が反転入力端子に入力される。モニタしきい値電圧Vth2は、IGBT1が過渡期から定常期に入ってゲート電圧が電圧VGEに達したことを検出するように設定される。
コンパレータ81は、IGBT1のゲート電圧Vgeがモニタしきい値電圧Vth2を超えると、ハイレベルのモニタ検出信号Smを出力する。モニタ検出信号Smはアンド回路34に判定タイミング信号として入力される。
これにより、判定回路80においては、コンパレータ81からハイレベルのモニタ検出信号Smが入力された時点t3bで、検出信号Sdがハイレベルかローレベルかに応じた判定信号Sxが出力される。したがって、通常時においては、判定信号Sxはローレベルとなり、この時点で通常時であることが判定され、短絡時においては、判定信号Sxはハイレベルとなり、この時点で短絡時であることが判定される。
したがって、このような第3実施形態によっても第1実施形態と同様の作用効果を得ることができる。
(第4実施形態)
図12から図15は第4実施形態を示すもので、以下、第3実施形態と異なる部分について説明する。この実施形態では、第3実施形態において、負荷電流が小さい領域で用いるケースにおいてセンス電圧Vseの過渡期の電圧V1と定常期の電圧V2との差が小さく、センス電圧Vseが参照電圧Vhysよりも高くなることがあり、これによって短絡状態と誤判定するのを解消できるようにしたものである。
すなわち、第4実施形態では、ゲート駆動装置130は、図12に示すように、判定回路80の構成に新たにコンパレータ91およびセンスしきい値電源92を加えた構成とし、アンド回路34に代えて3入力のアンド回路93とした判定回路90を設けている。
コンパレータ91は、IGBT1のセンス電圧Vseが非反転入力端子に入力され、センスしきい値電源92により設定されるセンスしきい値電圧Vth3が反転入力端子に入力される。センスしきい値電圧Vth3は、IGBT1の電流が過電流レベルに達していることを検出するように設定される。
アンド回路93は、波形検出回路40の検出信号Sdおよびコンパレータ81の出力信号であるモニタ検出信号Smに加えて、コンパレータ91の出力信号であるセンスモニタ信号Ssが入力される。アンド回路93は、3入力がすべてハイレベルになると短絡時を示すハイレベルの判定信号Sxを出力する。
次に、上記構成の作用について説明する。図13は負荷電流大の場合および負荷電流小の場合でのセンス電圧Vseの波形と検出信号Sdの関係を示している。下段に示すセンス電圧Vseの一般的な波形に対して、上段に示す負荷電流大の場合には、通常時の検出動作では、過渡期から定常期に移行する時点で参照電圧Vhysよりも低下するので通常時であることが検出される。
一方、中段に示す負荷電流小の場合には、センス電圧Vseは、過渡期のV1から定常期のV2に変化する際に、電圧V1V2の差が小さくなるため、センス電圧Vseが参照電圧Vhysよりも小さくならないことがある。このため、検出信号Sdはローレベルに変化することなく、これによって短絡時であるとして誤検出されてしまうことがある。
本実施形態では、このような誤検出が発生することがないように、コンパレータ91により、センス電圧Vseが短絡時の電流レベルに達しているか否かを判定するセンスしきい値Vth3により判定している。センスしきい値Vth3は、図14に示すように、短絡電流によるセンス電圧Vseのばらつきを考慮して短絡電流が最も小さいレベルでも短絡電流レベルとして判定することができるように設定されている。
このため、通常時であるが負荷電流大の場合にはこの電圧を超えてしまう場合がある。しかし、この場合には、センス波形の検出結果が通常状態を示すローレベルの検出信号Sdを出力するので、アンド回路93は、短絡時の判定を示すハイレベルの判定信号Sxを出力することはない。
図15は、通常時における負荷電流のレベルを小、中、大とし、短絡時との検出結果の比較を示している。通常時、負荷電流小の場合には波形検出回路40の検出信号Sdは前述のケースとなって短絡時を示すハイレベルのままとなる。
この場合、センス電圧Vseは、過渡期においてセンスしきい値電圧Vth3を超える場合でも、定常期に入ると負荷電流が短絡電流レベルよりも小さいので、ローレベルの検出信号Ssが出力される。この結果、ゲートモニタ出力Smがハイレベルになる判定タイミングでは、判定回路90から通常時であるローレベルの判定信号Sxが出力される。
次に、負荷電流中の場合には、波形検出回路40の検出信号Sdは過渡期から定常期に移行するタイミングでローレベルとなる。また、センス電圧Vseは、過渡期においてセンスしきい値電圧Vth3を超える場合でも、定常期に入ると負荷電流が短絡電流レベルよりも小さいので、ローレベルの検出信号Ssが出力される。この結果、ゲートモニタ出力Smがハイレベルになる判定タイミングでは、判定回路90から通常時であるローレベルの判定信号Sxが出力される。
また、負荷電流大の場合には、波形検出回路40の検出信号Sdは過渡期から定常期に移行するタイミングでローレベルとなる。しかし、センス電圧Vseは、定常期に入っても負荷電流が大のため短絡電流レベルよりも大きくなる場合があり、これによってハイレベルの検出信号Ssが出力される。したがって、ゲートモニタ出力Smがハイレベルになる判定タイミングでは、やはり判定回路90から通常時であるローレベルの判定信号Sxが出力される。
一方、短絡時の場合には、波形検出回路40の検出信号Sdは定常期に入っても低下しないためハイレベルとなる。また、センス電圧Vseは、短絡電流が流れている状態では定常期に入ってもセンスしきい値電圧Vth3よりも大のためハイレベルの検出信号Ssが出力される。したがって、この場合には、ゲートモニタ出力Smがハイレベルになる判定タイミングで、判定回路90から短絡時であるハイレベルの判定信号Sxが出力される。
このような第4実施形態によれば、第3実施形態の構成にセンスしきい値電圧Vth3によってセンス電圧Vseを判定するコンパレータ91を設けたので、負荷電流小のケースでも誤判定を発生させることを回避できるようになる。
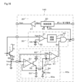
(第5実施形態)
図16および図17は第5実施形態を示すもので、以下、第1実施形態と異なる部分について説明する。この実施形態では、第1実施形態におけるような波形検出の処理をスイッチング毎に実施する場合に、センス電圧Vseの波形が異なる場合に対応してピークホールド電圧Vphをスイッチング毎にリセットできるようにしたものである。
図16において、ゲート駆動装置140は、波形検出回路40に代えて波形検出回路40aを備えている。波形検出回路40aは、比較回路60および、ピークホールド回路50に代わるピークホールド回路50aを備える。ピークホールド回路50aは、リセットスイッチ54が追加された構成である。リセットスイッチ54は、コンデンサ53の両端子間を短絡可能に接続されている。また、リセットスイッチ54は、制御回路20からリセット信号Swが与えられるとオンしてコンデンサ53の端子間を短絡状態として電荷の放電を実施する。
次に、上記構成の作用について説明する。図17は各部の信号の変化状態を示している。この実施形態では、制御回路20は、リセット信号Swにより、オンオフ指令によりオン指令の信号が与えられている期間中はリセットスイッチ54をリセット解除すなわちオフ状態に保持し、オフ指令が与えられている期間中はリセットスイッチ54をリセット状態すなわちオン状態に保持する。
これにより、時刻t0のタイミングでオン指令が与えられると、リセットスイッチ54は、リセット解除となり、ピークホールド回路50aでは、センス電圧Vseのピークホールドを行い、コンデンサ53にピークホールド電圧VPが出力される。これにより、前述した波形検出の動作が行われる。
この後、時刻t1でオン指令からオフ指令に切り替わると、制御回路20は、リセットスイッチ54にハイレベルのリセット信号Swを出力してリセット動作させ、コンデンサ53の電荷を放電させ、ピークホールド電圧Vphを0Vにする。オフ指令が与えられている期間中は、ピークホールド電圧Vphが0Vに保持される。
時刻t2で再びオン指令が当たられると、時刻t3のオフ指令が与えられるまでの間、制御回路20はローレベルのリセット信号Swによりリセット状態を解除する。以下、上述と同様にして、制御回路20は、リセット信号Swにより、スイッチング毎にリセット解除を実施してセンス電圧Vseが変動し、例えばピークホールド電圧がVP1からΔVPだけ小さくなってVP2に低下する場合でも、これに対応して波形検出回路40aによる検出動作が確実に実施できるようにしている。
このような第5実施形態によれば、ピークホールド回路50aにリセットスイッチ54を設けて、スイッチング毎にピークホールド電圧Vphをリセットさせるようにしたので、センス電圧Vseのレベルがスイッチング毎に変動した場合でも、波形検出の動作を確実に実施できるようになる。
なお、上記実施形態では、リセットスイッチ54のリセット動作は、制御回路20にオフ指令が与えられている期間中行うようにしたが、上記実施形態の場合に加えて、ノイズなどによる悪影響が無い場合には、オフ指令が与えられた直後に短時間だけリセット動作させるようにしても良い。
(第6実施形態)
図18および図19は第6実施形態を示すもので、以下、第1実施形態と異なる部分について説明する。この実施形態では、図18に示すように、ゲート駆動装置150は、波形検出回路40bにおいて、比較回路60aとして、ヒステリシス電源62に代えてヒステリシス電圧Vhを変更設定することができる可変ヒステリシス電源63を設ける構成としている。
これにより、図19に示しているように、可変ヒステリシス電源63によりヒステリシス電圧Vhを変更設定することで、ピーク電圧VPから減じるヒステリシス電圧Vhに応じて例えば電圧Vpys1あるいは電圧Vpys2のように異なるレベルに設定することができる。
このようにヒステリシス幅を変更設定することで、システムで発生するノイズなどによる誤動作を回避でき、波形検出の動作において誤検出を無くすことができる。ヒステリシス電圧Vhの調整は、人為的あるいは制御により行う構成とすることができる。
このような第6実施形態によれば、可変ヒステリシス電源63を設けて、ヒステリシス電圧Vhを調整可能な構成としたことで、システムで発生するノイズなどによる誤動作を回避して波形検出回路40aによる波形検出を確実に実施できるようになる。
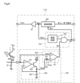
(第7実施形態)
図20および図21は第7実施形態を示すもので、以下、第4実施形態と異なる部分について説明する。この実施形態では、図20に示すゲート駆動装置160のように、第4実施形態で示した構成の2つの参照電源82、92を、参照電圧を変更設定できる可変参照電源83、93を設ける構成としている。
この実施形態では、使用するIGBT1のようなパワー素子によって短絡時の飽和電流が異なることを想定し、システムによって負荷電流が異なることから通常のセンス電圧Vseも異なることに対応するものである。すなわち、このように条件や状況によって異なる場合にも対応できるようにしきい値電圧Vth2やVth3を可変参照電源83、93によって変更設定可能な構成としている。
これにより、図21に示すように、モニタしきい値電圧Vth3を設定変更できるので、IGBT1の特性や使用形態に応じて適切なレベルに設定することができ、短絡検出を確実に実施することができるようになる。
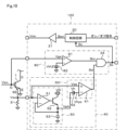
(第8実施形態)
図22および図23は第8実施形態を示すもので、以下、第4実施形態と異なる部分について説明する。この実施形態では、ゲート駆動装置170として、図22に示すように、波形検出回路40の出力段にフィルタ41を設け、判定回路90bのコンパレータ81および91のそれぞれの出力段にもフィルタ84および95を設けている。
各フィルタ41、84、95は、ノイズを除去するためのローパスフィルタの機能を持つもので、センス電圧Vseやゲート電圧Vgeに重畳されるノイズを除去するものである。
これにより、例えば図23に示すように、波形検出回路40において、センス電圧Vseが時刻t2で定常期に移行し通常時であることを示すローレベルの検出信号Sdが出力された後に、センス電圧Vseにノイズが重畳した場合には、短絡時であると誤検出してしまう恐れがあった。
これに対して、この実施形態においては、時刻t3でフィルタ前の検出信号Sdにノイズに起因したハイレベルの信号が出力されていた場合でも、フィルタ41を介して出力される検出信号Sdではノイズによるハイレベルの信号部分が除去されるので、誤検出することなく検出動作が行われる。
(第9実施形態)
図24は第9実施形態を示すもので、以下、第1実施形態と異なる部分について説明する。この実施形態では、第1実施形態においては、通常時か短絡時かの判定をするものとして示しているが、この他に、IGBT1の動作としてオン駆動後に過電流が流れる状態があり、判定回路30により過電流時を判定するようにしたものである。
図24では、時刻t3以後の通常時を判定した後の、時刻txにIGBT1に過電流が流れ、センス電圧Vseが上昇していく状態を示している。この場合においても、判定回路30により、センス電圧Vseが参照電圧Vhysを超える時刻t4でハイレベルの判定信号Sxを出力させる。これにより、IGBT1の過電流時であることを判定することができるようになる。
(他の実施形態)
なお、本発明は、上述した実施形態のみに限定されるものではなく、その要旨を逸脱しない範囲で種々の実施形態に適用可能であり、例えば、以下のように変形または拡張することができる。
上記各実施形態では、パワー素子としてIGBTを用いた場合で説明したが、このようにセンス電圧Vseが持ち上がる現象は、線形領域と飽和領域との動作の違いにより発生するものであるので、IGBT以外に一般的なMOSトランジスタやSiCMOSトランジスタなどのパワー系のゲート駆動型の半導体スイッチング素子のいずれにおいても適用することができる。
上記各実施形態は、第1実施形態および第4実施形態を基本とし、その応用として示しているが、その他の実施形態において組み合わせた構成とした複合的な構成を採用することもできる。
本開示は、実施例に準拠して記述されたが、本開示は当該実施例や構造に限定されるものではないと理解される。本開示は、様々な変形例や均等範囲内の変形をも包含する。加えて、様々な組み合わせや形態、さらには、それらに一要素のみ、それ以上、あるいはそれ以下、を含む他の組み合わせや形態をも、本開示の範疇や思想範囲に入るものである。
図面中、1はIGBT(ゲート駆動型の半導体スイッチング素子)、10、110、120、130、140、150、160、170はゲート駆動装置、20は制御回路、30は判定回路、31はコンパレータ、33は遅延回路、34はアンド回路、40、40a、40bは波形検出回路、41はフィルタ、50、50aはピークホールド回路、51はオペアンプ、53はコンデンサ、60、60aは比較回路、61はコンパレータ、62はヒステリシス電源、63は可変ヒステリシス電源、70は判定回路、71は遅延回路、80は判定回路、81はコンパレータ(ゲートモニタ回路)、90は判定回路、91はコンパレータ、93はアンド回路である。

Claims (9)

  1. 電流センス端子を備えたゲート駆動形の半導体スイッチング素子の駆動制御を行うゲート駆動装置であって、
    前記電流センス端子からのセンス電流の検出信号を取り込み、前記検出信号に基づいて、前記センス電流が、前記半導体スイッチング素子が線形領域で動作する定常期の電流よりも上昇した後に前記定常期の電流まで低下する現象である過渡センス電流の有無を検出する波形検出回路(40)と、
    前記波形検出回路による検出結果を所定タイミングで判定して短絡の有無を判定する判定回路(30)と、
    前記半導体スイッチング素子のオンオフ駆動を制御し、前記半導体スイッチング素子をオン駆動した後、前記判定回路により短絡有りが判定されたことに基づいて遮断する制御回路(20)とを備えたゲート駆動装置。
  2. 前記波形検出回路は、
    前記センス電流の検出信号のピーク値を保持するピークホールド回路(50)と、
    前記センス電流の検出信号のレベルと前記ピークホールド回路の出力を所定量だけ低下させたレベルとを比較して前記短絡の有無を判定する比較回路(60)と
    を有する請求項1に記載のゲート駆動装置。
  3. 前記ピークホールド回路は、前記半導体スイッチング素子がオフすると前記ピーク値の保持をリセットするリセットスイッチを備える請求項2に記載のゲート駆動装置。
  4. 前記比較回路は、前記ピークホールド回路の出力を小さく設定する所定量を調整可能に構成される請求項2または3に記載のゲート駆動装置。
  5. 前記判定回路は、前記短絡の有無の判定を、前記半導体スイッチング素子のオン駆動の時点から所定時間が経過したタイミングで実施する請求項1から4のいずれか一項に記載のゲート駆動装置。
  6. 前記判定回路は、前記半導体スイッチング素子のゲート電圧をモニタし、所定の電圧に達したことを検出するゲートモニタ回路(81)を備え、
    前記短絡の有無の判定を、前記ゲートモニタ回路の検出タイミングで実施する請求項1から4のいずれか一項に記載のゲート駆動装置。
  7. 前記判定回路は、前記センス電流の検出信号が短絡レベルに相当するセンスしきい値に達したことを検出する機能をさらに備え、
    前記判定回路は、前記判定を、前記波形検出回路および前記センスしきい値検出回路の双方から短絡が検出されたときに前記短絡の有無を判定する請求項1からのいずれか一項に記載のゲート駆動装置。
  8. 前記ゲートしきい値および前記センス電流しきい値の少なくとも一方が調整可能に設けられる請求項またはに記載のゲート駆動装置。
  9. 前記判定回路は、前記半導体スイッチング素子のオン期間中の前記センス電流の変化から過電流の有無を判定する請求項1から8のいずれか一項に記載のゲート駆動装置。
JP2021091316A 2021-05-31 2021-05-31 ゲート駆動装置 Active JP7571663B2 (ja)

Priority Applications (2)

Application Number Priority Date Filing Date Title
JP2021091316A JP7571663B2 (ja) 2021-05-31 2021-05-31 ゲート駆動装置
PCT/JP2022/018895 WO2022255008A1 (ja) 2021-05-31 2022-04-26 ゲート駆動装置

Applications Claiming Priority (1)

Application Number Priority Date Filing Date Title
JP2021091316A JP7571663B2 (ja) 2021-05-31 2021-05-31 ゲート駆動装置

Publications (3)

Publication Number Publication Date
JP2022183823A JP2022183823A (ja) 2022-12-13
JP2022183823A5 JP2022183823A5 (ja) 2023-06-27
JP7571663B2 true JP7571663B2 (ja) 2024-10-23

Family

ID=84324287

Family Applications (1)

Application Number Title Priority Date Filing Date
JP2021091316A Active JP7571663B2 (ja) 2021-05-31 2021-05-31 ゲート駆動装置

Country Status (2)

Country Link
JP (1) JP7571663B2 (ja)
WO (1) WO2022255008A1 (ja)

Citations (3)

* Cited by examiner, † Cited by third party
Publication number Priority date Publication date Assignee Title
JP2013077976A (ja) 2011-09-30 2013-04-25 Mitsubishi Electric Corp 半導体装置
JP2017212870A (ja) 2016-05-20 2017-11-30 株式会社デンソー スイッチング素子の駆動制御装置
JP2019213430A (ja) 2018-06-08 2019-12-12 株式会社デンソー 駆動回路

Patent Citations (3)

* Cited by examiner, † Cited by third party
Publication number Priority date Publication date Assignee Title
JP2013077976A (ja) 2011-09-30 2013-04-25 Mitsubishi Electric Corp 半導体装置
JP2017212870A (ja) 2016-05-20 2017-11-30 株式会社デンソー スイッチング素子の駆動制御装置
JP2019213430A (ja) 2018-06-08 2019-12-12 株式会社デンソー 駆動回路

Also Published As

Publication number Publication date
WO2022255008A1 (ja) 2022-12-08
JP2022183823A (ja) 2022-12-13

Similar Documents

Publication Publication Date Title
US10222422B2 (en) Short-circuit detection circuits, system, and method
JP7087373B2 (ja) 半導体素子の電流検出回路及び電流検出方法
JP6197685B2 (ja) ゲート駆動回路
CN100517902C (zh) 电力半导体元件的驱动电路
US9685945B2 (en) Electric circuit
US10110217B2 (en) Load driving device
JP5430608B2 (ja) 半導体スイッチング素子駆動回路
KR101106813B1 (ko) 과전류 보호 회로
US11545970B2 (en) Current detection circuit, current detection method, and semiconductor module
JP7326762B2 (ja) 半導体モジュールおよび駆動回路
CN114667681B (zh) 栅极驱动电路
CN106416071A (zh) 半导体开关元件驱动电路
JP2003318713A (ja) 負荷駆動装置
CN108924989B (zh) 点灯电路及使用该点灯电路的车辆用灯具
CN109983679B (zh) 控制装置以及半导体装置
US11581886B2 (en) Current detection circuit, current detection method, and semiconductor module
JP6405998B2 (ja) 負荷駆動回路
JP7571663B2 (ja) ゲート駆動装置
JP6711059B2 (ja) 保護回路
JP5144292B2 (ja) スイッチング電源回路及びそれを備えた車両
JP7552506B2 (ja) ゲート駆動装置
JPWO2018008333A1 (ja) インバータ駆動装置
JP2020005229A (ja) 負荷駆動装置
JP2025068482A (ja) 半導体スイッチング素子の駆動回路
JP2017118790A (ja) スイッチング回路

Legal Events

Date Code Title Description
A521 Request for written amendment filed

Free format text: JAPANESE INTERMEDIATE CODE: A523

Effective date: 20230616

A621 Written request for application examination

Free format text: JAPANESE INTERMEDIATE CODE: A621

Effective date: 20230616

A131 Notification of reasons for refusal

Free format text: JAPANESE INTERMEDIATE CODE: A131

Effective date: 20240514

A131 Notification of reasons for refusal

Free format text: JAPANESE INTERMEDIATE CODE: A131

Effective date: 20240709

A521 Request for written amendment filed

Free format text: JAPANESE INTERMEDIATE CODE: A523

Effective date: 20240827

TRDD Decision of grant or rejection written
A01 Written decision to grant a patent or to grant a registration (utility model)

Free format text: JAPANESE INTERMEDIATE CODE: A01

Effective date: 20240910

A61 First payment of annual fees (during grant procedure)

Free format text: JAPANESE INTERMEDIATE CODE: A61

Effective date: 20240923

R150 Certificate of patent or registration of utility model

Ref document number: 7571663

Country of ref document: JP

Free format text: JAPANESE INTERMEDIATE CODE: R150