JP7561576B2 - 請求書発行装置、請求書発行方法および請求書発行プログラム - Google Patents

請求書発行装置、請求書発行方法および請求書発行プログラム Download PDF

Info

Publication number
JP7561576B2
JP7561576B2 JP2020183752A JP2020183752A JP7561576B2 JP 7561576 B2 JP7561576 B2 JP 7561576B2 JP 2020183752 A JP2020183752 A JP 2020183752A JP 2020183752 A JP2020183752 A JP 2020183752A JP 7561576 B2 JP7561576 B2 JP 7561576B2
Authority
JP
Japan
Prior art keywords
contract
invoice
identification data
billing
data
Prior art date
Legal status (The legal status is an assumption and is not a legal conclusion. Google has not performed a legal analysis and makes no representation as to the accuracy of the status listed.)
Active
Application number
JP2020183752A
Other languages
English (en)
Other versions
JP2022073634A (ja
Inventor
健 大関
徹平 加来
駿 岩▲崎▼
剛光 上野
Original Assignee
株式会社オービック
Priority date (The priority date is an assumption and is not a legal conclusion. Google has not performed a legal analysis and makes no representation as to the accuracy of the date listed.)
Filing date
Publication date
Application filed by 株式会社オービック filed Critical 株式会社オービック
Priority to JP2020183752A priority Critical patent/JP7561576B2/ja
Publication of JP2022073634A publication Critical patent/JP2022073634A/ja
Application granted granted Critical
Publication of JP7561576B2 publication Critical patent/JP7561576B2/ja
Active legal-status Critical Current
Anticipated expiration legal-status Critical

Links

Images

Landscapes

  • Management, Administration, Business Operations System, And Electronic Commerce (AREA)

Description

本発明は、請求書発行装置、請求書発行方法および請求書発行プログラムに関する。
特許文献1には、共用設備のエネルギー使用に基づく請求金額を省エネ施策の観点から各テナントに按分する機能を提供することを目的とする課金装置及びプログラムが開示されている(特許文献1の0007段落参照)。
特開2016-81475号公報
上記特許文献1に記載のようなビルメンテナンス業界等においては、ビルメンテナンス業者は、物件の清掃および警備等の役務を取引先に対して提供する。ここで、前記取引先に提供した役務に対する請求書の作成に関しては、前記取引先毎のルールが存在することが多い。例えば、定期契約とスポット契約とで請求書を分けてほしい、前記物件毎に請求書を分けてほしい、契約番号毎に請求書を分けてほしい等である。
しかしながら、このように取引先毎に異なるルールに従って請求書を毎月発行しようとすると、前記ビルメンテナンス業者の請求書発行担当者の業務負荷が非常に大きくなってしまうという問題があった。
本発明は、上記問題点に鑑みてなされたものであって、取引先単位で決定される請求書の作成に関するルールに従った請求書を発行することができる請求書発行装置、請求書発行方法および請求書発行プログラムを提供することを目的とする。
上述した課題を解決し、目的を達成するために、本発明に係る請求書発行装置は、制御部を備え、取引先単位で決定される請求書の作成に関するルールである取引先単位ルールに従った請求書を発行可能な請求書発行装置であって、前記制御部が、契約先を識別するための契約先識別データと、前記契約先との契約を識別するための契約識別データと、を含む契約データから、契約識別データを有する請求明細データを含む請求データ中の前記契約識別データと紐づく契約先識別データを取得する契約先取得手段と、取引先を識別するための取引先識別データと、前記請求データが含む前記請求明細データを別々の請求書に分割する際の単位を識別するための分割単位識別データと、前記請求書に印字される情報の表示についての設定を識別するための表示設定識別データと、を含む取引先マスタから、前記契約先取得手段で取得した前記契約先識別データと同じ取引先識別データと紐づく分割単位識別データおよび表示設定識別データを取得する取引先情報取得手段と、前記請求データが含む前記請求明細データを前記取引先情報取得手段で取得した前記分割単位識別データで特定される分割単位に分割して取得した前記請求明細データの群それぞれに対応した請求書であって前記取引先情報取得手段で取得した前記表示設定識別データで特定される表示設定に従い情報が印字されたものを発行することにより、前記取引先単位ルールに従った請求書を発行する第一請求書発行手段と、を備えること、を特徴とする。
また、本発明に係る請求書発行装置は、ビルメンテナンス業界において使用され、前記分割単位が、契約の種類毎、前記契約毎またはビルメンテナンス業者が管理する前記取引先の物件毎であること、を特徴とする。
また、本発明に係る請求書発行装置は、前記契約単位で決定される請求書の作成に関するルールである契約単位ルールに従った請求書を発行可能であり、前記制御部が、請求書に印字される情報の内容および表示を前記契約毎に設定するための画面である契約毎請求書設定画面においてなされた設定に従い情報が印字された請求書を発行することにより、前記契約単位ルールに従った請求書を発行する第二請求書発行手段を更に備えること、を特徴とする。
また、本発明に係る請求書発行装置は、前記制御部が、前記契約識別データと、前記契約毎請求書設定画面においてなされた前記設定毎に対応付けて採番された請求グループ識別データと、を含む請求グループ明細データから、翌月の請求に関する前記請求データ中の前記契約識別データと紐づく請求グループ識別データを取得して、前記翌月の請求に関する前記請求データに格納する請求グループ格納手段を更に備え、前記第二請求書発行手段は、前記請求グループ格納手段が格納した前記請求グループ識別データと対応付く前記設定に従い情報が印字された前記翌月の請求についての請求書を発行することにより、前記契約単位ルールに従った請求書を発行すること、を特徴とする。
また、本発明に係る請求書発行方法は、制御部を備える情報処理装置で実行される、取引先単位で決定される請求書の作成に関するルールである取引先単位ルールに従った請求書を発行可能な請求書発行方法であって、前記制御部で実行される、契約先を識別するための契約先識別データと、前記契約先との契約を識別するための契約識別データと、を含む契約データから、契約識別データを有する請求明細データを含む請求データ中の前記契約識別データと紐づく契約先識別データを取得する契約先取得ステップと、取引先を識別するための取引先識別データと、前記請求データが含む前記請求明細データを別々の請求書に分割する際の単位を識別するための分割単位識別データと、前記請求書に印字される情報の表示についての設定を識別するための表示設定識別データと、を含む取引先マスタから、前記契約先取得ステップで取得した前記契約先識別データと同じ取引先識別データと紐づく分割単位識別データおよび表示設定識別データを取得する取引先情報取得ステップと、前記請求データが含む前記請求明細データを前記取引先情報取得ステップで取得した前記分割単位識別データで特定される分割単位に分割して取得した前記請求明細データの群それぞれに対応した請求書であって前記取引先情報取得ステップで取得した前記表示設定識別データで特定される表示設定に従い情報が印字されたものを発行することにより、前記取引先単位ルールに従った請求書を発行する第一請求書発行ステップと、を含むこと、を特徴とする。
また、本発明に係る請求書発行プログラムは、制御部を備える情報処理装置に実行させるための、取引先単位で決定される請求書の作成に関するルールである取引先単位ルールに従った請求書を発行可能な請求書発行プログラムであって、前記制御部に実行させるための、契約先を識別するための契約先識別データと、前記契約先との契約を識別するための契約識別データと、を含む契約データから、契約識別データを有する請求明細データを含む請求データ中の前記契約識別データと紐づく契約先識別データを取得する契約先取得ステップと、取引先を識別するための取引先識別データと、前記請求データが含む前記請求明細データを別々の請求書に分割する際の単位を識別するための分割単位識別データと、前記請求書に印字される情報の表示についての設定を識別するための表示設定識別データと、を含む取引先マスタから、前記契約先取得ステップで取得した前記契約先識別データと同じ取引先識別データと紐づく分割単位識別データおよび表示設定識別データを取得する取引先情報取得ステップと、前記請求データが含む前記請求明細データを前記取引先情報取得ステップで取得した前記分割単位識別データで特定される分割単位に分割して取得した前記請求明細データの群それぞれに対応した請求書であって前記取引先情報取得ステップで取得した前記表示設定識別データで特定される表示設定に従い情報が印字されたものを発行することにより、前記取引先単位ルールに従った請求書を発行する第一請求書発行ステップと、を含むこと、を特徴とする。
本発明によれば、取引先単位で決定される請求書の作成に関するルールに従った請求書を発行することができるという効果を奏する。
図1は、請求書発行装置の構成の一例を示すブロック図である。 図2は、取引先マスタメンテ画面および取引先マスタの一例を示す図である。 図3は、契約NO:T0001の契約についての契約データを示す図である。 図4は、契約NO:T0002の契約についての契約データを示す図である。 図5は、契約NO:T0003の契約についての契約データを示す図である。 図6は、2020年6月請求分の請求データの一例を示す図である。 図7は、物件「第一ビル」についての請求書の一例を示す図である。 図8は、物件「第二ビル」についての請求書の一例を示す図である。 図9は、請求書設定画面のうち、所定の契約を選択する部分の一例を示す図である。 図10は、請求書設定画面のうち、選択した契約について詳細情報を入力する部分の一例を示す図である。 図11は、請求グループ明細データの一例を示す図である。 図12は、契約NO:T0001についての請求書の一例を示す図である。 図13は、契約NO:T0002についての請求書の一例を示す図である。 図14は、契約NO:T0003についての請求書の一例を示す図である。 図15は、請求グループNOを格納する前における、2020年7月請求分の請求データの一例を示す図である。 図16は、請求グループNOを格納した後における、2020年7月請求分の請求データの一例を示す図である。
以下に、本発明に係る請求書発行装置、請求書発行方法および請求書発行プログラムの実施形態を、図面に基づいて詳細に説明する。なお、本実施形態により本発明が限定されるものではない。
[1.概要]
ビルメンテナンス会社は、顧客との契約内容に基づいて、提供した役務に対する請求書を毎月発行している。請求書に対する顧客からの要求は多様なものにわたり、システム対応が容易でない場合、システム外のEXCEL等で請求書を作成してしまうことがある。しかしながら、システム外での請求書発行行為は、俗人化しやすい傾向があり、内部統制の観点からも推奨されない。
ここで、オフィスビル1棟を総合管理するような契約では、例えば以下の1~3のような明細表現を各社で要求される。
1.契約内容1つ1つの作業を明細として表現する。
2.契約内容を全て1行の明細にまとめて表現する。
3.契約内容の作業の分類ごと(清掃業務、点検業務、警備業務)の明細にまとめて表現する。
また、請求書の明細表現に対する要求だけでなく、宛名や自社情報に対しての要求もあり、官公庁への請求書は、社長名および代表連絡先等を載せる必要がある。通常は、問合わせ等を受けやすいように、担当部門名と部門連絡先を載せるケースが多い。
そして、定期契約とスポット契約(単発の契約)とで請求書を分けるよう要求されることもある。
これらの要求に対応した請求書を毎月発行するために、請求書の発行の仕方をその都度設定するのは、多大な時間と労力を要していた。特に、発行する請求書の数が多い場合には、この問題は顕著であった。
そこで、本実施形態においては、例えば、取引先単位で決まるような顧客ルールについては、請求書の表現方法を顧客マスタ(取引先マスタ)および契約データに紐づけて保持することにより、請求書発行時には、その設定内容を読み込んで発行処理を行えるようにした。これにより、請求書の発行の仕方についての毎月の設定負荷を軽減することができた。これに対して、個別の契約に関する顧客要求事項は、営業担当からの依頼によって事務担当が請求書発行前に設定を行えるようにした。
また、本実施形態においては、例えば、定期契約とスポット契約(単発の契約)とで請求書を分ける設定および物件単位で請求書を分ける設定等をできるようにした。以下、具体的な構成および動作について説明する。
[2.構成]
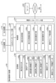
本実施形態に係る請求書発行装置100の構成の一例について、図1を参照して説明する。図1は、請求書発行装置100の構成の一例を示すブロック図である。
請求書発行装置100は、市販のデスクトップ型パーソナルコンピュータである。なお、請求書発行装置100は、デスクトップ型パーソナルコンピュータのような据置型情報処理装置に限らず、市販されているノート型パーソナルコンピュータ、PDA(Personal Digital Assistants)、スマートフォン、タブレット型パーソナルコンピュータなどの携帯型情報処理装置であってもよい。
請求書発行装置100は、制御部102と通信インターフェース部104と記憶部106と入出力インターフェース部108と、を備えている。請求書発行装置100が備えている各部は、任意の通信路を介して通信可能に接続されている。
通信インターフェース部104は、ルータ等の通信装置および専用線等の有線または無線の通信回線を介して、請求書発行装置100をネットワーク300に通信可能に接続する。通信インターフェース部104は、他の装置と通信回線を介してデータを通信する機能を有する。ここで、ネットワーク300は、請求書発行装置100とサーバ200とを相互に通信可能に接続する機能を有し、例えばインターネットやLAN(Local Area Network)等である。なお、後述する各種マスタ等のデータは、例えばサーバ200に格納されてもよい。
入出力インターフェース部108には、入力装置112および出力装置114が接続されている。出力装置114には、モニタ(家庭用テレビを含む)の他、スピーカやプリンタを用いることができる。入力装置112には、キーボード、マウス、及びマイクの他、マウスと協働してポインティングデバイス機能を実現するモニタを用いることができる。なお、以下では、出力装置114をモニタ114とし、入力装置112をキーボード112またはマウス112として記載する場合がある。
記憶部106には、各種のデータベース、テーブルおよびファイルなどが格納される。記憶部106には、OS(Operating System)と協働してCPU(Central Processing Unit)に命令を与えて各種処理を行うためのコンピュータプログラムが記録される。記憶部106として、例えば、RAM(Random Access Memory)・ROM(Read Only Memory)等のメモリ装置、ハードディスクのような固定ディスク装置、フレキシブルディスク、および光ディスク等を用いることができる。
記憶部106は、例えば、取引先マスタ106aと、契約データ106bと、請求データ106cと、請求グループ明細データ106dと、を備えている。契約データ106bは、契約基本情報データ106b1と、契約売上明細データ106bと、契約売上詳細データ106b3と、を備えている。
本実施形態に係る請求書発行装置100は、請求書を発行する業務を伴うあらゆる業界および業種において使用可能であるが、例えば、ビルメンテナンス業界において使用可能である。典型的には、ビルメンテナンス業者の請求書発行担当者が使用する。
取引先マスタ106aは、取引先単位で決定される請求書の作成に関するルールである取引先単位ルールを設定するためのマスタである。取引先マスタ106aは、図2に示すように、例えば、取引先を識別するための取引先識別データ(取引先CDおよび取引先名)と、請求データ106cが含む請求明細データを別々の請求書に分割する際の単位を識別するための分割単位識別データと、請求書に印字される情報の表示についての設定を識別するための表示設定識別データと、等を含む。
前記分割単位識別データとは、前記請求明細データが複数存在する場合に、どの単位で(どのような切り口から)、別々の請求書に分けるのかを表す情報である。前記分割単位としては、例えば、契約の種類毎(例えば、定期の契約と単発の契約とで請求書を分けたい場合に設定される)、契約毎(契約毎に請求書を分けたい場合に設定される)および前記ビルメンテナンス業者が管理する前記取引先の物件毎(建物毎に請求書を分けたい場合に設定される)等が挙げられる。本例では、図2の取引先マスタメンテ画面における「請求書発行分割パターン」の設定箇所に示すように、前記分割単位として、前記物件毎(物件別)が設定されている。
前記表示設定識別データとは、請求書に、所定の情報を表示するのかしないのか、表示する場合にはどのように表示するのか等を表す情報である。前記表示設定識別データとしては、例えば、自社情報の表示についての設定、請求先部門の表示についての設定、手数料の文言の表示についての設定、支払期日の表示についての設定および消費税の計算方式の表示についての設定等が挙げられる。本例では、図2の取引先マスタメンテ画面における「請求書印刷オプション」の設定箇所に示すように、自社情報は通常表示し、請求先部門は表示せず、手数料文言は表示し、支払期日は表示し、消費税は総額算出した額を表示する旨が設定されている。
契約基本情報データ106b1は、前記取引先との契約の基本情報を管理するデータである。契約基本情報データ106b1は、図3~図5に示すように、例えば、契約先を識別するための契約先識別データ(契約先)と、前記契約先との契約を識別するための契約識別データ(契約NO)と、プロジェクトを識別するためのプロジェクト識別データ(プロジェクト名)と、前記ビルメンテナンス業者が管理する前記取引先の物件を識別するための物件識別データ(物件)と、契約開始日と、契約終了日と、等を含む。
契約売上明細データ106b2は、各契約における業務毎の月々の請求額を管理するデータである。契約売上明細データ106b2は、図3~図5に示すように、例えば、前記契約識別データ(契約NO)と、行番号(売上明細行)と、前記業務が属する業種を識別するための業種識別データ(業種)と、前記業務を識別するための業務識別データ(業務)と、前記月々の請求額(請求額(月額))と、等を含む。
契約売上詳細データ106b3は、契約売上明細データ106b2が有するレコードを月々に展開したデータである。契約売上詳細データ106b3は、図3~図5に示すように、例えば、前記契約識別データ(契約NO)と、前記行番号(売上明細行)と、月(作業月)と、前記月々の請求額(請求額)と、等を含む。
請求データ106cは、前記取引先に対する請求額を管理するデータである。請求データ106cは、複数の請求明細データを含む。前記請求明細データは、図6、図15および図16に示すように、例えば、前記取引先に対する請求を識別するための請求識別データ(請求NO)と、前記契約識別データ(契約NO)と、前記行番号(売上明細行)と、前記業種識別データ(業種)と、前記業務識別データ(業務)と、請求をする月(作業月)と、前記月々の請求額(請求額)と、後述する請求グループ識別データ(請求グループNO)と、等を含む。前記請求グループ識別データ(請求グループNO)については、請求書設定を行っていなければ、値は更新されない。
請求グループ明細データ106dは、請求書の作成に関する契約毎の設定を識別するために採番される請求グループ識別データ(請求グループNO)を管理するためのデータである。請求グループ明細データ106dは、図11に示すように、例えば、前記契約識別データ(契約NO)と、前記行番号(売上明細行)と、前記請求グループ識別データ(請求グループNO)と、等を含む。
制御部102は、請求書発行装置100を統括的に制御するCPU等である。制御部102は、OS等の制御プログラム・各種の処理手順等を規定したプログラム・所要データなどを格納するための内部メモリを有し、格納されているこれらのプログラムに基づいて種々の情報処理を実行する。
制御部102は、機能概念的に、例えば、(1)契約先を識別するための契約先識別データと、前記契約先との契約を識別するための契約識別データと、を含む契約データから、契約識別データを有する請求明細データを含む請求データ中の前記契約識別データと紐づく契約先識別データを取得する契約先取得手段としての契約先取得部102aと、(2)取引先を識別するための取引先識別データと、前記請求データが含む前記請求明細データを別々の請求書に分割する際の単位を識別するための分割単位識別データと、前記請求書に印字される情報の表示についての設定を識別するための表示設定識別データと、を含む取引先マスタから、前記契約先取得手段で取得した前記契約先識別データと同じ取引先識別データと紐づく分割単位識別データおよび表示設定識別データを取得する取引先情報取得手段としての取引先情報取得部102bと、(3)前記請求データが含む前記請求明細データを前記取引先情報取得手段で取得した前記分割単位識別データで特定される分割単位に分割して取得した前記請求明細データの群それぞれに対応した請求書であって前記取引先情報取得手段で取得した前記表示設定識別データで特定される表示設定に従い情報が印字されたものを発行することにより、前記取引先単位ルールに従った請求書を発行する第一請求書発行手段としての第一請求書発行部102cと、(4)請求書に印字される情報の内容および表示を前記契約毎に設定するための画面である契約毎請求書設定画面においてなされた設定に従い情報が印字された請求書を発行することにより、前記契約単位ルールに従った請求書を発行する第二請求書発行手段としての第二請求書発行部102dと、(5)前記契約識別データと、前記契約毎請求書設定画面においてなされた前記設定毎に対応付けて採番された請求グループ識別データと、を含む請求グループ明細データから、翌月の請求に関する前記請求データ中の前記契約識別データと紐づく請求グループ識別データを取得して、前記翌月の請求に関する前記請求データに格納する請求グループ格納手段としての請求グループ格納部102eと、を備えている。各部が行う具体的な処理内容については、以下の[3.処理の具体例]において説明する。
[3.処理の具体例]
本項目では、本実施形態に係る処理の具体例を説明する。本例では、ビルメンテナンス業者が、取引先である「□△工業」と3つの契約を結んだ場合に、2020年6月分および7月分の請求に関する請求書がどのように発行されるのかを説明する。
[3-1.取引先マスタの設定]
まず、取引先情報に合わせて請求書設定情報が設定される。すなわち、図2に示すように、取引先マスタメンテ画面において、取引先である「□△工業」についての請求書の作成に関するルールが設定されることにより、取引先マスタ106aが生成される。
図2の取引先マスタメンテ画面において、「定期契約別・スポット契約別」は、定期契約とスポット契約を別々に印字したい場合にチェックする項目であり、「物件別」は、請求書を物件毎に分けて印字したい場合にチェックする項目であり、「契約NO別」は、請求書を契約NO毎に分けて印字したい場合にチェックする項目である。本例においては、図2の取引先マスタメンテ画面からわかるように、「□△工業」は、請求書を「物件毎」に分けて作成することを希望している。
[3-2.契約入力]
続いて、契約入力により、契約情報が登録される。具体的には、□△工業の物件である第一ビルについての建物総合管理業務に関する契約NO:T0001の契約についての契約データ106b(図3参照)と、□△工業の物件である第一ビルについての警備業務に関する契約NO:T0002の契約についての契約データ106b(図4参照)と、□△工業の物件である第二ビルについての建物総合管理業務に関する契約NO:T0003の契約についての契約データ106b(図5参照)と、が生成される。
[3-3.請求データ生成処理]
続いて、請求データ生成処理により、請求情報が生成される。具体的には、[3-2]で生成された契約データ106bに基づいて、例えば2020年6月分の請求に関しては、図6に示す請求データ106cが生成される。
[3-4.請求書発行処理]
最後に、生成された図6の請求データ106cに基づいて、請求書が発行される。請求書の発行の仕方としては、契約個別の顧客要求がない場合とある場合とがあるため、以下、項目を分けて説明をする。なお、本項目においては、取引先マスタ106aは図2に示す内容で設定されており、契約基本情報データ106b1、契約売上明細データ106b2および契約売上詳細データ106b3は、図3~図5に示す内容で設定されているという前提で、説明を進める。
[3-4-1.契約個別の顧客要求がない場合]
本項目では、契約個別の顧客要求がない場合について説明する。すなわち、取引先単位で決定される請求書の作成に関するルールである前記取引先単位ルールに従って請求書の発行がされる場合について説明をする。
(1)契約先取得処理
最初に、契約先取得部102aは、前記契約先識別データ(契約先)と、前記契約識別データ(契約NO)と、を含む契約データ106bから、前記契約識別データを有する前記請求明細データを含む請求データ106c中の前記契約識別データと紐づく契約先識別データを取得する。
具体的には、図6の請求データ106cにおいては、契約NO:T0001を有する請求明細データは3つ存在する。この場合、契約先取得部102aは、図3の契約基本情報データ106b1から、契約NO:T0001と紐づく情報として、契約先「□△工業」および物件「第一ビル」等を取得する。
また、図6の請求データ106cにおいては、契約NO:T0002を有する請求明細データは1つ存在する。この場合、契約先取得部102aは、図4の契約基本情報データ106b1から、契約NO:T0002と紐づく情報として、契約先「□△工業」および物件「第一ビル」等を取得する。
そして、図6の請求データ106cにおいては、契約NO:T0003を有する請求明細データは3つ存在する。この場合、契約先取得部102aは、図5の契約基本情報データ106b1から、契約NO:T0003と紐づく情報として、契約先「□△工業」および物件「第二ビル」等を取得する。
(2)取引先情報取得処理
次に、取引先情報取得部102bは、前記取引先識別データ(取引先CD)と、前記分割単位識別データ(請求書発行分割パターン)と、前記表示設定識別データ(請求書印刷オプション)と、を含む取引先マスタ106aから、契約先取得部102aで取得した前記契約先識別データ(契約先)と同じ前記取引先識別データ(取引先CD)と紐づく前記分割単位識別データ(請求書発行分割パターン)および前記表示設定識別データ(請求書印刷オプション)を取得する。
具体的には、契約先取得部102aは、(1)において、図6の請求データ106cが含む7つの請求明細データすべてについて、契約先として「□△工業」をしている。このため、取引先情報取得部102bは、当該7つの請求明細データすべてについて、図2の取引先マスタ106aから、契約先取得部102aで取得した契約先「□△工業」と紐づく情報として、以下のものを取得する。すなわち、前記請求書発行分割パターンとしては、「定期契約別・スポット契約別=オフ、物件別=オン、契約NO別=オフ」を取得する。また、前記請求書印刷オプションとしては、「自社情報表示=通常、請求先部門表示=非表示、手数料文言表示=表示、支払期日表示=表示、消費税計算方式=総額算出」を取得する。
(3)第一請求書発行処理
最後に、第一請求書発行部102cは、請求データ106cが含む前記請求明細データを取引先情報取得部102bで取得した前記分割単位識別データ(請求書発行分割パターン)で特定される分割単位に従い分割して取得した前記請求明細データの群それぞれに対応した請求書であって、取引先情報取得部102bで取得した前記表示設定識別データ(請求書印刷オプション)で特定される表示設定に従い情報が印字されたものを発行することにより、前記取引先単位ルールに従った請求書(図7~図8参照)を発行する。
具体的には、取引先情報取得部102bは、(2)において、前記請求書発行分割パターンとして「物件別=オン」を取得したため、物件単位で請求書が発行される。ここで、(1)で説明したように、契約先取得部102aは、契約NO:T0001を有する3つの請求明細データについては物件として「第一ビル」を取得し、契約NO:T0002を有する1つの請求明細データについても物件として「第一ビル」を取得し、一方で、契約NO:T0003を有する3つの請求明細データについては物件として「第二ビル」を取得している。このため、第一請求書発行部102cは、物件「第一ビル」に対応する請求書として、契約NO:T0001を有する3つの請求明細データおよび契約NO:T0002を有する1つの請求明細データに基づいて、図7に示す請求書を発行し、一方で、物件「第二ビル」に対応する請求書として、契約NO:T0003を有する3つの請求明細データに基づいて、図8に示す請求書を発行する。
図7に示す請求書は、物件「第一ビル」に対応する請求書であるため、「物件:第一ビル」が印字されている。また、契約NO:T0001を有する3つの請求明細データおよび契約NO:T0002を有する1つの請求明細データに含まれる業務および請求額が印字されている。そして、取引先情報取得部102bは、(2)において、7つの請求明細データすべてについて、前記請求書印刷オプションとして「自社情報表示=通常、請求先部門表示=非表示、手数料文言表示=表示、支払期日表示=表示、消費税計算方式=総額算出」を取得しているため、請求書には、自社情報として「清掃サービス第一清掃部門」が印字され、請求先部門は印字されず、手数料文言として「振込手数料はご負担ください」が印字され、支払期日として「支払期日:2020年7月31日」が印字されている。
図8に示す請求書は、物件「第二ビル」に対応する請求書であるため、「物件:第二ビル」が印字されている。また、契約NO:T0003を有する3つの請求明細データ中の業務および請求額が印字されている。前記請求書印刷オプションの表示については、前段落で説明した図7の請求書と同様であるため、説明は省略する。
このように、本実施形態に係る請求書発行装置100によれば、ビルメンテナンス業者の取引先「□△工業」に対する2020年6月分の請求に関する請求書を「物件単位」の設定に従い発行することができる。
[3-4-2.契約個別の顧客要求がある場合]
本項目では、契約個別の顧客要求がある場合について説明する。すなわち、契約単位で決定される請求書の作成に関するルールである契約単位ルールに従って請求書の発行がされる場合について説明をする。ビルメンテナンス業者の請求書発行の担当者は、営業担当からの口頭連絡等により、取引先が契約毎に請求書の作成の仕方を分けることを希望している旨を知ることができる。
(1)契約先取得処理
最初に、契約先取得部102aは、[3-4-1]の(1)と同様の方法で、前記契約先識別データ(契約先)および物件等を取得する。詳細な処理内容は同様であるため省略するが、契約先取得部102aは、契約NO:T0001と紐づく情報として、契約先「□△工業」および物件「第一ビル」等を取得し、契約NO:T0002と紐づく情報として、契約先「□△工業」および物件「第一ビル」等を取得し、契約NO:T0003と紐づく情報として、契約先「□△工業」および物件「第二ビル」等を取得する。
(2)請求書設定画面における設定
次に、ビルメンテナンス業者の請求書発行の担当者は、請求書に印字される情報の内容および表示を前記契約毎に設定するための画面である契約毎請求書設定画面(図9参照)において、所定の契約を選択する。例えば、図9に示すように、契約NO:T0001を選択すると、図10に示すように、更に別窓で前記契約毎請求書設定画面(図10参照)が表示され、当該画面から、契約NO:T0001の契約についての請求書に印字される情報の内容および表示についての設定をすることができる。
図10に示すように、契約NO:T0001の契約については、図10に示す前記契約毎請求書設定画面から、請求先情報および請求書印刷オプションが設定される。前記請求書印刷オプションとしては、「明細集計表示=総合計、自社情報表示=社長名、請求先部門表示=非表示、手数料文言表示=表示、支払期日表示=非表示、消費税計算方式=総額算出」が設定されている。また、契約NO:T0001の契約についての設定に対しては、図10に示すように、前記請求グループ識別データ(請求グループNO)として「SG0001」が採番される。
また、図示しないが、契約NO:T0002の契約についても、図10と同様の前記契約毎請求書設定画面から、請求先情報および請求書印刷オプションを設定することができる。前記請求書印刷オプションとしては、「明細集計表示=総合計、自社情報表示=通常、請求先部門表示=非表示、手数料文言表示=表示、支払期日表示=表示、消費税計算方式=総額算出」が設定されるものとする。また、契約NO:T0002の契約についての設定に対しては、前記請求グループ識別データ(請求グループNO)として「SG0002」が採番されるものとする。
そして、図示しないが、契約NO:T0003の契約についても、図10と同様の前記契約毎請求書設定画面から、請求先情報および請求書印刷オプションを設定することができる。前記請求書印刷オプションとしては、「明細集計表示=通常、自社情報表示=通常、請求先部門表示=非表示、手数料文言表示=表示、支払期日表示=表示、消費税計算方式=総額算出」が設定されるものとする。また、契約NO:T0003の契約についての設定に対しては、前記請求グループ識別データ(請求グループNO)として「SG0003」が採番されるものとする。
採番された前記請求グループ識別データ(請求グループNO)は、図11に示すように、前記契約識別データ(契約NO)と紐づけて、請求グループ明細データ106d中に格納される。
(3)第二請求書発行処理
次に、第二請求書発行部102dは、前記契約毎請求書設定画面(図10参照)においてなされた設定に従い情報が印字された請求書を発行することにより、前記契約単位ルールに従った請求書(図12~図14参照)を発行する。すなわち、第二請求書発行部102dは、契約NO:T0001に対応する請求書として図12に示す請求書を発行し、契約NO:T0002に対応する請求書として図13に示す請求書を発行し、契約NO:T0003に対応する請求書として図14に示す請求書を発行する。
図12には、契約NO:T0001の契約に対応する請求書を示している。物件としては、契約先取得部102aが(1)において取得した「第一ビル」が印字されている。また、(2)で説明したように、契約NO:T0001の契約については、前記請求書印刷オプションとして「明細集計表示=総合計」が選択されているため、契約NO:T0001を有する請求明細データが有する請求額(25,000円、40,000円および18,000円)の総合計である83,000円が印字されている。そして、(2)で説明したように、前記請求書印刷オプションとして「自社情報表示=社長名、請求先部門表示=非表示、手数料文言表示=表示、支払期日表示=非表示、消費税計算方式=総額算出」が選択されているため、自社情報として「清掃サービス 代表取締役 山田太郎」が印字され、請求先部門は印字されず、手数料文言として「振込手数料はご負担ください」が印字され、支払期日は印字されていない。
図13には、契約NO:T0002の契約に対応する請求書を示している。物件としては、契約先取得部102aが(1)において取得した「第一ビル」が印字されている。また、(2)で説明したように、契約NO:T0002の契約については、前記請求書印刷オプションとして「明細集計表示=総合計」が選択されているため、契約NO:T0002を有する請求明細データが有する請求額(37,000円)の総合計である37,000円が印字されている。そして、(2)で説明したように、前記請求書印刷オプションとして「自社情報表示=通常、請求先部門表示=非表示、手数料文言表示=表示、支払期日表示=表示、消費税計算方式=総額算出」が選択されているため、自社情報として「清掃サービス 第一清掃部門」が印字され、請求先部門は印字されず、手数料文言として「振込手数料はご負担ください」が印字され、支払期日として「支払期日:2020年7月31日」が印字されている。
図14には、契約NO:T0003の契約に対応する請求書を示している。物件としては、契約先取得部102aが(1)において取得した「第二ビル」が印字されている。また、(2)で説明したように、契約NO:T0003の契約については、前記請求書印刷オプションとして「明細集計表示=通常」が選択されているため、契約NO:T0003を有する請求明細データが有する請求額(20,000円、30,000円および15,000円)のそれぞれが印字されている。そして、(2)で説明したように、前記請求書印刷オプションとして「自社情報表示=通常、請求先部門表示=非表示、手数料文言表示=表示、支払期日表示=表示、消費税計算方式=総額算出」が選択されているため、自社情報として「清掃サービス 第一清掃部門」が印字され、請求先部門は印字されず、手数料文言として「振込手数料はご負担ください」が印字され、支払期日として「支払期日:2020年7月31日」が印字されている。
このように、本実施形態に係る請求書発行装置100によれば、ビルメンテナンス業者の取引先「□△工業」に対する2020年6月分の請求に関する請求書を「契約単位」の設定に従い発行することができる。
(4)請求グループ格納処理
請求グループ格納部102eは、前記契約識別データ(契約NO)と、前記契約毎請求書設定画面(図10参照)においてなされた前記設定毎に対応付けて採番された請求グループ識別データ(請求グループNO)と、を含む請求グループ明細データ106d(図11参照)から、翌月の請求に関する請求データ106c中の前記契約識別データ(契約NO)と紐づく請求グループ識別データ(請求グループNO)を取得して、前記翌月の請求に関する請求データ106cに格納する。
具体的には、翌月である2020年7月分の請求に関する請求データ106cが図15のとおりであるとすると、請求グループ格納部102eは、図11に示す請求グループ明細データ106dから、請求データ106c中の契約NO:T0001と紐づく請求グループNOとして「SG0001」を取得し、請求データ106c中の契約NO:T0002と紐づく請求グループNOとして「SG0002」を取得し、請求データ106c中の契約NO:T0003と紐づく請求グループNOとして「SG0003」を取得する。そして、請求グループ格納部102eは、当該取得した請求グループNOを、2020年7月分の請求に関する請求データ106cに格納する。格納後の請求データ106cを、図16に示す。
続けて、第二請求書発行部102dは、請求グループ格納部102eが格納した前記請求グループ識別データ(請求グループNO)と対応付く前記設定に従い情報が印字された前記翌月の請求についての請求書を発行することにより、前記契約単位ルールに従った請求書を発行する。
具体的には、第二請求書発行部102dは、SG0001に対応する設定に従って、契約NO:T0001の契約に対応する2020年7月分の請求書を発行する。SG0001に対応する設定とは、契約NO:T0001の契約に対応する2020年6月分の請求書(図12参照)を発行するための設定と同様の設定を指す。
また、第二請求書発行部102dは、SG0002に対応する設定に従って、契約NO:T0002の契約に対応する2020年7月分の請求書を発行する。SG0002に対応する設定とは、契約NO:T0002の契約に対応する2020年6月分の請求書(図13参照)を発行するための設定と同様の設定を指す。
そして、第二請求書発行部102dは、SG0003に対応する設定に従って、契約NO:T0003の契約に対応する2020年7月分の請求書を発行する。SG0003に対応する設定とは、契約NO:T0003の契約に対応する2020年6月分の請求書(図14参照)を発行するための設定と同様の設定を指す。
このように、本実施形態に係る請求書発行装置100によれば、2020年6月に請求書を発行する際に、契約NOと請求グループNOとを紐づけて請求グループ明細データ106dに保持させておくことにより、翌月の2020年7月に再度の設定をすることなく、請求書を「契約単位」の設定に従い発行することができる。言い換えると、一度なされた設定の内容は、翌月以降の請求データ106cに引き継がれる。
[4.本実施形態のまとめ]
以上説明してきたように、本実施形態に係る請求書発行装置100によれば、取引先単位で決定される請求書の作成に関するルールに従った請求書を発行することができる。また、本実施形態に係る請求書発行装置100によれば、例えば、契約単位で決定される請求書の作成に関するルールに従った請求書を発行することもでき、更には、翌月以降も改めて設定をすることなく、このような発行が可能である。
[5.他の実施形態]
本発明は、上述した実施形態以外にも、特許請求の範囲に記載した技術的思想の範囲内において種々の異なる実施形態にて実施されてよいものである。
例えば、実施形態において説明した各処理のうち、自動的に行われるものとして説明した処理の全部または一部を手動的に行うこともでき、あるいは、手動的に行われるものとして説明した処理の全部または一部を公知の方法で自動的に行うこともできる。
また、本明細書中や図面中で示した処理手順、制御手順、具体的名称、各処理の登録データや検索条件等のパラメータを含む情報、画面例、データベース構成については、特記する場合を除いて任意に変更することができる。
また、請求書発行装置100に関して、図示の各構成要素は機能概念的なものであり、必ずしも物理的に図示の如く構成されていることを要しない。
例えば、請求書発行装置100が備える処理機能、特に制御部にて行われる各処理機能については、その全部または任意の一部を、CPUおよび当該CPUにて解釈実行されるプログラムにて実現してもよく、また、ワイヤードロジックによるハードウェアとして実現してもよい。尚、プログラムは、本実施形態で説明した処理を情報処理装置に実行させるためのプログラム化された命令を含む一時的でないコンピュータ読み取り可能な記録媒体に記録されており、必要に応じて請求書発行装置100に機械的に読み取られる。すなわち、ROMまたはHDD(Hard Disk Drive)などの記憶部などには、OSと協働してCPUに命令を与え、各種処理を行うためのコンピュータプログラムが記録されている。このコンピュータプログラムは、RAMにロードされることによって実行され、CPUと協働して制御部を構成する。
また、このコンピュータプログラムは、請求書発行装置100に対して任意のネットワークを介して接続されたアプリケーションプログラムサーバに記憶されていてもよく、必要に応じてその全部または一部をダウンロードすることも可能である。
また、本実施形態で説明した処理を実行するためのプログラムを、一時的でないコンピュータ読み取り可能な記録媒体に格納してもよく、また、プログラム製品として構成することもできる。ここで、この「記録媒体」とは、メモリーカード、USB(Universal Serial Bus)メモリ、SD(Secure Digital)カード、フレキシブルディスク、光磁気ディスク、ROM、EPROM(Erasable Programmable Read Only Memory)、EEPROM(登録商標)(Electrically Erasable and Programmable Read Only Memory)、CD-ROM(Compact Disk Read Only Memory)、MO(Magneto-Optical disk)、DVD(Digital Versatile Disk)、および、Blu-ray(登録商標) Disc等の任意の「可搬用の物理媒体」を含むものとする。
また、「プログラム」とは、任意の言語または記述方法にて記述されたデータ処理方法であり、ソースコードまたはバイナリコード等の形式を問わない。なお、「プログラム」は必ずしも単一的に構成されるものに限られず、複数のモジュールやライブラリとして分散構成されるものや、OSに代表される別個のプログラムと協働してその機能を達成するものをも含む。なお、実施形態に示した各装置において記録媒体を読み取るための具体的な構成および読み取り手順ならびに読み取り後のインストール手順等については、周知の構成や手順を用いることができる。
記憶部に格納される各種のデータベース等は、RAM、ROM等のメモリ装置、ハードディスク等の固定ディスク装置、フレキシブルディスク、および、光ディスク等のストレージ手段であり、各種処理やウェブサイト提供に用いる各種のプログラム、テーブル、データベース、および、ウェブページ用ファイル等を格納する。
また、請求書発行装置100は、既知のパーソナルコンピュータまたはワークステーション等の情報処理装置として構成してもよく、また、任意の周辺装置が接続された当該情報処理装置として構成してもよい。また、請求書発行装置100は、当該装置に本実施形態で説明した処理を実現させるソフトウェア(プログラムまたはデータ等を含む)を実装することにより実現してもよい。
更に、装置の分散・統合の具体的形態は図示するものに限られず、その全部または一部を、各種の付加等に応じてまたは機能負荷に応じて、任意の単位で機能的または物理的に分散・統合して構成することができる。すなわち、上述した実施形態を任意に組み合わせて実施してもよく、実施形態を選択的に実施してもよい。
本発明は、例えば、不動産保守業界において有用であり、特に、ビルメンテナンス業界等においては極めて有用である。
100 請求書発行装置
102 制御部
102a 契約先取得部
102b 取引先情報取得部
102c 第一請求書発行部
102d 第二請求書発行部
102e 請求グループ格納部
104 通信インターフェース部
106 記憶部
106a 取引先マスタ
106b 契約データ
106b1 契約基本情報データ
106b2 契約売上明細データ
106b3 契約売上詳細データ
106c 請求データ
106d 請求グループ明細データ
108 入出力インターフェース部
112 入力装置
114 出力装置
200 サーバ
300 ネットワーク

Claims (5)

  1. 制御部を備え、取引先単位で決定される請求書の作成に関するルールである取引先単位ルールに従った請求書、および契約単位で決定される請求書の作成に関するルールである契約単位ルールに従った請求書を発行可能な請求書発行装置であって、
    前記制御部は、
    契約先を識別するための契約先識別データと、前記契約先との契約を識別するための契約識別データと、を含む契約データから、契約識別データを有する請求明細データを含む請求データ中の前記契約識別データと紐づく契約先識別データを取得する契約先取得手段と、
    取引先を識別するための取引先識別データと、前記請求データが含む前記請求明細データを別々の請求書に分割する際の単位を識別するための分割単位識別データと、前記請求書に印字される情報の表示についての設定を識別するための表示設定識別データと、を含む取引先マスタから、前記契約先取得手段で取得した前記契約先識別データと同じ取引先識別データと紐づく分割単位識別データおよび表示設定識別データを取得する取引先情報取得手段と、
    前記請求データが含む前記請求明細データを前記取引先情報取得手段で取得した前記分割単位識別データで特定される分割単位に分割して取得した前記請求明細データの群それぞれに対応した請求書であって前記取引先情報取得手段で取得した前記表示設定識別データで特定される表示設定に従い情報が印字されたものを発行することにより、前記取引先単位ルールに従った請求書を発行する第一請求書発行手段と、
    前記請求データが含む前記請求明細データを前記取引先情報取得手段で取得した前記分割単位識別データで特定される分割単位が契約単位である場合、請求書に印字される情報の内容および表示を前記契約毎に設定するための画面である契約毎請求書設定画面においてなされた設定に従い情報が印字された請求書を発行することにより、前記契約単位ルールに従った請求書を発行する第二請求書発行手段と、
    を備えること、
    を特徴とする請求書発行装置。
  2. ビルメンテナンス業界において使用され、
    前記分割単位が、契約の種類毎、前記契約毎またはビルメンテナンス業者が管理する前記取引先の物件毎であること、
    を特徴とする請求項1に記載の請求書発行装置。
  3. 前記制御部は、前記契約識別データと、前記契約毎請求書設定画面においてなされた前記設定毎に対応付けて採番された請求グループ識別データと、を含む請求グループ明細データから、翌月の請求に関する前記請求データ中の前記契約識別データと紐づく請求グループ識別データを取得して、前記翌月の請求に関する前記請求データに格納する請求グループ格納手段を更に備え、
    前記第二請求書発行手段は、前記請求グループ格納手段が格納した前記請求グループ識別データと対応付く前記設定に従い情報が印字された前記翌月の請求についての請求書を発行することにより、前記契約単位ルールに従った請求書を発行すること、
    を特徴とする請求項に記載の請求書発行装置。
  4. 制御部を備える情報処理装置で実行される、取引先単位で決定される請求書の作成に関するルールである取引先単位ルールに従った請求書、および契約単位で決定される請求書の作成に関するルールである契約単位ルールに従った請求書を発行可能な請求書発行方法であって、
    前記制御部で実行される、
    契約先を識別するための契約先識別データと、前記契約先との契約を識別するための契約識別データと、を含む契約データから、契約識別データを有する請求明細データを含む請求データ中の前記契約識別データと紐づく契約先識別データを取得する契約先取得ステップと、
    取引先を識別するための取引先識別データと、前記請求データが含む前記請求明細データを別々の請求書に分割する際の単位を識別するための分割単位識別データと、前記請求書に印字される情報の表示についての設定を識別するための表示設定識別データと、を含む取引先マスタから、前記契約先取得ステップで取得した前記契約先識別データと同じ取引先識別データと紐づく分割単位識別データおよび表示設定識別データを取得する取引先情報取得ステップと、
    前記請求データが含む前記請求明細データを前記取引先情報取得ステップで取得した前記分割単位識別データで特定される分割単位に分割して取得した前記請求明細データの群それぞれに対応した請求書であって前記取引先情報取得ステップで取得した前記表示設定識別データで特定される表示設定に従い情報が印字されたものを発行することにより、前記取引先単位ルールに従った請求書を発行する第一請求書発行ステップと、
    を含
    前記第一請求書発行ステップにおいて、前記請求データが含む前記請求明細データを前記取引先情報取得ステップで取得した前記分割単位識別データで特定される分割単位が契約単位である場合、請求書に印字される情報の内容および表示を前記契約毎に設定するための画面である契約毎請求書設定画面においてなされた設定に従い情報が印字された請求書を発行することにより、前記契約単位ルールに従った請求書を発行すること、
    を特徴とする請求書発行方法。
  5. 制御部を備える情報処理装置に実行させるための、取引先単位で決定される請求書の作成に関するルールである取引先単位ルールに従った請求書、および契約単位で決定される請求書の作成に関するルールである契約単位ルールに従った請求書を発行可能な請求書発行プログラムであって、
    前記制御部に実行させるための、
    契約先を識別するための契約先識別データと、前記契約先との契約を識別するための契約識別データと、を含む契約データから、契約識別データを有する請求明細データを含む請求データ中の前記契約識別データと紐づく契約先識別データを取得する契約先取得ステップと、
    取引先を識別するための取引先識別データと、前記請求データが含む前記請求明細データを別々の請求書に分割する際の単位を識別するための分割単位識別データと、前記請求書に印字される情報の表示についての設定を識別するための表示設定識別データと、を含む取引先マスタから、前記契約先取得ステップで取得した前記契約先識別データと同じ取引先識別データと紐づく分割単位識別データおよび表示設定識別データを取得する取引先情報取得ステップと、
    前記請求データが含む前記請求明細データを前記取引先情報取得ステップで取得した前記分割単位識別データで特定される分割単位に分割して取得した前記請求明細データの群それぞれに対応した請求書であって前記取引先情報取得ステップで取得した前記表示設定識別データで特定される表示設定に従い情報が印字されたものを発行することにより、前記取引先単位ルールに従った請求書を発行する第一請求書発行ステップと、
    を含
    前記第一請求書発行ステップにおいて、前記請求データが含む前記請求明細データを前記取引先情報取得ステップで取得した前記分割単位識別データで特定される分割単位が契約単位である場合、請求書に印字される情報の内容および表示を前記契約毎に設定するための画面である契約毎請求書設定画面においてなされた設定に従い情報が印字された請求書を発行することにより、前記契約単位ルールに従った請求書を発行すること、
    を特徴とする請求書発行プログラム。
JP2020183752A 2020-11-02 2020-11-02 請求書発行装置、請求書発行方法および請求書発行プログラム Active JP7561576B2 (ja)

Priority Applications (1)

Application Number Priority Date Filing Date Title
JP2020183752A JP7561576B2 (ja) 2020-11-02 2020-11-02 請求書発行装置、請求書発行方法および請求書発行プログラム

Applications Claiming Priority (1)

Application Number Priority Date Filing Date Title
JP2020183752A JP7561576B2 (ja) 2020-11-02 2020-11-02 請求書発行装置、請求書発行方法および請求書発行プログラム

Publications (2)

Publication Number Publication Date
JP2022073634A JP2022073634A (ja) 2022-05-17
JP7561576B2 true JP7561576B2 (ja) 2024-10-04

Family

ID=81604273

Family Applications (1)

Application Number Title Priority Date Filing Date
JP2020183752A Active JP7561576B2 (ja) 2020-11-02 2020-11-02 請求書発行装置、請求書発行方法および請求書発行プログラム

Country Status (1)

Country Link
JP (1) JP7561576B2 (ja)

Families Citing this family (2)

* Cited by examiner, † Cited by third party
Publication number Priority date Publication date Assignee Title
JP7764321B2 (ja) * 2022-06-20 2025-11-05 株式会社オービック 帳票データ生成装置、帳票データ生成方法、および帳票データ生成プログラム
JP2024002663A (ja) * 2022-06-24 2024-01-11 弁護士ドットコム株式会社 契約管理プログラム、情報処理装置、情報処理システム、情報処理方法、情報処理端末

Citations (3)

* Cited by examiner, † Cited by third party
Publication number Priority date Publication date Assignee Title
JP2000311210A (ja) 1999-04-28 2000-11-07 Mitsubishi Electric Systemware Corp 請求書発行システム及びプログラムを記録したコンピュータ読み取り可能な記録媒体
JP2001195472A (ja) 2000-01-13 2001-07-19 Mitsubishi Electric Corp 契約情報管理システム
JP2018120396A (ja) 2017-01-25 2018-08-02 株式会社オービック 請求書データ生成装置、請求書データ生成方法および請求書データ生成プログラム

Family Cites Families (1)

* Cited by examiner, † Cited by third party
Publication number Priority date Publication date Assignee Title
JPH06325057A (ja) * 1993-05-10 1994-11-25 Toppan Moore Co Ltd 請求書発行方法

Patent Citations (3)

* Cited by examiner, † Cited by third party
Publication number Priority date Publication date Assignee Title
JP2000311210A (ja) 1999-04-28 2000-11-07 Mitsubishi Electric Systemware Corp 請求書発行システム及びプログラムを記録したコンピュータ読み取り可能な記録媒体
JP2001195472A (ja) 2000-01-13 2001-07-19 Mitsubishi Electric Corp 契約情報管理システム
JP2018120396A (ja) 2017-01-25 2018-08-02 株式会社オービック 請求書データ生成装置、請求書データ生成方法および請求書データ生成プログラム

Also Published As

Publication number Publication date
JP2022073634A (ja) 2022-05-17

Similar Documents

Publication Publication Date Title
JP2024144733A (ja) 部門間情報共有装置、部門間情報共有方法、及び部門間情報共有プログラム
JP7561576B2 (ja) 請求書発行装置、請求書発行方法および請求書発行プログラム
JP7324162B2 (ja) 原価出力装置、原価出力方法、及び原価出力プログラム
JP6798856B2 (ja) 金額算出装置、金額算出方法および金額算出プログラム
JP7644288B2 (ja) 家賃等誤支払防止装置、家賃等誤支払防止方法および家賃等誤支払防止プログラム
JP7667900B2 (ja) 換算レート管理装置、換算レート管理方法、及び換算レート管理プログラム
JP7614313B2 (ja) 業務支援装置、業務支援方法および業務支援プログラム
JP7565726B2 (ja) 分析コード別収支管理システム、分析コード別収支管理方法、及び分析コード別収支管理プログラム
JP2023132177A (ja) 給与計算装置、給与計算方法、及び、給与計算プログラム
JP7636961B2 (ja) 収支管理装置、収支管理方法、及び収支管理プログラム
JP7726961B2 (ja) 請求書処理装置、請求書処理方法、及び請求書処理プログラム
JP7605681B2 (ja) 相殺処理装置、相殺処理方法、及び相殺処理プログラム
JP7557495B2 (ja) 労災保険更新装置、労災保険更新方法、および、労災保険更新プログラム
JP7591000B2 (ja) 不正登録防止装置、不正登録防止方法、および、不正登録防止プログラム
JP7561937B2 (ja) 店舗社販売上管理装置、店舗社販売上管理方法、および、店舗社販売上管理プログラム
JP7572918B2 (ja) 債権管理装置、債権管理方法および債権管理プログラム
JP7795500B2 (ja) 業務支援装置、業務支援方法、及び業務支援プログラム
JP7340080B2 (ja) 与信余力算出装置、与信余力算出方法および与信余力算出プログラム
JP7517912B2 (ja) 時間単価取得装置、時間単価取得方法および時間単価取得プログラム
JP7445517B2 (ja) 業務支援装置、業務支援方法、及び業務支援プログラム
JP7543086B2 (ja) 消込・仕訳生成実行装置、消込・仕訳生成実行方法および消込・仕訳生成実行プログラム
JP7470000B2 (ja) 損益管理シミュレーション装置、損益管理シミュレーション方法、及び損益管理シミュレーションプログラム
JP2020155048A (ja) 業務支援装置、業務支援プログラムおよび業務支援方法
JP2019212093A (ja) 仕訳作成装置、仕訳作成方法および仕訳作成プログラム
JP2019016234A (ja) 販売管理装置、販売管理方法、および、販売管理プログラム

Legal Events

Date Code Title Description
A621 Written request for application examination

Free format text: JAPANESE INTERMEDIATE CODE: A621

Effective date: 20230620

A977 Report on retrieval

Free format text: JAPANESE INTERMEDIATE CODE: A971007

Effective date: 20240528

A131 Notification of reasons for refusal

Free format text: JAPANESE INTERMEDIATE CODE: A131

Effective date: 20240604

A521 Request for written amendment filed

Free format text: JAPANESE INTERMEDIATE CODE: A523

Effective date: 20240627

TRDD Decision of grant or rejection written
A01 Written decision to grant a patent or to grant a registration (utility model)

Free format text: JAPANESE INTERMEDIATE CODE: A01

Effective date: 20240827

A61 First payment of annual fees (during grant procedure)

Free format text: JAPANESE INTERMEDIATE CODE: A61

Effective date: 20240924

R150 Certificate of patent or registration of utility model

Ref document number: 7561576

Country of ref document: JP

Free format text: JAPANESE INTERMEDIATE CODE: R150