JP7555422B2 - アンテナ基板 - Google Patents

アンテナ基板 Download PDF

Info

Publication number
JP7555422B2
JP7555422B2 JP2022559086A JP2022559086A JP7555422B2 JP 7555422 B2 JP7555422 B2 JP 7555422B2 JP 2022559086 A JP2022559086 A JP 2022559086A JP 2022559086 A JP2022559086 A JP 2022559086A JP 7555422 B2 JP7555422 B2 JP 7555422B2
Authority
JP
Japan
Prior art keywords
pattern
conductor
axis direction
long side
antenna
Prior art date
Legal status (The legal status is an assumption and is not a legal conclusion. Google has not performed a legal analysis and makes no representation as to the accuracy of the status listed.)
Active
Application number
JP2022559086A
Other languages
English (en)
Other versions
JPWO2022091963A1 (ja
Inventor
敬三 櫻井
Current Assignee (The listed assignees may be inaccurate. Google has not performed a legal analysis and makes no representation or warranty as to the accuracy of the list.)
Kyocera Corp
Original Assignee
Kyocera Corp
Priority date (The priority date is an assumption and is not a legal conclusion. Google has not performed a legal analysis and makes no representation as to the accuracy of the date listed.)
Filing date
Publication date
Application filed by Kyocera Corp filed Critical Kyocera Corp
Publication of JPWO2022091963A1 publication Critical patent/JPWO2022091963A1/ja
Application granted granted Critical
Publication of JP7555422B2 publication Critical patent/JP7555422B2/ja
Active legal-status Critical Current
Anticipated expiration legal-status Critical

Links

Images

Classifications

    • HELECTRICITY
    • H01ELECTRIC ELEMENTS
    • H01QANTENNAS, i.e. RADIO AERIALS
    • H01Q1/00Details of, or arrangements associated with, antennas
    • H01Q1/36Structural form of radiating elements, e.g. cone, spiral, umbrella; Particular materials used therewith
    • H01Q1/38Structural form of radiating elements, e.g. cone, spiral, umbrella; Particular materials used therewith formed by a conductive layer on an insulating support
    • HELECTRICITY
    • H01ELECTRIC ELEMENTS
    • H01QANTENNAS, i.e. RADIO AERIALS
    • H01Q1/00Details of, or arrangements associated with, antennas
    • H01Q1/48Earthing means; Earth screens; Counterpoises
    • HELECTRICITY
    • H01ELECTRIC ELEMENTS
    • H01QANTENNAS, i.e. RADIO AERIALS
    • H01Q21/00Antenna arrays or systems
    • H01Q21/24Combinations of antenna units polarised in different directions for transmitting or receiving circularly and elliptically polarised waves or waves linearly polarised in any direction
    • HELECTRICITY
    • H01ELECTRIC ELEMENTS
    • H01QANTENNAS, i.e. RADIO AERIALS
    • H01Q9/00Electrically-short antennas having dimensions not more than twice the operating wavelength and consisting of conductive active radiating elements
    • H01Q9/04Resonant antennas
    • H01Q9/0407Substantially flat resonant element parallel to ground plane, e.g. patch antenna
    • H01Q9/045Substantially flat resonant element parallel to ground plane, e.g. patch antenna with particular feeding means
    • HELECTRICITY
    • H05ELECTRIC TECHNIQUES NOT OTHERWISE PROVIDED FOR
    • H05KPRINTED CIRCUITS; CASINGS OR CONSTRUCTIONAL DETAILS OF ELECTRIC APPARATUS; MANUFACTURE OF ASSEMBLAGES OF ELECTRICAL COMPONENTS
    • H05K1/00Printed circuits
    • H05K1/02Details
    • H05K1/0213Electrical arrangements not otherwise provided for
    • H05K1/0216Reduction of cross-talk, noise or electromagnetic interference
    • H05K1/0218Reduction of cross-talk, noise or electromagnetic interference by printed shielding conductors, ground planes or power plane
    • HELECTRICITY
    • H05ELECTRIC TECHNIQUES NOT OTHERWISE PROVIDED FOR
    • H05KPRINTED CIRCUITS; CASINGS OR CONSTRUCTIONAL DETAILS OF ELECTRIC APPARATUS; MANUFACTURE OF ASSEMBLAGES OF ELECTRICAL COMPONENTS
    • H05K1/00Printed circuits
    • H05K1/02Details
    • H05K1/11Printed elements for providing electric connections to or between printed circuits
    • H05K1/115Via connections; Lands around holes or via connections
    • HELECTRICITY
    • H01ELECTRIC ELEMENTS
    • H01QANTENNAS, i.e. RADIO AERIALS
    • H01Q13/00Waveguide horns or mouths; Slot antennas; Leaky-waveguide antennas; Equivalent structures causing radiation along the transmission path of a guided wave
    • H01Q13/08Radiating ends of two-conductor microwave transmission lines, e.g. of coaxial lines, of microstrip lines

Landscapes

  • Engineering & Computer Science (AREA)
  • Microelectronics & Electronic Packaging (AREA)
  • Physics & Mathematics (AREA)
  • Electromagnetism (AREA)
  • Waveguide Aerials (AREA)
  • Details Of Aerials (AREA)
  • Structure Of Printed Boards (AREA)
  • Variable-Direction Aerials And Aerial Arrays (AREA)

Description

本発明は、アンテナ基板に関する。
ワイヤレスネットワークを利用した通信機器には、電気信号の送受信のため、例えば特許文献1に記載されるようなアンテナ基板が搭載されている。
従来のアンテナ基板では、アンテナが複数の周波数帯域で共振点(伝送特性が良好なポイント)を有している場合、所望の周波数帯域以外の周波数を有する電波を除去するフィルター構造などが、別途必要である。そのため、従来のアンテナ基板は、複雑な構造を有しており、小型化するのも困難である。
特開2012-182591号公報
本開示に係るアンテナ基板は、第1面、第1面の反対に位置する第2面および第1面から第2面にわたる第1スルーホール導体を有する第1絶縁層と、第1面に位置し、スロットを有するグランド導体と、第1スルーホール導体と接続される第2スルーホール導体を有し、第1面におけるグランド導体を被覆するように位置する第2絶縁層と、第2絶縁層におけるグランド導体を被覆する面と反対側の面に位置する第1アンテナ導体と、を含んでいる。スロットは、面方向においてX軸方向に延びる横スロットと面方向においてY軸方向に延びる縦スロットとが交差した十字状である。第1アンテナ導体は、第1パターン、二つの第2パターンおよび第3パターンを含んでいる。第1パターンは、X軸方向に第1長辺および第2長辺、Y軸方向に短辺を有する矩形状である。第1長辺が、横スロットと重複する部分を有し、第2長辺が横スロットと重複せず、縦スロットと重複して位置している。二つの第2パターンは、縦スロットを挟んでそれぞれ第2長辺に接して位置している。第3パターンは、X軸方向に短辺およびY軸方向に長辺を有する矩形状であり、平面透視で縦スロットに収まる位置で、第1パターンにおける第2長辺に接し、第1長辺から離れる方向に延びて第2スルーホール導体と繋がっている。横スロットは、Y軸方向にはみ出した部分を除き平面透視で第1パターン内に収まっている。第1パターンの短辺は、第3パターンの短辺よりも長い。
(A)は本開示の第1の実施形態に係るアンテナ基板を示す上面図(但し、第2絶縁層は図示せず)であり、(B)は本開示の第1の実施形態に係るアンテナ基板を矢印A側の側面からみた透視図である。 図1に示すグランド導体の斜視図である。 図1に示す第1アンテナ導体の斜視図である。 本開示の第1の実施形態に係るアンテナ基板についてのシミュレーションモデルを示す。 (A)は本開示の第2の実施形態に係るアンテナ基板を示す上面図(但し、第1アンテナ導体および第2絶縁層は図示せず)であり、(B)は本開示の第2の実施形態に係るアンテナ基板を矢印B側の側面からみた透視図である。 図5に示す第2アンテナ導体の斜視図である。 (A)~(C)は、第1アンテナ導体の種々の変形例を示す説明図である。
従来のアンテナ基板は、上記のように、所望の周波数帯域以外の周波数を有する電波を除去するフィルター構造などが、別途必要である。このように、従来のアンテナ基板は、複雑な構造を有しており、小型化するのも困難である。そのため、特定周波数帯域における伝送特性を向上させることが可能で、かつ小型化することができるアンテナ基板が求められている。
本開示に係るアンテナ基板は、上記のような特定の構成を有することによって、特定周波数帯域における伝送特性を向上させることが可能で、かつ小型化することができる。
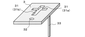
本開示の第1の実施形態に係るアンテナ基板を、図1~3に基づいて説明する。図1(A)は本開示の第1の実施形態に係るアンテナ基板1を示す上面図(但し、第2絶縁層4は図示せず)であり、(B)は本開示の第1の実施形態に係るアンテナ基板1を矢印A側の側面からみた透視図である。アンテナ基板1は、図1(A)および(B)に示すように、第1絶縁層2、グランド導体3、第2絶縁層4および第1アンテナ導体5を含む。
第1絶縁層2は、第1面S1、第2面S2および第1スルーホール導体21を含む。第1絶縁層2は、絶縁性を有する素材であれば特に限定されない。絶縁性を有する素材としては、例えば、エポキシ樹脂、ビスマレイミド-トリアジン樹脂、ポリイミド樹脂、ポリフェニレンエーテル樹脂およびテフロン(登録商標)(フッ素樹脂)などの樹脂やセラミックなどが挙げられる。これらの樹脂は2種以上を混合して用いてもよい。
第1絶縁層2は、補強材を含んでいてもよい。補強材としては、例えば、ガラス繊維、ガラス不織布、アラミド不織布、アラミド繊維、ポリエステル繊維などの絶縁性布材が挙げられる。補強材は2種以上を併用してもよい。さらに、絶縁層には、シリカ、硫酸バリウム、タルク、クレー、ガラス、炭酸カルシウム、酸化チタンなどの無機絶縁性フィラーが分散されていてもよい。
第1絶縁層2は、第1面S1から第2面S2まで貫通するスルーホールを有している。このスルーホールには、第1スルーホール導体21が位置している。第1スルーホール導体21は、導電性を有する素材であれば特に限定されない。導電性を有する素材としては、例えば、銅などの金属が挙げられる。第1スルーホール導体21は、具体的には、銅めっきなどの金属めっきによって形成される。
第1絶縁層2の第1面S1には、スロット31を有するグランド導体3が位置している。グランド導体3は、導電性を有する素材であれば特に限定されない。導電性を有する素材としては、例えば、銅などの金属が挙げられる。グランド導体3は、具体的には、銅箔などの金属箔、銅めっきなどの金属めっきによって形成される。
グランド導体3は、図1(B)および図2に示すように、グランド用スルーホール導体33を有しており、第1絶縁層2が有するスルーホール内に位置している。さらに、グランド導体3には、図1(A)および図2に示すように、クリアランス32が形成されている。クリアランス32は、例えば縦スロット31bの長辺の延長線上に位置している。
スロット31は、図1(A)に示すように、上面視した場合に、X軸方向を長軸とする横スロット31aとY軸方向を長軸とする縦スロット31bとが交差した十字状を有している。スロット31は、例えば、ベタ状の導体にエッチング処理を施すことによって得られる。スロット31の長さ(長手方向)および幅(短手方向)は、限定されない。横スロット31aおよび縦スロット31b長手方向の長さは、例えば、0.4mm以上5.4mm以下程度である。横スロット31aおよび縦スロット31b短手方向の長さは、例えば、0.1mm以上4.5mm以下程度である。
第2絶縁層4は、図1(B)に示すように、第1絶縁層2の第1面S1を被覆するように位置している。第2絶縁層4は、第1絶縁層2と同様、絶縁性を有する素材であれば特に限定されず、第1絶縁層2と同様、補強材が含まれていてもよい。絶縁性を有する素材および補強材については、上述の通りであり、詳細な説明は省略する。第2絶縁層4を形成している絶縁性を有する素材および補強材は、グランド導体3に形成されているスロット31に充填されている。
第2絶縁層4にも、第1絶縁層2と同様、上面から下面まで貫通するスルーホールが形成されている。このスルーホールには、第2スルーホール導体41が位置している。第2スルーホール導体41は、第1スルーホール導体21と対向する位置にあり電気的に接続されている。
第2絶縁層4において、グランド導体3と接する面と反対側の面には、第1アンテナ導体5が位置している。第1アンテナ導体5は、電磁波を受発信するために備えられており、導電性を有する素材であれば特に限定されない。導電性を有する素材としては、例えば、銅などの金属が挙げられる。第1アンテナ導体5は、具体的には、銅箔などの金属箔、銅めっきなどの金属めっきによって形成される。
第1アンテナ導体5は、第1パターン51、二つの第2パターン52および第3パターン53を含む。第1の実施形態に係るアンテナ基板1において、特定周波数帯域における伝送特性を向上させることが可能で、かつ小型化するために、第1パターン51、二つの第2パターン52および第3パターン53の配置が重要である。
第1パターン51は、図1(A)に示すように、X軸方向に第1長辺L1、第2長辺L2およびY軸方向に短辺を有する矩形状である。平面透視で第1長辺L1が横スロット31aと重複する部分を有し、第2長辺L2が横スロット31aと重複しないで、一部が縦スロット31bと重複する部分を有している。言い換えれば、第1パターン51は、Y軸方向において横スロット31aを跨いでいない。第1パターン51が横スロット31aを跨がないことで、第1パターン51に生じる共振領域が分散してしまうことを低減できる点で有利である。第1パターン51の短辺は、第3パターン53の短辺よりも長い。第1パターン51の長辺の長さおよび短辺の長さは限定されない。第1パターン51の第1長辺L1および第2長辺L2の長さは、例えば、0.5mm以上6mm以下程度である。第1パターン51の短辺の長さは、例えば、0.1mm以上5.5mm以下程度である。
第2パターン52は、図1(A)に示すように、縦スロット31bを挟んで第2長辺L2に接して位置している。第2パターン52において、第2長辺L2と接している部分の長さは限定されず、例えば、0.1mm以上3mm以下程度である。第2パターン52は、第2長辺L2と接している部分から、第1長辺L1と離れる方向に、例えば、0.05mm以上3mm以下程度突出している。
第3パターン53は、図1(A)に示すように、X軸方向に短辺およびY軸方向に長辺を有し、第2パターン52同士の間において、平面透視で縦スロット31bに収まる位置に、第1パターン51の第2長辺L2に接して位置している。第3パターン53の長辺は、例えば、0.5mm以上7mm以下程度である。第3パターン53の短辺は、例えば、0.03mm以上4mm以下程度である。
第3パターン53は、図1(A)に示すように、平面透視でグランド導体3に形成されたクリアランス32まで延伸している。第3パターン53は、図1(B)および図3に示すように、第2スルーホール導体41と接続されている。
横スロット31aの長辺は、図1(A)に示すように、第1パターン51の長辺よりも短く、かつ平面透視で第1パターン51の両端部内に収まる位置に存在している。つまり、横スロット31aは、Y軸方向にはみ出した部分を除き、平面透視で第1パターン51内に収まっている。
第1パターン51、二つの第2パターン52および第3パターン53が上記のように配置された第1アンテナ導体5を含む第1の実施形態に係るアンテナ基板1について、シミュレーションモデルを図4に示す。シミュレーションモデルの横軸は周波数を示し、縦軸は反射損失を示す。図4に示すシミュレーションモデルから、共振点(反射損失が低下している点)が1つの周波数帯域に出現していることがわかる。
すなわち、第1の実施形態に係るアンテナ基板1は、異なる周波数を有する電波が混在している場合に、例えばフィルターを設けなくても、1つの周波数帯の電波のみを送受信することができる。さらに、第1アンテナ導体5において、第3パターン53が第1パターン51および二つの第2パターン52で形成される間(入り江部分)に位置している。そのため、第1アンテナ導体5全体の(Y軸方向の)長さを短くすることができる。以上のように、第1の実施形態に係るアンテナ基板1は、特定周波数帯域における伝送特性を向上させることが可能であり、かつ小型化可能であることがわかる。
第1アンテナ導体5において、第1パターン51、二つの第2パターン52および第3パターン53の長辺の長さまたは短辺の長さを調整することによって、共振点の中心周波数を調整することができる。さらに、第1パターン51の短辺の長さ(Y軸方向の長さ)を調整することによって、共振点の帯域幅を広げたり狭めたりすることができる。
第1の実施形態に係るアンテナ基板1を製造する方法は限定されず、例えば、下記のような手順で製造される。まず、第1絶縁層2となる絶縁層にスルーホールを形成する。スルーホールは、例えばドリル、レーザー、ブラスト加工により形成される。スルーホールを形成した後、第1絶縁層2となる絶縁層の第1面S1にグランド導体3を形成し、スルーホールに第1スルーホール導体21およびグランド用スルーホール導体33を形成する。これらの導体は、例えばセミアディティブ法により銅めっきにより形成される。
次いで、第1絶縁層2の第1面S1を被覆するように第2絶縁層4となる絶縁層を形成する。この際、グランド導体3に形成されたスロット31に、第2絶縁層4となる絶縁層(上述の絶縁性を有する素材および補強材)が充填される。第2絶縁層4となる絶縁層に、第1スルーホール導体21と対向する位置にスルーホールを形成する。
次いで、第2絶縁層4の表面に第1アンテナ導体5、およびスルーホール内に第2スルーホール導体41を形成する。これらの導体も、例えばセミアディティブ法により銅めっきにより形成される。第1アンテナ導体5については、第1パターン51、二つの第2パターン52および第3パターン53が、上述の配置となるように形成される。このようにして、第1の実施形態に係るアンテナ基板1が得られる。
本開示のアンテナ基板は、上述の第1の実施形態に係るアンテナ基板1に限定されない。例えば、図5に示す第2の実施形態に係るアンテナ基板1’のように、第1アンテナ導体5に加えて、第2アンテナ導体5’が含まれていてもよい。図5(A)は本開示の第2の実施形態に係るアンテナ基板を示す上面図(但し、第1アンテナ導体および第2絶縁層は図示せず)である。図5(B)は本開示の第2の実施形態に係るアンテナ基板を矢印B側の側面からみた透視図である。図5(A)および(B)において、図1(A)および(B)と同じ部材については同じ符号を付しており、詳細な説明については省略する。
図5(A)および(B)に示すように、第2アンテナ導体5’は第1アンテナ導体5と異なる絶縁層上に、第1アンテナ導体5を略90°回転させた位置関係で存在している。具体的には、第1アンテナ導体5と第2アンテナ導体5’とは、グランド導体3を挟んで上下に存在している。図5(A)では、第2アンテナ導体5’を明確に示すために、第1アンテナ導体5は省略している。図5(B)に示すように、第1絶縁層2の第2面S2に、第3スルーホール導体61、および第4スルーホール導体61’を有する第3絶縁層6が、さらに位置している。第1スルーホール導体21と第3スルーホール導体61とは接続されている。第3絶縁層6の第1絶縁層2側の表面に、第4パターン54、二つの第5パターン55および第6パターン56を含む第2アンテナ導体5’が位置している。
第3絶縁層6は、第1絶縁層2および第2絶縁層4と同様、絶縁性を有する素材であれば特に限定されず、第1絶縁層2および第2絶縁層4と同様、補強材が含まれていてもよい。絶縁性を有する素材および補強材については、上述の通りであり、詳細な説明は省略する。
第2アンテナ導体5’の第4パターン54は、第1アンテナ導体5の第1パターン51に相当する部材である。第2アンテナ導体5’の二つの第5パターン55は、第1アンテナ導体5の二つの第2パターン52に相当する部材である。第2アンテナ導体5’の第6パターン56は、第1アンテナ導体5の第3パターン53に相当する部材である。
第4パターン54は、図5(A)に示すように、Y軸方向に第3長辺L3および第4長辺L4、X軸方向に短辺を有する矩形状である。平面透視で第3長辺L3が縦スロット31bと重複する部分を有し、第4長辺L4が縦スロット31bと重複せず、一部が横スロット31aと重複する部分を有している。第4パターン54の短辺は、第6パターン56の短辺よりも長い。第4パターン54の第3長辺L3および第4長辺L4の長さ、および短辺の長さは限定されない。第4パターン54の第3長辺L3の長さおよび第4長辺L4の長さは、例えば、0.2mm以上6mm以下程度である。第4パターン54の短辺の長さは、例えば、0.1mm以上5.5mm以下程度である。
二つの第5パターン55は、図5(A)に示すように、平面透視で、横スロット31aを挟んで、第4パターン54の第4長辺L4に接して位置している。二つの第5パターン55において、第4パターン54の第4長辺L4と接している部分の長さは限定されず、例えば、0.1mm以上3mm以下程度である。第5パターン55は、第4パターン54の長辺と接している部分から、第3長辺L3から離れる方向に、例えば、0.05mm以上3mm以下程度突出している。
第6パターン56は、図5(A)に示すように、X軸方向に長辺およびY軸方向に短辺を有する矩形状であり、平面透視で、横スロット31aに収まる位置で、第4パターン54の第4長辺L4に接して位置している。第6パターン56の長辺は、例えば、0.5mm以上10mm以下程度である。第6パターン56の短辺は、例えば、0.01mm以上4mm以下程度である。第6パターン56は、図5(B)および図6に示すように、第4スルーホール導体61’と接続されている。
縦スリット31bの長辺は、図5(A)に示すように、第4パターン54の長辺よりも短く、かつ平面透視で第4パターン54の両端部内に収まる位置に存在している。つまり、縦スロット31bは、X軸方向にはみ出した部分を除き、平面透視で第4パターン54内に収まっている。
第2の実施形態に係るアンテナ基板1’のように、第2アンテナ導体5’がさらに含まれていると、一方向のみの電波の送受信だけでなく、電波の方向性の拡充を図ることができる。さらに、円偏波(電波をらせん状に伝送すること)によって、障害物が多い場所での伝送性を向上させることができる。
本開示は、上述の実施形態例に限定されるものではなく、本開示の要旨を逸脱しない範囲であれば種々の変更は可能である。例えば、上述の実施形態例においては、Y軸方向における二つの第2パターン52の長さと第3パターン53の長さとが異なる例を示したが、両者の長さが同じであっても構わない。これにより、Y軸方向における第1アンテナ導体5の長さを低減してアンテナ基板の小型化に有利になる場合がある。同じように、二つの第5パターン55の長さと第6パターン56の長さが同じである場合、X軸方向における第2アンテナ導体5’の長さを低減してアンテナ基板の小型化に有利になる場合がある。第1アンテナ導体5および第2アンテナ導体5’の両方がこのような構成を有している場合には、より小型化に有利である。
上述の実施形態例においては、第1アンテナ導体5を平面視した場合に、第2パターン52と第3パターン53との間隔が一定である。しかし、第2パターン52と第3パターン53との間隔は一定でなくてもよい。図7(A)~(C)に、第1アンテナ導体の種々の変形例を示す。
図7(A)~(C)に示すように、第1アンテナ導体5は平面視した場合に、第2パターン52と第3パターン53との間隔が、第1パターン51に近づくにつれて狭くなる構造を有していてもよい。第2パターン52と第3パターン53との間隔が、第1パターン51に近づくにつれて狭くなる構造であれば、限定されない。
図7(A)に示すように、第2パターン52および第3パターン53の両方の形状を変形させることによって、第2パターン52と第3パターン53との間隔が、第1パターン51に近づくにつれて狭くなるようにしてもよい。あるいは、図7(B)および(C)に示すように、第2パターン52または第3パターン53のいずれか一方の形状を変形させることによって、第2パターン52と第3パターン53との間隔が、第1パターン51に近づくにつれて狭くなるようにしてもよい。
このように、第2パターン52と第3パターン53との間隔を、第1パターン51に近づくにつれて狭くなるようにすることによって、第3パターン53を流れる電流の反射を低減することができ、電気特性の向上に有利である。
図7(A)~(C)は、第1アンテナ導体5についての変形例を示す図であるが、第2アンテナ導体5’についても同様のことが言える。すなわち、図7(A)~(C)に示すように、第2アンテナ導体5’も平面視した場合に、第5パターン55と第6パターン56との間隔が、第4パターン54に近づくにつれて狭くなる構造を有していてもよい。
上述の実施形態例においては、第1アンテナ導体5および第2アンテナ導体5’の角部が直角である例を示したが、少なくとも一部の角部が曲線形状を有していても構わない。このようにアンテナ導体の角部を曲線形状とすることで、アンテナ導体の外周付近を流れる電流の反射を低減することができ、電気特性の向上に有利である。
さらに、電波の波長は、空気の誘電率よりも誘電率の大きい絶縁層中では小さくなる。このため、上述の第2の実施形態のように、絶縁層中の電波を送受信する第2アンテナ導体5’は、空気中の電波を送受信する第1アンテナ導体5よりも小さくて済む場合がある。言い換えれば、X軸方向およびY軸方向において、第2アンテナ導体5’の長さは、第1アンテナ導体5の長さよりも小さくてよい場合がある。これにより、第3絶縁層6における第2アンテナ導体5’の占有面積を低減できたり、第2アンテナ導体5’と重なる縦スリット31bの長さを短くできたりするため、アンテナ基板の小型化に有利である。
1、1’ アンテナ基板
2 第1絶縁層
21 第1スルーホール導体
3 グランド導体
31 スロット
31a 横スロット
31b 縦スロット
32 クリアランス
33 グランド用スルーホール導体
4 第2絶縁層
41 第2スルーホール導体
5 第1アンテナ導体
51 第1パターン
52 第2パターン
53 第3パターン
5’ 第2アンテナ導体
54 第4パターン
55 第5パターン
56 第6パターン
6 第3絶縁層
61 第3スルーホール導体
61’ 第4スルーホール導体
L1 第1長辺
L2 第2長辺
L3 第3長辺
L4 第4長辺
S1 第1面
S2 第2面

Claims (10)

  1. 第1面、該第1面の反対に位置する第2面および前記第1面から前記第2面にわたる第1スルーホール導体を有する第1絶縁層と、
    前記第1面に位置し、スロットを有するグランド導体と、
    前記第1スルーホール導体と接続される第2スルーホール導体を有し、前記第1面における前記グランド導体を被覆するように位置する第2絶縁層と、
    該第2絶縁層における前記グランド導体を被覆する面と反対側の面に位置する第1アンテナ導体と、を含み、
    前記スロットは、面方向においてX軸方向に延びる横スロットと面方向においてY軸方向に延びる縦スロットとが交差した十字状であり、
    前記第1アンテナ導体は、第1パターン、二つの第2パターンおよび第3パターンを含み、
    前記第1パターンは、前記X軸方向に第1長辺および第2長辺、前記Y軸方向に短辺を有する矩形状であり、前記第1長辺が前記横スロットと重複する部分を有し、前記第2長辺が前記横スロットと重複せず、前記縦スロットと重複して位置し、
    前記二つの第2パターンは、前記縦スロットを挟んでそれぞれ前記第2長辺に接して位置し、
    前記第3パターンは、前記X軸方向に短辺および前記Y軸方向に長辺を有する矩形状であり、平面透視で前記縦スロットに収まる位置で、前記第1パターンにおける前記第2長辺に接し、前記第1長辺から離れる方向に延びて前記第2スルーホール導体と繋がっており、
    前記横スロットは、前記Y軸方向にはみ出した部分を除き平面透視で前記第1パターン内に収まっており、
    前記第1パターンの短辺は、前記第3パターンの短辺よりも長い、
    アンテナ基板。
  2. 前記第2パターンは、前記Y軸方向における長さが前記第3パターンの長さと同じである、請求項1に記載のアンテナ基板。
  3. 前記第1アンテナ導体は、前記第2パターンと前記第3パターンとの間隔が、前記第1パターンに近づくにつれて狭くなる構造を有する、請求項1または2に記載のアンテナ基板。
  4. 前記第1アンテナ導体は、少なくとも一部の角部が曲線形状を有している、請求項1~3のいずれかに記載のアンテナ基板。
  5. 前記第1絶縁層の前記第2面に、第3スルーホール導体、および第4スルーホール導体を有する第3絶縁層が、さらに位置しており、前記第1スルーホール導体と前記第3スルーホール導体とが接続しており、
    前記第3絶縁層の前記第1絶縁層側の表面に、第4パターン、二つの第5パターンおよび第6パターンを含む第2アンテナ導体が位置し、
    前記第4パターンは、前記Y軸方向に第3長辺および第4長辺、前記X軸方向に短辺を有する矩形状であり、前記第3長辺が前記縦スロットと重複する部分を有し、前記第4長辺が前記縦スロットと重複せず、前記横スロットと重複して位置し、
    前記二つの第5パターンは、前記横スロットを挟んでそれぞれ前記第4長辺に接して位置し、
    前記第6パターンは、前記X軸方向に長辺および前記Y軸方向に短辺を有する矩形状であり、平面透視で前記横スロットに収まる位置で、前記第4パターンにおける前記第4長辺に接し、前記第3長辺から離れる方向に延びて前記第4スルーホール導体と繋がっており、
    前記縦スロットは、前記X軸方向にはみ出した部分を除き平面透視で前記第4パターン内に収まっており、
    前記第4パターンの短辺は、前記第6パターンの短辺よりも長い、
    請求項1~4のいずれかに記載のアンテナ基板。
  6. 前記第5パターンは、前記X軸方向における長さが前記第6パターンの長さと同じである、請求項5に記載のアンテナ基板。
  7. 前記第2パターンは、前記Y軸方向における長さが前記第3パターンの長さと同じであり、前記第5パターンは、前記X軸方向における長さが前記第6パターンの長さと同じである、請求項5または6に記載のアンテナ基板。
  8. 前記第2アンテナ導体は、前記第5パターンと前記第6パターンとの間隔が、前記第4パターンに近づくにつれて狭くなる構造を有する、請求項5~7のいずれかに記載のアンテナ基板。
  9. 前記第2アンテナ導体は、少なくとも一部の角部が曲線形状を有している請求項5~8のいずれかに記載のアンテナ基板。
  10. 前記第2アンテナ導体は、前記X軸方向および前記Y軸方向のそれぞれにおける長さが、前記第1アンテナ導体の長さよりも小さい請求項5~9のいずれかに記載のアンテナ基板。
JP2022559086A 2020-10-29 2021-10-22 アンテナ基板 Active JP7555422B2 (ja)

Applications Claiming Priority (5)

Application Number Priority Date Filing Date Title
JP2020181700 2020-10-29
JP2020181700 2020-10-29
JP2021026542 2021-02-22
JP2021026542 2021-02-22
PCT/JP2021/039072 WO2022091963A1 (ja) 2020-10-29 2021-10-22 アンテナ基板

Publications (2)

Publication Number Publication Date
JPWO2022091963A1 JPWO2022091963A1 (ja) 2022-05-05
JP7555422B2 true JP7555422B2 (ja) 2024-09-24

Family

ID=81383866

Family Applications (1)

Application Number Title Priority Date Filing Date
JP2022559086A Active JP7555422B2 (ja) 2020-10-29 2021-10-22 アンテナ基板

Country Status (5)

Country Link
US (1) US12294166B2 (ja)
EP (1) EP4239798A4 (ja)
JP (1) JP7555422B2 (ja)
KR (1) KR102763740B1 (ja)
WO (1) WO2022091963A1 (ja)

Citations (2)

* Cited by examiner, † Cited by third party
Publication number Priority date Publication date Assignee Title
JP2008053816A (ja) 2006-08-22 2008-03-06 Denki Kogyo Co Ltd 偏波共用アンテナ
CN108448232A (zh) 2018-01-24 2018-08-24 天津大学 一种柔性双频可穿戴天线

Family Cites Families (7)

* Cited by examiner, † Cited by third party
Publication number Priority date Publication date Assignee Title
GB9417401D0 (en) * 1994-08-30 1994-10-19 Pilkington Plc Patch antenna assembly
US8203498B2 (en) * 2008-10-19 2012-06-19 Research In Motion Limited Three-fold polarization diversity antenna
JP2012182591A (ja) 2011-02-28 2012-09-20 Kyocer Slc Technologies Corp アンテナ基板
KR101284757B1 (ko) * 2011-07-04 2013-07-17 단국대학교 산학협력단 다중 주파수 대역용 주파수 선택 반사기
CN104662737B (zh) * 2012-09-21 2019-01-11 株式会社村田制作所 双极化天线
EP3293821A1 (en) * 2016-09-09 2018-03-14 Thomson Licensing Device with cavity-backed antenna array integrated in a metal casing
US10992057B2 (en) * 2018-09-28 2021-04-27 Apple Inc. Electronic device having dual-band antennas mounted against a dielectric layer

Patent Citations (2)

* Cited by examiner, † Cited by third party
Publication number Priority date Publication date Assignee Title
JP2008053816A (ja) 2006-08-22 2008-03-06 Denki Kogyo Co Ltd 偏波共用アンテナ
CN108448232A (zh) 2018-01-24 2018-08-24 天津大学 一种柔性双频可穿戴天线

Also Published As

Publication number Publication date
KR20230067684A (ko) 2023-05-16
JPWO2022091963A1 (ja) 2022-05-05
US20230395978A1 (en) 2023-12-07
EP4239798A4 (en) 2024-10-02
WO2022091963A1 (ja) 2022-05-05
EP4239798A1 (en) 2023-09-06
KR102763740B1 (ko) 2025-02-07
US12294166B2 (en) 2025-05-06

Similar Documents

Publication Publication Date Title
US11417938B2 (en) Printed circuit board with substrate-integrated waveguide transition
US7026999B2 (en) Pattern antenna
US10971824B2 (en) Antenna element
KR101309469B1 (ko) 알에프 모듈
JP4305282B2 (ja) アンテナ装置
KR20040067932A (ko) 전자장치 및 안테나 실장 인쇄회로기판
WO2010100932A1 (ja) 共振器アンテナ及び通信装置
JP2002299933A (ja) アンテナの電極構造およびそれを備えた通信機
WO2010013610A1 (ja) 平面アンテナ
US12278435B2 (en) Miniature antenna with omnidirectional radiation field
KR101003014B1 (ko) 칩 안테나를 위한 pcb 레이아웃 구조 및 이를 이용한 칩 안테나 장치
KR20190010991A (ko) 안테나
JP5054413B2 (ja) アンテナ素子及び半導体装置
KR102763741B1 (ko) 안테나 구조체
JP7555422B2 (ja) アンテナ基板
JP7534053B2 (ja) 二重偏波アンテナ、関連するアンテナ・モジュール及び電子デバイス
EP1360741A1 (en) A layered micro strip patch antenna
KR20240046428A (ko) 전송 장치 및 안테나
KR20130140084A (ko) 안테나 장치 및 통신 장치
JP6761480B2 (ja) アンテナ、モジュール基板およびモジュール
CN217035978U (zh) 天线结构及电子设备
JP2014060542A (ja) アンテナおよび無線通信装置
WO2024142576A1 (ja) アンテナ基板、及び、アンテナモジュール
JP6539360B1 (ja) 両偏波送受用アンテナ
JP2022125877A (ja) アンテナ

Legal Events

Date Code Title Description
A621 Written request for application examination

Free format text: JAPANESE INTERMEDIATE CODE: A621

Effective date: 20230413

A131 Notification of reasons for refusal

Free format text: JAPANESE INTERMEDIATE CODE: A131

Effective date: 20240109

A521 Request for written amendment filed

Free format text: JAPANESE INTERMEDIATE CODE: A523

Effective date: 20240304

A131 Notification of reasons for refusal

Free format text: JAPANESE INTERMEDIATE CODE: A131

Effective date: 20240514

A521 Request for written amendment filed

Free format text: JAPANESE INTERMEDIATE CODE: A523

Effective date: 20240703

TRDD Decision of grant or rejection written
A01 Written decision to grant a patent or to grant a registration (utility model)

Free format text: JAPANESE INTERMEDIATE CODE: A01

Effective date: 20240813

A61 First payment of annual fees (during grant procedure)

Free format text: JAPANESE INTERMEDIATE CODE: A61

Effective date: 20240910

R150 Certificate of patent or registration of utility model

Ref document number: 7555422

Country of ref document: JP

Free format text: JAPANESE INTERMEDIATE CODE: R150