JP7549600B2 - パイプラインの伸縮継手 - Google Patents

パイプラインの伸縮継手 Download PDF

Info

Publication number
JP7549600B2
JP7549600B2 JP2021556588A JP2021556588A JP7549600B2 JP 7549600 B2 JP7549600 B2 JP 7549600B2 JP 2021556588 A JP2021556588 A JP 2021556588A JP 2021556588 A JP2021556588 A JP 2021556588A JP 7549600 B2 JP7549600 B2 JP 7549600B2
Authority
JP
Japan
Prior art keywords
pipe section
annular
ring
expansion joint
diameter
Prior art date
Legal status (The legal status is an assumption and is not a legal conclusion. Google has not performed a legal analysis and makes no representation as to the accuracy of the status listed.)
Active
Application number
JP2021556588A
Other languages
English (en)
Other versions
JP2022525947A (ja
Inventor
カッセティ,マルチェッロ
カナーリ,カルロ
Original Assignee
サイペム エスピーアー
Priority date (The priority date is an assumption and is not a legal conclusion. Google has not performed a legal analysis and makes no representation as to the accuracy of the date listed.)
Filing date
Publication date
Application filed by サイペム エスピーアー filed Critical サイペム エスピーアー
Publication of JP2022525947A publication Critical patent/JP2022525947A/ja
Application granted granted Critical
Publication of JP7549600B2 publication Critical patent/JP7549600B2/ja
Active legal-status Critical Current
Anticipated expiration legal-status Critical

Links

Images

Classifications

    • FMECHANICAL ENGINEERING; LIGHTING; HEATING; WEAPONS; BLASTING
    • F16ENGINEERING ELEMENTS AND UNITS; GENERAL MEASURES FOR PRODUCING AND MAINTAINING EFFECTIVE FUNCTIONING OF MACHINES OR INSTALLATIONS; THERMAL INSULATION IN GENERAL
    • F16LPIPES; JOINTS OR FITTINGS FOR PIPES; SUPPORTS FOR PIPES, CABLES OR PROTECTIVE TUBING; MEANS FOR THERMAL INSULATION IN GENERAL
    • F16L27/00Adjustable joints; Joints allowing movement
    • F16L27/12Adjustable joints; Joints allowing movement allowing substantial longitudinal adjustment or movement
    • FMECHANICAL ENGINEERING; LIGHTING; HEATING; WEAPONS; BLASTING
    • F16ENGINEERING ELEMENTS AND UNITS; GENERAL MEASURES FOR PRODUCING AND MAINTAINING EFFECTIVE FUNCTIONING OF MACHINES OR INSTALLATIONS; THERMAL INSULATION IN GENERAL
    • F16LPIPES; JOINTS OR FITTINGS FOR PIPES; SUPPORTS FOR PIPES, CABLES OR PROTECTIVE TUBING; MEANS FOR THERMAL INSULATION IN GENERAL
    • F16L27/00Adjustable joints; Joints allowing movement
    • F16L27/12Adjustable joints; Joints allowing movement allowing substantial longitudinal adjustment or movement
    • F16L27/127Adjustable joints; Joints allowing movement allowing substantial longitudinal adjustment or movement with means for locking the longitudinal adjustment or movement in the final mounted position
    • F16L27/1275Adjustable joints; Joints allowing movement allowing substantial longitudinal adjustment or movement with means for locking the longitudinal adjustment or movement in the final mounted position by means of at least an external threaded bolt
    • FMECHANICAL ENGINEERING; LIGHTING; HEATING; WEAPONS; BLASTING
    • F16ENGINEERING ELEMENTS AND UNITS; GENERAL MEASURES FOR PRODUCING AND MAINTAINING EFFECTIVE FUNCTIONING OF MACHINES OR INSTALLATIONS; THERMAL INSULATION IN GENERAL
    • F16LPIPES; JOINTS OR FITTINGS FOR PIPES; SUPPORTS FOR PIPES, CABLES OR PROTECTIVE TUBING; MEANS FOR THERMAL INSULATION IN GENERAL
    • F16L27/00Adjustable joints; Joints allowing movement
    • F16L27/12Adjustable joints; Joints allowing movement allowing substantial longitudinal adjustment or movement
    • F16L27/127Adjustable joints; Joints allowing movement allowing substantial longitudinal adjustment or movement with means for locking the longitudinal adjustment or movement in the final mounted position
    • F16L27/1275Adjustable joints; Joints allowing movement allowing substantial longitudinal adjustment or movement with means for locking the longitudinal adjustment or movement in the final mounted position by means of at least an external threaded bolt
    • F16L27/12751Adjustable joints; Joints allowing movement allowing substantial longitudinal adjustment or movement with means for locking the longitudinal adjustment or movement in the final mounted position by means of at least an external threaded bolt the threaded bolt extending longitudinally

Landscapes

  • Engineering & Computer Science (AREA)
  • General Engineering & Computer Science (AREA)
  • Mechanical Engineering (AREA)
  • Joints Allowing Movement (AREA)
  • Joints With Sleeves (AREA)

Description

(優先権主張)
本特許出願は、2019年3月19日に出願されたイタリア特許出願第102019000003995号の優先権を主張し、その開示の全てを援用して本明細書の一部とする。
本発明は、寸法変化を補償するように構成されたパイプライン伸縮継手に関する。
本発明は、その一般性を失うことなく、液体状態の極低温流体を運搬するガスタンカーに岸から接続するパイプのための伸縮継手に関する。
一般的に、極低温流体の輸送はガスタンカーのタンク内で行われ、ガスタンカーは、極低温流体の移送作業中であっても岸から所定の距離を保たなければならない。このため、極低温流体の移送は、ガスタンカーを岸に接続する、桟橋に沿って配置されたパイプラインを介して行われる。パイプラインは真直セクションと継手(ジョイント)とを備え、継手の各々が2つの真直セクション間に配置される。
実際には、ベローズ伸張継手が一般的に使用される。
周知のように、移送作業中、極低温流体はパイプラインを通って流れ、パイプラインを収縮させる。一般に、パイプラインの温度の変化によりパイプラインの長さが変化し、機械的及び熱的に継手に応力を加え、時間の経過と共に継手の損傷又は破損を生じさせ、その結果、極低温流体が漏出する。
パイプラインに使用される伸縮(テレスコープ状)継手も知られており、例えば、特許文献1に記載されている伸縮継手は、特に複雑なシーリングシステムを示している。実際、伸縮継手の弱点は油圧シールである。
極低温パイプラインの熱収縮を吸収するために、拡張ループが継手の代わりに使用される。拡張ループはパイプ及び湾曲部を含み、これらは非常にかさばるという欠点を有する。さらに、拡張ループは、土木及び/又は海洋工事の設置コストが高く、同時に高圧及び冷凍損失が大きい。
国際公開第2017/201565号パンフレット
本発明の目的は、先行技術の欠点を軽減するパイプライン継手を提供することである。
本発明によれば、寸法変化を補償するように構成されたパイプライン伸縮継手が提供され、この伸縮継手は、
-第1直径を有する第1パイプセクションと、
-少なくとも部分的に前記第1パイプセクション内に配置され、且つ前記第1パイプセクションにスライド式に接続された、前記第1直径よりも小さい第2直径を有する少なくとも第2パイプセクションと、
-少なくとも1つの端部アセンブリであって、前記第1パイプセクション及び前記第2パイプセクションの一方に固定され、且つ、前記第1パイプセクション及び前記第2パイプセクションの他方と共に、2つの対向する円筒面により境界付けられた少なくとも1つの第1環状座部を画成するように構成され、前記円筒面の一方が前記第1パイプセクション及び前記第2パイプセクションの一方の前記円筒面である端部アセンブリと、
-前記環状座部内に収容された少なくとも1つの環状ガスケットと、を備え、当該環状ガスケットが、ポリマーケーシングと、前記ポリマーケーシング内に収容されたばねとを含み、前記ポリマーケーシングが前記円筒面と接触しており、
前記端部アセンブリが、前記第1パイプセクション及び前記第2パイプセクションの一方に溶接されたリングと、前記リングの一端に解除可能に固定された少なくとも1つの環状壁とを含み、前記環状壁が、前記リングの前記対向する円筒面並びに前記第1パイプセクション及び前記第2パイプセクションの一方と共に前記環状座部を境界付ける。
本発明により、前記伸縮継手は、前記パイプライン内で運ばれる流体のための確実なシールを、単純でかさばらない解決策により保証する。
具体的には、前記伸縮継手は、流体移送作業中の温度変化により生じる前記パイプセクションの相対的な伸縮運動を可能にし、これにより、流体の漏出を防止する。
流体の漏出は、前記環状座部内に収容された前記環状ガスケットにより防止される。前記環状ガスケットは前記円筒面に付着して環状座部を境界付ける。
伸縮継手の構造の単純性及び確実性により、前記パイプラインの設計、設置及びメンテナンスにかかる時間及びコストが節減される。
この構造は、前記環状壁と前記リングとの解除可能な接続のおかげで容易にアクセス可能な環状座部を画成し、これにより、前記環状ガスケットのメンテナンス又は交換を容易にする。
詳細には、好ましい実施形態によれば、前記端部アセンブリは、前記第2パイプセクションに固定され且つ環状壁を含み、前記リングが、前記環状壁に面した面を有するショルダを含み、前記面が、前記環状壁と、前記リング及び前記第1パイプセクションの前記対向する円筒面と共に前記環状座部を境界付ける。
このようにして、前記環状ガスケットは前記ショルダにより保持される。すなわち、前記ショルダは前記環状ガスケットのための当接面を提供する。
好ましい実施形態によれば、前記伸縮継手は、前記第2パイプセクションの周囲に配置された前記第1パイプセクションの一部に解除可能に固定された少なくとも1つのストロークブロックを含む。
このようにして、前記少なくとも1つのストロークブロックは、前記第1パイプセクションと前記第2パイプセクションとが互いに滑り外れることを防止し、前記第1パイプセクション内での前記第2パイプセクションの伸縮(テレスコープ状)スライドを停止させる。
さらに、前記少なくとも1つのストロークブロックは、前記第1パイプセクションを前記第2パイプセクションと同軸に保つ機能を有する。
詳細には、好ましい実施形態によれば、前記少なくとも1つのストロークブロックは、前記第1パイプセクションの厚さを貫通している少なくとも1つのファスナ(締結具)を含む。
このようにして、前記少なくとも1つのストロークブロックの設置は、前記少なくとも1つのファスナを第1パイプセクションに挿入することにより実行される。より詳細には、前記少なくとも1つのストロークブロックは、前記第1パイプセクションに設けられたそれぞれのねじ穴の内側にねじ込まれた少なくとも1つのねじから成る。
さらに、この構造において、前記継手の組立及び/又はメンテナンスを可能にするための少なくとも1つのストロークブロックの取り外しが簡単かつ迅速である。
さらなる実施形態によれば、前記少なくとも1つのストロークブロックは、前記第2パイプセクションの周囲に配置された前記第1パイプセクションの一端に解除可能に固定されたシールリングを含む。
このようにして、前記第1パイプセクションは、その厚さを貫通する穴を有さない。
さらなる好ましい実施形態によれば、前記伸縮継手は、環状支持体と、前記環状支持体により前記第2パイプセクションに固定された、前記第1直径及び第2直径よりも大きい第3直径を有する第3パイプセクションとを備え、前記端部アセンブリは前記第1パイプセクションに固定され、且つ第1環状壁を含み、前記第1環状壁が第1環状座部を、前記リング及び前記第2パイプセクションの前記円筒面と共に境界付け、また、前記端部アセンブリが第2環状壁を含み、当該第2環状壁が第2環状座部を、前記リング及び前記第3パイプセクションの円筒面と共に境界付ける。
このようにして、2つの環状ガスケットを前記スライド面に容易に配置することが可能である。
好ましい実施形態によれば、前記環状支持体は、少なくとも1つの第1貫通穴を含む。
このようにして、前記少なくとも1つの第1貫通穴は、前記第2パイプセクションと前記第3パイプセクションとの間の空間から空気が排出されることを可能にし、それにより、前記継手の収縮又は膨張中の、前記第2パイプセクションと前記第3パイプセクションとの間の空間内での過圧又は負圧の形成を防止する。
詳細には、前記伸縮継手は、前記第3パイプセクションに固定され且つ前記第1パイプセクションの周囲に配置されたストロークブロックを備えている。
このようにして、前記ストロークブロックは、前記第1パイプセクションと前記第2パイプセクションとが互いに滑り外れることを防止し、前記第1パイプセクション内での前記第2パイプセクションの伸縮スライドを停止させる。
詳細には、前記ストロークブロックは、前記ストロークブロックの端部に解除可能に固定された第3環状壁を含み、前記第3環状壁は、第3環状座部を、前記ストロークブロックの前記端部及び前記第1パイプセクションの円筒面と共に境界付ける。
このようにして、前記ストロークブロックのスライド領域に環状ガスケットを配置することが可能である。
好ましい実施形態によれば、前記第1パイプセクションは、少なくとも1つの第2貫通穴を含み、前記少なくとも1つの第2貫通穴の軸が前記第3パイプセクションと交差している。
このようにして、流体は、前記ストロークブロック、前記リング、前記第1パイプセクション及び前記第3パイプセクションにより境界付けられた円筒状クラウンの内側を流れることができる。この構造において、前記ストロークブロックに面した前記リングの面に作用する圧力が、好ましくは、前記パイプラインに固定された前記軸方向支持体に作用する加圧極低温流体の軸方向力の全体と釣り合う。
好ましい実施形態によれば、前記第3直径D3の二乗は、前記第2直径D2の二乗の2倍に実質的に等しい。
換言すれば、前記第2直径と前記第3直径とは以下の関係により関連付けられる。
(数1)
D3=2×D2
前記極低温流体をガスタンカーから、例えばタンクに移送するための作業中に、前記加圧流体は、前記タンクに固定された前記パイプラインセクションに力を加え、これが、前記パイプラインを長くさせる傾向があり、また、前記極低温流体の圧力及び前記パイプラインの断面に関連している。それぞれの前記第2パイプラインセクション及び前記第3パイプラインセクションの前記第2直径及び前記第3直径が、関係式D3=2×D2により関連付けられている場合、前記タンクに固定された前記パイプラインセクションに前記極低温流体が加える力は、前記ストロークブロックに前記極低温流体が加える力により補償される。このようにして、前記パイプライン支持体が、前記支持体の前記パイプラインに対する移動を可能にするように前記パイプラインにスライド式に接続されることができる。
換言すれば、前記パイプラインの前記軸方向支持体上に排出される前記極低温流体の圧力による力は実質的にゼロであり、前記支持体を前記パイプラインの延在方向に沿って移動可能であるようにして、温度変化により引き起こされる任意の変位を許容する。
さらに好ましい実施形態によれば、前記伸縮継手は、2つの第2パイプセクション及び2つの端部アセンブリを備え、前記第1パイプセクションは或る長さにわたって長手方向に延在し、前記第2パイプセクションと前記端部アセンブリとは互いに反対の方向に延在している。
このようにして、前記伸縮継手を迅速且つ簡単に設置できる。
詳細には、前記伸縮継手は2つのストロークブロックを含み、これらのストロークブロックの各々が、それぞれの前記第2パイプセクションの周囲に配置された前記第1パイプセクションのそれぞれの部分に解除可能に固定されている。
このようにして、前記ストロークブロックは、前記第1パイプセクションと前記第2パイプセクションとが互いに滑り外れることを防止し、前記第1パイプセクション内での2つの前記第2パイプセクションの伸縮スライドを停止させる。
詳細には、好ましい実施形態によれば、各ストロークブロックは、前記第1パイプセクションの厚さを貫通しているファスナを含む。
このようにして、前記ファスナは、ストロークブロックとして機能することに加えて、前記第1パイプセクションと前記第2パイプセクションとが互いに同軸であることを保証する。
さらに好ましい実施形態によれば、前記端部アセンブリは前記第1パイプセクションに固定され、リングと、前記リングに解除可能に固定された環状要素とを含み、前記環状要素は環状壁を含み、前記リングは前記環状座部を、前記パイプセクションの前記外側円筒面及び前記環状壁と共に境界付ける。
このようにして、前記伸縮継手は製造及び組立てが簡単で安価である。
詳細には、前記リングに少なくとも1つの貫通開口部が設けられ、前記環状座部内の圧力を測定できるようにしている。
このようにして、前記伸縮継手の正しい動作を継続的に監視し、流体の漏出を検出することが可能である。
詳細には、前記環状座部内の圧力の測定は、前記少なくとも1つの開口部に配置された圧力計を使用して行われる。
詳細には、前記端部アセンブリは複数のタイロッドを含み、当該タイロッドの各々が前記環状要素に固定され、且つ前記ストロークブロックを備え、前記伸縮継手は、前記第2パイプセクションに固定された少なくとも1つのリングを備え、当該リングに貫通開口部が設けられ、当該貫通開口部内に前記タイロッドが、前記第1パイプセクションに対する前記第2パイプセクションのスライドを制限するようにスライド式に挿入されている。
このようにして、前記第2パイプセクションが前記第1パイプセクションから完全に滑り外れることを防止できる。
詳細には、前記伸縮継手は、前記環状座部に収容されたシーリングアセンブリを備え、当該シーリングアセンブリは、複数の環状ガスケットと、2つの環状ガスケットの間に配置された少なくとも1つのスペーサとを含み、これにより、確実な流体シーリングを保証し、そして同時に、前記少なくとも1つのスペーサにおける圧力測定を可能にする。
本発明の変型例によれば、前記端部アセンブリは前記第1パイプセクションに固定され、且つ、リングと、前記リングにねじ込まれた環状要素と、ストロークブロックと、第4パイプセクションとを含み、前記第4パイプセクションが前記第2パイプセクションの周囲に配置され、且つ前記環状要素及び前記ストロークブロックに固定され、これにより、前記伸縮継手を外部要因から保護する。
すなわち、前記環状要素、前記第4パイプセクション及び前記ストロークブロックは、第2パイプセクションの部分を外部環境から分離する保護ケーシングを形成し、この部分が、使用中に、それぞれの前記シーリングアセンブリに対してスライドする。
詳細には、前記伸縮継手は、前記環状座部に収容されたシーリングアセンブリを備え、当該シーリングアセンブリが、少なくとも1つの環状ガスケット及びリングを含み、当該リングに、前記環状要素により保持された、前記第1パイプセクションの一端に接触している環状壁が設けられ、これにより前記環状座部を境界付けている。
好ましい実施形態によれば、前記少なくとも1つの第1環状座部を境界付ける前記対向する円筒面は、0.9μm未満、特には0.3μm未満の表面粗さを有する。
このようにして、前記環状ガスケットは前記環状座部内の前記接触面に付着でき、それにより極低温流体の漏出を防止できる。
本発明のさらなる特徴及び利点は、以下に本発明の非限定的な実施形態を添付図面を参照しつつ説明することから明らかになるであろう。
極低温流体移送システムの、図の簡明化のために一部を除いた状態の斜視図である。 図1の移送システムの、図の簡明化のために一部を除き一部が断面の、パイプライン継手の1つの動作状態における側面図である。 図1の移送システムの、図の簡明化のために一部を除き一部が断面の、パイプライン継手の1つの動作状態における側面図である。 図2のIVの詳細の断面図である。 図2及び3の実施形態による継手の変型例の、図の簡明化のために一部を除き一部が断面の側面図である。 図1の移送システムの、図の簡明化のために一部を除き一部が断面の、本発明の第2実施形態による、パイプライン継手の1つの動作状態における側面図である。 図1の移送システムの、図の簡明化のために一部を除き一部が断面の、本発明の第2実施形態による、パイプライン継手の1つの動作状態における側面図である。 図7のVIIIの詳細の断面図である。 図1の移送システムの、図の簡明化のために一部を除き一部が断面の、本発明の第3実施形態による、パイプライン継手の1つの動作状態における側面図である。 図1の移送システムの、図の簡明化のために一部を除き一部が断面の、本発明の第3実施形態による、パイプライン継手の1つの動作状態における側面図である。 図1の移送システムの、図の簡明化のために一部を除き一部が断面の、本発明の第4実施形態による、パイプライン継手の1つの動作状態における側面図である。 図1の移送システムの、図の簡明化のために一部を除き一部が断面の、本発明の第4実施形態による、パイプライン継手の1つの動作状態における側面図である。 図11のXIIの詳細の断面図である。 図11及び図12の実施形態による継手の変型例の詳細の断面図である。
図1を参照すると、番号1が、極低温流体、好ましくは低温高圧液化ガスを移送するためのシステムの全体を示している。本発明によれば、移送システム1はガスタンカー2と岸3との間に延在し、パイプライン4を備えており、パイプライン4がガスタンカー2を岸3に接続し、パイプライン4の内部を極低温流体が流れる。
ガスタンカー2は、極低温流体を貯蔵するための複数の球形タンク5を備え、極低温流体移送作業中に、岸3から離れた場所に配置される。
パイプライン4は、複数の伸縮継手7により互いに接続された複数のパイプ6を含む。
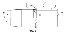
図2、図3、及び図4を参照すると、伸縮継手7は、軸A1に沿って延在し且つ直径D1を有するパイプセクション8と、軸A2に沿って延在し、且つ、直径D1よりも小さい直径D2を有するパイプセクション9とを含む。
パイプセクション9は、少なくとも部分的にパイプセクション8内に配置され、且つ、パイプセクション8に、軸A1と軸A2とがほぼ一致するようにスライド式に接続されている。
パイプセクション8及びパイプセクション9は、同一の材料、具体的には金属材料、好ましくはステンレス鋼から作られる。
伸縮継手7は、パイプセクション9の一端に溶接された端部アセンブリ10を備えている。
図4を参照すると、端部アセンブリ10は環状壁11及びリング12を含み、リング12は、パイプセクション9に溶接により固定された第1端部と、ファスナ(締結具)により環状壁11に固定された第2端部とを有する。
リング12は、パイプセクション8及びパイプセクション9と同一の材料から作られている。
リング12の第1端部はパイプセクション9の直径D2と同一の直径を有し、従って、リング12はパイプセクション9の延長部を構成している。
リング12の中央部分は、環状壁11に面した面を有するショルダ13を含み、このショルダ面が、環状壁11、環状壁11とショルダ13との間に含まれるリング12の円筒面、及び、パイプセクション8の円筒面と共に環状座部14を区画している。
リング12の第2端部は、環状壁11にファスナ(例えばねじ)により接続するためのねじ穴を有する。
伸縮継手7は、環状座部14内に収容された環状ガスケット15をさらに含み、環状ガスケット15は、U字状断面を有するポリマーケーシングと、ポリマーケーシング内に収容された螺旋ばねとを含む。
ポリマーケーシングは、ショルダ13に当接した環状面と、環状面と一体の2つの円筒状リップを含み、これらのリップは、環状壁11とショルダ13との間に含まれるリング12の円筒面と、パイプセクション8の円筒面とにそれぞれ接触している。この構成において、環状座部内の加圧極低温流体がリップを、環状壁11及びショルダ13とパイプセクション8の円筒面との間に含まれるリング12の円筒面に対して膨張させる。実際、極低温流体の圧力が増大すると、気密性が増大する。
環状ガスケット15に接触している環状座部14の面は、0.9μm未満、特には0.3μm未満の表面粗さを有する。
具体的には、環状壁11に面したショルダ13の面、環状壁11とショルダ13との間に含まれるリング12の外側円筒面、及びパイプセクション8の内側円筒面は、0.9μm未満、特には0.3μm未満の表面粗さを得るように精密に旋盤加工される。
このようにして、予荷重をかけられたばねと共に環状座部14に収容されている環状ガスケット15が、環状壁11に面したショルダ13の面を、環状壁11とショルダ13との間に含まれるリング12の外側円筒面と、パイプセクション8の内側円筒面とに付着できる。
図2及び図3を参照すると、伸縮継手7は、パイプセクション9の周囲に配置されたパイプセクション8の一部に解除可能に固定されたストロークブロック16を含む。
第1実施形態の変型例(添付図面に示さず)によれば、ストロークブロック16は、パイプセクション8の厚さを貫通しているそれぞれのねじ穴の内側にねじ込まれた少なくとも1つのねじを含む。
詳細には、図2及び図3に示されているように、ストロークブロック16は、パイプセクション8の厚さを貫通しているねじ穴の内側にねじ込まれた複数のねじを含む。この構成において、ストロークブロック16は、パイプセクション8とパイプセクション9とがほぼ同軸であることを保証する。
図5を参照すると、本発明の変型例によれば、ストロークブロック16は少なくとも1つのシールリング17を含み、シールリング17は、パイプセクション9の周囲に配置されたパイプセクション8の一端に、好ましくは複数のねじにより解除可能に固定されている。
さらに、環状座部14の内側に2つの環状ガスケット15が配置され、ポリマーケーシングの環状面が互いに接触している。
図2の構成において、パイプセクション8及びパイプセクション9の互いに対する位置は、図3の構成におけるパイプセクション8及びパイプセクション9の互いに対する位置とは異なる。
具体的には、温度が低下すると、パイプセクション8、パイプセクション9及びパイプライン4が収縮し、その結果、パイプセクション9がパイプセクション8に対して伸縮自在にスライドする。
さらに、極低温流体がパイプライン4内を流れるとき、極低温流体の圧力が環状ガスケット15をショルダ13に当接させて押し付け、これにより、環状ガスケット15の気密性を高める。
図6、図7及び図8は、本発明の第2実施形態に従って作成された伸縮継手70を示し、伸縮継手70は、単一のパイプセクション9と、パイプセクション8の一端に溶接により固定された端部アセンブリ18とを備えている。
端部アセンブリ18は、環状壁19、環状壁20、及びリング21を含み、リング21は、溶接によりパイプセクション8に固定された第1端部と、ファスナにより環状壁19及び環状壁20(図8)に固定された第2端部とを有する。
伸縮継手70は、環状支持体22及びパイプセクション23を備え、パイプセクション23は軸A3に沿って延在し、直径D3を有する。このパイプセクションは、パイプセクション8及びパイプセクション9の周囲に配置され、パイプセクション9に、フランジ22’(ファスナにより環状支持体22に締結されている)により固定されている。
環状支持体22は、パイプセクション9の外壁に固定されたリングから成り、環状支持体22を空気が通過できるように環状支持体22の厚さを貫通している少なくとも1つの穴24を含む。
第2実施形態の変型例によれば、環状支持体22は、環状支持体22の厚さを貫通している複数の穴24を含む。
詳細には、複数の穴24は、パイプセクション9とパイプセクション23との間に設けられた空間(リング21及び環状支持体22により横方向に境界付けられている)から空気を排出させて、パイプセクション8、パイプセクション9及びパイプセクション23の膨張中に空間内の圧力が過度に増大することを防止する。さらに、複数の穴24は、空気が空間に入ることを可能にし、パイプセクション8、パイプセクション9及びパイプセクション23の収縮中に空間内の圧力が過度に低下することを防止する。
さらに、伸縮継手70はストロークブロック25を備え、ストロークブロック25は、パイプセクション8の周囲に配置され且つパイプセクション23に固定されたリングから成る。
図8を参照すると、環状壁26は、ストロークブロック25の一端に、ファスナにより解除可能に固定されている。
より詳細には、伸縮継手70は、3つの環状座部27、環状座部28及び環状座部29を備えている。
環状座部27は、パイプセクション9の外側円筒面、リング21及び環状壁19により境界付けられている。
環状座部28は、パイプセクション23の内側円筒面、リング21及び環状壁20により境界付けられている。
環状座部29は、パイプセクション8の外側円筒面、ストロークブロック25及び環状壁26により境界付けられている。
少なくとも1つの環状ガスケット15が、環状座部27、環状座部28及び環状座部29の各々に収容されている。
環状ガスケット15と接触している環状座部27、環状座部28及び環状座部29の面は、0.9μm未満、特には0.3μm未満の表面粗さを有する。
この構成において、パイプセクション23は、パイプセクション9、ストロークブロック25及び環状支持体22と共に環状領域30を境界付け、環状領域30の内部でリング21が、パイプライン4(図1)の膨張及び収縮中にスライドできる。
さらに、パイプセクション8は、少なくとも1つの貫通穴31を含み、貫通穴31の軸は、全ての動作状況においてパイプセクション23と交差する。
第2実施形態の変型例によれば、パイプセクション8は複数の貫通穴31を含み、貫通穴31の軸は、全ての動作状況においてパイプセクション23と交差する。
穴31は、パイプセクション8の厚さを貫通して、極低温流体が円筒状クラウン(ストロークブロック25、リング21、パイプセクション8の外側円筒面、及びパイプセクション23の内側円筒面により境界付けられている)の内部を流れることを可能にしている。
さらに、直径D2及び直径D3は、ストロークブロック25に面したリング21の面の面積とパイプセクション9の断面の面積とが実質的に同一になるような寸法にされている。より詳細には、直径D3の二乗は直径D2の二乗の2倍に実質的に等しい。
換言すれば、直径D2と直径D3とは以下の関係により関連付けられる。
(数2)
D3=2×D2
この構成において、パイプライン4の軸方向支持体上に放出される加圧極低温流体の力は実質的にゼロであり、支持体がパイプライン4の延在方向に沿って移動することを可能にしている。
図9及び10は、本発明の第3実施形態に従って作製された伸縮継手700を示している。伸縮継手700は、軸Alを有するパイプセクション8、軸A2を有する2つのパイプセクション9、及び、2つの端部アセンブリ10を備え、端部アセンブリ10の各々が、それぞれのパイプセクション9と一体であり、且つ、図2~図4に示して第1実施形態で説明したように構成されている。
詳細には、各端部アセンブリ10は環状壁11及びリング12を含み、リング12は、それぞれのパイプセクション9に溶接により固定された第1端部と、ファスナにより環状壁11に固定された第2端部とを有する。パイプセクション8は、長手方向長さLIにわたって長手方向に延在し、一方、パイプセクション9及び2つの端部アセンブリ10は互いに反対の方向に延在する。
パイプセクション9は、パイプセクション8の直径D1よりも小さい直径D2を有し、少なくとも部分的にパイプセクション8内に配置され、且つ、パイプセクション8に、軸A1と軸A2とがほぼ一致するようにスライド式に接続されている。
この構成において、伸縮継手700は2つの環状ガスケット15を含み、それらの各々が、それぞれの端部アセンブリ10のそれぞれの環状座部14に収容されている。
伸縮継手700は、2つのストロークブロック16を含み、それらの各々が、それぞれのパイプセクション9の周囲に配置されたパイプセクション8の2つの部分のうちの1つに解除可能に固定されている。
図9を参照すると、伸縮継手700が、パイプセクション9が互いに比較的近接した状態で示されている。
図10を参照すると、伸縮継手700が、パイプセクション9が図9よりも互いに離間された状態で示されている。
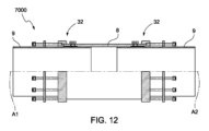
図11、図12及び図13は、本発明の第4実施形態に従って作製された伸縮継手7000を示し、伸縮継手7000は、軸Alを有するパイプセクション8と、軸A2を有する2つのパイプセクション9と、2つの端部アセンブリ32とを備え、2つの端部アセンブリ32の各々が、パイプセクション8のそれぞれの端部と一体である。
図13を参照すると、各端部アセンブリ32は、パイプセクション8の中央部分34よりも厚さが薄いリング33と、リング33に解除可能に固定され且つ環状壁36を含む環状要素35とを備えている。
一実施形態によれば、リング33は、中央部分34の延長部を構成している。
添付図面に示されていないさらなる実施形態によれば、リング33は中央部分34に溶接により固定されている。
詳細には、環状要素35はリング33にねじ込まれている。
より詳細には、リング33はショルダ37を含み、ショルダ37は、環状壁36に面する環状面を有し、且つ、環状座部38を、リング33の内側円筒面、パイプセクション9の外側円筒面及び環状壁36と共に境界付ける。
さらに、各端部アセンブリ32は、第1端部にて環状要素35に固定された複数のタイロッド39を含み、複数のタイロッド39は、軸A1及びA2(図11及び図12)にほぼ平行な軸に沿って延在している。
各タイロッド39には、タイロッド39の第2端部に固定されたストロークブロック40が設けられている。詳細には、ストロークブロック40は、それぞれのタイロッド39の第2端部にねじ込まれたナット41を含む。
伸縮継手7000は、さらに、2つのリング42(そのうちの1つのみを図13に示す)を含み、これらのリングは、パイプセクション8から離間してそれぞれのパイプセクション9の外側円筒面に固定され、且つ、貫通開口部43が設けられ、貫通開口部43の各々にそれぞれのタイロッド39がスライド可能に挿入されている。詳細には、各リング42は、それぞれの環状要素35と各ストロークブロック40との間に、パイプセクション8に対するそれぞれのパイプセクション9のスライドを制限するように介在している。
さらに、各端部アセンブリ32は少なくとも1つのスリーブ44を含み、スリーブ44は、リング33の外側円筒面に、環状座部38内の圧力を測定するため圧力計(添付図面に示さず)の設置を可能にするようにリング33のそれぞれの貫通開口部45にて固定されている。
さらに、伸縮継手7000は、パイプセクション8に設けられたそれぞれの座部に挿入されたガイド46と、各環状要素35に設けられたそれぞれの座部に挿入された2つのガイド47(そのうちの1つのみを図13に示す)とを備えている。
伸縮継手7000は2つのシーリングアセンブリ48を含み、シーリングアセンブリ48の各々がそれぞれの環状座部38に収容され、且つ、少なくとも1つの環状ガスケット15を含む。
本明細書に記載及び図示した場合、本発明を限定することを意図せずに、各シーリングアセンブリ48が、3つの環状ガスケット15、2つの環状ガスケット15の間に各々が配置された2つのスペーサ49、及び、リング50を含む。リング50は、環状ガスケット15のうちの1つと環状壁36との間に配置され、且つ、ガスケット51のためのハウジング座部を有する。
詳細には、各スペーサ49はそれぞれの貫通開口部45に配置されている。
図11を参照すると、伸縮継手7000が、パイプセクション9が互いに比較的近接した状態で示されている。
図12を参照すると、伸縮継手700が、パイプセクション9が図11よりも互いに離間された状態で示されている。
図14は、本発明の第4実施形態の変型例に従って作製された伸縮継手7000を示している。
この構成において、伸縮継手7000は、リング33にねじ込まれた環状要素53、ストロークブロック54、及びパイプセクション55を含む端部アセンブリ52を有し、パイプセクション55は、それぞれのパイプセクション9の周囲に配置され、且つ、一端にて環状要素53に固定され、他端にてストロークブロック54に固定されている。
本明細書に記載及び図示した場合、リング50は、環状要素53により保持された、パイプセクション8の一端に接触している環状壁56を含む。
さらに、伸縮継手7000は、2つのガイド57(そのうちの1つのみが図14に示されている)を備え、ガイド57の各々は、それぞれのストロークブロック54に設けられた座部に収容され、且つ、それぞれのパイプセクション9のストロークブロック54に対するスライドをガイドするように構成されている。また、伸縮継手7000は2つのリング58を備え、リング58の各々がそれぞれのパイプセクション9に、好ましくは溶接により固定され、且つ、それぞれのパイプセクション9のパイプセクション8に対すスライドを制限するように構成されている。
本発明が、添付の特許請求の範囲の保護の範囲から逸脱せずに変更されることができ、また、温度変化の影響を受けるパイプライン内での任意の流体の輸送に用いられることが明らかである。

Claims (20)

  1. 寸法変化を補償するように構成されたパイプライン伸縮継手(7;700)であって、
    -第1直径(D1)を有する第1パイプセクション(8)と、
    -少なくとも部分的に前記第1パイプセクション(8)内に配置され、且つ、前記第1パイプセクション(8)にスライド式に接続された、前記第1直径(D1)よりも小さい第2直径(D2)を有する少なくとも第2パイプセクション(9)と、
    -少なくとも1つの端部アセンブリ(10であって、記第2パイプセクション(9)固定され、且つ、前記第1パイプセクション(8)共に、2つの対向する円筒面により境界付けられた少なくとも1つの第1環状座部(14を画成するように構成され、前記円筒面の一方が前記第1パイプセクション(8)前記円筒面である端部アセンブリ(10と、
    -前記環状座部(14内に収容された少なくとも1つの環状ガスケット(15)と、
    を備え、
    当該環状ガスケット(15)が、ポリマーケーシングと、前記ポリマーケーシング内に収容されたばねとを含み、前記ポリマーケーシングが前記円筒面と接触しており、
    前記端部アセンブリ(10が、記第2パイプセクション(9)の一端に溶接されたリング(12と、前記リング(12の一端に解除可能に固定された少なくとも1つの環状壁(11と、を含み、前記環状壁(11が、前記リング(12)及び前記第1パイプセクション(8)の前記対向する円筒面共に前記環状座部(14を境界付け
    前記リング(12)が、前記環状壁(11)に面した面を有するショルダ(13)を含み、前記面が前記環状壁(11)と、前記リング(12)及び前記第1パイプセクション(8)の前記対向する円筒面と共に前記環状座部(14)を境界付ける、伸縮継手。
  2. 前記第2パイプセクション(9)の周囲に配置された前記第1パイプセクション(8)の一部に解除可能に固定された少なくとも1つのストロークブロック(16)を含む、請求項に記載の伸縮継手。
  3. 前記少なくとも1つのストロークブロック(16)が、前記第1パイプセクション(8)の厚さを貫通する少なくとも1つのファスナを含む、請求項に記載の伸縮継手。
  4. 前記少なくとも1つのストロークブロック(16)が、前記第2パイプセクション(9)の周囲に配置された前記第1パイプセクション(8)の一端に解除可能に固定されたシールリング(17)を備えている、請求項に記載の伸縮継手。
  5. 寸法変化を補償するように構成されたパイプライン伸縮継手(70)であって、
    -第1直径(D1)を有する第1パイプセクション(8)と、
    -少なくとも部分的に前記第1パイプセクション(8)内に配置され、且つ、前記第1パイプセクション(8)にスライド式に接続された、前記第1直径(D1)よりも小さい第2直径(D2)を有する少なくとも第2パイプセクション(9)と、
    -少なくとも1つの端部アセンブリ(18)であって、前記第1パイプセクション(8)に固定され、且つ、前記第2パイプセクション(9)と共に、2つの対向する円筒面により境界付けられた少なくとも1つの第1環状座部(27)を画成するように構成され、前記円筒面の一方が前記第2パイプセクション(9)の前記円筒面である端部アセンブリ(18)と、
    -前記環状座部(27)内に収容された少なくとも1つの環状ガスケット(15)と、
    を備え、
    当該環状ガスケット(15)が、ポリマーケーシングと、前記ポリマーケーシング内に収容されたばねとを含み、前記ポリマーケーシングが前記円筒面と接触しており、
    前記端部アセンブリ(18)が、前記第1パイプセクション(8)に溶接されたリング(21)と、前記リング(21)の一端に解除可能に固定された少なくとも1つの環状壁(19)と、を含み、前記環状壁(19)が、前記リング(21)及び前記第2パイプセクション(9)の前記対向する円筒面と共に前記環状座部(27)を境界付け
    前記伸縮継手は、環状支持体(22)と、前記環状支持体(22)により前記第2パイプセクション(9)に固定された、前記第1直径(D1)及び第2直径(D2)よりも大きい第3直径(D3)を有する第3パイプセクション(23)とを備え、
    前記端部アセンブリ(18)が1環状壁(19)と第2環状壁(20)を含み、前記第1環状壁(19)が第1環状座部(27)を、前記リング(21)及び前記第2パイプセクション(9)の前記円筒面と共に境界付け、前記第2環状壁(20)が第2環状座部(28)を、前記リング(21)及び前記第3パイプセクション(23)の円筒面と共に境界付ける、縮継手。
  6. 前記環状支持体(22)が少なくとも1つの第1貫通穴(24)を含む、請求項に記載の伸縮継手。
  7. 前記第3パイプセクション(23)に固定され且つ前記第1パイプセクション(8)の周囲に配置されたストロークブロック(25)を備える、請求項又はに記載の伸縮継手。
  8. 前記ストロークブロック(25)が、前記ストロークブロック(25)の端部に解除可能に固定された第3環状壁(26)を含み、当該第3環状壁(26)が第3環状座部(29)を、前記ストロークブロック(25)の前記端部及び前記第1パイプセクション(8)の円筒面と共に境界付ける、請求項に記載の伸縮継手。
  9. 前記第1パイプセクション(8)が、少なくとも1つの第2貫通穴(31)を含み、前記少なくとも1つの第2貫通穴(31)の軸が前記第3パイプセクション(23)と交差している、請求項に記載の伸縮継手。
  10. 前記第3直径(D3)の二乗が前記第2直径(D2)の二乗の2倍に実質的に等しい、請求項に記載の伸縮継手。
  11. 2つの第2パイプセクション(9)及び2つの端部アセンブリ(10)を備え、前記第1パイプセクション(8)が長手方向長さ(LI)にわたって長手方向に延在し、前記第2パイプセクション(9)と前記端部アセンブリ(10)とが互いに反対の方向に延在している、請求項1~のいずれか一項に記載の伸縮継手。
  12. 2つのストロークブロック(16)を備え、前記ストロークブロック(16)の各々が、それぞれの前記第2パイプセクション(9)の周囲に配置された前記第1パイプセクション(8)のそれぞれの部分に解除可能に固定されている、請求項11に記載の伸縮継手。
  13. 前記各ストロークブロック(16)が、前記第1パイプセクション(8)の厚さを貫通する少なくとも1つのファスナを含む、請求項12に記載の伸縮継手。
  14. 寸法変化を補償するように構成されたパイプライン伸縮継手(7000)であって、
    -第1直径(D1)を有する第1パイプセクション(8)と、
    -少なくとも部分的に前記第1パイプセクション(8)内に配置され、且つ、前記第1パイプセクション(8)にスライド式に接続された、前記第1直径(D1)よりも小さい第2直径(D2)を有する少なくとも第2パイプセクション(9)と、
    -少なくとも1つの端部アセンブリ(32)であって、前記第1パイプセクション(8)に固定され、且つ、前記前記第2パイプセクション(9)と共に、2つの対向する円筒面により境界付けられた少なくとも1つの第1環状座部(38)を画成するように構成され、前記円筒面の一方が前記第2パイプセクション(9)の前記円筒面である端部アセンブリ(32)と、
    -前記環状座部(38)内に収容された少なくとも1つの環状ガスケット(15)と、
    を備え、
    当該環状ガスケット(15)が、ポリマーケーシングと、前記ポリマーケーシング内に収容されたばねとを含み、前記ポリマーケーシングが前記円筒面と接触しており、
    前記端部アセンブリ(32)が、前記第1パイプセクション(8)に溶接されたリング(33)と、前記リング(33)の一端に解除可能に固定された少なくとも1つの環状壁(36)と、を含み、前記環状壁(36)が、前記リング(33)及び前記第2パイプセクション(9)の前記対向する円筒面と共に前記環状座部(38)を境界付け、
    前記端部アセンブリ(32)が前記リング(33)に解除可能に固定された環状要素(35)とを含み、前記環状要素(35)が前記環状壁(36)を含み、前記リング(33)が前記環状座部(38)を、前記第2パイプセクション(9)の外側円筒面及び前記環状壁(36)と共に境界付け
    前記端部アセンブリ(32)が複数のタイロッド(39)を含み、当該タイロッド(39)の各々が前記環状要素(35)に固定され、且つストロークブロック(40)を備え、伸縮継手(7000)が、前記第2パイプセクション(9)に固定された少なくとも1つのリング(42)を備え、当該リング(42)に貫通開口部(43)が設けられ、当該貫通開口部(43)内に前記タイロッド(39)が、前記第1パイプセクション(8)に対する第2パイプセクション(9)のスライドを制限するようにスライド式に挿入されている、伸縮継手。
  15. 前記リング(33)が、前記環状壁(36)に面した環状面を有するショルダ(37)を含み、前記ショルダ(37)が、前記環状座部(38)を、前記リング(33)の内側円筒面、前記第2パイプセクション(9)の前記外側円筒面及び前記環状壁(36)と共に境界付ける、請求項14に記載の伸縮継手。
  16. 前記リング(33)に少なくとも1つの貫通開口部(45)が設けられ、前記環状座部(38)内部の圧力の測定を可能にするようにしている、請求項14又は15に記載の伸縮継手。
  17. 前記環状座部(38)に収容されたシーリングアセンブリ(48)を備え、当該シーリングアセンブリ(48)が、複数の環状ガスケット(15)と、2つの環状ガスケット(15)の間に配置された少なくとも1つのスペーサ(49)とを含む、請求項1416のいずれか一項に記載の伸縮継手。
  18. 2つの前記第2パイプセクション(9)及び2つの前記端部アセンブリ(32)を含み、前記第2パイプセクション(9)と前記端部アセンブリ(32)とが互いに反対の方向に延在している、請求項1417のいずれか一項に記載の伸縮継手。
  19. 寸法変化を補償するように構成されたパイプライン伸縮継手(7000)であって、
    -第1直径(D1)を有する第1パイプセクション(8)と、
    -少なくとも部分的に前記第1パイプセクション(8)内に配置され、且つ、前記第1パイプセクション(8)にスライド式に接続された、前記第1直径(D1)よりも小さい第2直径(D2)を有する少なくとも第2パイプセクション(9)と、
    -少なくとも1つの端部アセンブリ(52)であって、前記第1パイプセクション(8)に固定され、且つ、前記第2パイプセクション(9)と共に、2つの対向する円筒面により境界付けられた少なくとも1つの第1環状座部(38)を画成するように構成され、前記円筒面の一方が前記第2パイプセクション(9)の前記円筒面である端部アセンブリ(52)と、
    -前記環状座部(38)内に収容された少なくとも1つの環状ガスケット(15)と、
    を備え、
    当該環状ガスケット(15)が、ポリマーケーシングと、前記ポリマーケーシング内に収容されたばねとを含み、前記ポリマーケーシングが前記円筒面と接触しており、
    前記端部アセンブリ(52)が、前記第1パイプセクション(8)に溶接されたリング(33)と、前記リング(33)の一端に解除可能に固定された少なくとも1つの環状壁(56)と、を含み、前記環状壁(56)が、前記リング(33)及び前記第2パイプセクション(9)の前記対向する円筒面と共に前記環状座部(38)を境界付け、
    前記端部アセンブリ(52)が当該リング(33)にねじ込まれた環状要素(53)と、ストロークブロック(54)と、第4パイプセクション(55)とを含み、当該第4パイプセクション(55)が前記第2パイプセクション(9)の周囲に配置され、且つ前記環状要素(53)及び前記ストロークブロック(54)に固定されており、
    前記伸縮継手は、前記環状座部(38)に収容されたシーリングアセンブリ(48)を備え、当該シーリングアセンブリ(48)が、少なくとも1つの環状ガスケット(15)及びリング(50)を含み、当該リング(50)に、前記環状要素(53)により保持された、前記第1パイプセクション(8)の一端に接触している環状壁(56)が設けられている、伸縮継手。
  20. 前記少なくとも1つの第1環状座部境界付ける、前記対向する円筒面が、0.9μm未満表面粗さを有する、請求項19に記載の伸縮継手。
JP2021556588A 2019-03-19 2020-03-18 パイプラインの伸縮継手 Active JP7549600B2 (ja)

Applications Claiming Priority (3)

Application Number Priority Date Filing Date Title
IT102019000003995 2019-03-19
IT201900003995 2019-03-19
PCT/IB2020/052471 WO2020188500A1 (en) 2019-03-19 2020-03-18 Pipeline telescopic joint

Publications (2)

Publication Number Publication Date
JP2022525947A JP2022525947A (ja) 2022-05-20
JP7549600B2 true JP7549600B2 (ja) 2024-09-11

Family

ID=67002186

Family Applications (1)

Application Number Title Priority Date Filing Date
JP2021556588A Active JP7549600B2 (ja) 2019-03-19 2020-03-18 パイプラインの伸縮継手

Country Status (6)

Country Link
US (1) US11746940B2 (ja)
EP (1) EP3942210A1 (ja)
JP (1) JP7549600B2 (ja)
AU (1) AU2020243512A1 (ja)
CA (1) CA3133211A1 (ja)
WO (1) WO2020188500A1 (ja)

Citations (5)

* Cited by examiner, † Cited by third party
Publication number Priority date Publication date Assignee Title
JP2002250204A (ja) 2000-09-27 2002-09-06 General Electric Co <Ge> 流体を移送するための継手を組み立てる方法及び装置
JP2007303548A (ja) 2006-05-11 2007-11-22 Victaulic Co Of Japan Ltd 伸縮可撓管継手
JP3154881U (ja) 2009-08-17 2009-10-29 大同金属工業株式会社 管継手
CN101975317A (zh) 2010-10-19 2011-02-16 无锡市金羊管道附件有限公司 填料函式补偿接头
JP2014163425A (ja) 2013-02-22 2014-09-08 Yokohama Rubber Co Ltd:The 管継手構造

Family Cites Families (34)

* Cited by examiner, † Cited by third party
Publication number Priority date Publication date Assignee Title
US382514A (en) * 1888-05-08 Pipe-coupling
US381803A (en) * 1888-04-24 Sliding joint for gas-mains
US853974A (en) * 1905-12-09 1907-05-21 Crane Co Expansion-joint.
US2538683A (en) 1948-01-31 1951-01-16 Guiler Cameron Fluid seal
US2520501A (en) * 1949-01-13 1950-08-29 Guiler Cameron Connector
US3512789A (en) 1967-03-31 1970-05-19 Charles L Tanner Cryogenic face seal
JPS4635064Y1 (ja) * 1967-06-06 1971-12-03
JPS4738244Y1 (ja) * 1968-02-16 1972-11-20
US3680874A (en) * 1970-08-24 1972-08-01 Federal Mogul Corp Flexible pneumatic duct connectors assembled with internal seals
JPS4966032U (ja) * 1972-09-18 1974-06-10
US3951418A (en) * 1974-01-21 1976-04-20 W. S. Shamban & Co. Moving captive seal construction usable under high temperature and cryogenic conditions
JPS5150311U (ja) * 1974-10-15 1976-04-16
US4030740A (en) * 1975-07-01 1977-06-21 American Air Filter Company, Inc. Expansion joint
JPS5390222U (ja) * 1976-12-25 1978-07-24
JPS58146184U (ja) * 1982-03-26 1983-10-01 理研工機株式会社 管継手
JPS58191486U (ja) * 1982-06-15 1983-12-20 新日本製鐵株式会社 伸縮管継手における漏洩検知装置付き2重シ−ル装置
JPH0142717Y2 (ja) * 1985-12-17 1989-12-13
JPS62108689U (ja) * 1985-12-27 1987-07-11
GB8906949D0 (en) * 1989-03-28 1989-05-10 Marston Palmer Ltd Coupling
DD283195A5 (de) * 1989-05-08 1990-10-03 Berlin Tiefbau Veb Axialer dehnungsausgleicher mit warnanzeige bei medienaustritt fuer rohrleitungen
JPH0320787U (ja) * 1989-07-11 1991-02-28
US5106129A (en) * 1990-10-09 1992-04-21 Delaware Capital Formation, Inc. Flexible coupling for transferring a fluid between two fluid conduits
JP3117606B2 (ja) * 1994-07-29 2000-12-18 第一高周波工業株式会社 管継手
WO1996016289A1 (en) * 1994-11-18 1996-05-30 Aeroquip Corporation Flexible joint with limited angular and linear movement
JP3197477B2 (ja) * 1995-12-27 2001-08-13 関東鋳鉄株式会社 管路の可撓構造並びに可撓伸縮構造
US6003814A (en) * 1996-06-17 1999-12-21 Seniors Flexonics Inc. Stainless Steel Products Division Double-walled duct assembly for aircraft anti-icing conduit systems
US6131960A (en) 1998-10-16 2000-10-17 Mchughs; Larry Packing sealed expansion joint
US6449942B1 (en) * 1999-06-24 2002-09-17 Lockheed Martin Corporation Slip joint duct system
JP2004347045A (ja) * 2003-05-23 2004-12-09 Noora Engineering Kk ステンレス鋼管用の伸縮管継手
US9568134B2 (en) * 2011-08-05 2017-02-14 Eaton Corporation Fluid conveyence system connector
US20140053725A1 (en) * 2012-08-22 2014-02-27 Saudi Arabian Oil Company Helium Junction with Replaceable Graphene Cartridges
FR3018336B1 (fr) * 2014-03-06 2017-03-10 Airbus Operations Sas Dispositif de connexion d'une conduite amovible et canalisation pourvue d'un tel dispositif
WO2017201565A1 (en) 2016-05-23 2017-11-30 Clough Limited Cryogenic expansion joint
US10948113B1 (en) * 2019-12-02 2021-03-16 Freudenberg Oil & Gas, Llc Longitudinal expansion joint for piping system

Patent Citations (5)

* Cited by examiner, † Cited by third party
Publication number Priority date Publication date Assignee Title
JP2002250204A (ja) 2000-09-27 2002-09-06 General Electric Co <Ge> 流体を移送するための継手を組み立てる方法及び装置
JP2007303548A (ja) 2006-05-11 2007-11-22 Victaulic Co Of Japan Ltd 伸縮可撓管継手
JP3154881U (ja) 2009-08-17 2009-10-29 大同金属工業株式会社 管継手
CN101975317A (zh) 2010-10-19 2011-02-16 无锡市金羊管道附件有限公司 填料函式补偿接头
JP2014163425A (ja) 2013-02-22 2014-09-08 Yokohama Rubber Co Ltd:The 管継手構造

Also Published As

Publication number Publication date
EP3942210A1 (en) 2022-01-26
JP2022525947A (ja) 2022-05-20
AU2020243512A1 (en) 2021-10-21
WO2020188500A1 (en) 2020-09-24
CA3133211A1 (en) 2020-09-24
US20220163150A1 (en) 2022-05-26
US11746940B2 (en) 2023-09-05

Similar Documents

Publication Publication Date Title
US7399002B2 (en) Cryogenic seal for vacuum-insulated pipe expansion bellows
US6695358B2 (en) Controlled leak cryogenic bayonet pipe spool and system
US20190128454A1 (en) Adjustable frac flow line
US4526409A (en) Expansion joint
RU2652856C2 (ru) Фитинг для системы защиты трубопровода
US6769698B2 (en) Seal ring and seal structure at flange joint used for composite tanks and pipes
US20240418302A1 (en) Convex male fitting and systems
KR102541108B1 (ko) 플랜지 어셈블리
RU145662U1 (ru) Тройник для соединения трубопровода
US7137651B2 (en) Fluid piping systems and pipe spools suitable for sub sea use
WO2017201565A1 (en) Cryogenic expansion joint
JP7549600B2 (ja) パイプラインの伸縮継手
US9394996B2 (en) Sealing device
RU2564156C2 (ru) Фиттинг с фланцами для использования с системой герметизации труб
EP3555516B1 (en) Expansion joint fitting for flammable liquid
US7195284B2 (en) Flexible synthetic resin coupling
EP2505882A1 (en) Sealing insert for a ball valve, seat for ball valve and ball valve
RU2811245C2 (ru) Телескопическое соединение трубопровода
US20200393073A1 (en) Compensator with backup assembly and corresponding method
BR112019011778B1 (pt) Acessório flangeado para líquido inflamável, conjunto de junta de flange para transportar líquido e gaxeta anular para um conjunto de junta de flange
US3537729A (en) Expansion joint for pipe
KR20150146249A (ko) 배관 티
CN220268782U (zh) 高压膨胀节
JP6151626B2 (ja) 熱交換器用の流路の接続装置
CN109915677B (zh) 一种带有波纹管连接结构的蒸汽发生器及双流道结构

Legal Events

Date Code Title Description
A621 Written request for application examination

Free format text: JAPANESE INTERMEDIATE CODE: A621

Effective date: 20230125

A977 Report on retrieval

Free format text: JAPANESE INTERMEDIATE CODE: A971007

Effective date: 20240208

A131 Notification of reasons for refusal

Free format text: JAPANESE INTERMEDIATE CODE: A131

Effective date: 20240326

A521 Request for written amendment filed

Free format text: JAPANESE INTERMEDIATE CODE: A523

Effective date: 20240621

TRDD Decision of grant or rejection written
A01 Written decision to grant a patent or to grant a registration (utility model)

Free format text: JAPANESE INTERMEDIATE CODE: A01

Effective date: 20240806

A61 First payment of annual fees (during grant procedure)

Free format text: JAPANESE INTERMEDIATE CODE: A61

Effective date: 20240830

R150 Certificate of patent or registration of utility model

Ref document number: 7549600

Country of ref document: JP

Free format text: JAPANESE INTERMEDIATE CODE: R150