JP7433859B2 - 風力発電装置の支持構造及び風力発電装置 - Google Patents

風力発電装置の支持構造及び風力発電装置 Download PDF

Info

Publication number
JP7433859B2
JP7433859B2 JP2019213415A JP2019213415A JP7433859B2 JP 7433859 B2 JP7433859 B2 JP 7433859B2 JP 2019213415 A JP2019213415 A JP 2019213415A JP 2019213415 A JP2019213415 A JP 2019213415A JP 7433859 B2 JP7433859 B2 JP 7433859B2
Authority
JP
Japan
Prior art keywords
floating body
support
wind power
tower
body part
Prior art date
Legal status (The legal status is an assumption and is not a legal conclusion. Google has not performed a legal analysis and makes no representation as to the accuracy of the status listed.)
Active
Application number
JP2019213415A
Other languages
English (en)
Other versions
JP2021085341A (ja
Inventor
邦宏 森下
基規 加藤
忠士 杉村
篤 湯下
界 刈込
Current Assignee (The listed assignees may be inaccurate. Google has not performed a legal analysis and makes no representation or warranty as to the accuracy of the list.)
Mitsubishi Heavy Industries Ltd
Original Assignee
Mitsubishi Heavy Industries Ltd
Priority date (The priority date is an assumption and is not a legal conclusion. Google has not performed a legal analysis and makes no representation as to the accuracy of the date listed.)
Filing date
Publication date
Application filed by Mitsubishi Heavy Industries Ltd filed Critical Mitsubishi Heavy Industries Ltd
Priority to JP2019213415A priority Critical patent/JP7433859B2/ja
Priority to EP20894347.2A priority patent/EP4039969A4/en
Priority to US17/774,236 priority patent/US12085057B2/en
Priority to PCT/JP2020/042002 priority patent/WO2021106560A1/ja
Priority to TW109140086A priority patent/TWI755159B/zh
Publication of JP2021085341A publication Critical patent/JP2021085341A/ja
Application granted granted Critical
Publication of JP7433859B2 publication Critical patent/JP7433859B2/ja
Active legal-status Critical Current
Anticipated expiration legal-status Critical

Links

Images

Classifications

    • FMECHANICAL ENGINEERING; LIGHTING; HEATING; WEAPONS; BLASTING
    • F03MACHINES OR ENGINES FOR LIQUIDS; WIND, SPRING, OR WEIGHT MOTORS; PRODUCING MECHANICAL POWER OR A REACTIVE PROPULSIVE THRUST, NOT OTHERWISE PROVIDED FOR
    • F03DWIND MOTORS
    • F03D13/00Assembly, mounting or commissioning of wind motors; Arrangements specially adapted for transporting wind motor components
    • F03D13/20Arrangements for mounting or supporting wind motors; Masts or towers for wind motors
    • F03D13/25Arrangements for mounting or supporting wind motors; Masts or towers for wind motors specially adapted for offshore installation
    • BPERFORMING OPERATIONS; TRANSPORTING
    • B63SHIPS OR OTHER WATERBORNE VESSELS; RELATED EQUIPMENT
    • B63BSHIPS OR OTHER WATERBORNE VESSELS; EQUIPMENT FOR SHIPPING 
    • B63B1/00Hydrodynamic or hydrostatic features of hulls or of hydrofoils
    • B63B1/02Hydrodynamic or hydrostatic features of hulls or of hydrofoils deriving lift mainly from water displacement
    • B63B1/10Hydrodynamic or hydrostatic features of hulls or of hydrofoils deriving lift mainly from water displacement with multiple hulls
    • B63B1/107Semi-submersibles; Small waterline area multiple hull vessels and the like, e.g. SWATH
    • BPERFORMING OPERATIONS; TRANSPORTING
    • B63SHIPS OR OTHER WATERBORNE VESSELS; RELATED EQUIPMENT
    • B63BSHIPS OR OTHER WATERBORNE VESSELS; EQUIPMENT FOR SHIPPING 
    • B63B75/00Building or assembling floating offshore structures, e.g. semi-submersible platforms, SPAR platforms or wind turbine platforms
    • FMECHANICAL ENGINEERING; LIGHTING; HEATING; WEAPONS; BLASTING
    • F03MACHINES OR ENGINES FOR LIQUIDS; WIND, SPRING, OR WEIGHT MOTORS; PRODUCING MECHANICAL POWER OR A REACTIVE PROPULSIVE THRUST, NOT OTHERWISE PROVIDED FOR
    • F03DWIND MOTORS
    • F03D13/00Assembly, mounting or commissioning of wind motors; Arrangements specially adapted for transporting wind motor components
    • F03D13/20Arrangements for mounting or supporting wind motors; Masts or towers for wind motors
    • FMECHANICAL ENGINEERING; LIGHTING; HEATING; WEAPONS; BLASTING
    • F03MACHINES OR ENGINES FOR LIQUIDS; WIND, SPRING, OR WEIGHT MOTORS; PRODUCING MECHANICAL POWER OR A REACTIVE PROPULSIVE THRUST, NOT OTHERWISE PROVIDED FOR
    • F03DWIND MOTORS
    • F03D9/00Adaptations of wind motors for special use; Combinations of wind motors with apparatus driven thereby; Wind motors specially adapted for installation in particular locations
    • F03D9/30Wind motors specially adapted for installation in particular locations
    • HELECTRICITY
    • H02GENERATION; CONVERSION OR DISTRIBUTION OF ELECTRIC POWER
    • H02KDYNAMO-ELECTRIC MACHINES
    • H02K7/00Arrangements for handling mechanical energy structurally associated with dynamo-electric machines, e.g. structural association with mechanical driving motors or auxiliary dynamo-electric machines
    • H02K7/18Structural association of electric generators with mechanical driving motors, e.g. with turbines
    • H02K7/1807Rotary generators
    • H02K7/1823Rotary generators structurally associated with turbines or similar engines
    • H02K7/183Rotary generators structurally associated with turbines or similar engines wherein the turbine is a wind turbine
    • H02K7/1838Generators mounted in a nacelle or similar structure of a horizontal axis wind turbine
    • BPERFORMING OPERATIONS; TRANSPORTING
    • B63SHIPS OR OTHER WATERBORNE VESSELS; RELATED EQUIPMENT
    • B63BSHIPS OR OTHER WATERBORNE VESSELS; EQUIPMENT FOR SHIPPING 
    • B63B1/00Hydrodynamic or hydrostatic features of hulls or of hydrofoils
    • B63B1/02Hydrodynamic or hydrostatic features of hulls or of hydrofoils deriving lift mainly from water displacement
    • B63B1/10Hydrodynamic or hydrostatic features of hulls or of hydrofoils deriving lift mainly from water displacement with multiple hulls
    • B63B1/12Hydrodynamic or hydrostatic features of hulls or of hydrofoils deriving lift mainly from water displacement with multiple hulls the hulls being interconnected rigidly
    • B63B1/125Hydrodynamic or hydrostatic features of hulls or of hydrofoils deriving lift mainly from water displacement with multiple hulls the hulls being interconnected rigidly comprising more than two hulls
    • B63B2001/126Hydrodynamic or hydrostatic features of hulls or of hydrofoils deriving lift mainly from water displacement with multiple hulls the hulls being interconnected rigidly comprising more than two hulls comprising more than three hulls
    • BPERFORMING OPERATIONS; TRANSPORTING
    • B63SHIPS OR OTHER WATERBORNE VESSELS; RELATED EQUIPMENT
    • B63BSHIPS OR OTHER WATERBORNE VESSELS; EQUIPMENT FOR SHIPPING 
    • B63B1/00Hydrodynamic or hydrostatic features of hulls or of hydrofoils
    • B63B1/02Hydrodynamic or hydrostatic features of hulls or of hydrofoils deriving lift mainly from water displacement
    • B63B1/10Hydrodynamic or hydrostatic features of hulls or of hydrofoils deriving lift mainly from water displacement with multiple hulls
    • B63B1/12Hydrodynamic or hydrostatic features of hulls or of hydrofoils deriving lift mainly from water displacement with multiple hulls the hulls being interconnected rigidly
    • B63B2001/128Hydrodynamic or hydrostatic features of hulls or of hydrofoils deriving lift mainly from water displacement with multiple hulls the hulls being interconnected rigidly comprising underwater connectors between the hulls
    • BPERFORMING OPERATIONS; TRANSPORTING
    • B63SHIPS OR OTHER WATERBORNE VESSELS; RELATED EQUIPMENT
    • B63BSHIPS OR OTHER WATERBORNE VESSELS; EQUIPMENT FOR SHIPPING 
    • B63B35/00Vessels or similar floating structures specially adapted for specific purposes and not otherwise provided for
    • B63B35/44Floating buildings, stores, drilling platforms, or workshops, e.g. carrying water-oil separating devices
    • B63B2035/4433Floating structures carrying electric power plants
    • B63B2035/446Floating structures carrying electric power plants for converting wind energy into electric energy
    • BPERFORMING OPERATIONS; TRANSPORTING
    • B63SHIPS OR OTHER WATERBORNE VESSELS; RELATED EQUIPMENT
    • B63BSHIPS OR OTHER WATERBORNE VESSELS; EQUIPMENT FOR SHIPPING 
    • B63B2231/00Material used for some parts or elements, or for particular purposes
    • B63B2231/60Concretes
    • B63B2231/64Reinforced or armoured concretes
    • FMECHANICAL ENGINEERING; LIGHTING; HEATING; WEAPONS; BLASTING
    • F05INDEXING SCHEMES RELATING TO ENGINES OR PUMPS IN VARIOUS SUBCLASSES OF CLASSES F01-F04
    • F05BINDEXING SCHEME RELATING TO WIND, SPRING, WEIGHT, INERTIA OR LIKE MOTORS, TO MACHINES OR ENGINES FOR LIQUIDS COVERED BY SUBCLASSES F03B, F03D AND F03G
    • F05B2240/00Components
    • F05B2240/90Mounting on supporting structures or systems
    • F05B2240/93Mounting on supporting structures or systems on a structure floating on a liquid surface
    • FMECHANICAL ENGINEERING; LIGHTING; HEATING; WEAPONS; BLASTING
    • F05INDEXING SCHEMES RELATING TO ENGINES OR PUMPS IN VARIOUS SUBCLASSES OF CLASSES F01-F04
    • F05BINDEXING SCHEME RELATING TO WIND, SPRING, WEIGHT, INERTIA OR LIKE MOTORS, TO MACHINES OR ENGINES FOR LIQUIDS COVERED BY SUBCLASSES F03B, F03D AND F03G
    • F05B2240/00Components
    • F05B2240/90Mounting on supporting structures or systems
    • F05B2240/95Mounting on supporting structures or systems offshore
    • YGENERAL TAGGING OF NEW TECHNOLOGICAL DEVELOPMENTS; GENERAL TAGGING OF CROSS-SECTIONAL TECHNOLOGIES SPANNING OVER SEVERAL SECTIONS OF THE IPC; TECHNICAL SUBJECTS COVERED BY FORMER USPC CROSS-REFERENCE ART COLLECTIONS [XRACs] AND DIGESTS
    • Y02TECHNOLOGIES OR APPLICATIONS FOR MITIGATION OR ADAPTATION AGAINST CLIMATE CHANGE
    • Y02EREDUCTION OF GREENHOUSE GAS [GHG] EMISSIONS, RELATED TO ENERGY GENERATION, TRANSMISSION OR DISTRIBUTION
    • Y02E10/00Energy generation through renewable energy sources
    • Y02E10/70Wind energy
    • Y02E10/72Wind turbines with rotation axis in wind direction
    • YGENERAL TAGGING OF NEW TECHNOLOGICAL DEVELOPMENTS; GENERAL TAGGING OF CROSS-SECTIONAL TECHNOLOGIES SPANNING OVER SEVERAL SECTIONS OF THE IPC; TECHNICAL SUBJECTS COVERED BY FORMER USPC CROSS-REFERENCE ART COLLECTIONS [XRACs] AND DIGESTS
    • Y02TECHNOLOGIES OR APPLICATIONS FOR MITIGATION OR ADAPTATION AGAINST CLIMATE CHANGE
    • Y02EREDUCTION OF GREENHOUSE GAS [GHG] EMISSIONS, RELATED TO ENERGY GENERATION, TRANSMISSION OR DISTRIBUTION
    • Y02E10/00Energy generation through renewable energy sources
    • Y02E10/70Wind energy
    • Y02E10/727Offshore wind turbines
    • YGENERAL TAGGING OF NEW TECHNOLOGICAL DEVELOPMENTS; GENERAL TAGGING OF CROSS-SECTIONAL TECHNOLOGIES SPANNING OVER SEVERAL SECTIONS OF THE IPC; TECHNICAL SUBJECTS COVERED BY FORMER USPC CROSS-REFERENCE ART COLLECTIONS [XRACs] AND DIGESTS
    • Y02TECHNOLOGIES OR APPLICATIONS FOR MITIGATION OR ADAPTATION AGAINST CLIMATE CHANGE
    • Y02EREDUCTION OF GREENHOUSE GAS [GHG] EMISSIONS, RELATED TO ENERGY GENERATION, TRANSMISSION OR DISTRIBUTION
    • Y02E10/00Energy generation through renewable energy sources
    • Y02E10/70Wind energy
    • Y02E10/728Onshore wind turbines
    • YGENERAL TAGGING OF NEW TECHNOLOGICAL DEVELOPMENTS; GENERAL TAGGING OF CROSS-SECTIONAL TECHNOLOGIES SPANNING OVER SEVERAL SECTIONS OF THE IPC; TECHNICAL SUBJECTS COVERED BY FORMER USPC CROSS-REFERENCE ART COLLECTIONS [XRACs] AND DIGESTS
    • Y02TECHNOLOGIES OR APPLICATIONS FOR MITIGATION OR ADAPTATION AGAINST CLIMATE CHANGE
    • Y02PCLIMATE CHANGE MITIGATION TECHNOLOGIES IN THE PRODUCTION OR PROCESSING OF GOODS
    • Y02P70/00Climate change mitigation technologies in the production process for final industrial or consumer products
    • Y02P70/50Manufacturing or production processes characterised by the final manufactured product

Landscapes

  • Engineering & Computer Science (AREA)
  • Sustainable Energy (AREA)
  • Life Sciences & Earth Sciences (AREA)
  • Mechanical Engineering (AREA)
  • Chemical & Material Sciences (AREA)
  • Combustion & Propulsion (AREA)
  • Sustainable Development (AREA)
  • General Engineering & Computer Science (AREA)
  • Power Engineering (AREA)
  • Ocean & Marine Engineering (AREA)
  • Architecture (AREA)
  • Structural Engineering (AREA)
  • Physics & Mathematics (AREA)
  • Fluid Mechanics (AREA)
  • Wind Motors (AREA)

Description

本開示は、風力発電装置の支持構造及び風力発電装置に関するものである。
洋上風力発電装置には、海底にタワー部の基礎を埋設する着床式や、洋上にタワー部を浮力によって浮かせてバランスさせる浮体式などがある。浮体式風力発電装置は、特許文献1で開示されているように、風車部が設置されたタワー部と、タワー部を支持する基礎(浮力部)を備える。浮力部は、例えば三つのアウターカラムと、一つのセンターカラムと、各カラムの上部を連結するトップビームと、各カラムの下部を連結するボトムビームと、センターカラムの上部とアウターカラムの下部を連結する支柱を有するものがある(例えば、特許文献1の図22)。
また、特許文献2においても、浮体式風力発電装置が、センターカラムと、その径方向に配設された複数の浮力要素と、センターカラムと浮力要素を連結する支柱を備えることが開示されている。
特許第6336436号公報 英国特許出願公開第2538329号明細書
特許文献1に示された基礎(浮力部)は、複数の部品を個別に製作し、その後各部品を組み立てていく工法によって製作される。アウターカラム、センターカラム、トップビーム、ボトムビーム及び支柱のいずれの部品も複数からなり、この工法では、それぞれに対して足場を設置する必要があり、クレーン等での運搬回数も多い。したがって、施工工数が多くなり、施工にかかる時間や手間がかかるという問題がある。また、タワー部と浮力部間、浮力部の各部品間は剛接合によって接続される必要があるため、接合部の強度確保のために接合部材が大掛かりのものとなってしまう。さらに、浮力部は洋上に設置したパージ上で組立が行われるが、各部品が接合された完成品の浮力部は相当な面積を有することから、大きなパージを用意する必要がある。
また、特許文献2における浮力部においても、センターカラムと浮力要素を連結する支柱は、各部品と剛接合によって接続されている。また、タワー部の下部に設けられる管状部とセンターカラムは、センターカラムの内部と管状部の外部の間に充填されるグラウトを介して固定される。したがって、センターカラムの上部と浮力要素との間で斜めに配置された支柱には、タワー部側から大きな荷重が伝達される。そのため、支柱は、座屈が生じないような耐力が要求される。
本開示は、このような事情に鑑みてなされたものであって、各部材同士の接合部分を簡素化することが可能な風力発電装置の支持構造及び風力発電装置を提供することを目的とする。
上記課題を解決するために、本開示の風力発電装置の支持構造及び風力発電装置は以下の手段を採用する。
すなわち、本開示に係る風力発電装置の支持構造は、水面又は水中に浮遊可能な複数の浮体部と、一端が前記複数の浮体部のうち一の浮体部と接続され、他端が前記複数の浮体部のうち他の浮体部と接続された接続部材と、前記複数の浮体部の中間に設けられ、風力発電装置のタワー部の下端を支持する支持台と、一端が前記浮体部に接続され、他端が前記支持台に接続された線状のワイヤ部材と、前記浮体部又は前記接続部材に設けられ、前記支持台に支持された前記タワー部を前記タワー部の軸方向に移動可能に側方から支持する支持部材とを備える。
本開示に係る風力発電装置は、上述した風力発電装置の支持構造を備える。
本開示によれば、各部材同士の接合部分を簡素化することができ、製造にかかる時間やコストを低減することができる。
本開示の一実施形態に係る風力発電装置を示す側面図である。 本開示の一実施形態に係る風力発電装置の支持構造を示す斜視図である。 本開示の一実施形態に係る風力発電装置の支持構造を示す平面図である。 本開示の一実施形態に係る風力発電装置の支持構造の第1変形例を示す平面図である。 本開示の一実施形態に係る風力発電装置の支持構造の第2変形例を示す平面図である。 本開示の一実施形態に係る風力発電装置の支持構造の第3変形例を示す平面図である。 本開示の一実施形態に係る支持構造の接続部材及び支持部材を示す斜視図である。 本開示の一実施形態に係る支持構造を示す模式図である。 本開示の一実施形態に係る支持構造の支持台の第1実施例を示す縦断面図である。 本開示の一実施形態に係る支持構造の支持台の第2実施例を示す縦断面図である。 本開示の一実施形態に係る支持構造の浮体部を示す分解斜視図である。 本開示の一実施形態に係る支持構造の浮体部を示す斜視図である。 本開示の一実施形態に係る支持構造の浮体部の第1実施例を示す縦断面図である。 本開示の一実施形態に係る支持構造の浮体部の第2実施例を示す縦断面図である。 本開示の一実施形態に係る支持構造の浮体部の第3実施例を示す縦断面図である。 本開示の一実施形態に係る支持構造の接続部材及び支持部材の変形例を示す斜視図である。 本開示の一実施形態に係る支持構造の接続部材を示す横断面図であり、図7のA線矢視図である。 本開示の一実施形態に係る支持構造を示す側面図であり、図7のB線矢視図である。 本開示の一実施形態に係る支持構造の浮体部と接続部材の間の接続部分の第1実施例を示す拡大縦断面図である。 本開示の一実施形態に係る支持構造の浮体部と接続部材の間の接続部分の第2実施例を示す拡大縦断面図である。 本開示の一実施形態に係る支持構造の浮体部と接続部材の間の接続部分の第2実施例を示す拡大縦断面図である。 本開示の一実施形態に係る風力発電装置の支持構造の製造方法を示す説明図である。 本開示の一実施形態に係る風力発電装置の支持構造の製造方法を示す説明図である。 本開示の一実施形態に係る風力発電装置の支持構造の製造方法を示す説明図である。 本開示の一実施形態に係る風力発電装置の支持構造の製造方法を示す説明図である。 本開示の一実施形態に係る風力発電装置の支持構造の製造方法を示す斜視図である。 本開示の一実施形態に係る風力発電装置の支持構造の製造方法を示す斜視図である。 本開示の一実施形態に係る風力発電装置の支持構造の製造方法を示す斜視図である。 本開示の一実施形態に係る風力発電装置の支持構造の製造方法を示す斜視図である。
以下に、本開示の一実施形態に係る風力発電装置1について、図面を参照して説明する。
本開示の一実施形態に係る風力発電装置1は、図1に示すように、1つのタワー部2と、タワー部2に設置された風車部3と、タワー部2を洋上で支持する支持構造10などを備える。風力発電装置1は、発生した電力を電力系統へ送電するために系統連系されている。風力発電装置1は、浮体式であり、水面又は水中に浮かばされた支持構造10によって洋上に設置される。支持構造10は、アンカーケーブル8によって海底と係留される。アンカーケーブル8は、一端が海底に固定され、他端が支持構造10に接続されている。
タワー部2は、一方向に長い構造を有し、軸方向が設置面に対して垂直方向となるようにタワー部2の基礎部4が支持構造10に設けられる。タワー部2は、例えば1本の円柱状部材でもよいし、複数の長尺状部材が組み合わされて構成されてもよい。
タワー部2は、上端側において風車部3を支持する。タワー部2は、圧縮力及び曲げを主に負担する長尺状部材などから構成される。
タワー部2に設置された風車部3は、ナセル5と、ナセル5に収容されるロータ及び発電機と、ロータの先端に設置されたロータヘッド6と、ロータヘッド6に設けられた複数枚(例えば3枚)の翼7などを有する。
ナセル5は、タワー部2の上部に設置され、内部にロータや、増速機、発電機などを備える。ナセル5の一端側には、ロータヘッド6が設けられる。ロータは、ほぼ水平な軸線周りに回転可能である。ロータの一端側は、ロータヘッド6に接続され、ロータの他端側は、例えば直接的に発電機に接続され、又は、増速機若しくは油圧ポンプ・油圧モータを介して発電機に接続される。発電機は、ロータが軸周りに回転することによって生じる回転力によって駆動し発電する。
翼7は、ロータヘッド6において、放射状に複数枚取り付けられる。複数枚の翼7は、風を受けることによって、ロータを中心にして回転する。翼7は、ピッチ制御用の旋回輪軸受を介してロータヘッド6に接続され、翼長方向に延在する翼軸周りに回動可能である。これにより、翼7のピッチ角が調整される。
ナセル5は、タワー部2に対して略水平面上で旋回して、ロータヘッド6の方向を風向きに合わせ、翼7の回転面を風向きに正対させる。ナセル5が略水平面上で旋回することをヨー(yaw)旋回という。ナセル5は、ナセル5とタワー部2に接続されたヨー旋回輪軸受を介して旋回する。
本実施形態によれば、風車部3は、ロータと、ロータに設けられた翼7と、ロータの回転力によって発電する発電機をそれぞれ有し、風車部3は、タワー部2によって支持される。風車部3は、風を受けて回転し発電する。
次に、本実施形態に係る風力発電装置1の支持構造10について説明する。
支持構造10は、図2に示すように、複数の浮体部(ポンツーン)11と、接続部材12と、支持台13と、ワイヤ部材14と、支持部材15などを備える。
複数の浮体部11は、それぞれ水面又は水中に浮くことが可能な構成を有しており、タワー部2の径方向外側において、タワー部2を囲むように周方向に設置される。浮体部11は、バランス良くタワー部2を支持できればよく、三つ設置されてもよいし、三つ以上設置されてもよい。図3及び図4には、浮体部11が三つ設置される場合を示し、図5及び図6には、浮体部11が四つ設置される場合を示す。
接続部材12は、例えば、第2開口部23Aが形成された第2環状部材23と、第2環状部材23の外周面に設置された長尺状部材24を有する。第2環状部材23は、浮体部11に設置される。長尺状部材24は、一端が複数の浮体部11のうち一の浮体部11と接続され、他端が複数の浮体部11のうち他の浮体部11と接続されている。長尺状部材24は、浮体部間に作用する力(曲げ、圧縮、引張など)を主に負担する。
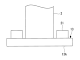
支持台13は、複数の浮体部11の中間に設けられ、風力発電装置1のタワー部2の下端に設けられた基礎部4を支持する。支持台13は、浮体部11の下端よりも下方においてタワー部2の下端を支持する。すなわち、タワー部2が支持部材15を貫通して、タワー部2の下部が支持部材15よりも下方に延設されており、タワー部2の重心位置が下方に下がる。これにより、浮体部11自体の高さを小さくしても揺動に対する安定性を確保できる。したがって、浮体部11の製造にかかる時間やコストを低減できる。
ワイヤ部材14は、線状部材であり、一端が浮体部11に接続され、他端が支持台13に接続される。なお、ワイヤ部材14は、一端側において、浮体部11ではなく、接続部材12、例えば接続部材12の第2環状部材23又は長尺状部材24と接続されてもよい。ワイヤ部材14は、引張力を主に負担する。ワイヤ部材14は、より線構造を有するものが適用されてもよい。これにより、ワイヤ部材14の伸縮による変形で、タワー部2と浮体部11には減衰が負荷される。その結果、タワー部2と浮体部11に生じる揺動を抑制する効果が発揮される。
ワイヤ部材14は、浮体部11又は接続部材12と支持台13の間で、図2に示すように、例えば、2本ずつ設置される。なお、各位置において設置されるワイヤ部材14の本数は、この例に限定されず、1本ずつでもよいし、3本以上ずつでもよい。また、フェールセーフのため、ワイヤ部材14に沿って予備のワイヤ部材(図示せず。)が併設されてもよい。
支持部材15は、図3~図6に示すように、一端が接続部材12の第2環状部材23又は長尺状部材24に設けられ、図8に示すように、支持台13に支持されたタワー部2をタワー部2の軸方向に移動可能に側方から支持する。
図7に示すように、支持部材15は、例えば、第1開口部16Aが形成された第1環状部材16と、第1環状部材16の外周面に設置された長尺状部材17を有する。第1開口部16Aの内径は、タワー部2の外径よりもわずかに大きい。第1環状部材16は、第1開口部16Aにてタワー部2を挿通可能であり、第1開口部16Aの内部においてタワー部2が軸方向に移動する。図8に示すように、タワー部2は、支持部材15と接合されず、隙間を開けた状態で貫通している。タワー部2は第1環状部材16によって支持されることから、周方向の全てにわたってタワー部2の倒れが均等に防止される。
一端が支持部材15の第1環状部材16と接続される長尺状部材17は、図3及び図5に示すように、他端が接続部材12の中間部と接続されてもよいし、図4及び図6に示すように、他端が接続部材12の端部、すなわち、浮体部11近傍に接続されてもよい。なお、支持部材15は、上述した例に限定されず、剛性や強度要求を満足できれば、他の構造を有してもよい。
浮体部11と接続部材12は、互いに連結されて剛接合されている。タワー部2は、従来の浮体式の支持構造と異なり、浮体部11とは剛結されない。従来の浮体式の支持構造では、タワー部と浮体部が剛結されているため、片持ち梁形式の構造体となっている。そのため、支持構造に生じる曲げモーメントが大きくなるため、タワー部と浮体部とを接合する接合部に要求される強度が大きくなる。これに対し、図8に示すように、本実施形態では、タワー部2と浮体部11は互いに剛結されず、支持部材15の第1環状部材16を通してタワー部2が貫通設置されている。また、タワー部2は、支持部材15によって軸方向に移動可能に側方から支持される。
タワー部2の鉛直自重は、支持台13からワイヤ部材14を介して浮体部11側に伝達される。浮体部とタワー部が剛結されている場合と異なり、剛結された接合部が不要となり、かつ、接合部分の構造を簡素化できる。よって、製造工程も簡略化でき、製造にかかる時間やコストを低減できる。
また、図9及び図10に示すように、タワー部2と支持台13の接合部分は、剛結合とされず、支持台13上においてタワー部2が水平方向に移動可能に構成されてもよい。タワー部2と支持台13の接合部分は、剛結合とされないため、接合部分を簡素化することができ、接合部分の製造にかかる時間やコストを低減できる。
この場合、支持台13は、タワー部2の下端を囲むように設けられた第1突出部21を有してもよい。第1突出部21は、タワー部2と支持台13の接合部分において、タワー部2が水平方向に移動した場合の水平方向の移動を拘束する。第1突出部21は、図9に示すように、支持台13の平坦な板状部材13Aに対して上向きに突出するように設けられてもよいし、図10に示すように、支持台13自体に凹部13Bを形成することによって、タワー部2の下端を囲む第1突出部21が設けられてもよい。なお、第1突出部21によってタワー部2の水平方向の移動を拘束できれば、第1突出部21の構成は上述した例に限定されない。
第1突出部21において、タワー部2と対向する面には、緩衝体(図示せず。)が設置されてもよい。これにより、タワー部2が水平方向に移動した場合に、タワー部2が直接支持台13に衝撃的に接触するのを防止でき、支持台13の損傷を軽減できる。緩衝体は、例えば、ゴムなどの高分子系材料、ハニカム構造等を有する金属系材料などである。
浮体部11と接続部材12は、図11及び図12に示すように、接続部材12の第2環状部材23が浮体部11の上部より挿入され、浮体部11に設けられた第2突出部22によって鉛直方向に支持される構成を有してもよい。この場合、浮体部11には、浮体部11の外周面に径方向に突出した第2突出部22が設けられる。また、接続部材12は、内部にて浮体部11を挿通可能な第2開口部23Aが形成された第2環状部材23を有する。第2環状部材23の下端は、第2突出部22と接触するように、接続部材12が浮体部11に設置される。第2環状部材23の下端が第2突出部22と接触するように、接続部材12が浮体部11に設置されることによって、接続部材12と浮体部11が連結される。
浮体部11と接続部材12が別体として製造され、接続部材12が浮体部11に嵌め込まれる方法で組み立てられることから、従来の浮体式の支持構造と異なり、現場での溶接作業などが不要となる。その結果、製造にかかる時間やコストを低減できる。
浮体部11は、コンクリート製、鋼製、又は、FRP製などの材料で製作され、材料は限定されない。また、浮体部11に形成される第2突出部22の材料も限定されず、浮体部11の本体の材料と異なる材料で製造されてもよい。第2突出部22は、上端が浮体部11の高さの1/2以下の位置となるように設けられるとよい。これにより、接続部材12の下端が第2突出部22の上端と接触する位置が、浮体部11の高さの1/2以下の位置となることから、構造的に安定しやすくなる。
浮体部11は、中空構造を有する。この場合、浮体部11の底板は、側壁と一体構造とされる。浮体部11の内部には、喫水高さ調整用のバラストが収容される。そのため、浮体部11の上蓋は側壁と別体構造とされる。上蓋の材料も限定されず、上蓋は、コンクリート製、鋼製、又は、FRP製などの材料で製作される。
浮体部11をコンクリート製とする場合、鋼製の浮体部11と比べて耐腐食性が向上し、メンテナンスが容易になる。また、コンクリート製の場合、軽量化することができ、型枠を用いた量産を行うことができるため、コストダウンを図ることができる。コンクリート構造を有する浮体部11は、図13に示すように、現場で打設される鉄筋コンクリート(RC)構造や、プレストレストコンクリート構造のプレテンション方式でもよい。また、コンクリート構造を有する浮体部11は、図14に示すように、複数の分割部材11aを組み合わせたものや、鋼材11bに引張力を付与するプレキャストコンクリート構造におけるポストテンション方式でもよい。さらに、鋼繊維を混合した高強度コンクリートが用いられてもよい。
浮体部11をコンクリート製とする場合、図15に示すように、中空部分の内壁には薄板鋼板25を設置することが望ましい。これにより、浮体部11における水密性を確保できる。薄板鋼板25は、強度部材でなくてもよい。
接続部材12と支持部材15は、図7に示すように、一体化される。また、接続部材12において第2環状部材23と長尺状部材24が一体化され、支持部材15において第1環状部材16と長尺状部材17が一体化される。製造工程において、各部材がすべて陸上において接合されて一体化されていると、現場(洋上)での組み立て工程が少なくなり、製造にかかる時間やコストを低減できる。
接続部材12と支持部材15は、図16に示すように、複数の分割線26で接合されて一体化されてもよい。このように、接続部材12と支持部材15が一体化されない場合でも、ある程度の範囲を一体的に製造しておき、現場での接合箇所を極力低減できれば、製造にかかる時間やコストを低減できる。なお、各部材の接合を行う場合、接合方法は溶接、ボルト接合など、その方法は限定されない。溶接の場合、部材内部への浸水を抑制できる。
図17に示すように、接続部材12の長尺状部材24は、型鋼(図17(a)及び(b),図18(a)参照)、トラス構造(図18(b)参照)、又は、ラーメン構造(図17(c),図18(c)参照)を有する。型鋼の場合、断面形状が角型でもよいし(図17(a)参照)、丸型でもよい(図17(b)参照)。長尺状部材24は、所定の強度や剛性を確保できれば、どの構造が採用されてもよい。
図19には、本実施形態に係る支持構造10の浮体部11と接続部材12の間の接続部分の第1実施例を示す。図19に示すように、浮体部11と接続部材12は、例えば、浮体部11と接続部材12の第2環状部材23の間に充填された充填材31によって互いに固定される。充填剤は、例えばグラウト、モルタル又は接着剤などである。この場合、充填剤は、接続部材12が浮体部11に嵌め込まれて設置された後に充填される。
上記構造において、図19に示すように、浮体部11の外周面側及び/又は接続部材12の第2環状部材23の内周面側にせん断荷重伝達部材32が設置されることが望ましい。せん断荷重伝達部材32は、スタッドボルト、リブ、又は、凸状に加工された表面などである。せん断荷重伝達部材32が設置されることによって、充填材31のみを充填する場合と比べて、浮体部11と接続部材12間に生じるせん断強度や引張強度、接合強度を向上させることができる。
また、図20及び図21には、本実施形態に係る支持構造10の浮体部11と接続部材12の間の接続部分の第2実施例を示す。図20及び図21に示すように、浮体部11と接続部材12は、浮体部11と接続部材12との間に粘性体33が充填されてもよい。粘性体33によって浮体部11と接続部材12の間に生じる相対変位が減衰される。浮体部11の外周面側及び接続部材12の第2環状部材23の内周面側に突起部34が設置される。突起部34は、スタッドボルト、リブ、又は、凸状に加工された表面などである。粘性体33は、例えばシリコン系の材料などである。これにより、風力発電装置1の揺動時、浮体部11と接続部材12の間には相対変位が発生する。粘性体33と突起部34の間に生じる相対変位によって、浮体部11と接続部材12には粘性抵抗減衰が負荷されることになるため、浮体部11と接続部材12に生じる揺動を抑制する効果が発揮される。
さらに、支持部材15とタワー部2は、支持部材15とタワー部2の間に充填された粘性体(図示せず。)によって支持部材15とタワー部2の間に生じる相対変位が減衰されるようにしてもよい。この場合、タワー部2の外周面側及び支持部材15の第1環状部材16の内周面側に突起部が設置され、風力発電装置1の揺動時、粘性体と突起部の間に生じる相対変位によって、支持部材15とタワー部2には粘性抵抗減衰が負荷される。その結果、支持部材15とタワー部2に生じる揺動を抑制する効果が発揮される。
本実施形態に係る風力発電装置1の製造方法について説明する。
まず、図22(a)に示すように、浮体部11が個別に製作されるとともに、製作された複数の浮体部11が乾式ドッグに設置される。そして、図22(b)及び図26に示すように、支持台13が浮体部11の中間など所定の位置に設置される。また、支持台13と浮体部11間を結合するワイヤ部材14が設置される。
他方、図26に示すように、接続部材12と支持部材15が一体化されて、又は、部品数よりも少ない数で複数の分割部材として別体化されて製作される。そして、図23(c)及び図26に示すように、乾式ドッグに設置された浮体部11の上部から落とし込む形式で接続部材12及び支持部材15と浮体部11が組み立てられる。これにより、図23(d)及び図27に示すように、浮体部11と接続部材12が結合される。
なお、上述した順番に限られず、例えば、支持台13が浮体部11の中間など所定の位置に設置された後、図22(b)に示した例と異なり、ワイヤ部材14を接続する前に、一体化された接続部材12及び支持部材15を浮体部11の上部から落とし込んで、接続部材12及び支持部材15と浮体部11を組み立ててもよい。その後、接続部材12と支持台13との間にワイヤ部材14が設置される。
次に、図24(e)及び図28に示すように、タワー部2の下部を支持台13上に設置することによって、風力発電装置1が完成する。このとき、タワー部2の上部には風車部3が設置される。その後、図24(f)及び図29に示すように、乾式ドッグ内に注水が行われ、風力発電装置1が支持構造10によって支持された状態で水面又は水中に浮いた状態となる。そして、洋上の所定の設置場所まで風力発電装置1が搬送され、図25(g)に示すように、アンカーケーブル8によって海底と係留される。
上述した製造方法によれば、特許文献1などで開示された複数の部品を個別に製作し、その後各部品を組み立てていく工法と異なり、施工工数を低減でき、施工に係る時間やコストを低減できる。また、陸上での組み立て作業となるため、洋上で作業を行うためのパージが不要となり、また、波浪などの外乱に対する影響がないため作業効率が向上する。
以上説明した実施形態に記載の風力発電装置の支持構造及び風力発電装置は例えば以下のように把握される。
本開示に係る風力発電装置(1)の支持構造(10)は、水面又は水中に浮遊可能な複数の浮体部(11)と、一端が前記複数の浮体部のうち一の浮体部と接続され、他端が前記複数の浮体部のうち他の浮体部と接続された接続部材(12)と、前記複数の浮体部の中間に設けられ、風力発電装置のタワー部の下端を支持する支持台(13)と、一端が前記浮体部又は前記接続部材に接続され、他端が前記支持台に接続された線状のワイヤ部材(14)と、前記浮体部又は前記接続部材に設けられ、前記支持台に支持された前記タワー部を前記タワー部の軸方向に移動可能に側方から支持する支持部材(15)とを備える。
この構成によれば、複数の浮体部が水面又は水中に浮遊可能であり、各浮体部は、接続部材を介して接続される。複数の浮体部の中間に設けられた支持台は、ワイヤ部材を介して浮体部又は接続部材に接続され、風力発電装置のタワー部の下端を支持する。浮体部又は接続部材に設けられた支持部材は、支持台に支持されたタワー部を、タワー部の軸方向に移動可能に側方から支持する。タワー部は、浮体部と剛結されず、支持部材によって軸方向に移動可能に側方から支持される。タワー部の鉛直自重は、支持台からワイヤ部材を介して浮体部側に伝達される。浮体部とタワー部が剛結されている場合と異なり、剛結された接合部が不要となり、かつ、接合部分の構造を簡素化できる。
本開示に係る風力発電装置の支持構造において、前記支持台は、前記浮体部の下端よりも下方において前記タワー部の下端を支持してもよい。
この構成によれば、支持台によって、浮体部の下端よりも下方においてタワー部の下端が支持され、重心位置が下方に下がることから、浮体部自体の高さを小さくしても揺動に対する安定性を確保できる。
本開示に係る風力発電装置の支持構造において、前記支持部材は、内部にて前記タワー部を挿通可能な第1開口部(16A)が形成された第1環状部材(16)を有し、前記第1開口部内部において前記タワー部が前記軸方向に移動可能でもよい。
この構成によれば、支持部材は、第1開口部が形成された第1環状部材を有し、第1環状部材は、内部にてタワー部を挿通可能であり、第1開口部内部においてタワー部が軸方向に移動する。タワー部は第1環状部材によって支持されることから、周方向の全てにわたってタワー部の倒れが均等に防止される。
本開示に係る風力発電装置の支持構造において、前記支持台は、前記タワー部の下端を囲むように設けられた第1突出部(21)を有してもよい。
この構成によれば、支持台においてタワー部の下端を囲むように第1突出部が設けられ、第1突出部によってタワー部の水平方向の移動を拘束できる。
本開示に係る風力発電装置の支持構造において、前記浮体部の外周面に径方向に突出した第2突出部(22)が設けられ、前記接続部材は、内部にて前記浮体部を挿通可能な第2開口部(23A)が形成された第2環状部材(22)を有し、前記第2環状部材の下端が前記第2突出部と接触するように、前記接続部材が前記浮体部に設置されてもよい。
この構成によれば、浮体部の外周面に径方向に突出した第2突出部が設けられ、接続部材は、第2開口部が形成された第2環状部材を有し、第2環状部材は、内部にて浮体部を挿通可能である。第2環状部材の下端が第2突出部と接触するように、接続部材が浮体部に設置されることによって、接続部材と浮体部が連結される。
本開示に係る風力発電装置の支持構造において、前記接続部材には、隣り合う前記浮体部の間において型鋼を有する部材、トラス構造を有する部材、又は、ラーメン構造を有する部材が設けられてもよい。
この構成によれば、接続部材には、型鋼を有する部材、トラス構造を有する部材、又は、ラーメン構造を有する部材が設けられることによって、隣り合う浮体部同士が接続部材を介して接続される。
本開示に係る風力発電装置の支持構造において、前記接続部材と前記支持部材は一体化された構成を有してもよい。
この構成によれば、接続部材と支持部材が一体化された構成を有することから、洋上での組み立て工程における工数を低減できる。
本開示に係る風力発電装置の支持構造において、前記浮体部と前記接続部材は、前記浮体部と前記接続部材の間に充填された充填材(31)によって互いに固定されてもよい。
この構成によれば、浮体部と接続部材の間に充填材が充填されることによって浮体部と接続部材は互いに固定される。充填剤は、例えばグラウト、モルタル又は接着剤などである。
本開示に係る風力発電装置の支持構造において、前記浮体部と前記接続部材は、前記浮体部と前記接続部材の間に充填された粘性体によって前記浮体部と前記接続部材の間に生じる相対変位が減衰されてもよい。
この構成によれば、浮体部と接続部材の間に粘性体(33)が充填され、粘性体によって浮体部と接続部材の間に生じる相対変位が減衰される。
本開示に係る風力発電装置の支持構造において、前記支持部材と前記タワー部は、前記支持部材と前記タワー部の間に充填された粘性体によって前記支持部材と前記タワー部の間に生じる相対変位が減衰されてもよい。
この構成によれば、支持部材とタワー部の間に粘性体が充填され、粘性体によって支持部材とタワー部の間に生じる相対変位が減衰される。
本開示に係る風力発電装置は、上述した風力発電装置の支持構造を備える。
1 :風力発電装置
2 :タワー部
3 :風車部
4 :基礎部
5 :ナセル
6 :ロータヘッド
7 :翼
8 :アンカーケーブル
10 :支持構造
11 :浮体部
11a :分割部材
11b :鋼材
12 :接続部材
13 :支持台
13A :板状部材
13B :凹部
14 :ワイヤ部材
15 :支持部材
16 :第1環状部材
16A :第1開口部
17 :長尺状部材
21 :第1突出部
22 :第2突出部
23 :第2環状部材
23A :第2開口部
24 :長尺状部材
25 :薄板鋼板
26 :分割線
31 :充填材
32 :せん断荷重伝達部材
33 :粘性体
34 :突起部

Claims (10)

  1. 水面又は水中に浮遊可能な複数の浮体部と、
    一端が前記複数の浮体部のうち一の浮体部と接続され、他端が前記複数の浮体部のうち他の浮体部と接続された接続部材と、
    前記複数の浮体部の中間に設けられ、風力発電装置のタワー部の下端を支持する支持台と、
    一端が前記浮体部又は前記接続部材に接続され、他端が前記支持台に接続された線状のワイヤ部材と、
    前記浮体部又は前記接続部材に設けられ、前記支持台に支持された前記タワー部を前記タワー部の軸方向に移動可能に側方から支持する支持部材と、
    を備え
    前記浮体部の外周面に径方向に突出した第2突出部が設けられ、
    前記接続部材は、内部にて前記浮体部を挿通可能な第2開口部が形成された第2環状部材を有し、
    前記第2環状部材の下端が前記第2突出部と接触するように、前記接続部材が前記浮体部に設置される風力発電装置の支持構造。
  2. 水面又は水中に浮遊可能な複数の浮体部と、
    一端が前記複数の浮体部のうち一の浮体部と接続され、他端が前記複数の浮体部のうち他の浮体部と接続された接続部材と、
    前記複数の浮体部の中間に設けられ、風力発電装置のタワー部の下端を支持する支持台と、
    一端が前記浮体部又は前記接続部材に接続され、他端が前記支持台に接続された線状のワイヤ部材と、
    前記浮体部又は前記接続部材に設けられ、前記支持台に支持された前記タワー部を前記タワー部の軸方向に移動可能に側方から支持する支持部材と、
    を備え
    前記浮体部と前記接続部材は、前記浮体部と前記接続部材の間に充填された充填材によって互いに固定される風力発電装置の支持構造。
  3. 水面又は水中に浮遊可能な複数の浮体部と、
    一端が前記複数の浮体部のうち一の浮体部と接続され、他端が前記複数の浮体部のうち他の浮体部と接続された接続部材と、
    前記複数の浮体部の中間に設けられ、風力発電装置のタワー部の下端を支持する支持台と、
    一端が前記浮体部又は前記接続部材に接続され、他端が前記支持台に接続された線状のワイヤ部材と、
    前記浮体部又は前記接続部材に設けられ、前記支持台に支持された前記タワー部を前記タワー部の軸方向に移動可能に側方から支持する支持部材と、
    を備え
    前記浮体部と前記接続部材は、前記浮体部と前記接続部材の間に充填された粘性体によって前記浮体部と前記接続部材の間に生じる相対変位が減衰される風力発電装置の支持構造。
  4. 水面又は水中に浮遊可能な複数の浮体部と、
    一端が前記複数の浮体部のうち一の浮体部と接続され、他端が前記複数の浮体部のうち他の浮体部と接続された接続部材と、
    前記複数の浮体部の中間に設けられ、風力発電装置のタワー部の下端を支持する支持台と、
    一端が前記浮体部又は前記接続部材に接続され、他端が前記支持台に接続された線状のワイヤ部材と、
    前記浮体部又は前記接続部材に設けられ、前記支持台に支持された前記タワー部を前記タワー部の軸方向に移動可能に側方から支持する支持部材と、
    を備え
    前記支持部材と前記タワー部は、前記支持部材と前記タワー部の間に充填された粘性体によって前記支持部材と前記タワー部の間に生じる相対変位が減衰される風力発電装置の支持構造。
  5. 前記支持台は、前記浮体部の下端よりも下方において前記タワー部の下端を支持する請求項1から4のいずれかに記載の風力発電装置の支持構造。
  6. 前記支持部材は、内部にて前記タワー部を挿通可能な第1開口部が形成された第1環状部材を有し、前記第1開口部内部において前記タワー部が前記軸方向に移動可能である請求項1から5のいずれかに記載の風力発電装置の支持構造。
  7. 前記支持台は、前記タワー部の下端を囲むように設けられた第1突出部を有する請求項1からのいずれか1項に記載の風力発電装置の支持構造。
  8. 前記接続部材には、隣り合う前記浮体部の間において型鋼を有する部材、トラス構造を有する部材、又は、ラーメン構造を有する部材が設けられる請求項1からのいずれか1項に記載の風力発電装置の支持構造。
  9. 前記接続部材と前記支持部材は一体化された構成を有する請求項1からのいずれか1項に記載の風力発電装置の支持構造。
  10. 請求項1からのいずれか1項に記載の風力発電装置の支持構造を備える風力発電装置。
JP2019213415A 2019-11-26 2019-11-26 風力発電装置の支持構造及び風力発電装置 Active JP7433859B2 (ja)

Priority Applications (5)

Application Number Priority Date Filing Date Title
JP2019213415A JP7433859B2 (ja) 2019-11-26 2019-11-26 風力発電装置の支持構造及び風力発電装置
EP20894347.2A EP4039969A4 (en) 2019-11-26 2020-11-11 SUPPORTING STRUCTURE FOR A WIND TURBINE AND WIND TURBINE
US17/774,236 US12085057B2 (en) 2019-11-26 2020-11-11 Support structure for wind power generation device and wind power generation device
PCT/JP2020/042002 WO2021106560A1 (ja) 2019-11-26 2020-11-11 風力発電装置の支持構造及び風力発電装置
TW109140086A TWI755159B (zh) 2019-11-26 2020-11-17 風力發電裝置的支撐構造及風力發電裝置

Applications Claiming Priority (1)

Application Number Priority Date Filing Date Title
JP2019213415A JP7433859B2 (ja) 2019-11-26 2019-11-26 風力発電装置の支持構造及び風力発電装置

Publications (2)

Publication Number Publication Date
JP2021085341A JP2021085341A (ja) 2021-06-03
JP7433859B2 true JP7433859B2 (ja) 2024-02-20

Family

ID=76088669

Family Applications (1)

Application Number Title Priority Date Filing Date
JP2019213415A Active JP7433859B2 (ja) 2019-11-26 2019-11-26 風力発電装置の支持構造及び風力発電装置

Country Status (5)

Country Link
US (1) US12085057B2 (ja)
EP (1) EP4039969A4 (ja)
JP (1) JP7433859B2 (ja)
TW (1) TWI755159B (ja)
WO (1) WO2021106560A1 (ja)

Families Citing this family (11)

* Cited by examiner, † Cited by third party
Publication number Priority date Publication date Assignee Title
WO2023004117A2 (en) * 2021-07-22 2023-01-26 Trendsetter Vulcan Offshore, Inc. Off-shore wind turbine system and method of installation
KR102452240B1 (ko) * 2021-08-18 2022-10-11 에스오씨기술지주 주식회사 부유식 해상구조물용 프리캐스트 철근콘크리트 함체 구조 및 그 시공방법
JP2023116313A (ja) * 2022-02-09 2023-08-22 三菱重工業株式会社 浮体構造物
IT202200024477A1 (it) * 2022-11-28 2024-05-28 Fincantieri Spa Metodo di costruzione e varo di una piattaforma semisommergibile offshore ed una piattaforma semisommergibile offshore così costruita
WO2024192038A1 (en) * 2023-03-13 2024-09-19 Hiseas Energy Inc. Floating wind power generation platform for offshore deployment
NO348291B1 (en) * 2023-04-21 2024-11-11 Odfjell Oceanwind As Load out method and system for offshore floating wind turbine
DE102023126005A1 (de) * 2023-09-26 2025-03-27 Rwe Offshore Wind Gmbh Produktionsanlage zum Herstellen eines schwimmfähigen Fundaments eines Offshore-Bauwerks
CN117167198B (zh) * 2023-10-25 2024-02-06 泰州巨纳新能源有限公司 一种基于新型能源的风力发电设备
CN117588369A (zh) * 2023-12-07 2024-02-23 中国科学院广州能源研究所 一种风波融合发电平台及抗倾覆快速平衡系统
EP4570639A1 (en) * 2023-12-11 2025-06-18 TotalEnergies OneTech An assembly for producing offshore electricity comprising a double anchored floating support
CN119844277B (zh) * 2025-03-12 2025-10-31 南方电网电力科技股份有限公司 海上发电平台

Citations (7)

* Cited by examiner, † Cited by third party
Publication number Priority date Publication date Assignee Title
JP2005180351A (ja) 2003-12-19 2005-07-07 Yoshiro Shinoda 水上用風力発電装置
JP2007263077A (ja) 2006-03-29 2007-10-11 National Maritime Research Institute 洋上風力発電設備
WO2011057940A2 (en) 2009-11-13 2011-05-19 Vestas Wind Systems A/S Floating off-shore wind turbine
WO2016079540A1 (en) 2014-11-20 2016-05-26 Concrete Marine Solutions Limited A floating support structure for a wind turbine and method for installing same
JP2016141983A (ja) 2015-01-30 2016-08-08 清水建設株式会社 浮体式海洋構造物の海上構築方法および浮体式海洋構造物
JP2017516945A (ja) 2014-05-27 2017-06-22 エステイコ・ソシエダッド・アノニマ・プロフェシオナルEsteyco S.A.P. 風力タービン用浮体式下部構造およびそれの設置方法
CN109322780A (zh) 2018-12-12 2019-02-12 国电联合动力技术有限公司 海上风能波浪能联合发电系统

Family Cites Families (17)

* Cited by examiner, † Cited by third party
Publication number Priority date Publication date Assignee Title
GB1593361A (en) 1977-05-09 1981-07-15 Borg Warner Control system for regulating large capacity rotating machinery
JPS5848246Y2 (ja) 1980-09-26 1983-11-04 三千丸 熊切 ごみ入れ
JPS6336436U (ja) 1986-08-20 1988-03-09
US8689721B2 (en) * 2010-03-04 2014-04-08 Jin Wang Vertically installed spar and construction methods
DK2836708T3 (da) 2012-04-13 2019-06-03 Univ Maine System Flydende vindturbineplatform og fremgangsmåde til samling heraf.
JP5758501B2 (ja) 2012-08-10 2015-08-05 三菱重工業株式会社 浮体式風力発電装置
EP3382201B1 (en) 2013-04-01 2020-03-25 Nippon Steel Corporation Floating body structure
GB201507661D0 (en) * 2015-05-05 2015-06-17 Oceanflow Dev Ltd System for assembling a floating offshore wind turbine
EP3430259B1 (en) * 2016-03-15 2024-03-06 Stiesdal Offshore A/S A floating wind turbine and a method for the installation of such floating wind turbine
NL2017594B1 (en) * 2016-10-10 2018-04-16 Delft Offshore Turbine B V Offshore structure comprising a coated slip joint and method for forming the same
CN208564867U (zh) 2018-07-11 2019-03-01 明阳智慧能源集团股份公司 一种半潜式海上风力发电机组基础平台
BR112022020947A2 (pt) * 2020-04-16 2022-12-06 Univ Maine System Método de montagem e implantação de uma plataforma de turbina eólica marítima flutuante (fowt)
SE544127C2 (en) * 2020-04-30 2022-01-04 Bassoe Tech Ab Floating semi-submersible wind energy platform with t-shaped pontoon and its assembly
US20230257072A1 (en) * 2020-06-30 2023-08-17 Mitsubishi Shipbuilding Co., Ltd. Floating body for offshore wind turbine
EP3933192A1 (en) * 2020-07-02 2022-01-05 Siemens Gamesa Renewable Energy A/S Towing of a floating wind turbine
DE102020123375A1 (de) * 2020-09-08 2022-03-10 Rwe Renewables Gmbh Schwimmfähige Offshore-Windkraftanlage
US20230382495A1 (en) * 2022-05-31 2023-11-30 University Of Massachusetts Mobile floating offshore wind energy system

Patent Citations (7)

* Cited by examiner, † Cited by third party
Publication number Priority date Publication date Assignee Title
JP2005180351A (ja) 2003-12-19 2005-07-07 Yoshiro Shinoda 水上用風力発電装置
JP2007263077A (ja) 2006-03-29 2007-10-11 National Maritime Research Institute 洋上風力発電設備
WO2011057940A2 (en) 2009-11-13 2011-05-19 Vestas Wind Systems A/S Floating off-shore wind turbine
JP2017516945A (ja) 2014-05-27 2017-06-22 エステイコ・ソシエダッド・アノニマ・プロフェシオナルEsteyco S.A.P. 風力タービン用浮体式下部構造およびそれの設置方法
WO2016079540A1 (en) 2014-11-20 2016-05-26 Concrete Marine Solutions Limited A floating support structure for a wind turbine and method for installing same
JP2016141983A (ja) 2015-01-30 2016-08-08 清水建設株式会社 浮体式海洋構造物の海上構築方法および浮体式海洋構造物
CN109322780A (zh) 2018-12-12 2019-02-12 国电联合动力技术有限公司 海上风能波浪能联合发电系统

Also Published As

Publication number Publication date
TWI755159B (zh) 2022-02-11
WO2021106560A1 (ja) 2021-06-03
TW202129148A (zh) 2021-08-01
US20220381226A1 (en) 2022-12-01
JP2021085341A (ja) 2021-06-03
US12085057B2 (en) 2024-09-10
EP4039969A1 (en) 2022-08-10
EP4039969A4 (en) 2022-11-16

Similar Documents

Publication Publication Date Title
JP7433859B2 (ja) 風力発電装置の支持構造及び風力発電装置
US8458963B2 (en) Device for a bending moment deficient strut connection
KR102155394B1 (ko) 부체식 해상 풍력발전 설비
EP2836708B1 (en) Floating wind turbine platform and method of assembling
US9394035B2 (en) Floating wind turbine platform and method of assembling
US8752495B2 (en) Floating foundation for mass production
KR102552328B1 (ko) 복수의 전력 변환 장치를 가지는 부유식 풍력 발전 장치
US20170218919A1 (en) Wind tracing, rotational, semi-submerged raft for wind power generation and a construction method thereof
CA2938975A1 (en) Method of assembling a floating wind turbine platform
KR101318111B1 (ko) 파력 저감형 다열 파일 하이브리드 해상풍력 지지구조물 및 그 시공 방법
CN113653601A (zh) 一种半潜式漂浮式风机装置及系统
JP2011157971A (ja) 洋上風車を支持するための支持構造体
JP6901867B2 (ja) 浮体式洋上プラットフォーム
WO2010117289A9 (en) Truss tower
TW202244388A (zh) 用於接收離岸部署中之風力機塔之浮力結構
JP2023529023A (ja) 洋上風力分野の産業に適用可能な鉄筋コンクリート製の浮体式プラットフォーム
KR101164227B1 (ko) 강관말뚝 기초와 조립식 구조물을 사용한 해상풍력 구조물
KR20230082630A (ko) 트리 칼럼 반잠수식 해상 부유 플랫폼
CN116201696B (zh) 一种张拉整体式海上风力发电支撑结构
GB2505192A (en) A pile sleeve connection for a monopole foundation
CN212003442U (zh) 一种格构式预应力混凝土风力发电塔
KR20240042434A (ko) 부유식 풍력 터빈 플랫폼
JP2024175445A (ja) スパー型洋上風力発電設備の建造方法
KR20250129835A (ko) 부유식 풍력발전기용 하부구조물 및 이를 포함하는 부유식 풍력발전기

Legal Events

Date Code Title Description
A621 Written request for application examination

Free format text: JAPANESE INTERMEDIATE CODE: A621

Effective date: 20220914

A131 Notification of reasons for refusal

Free format text: JAPANESE INTERMEDIATE CODE: A131

Effective date: 20230815

A521 Request for written amendment filed

Free format text: JAPANESE INTERMEDIATE CODE: A523

Effective date: 20231016

TRDD Decision of grant or rejection written
A01 Written decision to grant a patent or to grant a registration (utility model)

Free format text: JAPANESE INTERMEDIATE CODE: A01

Effective date: 20240109

A61 First payment of annual fees (during grant procedure)

Free format text: JAPANESE INTERMEDIATE CODE: A61

Effective date: 20240207

R150 Certificate of patent or registration of utility model

Ref document number: 7433859

Country of ref document: JP

Free format text: JAPANESE INTERMEDIATE CODE: R150