JP7424924B2 - 磁気吸着車輪及び車両 - Google Patents

磁気吸着車輪及び車両 Download PDF

Info

Publication number
JP7424924B2
JP7424924B2 JP2020109947A JP2020109947A JP7424924B2 JP 7424924 B2 JP7424924 B2 JP 7424924B2 JP 2020109947 A JP2020109947 A JP 2020109947A JP 2020109947 A JP2020109947 A JP 2020109947A JP 7424924 B2 JP7424924 B2 JP 7424924B2
Authority
JP
Japan
Prior art keywords
wheel
shaft
permanent magnet
spherical
vehicle
Prior art date
Legal status (The legal status is an assumption and is not a legal conclusion. Google has not performed a legal analysis and makes no representation as to the accuracy of the status listed.)
Active
Application number
JP2020109947A
Other languages
English (en)
Other versions
JP2022007174A (ja
Inventor
晴彦 衞藤
Current Assignee (The listed assignees may be inaccurate. Google has not performed a legal analysis and makes no representation or warranty as to the accuracy of the list.)
Sumitomo Heavy Industries Ltd
Original Assignee
Sumitomo Heavy Industries Ltd
Priority date (The priority date is an assumption and is not a legal conclusion. Google has not performed a legal analysis and makes no representation as to the accuracy of the date listed.)
Filing date
Publication date
Application filed by Sumitomo Heavy Industries Ltd filed Critical Sumitomo Heavy Industries Ltd
Priority to JP2020109947A priority Critical patent/JP7424924B2/ja
Publication of JP2022007174A publication Critical patent/JP2022007174A/ja
Priority to JP2024005978A priority patent/JP7669628B2/ja
Application granted granted Critical
Publication of JP7424924B2 publication Critical patent/JP7424924B2/ja
Active legal-status Critical Current
Anticipated expiration legal-status Critical

Links

Images

Landscapes

  • Electric Propulsion And Braking For Vehicles (AREA)
  • Motorcycle And Bicycle Frame (AREA)

Description

特許法第30条第2項適用 2020年5月31日に、下記アドレスのウェブサイトで学会参加者限定で公開した。https://events.infovaya.com/presentation?id=69616
本開示は、磁気吸着車輪及び車両に関する。
造船や大型クレーン等の製造現場において、曲面形状をした大型の鉄鋼部材表面に磁気吸着して走行する磁気吸着車輪を有し、溶接・塗装・外観検査等の作業を行う車両が知られている。
特許文献1には、車軸と車輪フランジの間の空間の一部に、軸心を回転中心として揺動可能な外面円弧状の磁石を車輪フランジとは分離状態に設け、車軸と鋼製壁面との間に強い車輪押付け力が発生するように前記磁石を磁石の最大磁力の方向が常に鋼製壁面に向くように配設したことを特徴とする磁石内蔵タイプの吸着車輪が開示されている。
また、特許文献2には、永久磁石が非強磁性の材料から成る球体内に埋め込まれており、該球体が球形シェル内にあらゆる方向に回転可能に支承され、球形シェルが磁力により吸引可能なベース上を転動する、転動要素が開示されている。
特許第2639895号公報 特許第5650224号公報
ところで、特許文献1に開示された吸着車輪及び特許文献2に開示された転動要素において、磁石の回転はいずれも受動的である。このため、特許文献1に開示された吸着車輪及び特許文献2に開示された転動要素において、磁気吸着力が発生していない状態では、磁石の方向を調整することができない。
そこで、本発明は、好適に壁面を走行可能な磁気吸着車輪及び車両を提供する。
上記課題を解決するために、一の態様によれば、磁気吸着面に接触する外周面が球面形状をを有する球殻車輪と、前記球殻車輪の内側に配置され、永久磁石を保持する永久磁石保持部と、前記球殻車輪の回転軸と同軸に配置され、前記球殻車輪とは独立して回転し、前記永久磁石保持部を第1回転方向に回転可能な第1シャフトと、前記第1シャフトとともに前記第1回転方向に回転し、前記第1シャフトの軸と直交する軸を有して該軸に揺動可能に前記永久磁石保持部を懸架する第2シャフトと、前記球殻車輪を回転駆動する車輪駆動部と、前記第1シャフトを回転駆動することで前記永久磁石を回転させる磁石駆動部と、を備え、前記車輪駆動部は、車輪駆動用モータと、前記車輪駆動用モータの回転動力を前記球殻車輪に伝達する第1動力伝達部と、を有し、前記磁石駆動部は、磁石駆動用モータと、前記磁石駆動用モータの回転動力を前記球殻車輪に伝達する第2動力伝達部と、を有する、磁気吸着車輪が提供される。
一の側面によれば、好適に壁面を走行可能な磁気吸着車輪及び車両を提供することができる。
本実施形態に係る車両の斜視図。 本実施形態に係る車両の正面図。 本実施形態に係る車両の側面図。 本実施形態に係る磁気吸着車輪の部分切断斜視図。 本実施形態に係る磁気吸着車輪の断面図。 本実施形態に係る磁気吸着車輪の部分拡大断面図。 第1シャフト回りの回転角と、永久磁石によって永久磁石保持部に働く回転トルクとの関係の一例を示すグラフ。 車輪駆動部及び磁石駆動部の構成を説明する模式図。 本実施形態に係る車両が種々の曲面形状の壁面に吸着している際の永久磁石の配置の一例を示す図。 車両が床面から壁面に移動する際の動作を示すフローチャート。 床面から壁面に移動する際の各時点における車両の状態を示す模式図。 車両が壁面から壁面(または天井面)に移動する際の動作を示すフローチャート。 第1壁面から第2壁面に移動する際の各時点における車両の状態を示す模式図。
以下、図面を参照して本開示を実施するための形態について説明する。各図面において、同一構成部分には同一符号を付し、重複した説明を省略する場合がある。
<車両>
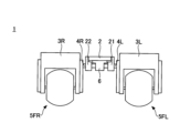
本実施形態に係る車両1について、図1から図3を用いて説明する。図1は、本実施形態に係る車両1の斜視図である。図2は、本実施形態に係る車両1の正面図である。図3は、本実施形態に係る車両1の側面図である。なお、以下の説明において、車両1の進退方向を車両1の前後方向、車両1の車幅方向を車両1の左右方向、前後方向及び左右方向と垂直な方向を車両1の上下方向として、説明する。
車両1は、ボディ2と、ロッカーリンク3L,3Rと、シャフト4L,4Rと、磁気吸着車輪5(5FL,5FR,5RL,5RR)と、ディファレンシャルギア6と、を備えている。
車両1は、磁気吸着車輪5が有する磁石(後述する永久磁石52)で吸着可能な物体であれば、その位置、危険度にかかわらず、例えば高所であったり狭所であっても、遠隔又は無人で移動することができる。ボディ2には、例えば、溶接・塗装・外観検査等の作業を行うための作業用アタッチメント(図示せず)を固定するための固定部(図示せず)を有し、固定部に作業用アタッチメントが搭載されていてもよい。これにより、車両1は、移動先で作業用アタッチメントを用いて所望の作業を実現することができる。また、ボディ2には、磁気吸着車輪5(後述する車輪駆動部56、磁石駆動部57)の動作を制御する制御部(図示せず)が設けられている。なお、車両1は、オペレータの操作を受け付けるコントローラ(図示せず)を有していてもよい。コントローラは、有線又は無線で制御部と通信可能に接続される。制御部は、オペレータによるコントローラの操作に基づいて、磁気吸着車輪5を制御してもよい。また、制御部は、予め入力されたプログラムに基づいて、磁気吸着車輪5を制御してもよい。これにより、車両1は、オペレータが近くにいない場面で、無人又は遠隔により操作される。
左右のロッカーリンク3L,3Rは、中央のボディ2を挟んで配置される。
ロッカーリンク3Lは、前後両端に磁気吸着車輪5(5FL,5RL)が設けられ、シャフト4Lを回転軸として回転可能に支持される部材である。具体的には、ロッカーリンク3Lは、側面視して、略逆V字形状に形成される部材であり、中央部31と、中央部31から前方下向きに伸びる前方部32と、中央部31から後方下向きに伸びる後方部33と、を有する。中央部31には、円柱状の軸部材であるシャフト4Lが固定される。また、シャフト4Lは、ボディ2の軸受21に回転自在に支持されている。ロッカーリンク3Lの前方部32には磁気吸着車輪5FLが設けられ、後方部33には磁気吸着車輪5RLが設けられている。ロッカーリンク3Lは、軸受21に回転自在に支持されるシャフト4Lを回転軸として回転することにより、磁気吸着車輪5FL及び磁気吸着車輪5RLの両方を磁気吸着面(吸着対象面)に接触(接地)させることができる。
同様に、ロッカーリンク3Rは、前後両端に磁気吸着車輪5(5FR,5RR)が設けられ、シャフト4Rを回転軸として回転可能に支持される部材である。具体的には、ロッカーリンク3Rは、側面視して、略逆V字形状に形成される部材であり、中央部34と、中央部34から前方下向きに伸びる前方部35と、中央部34から後方下向きに伸びる後方部36と、を有する。中央部34には、円柱状の軸部材であるシャフト4Rが固定される。また、シャフト4Rは、ボディ2の軸受22に回転自在に支持されている。ロッカーリンク3Rの前方部35には磁気吸着車輪5FRが設けられ、後方部36には磁気吸着車輪5RRが設けられている。ロッカーリンク3Rは、軸受22に回転自在に支持されるシャフト4Rを回転軸として回転することにより、磁気吸着車輪5FR及び磁気吸着車輪5RRの両方を磁気吸着面に接触(接地)させることができる。
シャフト4Lとシャフト4Rとは、同軸に配置されている。また、シャフト4Lとシャフト4Rとは、独立して回転可能に設けられている。シャフト4Lの一端(車幅方向の外側)は、ロッカーリンク3Lの中央部31と固定される。シャフト4Rの一端(車幅方向の外側)は、ロッカーリンク3Rの中央部34と固定される。シャフト4Lの軸部分は、軸受21に回転自在に支持される。シャフト4Rの軸部分は、軸受22に回転自在に支持される。また、シャフト4Lの他端(車幅方向の内側)とシャフト4Rの他端(車幅方向の内側)とは、ディファレンシャルギア6を介して接続されている。
ディファレンシャルギア(回転機構)6は、シャフト4Lとシャフト4Rとを独立して回転可能に接続する装置である。また、ディファレンシャルギア6は、シャフト4Lの回転とシャフト4Rの回転との差動に基づいてボディ2の前後方向の傾斜角(ピッチ角)を規定する装置である。
ディファレンシャルギア6は、例えば、第1の傘歯車、第2の傘歯車、第3の傘歯車、枠部(いずれも図示せず)を有する。第1の傘歯車は、シャフト4Lの端部と固定され、シャフト4Lが回転することによって第1の傘歯車も回転する。第2の傘歯車は、シャフト4Rの端部と固定され、シャフト4Rが回転することによって第2の傘歯車も回転する。第1の傘歯車と第2の傘歯車とは、同軸に配置される。第3の傘歯車は、第1の傘歯車及び第2の傘歯車の回転軸と直交する回転軸に配置され、第1の傘歯車及び第2の傘歯車とそれぞれ噛み合わされる。枠部は、第1の傘歯車、第2の傘歯車、第3の傘歯車を回転自在に支持する。また、枠部はボディ2と固定される。
ここで、シャフト4Rに対してシャフト4Lを回転させた場合、シャフト4Lの回転によって第1の傘歯車が回転し、第1の傘歯車と第2の傘歯車との回転の差動分に応じて第3の傘歯車が回転する。また、第2の傘歯車に対して第3の傘歯車が回転することにより、枠部が第2の傘歯車の回転軸(第1の傘歯車の回転軸)を回転軸として回転する。この際、枠部の回転角は、シャフト4Lの回転角の半分となる。シャフト4Lに対してシャフト4Rを回転させた場合も同様である。
このように、車両1は、同軸に配置されるシャフト4L,4Rを回転軸(揺動軸)として、ロッカーリンク3Lとロッカーリンク3Rとを個別に回転(揺動)させることができる。よって、ロッカーリンク3Lは、軸受21に回転自在に支持されるシャフト4Lを回転軸として回転することにより、磁気吸着車輪5FL及び磁気吸着車輪5RLの両方を磁気吸着面に接触(接地)させることができる。また、ロッカーリンク3Rは、軸受22に回転自在に支持されるシャフト4Rを回転軸として回転することにより、磁気吸着車輪5FR及び磁気吸着車輪5RRの両方を磁気吸着面に接触(接地)させることができる。即ち、車両1は、磁気吸着面が曲面や凹凸を有する面であっても、4つの磁気吸着車輪5(5FL,5FR,5RL,5RR)の全てを磁気吸着面に接触(接地)させることができる。
また、ボディ2の前後方向の傾斜角(ピッチ角)は、ロッカーリンク3Lの前後方向の傾斜角とロッカーリンク3Rの前後方向の傾斜角との中間の傾斜角となる。これにより、ボディ2の前後方向の傾斜角(ピッチ角)の変動は、ロッカーリンク3Lの前後方向の傾斜角の変動及びロッカーリンク3Rの前後方向の傾斜角の変動よりも、小さくすることができる。これにより、車両1が凹凸の変化が激しい磁気吸着面を走行する場合であっても、ボディ2の振動を抑制することができる。
なお、4つの磁気吸着車輪5の全てを磁気吸着面に接触させるためには、ロッカーリンク3Lとロッカーリンク3Rとを個別に揺動させることができればよく、ディファレンシャルギア6に代えて、ロッカーリンク3Lとロッカーリンク3Rとが回転機構によって接続されていてもよい。
<磁気吸着車輪>
次に、車両1が備える磁気吸着車輪5(5FL,5FR,5RL,5RR)について、図4から図8を用いてさらに説明する。ここで、車両1が備える4つの磁気吸着車輪5FL,5FR,5RL,5RRは、同様の構成を有している。このため、以下の説明では、磁気吸着車輪5FRを例に説明し、磁気吸着車輪5FL,5RL,5RRについての説明を省略する。
図4は、本実施形態に係る磁気吸着車輪5FRの部分切断斜視図である。図5は、本実施形態に係る磁気吸着車輪5FRの断面図である。図6は、本実施形態に係る磁気吸着車輪5FRの部分拡大断面図である。なお、図4において、球殻車輪51の一部を切断(取り外し)して、球殻車輪51の内部の構造が見えるように図示している。また、図5は、第1シャフト54の軸中心を通る垂直な面で切断した断面図を示す。図6は、第1シャフト54と垂直な面で切断した断面図を示す。
磁気吸着車輪5は、球殻車輪51と、永久磁石52と、永久磁石保持部53と、第1シャフト54と、第2シャフト55と、車輪駆動部56と、磁石駆動部57と、ベアリング58~60と、を備えている。
ロッカーリンク3Rの前方部35には、二又に分岐して磁気吸着車輪5を支持する支持部351,352と、支持部351と支持部352とを接続する接続部353と、が形成されている。
球殻車輪51は、球面部511を有する中空形状を有している。具体的には、球殻車輪51は、球面部511と、平面部512,513と、を有する。球面部511は、磁気吸着面に接触(接地)する面であり、外周面が球面形状を有している。これにより、磁気吸着面が車幅方向に傾斜していても、球殻車輪51を磁気吸着面に接触(接地)することができる。平面部512,513は、球殻車輪51の回転軸に対して垂直な面である。換言すれば、球殻車輪51の外形状は、球形状から左右を一部切断した形状を有している。球殻車輪51に平面部512,513を設けることにより、車幅方向の寸法を短くすることができる。球殻車輪51は、例えば、アルミニウム等の非磁性体材料で形成される。これにより、球殻車輪51の内部に配置された永久磁石52と磁気吸着面との間に磁気吸引力を発生させることができる。なお、球殻車輪51の材料は、永久磁石52と磁気吸着面との間に磁気吸引力を発生させることができる材料であればよく、アルミニウムに限られるものではない。球殻車輪51は、支持部351と支持部352との間に配置される。
車輪駆動部56は、支持部351の側に設けられている。車輪駆動部56の出力軸561は、支持部351の貫通部351aを貫通し、球殻車輪51の平面部512と固定される。具体的には、球殻車輪51の平面部512の外側には、シャフトホルダ514が設けられている。シャフトホルダ514は、図示しないボルト、ナット等によって、球殻車輪51と固定されている。シャフトホルダ514は、車輪駆動部56の出力軸561と球殻車輪51とを接続する部材である。シャフトホルダ514には、車輪駆動部56の出力軸561が挿入される。車輪駆動部56の出力軸561が挿入されるシャフトホルダ514の内周面には、キー溝を有する。また、シャフトホルダ514に挿入する車輪駆動部56の出力軸561の外周面には、キー溝を有する。シャフトホルダ514のキー溝及び車輪駆動部56の出力軸561のキー溝には、キー562が配置される。キー562は、車輪駆動部56の出力軸561の回転動力をシャフトホルダ514に伝達するための機械要素である。これにより、車輪駆動部56の出力軸561、シャフトホルダ514、球殻車輪51は共に回転する。
第1シャフト54は、球殻車輪51の回転軸(車輪駆動部56の出力軸561)と同軸に配置され、球殻車輪51の両端に取り付けられたベアリング58,59によって、回転自在に支持されている。
具体的には、球殻車輪51の平面部512の内面側(球殻車輪51の内部空間側)には、ベアリング支持部材515及び押さえ部材516が設けられている。ベアリング支持部材515は、ベアリング58の外輪を挿入可能な穴を有する板状(円環状)の部材である。押さえ部材516は、ベアリング58の外径よりも小さく、第1シャフト54の直径よりも大きな径の穴を有する板状(円環状)の部材である。ベアリング支持部材515及び押さえ部材516は、図示しないボルト、ナット等によって、球殻車輪51と固定されている。ベアリング支持部材515は、ベアリング支持部材515の穴の軸が球殻車輪51の回転軸と一致するようにして平面部512の内面側に固定される。また、押さえ部材516は、押さえ部材516の穴の軸が球殻車輪51の回転軸と一致するようにしてベアリング支持部材515に固定される。ベアリング58の外輪は、ベアリング支持部材515の穴に配置され、押さえ部材516によって抜け止めされている。ベアリング58の内輪は、第1シャフト54の一端を支持する。
また、球殻車輪51の平面部513には、第1シャフト54が貫通する貫通孔517が形成されている。球殻車輪51の平面部513の内側には押さえ部材518が設けられている。球殻車輪51の平面部513の外側には押さえ部材519が設けられている。押さえ部材518,519は、ベアリング59の外径よりも小さく、第1シャフト54の直径よりも大きな径の穴を有する板状(円環状)の部材である。押さえ部材518,519は、図示しないボルト、ナット等によって、球殻車輪51と固定されている。押さえ部材518は、押さえ部材518の穴の軸が球殻車輪51の回転軸と一致するようにして平面部513の内面側に固定される。押さえ部材519は、押さえ部材518の穴の軸が球殻車輪51の回転軸と一致するようにして平面部513の外面側に固定される。ベアリング59の外輪は、貫通孔517に配置され、押さえ部材518,519によって抜け止めされている。ベアリング59の内輪は、貫通孔517を貫通する第1シャフト54を支持する。
支持部352には、第1シャフト54が貫通する貫通孔352aが形成されている。ベアリング60の外輪は、貫通孔352aに配置されている。ベアリング60の内輪は、貫通孔352aを貫通する第1シャフト54を支持する。なお、ベアリング60の外輪は、球殻車輪51側の側面で支持部352と接し、ベアリング60の内輪が他方の側面でカプラ572と接することにより、ベアリング60は位置決めされている。
磁石駆動部57は、支持部352の側に設けられている。磁石駆動部57は、ブラケット352bを介して、支持部352に固定される。磁石駆動部57の出力軸571には、カプラ572が固定されている。カプラ572は、磁石駆動部57の出力軸571と第1シャフト54とを接続する部材である。カプラ572には、第1シャフト54の他端が挿入される。第1シャフト54の他端が挿入されるカプラ572の内周面には、キー溝を有する。また、カプラ572に挿入する第1シャフト54の他端の外周面には、キー溝を有する。キー541を介して、カプラ572と固定されている。なお、磁石駆動部57は、例えばサーボ機能を有するサーボモータであって、第1シャフト54の回転角度、トルク等を制御可能とすることが好ましい。シャフトホルダ514には、車輪駆動部56の出力軸561が挿入される。車輪駆動部56の出力軸561が挿入されるシャフトホルダ514の内周面には、キー溝を有する。また、シャフトホルダ514に挿入する車輪駆動部56の出力軸561の外周面には、キー溝を有する。カプラ572のキー溝及び第1シャフト54のキー溝には、キー541が配置される。キー541は、カプラ572(磁石駆動部57の出力軸571)の回転動力を第1シャフト54に伝達するための機械要素である。これにより、磁石駆動部57の出力軸571、カプラ572、第1シャフト54は共に回転する。
このような構成により、球殻車輪51は、車輪駆動部56(出力軸561)及び第1シャフト54によって、支持部351,352に回転自在に支持される。また、車輪駆動部56は、球殻車輪51を回転駆動させることができる。
また、第1シャフト54は、球殻車輪51とは独立して回転することができる。また、磁石駆動部57は、第1シャフト54を回転駆動させることができる。
球殻車輪51の内部には、第1シャフト54とともに回転する第2シャフト55が設けられている。第2シャフト55は、ベース551と、軸部552,553と、を有する。ベース551は、第1シャフト54が挿通する貫通孔551aを有する。貫通孔551aの内周面には、キー溝を有する。また、貫通孔551aに挿入する第1シャフト54の外周面には、キー溝を有する。貫通孔551aのキー溝及び第1シャフト54のキー溝には、キー542が配置される。キー542は、第1シャフト54の回転動力をベース551(第2シャフト55)に伝達するための機械要素である。これにより、第1シャフト54、ベース551(第2シャフト55)は共に回転する。軸部552,553は、同軸に配置され、第1シャフト54の回転軸と直交する。
第1シャフト54には、円筒状のカラー543,544が配置されている。カラー543は、一端がベアリング58の内輪と接し、他端が第2シャフト55のベース551と接する。カラー544は、一端がベアリング59の内輪と接し、他端が第2シャフト55のベース551と接する。これにより、第2シャフト55のベース551は、左右方向の位置が位置決めされる。具体的には、軸部552,553の軸が球殻車輪51(球面部511)の中心を通るように位置決めされる。
永久磁石保持部53は、第2シャフト55の軸部552,553に懸架されている。即ち、永久磁石保持部53は、第2シャフト55の軸部552,553を回転軸として揺動することができるようになっている。また、永久磁石保持部53は、第1シャフト54を軸として、回転することができるように構成されている。
永久磁石52は、永久磁石保持部53に埋め込まれ、球殻車輪51の外径よりも内側に配置されている。例えば、永久磁石52は、永久磁石保持部53に設けられた凹部に収容され、押さえ部材531で抜け止めされている。永久磁石保持部53は、球殻車輪51の内面に沿う扇状の形状と有している。これにより、永久磁石52を磁気吸着面にできるだけ近づけることができる。永久磁石52は、例えば、図6に示すように、5個のネオジウム磁石が円弧状に配置されている。また、5個のネオジウム磁石でハルバッハ配列を構成することにより、小さな磁石体積で強力な磁力が得られる。なお、永久磁石保持部53は、球殻車輪51の内面に沿う扇状の形状を有している。永久磁石保持部53の外径は、球殻車輪51の内径以下に形成される。永久磁石保持部53の外面は、球殻車輪51の内面と接していてもよく、離れていてもよい。なお、永久磁石保持部53の外面と球殻車輪51の内面が接する構成においては、両者の間に潤滑剤を塗布してもよい。
以上のように、永久磁石保持部53に保持された永久磁石52は、球殻車輪51内に配置され、第1シャフト54回り(第1回転方向、図4において白抜き矢印で示す。)に能動的または受動的に回転可能であり、第2シャフト55回り(第2回転方向、図4において黒塗り矢印で示す。)に受動的に回転(揺動)可能に構成されている。
図7は、第1シャフト54回りの回転角θと、永久磁石52によって永久磁石保持部53に働く回転トルクとの関係の一例を示すグラフである。ここで、図7に示すグラフにおいて、横軸は、永久磁石52が壁面(磁気吸着面)Wの方向を向いた状態を角度θ=0°とする回転角θを示し、縦軸はその回転角におけるトルクを示す。なお、永久磁石保持部53に働くトルクは、3次元磁場解析によって計算された磁気吸着力から求めた。この例では、トルクの最大値は、2.4Nmでる。このため、例えば、ストールトルクが6Nmの磁石駆動部57を用いることにより、磁気吸着力に逆らって永久磁石保持部53を回転させ、永久磁石保持部53を壁面Wから遠ざけることができる。換言すれば、壁面Wに対する磁気吸着車輪5の磁気吸着を解除することができる。
ここで、車輪駆動部56及び磁石駆動部57について、さらに説明する。図8は、車輪駆動部56及び磁石駆動部57の構成を説明する模式図である。図8(a)は、本実施形態に係る磁気吸着車輪5の例を示す。図8(b)は、参考例に係る磁気吸着車輪5Xの例を示す。
図8(a)に示すように、本実施形態の車輪駆動部56は、車輪駆動用モータ71と、動力伝達部72と、を備える。車輪駆動用モータ71は、接続部353内に設けられている。換言すれば、車輪駆動用モータ71の出力軸と、球殻車輪51の回転軸とは異なる位置に配置されている。
動力伝達部72は、車輪駆動用モータ71の回転動力を球殻車輪51(出力軸561)に伝達する。動力伝達部72は、第1プーリ73と、第2プーリ74と、タイミングベルト75と、ベアリング76~78と、を備える。第1プーリ73は、車輪駆動用モータ71の出力軸と接続される。第1プーリ73は、ベアリング76によって、回転自在に支持される。第2プーリ74は、出力軸561と接続される。第2プーリ74は、ベアリング77,78によって、回転自在に支持される。タイミングベルト75は、第1プーリ73と第2プーリ74とに亘ってかけ渡されている。
また、図8(a)に示すように、本実施形態の磁石駆動部57は、磁石駆動用モータ81と、動力伝達部82と、を備える。磁石駆動用モータ81は、接続部353内に設けられている。換言すれば、磁石駆動用モータ81の出力軸と、第1シャフト54の回転軸とは異なる位置に配置されている。
動力伝達部82は、磁石駆動用モータ81の回転動力を球殻車輪51(出力軸561)に伝達する。動力伝達部82は、第1プーリ83と、第2プーリ84と、タイミングベルト85と、ベアリング86~88と、を備える。第1プーリ83は、磁石駆動用モータ81の出力軸と接続される。第1プーリ83は、ベアリング86によって、回転自在に支持される。第2プーリ84は、出力軸561と接続される。第2プーリ84は、ベアリング87,88によって、回転自在に支持される。タイミングベルト85は、第1プーリ83と第2プーリ84とに亘ってかけ渡されている。
ここで、参考例に係る磁気吸着車輪5Xについて説明する。参考例に係る磁気吸着車輪5Xは、車輪駆動部56Xと、磁石駆動部57Xと、を備える。参考例の車輪駆動部56Xにおいて、車輪駆動用モータは支持部351の外側に設けられている。また、参考例の磁石駆動部57Xにおいて、磁石駆動用モータは支持部352の外側に設けられている。このような構成により、参考例に係る磁気吸着車輪5Xにおいて、壁面Wの車幅方向の傾斜角θ2となると、車輪駆動部56Xが壁面Wと干渉する。このため、磁気吸着車輪5Xにおける磁気吸着可能領域が限定されてしまう。
これに対し、本実施形態に係る磁気吸着車輪5では、車輪駆動用モータ71及び磁石駆動用モータ81を壁面Wと干渉しない位置に配置される。具体的には、図8(a)に示すように接続部353に配置される。これにより、磁気吸着車輪5が吸着可能な壁面の傾斜角θ1を傾斜角θ2よりも大きくすることができる。換言すれば、本実施形態に係る磁気吸着車輪5における磁気吸着可能領域を、参考例に係る磁気吸着車輪5Xにおける磁気吸着可能領域よりも広くすることができる。
図9は、本実施形態に係る車両1が種々の曲面形状の壁面に吸着している際の永久磁石52の配置の一例を示す。なお、図9において、磁気吸着力の向きを黒塗り矢印で示す。
図9(a)は、車両1の進行方向に沿って湾曲する面に車両1を吸着させる際の永久磁石52の向きを示す。ここでは、磁石駆動用モータ81への電源供給が絶たれており、磁石駆動用モータ81の出力軸(磁石駆動部57の出力軸571、第1シャフト54)は外部トルクによって受動的に回転可能なバックドライブ状態となっている。永久磁石52の磁力によって、永久磁石保持部53が第1シャフト54周りに受動的に回転させられ、永久磁石52の磁力方向を磁気吸着面の法線方向に向けることができる。これにより、永久磁石保持部53は、任意角度の壁面Wの方向を向くことが自動的に達成され、車両1を壁面Wに吸着させることができる。
図9(b)は、車両1の車体幅方向に沿って凹状に湾曲する曲面に車両1を吸着させる際の永久磁石52の向きを示す。永久磁石保持部53が第2シャフト55を揺動軸として揺動することにより、永久磁石52の磁力方向を磁気吸着面の法線方向に向けることができる。
図9(c)は、車両1の車体幅方向に沿って凸状に湾曲する曲面に車両1を吸着させる際の永久磁石52の向きを示す。永久磁石保持部53が第2シャフト55を揺動軸として揺動することにより、永久磁石52の磁力方向を磁気吸着面の法線方向に向けることができる。
図9(d)は、4輪すべての接触面(図9(d)において破線で示す。)の位置および法線方向が異なる場合を示す。車両1はロッカー機構を有することにより、4輪すべてを磁気吸着面に吸着させることができる。
<吸着動作フロー>
次に、車両1が床面から壁面に移動する際の車両1の動作について、図10及び図11を用いて説明する。図10は、車両1が床面W1から壁面W2に移動する際の動作を示すフローチャートである。図11は、各時点における車両1の状態を示す模式図である。なお、図11は、車両1を水平方向から見た図である。
ステップS101において、制御部は、磁石駆動用モータ81を制御して、前後輪(磁気吸着車輪5FL,5FR,5RL,5RR)の永久磁石保持部53をボディ2の方向に向ける(図11(a)参照)。そして、制御部は、永久磁石保持部53の向きを維持するように磁石駆動用モータ81を制御する。また、制御部は、車輪駆動用モータ71を制御して、球殻車輪51を駆動させる(図11(a)白抜き矢印参照)。これにより、車両1が床面W1を走行する際、磁気吸着力によって駆動トルクが増加することを抑制することができる。また、床面W1上の砂鉄等の磁性体異物を吸着することを抑制することができる。前輪(磁気吸着車輪5FL,5FR)が壁面W2に到達すると、制御部は、車輪駆動用モータ71を停止させてステップS102に進む。
ステップS102において、制御部は、前輪(磁気吸着車輪5FL,5FR)の永久磁石52を壁面W2に向ける(図11(b)参照黒塗り矢印参照)。即ち、制御部は、磁石駆動用モータ81への電源供給を制御して、永久磁石保持部53を壁面W2に向ける。これにより、永久磁石52が磁気吸着面(壁面W2)を吸着する。以降は、磁石駆動用モータ81への電源供給を遮断して磁石駆動用モータ81の出力軸(磁石駆動部57の出力軸571、第1シャフト54)をバックドライブ状態とすることで、永久磁石52の磁気吸着力により永久磁石52の磁力方向が壁面W2を向くように永久磁石保持部53が回転する。
ステップS103において、制御部は、磁石駆動用モータ81を制御して、後輪(磁気吸着車輪5RL,5RR)の永久磁石保持部53をボディ2の方向に向けたまま、車輪駆動用モータ71を制御して、球殻車輪51を駆動させる(図11(c)参照)。これにより、壁面W2に磁気吸着された前輪は、壁面W2を上る(図11(c)白抜き矢印参照)。床面W1上の後輪は、壁面W2に向かってさらに前進する(図11(c)白抜き矢印参照)。後輪が壁面W2に到達すると(図11(d)参照)、制御部は、車輪駆動用モータ71を停止させてステップS104に進む。
ステップS104において、制御部は、後輪(磁気吸着車輪5RL,5RR)の永久磁石52を壁面W2に向ける(図11(e)参照)。即ち、制御部は、磁石駆動用モータ81への電源供給を制御して、永久磁石保持部53を壁面W2に向ける。これにより、永久磁石52が磁気吸着面(壁面W2)を吸着する。以降は、磁石駆動用モータ81への電源供給を遮断して磁石駆動用モータ81の出力軸(磁石駆動部57の出力軸571、第1シャフト54)をバックドライブ状態とすることで、永久磁石52の磁気吸着力により永久磁石52の磁力方向が壁面W2を向くように永久磁石保持部53が回転する。
ステップS105において、制御部は、車輪駆動用モータ71を制御して球殻車輪51を駆動させる(図11(f)参照)。これにより、壁面W2に磁気吸着された車両1の前後輪(磁気吸着車輪5FL,5FR,5RL,5RR)は、壁面W2を上る(図11(f)白抜き矢印参照)。
以上のように、本実施形態に係る車両1によれば、床面W1に接地された状態から、壁面W2を上ることができる。これにより、車両1の設置を容易に行うことができる。
<吸着動作フロー>
次に、車両1が壁面から他の壁面に移動する際の車両1の動作について、図12及び図13を用いて説明する。図12は、車両1が第1壁面W3から第2壁面W4に移動する際の動作を示すフローチャートである。図13は、各時点における車両1の状態を示す模式図である。なお、図13は、車両1を鉛直方向から見た図である。
なお、開始時においては、車両1は、第1壁面W3に吸着されている。即ち、車両1の前後輪(磁気吸着車輪5FL,5FR,5RL,5RR)の永久磁石保持部53は、第1壁面を向いた状態である。
ステップS201において、制御部は、前後輪(磁気吸着車輪5FL,5FR,5RL,5RR)の永久磁石保持部53が第1壁面W3を向いた状態で、車輪駆動用モータ71を制御して、球殻車輪51を駆動させる(図13(a)白抜き矢印参照)。ここでは、磁石駆動用モータ81への電源供給を遮断して磁石駆動用モータ81の出力軸(磁石駆動部57の出力軸571、第1シャフト54)をバックドライブ状態とすることで、永久磁石52の磁気吸着力により永久磁石52の磁力方向が第1壁面W3を向くように永久磁石保持部53が回転する。これにより、車両1が第1壁面W3に吸着して走行することができる。前輪(磁気吸着車輪5FL,5FR)が第2壁面W4に到達すると、制御部は、車輪駆動用モータ71を停止させてステップS202に進む。
ステップS202において、制御部は、前輪(磁気吸着車輪5FL,5FR)の永久磁石52を第2壁面W4に向ける(図13(b)参照黒塗り矢印参照)。即ち、制御部は、磁石駆動用モータ81への電源供給を制御して、永久磁石保持部53を第2壁面W4に向ける。これにより、永久磁石52が磁気吸着面(第2壁面W4)を吸着する。以降は、磁石駆動用モータ81への電源供給を遮断して磁石駆動用モータ81の出力軸(磁石駆動部57の出力軸571、第1シャフト54)をバックドライブ状態とすることで、永久磁石52の磁気吸着力により永久磁石52の磁力方向が第2壁面W4を向くように永久磁石保持部53が回転する。
ここで、制御部は、前輪(磁気吸着車輪5FL,5FR)の永久磁石52の一方を第1壁面W3の法線方向から第2壁面W4の法線方向に向ける。次に、制御部は、前輪(磁気吸着車輪5FL,5FR)の永久磁石52の他方を第1壁面W3の法線方向から第2壁面W4の法線方向に向ける。即ち、車両1は、4輪のうち、少なくとも3輪が壁面W3,W4に吸着されている状態で、1輪の永久磁石保持部53を回転させる。これにより、車両1は少なくとも3輪以上の磁気吸着車輪5で壁面W3,W4に吸着させることができるので、車両1が壁面W3,W4から落下することを防止することができる。
ステップS203において、制御部は、前輪(磁気吸着車輪5FL,5FRR)の永久磁石保持部53が第2壁面W4を向いた状態、かつ、後輪(磁気吸着車輪5RL,5RR)の永久磁石保持部53が第1壁面W3を向いた状態で、車輪駆動用モータ71を制御して、球殻車輪51を駆動させる(図13(c)参照)。これにより、第2壁面W4に磁気吸着された前輪は、第2壁面W4を進む(図13(c)白抜き矢印参照)。第1壁面W3上の後輪は、第2壁面W4に向かってさらに前進する(図13(c)白抜き矢印参照)。後輪が第2壁面W4に到達すると(図13(d)参照)、制御部は、車輪駆動用モータ71を停止させてステップS204に進む。
ステップS204において、制御部は、後輪(磁気吸着車輪5RL,5RR)の永久磁石52を第2壁面W4に向ける(図13(e)参照)。即ち、制御部は、磁石駆動用モータ81への電源供給を制御して、永久磁石保持部53を第2壁面W4に向ける。これにより、永久磁石52が磁気吸着面(第2壁面W4)を吸着する。以降は、磁石駆動用モータ81への電源供給を遮断して磁石駆動用モータ81の出力軸(磁石駆動部57の出力軸571、第1シャフト54)をバックドライブ状態とすることで、永久磁石52の磁気吸着力により永久磁石52の磁力方向が第2壁面W4を向くように永久磁石保持部53が回転する。
ここで、制御部は、後輪(磁気吸着車輪5RL,5RR)の永久磁石52の一方を第1壁面W3の法線方向から第2壁面W4の法線方向に向ける。次に、制御部は、後輪(磁気吸着車輪5RL,5RR)の永久磁石52の他方を第1壁面W3の法線方向から第2壁面W4の法線方向に向ける。即ち、車両1は、4輪のうち、少なくとも3輪が壁面W3,W4に吸着されている状態で、1輪の永久磁石保持部53を回転させる。これにより、車両1は少なくとも3輪以上の磁気吸着車輪5で壁面W3,W4に吸着させることができるので、車両1が壁面W3,W4から落下することを防止することができる。
ステップS205において、制御部は、前後輪(磁気吸着車輪5FL,5FR,5RL,5RR)の永久磁石保持部53が第2壁面W4を向いた状態で、車輪駆動用モータ71を制御して、球殻車輪51を駆動させる(図13(f)白抜き矢印参照)。これにより、第2壁面W4に磁気吸着された車両1の前後輪(磁気吸着車輪5FL,5FR,5RL,5RR)は、第2壁面W4を進む(図13(f)白抜き矢印参照)。
なお、図12及び図13を用いて、車両1が壁面から壁面に移動する場合を例に説明したが、同様の動作により、車両1は、壁面から天井面、天井面から壁面に移動することができる。また、車両1は、壁面から床面に移動することもできる。
以上、本実施形態に係る磁気吸着車輪5を有する車両1について説明したが、本開示は上記実施形態等に限定されるものではなく、特許請求の範囲に記載された本開示の要旨の範囲内において、種々の変形、改良が可能である。
動力伝達部72,82は、ベルト/プーリによって回転動力を伝達する構成を例に説明したが、これに限られるものではない。例えば、チェーン/スプロケットによって回転動力を伝達する構成であってもよく、ギアによって回転動力を伝達する構成であってもよい。
1,1A 車両
2 ボディ
21 軸受
22 軸受
3L,3R ロッカーリンク
351,352 支持部
4L,4R シャフト
5,5FL,5FR,5RL,5RR 磁気吸着車輪
6 ディファレンシャルギア(回転機構)
351 支持部
351a 貫通部
51 球殻車輪
52 永久磁石
53 永久磁石保持部
54 第1シャフト
55 第2シャフト
56 車輪駆動部
561 出力軸
57 磁石駆動部
571 出力軸
572 カプラ
58~60 ベアリング
71 車輪駆動用モータ
72 動力伝達部
73 第1プーリ
74 第2プーリ
75 タイミングベルト
76~78 ベアリング
81 磁石駆動用モータ
82 動力伝達部
83 第1プーリ
84 第2プーリ
85 タイミングベルト
86~88 ベアリング

Claims (5)

  1. 磁気吸着面に接触する外周面が球面形状をを有する球殻車輪と、
    前記球殻車輪の内側に配置され、永久磁石を保持する永久磁石保持部と、
    前記球殻車輪の回転軸と同軸に配置され、前記球殻車輪とは独立して回転し、前記永久磁石保持部を第1回転方向に回転可能な第1シャフトと、
    前記第1シャフトとともに前記第1回転方向に回転し、前記第1シャフトの軸と直交する軸を有して該軸に揺動可能に前記永久磁石保持部を懸架する第2シャフトと、
    前記球殻車輪を回転駆動する車輪駆動部と、
    前記第1シャフトを回転駆動することで前記永久磁石を回転させる磁石駆動部と、を備え、
    前記車輪駆動部は、車輪駆動用モータと、前記車輪駆動用モータの回転動力を前記球殻車輪に伝達する第1動力伝達部と、を有し、
    前記磁石駆動部は、磁石駆動用モータと、前記磁石駆動用モータの回転動力を前記球殻車輪に伝達する第2動力伝達部と、を有する、磁気吸着車輪。
  2. 前記車輪駆動用モータ及び/又は前記磁石駆動用モータは、前記球殻車輪の回転軸とは異なる位置に配置される、
    請求項1に記載の磁気吸着車輪。
  3. 前記第1動力伝達部及び/または第2動力伝達部は、ベルトプーリ機構を有する、
    請求項1または請求項2に記載の磁気吸着車輪。
  4. 前方及び後方に請求項1乃至請求項3のいずれか1項に記載の磁気吸着車輪を設ける一対の部材と、
    前記一対の部材を独立して回転可能に接続する回転機構と、
    前記回転機構と固定されるボディと、を備える車両。
  5. 該車両が床面を走行する際、前記床面と接する前記磁気吸着車輪の前記永久磁石保持部は、前記第1回転方向において、前記ボディの方向を向く、
    請求項4に記載の車両。
JP2020109947A 2020-06-25 2020-06-25 磁気吸着車輪及び車両 Active JP7424924B2 (ja)

Priority Applications (2)

Application Number Priority Date Filing Date Title
JP2020109947A JP7424924B2 (ja) 2020-06-25 2020-06-25 磁気吸着車輪及び車両
JP2024005978A JP7669628B2 (ja) 2020-06-25 2024-01-18 磁気吸着車輪の制御方法、車両の制御方法、磁気吸着車輪及び車両

Applications Claiming Priority (1)

Application Number Priority Date Filing Date Title
JP2020109947A JP7424924B2 (ja) 2020-06-25 2020-06-25 磁気吸着車輪及び車両

Related Child Applications (1)

Application Number Title Priority Date Filing Date
JP2024005978A Division JP7669628B2 (ja) 2020-06-25 2024-01-18 磁気吸着車輪の制御方法、車両の制御方法、磁気吸着車輪及び車両

Publications (2)

Publication Number Publication Date
JP2022007174A JP2022007174A (ja) 2022-01-13
JP7424924B2 true JP7424924B2 (ja) 2024-01-30

Family

ID=80111102

Family Applications (2)

Application Number Title Priority Date Filing Date
JP2020109947A Active JP7424924B2 (ja) 2020-06-25 2020-06-25 磁気吸着車輪及び車両
JP2024005978A Active JP7669628B2 (ja) 2020-06-25 2024-01-18 磁気吸着車輪の制御方法、車両の制御方法、磁気吸着車輪及び車両

Family Applications After (1)

Application Number Title Priority Date Filing Date
JP2024005978A Active JP7669628B2 (ja) 2020-06-25 2024-01-18 磁気吸着車輪の制御方法、車両の制御方法、磁気吸着車輪及び車両

Country Status (1)

Country Link
JP (2) JP7424924B2 (ja)

Families Citing this family (4)

* Cited by examiner, † Cited by third party
Publication number Priority date Publication date Assignee Title
EP4497665A4 (en) 2022-03-23 2025-07-09 Sumitomo Heavy Industries VEHICLE CROSSING A WALL
CN115157920A (zh) * 2022-06-23 2022-10-11 江苏镌极特种设备有限公司 一种磁铁随动车轮及爬壁机器人
JPWO2024219070A1 (ja) * 2023-04-19 2024-10-24
CN121464080A (zh) * 2023-08-08 2026-02-03 住友重机械工业株式会社 移动装置、移动装置的控制方法及控制程序

Citations (4)

* Cited by examiner, † Cited by third party
Publication number Priority date Publication date Assignee Title
JP2000052702A (ja) 1998-08-11 2000-02-22 Gijutsu Kaihatsu Kenkyusho:Kk 走行駆動機構を内蔵した磁性体走行用吸着車輪
JP2010202154A (ja) 2009-03-06 2010-09-16 Hakusan Kogyo Kk 球形車輪装置
US20160325794A1 (en) 2015-03-09 2016-11-10 Alstom Technology Ltd Magnetic roller
CN109484507A (zh) 2018-12-29 2019-03-19 衡昇科技有限公司 用于复杂导磁壁面的定向吸附永磁磁轮双轮爬壁机器人

Family Cites Families (7)

* Cited by examiner, † Cited by third party
Publication number Priority date Publication date Assignee Title
US5220869A (en) * 1991-08-07 1993-06-22 Osaka Gas Company, Ltd. Vehicle adapted to freely travel three-dimensionally and up vertical walls by magnetic force and wheel for the vehicle
JP2639895B2 (ja) * 1994-05-31 1997-08-13 本州四国連絡橋公団 磁石内蔵タイプの吸着車輪並びに同吸着車輪を使用した壁面移動ゴンドラ
JPH0911893A (ja) * 1995-06-30 1997-01-14 Osaka Gas Co Ltd 管内走行ロボット
JP3076546B2 (ja) * 1997-12-27 2000-08-14 川崎重工業株式会社 磁気吸着走行装置
CH701817A1 (de) * 2009-08-31 2011-03-15 Alstom Technology Ltd Rollelement zum allseitigen Verfahren eines Fahrzeugs sowie Fahrzeug mit einem solchen Rollelement.
CH702282A1 (de) * 2009-11-27 2011-05-31 Alstom Technology Ltd Fahrzeug zur selbständigen Inspektion von schwer zugänglichen Innenräumen.
CN110435352A (zh) * 2019-09-17 2019-11-12 衡昇科技有限公司 一种越障磁轮

Patent Citations (4)

* Cited by examiner, † Cited by third party
Publication number Priority date Publication date Assignee Title
JP2000052702A (ja) 1998-08-11 2000-02-22 Gijutsu Kaihatsu Kenkyusho:Kk 走行駆動機構を内蔵した磁性体走行用吸着車輪
JP2010202154A (ja) 2009-03-06 2010-09-16 Hakusan Kogyo Kk 球形車輪装置
US20160325794A1 (en) 2015-03-09 2016-11-10 Alstom Technology Ltd Magnetic roller
CN109484507A (zh) 2018-12-29 2019-03-19 衡昇科技有限公司 用于复杂导磁壁面的定向吸附永磁磁轮双轮爬壁机器人

Also Published As

Publication number Publication date
JP7669628B2 (ja) 2025-04-30
JP2024026849A (ja) 2024-02-28
JP2022007174A (ja) 2022-01-13

Similar Documents

Publication Publication Date Title
JP7424924B2 (ja) 磁気吸着車輪及び車両
JP5292283B2 (ja) 全方向駆動装置及びそれを用いた全方向移動車
JP6079997B2 (ja) 磁気吸着車両の群移動体
US20230087850A1 (en) Wall climbing vehicles with adaptable magnetic wheels
JP7487023B2 (ja) 磁気吸着車輪及び車両
JP5396398B2 (ja) 摩擦式駆動装置及びそれを用いた全方向移動体
JP7591459B2 (ja) 走行車
JP6578063B2 (ja) 無人搬送車の牽引装置およびこれを備える無人搬送車
WO2010064408A1 (ja) 車輪及びそれを用いた摩擦式駆動装置及び全方向移動体
EP2003044B1 (en) Automotive inspection vehicle
CN102346482A (zh) 一种原地转向的轮式机器人底座机构
JP2019166863A (ja) 移動体
JP7487022B2 (ja) 磁気吸着車輪及び車両
JP3498043B2 (ja) 球状駆動輪を用いる全方向移動装置
JP3498044B2 (ja) 全方向移動装置の制御装置
KR100937752B1 (ko) 자주식 강관용접 로봇장치
KR102597420B1 (ko) 모듈형 듀얼 스위블 휠 및 이를 포함하는 플랫폼
JP6641655B2 (ja) 走行ロボット
WO2019176094A1 (ja) 電動車両
JP2023044065A (ja) 移動体
KR20230106866A (ko) 용접 개선부의 녹제거 장치
KR102622794B1 (ko) 주행구체
CN107128377A (zh) 一种球形机器人
EP0876871A1 (en) Welding vehicle
JP2019006290A (ja) 管内走行装置

Legal Events

Date Code Title Description
A80 Written request to apply exceptions to lack of novelty of invention

Free format text: JAPANESE INTERMEDIATE CODE: A80

Effective date: 20200707

A621 Written request for application examination

Free format text: JAPANESE INTERMEDIATE CODE: A621

Effective date: 20230413

A977 Report on retrieval

Free format text: JAPANESE INTERMEDIATE CODE: A971007

Effective date: 20231124

TRDD Decision of grant or rejection written
A01 Written decision to grant a patent or to grant a registration (utility model)

Free format text: JAPANESE INTERMEDIATE CODE: A01

Effective date: 20231219

A61 First payment of annual fees (during grant procedure)

Free format text: JAPANESE INTERMEDIATE CODE: A61

Effective date: 20240118

R150 Certificate of patent or registration of utility model

Ref document number: 7424924

Country of ref document: JP

Free format text: JAPANESE INTERMEDIATE CODE: R150