JP7421663B2 - 冷却管システムを有する部品を製造するための方法 - Google Patents

冷却管システムを有する部品を製造するための方法 Download PDF

Info

Publication number
JP7421663B2
JP7421663B2 JP2022571200A JP2022571200A JP7421663B2 JP 7421663 B2 JP7421663 B2 JP 7421663B2 JP 2022571200 A JP2022571200 A JP 2022571200A JP 2022571200 A JP2022571200 A JP 2022571200A JP 7421663 B2 JP7421663 B2 JP 7421663B2
Authority
JP
Japan
Prior art keywords
cavity
covering
introducing
cooling
building material
Prior art date
Legal status (The legal status is an assumption and is not a legal conclusion. Google has not performed a legal analysis and makes no representation as to the accuracy of the status listed.)
Active
Application number
JP2022571200A
Other languages
English (en)
Other versions
JP2023530074A (ja
Inventor
アンドレアス ミュラー
Current Assignee (The listed assignees may be inaccurate. Google has not performed a legal analysis and makes no representation or warranty as to the accuracy of the list.)
DMG Mori Ultrasonic Lasertec GmbH
Original Assignee
DMG Mori Ultrasonic Lasertec GmbH
Priority date (The priority date is an assumption and is not a legal conclusion. Google has not performed a legal analysis and makes no representation as to the accuracy of the date listed.)
Filing date
Publication date
Application filed by DMG Mori Ultrasonic Lasertec GmbH filed Critical DMG Mori Ultrasonic Lasertec GmbH
Publication of JP2023530074A publication Critical patent/JP2023530074A/ja
Application granted granted Critical
Publication of JP7421663B2 publication Critical patent/JP7421663B2/ja
Active legal-status Critical Current
Anticipated expiration legal-status Critical

Links

Images

Classifications

    • BPERFORMING OPERATIONS; TRANSPORTING
    • B22CASTING; POWDER METALLURGY
    • B22FWORKING METALLIC POWDER; MANUFACTURE OF ARTICLES FROM METALLIC POWDER; MAKING METALLIC POWDER; APPARATUS OR DEVICES SPECIALLY ADAPTED FOR METALLIC POWDER
    • B22F10/00Additive manufacturing of workpieces or articles from metallic powder
    • B22F10/20Direct sintering or melting
    • B22F10/25Direct deposition of metal particles, e.g. direct metal deposition [DMD] or laser engineered net shaping [LENS]
    • BPERFORMING OPERATIONS; TRANSPORTING
    • B22CASTING; POWDER METALLURGY
    • B22FWORKING METALLIC POWDER; MANUFACTURE OF ARTICLES FROM METALLIC POWDER; MAKING METALLIC POWDER; APPARATUS OR DEVICES SPECIALLY ADAPTED FOR METALLIC POWDER
    • B22F10/00Additive manufacturing of workpieces or articles from metallic powder
    • B22F10/20Direct sintering or melting
    • BPERFORMING OPERATIONS; TRANSPORTING
    • B22CASTING; POWDER METALLURGY
    • B22FWORKING METALLIC POWDER; MANUFACTURE OF ARTICLES FROM METALLIC POWDER; MAKING METALLIC POWDER; APPARATUS OR DEVICES SPECIALLY ADAPTED FOR METALLIC POWDER
    • B22F10/00Additive manufacturing of workpieces or articles from metallic powder
    • B22F10/50Treatment of workpieces or articles during build-up, e.g. treatments applied to fused layers during build-up
    • BPERFORMING OPERATIONS; TRANSPORTING
    • B22CASTING; POWDER METALLURGY
    • B22FWORKING METALLIC POWDER; MANUFACTURE OF ARTICLES FROM METALLIC POWDER; MAKING METALLIC POWDER; APPARATUS OR DEVICES SPECIALLY ADAPTED FOR METALLIC POWDER
    • B22F10/00Additive manufacturing of workpieces or articles from metallic powder
    • B22F10/60Treatment of workpieces or articles after build-up
    • B22F10/66Treatment of workpieces or articles after build-up by mechanical means
    • BPERFORMING OPERATIONS; TRANSPORTING
    • B22CASTING; POWDER METALLURGY
    • B22FWORKING METALLIC POWDER; MANUFACTURE OF ARTICLES FROM METALLIC POWDER; MAKING METALLIC POWDER; APPARATUS OR DEVICES SPECIALLY ADAPTED FOR METALLIC POWDER
    • B22F12/00Apparatus or devices specially adapted for additive manufacturing; Auxiliary means for additive manufacturing; Combinations of additive manufacturing apparatus or devices with other processing apparatus or devices
    • B22F12/80Plants, production lines or modules
    • B22F12/82Combination of additive manufacturing apparatus or devices with other processing apparatus or devices
    • BPERFORMING OPERATIONS; TRANSPORTING
    • B22CASTING; POWDER METALLURGY
    • B22FWORKING METALLIC POWDER; MANUFACTURE OF ARTICLES FROM METALLIC POWDER; MAKING METALLIC POWDER; APPARATUS OR DEVICES SPECIALLY ADAPTED FOR METALLIC POWDER
    • B22F12/00Apparatus or devices specially adapted for additive manufacturing; Auxiliary means for additive manufacturing; Combinations of additive manufacturing apparatus or devices with other processing apparatus or devices
    • B22F12/80Plants, production lines or modules
    • B22F12/82Combination of additive manufacturing apparatus or devices with other processing apparatus or devices
    • B22F12/84Parallel processing within single device
    • BPERFORMING OPERATIONS; TRANSPORTING
    • B22CASTING; POWDER METALLURGY
    • B22FWORKING METALLIC POWDER; MANUFACTURE OF ARTICLES FROM METALLIC POWDER; MAKING METALLIC POWDER; APPARATUS OR DEVICES SPECIALLY ADAPTED FOR METALLIC POWDER
    • B22F5/00Manufacture of workpieces or articles from metallic powder characterised by the special shape of the product
    • B22F5/10Manufacture of workpieces or articles from metallic powder characterised by the special shape of the product of articles with cavities or holes, not otherwise provided for in the preceding subgroups
    • BPERFORMING OPERATIONS; TRANSPORTING
    • B23MACHINE TOOLS; METAL-WORKING NOT OTHERWISE PROVIDED FOR
    • B23KSOLDERING OR UNSOLDERING; WELDING; CLADDING OR PLATING BY SOLDERING OR WELDING; CUTTING BY APPLYING HEAT LOCALLY, e.g. FLAME CUTTING; WORKING BY LASER BEAM
    • B23K26/00Working by laser beam, e.g. welding, cutting or boring
    • B23K26/0006Working by laser beam, e.g. welding, cutting or boring taking account of the properties of the material involved
    • BPERFORMING OPERATIONS; TRANSPORTING
    • B23MACHINE TOOLS; METAL-WORKING NOT OTHERWISE PROVIDED FOR
    • B23KSOLDERING OR UNSOLDERING; WELDING; CLADDING OR PLATING BY SOLDERING OR WELDING; CUTTING BY APPLYING HEAT LOCALLY, e.g. FLAME CUTTING; WORKING BY LASER BEAM
    • B23K26/00Working by laser beam, e.g. welding, cutting or boring
    • B23K26/34Laser welding for purposes other than joining
    • B23K26/342Build-up welding
    • BPERFORMING OPERATIONS; TRANSPORTING
    • B23MACHINE TOOLS; METAL-WORKING NOT OTHERWISE PROVIDED FOR
    • B23PMETAL-WORKING NOT OTHERWISE PROVIDED FOR; COMBINED OPERATIONS; UNIVERSAL MACHINE TOOLS
    • B23P15/00Making specific metal objects by operations not covered by a single other subclass or a group in this subclass
    • B23P15/007Making specific metal objects by operations not covered by a single other subclass or a group in this subclass injection moulding tools
    • BPERFORMING OPERATIONS; TRANSPORTING
    • B29WORKING OF PLASTICS; WORKING OF SUBSTANCES IN A PLASTIC STATE IN GENERAL
    • B29CSHAPING OR JOINING OF PLASTICS; SHAPING OF MATERIAL IN A PLASTIC STATE, NOT OTHERWISE PROVIDED FOR; AFTER-TREATMENT OF THE SHAPED PRODUCTS, e.g. REPAIRING
    • B29C33/00Moulds or cores; Details thereof or accessories therefor
    • B29C33/02Moulds or cores; Details thereof or accessories therefor with incorporated heating or cooling means
    • B29C33/04Moulds or cores; Details thereof or accessories therefor with incorporated heating or cooling means using liquids, gas or steam
    • BPERFORMING OPERATIONS; TRANSPORTING
    • B29WORKING OF PLASTICS; WORKING OF SUBSTANCES IN A PLASTIC STATE IN GENERAL
    • B29CSHAPING OR JOINING OF PLASTICS; SHAPING OF MATERIAL IN A PLASTIC STATE, NOT OTHERWISE PROVIDED FOR; AFTER-TREATMENT OF THE SHAPED PRODUCTS, e.g. REPAIRING
    • B29C33/00Moulds or cores; Details thereof or accessories therefor
    • B29C33/38Moulds or cores; Details thereof or accessories therefor characterised by the material or the manufacturing process
    • B29C33/3835Designing moulds, e.g. using CAD-CAM
    • BPERFORMING OPERATIONS; TRANSPORTING
    • B29WORKING OF PLASTICS; WORKING OF SUBSTANCES IN A PLASTIC STATE IN GENERAL
    • B29CSHAPING OR JOINING OF PLASTICS; SHAPING OF MATERIAL IN A PLASTIC STATE, NOT OTHERWISE PROVIDED FOR; AFTER-TREATMENT OF THE SHAPED PRODUCTS, e.g. REPAIRING
    • B29C33/00Moulds or cores; Details thereof or accessories therefor
    • B29C33/38Moulds or cores; Details thereof or accessories therefor characterised by the material or the manufacturing process
    • B29C33/3842Manufacturing moulds, e.g. shaping the mould surface by machining
    • BPERFORMING OPERATIONS; TRANSPORTING
    • B29WORKING OF PLASTICS; WORKING OF SUBSTANCES IN A PLASTIC STATE IN GENERAL
    • B29CSHAPING OR JOINING OF PLASTICS; SHAPING OF MATERIAL IN A PLASTIC STATE, NOT OTHERWISE PROVIDED FOR; AFTER-TREATMENT OF THE SHAPED PRODUCTS, e.g. REPAIRING
    • B29C45/00Injection moulding, i.e. forcing the required volume of moulding material through a nozzle into a closed mould; Apparatus therefor
    • B29C45/17Component parts, details or accessories; Auxiliary operations
    • B29C45/72Heating or cooling
    • B29C45/73Heating or cooling of the mould
    • B29C45/7312Construction of heating or cooling fluid flow channels
    • BPERFORMING OPERATIONS; TRANSPORTING
    • B33ADDITIVE MANUFACTURING TECHNOLOGY
    • B33YADDITIVE MANUFACTURING, i.e. MANUFACTURING OF THREE-DIMENSIONAL [3-D] OBJECTS BY ADDITIVE DEPOSITION, ADDITIVE AGGLOMERATION OR ADDITIVE LAYERING, e.g. BY 3-D PRINTING, STEREOLITHOGRAPHY OR SELECTIVE LASER SINTERING
    • B33Y10/00Processes of additive manufacturing
    • BPERFORMING OPERATIONS; TRANSPORTING
    • B33ADDITIVE MANUFACTURING TECHNOLOGY
    • B33YADDITIVE MANUFACTURING, i.e. MANUFACTURING OF THREE-DIMENSIONAL [3-D] OBJECTS BY ADDITIVE DEPOSITION, ADDITIVE AGGLOMERATION OR ADDITIVE LAYERING, e.g. BY 3-D PRINTING, STEREOLITHOGRAPHY OR SELECTIVE LASER SINTERING
    • B33Y80/00Products made by additive manufacturing
    • GPHYSICS
    • G05CONTROLLING; REGULATING
    • G05BCONTROL OR REGULATING SYSTEMS IN GENERAL; FUNCTIONAL ELEMENTS OF SUCH SYSTEMS; MONITORING OR TESTING ARRANGEMENTS FOR SUCH SYSTEMS OR ELEMENTS
    • G05B19/00Programme-control systems
    • G05B19/02Programme-control systems electric
    • G05B19/18Numerical control [NC], i.e. automatically operating machines, in particular machine tools, e.g. in a manufacturing environment, so as to execute positioning, movement or co-ordinated operations by means of programme data in numerical form
    • G05B19/4097Numerical control [NC], i.e. automatically operating machines, in particular machine tools, e.g. in a manufacturing environment, so as to execute positioning, movement or co-ordinated operations by means of programme data in numerical form characterised by using design data to control NC machines, e.g. CAD/CAM
    • G05B19/4099Surface or curve machining, making 3D objects, e.g. desktop manufacturing
    • BPERFORMING OPERATIONS; TRANSPORTING
    • B22CASTING; POWDER METALLURGY
    • B22FWORKING METALLIC POWDER; MANUFACTURE OF ARTICLES FROM METALLIC POWDER; MAKING METALLIC POWDER; APPARATUS OR DEVICES SPECIALLY ADAPTED FOR METALLIC POWDER
    • B22F2998/00Supplementary information concerning processes or compositions relating to powder metallurgy
    • B22F2998/10Processes characterised by the sequence of their steps
    • BPERFORMING OPERATIONS; TRANSPORTING
    • B23MACHINE TOOLS; METAL-WORKING NOT OTHERWISE PROVIDED FOR
    • B23KSOLDERING OR UNSOLDERING; WELDING; CLADDING OR PLATING BY SOLDERING OR WELDING; CUTTING BY APPLYING HEAT LOCALLY, e.g. FLAME CUTTING; WORKING BY LASER BEAM
    • B23K2101/00Articles made by soldering, welding or cutting
    • B23K2101/04Tubular or hollow articles
    • B23K2101/14Heat exchangers
    • BPERFORMING OPERATIONS; TRANSPORTING
    • B23MACHINE TOOLS; METAL-WORKING NOT OTHERWISE PROVIDED FOR
    • B23KSOLDERING OR UNSOLDERING; WELDING; CLADDING OR PLATING BY SOLDERING OR WELDING; CUTTING BY APPLYING HEAT LOCALLY, e.g. FLAME CUTTING; WORKING BY LASER BEAM
    • B23K2103/00Materials to be soldered, welded or cut
    • B23K2103/08Non-ferrous metals or alloys
    • B23K2103/12Copper or alloys thereof
    • BPERFORMING OPERATIONS; TRANSPORTING
    • B29WORKING OF PLASTICS; WORKING OF SUBSTANCES IN A PLASTIC STATE IN GENERAL
    • B29CSHAPING OR JOINING OF PLASTICS; SHAPING OF MATERIAL IN A PLASTIC STATE, NOT OTHERWISE PROVIDED FOR; AFTER-TREATMENT OF THE SHAPED PRODUCTS, e.g. REPAIRING
    • B29C45/00Injection moulding, i.e. forcing the required volume of moulding material through a nozzle into a closed mould; Apparatus therefor
    • B29C45/17Component parts, details or accessories; Auxiliary operations
    • B29C45/72Heating or cooling
    • B29C45/73Heating or cooling of the mould
    • B29C45/7312Construction of heating or cooling fluid flow channels
    • B29C2045/7318Construction of heating or cooling fluid flow channels multilayered fluid channel constructions
    • GPHYSICS
    • G06COMPUTING OR CALCULATING; COUNTING
    • G06FELECTRIC DIGITAL DATA PROCESSING
    • G06F2113/00Details relating to the application field
    • G06F2113/22Moulding
    • YGENERAL TAGGING OF NEW TECHNOLOGICAL DEVELOPMENTS; GENERAL TAGGING OF CROSS-SECTIONAL TECHNOLOGIES SPANNING OVER SEVERAL SECTIONS OF THE IPC; TECHNICAL SUBJECTS COVERED BY FORMER USPC CROSS-REFERENCE ART COLLECTIONS [XRACs] AND DIGESTS
    • Y02TECHNOLOGIES OR APPLICATIONS FOR MITIGATION OR ADAPTATION AGAINST CLIMATE CHANGE
    • Y02PCLIMATE CHANGE MITIGATION TECHNOLOGIES IN THE PRODUCTION OR PROCESSING OF GOODS
    • Y02P10/00Technologies related to metal processing
    • Y02P10/25Process efficiency

Landscapes

  • Engineering & Computer Science (AREA)
  • Manufacturing & Machinery (AREA)
  • Mechanical Engineering (AREA)
  • Chemical & Material Sciences (AREA)
  • Materials Engineering (AREA)
  • Physics & Mathematics (AREA)
  • Optics & Photonics (AREA)
  • Plasma & Fusion (AREA)
  • Human Computer Interaction (AREA)
  • General Physics & Mathematics (AREA)
  • Automation & Control Theory (AREA)
  • Fluid Mechanics (AREA)
  • Turbine Rotor Nozzle Sealing (AREA)
  • Metallurgy (AREA)
  • Organic Chemistry (AREA)
  • Laser Beam Processing (AREA)
  • Powder Metallurgy (AREA)
  • Moulds For Moulding Plastics Or The Like (AREA)

Description

本願発明は、冷却管システムを有する部品を製造するための方法に関する。
工業的製造で頻繁に用いられる方法には、例えば、射出成形加工方法がある。射出成形加工方法では、圧下で液状の材料が加成形用の金型インサート又は射出成形加工工具に注入され、そこで冷却され、固化した凝集状態に戻る。
この一次的な形成処理は、塑性加工の分野で用いられることが多く、これにより製作される製品の複雑な成形を可能とする。材料を固化させるのに必要な冷却は、とりわけ、処理時間に対して決定的な影響を及ぼすので、そのような処理において特に重要である。
知られているのは、注入される材料のそのような冷却が、金型インサート又は射出成形加工工具を介して起こるのが有利であることである。通常、放熱のための冷却管が、金型インサート又は射出成形加工工具内に設けられる。適した冷却水がこれら冷却管を流れ、それにより、金型インサート又は射出成形加工工具を、したがって内部に位置する材料を冷却する。
原則的に、射出成形加工工具、形成工具、押出工具等、使用に際して高温に曝される工具の製作は複雑である。特に、工具内で延在する冷却管は通常、完成した工具内へ穿孔によってのみ導入できるので、冷却管を導入することは、工具の、通常非常に複雑である形状のために達成が容易ではないことが多い。
従来技術文書DE 10 2004 040 929 A1には、例えば、付加的材料堆積製作処理により部品として、冷却水管を有する工具が製造される方法が記載されており、冷却水管は、付加的な構築の過程で工具内部に形成される。文書DE 10 2004 040 929 A1に示される方法は、高度に個別化された部品、又は複雑な形状を有する部品のために特に用いられる付加的製作が可能であることを利用し、よって、付加的な構築の間に部品内に、とりわけ、凹部を設けることを可能とする。
しかし、このやり方で製作される部品を効率よく冷却することが可能であることについては限界がある。
よって本願発明の目的は、向上した放熱性を有する部品を製造するための方法を提供することである。
この目的を達成すべく、請求項1に係る冷却管システムを有する部品を製造するための方法が提案される。
さらに、そのような部品の構築のために構成された、請求項20に係る、ソフトウェアでサポートされたコンピュータシステムが提案される。
それぞれの独立請求項は、本願発明に係る方法の、又は本願発明に係るデータ処理システムの好ましい実施形態に関し、それらは個別に提供されてもよいし、又は組み合わせて提供されてもよい。
本願発明の第1態様によると、冷却管システムを有する部品を製造するための方法は、-造形材料の付加的かつ一体接着的積層により部品の第1部分を造形することと、-部品の第1部分内へ開口部を有する第1キャビティを導入することとを備える。方法は、-被覆部により第1部分内の第1キャビティの開口部を被覆することと、-造形材料の付加的かつ一体接着的積層により部品の第2部分を造形することであって、造形材料は第1部分と被覆部とに積層されることと、-部品の第2部分内への第2キャビティを導入することと、-冷却管システムを形成するために、材料除去加工により部品内へ接続管を導入することであって、接続管は、第2部分の第2キャビティを、部品の第1部分の第1キャビティに接続することとをさらに備える。
オプションで、被覆部は、例えば付加的ビルドアップ溶接トラックを積層することにより、挿入後に堅固に固定されてよい。このことは、例えば、重力とは異なる方向に5軸加工されることになる被処理物へ複数の被覆部が挿入されるときに、それら複数の被覆部が外れるのを防ぐために必要となり得る。代替的に、被覆板が、スポット溶接により固定されてもよい。
本願発明に係る方法は、複雑な形状を有し、冷却管システムが内部で延在する部品を特に有利な方式で製造することを可能とする。冷却管システムは、冷却水を搬送するよう構成され、また複雑な形状を有する。
部品内で延在する冷却管システムの形成は、部品の個々の部分が、造形材料の付加的かつ一体接着的積層により造形される(=付加的ビルドアップ)間に起こり、これにより、部品内のキャビティ及び接続管の位置により決定する冷却管システムの幾何学的配置が、製造されることになる部品の複雑な最終的な形状に有利に適応したものとなってよく、これにより冷却管システムは、少なくとも一部分で部品の外側輪郭表面に合うように延在し、つまり、冷却管システムは、少なくとも一部分でそれら外側輪郭表面に沿う。ここで、一部分において沿うとは、冷却管システムを流れる、又は搬送される冷却水の流れ方向が、部品の外側輪郭表面と本質的に平行に延びるような冷却管システムの配置を意味するものと理解される。
複雑な部品形状の場合、そのような内部冷却管システムの導入は概して、一次的な成形処理後に穴の形態で導入するだけでは可能ではない。
これまで従来の方法においては、部品形状のため及び穿孔処理の可能性のために、穴の導入には限界があり、これにより、幾何学的配置が過度に単純な冷却管システムのみ導入が可能であった。
本願発明に係る方法は、接続管を導入することも含め、内部で延在する冷却管システムを形成するのに、造形材料の付加的かつ一体接着的積層による造形(=付加的ビルドアップ)と材料除去加工との相乗効果を活用する。
したがって本願発明に係る方法は、一連の交互に行われる付加的造形工程と材料除去加工工程とを有するハイブリッド型の製作方法である。
本願発明に係る方法は、特にニアネットコンターである冷却管システムを可能とし、その結果として、放熱性を、内部を流れる冷却水により大幅に向上させられる。
また、接続管より大きな断面をもつキャビティを導入することにより、部品の使用に際して特に熱的応力を受ける領域を、キャビティを流れる冷却水により効率よく冷却でき、有利である。
第1部分内の第1キャビティの開口部を、平らである、及び/又は平坦であるのが有利である被覆部で被覆することで、造形材料を積層することによる第2部分の付加的造形が可能となり、第1キャビティは、部品内部で全体的に閉じこめられ、第1キャビティは、第2部分に面した平らな境界面又は境界面形状を有する単純な形状を有する。
(被覆部なしで)造形材料の純粋に付加的な積層により全体的に完成部品内部に存在するキャビティの開口部を閉じることは、この目的のために構成されるある境界面形状に準拠した場合にのみ可能である。そのような境界面形状は通常平らではない。処理に関連した理由から、(被覆部なしで)平らな境界面の形態で境界面形状を造形することは可能ではない。このことが、付加的積層により、例えば屋根の形態でピラミッド型又は円錐形状の境界面形状が通常造形される理由である。
キャビティのそのような平らではない境界面形状は、多くの点で不利であることがわかっている。
一方で、そのような境界面形状は、冷却管システムを流れる冷却水にとって望ましくない滞留点を表しており、したがって、冷却水により作用が発揮される放熱性の低下も引き起こされる。
他方、そのような多くの場合、尖った境界面形状(ピラミッド型又は円錐形状)は、所定の破壊点(切欠係数)の意味で潜在的に弱い点を表しており、部品に対する力学的負荷が起こったときには部品内でそれらの点において過度な応力のピークが発生し得、その結果として、対応する点において部品が機能しなくなり得る(クラック、破砕、塑性変形等)。
本願発明によれば、部分から部品が造形されるので、接続管は、部品の全体的な付加的ビルドアップ後では可能ではないであろう方式で導入され得る。
ここで、第2部分が造形された後に部品内に配置された第1キャビティへの接続を確立するために、したがって冷却管システムを形成するために、第1部分の第1キャビティの方向に、部品の第2部分内の第2キャビティから開始して接続管を導入するのが有利である。
この目的のために、材料除去加工のために構成された工具のアクセスは、第2部分の第2キャビティの開口部を介して起こるのが有利である。例えば、チップ除去加工のために構成されたドリルヘッドが第2キャビティに損傷を加えることなく第2キャビティ内の開口部を通じて部品に入ることができるように、第2キャビティは、工具が接続管を導入するのを妨げない対応する形状を有するのが好ましい。
材料除去加工に少なくとも部分的に基づく接続管の導入は、付加的ビルドアップにより製造される他の表面と比べて、接続管に隣接する部品の表面の、より表面構造が平滑な、より高い表面品質を生むことができるので有利である。
概して、造形材料の一体接着的な積層による付加的ビルドアップにより作成される表面は、材料除去加工、特にチップ除去加工によって作成される表面の場合よりも粗面度がより高く、表面品質がより低い表面構造又は表面品質を有する。
表面構造が平滑な、又は粗面度がより低い接続管の高い表面品質によって、その部分における流れ抵抗がより低くなるので、接続管を流れる冷却水の搬送が向上する。流動のための管又は流路が粗面である場合、それら表面の領域において乱流が発生し、したがって、流れ抵抗の上昇が発生し、このことはそれらに対応して流れを妨げる。
付加的ビルドアップのみにより製造される接続管と比べて、材料除去加工に基づく接続管を導入することにより、内部を流れる冷却水の流れ抵抗を大幅に低減でき、このことは転じて、より低い流れ抵抗とその他の面では同じ境界条件(圧力差、管断面)とにより、内部を流れる冷却水のより多い流量又はより高い流速が達成することができるので、放熱性に対するプラスの影響を及ぼす。
しかし、原則的に、材料が積層されるときに対応する領域を省略することにより、付加的方法を用いて部分において接続管を導入することも可能である。
本願発明に係る方法は、単なる第1部分内の第1キャビティ、及び/又は単なる第2部分内の第2キャビティに限定されるわけでは決してない。製造されることになる部品の形状に応じて、対応する数の接続管を介して部分を跨いで互いに接続されて冷却管システムを形成し得る複数のキャビティが、部品の個々の部分に導入され得る。よって、冷却管システムを形成するために、複数の接続管が単一のキャビティ内へと開口することも可能である。
したがって、例えば、第2部分が造形された後に2つの接続管を導入することにより、第2部分に導入されるキャビティに接続されることになる第1部分内へ2つの別個のキャビティを導入することが可能である。この場合、それら2つの接続管はいずれも第2部分のキャビティ内へと開口し、そのキャビティを第1部分内の2つのキャビティに接続する。
代替的に、例えば、第1部分内へキャビティを導入し2つの接続管を導入することにより、そのキャビティを第2部分に導入された2つのキャビティに接続することも可能である。
部品の放熱性の向上は、とりわけ、例えば製作処理における工具として、熱応力下で部品が使用されるときにおける部品の冷却率/冷却速度の上昇を意味し、これにより、より短い処理時間又はクロックタイムを達成することができる。熱は冷却管システムを流れる冷却水により放散され、冷却管システムは、部品を通じて伝導する熱を吸収し、外方へ、又はそこから離れるように熱を伝導させる。
方法の好ましい実施形態において、それぞれの部分が造形された後に、少なくとも一部分で材料除去加工により第1及び/又は場合によっては更なるキャビティが導入される。
方法の特に好ましい実施形態において、第1及び/又は第2キャビティを導入するための材料除去加工はチップ除去加工である。
チップ除去加工によるキャビティの導入は特に有益である。特に、造形材料の純粋に付加的な積層によって形成れる表面と比べて、キャビティに隣接する部品の表面が高い表面品質を有し、したがって、冷却管システム内の流れ抵抗を低減するからである。
方法の別の好ましい実施形態において、第1及び/又は第2キャビティは、造形材料の付加的かつ一体接着的積層の間に対応する領域を省略することにより、それぞれの部分のビルドアップの過程で導入される。
構築材料を積層するときの省略により、それぞれの部分のビルドアップの過程で既にキャビティが導入され有利となり得、したがって、製造コスト及び製造時間の削減と、造形材料の節約とにつながる。
方法の特に好ましい実施形態において、部分の構築の過程で導入されるキャビティに隣接する部分の表面は、チップ除去加工により再処理される。
表面のチップ除去再処理は、特に、造形材料の純粋に付加的な積層によって作成される表面と比べて、それらの表面品質を向上させ、その結果として、冷却管システム内の流れ抵抗を低減することができる。
付加的ビルドアップの間の事前の省略なしで材料除去加工のみでキャビティのうちの1つを導入することと対照的に、工具コストの削減もできる。1つの面のみが加工され、キャビティ自体の全体が材料除去加工により導入されるわけではないからである。
方法の特に好ましい実施形態において、このことはまた、被覆部により第2部分の第2キャビティの開口部を部分的に又は全体的に被覆することと、造形材料の付加的かつ一体接着的積層により部品の更なる部分を造形することであって、造形材料は、第2部分上、及び第2キャビティの開口部の被覆部上に積層されることとを含む。
その結果、第2キャビティの開口部が造形材料により閉じられ、これにより部品は、全体がその内部に位置する冷却管システムを有することとなる。
方法の特に好ましい実施形態において、方法は以下の工程をさらに備える。
ZS1:部品の予め造形された部分のうちの1つへ開口部を有する少なくとも1つの更なるキャビティを導入することであって、更なるキャビティは、予め造形された部分のビルドアップの後に材料除去加工により、又は、予め造形された部分のビルドアップの過程で造形材料の付加的かつ一体接着的積層の間に省略することにより導入されること。
ZS2:材料除去加工により部品内へ1又は複数の接続管を導入して冷却管システムをさらに形成することであって、接続管は工程ZS1における更なるキャビティを、部品の予め造形された部分内の予め導入された1つのキャビティ又は複数のキャビティと接続すること。
ZS3:被覆部により、工程ZS1における更なるキャビティの開口部を少なくとも部分的に被覆すること。
ZS4:造形材料の付加的かつ一体接着的積層により部品の1又は複数の更なる部分を造形することであって、造形材料は、予め造形された部分のうち1又は複数に、及び、1つ前の工程ZS3の被覆部に積層されること。
オプションで、工程ZS3における挿入の後、被覆部は、例えば付加的ビルドアップ溶接トラックを積層することにより、堅固に固定されてよい。このことは、例えば、重力とは異なる方向に5軸加工されることになる被処理物へ複数の被覆部が挿入されるときに、それら複数の被覆部が外れるのを防ぐために必要となり得る。代替的に、被覆板が、スポット溶接により固定されてもよい。
方法の特に好ましい実施形態において、これら工程は幾度か繰り返すことができ、これにより方法工程の一連のZS1~ZS4の幾度かの繰り返しを通じて、複数のキャビティ及び複数のキャビティを接続するための複数の接続管を含む冷却管システムが内部に形成された、複数の部分を有する部品が製造される。
その結果、複雑な形状、特に複雑な外形を有し、その複雑な形状に有利に適応した冷却管システムが内部で延在する部品を製造することができる。
ここで、部品の1つの部分あたりのキャビティの数は1つに限られず、これにより個々の部分が、冷却管システムの有利な形成に役立つ複数の導入されたキャビティを有してもよい。
方法の特に好ましい実施形態において、接続管を導入するための材料除去加工は、チップ除去加工である。
特に造形材料の純粋に付加的な積層によって作成される表面と比べて、チップ除去加工は接続管に隣接する部品の作成された表面の高い表面品質を達成し得、したがって冷却管システム内の流れ抵抗を低減し得る。
方法の特に好ましい実施形態において、造形材料の付加的かつ一体接着的積層は、レーザ又はアークビルドアップ溶接により実行される。
方法の特に好ましい実施形態において、造形材料は、ビルドアップ溶接による積層の間に粉末及び/又はワイヤの形態で供給される。
方法の特に好ましい実施形態において、それぞれの部分内のキャビティのうち1又は複数の開口部付近の領域において、それぞれの開口部を被覆するためのそれぞれの被覆部が適切な位置でぴったり合った状態で保持されるように、それぞれの開口部を被覆するよう構成されたそれぞれの被覆部の形状に材料除去加工により適応した凹んだ肩部が形成される。
このことにより、それぞれの被覆部が部品に対して適切な位置で保持され、所望されない振動などでずれないので、開口部を被覆する被覆部の挿入と、それぞれの被覆部上での後に続く付加的ビルドアップとが容易になる。
方法の特に好ましい実施形態において、被覆部のうち1又は複数は、円形板金ブランク又は板金カバーである。
方法の特に好ましい実施形態において、キャビティの形状は、キャビティの所定の標準形状の群から選択される。
その結果、随意的にキャビティの形状が選択されるのではなく、モジュール原理に従った所定の標準形状の群から選択がなされるので、格段に標準化された製造を可能とすることができる。このやり方で達成される標準化により、処理の特に好ましい実施形態においては同様にキャビティの標準形状に幾何学的に適応した事前作製された被覆部の群から選択される被覆部の構成に関して特に、更なる方法工程の最適化が可能となる。
したがって、被覆部は大量に事前作製することができ、モジュールの原理にしたがって、標準形状を有するキャビティを被覆するよう直接使用することができる。
このことは、製作コストの削減につながる。被覆部を個別に製作する必要がなく、さらには、部品を製作するための製作時間を、本願発明に係る方法により削減できるからである。
特に好ましい実施形態において、キャビティの標準形状は略円筒形状である。
これら比較的単純な形状は、材料除去加工により、特にチップ除去加工により迅速かつ容易に導入することができ、これにより製造時間をさらに削減することができる。
本願発明に係る方法の特に好ましい実施形態において、方法は、材料除去加工により部品内に冷却管システムのための少なくとも1つの供給管及び少なくとも1つの吐出管を導入することであって、供給管及び吐出管は、冷却管システムが供給管から吐出管まで連続的に延在するよう導入されることをさらに備える。
このことにより、供給管を通じて部品外から供給される冷却水が部品内部で冷却管システムを通じて吐出管へと流れることができる連続的な冷却管システムが提供され、したがって、部品からの熱を冷却するための、又は放散するための冷却回路を設けることができる。
方法の特に好ましい実施形態において、方法はまた、造形材料から造形された部品の外側輪郭表面のうちの一部に耐摩耗性外層の付加的かつ一体接着的積層をすることを備える。
したがって、より大きな力学的応力に耐えることもできる耐摩耗性を有する(好ましくは、工具鋼製の)表面を、例えば、他の製作及び/又は製造方法における工具としての部品の後の使用に適応した方式で形成することができる。
方法の特に好ましい実施形態において、耐摩耗性外層の付加的かつ一体接着的積層は、レーザ又はアークビルドアップ溶接により実行され、耐摩耗性外層を造形するのに使用される材料は、粉末及び/又はワイヤの形態で供給される。
方法の特に好ましい実施形態において、造形材料はまた、耐摩耗性外層の熱伝導率より高い熱伝導率を有する。
したがって、向上した放熱特性及び高い耐摩耗性を有する部品を、効率的な方式で提供することができる。高められた熱伝導率によって、外層を介して部品に入る熱エネルギーは、造形材料に隣接する外層の表面から冷却管システムへ迅速に伝導され、これにより部品内全体で向上した放熱性を達成することができる。
本願発明に係る方法により製造される部品の向上した放熱性は、冷却率を高めることのみが目的ではなく、例えば、特に大きな熱応力を受ける部品の領域において本願発明に係る方法の過程で設置されるキャビティに特に起因して、部品の冷却の局所的な均一性を達成することも目的としている。
例えば、部品が例えば工具として使用されるとき、局所的に異なる冷却率により引き起こされる望ましくない変形を、信頼性高く回避できる。
例えば、局所的な摩耗が増えるのを防ぐために、射出成形加工されたパーツのための冷却時間を削減することができ、高温の形成工具のための冷却を向上させることができる。
本願発明の更なる態様によると、ソフトウェアでサポートされたコンピュータシステムが提案される。コンピュータシステムは、本願発明に係る方法を用いて製造されることになる部品の構築計画のために構成され、この目的のため、冷却管システムを有する部品の部品形状を規定するための少なくとも1つの手段を備える。
特に好ましい実施形態において、コンピュータシステムは、部品の製造のための数値制御工作機械及び/又は数値制御加工センターが実行できる連続的な加工工程を決定するための手段と、加工工程を実行するために数値制御工作機械及び/又は数値制御加工センターが使用する制御命令を導出するための手段と、部品を製造するための加工工程を実行するよう構成された、工作機械及び/又は加工センターへ制御命令を送信するための手段とをさらに備える。
特に好ましい実施形態において、コンピュータシステムはCAD及び/又はCAMシステムをさらに備える。
更なる態様及びそれらの利点、並びに上述した態様及び特徴のより具体的な例示的な実施形態が、添付図面に示される図面を用いて以下に記載される。
本願発明に係る方法を用いた冷却管システムを有する部品の工程毎の製造を例示的な断面で示す。 本願発明に係る方法を用いた冷却管システムを有する部品の工程毎の製造を例示的な断面で示す。 本願発明に係る方法を用いた冷却管システムを有する部品の工程毎の製造を例示的な断面で示す。 本願発明に係る方法を用いた冷却管システムを有する部品の工程毎の製造を例示的な断面で示す。 本願発明に係る方法を用いた冷却管システムを有する部品の工程毎の製造を例示的な断面で示す。 本願発明に係る方法を用いた冷却管システムを有する部品の工程毎の製造を例示的な断面で示す。 複数のキャビティ及び接続管を含む冷却管システムを有する部品を斜視透視図で示す。 図2に示す冷却管システムを有する部品の異なる部分領域の拡大図を示す。 図2に示す冷却管システムを有する部品の異なる部分領域の拡大図を示す。 図2に示される部品の中央部分領域を斜視断面図で示す。 冷却管システムを有する部品を製造するための本願発明に係る方法の例示的な実施形態を示す。
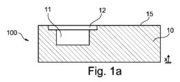
図1aは、造形材料の付加的かつ一体接着的積層により(=付加的ビルドアップ)本願発明に係る方法の過程で実行される、第1部分10のビルドアップの後の例示的な部品100を断面で示す。
示されている例において、付加的ビルドアップは、造形方向xに沿って起こる。
第1キャビティ11が第1部分10の外側表面15に向かう開口部を有するように、第1キャビティ11が第1部分10に導入される。
第1キャビティ11の導入は、該当する点における凹部により、第1部分10の付加的ビルドアップの過程で実行され得る。表面品質を向上させ、したがって冷却管システム内の流れ抵抗を低減させるために、第1キャビティ11に隣接する第1部分の表面は、材料除去加工により、特にチップ除去加工により再処理される。
代替的に、第1キャビティ11は、第1部分10の付加的ビルドアップに続いて中実材料内へ材料除去加工により、特にチップ除去加工により直接導入され得る。
さらに、外側表面15上の第1キャビティ11の開口部において、肩部12が、材料除去加工により第1部分10に導入される。肩部12は、後の被覆部13の挿入のために使用される(図1b参照)。
図1bは、被覆部13により第1キャビティ10の開口部を被覆する工程の後の部品を断面で示す。
被覆部13は、平坦かつ平らであり、他の寸法と比べて小さい厚さを有するのが有利である。被覆部は、第1キャビティの開口部を全体的に閉じる。
平坦な被覆部12の表面が、第1部分の外側表面15と同一面に位置し、好ましくはそれらが一緒になって平坦表面を形成するよう、形状の観点から、第1キャビティ10において第1部分10に導入される肩部12と被覆部13とは互いに適応しているのが有利である。好ましくは、被覆部13は導入される肩部12により、ぴったりと合った状態で保持される。
図1cは、第2部分20の付加的ビルドアップのための続く方法工程の後の部品100を断面で示す。
第2部分20の付加的ビルドアップは、第1部分10の外側表面15から開始して第1部分10上で実行される。第1キャビティ11の被覆部13の表面は、ビルドアップ方向xに沿って外側表面15と同一面に位置する。
第1キャビティ11の開口部を被覆することにより、第2部分20の付加的ビルドアップは被覆部13上で実行されてもよい。このことは、複雑なピラミッド型又は円錐形状を用いた純粋に付加的な積層によって第1キャビティ11を閉じることは省略することができ、したがって第1キャビティ11は、実質的に平行な対向し合う側面、又は頂面及び底面を有する形状を有することを意味する。
第2部分20の付加的ビルドアップは、例示的な部品100に関して、第1部分10の外側表面全体15から、及び外側表面15と同一面に位置する被覆部13の表面から開始して図1cに示されるように実行される。このことは、本願発明に係る方法の限定と理解されるべきではない。概して第2部分は、部品100の第1部分10の外側表面15の(外側表面全体ではない)一部のみにビルドアップされてもよい。
キャビティ、第2キャビティ21も、第1キャビティ11の導入の過程で既に記載した方法(付加的ビルドアップでの凹部及び材料除去後加工又は材料除去加工による全体的導入)のうち1つを用いた材料除去加工により部品100の第2部分20に導入される。
図1cの描画は、第1キャビティ11及び第2キャビティ21が、寸法が同じか又は同様である同じか又は同様の形状を有することを示唆しているが、このことは、本願発明に係る方法の場合全般に関して必須というわけではない。
第2部分22内の第2キャビティ21は、第2部分20の外側表面25に向かって開口している。
さらに、第1キャビティ11の場合の手順と類似の方式で、肩部22が、材料除去加工により外側表面25上の第2キャビティ21の開口部に導入される。
図1dは、接続管90を導入する続く方法工程の後の部品100を断面で示す。
接続管90は、第1部分10の第1キャビティ11を第2部分20の第2キャビティ21へ接続するよう、材料除去加工により部品100に導入される。
2つのキャビティ11及び21が接続管90で接続されて冷却管システムを形成するとき、材料も必ず、付加的ビルドアップの過程で部品内に閉じこめられた被覆部13から除去される。そうしなければ、キャビティ11とキャビティ21との間で接続を確立できないからである。
接続管90の導入のための材料除去加工は、特にレーザ加工又はチップ除去加工により、例えば、フライス工具又はドリルヘッドを用いて実行することができる。このやり方で導入された表面の高い表面品質のためにもチップ除去加工が好ましい。
材料除去加工、例えばドリルヘッドの挿入は、第2キャビティ22から開始して実行される。第2キャビティ21の断面が接続管90の断面より大きいことによって、例えば第2キャビティ21付近の領域での第2部分20との衝突など望ましくない方式で部品100に損傷を加えることなく、部品100を通じて例示的なドリルヘッドを第1キャビティ11へ容易に導くことができる。
さらに、第2キャビティ22が比較的大きいことにより、例示的なドリルヘッドを、外側表面25の垂線に対してある角度で部品に導入することができる。(望ましくない方式で第2部分20に損傷を与えることなく)外側表面25の垂線に対して対応する傾斜角で接続管90を導入できることにより、結果として、部品100内の冷却管システムの形成により高い自由さが生まれる。
したがって、接続管90は、外側表面25の垂線に対して大きな傾斜角でも小さな傾斜角でも導入され得るので有利である。
したがって、接続管90は、図1dにおける描画によると、部品100の部分領域内において部品100の更なる外側表面26と平行に(又はほぼ平行に)配置され得る。この結果、そのような部分的領域において、更なる外側表面26の異なる表面点同士が、同じ(又はほぼ同じ)接続管90からの距離を有する。外側輪郭の近くを通るように冷却管システムを配置でき、したがって、更なる外側表面26を通じて部品100に入る熱の、例えば冷却水が流れる冷却管システムによる放散を増やすことができるように、この距離はできる限り小さくなるよう選択されるべきであり、そうすることが有利である。冷却管システムの一部としての接続管90のそのような導入により、この部分領域において部品100は更なる外側表面26と接続管90との間で概ね一定の材料厚さを有し、このことはまた、該当する部分領域において局所間で均一な放熱性を達成することもできることを意味している。
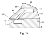
図1eは、例示的な部品100を完成させるための更なる(第3)部分30の付加的ビルドアップの後の部品100を断面で示す。
本願発明に係る方法によると、第2部分20の外側表面25上の第2キャビティ21の開口部は、肩部22に適応した被覆部23により被覆され閉じられ、被覆部の一方の面が、ここでも外側表面25と同一面に位置して終端している。
第3部分30の付加的ビルドアップは、第2部分20の外側表面25から開始して第2部分20上で実行される。第2キャビティ21の被覆部23の表面は、構築方向xに沿って外側表面25と同一面に位置して延在する。
図1fは、冷却管システムが、供給管91及び吐出管92を導入することにより完成した後の部品100を断面で示す。
供給管91及び吐出管92の導入は、材料除去加工により実行される。供給管91及び吐出管92は、入口Zから開始する、キャビティ21,22と接続管90と供給管91及び吐出管92とを含む冷却管システムを介した出口Aまでの冷却水の後段の通過が可能であるように、部品100に導入される。
冷却水のための入口Z及び出口Aの位置は概して固定されていないが、オプションで、入れ替えられてもよく、これにより冷却管システムを流れる冷却水の流れ方向は、図1fに示される流れ方向と反対となる。
供給管91及び吐出管92は、放熱性を向上させるために、少なくとも一部分で部品100の外側表面に沿うよう部品100内で配置されてもよい。
供給管91及び吐出管92は、部品100の冷却管システム内の冷却水のための入口Z及び出口Aが1つの外側表面又は複数の外側表面上に位置するように導入されるのが有利である(A及びZは、部品の同じ表面又は側面に必ずしも配置されない)。
完成した冷却管システムを有する図1fに示される部品100から明らかなのは、そのような複雑な幾何学構造を有する冷却管システムは、材料除去加工、例えばここでは3つの部分10,20及び30を有する部品100の全体的なビルドアップに続く穿孔では決して作ることができず、本願発明に係る方法によってのみ達成可能であるということである。
さらに、内部冷却管システムに隣接する、部品100の表面は、材料除去加工により、特にチップ除去加工により導入される、又は少なくとも再処理されるのが有利である。このやり方で、特に純粋に付加的なビルドアップによって作成される表面と比較して低い粗面度をもつ高い表面品質を達成できる。このやり方で、そのような冷却管システムを流れる冷却水の流れ抵抗を大幅に低減することができ、これにより、特に純粋に付加的なビルドアップにより(すなわち、材料除去加工/再処理なしで)製造される、それ自体がより低い表面品質を有し、したがって冷却水に対するより高い流れ抵抗を有するであろう冷却管システムと比較して、より高い流速又はより多い流量を達成することができる。
図2は、全体的に本願発明に係る方法により製造され、複数のキャビティ及び多数の複数の管を有する冷却管システムを備えた別の部品を斜視透視図で示す。
図1a~1fでの描画と対照的に図2は、外形がより複雑であり、内部で延在する冷却管システムの形状がより複雑な部品100を示す。
部品100は、本願発明に係る方法を用いて製造される。交互に行われる付加的ビルドアップ工程と材料除去加工工程とを含む方法のハイブリッド的な性質によって部品100内の冷却管システムを形成することができ、このことにより、(冷却水が流れを有する)部品は、向上した放熱特性を有する。
部品は、部品101のベース本体101上への造形材料の付加的かつ一体接着的積層により造形される。
本願発明に係る方法の過程で、第1キャビティ11と第2キャビティ21と2つの更なるキャビティ、第3キャビティ31及び第4キャビティ41とが、部品に導入されるのが有利である。これらキャビティのそれぞれは、チップ除去加工により導入される。また、キャビティ11,21,31及び41に隣接する表面は、表面品質を向上させるべく、例えば更なる材料除去加工により再処理され得る。
キャビティの形状は、標準形状の群から選択されるのが有利である。形状は、考えられる多様な寸法の単純な円筒形状、及び/又は略円筒形状を備えるのが好ましい。略円筒形状とは、任意の形状(例えば、円、楕円、多角形等)の基底面の、押出軸に沿った押し出しにより形成される形状と理解されるものとする。
第2、第3及び第4キャビティ21,31及び41は、円状断面の円筒形状を有する。個々のキャビティの円筒形状の寸法は、円状断面の半径と円筒の高さの両方の点で異なる。
他方、第1キャビティ11は、非円状断面の略円筒形状を有する。
本願発明に係る方法を用いた部品の製造の過程で、キャビティ11,21,31及び41は互いに接続されて、材料除去加工により、特にチップ除去加工により部品100に導入される接続管90a,90b及び90cにより冷却管システムを形成する。
接続管90aは第1キャビティ11を第2キャビティ21に接続し、接続管90bは第1キャビティ11を第3キャビティ31に接続し、接続管90cは第3キャビティ31を第4キャビティ41に接続する。
よって、冷却管システムを流れる冷却水の流れ方向は、次の順序の何れかである。第2キャビティ21->接続管90a->第1キャビティ11->接続管90b->第3キャビティ31->接続管90c->第4キャビティ41
又は、これを逆にした順序である。
部品100のベース本体101から開始して、冷却水のための供給管91及び吐出管92は、冷却管システムを完成させるために材料除去加工により部品101に導入される。
供給管91及び吐出管92の決定、したがって供給管91から吐出管92への流れ方向の決定は、冷却水がこの反対の流れ方向で冷却管システムを流れてもよいので、絶対的なものと理解されるものではない。
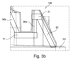
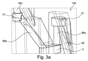
図3aは、図2における部品の中央部分領域の斜視部分を示す。
この部分は、キャビティ11,21及び31を接続するための接続管90a及び90bが少なくとも一部分で部品100の外側輪郭又は外側輪郭表面に沿うよう、すなわちこれらと平行に又は略平行に延在し、したがってニアネットコンター(ニアネット外形)となるよう形成されるよう、部品100に導入されることを示す。
図3bは、図3aに中央部分領域が示される図2における部品の部分を側面図で示す。
この側面図は、キャビティ11,21及び31を接続するための接続管90a及び90bに加えて、冷却管システムの吐出管92も少なくとも一部分で部品100の外側輪郭又は外側輪郭表面に沿うよう、すなわちそれに平行に又は略平行に延在するよう、部品100に導入されることを示す。
図3bに示される描画において、冷却管システムの吐出管92はベース本体101に向かって開口し、そこから冷却管システムが、冷却管システムに供給するよう構成された冷却水供給ユニットに接続する。
図3cは、部品を製造するための本願発明に係る方法の中間工程の後の、図2における部品の斜視部分の上側部分領域を示す。
示される描画において、第4キャビティ41の導入に続く、被覆部43(ここでは図示せず。図3d参照)により外側表面45上の第4キャビティ41の開口部を被覆する方法工程、及び、外側表面45上の図2に示される部品100の最後の部分の付加的ビルドアップは、まだ実行されていない。
ここで、外側表面45は、前の方法工程の過程で形成される外側表面でしかなく、提示される場合において完成部品の外側表面ではない。
ここで、部品の付加的ビルドアップは、外側表面45まで起こっている。
さらに、外側表面45上の第4キャビティ41の開口部において、被覆部43(ここでは図示せず)を受けるよう構成された肩部42が、材料除去加工により、特にチップ除去加工により導入される。
肩部42の形状は、第4キャビティの円筒形状に適応したものであり、続く方法工程の過程で設置される被覆部43がぴったりと合った状態で適切な位置で保持されるように構成される。
図3dは、部品を製造するための本願発明に係る方法の更なる中間工程の後の、図2における部品の斜視部分の上側部分領域を示す。
本願発明に係る製作方法の過程で図3cに示される部品の状態に続き、外側表面45上の第4キャビティ41の開口部は、肩部42に適応した被覆部43に被覆されている。
被覆部43は、第4キャビティを被覆するよう肩部42に挿入することができ、ぴったりと合った状態でそこに位置するように(肩部42に合わせて)構成され、被覆部42の一方の面は、部品の外側表面45に対して僅かに凹んでいる。
したがって、続く方法工程の過程で図2に示される部品の最後の部分の付加的ビルドアップが起こり得る区画された終端が形成される。
本願発明に係る方法の過程で用いられる被覆部、ここでは被覆部43は好ましくは、キャビティの標準形状に幾何学的に適応した事前作製された被覆部の群から選択される。
第4キャビティ41の円筒形状に対応して、被覆部43はそれに適応した円形平坦形状を有し、好ましくは薄い平坦な板金ブランクとして構成される。
図4は、図2に示される部品の中央部分領域を斜視断面図で示す。
描画は、冷却管システムを有する部品100の異なる材料構造を示す。
本願発明に係る方法の過程で製造される部品は、冷却管システムが内部に形成された造形材料から作られた芯体102を有する。
さらに、耐摩耗性外層103が、更なる材料の付加的かつ一体接着的積層により芯体102の外側輪郭表面上に形成される。更なる材料の耐摩耗性は、芯体102を形成するのに用いられる造形材料の耐摩耗性より高い。
他方、芯体102を形成するのに用いられる造形材料の熱伝導率は、耐摩耗性外層103を形成するのに用いられる更なる材料の熱伝導率より高いことが好ましい。
その結果得られる組み合わせは、冷却管システムが内部に形成された芯体102のより良好な熱伝導特性と、耐摩耗性外層103の高い耐摩耗性とを組み合わせた有利なものとなる。
考えられる実施形態においては、熱伝導性造形材料は銅又は銅合金であり、耐摩耗性外層は工具鋼から形成される。
材料除去加工により、本願発明に係る方法の過程で冷却管システムが芯体102に導入されるので、加工の手間と加工のコストを削減することもできる。より熱伝導性の高い芯体102、例えば銅合金は通常、耐摩耗性外層103の更なる材料、例えば工具鋼より強度が低く、したがって芯体に対する材料除去加工が単純化されるからである。
冷却管システムを有する部品を製造するための本願発明に係る方法の例示的な実施形態が、図5に概略的に示される。
工程S1において、部品の第1部分が、造形材料の付加的かつ一体接着的積層により造形される。
工程S2において、開口部を有する第1キャビティが、部品の第1部分に導入される。
工程S3において、第1部分における第1キャビティの開口部が、被覆部により部分的に又は全体的に被覆される。
工程S4において、部品の第2部分が、造形材料の付加的かつ一体接着的積層により造形される。造形材料は、第1部分上、及び少なくとも被覆部上に、また適切であれば追加的に第1部分上に積層される。
工程S5において、第2キャビティが、部品の第2部分に導入される。
工程S6において、冷却管システムを形成するために、接続管が、材料除去加工により少なくとも一部分で部品に導入される。接続管は、第2部分の第2キャビティを、部品の第1部分の第1キャビティに接続する。
この例示的な実施形態において、2つのキャビティが、材料の積層の間に対応する領域を省略することにより導入される。
2つのキャビティを接続するための接続管は、チップ除去加工により導入される。
示される例示的な実施形態の特定の実施形態において、方法は工程S7も含み、対応する領域を省略することによって作成される第2部分の第2キャビティ内の開口部も、被覆部により部分的に又は全体的に被覆される。
それから、工程S8において、部品の更なる部分が、造形材料の付加的かつ一体接着的積層により造形される。より良好な一体接着的な接続を達成し開口部の終端を確実に行うために、造形材料は、少なくとも第2キャビティの開口部の被覆部上に、また場合によっては第2部分上にも積層される。
上記したように、これら工程は、このやり方でキャビティを有する更なる部分を連続的に造形するためにさらに繰り返され得、それから続いてそれらキャビティは、接続管を導入することにより接続され得る。本願発明によれば、接続管は少なくとも部分的に材料除去加工により製造され、他方、本願発明によれば、本願発明の範囲内で、キャビティは少なくとも部分的に造形材料の付加的かつ一体接着的積層により造形される。
本願発明の例示的な実施形態、及びそれらの利点を、上記にて添付図面を参照し詳細に説明してきた。
しかし、本願発明は、上記した例示的な実施形態、及びそれらの実装特徴には決して限定されず、述べられている例示的な実施形態の変形、特に独立請求項の範囲内での記載されている例示的な実施形態の1又は複数の特徴の変形及び/又は組み合わせの結果生じるものも含む。
10 第1部分
11 第1キャビティ
12 第1キャビティの開口部の肩部
13 第1キャビティを被覆するための被覆部
15 第1部分の外側表面
20 第2部分
21 第2キャビティ
22 第2キャビティの開口部の肩部
23 第2キャビティを被覆するための被覆部
25 第2部分の外側表面
26 第2部分の更なる外側表面
31 第3キャビティ
41 第4キャビティ
42 第4キャビティの開口部の肩部
43 第4キャビティを被覆するための被覆部
45 外側表面
90,90a,90b,90c 接続管
91 供給管
92 吐出管
100 部品
101 部品の本体
102 部品の芯体
103 耐摩耗性外層
Z 入口
A 出口
x 造形方向

Claims (22)

  1. 冷却管システムを有する部品(100)を製造するための方法であって、
    -造形材料の付加的かつ一体接着的積層により前記部品(100)の第1部分(10)を造形することと、
    -前記部品(100)の前記第1部分(10)内へ開口部を有する第1キャビティ(11)を導入することと
    を備え、
    -被覆部(13)により前記第1部分(10)内の前記第1キャビティ(11)の前記開口部を部分的に又は全体的に被覆することと、
    -前記造形材料の前記付加的かつ一体接着的積層により前記部品(100)の第2部分(20)を造形することであって、前記造形材料は少なくとも前記被覆部(13)に、かつ、積層可能であれば追加的に前記第1部分(10)に積層されることと、
    -前記部品の前記第2部分(20)内へ第2キャビティ(21)を導入することと、
    -材料除去加工により少なくとも一部分で前記部品(100)内へ接続管(90;90a)を導入して前記冷却管システムを形成することであって、前記接続管は前記第2部分(20)の前記第2キャビティ(21)を前記部品(100)の前記第1部分(10)の前記第1キャビティ(11)に接続することと
    をさらに備える、方法。
  2. 請求項1に記載の方法であって、
    前記第1キャビティ(11)及び/又は前記第2キャビティ(21)を導入すること、及び/又は、前記接続管を導入することは、それぞれの前記部分(10;20)を造形することに続いて少なくとも一部分で材料除去加工により実行される、方法。
  3. 請求項2に記載の方法であって、
    前記第1キャビティ(11)及び/又は前記第2キャビティ(21)及び/又は前記接続管を導入するための前記材料除去加工は、チップ除去加工である、方法。
  4. 請求項1に記載の方法であって、
    前記第1キャビティ(11)及び/又は前記第2キャビティ(21)を導入すること、及び/又は、前記接続管を導入することは、前記造形材料の前記付加的かつ一体接着的積層の間における省略によりそれぞれの前記部分(10,20)を造形する過程で少なくとも一部分で実行される、方法。
  5. 請求項4に記載の方法であって、
    前記部分(10;20)を造形する過程で導入される前記キャビティ(11;21)に隣接する前記部分(10;20)の表面は、チップ除去加工により再処理される、方法。
  6. 請求項1から5のうち一項に記載の方法であって、
    -被覆部(23)により前記第2部分(20)の前記第2キャビティ(21)の開口部を部分的に又は全体的に被覆することと、
    -前記造形材料の前記付加的かつ一体接着的積層により前記部品(100)の更なる部分(30;40)を造形することであって、前記造形材料は少なくとも前記第2キャビティ(21)の前記開口部の前記被覆部(23)に、かつ、積層可能であれば前記第2部分(20)に積層されることと
    をさらに備える、方法。
  7. 請求項6に記載の方法であって、
    ZS1:前記部品(100)の予め造形された前記部分(10;20)のうちの1つへ開口部を有する更なるキャビティ(31;41)を導入することであって、前記更なるキャビティ(31;41)を導入することは、前記予め造形された部分(10;20)を造形することに続く材料除去加工により、又は、前記予め造形された部分(10;20)を造形する過程で前記造形材料の前記付加的かつ一体接着的積層の間における省略により実行されることと、
    ZS2:材料除去加工により前記部品(100)内へ1又は複数の接続管(90;90a;90b;90c)を導入して前記冷却管システムをさらに形成することであって、前記接続管(90;90a;90b;90c)は工程ZS1における前記更なるキャビティ(31;41)を、前記部品(100)の前記予め造形された部分(10;20)内の予め導入された前記キャビティ(11;21)のうち1又は複数と接続することと、
    ZS3:被覆部(43)により、工程ZS1における前記更なるキャビティ(31;41)のうち1又は複数の前記開口部を部分的に又は全体的に被覆することと、
    ZS4:前記造形材料の前記付加的かつ一体接着的積層により前記部品(100)の1又は複数の更なる部分を造形することであって、前記造形材料は、前記予め造形された部分のうち1又は複数に、及び、1つ前の工程ZS3の前記被覆部(43)に積層されることと
    をさらに備える、方法。
  8. 請求項7に記載の方法であって、
    -複数のキャビティ(11;21;31;41)及び前記複数のキャビティを接続するための複数の接続管(90;90a;90b;90c;90d)を含む冷却管システムが内部に形成された、複数の部分(10,20)を有する部品(100)を製造するための、一連の方法工程ZS1からZS4の複数回の繰り返しをさらに備える、方法。
  9. 請求項1から8のうち一項に記載の方法であって、
    前記接続管(90;90a;90b;90c)を導入するための前記材料除去加工はチップ除去加工である、方法。
  10. 請求項1から9のうち一項に記載の方法であって、
    前記造形材料の前記付加的かつ一体接着的積層は、レーザ溶接又はアークビルドアップ溶接により実行される、方法。
  11. 請求項10に記載の方法であって、
    前記造形材料は、粉末及び/又はワイヤの形態で供給される、方法。
  12. 請求項1から11のうち一項に記載の方法であって、
    それぞれの前記部分内の前記キャビティ(11;21;31;41)のうち1又は複数の前記開口部付近の領域において、それぞれの前記開口部を被覆するためのそれぞれの前記被覆部(13;23;43)が適切な位置でぴったり合った状態で保持されるように、それぞれの前記開口部を被覆するよう構成された前記被覆部(13;23;43)の形状に材料除去加工により適応した凹んだ肩部(12;22;42)が形成される、方法。
  13. 請求項12に記載の方法であって、
    前記被覆部(13;23;43)のうち1又は複数は、円形板金ブランク又は板金カバーである、方法。
  14. 請求項1から13のうち一項に記載の方法であって、
    前記キャビティ(11;21;31;41)の形状は、前記キャビティの所定の標準形状の群から選択される、方法。
  15. 請求項14に記載の方法であって、
    前記キャビティの前記標準形状は円筒形状を有する、方法。
  16. 請求項14及び15のうち一項に記載の方法であって、
    前記被覆部(13;23;43)は、前記キャビティの前記標準形状に幾何学的に適応した事前に作製された被覆部の群から選択される、方法。
  17. 請求項1から16のうち一項に記載の方法であって、
    -材料除去加工により前記部品(100)内に前記冷却管システムのための少なくとも1つの供給管(91)及び少なくとも1つの吐出管(92)を導入することであって、前記供給管(91)及び前記吐出管(92)は、前記冷却管システムが前記供給管(91)から前記吐出管(92)まで連続的に延在するよう導入されることをさらに備える、方法。
  18. 請求項1から17のうち一項に記載の方法であって、
    -前記部品(100)の前記造形材料とは異なる耐摩耗性を有する異なる材料の付加的かつ一体接着的積層をさらに備える、方法。
  19. 請求項18に記載の方法であって、
    前記冷却管システムの周囲の前記造形材料は、耐摩耗性外層(103)の熱伝導率より高い熱伝導率を有する、方法。
  20. ソフトウェアでサポートされたコンピュータシステムであって、前記コンピュータシステムは、請求項1から19のうち一項に記載の方法により製造される部品(100)の構築計画のために構成され、この目的のために少なくとも、
    -規定済みの幾何学的に所定のキャビティの群から冷却管部分の形状を特に選択することにより、冷却管システムを有する前記部品(100)の部品形状を規定するための手段を備える、コンピュータシステム。
  21. 請求項20に係るソフトウェアでサポートされたコンピュータシステムであって、
    -前記部品(100)の前記製造のための数値制御工作機械及び/又は数値制御マシニングセンタが実行できる連続的な加工工程を決定するための手段と、
    -前記加工工程を実行するために前記数値制御工作機械及び/又は前記数値制御マシニングセンタが使用する制御命令を導出するための手段と、
    -前記部品(100)を製造するための前記加工工程を実行するよう構成された前記制御命令を前記工作機械及び/又は前記マシニングセンタへ送信するための手段と
    をさらに備える、コンピュータシステム。
  22. 請求項20又は21うちの1つに係るソフトウェアでサポートされたコンピュータシステムであって、CAD及び/又はCAMシステムを備える、コンピュータシステム。
JP2022571200A 2020-06-17 2021-06-17 冷却管システムを有する部品を製造するための方法 Active JP7421663B2 (ja)

Applications Claiming Priority (3)

Application Number Priority Date Filing Date Title
DE102020116037.2A DE102020116037A1 (de) 2020-06-17 2020-06-17 Herstellungsverfahren eines Bauteils mit Kühlkanalsystem
DE102020116037.2 2020-06-17
PCT/EP2021/066364 WO2021255154A1 (de) 2020-06-17 2021-06-17 Herstellungsverfahren eines bauteils mit kühlkanalsystem

Publications (2)

Publication Number Publication Date
JP2023530074A JP2023530074A (ja) 2023-07-13
JP7421663B2 true JP7421663B2 (ja) 2024-01-24

Family

ID=76744790

Family Applications (1)

Application Number Title Priority Date Filing Date
JP2022571200A Active JP7421663B2 (ja) 2020-06-17 2021-06-17 冷却管システムを有する部品を製造するための方法

Country Status (7)

Country Link
US (1) US12397487B2 (ja)
EP (1) EP4168225B1 (ja)
JP (1) JP7421663B2 (ja)
KR (1) KR20230028752A (ja)
CN (1) CN115943029B (ja)
DE (1) DE102020116037A1 (ja)
WO (1) WO2021255154A1 (ja)

Families Citing this family (1)

* Cited by examiner, † Cited by third party
Publication number Priority date Publication date Assignee Title
DE102022125429A1 (de) 2022-09-30 2024-04-04 Dmg Mori Ultrasonic Lasertec Gmbh Verfahren zur additiven fertigung eines bauteils mit einem kern aus reinem kupfer oder einer kupferlegierung

Citations (4)

* Cited by examiner, † Cited by third party
Publication number Priority date Publication date Assignee Title
WO2010082331A1 (ja) 2009-01-15 2010-07-22 株式会社Opmラボラトリー スプルーブッシュ及びスプルーブッシュの製造方法
JP2014514162A (ja) 2011-04-28 2014-06-19 インステク インコーポレイテッド 内部空間が形成された金属製品及びその製造方法
JP2018122586A (ja) 2017-02-03 2018-08-09 株式会社ミマキエンジニアリング 造形物の製造方法及び造形装置
JP2019110177A (ja) 2017-12-18 2019-07-04 株式会社アーレスティ 冷却構造体の製造方法

Family Cites Families (13)

* Cited by examiner, † Cited by third party
Publication number Priority date Publication date Assignee Title
US5775402A (en) * 1995-10-31 1998-07-07 Massachusetts Institute Of Technology Enhancement of thermal properties of tooling made by solid free form fabrication techniques
DE19740502A1 (de) * 1997-09-15 1999-03-18 Fraunhofer Ges Forschung Verfahren zur Herstellung von Bauteilen mit einem oberflächennahen Durchfluß- und Verteilungssystem für Flüssigkeiten und/oder Gase
DE19834238A1 (de) * 1998-07-29 2000-02-10 Juergen Roeders Metallisches Bauteil mit zumindest einer innenliegenden, rohrförmigen oder kanalförmigen Ausnehmung sowie Verfahren zu dessen Herstellung
US20020165634A1 (en) 2000-03-16 2002-11-07 Skszek Timothy W. Fabrication of laminate tooling using closed-loop direct metal deposition
DE20221730U1 (de) 2002-07-03 2007-04-26 Cl Schutzrechtsverwaltungs Gmbh Metallisches Werkstück
JP4269923B2 (ja) * 2003-12-10 2009-05-27 東レ株式会社 Frpの製造方法およびその製造装置
DE102004040929A1 (de) 2004-08-24 2006-03-02 Hachtel, Friedrich Spritzgießform
DE102006017808A1 (de) * 2006-04-13 2007-10-18 Impetus Plastics Engineering Gmbh Temperierbares Spritzgießwerkzeug sowie ein Verfahren zur Herstellung eines temperierbaren, wenigstens ein Formnest ausbildenden Spritzgießwerkzeugs
EP1980380A1 (de) * 2007-04-13 2008-10-15 LBC Laser Bearbeitungs Center GmbH Vorrichtung zum Erwärmen oder Kühlen, insbesondere als Teil einer Werkzeugform zur Verarbeitung plastischer Massen, wie Kunststoffspritzgießform
JP6509038B2 (ja) * 2015-05-25 2019-05-08 株式会社キャステム 金属粉末射出成形体の製造方法
JP6628024B2 (ja) * 2015-07-31 2020-01-08 パナソニックIpマネジメント株式会社 三次元形状造形物の製造方法および三次元形状造形物
CA2977757A1 (en) * 2016-09-22 2018-03-22 Sulzer Management Ag Method for manufacturing or for repairing a component of a rotary machine as well as a component manufactured or repaired using such a method
US10617035B2 (en) 2018-05-29 2020-04-07 Raytheon Company Additively manufactured structures for gradient thermal conductivity

Patent Citations (4)

* Cited by examiner, † Cited by third party
Publication number Priority date Publication date Assignee Title
WO2010082331A1 (ja) 2009-01-15 2010-07-22 株式会社Opmラボラトリー スプルーブッシュ及びスプルーブッシュの製造方法
JP2014514162A (ja) 2011-04-28 2014-06-19 インステク インコーポレイテッド 内部空間が形成された金属製品及びその製造方法
JP2018122586A (ja) 2017-02-03 2018-08-09 株式会社ミマキエンジニアリング 造形物の製造方法及び造形装置
JP2019110177A (ja) 2017-12-18 2019-07-04 株式会社アーレスティ 冷却構造体の製造方法

Also Published As

Publication number Publication date
JP2023530074A (ja) 2023-07-13
DE102020116037A1 (de) 2021-12-23
US20230286197A1 (en) 2023-09-14
CN115943029A (zh) 2023-04-07
EP4168225A1 (de) 2023-04-26
KR20230028752A (ko) 2023-03-02
US12397487B2 (en) 2025-08-26
EP4168225B1 (de) 2025-02-12
WO2021255154A1 (de) 2021-12-23
CN115943029B (zh) 2025-01-14

Similar Documents

Publication Publication Date Title
US11898804B2 (en) Fluid routing methods for a spiral heat exchanger with lattice cross section made via additive manufacturing
US8946585B2 (en) Method for the manufacture of a cutting tool
JP5696867B2 (ja) 内部空間が形成された金属製品及びその製造方法
US6656409B1 (en) Manufacturable geometries for thermal management of complex three-dimensional shapes
CA2930185C (en) Tool for hot stamping and method for making the tool
US12275055B2 (en) Production method for a shape-imparting tool part of a forming tool
US20080251243A1 (en) Heat-exchange element and method of making same
JP7421663B2 (ja) 冷却管システムを有する部品を製造するための方法
US20130230616A1 (en) Split thread insert
JP2010194720A (ja) 金型用入れ子、金型用入れ子の製造方法及び樹脂成形用金型
Shinde et al. On efficient electrode design and manufacturing techniques for hot die steel inserts
JP2010194719A (ja) スプルーブッシュ及びスプルーブッシュの製造方法
CN107414024A (zh) 制造具有一个或多个耐腐蚀内表面的阀体的方法
CN110732595A (zh) 板件热成型和/或压硬化的模具和制造冷却工具段的方法
CN115609804A (zh) 一种具有随形水路的模具零件的制作方法
US7445746B2 (en) Temperable member
CN120170982B (en) Optical mirror injection molding die and manufacturing method
CN120170982A (zh) 一种光学镜面注射成型模具及制造方法
US11878343B2 (en) Housing and method of preparing same using a hybrid casting-additive manufacturing process
US20250187073A1 (en) Housing and method of preparing same using a hybrid casting-additive manufacturing process
CN117206845A (zh) 一种具有随形水路的模具零件的制作工艺
TWI684486B (zh) 模具及模具之製造方法
JP2024132280A (ja) ブロック継手の製造方法
JP6771678B2 (ja) 金型および金型の製造方法
Karunakaran et al. Manufacturing Letters

Legal Events

Date Code Title Description
A521 Request for written amendment filed

Free format text: JAPANESE INTERMEDIATE CODE: A523

Effective date: 20230124

A621 Written request for application examination

Free format text: JAPANESE INTERMEDIATE CODE: A621

Effective date: 20230125

RD02 Notification of acceptance of power of attorney

Free format text: JAPANESE INTERMEDIATE CODE: A7422

Effective date: 20231109

A521 Request for written amendment filed

Free format text: JAPANESE INTERMEDIATE CODE: A821

Effective date: 20231110

A977 Report on retrieval

Free format text: JAPANESE INTERMEDIATE CODE: A971007

Effective date: 20231128

TRDD Decision of grant or rejection written
A01 Written decision to grant a patent or to grant a registration (utility model)

Free format text: JAPANESE INTERMEDIATE CODE: A01

Effective date: 20231219

A61 First payment of annual fees (during grant procedure)

Free format text: JAPANESE INTERMEDIATE CODE: A61

Effective date: 20240112

R150 Certificate of patent or registration of utility model

Ref document number: 7421663

Country of ref document: JP

Free format text: JAPANESE INTERMEDIATE CODE: R150