JP7302002B2 - ドア機構の駆動装置およびドア機構 - Google Patents
ドア機構の駆動装置およびドア機構 Download PDFInfo
- Publication number
- JP7302002B2 JP7302002B2 JP2021556541A JP2021556541A JP7302002B2 JP 7302002 B2 JP7302002 B2 JP 7302002B2 JP 2021556541 A JP2021556541 A JP 2021556541A JP 2021556541 A JP2021556541 A JP 2021556541A JP 7302002 B2 JP7302002 B2 JP 7302002B2
- Authority
- JP
- Japan
- Prior art keywords
- driving device
- door
- electric motor
- door mechanism
- transmission
- Prior art date
- Legal status (The legal status is an assumption and is not a legal conclusion. Google has not performed a legal analysis and makes no representation as to the accuracy of the status listed.)
- Active
Links
Images
Classifications
-
- E—FIXED CONSTRUCTIONS
- E06—DOORS, WINDOWS, SHUTTERS, OR ROLLER BLINDS IN GENERAL; LADDERS
- E06B—FIXED OR MOVABLE CLOSURES FOR OPENINGS IN BUILDINGS, VEHICLES, FENCES OR LIKE ENCLOSURES IN GENERAL, e.g. DOORS, WINDOWS, BLINDS, GATES
- E06B9/00—Screening or protective devices for wall or similar openings, with or without operating or securing mechanisms; Closures of similar construction
- E06B9/56—Operating, guiding or securing devices or arrangements for roll-type closures; Spring drums; Tape drums; Counterweighting arrangements therefor
- E06B9/68—Operating devices or mechanisms, e.g. with electric drive
- E06B9/70—Operating devices or mechanisms, e.g. with electric drive comprising an electric motor positioned outside the roller
-
- E—FIXED CONSTRUCTIONS
- E05—LOCKS; KEYS; WINDOW OR DOOR FITTINGS; SAFES
- E05F—DEVICES FOR MOVING WINGS INTO OPEN OR CLOSED POSITION; CHECKS FOR WINGS; WING FITTINGS NOT OTHERWISE PROVIDED FOR, CONCERNED WITH THE FUNCTIONING OF THE WING
- E05F15/00—Power-operated mechanisms for wings
- E05F15/60—Power-operated mechanisms for wings using electrical actuators
- E05F15/603—Power-operated mechanisms for wings using electrical actuators using rotary electromotors
- E05F15/665—Power-operated mechanisms for wings using electrical actuators using rotary electromotors for vertically-sliding wings
- E05F15/668—Power-operated mechanisms for wings using electrical actuators using rotary electromotors for vertically-sliding wings for overhead wings
-
- E—FIXED CONSTRUCTIONS
- E05—LOCKS; KEYS; WINDOW OR DOOR FITTINGS; SAFES
- E05F—DEVICES FOR MOVING WINGS INTO OPEN OR CLOSED POSITION; CHECKS FOR WINGS; WING FITTINGS NOT OTHERWISE PROVIDED FOR, CONCERNED WITH THE FUNCTIONING OF THE WING
- E05F15/00—Power-operated mechanisms for wings
- E05F15/70—Power-operated mechanisms for wings with automatic actuation
- E05F15/73—Power-operated mechanisms for wings with automatic actuation responsive to movement or presence of persons or objects
-
- F—MECHANICAL ENGINEERING; LIGHTING; HEATING; WEAPONS; BLASTING
- F16—ENGINEERING ELEMENTS AND UNITS; GENERAL MEASURES FOR PRODUCING AND MAINTAINING EFFECTIVE FUNCTIONING OF MACHINES OR INSTALLATIONS; THERMAL INSULATION IN GENERAL
- F16H—GEARING
- F16H1/00—Toothed gearings for conveying rotary motion
- F16H1/28—Toothed gearings for conveying rotary motion with gears having orbital motion
- F16H1/32—Toothed gearings for conveying rotary motion with gears having orbital motion in which the central axis of the gearing lies inside the periphery of an orbital gear
-
- E—FIXED CONSTRUCTIONS
- E05—LOCKS; KEYS; WINDOW OR DOOR FITTINGS; SAFES
- E05F—DEVICES FOR MOVING WINGS INTO OPEN OR CLOSED POSITION; CHECKS FOR WINGS; WING FITTINGS NOT OTHERWISE PROVIDED FOR, CONCERNED WITH THE FUNCTIONING OF THE WING
- E05F15/00—Power-operated mechanisms for wings
- E05F15/70—Power-operated mechanisms for wings with automatic actuation
- E05F15/77—Power-operated mechanisms for wings with automatic actuation using wireless control
-
- E—FIXED CONSTRUCTIONS
- E05—LOCKS; KEYS; WINDOW OR DOOR FITTINGS; SAFES
- E05Y—INDEXING SCHEME ASSOCIATED WITH SUBCLASSES E05D AND E05F, RELATING TO CONSTRUCTION ELEMENTS, ELECTRIC CONTROL, POWER SUPPLY, POWER SIGNAL OR TRANSMISSION, USER INTERFACES, MOUNTING OR COUPLING, DETAILS, ACCESSORIES, AUXILIARY OPERATIONS NOT OTHERWISE PROVIDED FOR, APPLICATION THEREOF
- E05Y2201/00—Constructional elements; Accessories therefor
- E05Y2201/60—Suspension or transmission members; Accessories therefor
- E05Y2201/606—Accessories therefor
- E05Y2201/608—Back-drive
-
- E—FIXED CONSTRUCTIONS
- E05—LOCKS; KEYS; WINDOW OR DOOR FITTINGS; SAFES
- E05Y—INDEXING SCHEME ASSOCIATED WITH SUBCLASSES E05D AND E05F, RELATING TO CONSTRUCTION ELEMENTS, ELECTRIC CONTROL, POWER SUPPLY, POWER SIGNAL OR TRANSMISSION, USER INTERFACES, MOUNTING OR COUPLING, DETAILS, ACCESSORIES, AUXILIARY OPERATIONS NOT OTHERWISE PROVIDED FOR, APPLICATION THEREOF
- E05Y2201/00—Constructional elements; Accessories therefor
- E05Y2201/60—Suspension or transmission members; Accessories therefor
- E05Y2201/606—Accessories therefor
- E05Y2201/618—Transmission ratio variation
-
- E—FIXED CONSTRUCTIONS
- E05—LOCKS; KEYS; WINDOW OR DOOR FITTINGS; SAFES
- E05Y—INDEXING SCHEME ASSOCIATED WITH SUBCLASSES E05D AND E05F, RELATING TO CONSTRUCTION ELEMENTS, ELECTRIC CONTROL, POWER SUPPLY, POWER SIGNAL OR TRANSMISSION, USER INTERFACES, MOUNTING OR COUPLING, DETAILS, ACCESSORIES, AUXILIARY OPERATIONS NOT OTHERWISE PROVIDED FOR, APPLICATION THEREOF
- E05Y2201/00—Constructional elements; Accessories therefor
- E05Y2201/60—Suspension or transmission members; Accessories therefor
- E05Y2201/622—Suspension or transmission members elements
- E05Y2201/71—Toothed gearing
-
- E—FIXED CONSTRUCTIONS
- E05—LOCKS; KEYS; WINDOW OR DOOR FITTINGS; SAFES
- E05Y—INDEXING SCHEME ASSOCIATED WITH SUBCLASSES E05D AND E05F, RELATING TO CONSTRUCTION ELEMENTS, ELECTRIC CONTROL, POWER SUPPLY, POWER SIGNAL OR TRANSMISSION, USER INTERFACES, MOUNTING OR COUPLING, DETAILS, ACCESSORIES, AUXILIARY OPERATIONS NOT OTHERWISE PROVIDED FOR, APPLICATION THEREOF
- E05Y2201/00—Constructional elements; Accessories therefor
- E05Y2201/60—Suspension or transmission members; Accessories therefor
- E05Y2201/622—Suspension or transmission members elements
- E05Y2201/71—Toothed gearing
- E05Y2201/712—Toothed gearing with incomplete toothing
-
- E—FIXED CONSTRUCTIONS
- E05—LOCKS; KEYS; WINDOW OR DOOR FITTINGS; SAFES
- E05Y—INDEXING SCHEME ASSOCIATED WITH SUBCLASSES E05D AND E05F, RELATING TO CONSTRUCTION ELEMENTS, ELECTRIC CONTROL, POWER SUPPLY, POWER SIGNAL OR TRANSMISSION, USER INTERFACES, MOUNTING OR COUPLING, DETAILS, ACCESSORIES, AUXILIARY OPERATIONS NOT OTHERWISE PROVIDED FOR, APPLICATION THEREOF
- E05Y2201/00—Constructional elements; Accessories therefor
- E05Y2201/60—Suspension or transmission members; Accessories therefor
- E05Y2201/622—Suspension or transmission members elements
- E05Y2201/71—Toothed gearing
- E05Y2201/72—Planetary gearing
-
- E—FIXED CONSTRUCTIONS
- E05—LOCKS; KEYS; WINDOW OR DOOR FITTINGS; SAFES
- E05Y—INDEXING SCHEME ASSOCIATED WITH SUBCLASSES E05D AND E05F, RELATING TO CONSTRUCTION ELEMENTS, ELECTRIC CONTROL, POWER SUPPLY, POWER SIGNAL OR TRANSMISSION, USER INTERFACES, MOUNTING OR COUPLING, DETAILS, ACCESSORIES, AUXILIARY OPERATIONS NOT OTHERWISE PROVIDED FOR, APPLICATION THEREOF
- E05Y2400/00—Electronic control; Electrical power; Power supply; Power or signal transmission; User interfaces
- E05Y2400/10—Electronic control
- E05Y2400/30—Electronic control of motors
- E05Y2400/306—Temperature control
-
- E—FIXED CONSTRUCTIONS
- E05—LOCKS; KEYS; WINDOW OR DOOR FITTINGS; SAFES
- E05Y—INDEXING SCHEME ASSOCIATED WITH SUBCLASSES E05D AND E05F, RELATING TO CONSTRUCTION ELEMENTS, ELECTRIC CONTROL, POWER SUPPLY, POWER SIGNAL OR TRANSMISSION, USER INTERFACES, MOUNTING OR COUPLING, DETAILS, ACCESSORIES, AUXILIARY OPERATIONS NOT OTHERWISE PROVIDED FOR, APPLICATION THEREOF
- E05Y2400/00—Electronic control; Electrical power; Power supply; Power or signal transmission; User interfaces
- E05Y2400/10—Electronic control
- E05Y2400/32—Position control, detection or monitoring
-
- E—FIXED CONSTRUCTIONS
- E05—LOCKS; KEYS; WINDOW OR DOOR FITTINGS; SAFES
- E05Y—INDEXING SCHEME ASSOCIATED WITH SUBCLASSES E05D AND E05F, RELATING TO CONSTRUCTION ELEMENTS, ELECTRIC CONTROL, POWER SUPPLY, POWER SIGNAL OR TRANSMISSION, USER INTERFACES, MOUNTING OR COUPLING, DETAILS, ACCESSORIES, AUXILIARY OPERATIONS NOT OTHERWISE PROVIDED FOR, APPLICATION THEREOF
- E05Y2400/00—Electronic control; Electrical power; Power supply; Power or signal transmission; User interfaces
- E05Y2400/10—Electronic control
- E05Y2400/32—Position control, detection or monitoring
- E05Y2400/334—Position control, detection or monitoring by using pulse generators
- E05Y2400/336—Position control, detection or monitoring by using pulse generators of the angular type
-
- E—FIXED CONSTRUCTIONS
- E05—LOCKS; KEYS; WINDOW OR DOOR FITTINGS; SAFES
- E05Y—INDEXING SCHEME ASSOCIATED WITH SUBCLASSES E05D AND E05F, RELATING TO CONSTRUCTION ELEMENTS, ELECTRIC CONTROL, POWER SUPPLY, POWER SIGNAL OR TRANSMISSION, USER INTERFACES, MOUNTING OR COUPLING, DETAILS, ACCESSORIES, AUXILIARY OPERATIONS NOT OTHERWISE PROVIDED FOR, APPLICATION THEREOF
- E05Y2400/00—Electronic control; Electrical power; Power supply; Power or signal transmission; User interfaces
- E05Y2400/10—Electronic control
- E05Y2400/44—Sensors not directly associated with the wing movement
-
- E—FIXED CONSTRUCTIONS
- E05—LOCKS; KEYS; WINDOW OR DOOR FITTINGS; SAFES
- E05Y—INDEXING SCHEME ASSOCIATED WITH SUBCLASSES E05D AND E05F, RELATING TO CONSTRUCTION ELEMENTS, ELECTRIC CONTROL, POWER SUPPLY, POWER SIGNAL OR TRANSMISSION, USER INTERFACES, MOUNTING OR COUPLING, DETAILS, ACCESSORIES, AUXILIARY OPERATIONS NOT OTHERWISE PROVIDED FOR, APPLICATION THEREOF
- E05Y2400/00—Electronic control; Electrical power; Power supply; Power or signal transmission; User interfaces
- E05Y2400/10—Electronic control
- E05Y2400/45—Control modes
- E05Y2400/458—Control modes for generating service signals
-
- E—FIXED CONSTRUCTIONS
- E05—LOCKS; KEYS; WINDOW OR DOOR FITTINGS; SAFES
- E05Y—INDEXING SCHEME ASSOCIATED WITH SUBCLASSES E05D AND E05F, RELATING TO CONSTRUCTION ELEMENTS, ELECTRIC CONTROL, POWER SUPPLY, POWER SIGNAL OR TRANSMISSION, USER INTERFACES, MOUNTING OR COUPLING, DETAILS, ACCESSORIES, AUXILIARY OPERATIONS NOT OTHERWISE PROVIDED FOR, APPLICATION THEREOF
- E05Y2400/00—Electronic control; Electrical power; Power supply; Power or signal transmission; User interfaces
- E05Y2400/10—Electronic control
- E05Y2400/52—Safety arrangements associated with the wing motor
- E05Y2400/522—Back-drive prevention
-
- E—FIXED CONSTRUCTIONS
- E05—LOCKS; KEYS; WINDOW OR DOOR FITTINGS; SAFES
- E05Y—INDEXING SCHEME ASSOCIATED WITH SUBCLASSES E05D AND E05F, RELATING TO CONSTRUCTION ELEMENTS, ELECTRIC CONTROL, POWER SUPPLY, POWER SIGNAL OR TRANSMISSION, USER INTERFACES, MOUNTING OR COUPLING, DETAILS, ACCESSORIES, AUXILIARY OPERATIONS NOT OTHERWISE PROVIDED FOR, APPLICATION THEREOF
- E05Y2600/00—Mounting or coupling arrangements for elements provided for in this subclass
- E05Y2600/40—Mounting location; Visibility of the elements
- E05Y2600/458—Mounting location; Visibility of the elements in or on a transmission member
-
- E—FIXED CONSTRUCTIONS
- E05—LOCKS; KEYS; WINDOW OR DOOR FITTINGS; SAFES
- E05Y—INDEXING SCHEME ASSOCIATED WITH SUBCLASSES E05D AND E05F, RELATING TO CONSTRUCTION ELEMENTS, ELECTRIC CONTROL, POWER SUPPLY, POWER SIGNAL OR TRANSMISSION, USER INTERFACES, MOUNTING OR COUPLING, DETAILS, ACCESSORIES, AUXILIARY OPERATIONS NOT OTHERWISE PROVIDED FOR, APPLICATION THEREOF
- E05Y2800/00—Details, accessories and auxiliary operations not otherwise provided for
- E05Y2800/26—Form or shape
- E05Y2800/31—Form or shape eccentric
-
- E—FIXED CONSTRUCTIONS
- E05—LOCKS; KEYS; WINDOW OR DOOR FITTINGS; SAFES
- E05Y—INDEXING SCHEME ASSOCIATED WITH SUBCLASSES E05D AND E05F, RELATING TO CONSTRUCTION ELEMENTS, ELECTRIC CONTROL, POWER SUPPLY, POWER SIGNAL OR TRANSMISSION, USER INTERFACES, MOUNTING OR COUPLING, DETAILS, ACCESSORIES, AUXILIARY OPERATIONS NOT OTHERWISE PROVIDED FOR, APPLICATION THEREOF
- E05Y2900/00—Application of doors, windows, wings or fittings thereof
- E05Y2900/10—Application of doors, windows, wings or fittings thereof for buildings or parts thereof
- E05Y2900/106—Application of doors, windows, wings or fittings thereof for buildings or parts thereof for garages
-
- E—FIXED CONSTRUCTIONS
- E05—LOCKS; KEYS; WINDOW OR DOOR FITTINGS; SAFES
- E05Y—INDEXING SCHEME ASSOCIATED WITH SUBCLASSES E05D AND E05F, RELATING TO CONSTRUCTION ELEMENTS, ELECTRIC CONTROL, POWER SUPPLY, POWER SIGNAL OR TRANSMISSION, USER INTERFACES, MOUNTING OR COUPLING, DETAILS, ACCESSORIES, AUXILIARY OPERATIONS NOT OTHERWISE PROVIDED FOR, APPLICATION THEREOF
- E05Y2900/00—Application of doors, windows, wings or fittings thereof
- E05Y2900/10—Application of doors, windows, wings or fittings thereof for buildings or parts thereof
- E05Y2900/13—Type of wing
- E05Y2900/146—Shutters
-
- E—FIXED CONSTRUCTIONS
- E05—LOCKS; KEYS; WINDOW OR DOOR FITTINGS; SAFES
- E05Y—INDEXING SCHEME ASSOCIATED WITH SUBCLASSES E05D AND E05F, RELATING TO CONSTRUCTION ELEMENTS, ELECTRIC CONTROL, POWER SUPPLY, POWER SIGNAL OR TRANSMISSION, USER INTERFACES, MOUNTING OR COUPLING, DETAILS, ACCESSORIES, AUXILIARY OPERATIONS NOT OTHERWISE PROVIDED FOR, APPLICATION THEREOF
- E05Y2900/00—Application of doors, windows, wings or fittings thereof
- E05Y2900/40—Application of doors, windows, wings or fittings thereof for gates
-
- E—FIXED CONSTRUCTIONS
- E06—DOORS, WINDOWS, SHUTTERS, OR ROLLER BLINDS IN GENERAL; LADDERS
- E06B—FIXED OR MOVABLE CLOSURES FOR OPENINGS IN BUILDINGS, VEHICLES, FENCES OR LIKE ENCLOSURES IN GENERAL, e.g. DOORS, WINDOWS, BLINDS, GATES
- E06B9/00—Screening or protective devices for wall or similar openings, with or without operating or securing mechanisms; Closures of similar construction
- E06B9/56—Operating, guiding or securing devices or arrangements for roll-type closures; Spring drums; Tape drums; Counterweighting arrangements therefor
- E06B9/68—Operating devices or mechanisms, e.g. with electric drive
- E06B2009/6809—Control
- E06B2009/6818—Control using sensors
- E06B2009/6836—Control using sensors sensing obstacle
-
- E—FIXED CONSTRUCTIONS
- E06—DOORS, WINDOWS, SHUTTERS, OR ROLLER BLINDS IN GENERAL; LADDERS
- E06B—FIXED OR MOVABLE CLOSURES FOR OPENINGS IN BUILDINGS, VEHICLES, FENCES OR LIKE ENCLOSURES IN GENERAL, e.g. DOORS, WINDOWS, BLINDS, GATES
- E06B9/00—Screening or protective devices for wall or similar openings, with or without operating or securing mechanisms; Closures of similar construction
- E06B9/56—Operating, guiding or securing devices or arrangements for roll-type closures; Spring drums; Tape drums; Counterweighting arrangements therefor
- E06B9/68—Operating devices or mechanisms, e.g. with electric drive
- E06B2009/6809—Control
- E06B2009/6818—Control using sensors
- E06B2009/6854—Control using sensors sensing torque
-
- F—MECHANICAL ENGINEERING; LIGHTING; HEATING; WEAPONS; BLASTING
- F16—ENGINEERING ELEMENTS AND UNITS; GENERAL MEASURES FOR PRODUCING AND MAINTAINING EFFECTIVE FUNCTIONING OF MACHINES OR INSTALLATIONS; THERMAL INSULATION IN GENERAL
- F16H—GEARING
- F16H1/00—Toothed gearings for conveying rotary motion
- F16H1/28—Toothed gearings for conveying rotary motion with gears having orbital motion
- F16H1/32—Toothed gearings for conveying rotary motion with gears having orbital motion in which the central axis of the gearing lies inside the periphery of an orbital gear
- F16H2001/327—Toothed gearings for conveying rotary motion with gears having orbital motion in which the central axis of the gearing lies inside the periphery of an orbital gear with the orbital gear having internal gear teeth
Landscapes
- Engineering & Computer Science (AREA)
- Structural Engineering (AREA)
- General Engineering & Computer Science (AREA)
- Architecture (AREA)
- Civil Engineering (AREA)
- Mechanical Engineering (AREA)
- Power-Operated Mechanisms For Wings (AREA)
- Operating, Guiding And Securing Of Roll- Type Closing Members (AREA)
Description
図1は、駆動装置を備えたドア機構の概略図である。
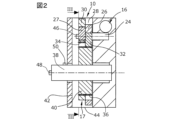
図2は、図1の駆動装置の側面図である。
図3は、駆動装置におけるトランスミッション装置の断面図である。
図4は、他の実施形態に係るトランスミッション装置の概略図である。
Claims (13)
- ドア機構(2)のドア部材(6)を閉状態から開状態へ、およびその逆へ移動させるドアシャフト(14)を駆動するトランスミッション装置(12、12´)に連結された少なくとも1つの電動モータ(10)を有する前記ドア機構(2)の駆動装置であって、
前記トランスミッション装置(12、12´)は、偏心ギアトランスミッション(17)を備え、
前記少なくとも1つの電動モータ(10)の少なくとも1つの偏心シャフト(24;72,74,76)にて駆動される少なくとも2つの旋回歯付ディスク(52,54,56)が、その外側(58,60,62)に設けられて、それぞれがピッチ円状に形成された内歯(64,66,68)を介して、前記ドアシャフト(14)に連結された従動シャフト(38、70)と係合する、
ことを特徴とする駆動装置。 - 前記歯付ディスク(52,54,56)は、同期または位相変位するように配置される、
ことを特徴とする請求項1に記載の駆動装置。 - 制御の観点から、前記少なくとも1つの電気モータ(10)に接続されるドア制御装置(19)が設けられる、
ことを特徴とする請求項1または2に記載の駆動装置。 - 前記ドア制御装置(19)は、WLANまたはBluetoothを介して、無線で動作または読み出しされる、
ことを特徴とする請求項3に記載の駆動装置。 - 前記偏心シャフト(24)に少なくとも1つのロータリエンコーダ(46)が、前記従動シャフト(38、70)に少なくとも1つのロータリエンコーダ(48)が、両方またはいずれか一方設けられ、
前記少なくとも1つのロータリエンコーダ(46)および前記少なくとも1つのロータリエンコーダ(48)は、制御の観点から、前記ドア制御装置(19)に接続される、
ことを特徴とする請求項3または4に記載の駆動装置。 - 前記従動シャフト(38,70)に少なくとも1つの速度センサ(50)を設ける、
ことを特徴とする請求項3ないし4のいずれか一項に記載の駆動装置。 - 温度センサ、振動センサ、トルクセンサ、電流計のうち少なくとも何れかを、前記駆動装置(8)の領域にさらに設ける、
ことを特徴とする請求項4または5に記載の駆動装置。 - 前記電動モータ(14)は直流モータである、
ことを特徴とする請求項1ないし7のいずれか一項に記載の駆動装置。 - 前記少なくとも2つの旋回歯付ディスク(52,54,56)は、接続手段を介して、互いに柔軟または堅固に結合される、
ことを特徴とする請求項1ないし8のいずれか一項に記載の駆動装置。 - 前記電動モータ(14)は、牽引ギアを介して、前記偏心ギアトランスミッション(17)に接続される、
ことを特徴とする請求項1ないし9のいずれか一項に記載の駆動装置。 - 3つの偏心シャフト(72,74,76)にて駆動され、互いに位相変位した状態で旋回運動する3つの歯付ディスク(52,54,56)が設けられる、
ことを特徴とする請求項1に記載の駆動装置。 - 請求項1ないし11のいずれか一項に記載の駆動装置(8)を有するドア機構であって、
前記ドア部材(6)用のフレーム装置(4)を備え、
前記フレーム装置(4)には、前記駆動装置(8)が配置される、
ことを特徴とするドア機構。 - 請求項3に記載の駆動装置(8)を有するドア機構であって、
前記ドア部材(6)用のフレーム装置(4)を備え、
前記フレーム装置(4)には、前記駆動装置(8)が配置され、
制御の観点から、前記ドア制御装置(19)に無線接続される、安全エッジ装置、ライトグリッド、3Dセンサのうち少なくとも何れかのセンサ装置をさらに備える、
ことを特徴とするドア機構。
Applications Claiming Priority (3)
| Application Number | Priority Date | Filing Date | Title |
|---|---|---|---|
| DE102019107322.7A DE102019107322B4 (de) | 2019-03-21 | 2019-03-21 | Antriebsanordnung für eine Torvorrichtung sowie Torvorrichtung |
| DE102019107322.7 | 2019-03-21 | ||
| PCT/EP2020/057333 WO2020187932A1 (de) | 2019-03-21 | 2020-03-17 | Antriebsanordnung für eine torvorrichtung sowie torvorrichtung |
Publications (2)
| Publication Number | Publication Date |
|---|---|
| JP2022525939A JP2022525939A (ja) | 2022-05-20 |
| JP7302002B2 true JP7302002B2 (ja) | 2023-07-03 |
Family
ID=70005599
Family Applications (1)
| Application Number | Title | Priority Date | Filing Date |
|---|---|---|---|
| JP2021556541A Active JP7302002B2 (ja) | 2019-03-21 | 2020-03-17 | ドア機構の駆動装置およびドア機構 |
Country Status (6)
| Country | Link |
|---|---|
| US (1) | US12252934B2 (ja) |
| EP (1) | EP3942139B1 (ja) |
| JP (1) | JP7302002B2 (ja) |
| CN (1) | CN113677866B (ja) |
| DE (1) | DE102019107322B4 (ja) |
| WO (1) | WO2020187932A1 (ja) |
Families Citing this family (1)
| Publication number | Priority date | Publication date | Assignee | Title |
|---|---|---|---|---|
| DE102022124428B3 (de) | 2022-09-22 | 2024-02-15 | Fraba B.V. | Bewegungszähleranordnung für eine Toranordnung sowie Toranordnung |
Citations (4)
| Publication number | Priority date | Publication date | Assignee | Title |
|---|---|---|---|---|
| JP2000154689A (ja) | 1998-11-20 | 2000-06-06 | Shibaura Densan Kk | 電動ローラ装置 |
| JP2005036515A (ja) | 2003-07-15 | 2005-02-10 | Aisin Seiki Co Ltd | シャッター巻き上げ駆動装置 |
| US20100229665A1 (en) | 2007-10-26 | 2010-09-16 | Vishvas Prabhakar Ambardekar | Modified eccentric gearbox |
| JP2017179736A (ja) | 2016-03-28 | 2017-10-05 | 文化シヤッター株式会社 | 開閉装置及び該開閉装置を監視するための開閉装置監視システム |
Family Cites Families (20)
| Publication number | Priority date | Publication date | Assignee | Title |
|---|---|---|---|---|
| DE3428488A1 (de) * | 1984-08-02 | 1986-02-13 | Messerschmitt-Bölkow-Blohm GmbH, 8012 Ottobrunn | Vorrichtung zum stuetzen der huelle beim pressen einer gefechtskopfladung |
| DE59206659D1 (de) * | 1992-01-10 | 1996-08-01 | Aginfor Ag | Exzentergetriebe |
| US5425683A (en) * | 1992-09-25 | 1995-06-20 | Bang; Yu A. | Single-ring-gear planetary transmisssion unit with small difference between teeth of meshing gears |
| US5423628A (en) * | 1994-06-28 | 1995-06-13 | M-B-W Inc. | Winch construction for a vibratory concrete screed |
| US6422965B1 (en) * | 2000-04-20 | 2002-07-23 | Overhead Door Corporation | Door operator unit |
| US8831970B2 (en) * | 2000-08-24 | 2014-09-09 | Martin Herman Weik, III | Virtual attendant system and parking management system |
| EP1426538B1 (de) | 2002-11-29 | 2011-05-18 | Hörmann KG Antriebstechnik | Wellentorantriebsvorrichtung, und damit versehenes Tor |
| PL1965018T3 (pl) * | 2007-03-02 | 2014-12-31 | Hoermann Kg Dissen | Brama wyposażona w mechanizm sprężynowy równoważący oraz w napęd |
| US20110092332A1 (en) * | 2008-05-02 | 2011-04-21 | Evenson Roger A | Compact backdrive resistant transmission |
| US8692498B2 (en) * | 2010-08-30 | 2014-04-08 | Crestron Electronics Inc. | System and method for controlling one or more roller shades |
| US8936525B2 (en) | 2011-02-14 | 2015-01-20 | Toshiaki Shimada | Gear system and driver |
| US10655386B2 (en) * | 2011-03-11 | 2020-05-19 | Lutron Technology Company Llc | Motorized window treatment |
| US20130112357A1 (en) * | 2011-11-04 | 2013-05-09 | Rytec Corporation | Overhead Roll-Up Door Having At Least Two Motors |
| DE202012012478U1 (de) * | 2012-07-30 | 2013-02-15 | Fraba Nv | Überwachungs- und Ansteuervorrichtung für eine Toreinheit |
| CN204343959U (zh) * | 2014-12-17 | 2015-05-20 | 第一传动科技股份有限公司 | 铁卷门卷收装置 |
| DE102015101248B4 (de) * | 2015-01-28 | 2024-12-12 | Fraba B.V. | Magnet-basiertes Drehwinkelmesssystem |
| DE102015107416B4 (de) * | 2015-05-12 | 2018-08-30 | Fraba B.V. | Wartungssystem zur Überwachung einer Torvorrichtung und Verfahren zur Überwachung einer Torvorrichtung |
| CN105909162A (zh) * | 2016-05-01 | 2016-08-31 | 平阳微体日用品有限公司 | 卷闸门 |
| CN206000338U (zh) * | 2016-08-05 | 2017-03-08 | 昆山麦格纳汽车系统有限公司 | 车库门开门机 |
| DE102017126124A1 (de) * | 2017-07-07 | 2019-01-10 | Hörmann KG Antriebstechnik | Torantriebsvorrichtung mit Torflügelpositionserfassungseinrichtung |
-
2019
- 2019-03-21 DE DE102019107322.7A patent/DE102019107322B4/de active Active
-
2020
- 2020-03-17 CN CN202080021845.2A patent/CN113677866B/zh active Active
- 2020-03-17 JP JP2021556541A patent/JP7302002B2/ja active Active
- 2020-03-17 EP EP20714149.0A patent/EP3942139B1/de active Active
- 2020-03-17 WO PCT/EP2020/057333 patent/WO2020187932A1/de not_active Ceased
- 2020-03-17 US US17/440,797 patent/US12252934B2/en active Active
Patent Citations (4)
| Publication number | Priority date | Publication date | Assignee | Title |
|---|---|---|---|---|
| JP2000154689A (ja) | 1998-11-20 | 2000-06-06 | Shibaura Densan Kk | 電動ローラ装置 |
| JP2005036515A (ja) | 2003-07-15 | 2005-02-10 | Aisin Seiki Co Ltd | シャッター巻き上げ駆動装置 |
| US20100229665A1 (en) | 2007-10-26 | 2010-09-16 | Vishvas Prabhakar Ambardekar | Modified eccentric gearbox |
| JP2017179736A (ja) | 2016-03-28 | 2017-10-05 | 文化シヤッター株式会社 | 開閉装置及び該開閉装置を監視するための開閉装置監視システム |
Also Published As
| Publication number | Publication date |
|---|---|
| US20220162909A1 (en) | 2022-05-26 |
| EP3942139B1 (de) | 2025-12-10 |
| WO2020187932A1 (de) | 2020-09-24 |
| EP3942139A1 (de) | 2022-01-26 |
| DE102019107322B4 (de) | 2020-10-22 |
| JP2022525939A (ja) | 2022-05-20 |
| DE102019107322A1 (de) | 2020-09-24 |
| CN113677866B (zh) | 2023-03-07 |
| CN113677866A (zh) | 2021-11-19 |
| US12252934B2 (en) | 2025-03-18 |
Similar Documents
| Publication | Publication Date | Title |
|---|---|---|
| RU2429334C1 (ru) | Система привода для поворачиваемых и/или сдвигаемых дверей или для входного/выходного устройства с улучшенным измерением положения | |
| US20080047200A1 (en) | Door drive for an automatic door | |
| TWI520475B (zh) | 致動器及其位置檢測方法 | |
| US20090308701A1 (en) | Actuator with function monitor | |
| JP7302002B2 (ja) | ドア機構の駆動装置およびドア機構 | |
| CN105448554B (zh) | 一种大角度输出电动机操动机构 | |
| EP3219898B1 (en) | Battery powered winding shaft for a roller blind | |
| JP6808474B2 (ja) | ギヤ付きモータのアブソリュートエンコーダ | |
| KR20180036990A (ko) | 회전가능한 날개를 위한 구동부 | |
| CN111692326B (zh) | 驱动装置、机器人及图像形成装置 | |
| US20180045261A1 (en) | Rotary drive device comprising load-dependent brakes | |
| CN207603395U (zh) | 致动器模块 | |
| CN111156344A (zh) | 一种正反自动挂齿的角行程传动装置 | |
| JP7021220B2 (ja) | 崩落防止機構を有するゲート及び崩落防止機構をトリガする方法 | |
| JP3142139U (ja) | 位置制限式横開きカーテン | |
| WO2009117692A2 (en) | Position sensor and method | |
| US9822575B2 (en) | Movable body driving device | |
| CN109695682A (zh) | 一种机电作动器 | |
| JP5043566B2 (ja) | エレベータ装置 | |
| KR102941873B1 (ko) | 기어박스를 위한 액추에이터 장치 | |
| CN104802157B (zh) | 机器人动力输出装置及具有该装置的机器人 | |
| US11993972B2 (en) | Universal rotary actuators | |
| CN116241612A (zh) | 一种单输入和多输出的传动结构及应用 | |
| KR20190011633A (ko) | 회전 각도 측정 장치 | |
| JP2024007062A (ja) | アクチュエータシステム |
Legal Events
| Date | Code | Title | Description |
|---|---|---|---|
| A521 | Request for written amendment filed |
Free format text: JAPANESE INTERMEDIATE CODE: A523 Effective date: 20211130 |
|
| A621 | Written request for application examination |
Free format text: JAPANESE INTERMEDIATE CODE: A621 Effective date: 20211115 |
|
| A977 | Report on retrieval |
Free format text: JAPANESE INTERMEDIATE CODE: A971007 Effective date: 20220927 |
|
| A131 | Notification of reasons for refusal |
Free format text: JAPANESE INTERMEDIATE CODE: A131 Effective date: 20221004 |
|
| A521 | Request for written amendment filed |
Free format text: JAPANESE INTERMEDIATE CODE: A523 Effective date: 20221212 |
|
| A131 | Notification of reasons for refusal |
Free format text: JAPANESE INTERMEDIATE CODE: A131 Effective date: 20230117 |
|
| A521 | Request for written amendment filed |
Free format text: JAPANESE INTERMEDIATE CODE: A523 Effective date: 20230417 |
|
| TRDD | Decision of grant or rejection written | ||
| A01 | Written decision to grant a patent or to grant a registration (utility model) |
Free format text: JAPANESE INTERMEDIATE CODE: A01 Effective date: 20230613 |
|
| A61 | First payment of annual fees (during grant procedure) |
Free format text: JAPANESE INTERMEDIATE CODE: A61 Effective date: 20230621 |
|
| R150 | Certificate of patent or registration of utility model |
Ref document number: 7302002 Country of ref document: JP Free format text: JAPANESE INTERMEDIATE CODE: R150 |