JP7268564B2 - タービン回転体およびその製造方法 - Google Patents

タービン回転体およびその製造方法 Download PDF

Info

Publication number
JP7268564B2
JP7268564B2 JP2019179415A JP2019179415A JP7268564B2 JP 7268564 B2 JP7268564 B2 JP 7268564B2 JP 2019179415 A JP2019179415 A JP 2019179415A JP 2019179415 A JP2019179415 A JP 2019179415A JP 7268564 B2 JP7268564 B2 JP 7268564B2
Authority
JP
Japan
Prior art keywords
turbine wheel
turbine
axis
rotating shaft
center
Prior art date
Legal status (The legal status is an assumption and is not a legal conclusion. Google has not performed a legal analysis and makes no representation as to the accuracy of the status listed.)
Active
Application number
JP2019179415A
Other languages
English (en)
Other versions
JP2021055612A (ja
Inventor
徳行 松井
達也 清水
謙吾 北方
Current Assignee (The listed assignees may be inaccurate. Google has not performed a legal analysis and makes no representation or warranty as to the accuracy of the list.)
Toyota Industries Corp
Original Assignee
Toyota Industries Corp
Priority date (The priority date is an assumption and is not a legal conclusion. Google has not performed a legal analysis and makes no representation as to the accuracy of the date listed.)
Filing date
Publication date
Application filed by Toyota Industries Corp filed Critical Toyota Industries Corp
Priority to JP2019179415A priority Critical patent/JP7268564B2/ja
Publication of JP2021055612A publication Critical patent/JP2021055612A/ja
Application granted granted Critical
Publication of JP7268564B2 publication Critical patent/JP7268564B2/ja
Active legal-status Critical Current
Anticipated expiration legal-status Critical

Links

Images

Landscapes

  • Supercharger (AREA)
  • Turbine Rotor Nozzle Sealing (AREA)

Description

本開示は、タービン回転体と、タービン回転体の製造方法とに関する。
タービンホイールの加工方法において、軽量化のための有底丸孔をハブ部に形成する前に、タービンホイールの回転軸の軸心線に対する半径方向のバランス測定を行い、測定結果に基づき、有底丸孔をタービンホイールの軸心線より所定量ずらして形成することによりタービンホイールのバランス調整を行うことが提案されている(たとえば、特開2008-240594号公報(特許文献1)参照)。
特開2008-240594号公報
上記文献に記載の加工方法では、タービンホイールのハブ部に有底丸孔を形成するため、有底丸孔を形成する位置の回転軸の軸心線に対する距離が十分に取れず、そのためアンバランスの修正量が小さくなる。
本開示では、アンバランス量が低減されたタービン回転体と、そのタービン回転体の製造方法とが提供される。
本開示のある局面に従うと、回転シャフトと、回転シャフトに固定されたタービンホイールとを備える、タービン回転体が提供される。タービンホイールは、形状中心から偏心した位置に重心を有している。回転シャフトの軸心線が、タービンホイールの重心を通る。
係る構成によると、タービンホイールと回転シャフトとを含むタービン回転体全体としてのアンバランス量を低減することができる。
上記のタービン回転体において、回転シャフトは、タービンホイールに接合された根元部を有している。回転シャフトの軸心線が、根元部の形状中心を通る。これにより、回転シャフトの軸心線が、タービンホイールの形状中心から偏心した重心を通る構成を、確実に実現することができる。
上記のタービン回転体において、タービンホイールは、軸心線が通る位置に形成された基準穴を有している。これにより、回転シャフトの軸心線がタービンホイールの重心を通る構成を、確実に実現することができる。
本開示のある局面に従うと、回転シャフトと回転シャフトに固定されたタービンホイールとを備えるタービン回転体の製造方法が提供される。製造方法は、以下の処理を備えている。第1の処理は、タービンホイールの重心を計測することである。第2の処理は、加工されることにより回転シャフトが形成されるシャフト素材を、シャフト素材の軸心線が重心を通るようにタービンホイールに接合することである。第3の処理は、タービンホイールに接合されたシャフト素材を加工して、回転シャフトを形成することである。
係る製造方法によると、タービンホイールと回転シャフトとを含むタービン回転体全体としてのアンバランス量を低減することができる。
上記の製造方法は、シャフト素材をタービンホイールに接合する際の軸心線の位置決めに用いられる位置決め部をタービンホイールに形成する処理をさらに備えている。位置決め部を用いてシャフト素材の軸心線を位置決めすることで、加工後の回転シャフトの軸心線がタービンホイールの重心を通る構成を、確実に実現することができる。
本開示に係るタービン回転体に従えば、アンバランス量を低減することができる。
第一実施形態のタービン回転体の側面図である。 第一実施形態のタービン回転体の正面図である。 第一実施形態のタービン回転体の製造工程を示す第1の図である。 第一実施形態のタービン回転体の製造工程を示す第2の図である。 第一実施形態のタービン回転体の製造工程を示す第3の図である。 第二実施形態のタービン回転体の製造工程を示す第1の図である。 第二実施形態のタービン回転体の製造工程を示す第2の図である。 第三実施形態のタービン回転体の製造工程を示す第1の図である。 第三実施形態のタービン回転体の製造工程を示す第2の図である。 第四実施形態のタービン回転体の製造工程を示す第1の図である。 第四実施形態のタービン回転体の製造工程を示す第2の図である。 第五実施形態のタービン回転体の製造工程を示す図である。
以下、図面を参照しつつ、本発明の実施形態について説明する。以下の説明では、同一の部品には同一の符号が付されている。それらの名称および機能も同じである。したがってそれらについての詳細な説明は繰返さない。
[第一実施形態]
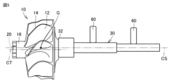
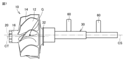
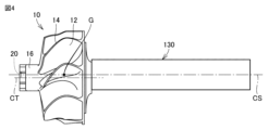
図1は、第一実施形態のタービン回転体1の側面図である。図2は、第一実施形態のタービン回転体1の正面図である。図2には、図1中に示す矢印II方向から見たタービン回転体1が示されている。タービン回転体1は、たとえば、図示しないターボチャージャの内部に配置され、内燃機関から排出された排気ガスの運動エネルギーを回転駆動力に変換して内燃機関に過給するために、用いられる。
図1に示されるように、タービン回転体1は、タービンホイール10と、回転シャフト30とを備えている。タービンホイール10は、回転シャフト30に固定されている。タービンホイール10は、たとえば溶接により、回転シャフト30の一端に一体的に連結されている。タービンホイール10と回転シャフト30とは、それぞれ耐熱性の金属材料により形成されている。タービンホイール10はたとえば、インコネルを形成材料としている。
図1,2に示されるように、タービンホイール10は、山形状のハブ12と、ハブ12の外周面に形成された複数のブレード14とを有している。図2に示される実施形態のタービンホイール10は、ハブ12に9枚のブレード14が取り付けられている。複数のブレード14は、タービンホイール10の周方向に並んで、互いに間隔をあけて配置されている。タービンホイール10はまた、ハブ12から突き出る頭部16を有している。頭部16は、略円柱状の形状を有している。タービンホイール10はまた、頭部16の頂面の一部が窪んだ基準穴20を有している。
回転シャフト30は、タービンホイール10に接合された根元部32を有している。回転シャフト30は、図1中に一点鎖線で示される軸心線CSを有している。回転シャフト30の軸心線CSは、根元部32の形状中心を通り、またタービンホイール10に形成された基準穴20を通って延びている。基準穴20は、回転シャフト30の軸心線CSが通る位置に形成されている。
タービンホイール10は、図1中に一点鎖線で示される軸心線CTを有している。図2にも示される通り、タービンホイール10の軸心線CTは、タービンホイール10の形状中心を通って延びている。ハブ12は略円錐台状の形状を有しており、図2に示される正面視において、ハブ12は円形状の外周縁を有している。外周縁は、ハブ12における外形が最大の部位である。ハブ12の外周縁が形成する円の中心が、タービンホイール10の形状中心である。
図1に示されるように、タービンホイール10は、重心Gを有している。重心Gは、タービンホイール10の形状中心から偏心した位置にある場合がある。図1に示される重心Gは、タービンホイール10の形状中心から偏心した位置にあり、タービンホイール10の形状中心を示す軸心線CTと位置が一致していない。基準穴20は、タービンホイール10の重心Gの位置に形成されている。基準穴20は、軸心線CTからずれた位置に形成されている。
回転シャフト30の軸心線CSは、タービンホイール10の重心Gを通って延びている。回転シャフト30の軸心線CSは、タービンホイール10の軸心線CTからずれている場合がある。回転シャフト30の軸心線CSと、タービンホイール10の軸心線CTとは、ずれている場合互いに平行に延びている。
図1,2による図示では、わかりやすさを優先して、タービンホイール10の重心Gの形状中心に対するずれ量を誇張して示している。重心Gの位置に形成される基準穴20は、タービンホイール10の重心Gがタービンホイール10の形状中心に対してずれる量に対応して、タービンホイール10の頭部16に形成されている。
タービンホイール10の形状中心に対する回転シャフト30の軸心線CSのずれ量は、実際には、タービン回転体1の設計上の公差の範囲に収まる程度の微量である。そのため、回転シャフト30の軸心線CSがタービンホイール10の形状中心からずれていても、高速回転するタービン回転体1の性能への影響は無視できる程度に小さく、タービン回転体1の機能が損なわれることはない。
以上の構成を備えているタービン回転体1の製造工程について、以下に説明する。まず、タービンホイール10の成形加工が行なわれる。この工程では、ハブ12、ブレード14および頭部16が、一体物として成形加工される。次に、別途設けられた重量バランス用の測定器により、タービンホイール10の径方向のアンバランス計測が行なわれ、タービンホイール10の重心Gの位置が計測される。
次に、タービンホイール10のアンバランス計測により計測された重心Gの位置に、基準穴20が形成される。図3は、第一実施形態のタービン回転体1の製造工程を示す第1の図である。この工程では、図3に示されるように、タービンホイール10が治具50によって保持される。この状態で、加工工具52、たとえばドリル工具をタービンホイール10に接近させて、頭部16の頂面に基準穴20を形成する。
基準穴20は、タービンホイール10の重心Gを通り軸心線CTに平行な直線が頭部16の頂面と交差する位置に形成される。典型的には基準穴20は、当該直線を中心線とする有底円筒穴として、頭部16の頂面に形成される。タービンホイール10の重心Gがタービンホイール10の形状中心からずれている場合、基準穴20は、タービンホイール10の形状中心から外れた位置に形成される。
次に、シャフト素材130をタービンホイール10に接合する。図4は、第一実施形態のタービン回転体1の製造工程を示す第2の図である。シャフト素材130は、加工されることにより回転シャフト30が形成される素材であり、典型的には丸棒である。シャフト素材130は、軸心線CSを有している。
シャフト素材130は、軸心線CSが基準穴20を通るようにタービンホイール10に対して位置決めされて、タービンホイール10に接合される。基準穴20はタービンホイール10の重心Gの位置に形成されているので、シャフト素材130は、軸心線CSがタービンホイール10の重心Gを通るようにして、タービンホイール10に接合される。基準穴20は、シャフト素材130をタービンホイール10に接合する際のシャフト素材130の軸心線CSの位置決めに用いられる、位置決め部として機能する。
シャフト素材130は、その軸心線CSがタービンホイール10の軸心線CTから外れた位置に位置決めされて、タービンホイール10に接合される。タービンホイール10に形成された基準穴20を使って機械的に芯出しが可能であるので、タービンホイール10に対してシャフト素材130を精度よく位置決めした上で、シャフト素材130がタービンホイール10に接合される。
次に、シャフト素材130の加工が行なわれる。図5は、第一実施形態のタービン回転体1の製造工程を示す第3の図である。図4を参照して説明した前工程においてタービンホイール10に接合されたシャフト素材130を、加工工具60、典型的には切削工具または研磨工具などを用いて加工することで、回転シャフト30が所定の形状に成形加工される。
このような製造工程を順に経ることで、一連の加工が終了し、図1,2に示される第一実施形態のタービン回転体1が完成する。
以上説明した本実施形態のタービン回転体1によると、図1,2に示されるように、タービンホイール10が形状中心から偏心した位置に重心Gを有し、回転シャフト30の軸心線CSが重心Gを通るように構成されている。そのため、タービンホイール10と回転シャフト30とを含むタービン回転体1全体としてのアンバランス量を低減することができる。タービンホイール10のアンバランスを修正するためにタービンホイール10を部分的に加工する加工量が小さくなるので、加工時間を短縮でき、刃具費の低減が可能となる。少ない加工量でアンバランス修正でき、タービン回転体1の製品形状が大きく変わることがないため、製品の強度、製品の信頼性などの製品機能に影響を与えることを抑制できる。
図4,5に示されるように、タービンホイール10の軸心線CTからずれた位置に軸心線CSが位置決めされてシャフト素材130がタービンホイール10に接合されて、その後シャフト素材130が加工されて回転シャフト30が形成される。このようにタービン回転体1を形成するので、図1に示されるように、回転シャフト30の軸心線CSが、回転シャフト30の根元部32の形状中心を通って延びるようになる。これにより、回転シャフト30の軸心線CSが、タービンホイール10の形状中心から偏心した重心Gを通る構成を、確実に実現することができる。
図1に示されるように、タービンホイール10は、軸心線CSが通る位置に形成された基準穴20を有している。タービンホイール10の重心Gの位置に基準穴20を形成し、この基準穴20を位置決め部として用いて、シャフト素材130をタービンホイール10に接合する際の、シャフト素材130の軸心線CSの位置決めがなされる。これにより、回転シャフト30の軸心線CSがタービンホイール10の重心Gを通る構成を、確実に実現することができる。
[第二実施形態]
図6は、第二実施形態のタービン回転体1の製造工程を示す第1の図である。図6に示される工程では、図4と同様に、タービンホイール10にシャフト素材130が接合される。シャフト素材130は、軸心線CSを有している。図6においてはシャフト素材130は、その軸心線CSがタービンホイール10の軸心線CTと一致するように位置決めされて、タービンホイール10に接合される。シャフト素材130は、軸心線CSがタービンホイール10の形状中心に位置決めされて、タービンホイール10に接合される。
続いて、シャフト素材130の加工が行なわれる。図7は、第二実施形態のタービン回転体1の製造工程を示す第2の図である。図7に示される工程では、図5と同様に、タービンホイール10に接合されたシャフト素材130を、加工工具60で加工することで、回転シャフト30が成形加工される。
この成形加工によって、回転シャフト30の軸心線CSが、シャフト素材130の軸心線CSの位置から径方向にずれる。図7に示される回転シャフト30の軸心線CSは、タービンホイール10の軸心線CTから外れて、タービンホイール10の軸心線CTと平行に延びている。回転シャフト30の軸心線CSは、第一実施形態と同様に、タービンホイール10の重心Gを通って延び、タービンホイール10に形成された基準穴20を通って延びている。一方、回転シャフト30の軸心線CSは、根元部32の形状中心からずれている。
このように、タービンホイール10の形状中心にシャフト素材130を位置決めして接合し、シャフト素材130を加工してタービンホイール10の重心Gの位置に回転シャフト30の軸心線CSを合わせるような製造工程を経ることによっても、製品全体としてアンバランスが低減されたタービン回転体1を実現することができる。
[第三実施形態]
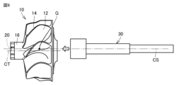
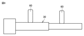
図8は、第三実施形態のタービン回転体1の製造工程を示す第1の図である。第一および第二実施形態では、シャフト素材130をタービンホイール10に接合した後にシャフト素材130を加工することで、回転シャフト30の成形加工が行なわれる。これに対し第三実施形態では、図8に示されるように、シャフト素材130がタービンホイール10に接合される前に加工工具60によって加工されて、回転シャフト30が成形加工される。
次に、成形された回転シャフト30を、タービンホイール10に接合する。図9は、第三実施形態のタービン回転体1の製造工程を示す第2の図である。回転シャフト30は、軸心線CSが基準穴20を通るようにタービンホイール10に対して位置決めされて、タービンホイール10に接合される。回転シャフト30は、軸心線CSがタービンホイール10の重心Gを通るようにして、タービンホイール10に接合される。回転シャフト30は、その軸心線CSがタービンホイール10の軸心線CTから外れた位置に位置決めされて、タービンホイール10に接合される。回転シャフト30をタービンホイール10に接合する際の軸心線CSの位置決めに、基準穴20が用いられる。
このような製造工程を経ることによっても、製品全体としてアンバランスが低減されたタービン回転体1を実現することができる。
[第四実施形態]
図10は、第四実施形態のタービン回転体1の製造工程を示す第1の図である。図11は、第四実施形態のタービン回転体1の製造工程を示す第2の図である。第一および第三実施形態では、タービンホイール10の重心Gの位置に基準穴20を形成して、シャフト素材130または回転シャフト30をタービンホイール10に接合する際の位置決めに基準穴20を用いる例を説明した。タービンホイール10に、必ずしも基準穴20を形成しなくてもよい。
図10,11に示される第四実施形態では、シャフト素材130をタービンホイール10に接合する前に、タービンホイール10の頭部16がチャック70により保持される。タービンホイール10の軸心線CTに対する重心Gの位置が、予め計測されている。チャック70でタービンホイール10を保持してタービンホイール10を精度よく位置決めし、位置決めされたタービンホイール10の重心Gの位置にシャフト素材130の軸心線CSが通るように、シャフト素材130がタービンホイール10に対して精度よく位置決めされる。この状態で、シャフト素材130がタービンホイール10に接合される。接合された後、シャフト素材130が加工工具60によって加工されて、回転シャフト30が形成される。
このような製造工程を経ることによっても、製品全体としてアンバランスが低減されたタービン回転体1を実現することができる。基準穴20を形成する加工が必要なくなることで、加工時間をさらに短縮でき、刃具費をさらに低減することができる。
[第五実施形態]
図12は、第五実施形態のタービン回転体の製造工程を示す図である。タービンホイール10にシャフト素材130または回転シャフト30を接合する際の位置決めに用いる位置決め部として、これまでの実施形態で説明した基準穴20に替えて、図12に示される基準突起120を設けてもよい。
基準突起120は、タービンホイール10の頭部16から、タービンホイール10の軸心線CT(図3など参照)の延びる方向に突き出るように、形成されている。基準突起120は、タービンホイール10の軸心線CTからずれた位置に形成されている。基準突起120は、タービンホイール10の重心Gの位置に形成されている。タービンホイール10に回転シャフト30が接合された状態において、基準突起120は、回転シャフト30の軸心線CSが通る位置に形成されている。回転シャフト30の軸心線CSは、基準穴20を通り、さらに基準突起120を通って延びている。
基準突起120を用いてタービンホイール10を機械的に芯出しすることで、シャフト素材130または回転シャフト30を、その軸心線CSが重心Gの位置を通るようにタービンホイール10に対して位置決めすることが容易になる。位置決めされたシャフト素材130または回転シャフト30を、その位置でタービンホイール10に接合することで、シャフト素材130または回転シャフト30の軸心線CSがタービンホイール10の重心Gを通るように、容易に配置することができる。
したがって、このような製造工程を経ることによっても、タービン回転体1全体としてのアンバランスを低減することができる。タービンホイール10の重心Gの位置に仮設置した基準突起120を、製品形状の仕上げ後に除去することにより、基準突起120がアンバランスを発生することを防止することができる。
以上のように実施形態について説明を行なったが、各実施形態において互いに組合せ可能な構成を適宜組み合わせてもよい。また、今回開示された実施形態はすべての点で例示であって制限的なものではないと考えられるべきである。本発明の範囲は上記した説明ではなくて特許請求の範囲によって示され、特許請求の範囲と均等の意味および範囲内でのすべての変更が含まれることが意図される。
1 タービン回転体、10 タービンホイール、12 ハブ、14 ブレード、16 頭部、20 基準穴、30 回転シャフト、32 根元部、50 冶具、52,60 加工工具、70 チャック、120 基準突部、130 シャフト素材、CT タービンホイールの軸心線、CS 回転シャフトの軸心線、G タービンホイールの重心。

Claims (4)

  1. 回転シャフトと、
    前記回転シャフトに固定されたタービンホイールとを備え、
    前記タービンホイールは、形状中心から偏心した位置に重心を有し、
    前記回転シャフトの軸心線が前記重心を通
    前記回転シャフトは、前記タービンホイールに接合された根元部を有し、
    前記軸心線が前記根元部の形状中心からずれている、タービン回転体。
  2. 前記タービンホイールは、前記軸心線が通る位置に形成された基準穴を有する、請求項1に記載のタービン回転体。
  3. 回転シャフトと、前記回転シャフトに固定されたタービンホイールとを備える、タービン回転体の製造方法であって、
    前記タービンホイールの重心を計測することと、
    加工されることにより前記回転シャフトが形成されるシャフト素材を、前記シャフト素材の軸心線が前記タービンホイールの形状中心を通るように前記タービンホイールに接合することと、
    前記タービンホイールに接合された前記シャフト素材を加工して、前記回転シャフトの軸心線を前記シャフト素材の軸心線から径方向にずらした、前記回転シャフトを形成することとを備える、タービン回転体の製造方法。
  4. 前記シャフト素材を前記タービンホイールに接合する際の前記軸心線の位置決めに用いられる位置決め部を前記タービンホイールに形成することをさらに備える、請求項に記載のタービン回転体の製造方法。
JP2019179415A 2019-09-30 2019-09-30 タービン回転体およびその製造方法 Active JP7268564B2 (ja)

Priority Applications (1)

Application Number Priority Date Filing Date Title
JP2019179415A JP7268564B2 (ja) 2019-09-30 2019-09-30 タービン回転体およびその製造方法

Applications Claiming Priority (1)

Application Number Priority Date Filing Date Title
JP2019179415A JP7268564B2 (ja) 2019-09-30 2019-09-30 タービン回転体およびその製造方法

Publications (2)

Publication Number Publication Date
JP2021055612A JP2021055612A (ja) 2021-04-08
JP7268564B2 true JP7268564B2 (ja) 2023-05-08

Family

ID=75270218

Family Applications (1)

Application Number Title Priority Date Filing Date
JP2019179415A Active JP7268564B2 (ja) 2019-09-30 2019-09-30 タービン回転体およびその製造方法

Country Status (1)

Country Link
JP (1) JP7268564B2 (ja)

Citations (1)

* Cited by examiner, † Cited by third party
Publication number Priority date Publication date Assignee Title
JP2012026875A (ja) 2010-07-23 2012-02-09 Ihi Corp 重心位置計測方法、重心位置計測装置及びタービンロータの製造方法

Family Cites Families (1)

* Cited by examiner, † Cited by third party
Publication number Priority date Publication date Assignee Title
JPS5850189A (ja) * 1981-09-22 1983-03-24 Toyota Motor Corp タ−ビンホイ−ルとタ−ビンシヤフトとの接合方法およびその装置

Patent Citations (1)

* Cited by examiner, † Cited by third party
Publication number Priority date Publication date Assignee Title
JP2012026875A (ja) 2010-07-23 2012-02-09 Ihi Corp 重心位置計測方法、重心位置計測装置及びタービンロータの製造方法

Also Published As

Publication number Publication date
JP2021055612A (ja) 2021-04-08

Similar Documents

Publication Publication Date Title
US5174715A (en) Turbine nozzle
US8850703B2 (en) Method for the manufacture of the blade tips of rotor wheels made in BLISK design
US9638037B2 (en) Method of balancing a gas turbine engine rotor
DK202070704A1 (en) Systems and methods for monitoring rotary equipment
JP6189021B2 (ja) インペラ回転体および回転体
EP1862698B1 (en) Rotor unbalance correction
RU2650237C2 (ru) Диск первой ступени компрессора, выполненный с возможностью балансировки ротора компрессора
EP2299239B1 (en) Shaft curve calculation system of turbine rotor
JPWO2014128927A1 (ja) コンプレッサアセンブリ、及びコンプレッサアセンブリのアンバランス検出装置
US9327341B2 (en) Method of fabricating integrally bladed rotor and stator vane assembly
US9334739B2 (en) Gas turbine engine rotor assembly optimization
EP1452687A2 (en) Rotor balancing
CN114502825A (zh) 回转体的平衡调节方法、涡轮增压器
US5182855A (en) Turbine nozzle manufacturing method
JP7268564B2 (ja) タービン回転体およびその製造方法
US9498857B2 (en) Method of fabricating integrally bladed rotor using surface positioning in relation to surface priority
JP7169167B2 (ja) ノズルダイアフラムの製造方法、及びノズルダイアフラム
WO2018132629A1 (en) Adaptive machining of cooled turbine airfoil
US10239151B2 (en) Linear friction welding method
CN106103899B (zh) 具有用于检查同心度的表面的转子部件
JP2002206402A (ja) 回転部材の組付方法
US4017212A (en) Bladed rotor
EP3781789A1 (en) Rotor shaft cap and method of manufacturing a rotor shaft assembly
JP2012013596A (ja) 回転体とそのバランス修正方法
GB2428396A (en) A method of manufacturing an article with a reference datum feature

Legal Events

Date Code Title Description
A621 Written request for application examination

Free format text: JAPANESE INTERMEDIATE CODE: A621

Effective date: 20211214

A977 Report on retrieval

Free format text: JAPANESE INTERMEDIATE CODE: A971007

Effective date: 20221027

A131 Notification of reasons for refusal

Free format text: JAPANESE INTERMEDIATE CODE: A131

Effective date: 20221101

A521 Request for written amendment filed

Free format text: JAPANESE INTERMEDIATE CODE: A523

Effective date: 20221124

TRDD Decision of grant or rejection written
A01 Written decision to grant a patent or to grant a registration (utility model)

Free format text: JAPANESE INTERMEDIATE CODE: A01

Effective date: 20230322

A61 First payment of annual fees (during grant procedure)

Free format text: JAPANESE INTERMEDIATE CODE: A61

Effective date: 20230404

R151 Written notification of patent or utility model registration

Ref document number: 7268564

Country of ref document: JP

Free format text: JAPANESE INTERMEDIATE CODE: R151